E-2073 - Nähmaschine EBENCH - Kostenlose Bedienungsanleitung
Finden Sie kostenlos die Bedienungsanleitung des Geräts E-2073 EBENCH als PDF.
Questions des utilisateurs sur E-2073 EBENCH
0 question sur cet appareil. Repondez a celles que vous connaissez ou posez la votre.
Poser une nouvelle question sur cet appareil
Laden Sie die Anleitung für Ihr Nähmaschine kostenlos im PDF-Format! Finden Sie Ihr Handbuch E-2073 - EBENCH und nehmen Sie Ihr elektronisches Gerät wieder in die Hand. Auf dieser Seite sind alle Dokumente veröffentlicht, die für die Verwendung Ihres Geräts notwendig sind. E-2073 von der Marke EBENCH.
BEDIENUNGSANLEITUNG E-2073 EBENCH
Kompernaß Handelsgesellschaft mbH - Burgstraße 21 - D-44867 Bochum
www.kompernass.com
E-2073/05-2004

VICTORIA
D Automatik-Freiarm-Nahmaschine 270 E Bedienungsanleitung
F Machine à coudre automatique à bras libre 270 E Mode d'emploi
NL Automatische naaimachine met vrije arm 270 E Gebruiksaanwijzing
Bedienungsanleitung
Victoria Automatik-Freiarm-Nahmaschine
Inhaltsverzeichnis
- Verwendungszweck 3
- Technische Daten 3
- Lieferumfang.. 3
- Sicherheitshinweise 4
- Aufstellen 5
- Ein-/Ausschalten 5
- Einfädeln 6
- Zubehör montieren 12
- Einstellungen 14
- Nahlen 16
- Pflege 27
- Probleme? 29
- Garantie und Service 30
- Entsorgen 30
1. Verwendungszweck
Die Nähmaschine ist vorgesehen ...
- zur Verwendung als ortsveränderliches Gerät,
- zum Nähen von haushaltsüblichen Textilien und ...
- nur zu Verwendung im privaten Hausgebrauch.
Die Nähmaschine ist nicht vorgesehen:
- nicht zur ortsfesten Aufstellung,
- nicht zur Verarbeitung von anderen Materialien (z.B. Leder, Zelt-, Segel- und ähnlich schwere Stoffe)
- nicht für eine Verwendung in gewerblichen oder industriellen Bereichen.
2. Technische Daten
Stromversorgung.....: 230 V / ~50 Hz
Leistungsaufnahme .. 85 W max
Motorleistung : 70 W
Lampe Leistung: 15 W
Lampe Spannung ....: 230 V / ~50 Hz
Lampengewinde ....: E14-Gewinde
Schutzklasse ....... II
Abmessungen 160x380x315mm
Gewicht ca. 6 kg
3. Lieferumfang
(siehe Ausklappseite)
1 Nähmaschine
1 Fußschalter
M 3 Spulen
K 2 Filzscheiben
1 Zickzack-Fuß (montiert)
D 1 Knopfloch-FuB
A 1 Blindsbaum-FuB
1 Knopf-FuB
1 ReiBverschluss-FuB
1 Saumführung
1 Stopfplatte
G 1 Trenn Messer
F 1 Nähfuß
1 Satz Nadelin
1 Öltube
2 Schraubendreher
Bedienungsanleitung
4. Sicherheitshinweise
Bei einer Nähmaschine kann man sich wie mit jedem anderen Elektro- gerät verletzen und in Lebensgefahr geraten. Um dies zu vermeiden und um sicher zu arbeiten:
- Ziehen Sie stets den Netzstecker, wenn Sie die Maschine verlassen. Damit verhindern Sie Unfallgefahr durch versehentliches Einsatzen.
- Ziehen Sie erst den Netzstecker, bevor Sie die Lampe tauschen oder Wartungsarbeiten an der Maschine vornehmen. Damit verhindern Sie Lebensgefahr durch elektrischen Schlag.
- Verwenden Sie die Nähmaschine immer nur in trockenen Räumen.
- Wenn an der Nähmaschine oder am Fußschalter oder am Netzkabel Schäden sightbar sind: Lassen Sie diese erst durch den Kundendienst reparieren, bevor Sie erneut die Nähmaschine verwenden.
- Lassen Sie Kinder oder gebrechliche Personen nicht unbeaufsichtigt mit dem Gerät umgeben - weil diese mögliche Gefahren nicht immer richtig einschädten können. Bewahren Sie Elektrowerkzeuge außerhalb der Erreichbarkeit von Kindern auf.
Warning vor Verletzungen und Sachschäden:
Der Gesetzgeber nimmt Sie als Benutzer von Elektrogeräten mit in die Pflicht, durch Sicherheitsbewusstes Verhalten möglichen Unfälle vorzubeugen:
- Halten Sie ihren Arbeitsbereich in Ordnung. Unordnung im Arbeitsbereich kann Unfälle zur Folge haben.
- Sorgen Sie für gute Beleuchtung beim Arbeiten!
- Tragen Sie keine weite Kleidung oder Schmuck, weil diese von beweglichen Teilen erfasst werden können. Tragen Sie deshalb bei langen Haaren auch ein Haarnetz.
- Vermeiden Sie eine unnormale Körperhaltung. Sorgen Sie für sicheren Halt und jederzeitiges Gleichgewicht.
- Seien Sie aufmerksam! Achten Sie daraufuf, was Sie tun. Gehen Sie stets mit Vernunft an die Arbeit. Benutzen Sie die Nähmaschine auf keinen Fall, wenn Sie unkonzentriert sind oder sich unwohl fühlen.
Wenn Unfälle auf mangelnde Sorgfalt im Umgang mit dem Gerät zurück zu führen sind oder die Sicherheitsin-weise in der Anleitung nicht beachtet wurden, haftet der Hersteller nicht für solche Schäden.



5. Aufstellen
- Stellen Sie die Nähmaschine auf einen stabilen Tisch.
1 Verbinden Sie den Fußschalter N mit der Maschine und ...
stecken Sie den Netzstecker in die Steckdose.
Wenn die Tischplatte nicht ganz eben ist, können Sie leichte Uebenheiten ausgleichen:
3 Ziehen Sie die lediglich aufgesteckte Box seitlich ab.
An dem darunter sightbar werden den Verstellfuß konnen Sie durch Drehen für einen stabilen Stand der Nähmaschine sorgen.
Die Box konnen Sie danach einfach wieder aufschieben - z.B. wenn Sie diese als „Ansatztisch“ zum Nähen großer Stoff-Flächen benötigen. Sie konnen die Box aber auch zunächst abgenommen setzen, z.B. zum Freiarm-nahen von Ärmeln, Hosenbeinen usw.
6. Ein- / Ausschalten
Machen Sie sich mit diesen Ein- und Ausschalt-Möglichkeiten vertraut, damit Sie auch im Notfall richtig handeln:
⑤ Sie können die Lampe durch Betätigung des Schalters ein- bzw. aushalten.
Wenn Sie den Fußschalter-Steckerziehen, ist die Maschine stromlos.
2 Wenn Sie den Netzstecker aus der Steckdoseziehen, sind Maschine und auch der Fußschalter stromlos.



7. Einfädeln
Warning:
Stellen Sie sicher, dass beim Einfädeln die Nähmaschine zunachst ausgeschaltet oder der Netzstecker gezogen ist, um Unfälle durch versehentliches Anlaufen zu vermeiden.
a) Unterfaden-Spule füssen
Um die Unterfadenspule mit Nähgarn zu füssen:
6 Ziehen Sie oben eine der beiden Rollenachsen Heraus und setzen Sie Dort eine Garnrolle auf.
Sie können unter die Garnrolle eine Filzscheibe legen, um das Gehäuse der Maschine zu schonen.
Setzen Sie eine leere Spule auf die Spulerwelle und wickeln Sie das lose Ende vom Garnfaden ein paar Umdrehungen im Uhrzeigersinn auf.
Ziehen Sie das Handrad leicht nach außen Heraus, um das Nähwerk vom Motor abzukoppeln.
Ziehen Sie den Faden durch die Führung für die Spulervorspannung.
10 Wenn die ersten Garn-Wicklungen stramm auf der Spule sind, drücken Sie die Spule mit der Spulerwelle gegen den Spuleranschlag.
- Schalten Sie nun die Nähmaschine ein und treten auf den Fußschalter. Wenn die Spule voll ist, schneiden Sie den Faden durch.
Drücken Sie die Spulerwelle wieder nach vorn undnehmen Sie die volle Spule ab.
Vergessen Sie nicht, das Handrad wieder hinein zu drücken - sonst bleibt das Nähwerk vom Motor abgekoppelt.



b) Unterfaden einfädeln
Drehen Sie zuerst mit dem Handrad die Nadel ganz nach oben.
1 Ziehen Sie die lediglich aufgesteckte Box seitlich ab ...
2 und öffnen Sie die dahinter liegende Greiferklappe.
3 Klappen Sie den Kipphebel von der Spulenkapsel hervor ...
4 undziehenSie die Spulenkapsel Heraus,wie gezeichnet.

Wickeln Sie etwa 10 cm Faden von der Spule ab und schiben Sie diese in die Spulenkapsel.

6 Ziehen Sie das abgewickelte Ende vom Faden durch den Spalt an der Seitenwand der Spulenkapsel ...

7 unter der Spannungsfeder hinweg
8 bis der Faden aus dem Schlitz an der Spulenkapsel Herauskommen.

1 Setzen Sie die Spulenkapsel wieder auf den Stift und ...
drehen Sie die Spulenkapsel soweit, bis der Mitnehmer in die Aussparung greift.
- Legen Sie den überstehenden Faden so, dass er nirgends einklemmt ...
und schlieBen Sie dann wieder die Greiferklappe.

Die Box konnen Sie danach einfach wieder aufschieben - z.B. wenn Sie diese als „Ansatztisch“ zum Nähen großer Stoff-Flächen benötigen. Sie konnen die Box aber auch zunachst abgenommen setzen, z.B. zum Freiarmnahen von Ärmeln, Hosenbeinen usw.

c) Oberfaden einfädeln
Zum einfädeln des Oberfadens ist es nicht erforderlich die Frontseite der Nähmaschine zu öffnen. Die ober gezeigte Abbildung dient ausschließlich zur Orientierung.
Ziehen Sie oben eine der beiden Rollenachsen Heraus und setzen Sie Dort eine Garnrolle auf.
Sie können unter die Garnrolle eine Filzscheibe legen, um das Gehäuse der Maschine zu halten.
Fuhren Sie den Faden durch die obere Fadenführung, ...
dann über das Einstellrad für die Oberfaden-Vorspannung, ...
7 dann unter der Fadenanzugsfeder hindurch, ...
8 dann über den Gelenkfadengeber,
9 dann durch die Fadenführung an der Nadel, durch das Nadelöhr und zuletzt unter dem Nähfuß nach hinter neg.



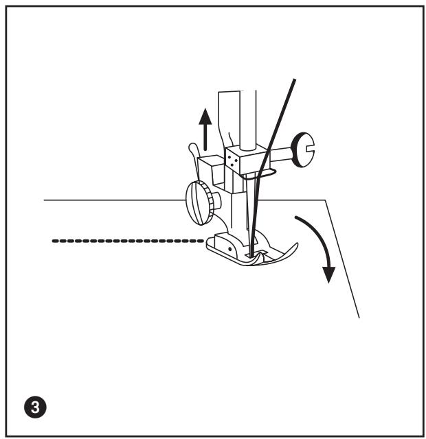
d) Unterfaden Heraufholen
Drehen Sie zuerst mit dem Handrad die Nadel ganz nach oben.
1 Halten Sie mit der linken Hand das aus dem NadelohrCOMMende Ende des Oberfadens fest.
- Drehen Sie dann mit der rechten Hand das Handrad eine volle Drehung gegen den Uhrzeigersinn.
Nunzieht der Oberfaden in einer Schlaufe den Unterfaden hereauf.
- Sobald der Unterfaden erscheint,ziehen Sie vorsichtig an dem in der linken Hand gehaltenen Oberfaden. Damit holen Sie den Unterfaden nun vollends Heraus.
- Ziehen Sie beiden Faden etwa 10 cm heraus ...
3 und legen Sie diese nach hinten weg, wie gezeichnet. Die Nähmaschine ist nun bereit.


e) Einfädeln bei 2 Nadeln
Wenn Sie die Zwillingsnadel eingesetzt haben, wie im Kapitel 8. beschreiben:
- Ziehen Sie oben beiden Rollenachsen Heraus und setzen Sie dfort zwei Garnrollen auf.
K Sie können unter die Garnrolle eine Filzscheibe legen, um das Gehäuse der Maschine zu halten. - Führer Sie beide Oberfaden genau so, wie Sie beim Einzelfaden führen wurden, ...
④ bis auf die Einfädelung an der Nadel: Hier fadeln Sie beiden Enden der zwei Oberfaden getrennt durch die beiden Nadelöhre. - Der Unterfaden wird wiederum genauso eingefädelt und hereauf geholt, wie beim Einzelfaden.
8. Zubehör montieren
Warning:
Ziehen Sie erst den Netzstecker aus der Steckdose! Damit verhindern Sie Unfallgefahren, wenn beim Arbeiten an der Maschine diese versehentlich anläuft!
a) Nadeln auswechseln
- Drehen Sie zuerst mit dem Handrad die Nadel ganz nach oben.
Lösen Sie die Klemmschraube undziehen Sie die alte Nadel heraus.
Setzen Sie die neue Nadel ein, mit der flachen Seite nach hinten. Schiebern Sie diese ganz nach oben
und drehen Sie zum Schluss die Klemmschraube wieder gut fest.



b) Nähfuß auswechseln
- Drehen Sie zuerst mit dem Handrad die Nadel ganz nach oben.
1 Losen Sie die Fuß-Schraube und nehmen Sie den Nährfuß mitsamt Halter nach unten ab.
Drücken Sie den Hebel am Nährfuß-Halter. Der Nährfuß lassst sich nun vom Halter abnehmer.
3 Setzen Sie den gewünschten neuen Nähfuß auf den Halter, z.B. den ...
Knopfloch-FuB
Blindsbaum-Fuß
E Knopf-Fuβ
ReiBverschluss-FuB
2 und drücken Sie erneut den Hebel, bis der Nähfuß am Halter einrastet.
1 Setzen Sie nun den Nähfuß mitsamt Halter wieder an die Führungsstange und drehen Sie die Fuß-Schraube wieder gut fest.
c) Auswechseln der Stichplatte
Ab Werk ist die „Zickzack“-Stichplatte eingesetzt, die für die meisten Gerad-stichnähte, Zickzack-Sticharbeiten und Ziernähte verwendbar ist. Wenn Sie jedoch die mitgelieferte Stopplatte verwenden sollen:
- Drehen Sie zuerst mit dem Handrad die Nadel ganz nach oben.
4 Legen Sie die Stopfplatte einfach auf die vorhandene Zickzack-Stichplatte auf, so dass die flachen Führungsstifte daran in die Vertiefungen an der vorhandenen Platte greifen.
- Wenn Sie die Stopfplatte nicht mehr benötigen, nehmen Sie diese einfach wieder ab.


9. Einstellungen
Die Spannung von Ober- und Unterfaden ist richtig eingestellt, wenn nach dem Nahlen die Verschlingung der beiden Faden weder an Ober- noch Unter-seite des Stoffes zu sehen ist.
Ist auch nur eine der beiden Spannungen nicht richtig eingestellt, so bildet sich eine unsaubere Naht. Die Stiche liegen dann flach auf dem Stoff - es bilden sich keine Nährfalten und der Stoff wird auch nicht eingezogen.
a) Oberfaden-Spannung einstellen
Durch Drehen am Einstellrad für die Oberfaden-Vorspannung können Sie die Festigkeit der Oberfaden-Spannung wahren. Ist diese ...
- zu fest (hoher Wert), dann liegt der Oberfaden oben lose auf dem Stoff, „genaht“ wird dann nur noch mit dem Unterfaden.
- zu lose (niedriger Wert), dann liegt der Unterfaden lose auf dem Stoff, „genaht“ wird dann nur noch mit dem Oberfaden.
Die Oberfadenspannung liegt normalerweise zwischen 4-6.
b) Unterfaden-Spannung einstellen
Durch Drehen der Schraube an der Spulenkapsel können Sie die Festigkeit der Unterfadenspannung einstehen. Drehen Sie ...
- im Uhrzeigersinn, um die Spannung zu erhöhen.
- gegen den Uhrzeigersinn, um die Spannung zu verringn.
Die Unterfaden-Spannung ist richtig eingestellt, wenn sich die Spulen-kapsel langsam und gleichmäßig abwickelnlässt („Runterfall-Test“).


c) Füßchendruck einstellen
Hier stellen Sie den Druck ein, mit dem der Stoff auf der Stichplatte angepresst wird.
- Losen Sie mit dem mitgelieferten kleinen Schraubendreher die Schraube an der Oberseite des Frontdeckels.
1 Klappen Sie dann den Frontdeckel auf.
2 Stellen Sie an dem Hebel nun den Anpressdruck ein, zum Beispiel auf...
,0" wenn kein Druck ausgeübt werden soll, z.B. beim Stopfen oder Freihandsticken
"1" bei leichten Stoffen (Gardinen)
2^n bei mittleren Stoffen (normal)
,3" bei schweren Stoffen.
d) Stichbreite
Hier stellen Sie ein, wie welt die Naht bei Zickzack-Mustern auslenken soll.
Drehen Sie mit dem Handrad erst die Nadel ganz nach oben.
Wahlen Sie eine Stichbreite von 0...5 am Wahlrad (0 = schmal / 5 = breit)
Achtung: Wenn die Zwillingsnadel eingesetzt ist, damit das Wahlrad hochstens auf „3“ eingestellt sein. Bei einem höheren Wert bricht die Zwillingsnadel!
e) Stichlänge
Hier stellen Sie ein, wie schnell der Stoff beim Nähen weiter transportiert werden soll. Daraus ergibt sich dann der Abstand zwischen den Stichstellen (Länge).
Wahlen Sie die Stichlänge am Stichlängenrad (0 = kurz / 4 = lang) .



10. Nahlen
Wenn Sie Nähgarn eingefädelt und alles richtig eingestellt haben, wie in den bisherigen Kapiteln beschreiben:
a) Stoff einlagen
Drehen Sie mit dem Handrad erst die Nadel ganz nach oben.
6 Stellen Sie mit dem Fübchen-Hebel den Nähfuß hoch.
- Legen Sie den Stoff unter den Nähfuß und senken Sie den Nähfuß wieder herab.
b) Naht beginnen
Halten Sie die beiden nach hinten wegeführten Faden-Enden mit der linken Hand fest.
- Treten Sie nun ganz vorsichtig auf den Fußschalter – so etwa, dass die ersten 3-4 Nähbewegungen erfolgen. Führren Sie darüber mit der rechten Hand den Stoff.
Wenn die ersten Nähbewegungen erfolgreich ausgeführrt worden sind, halten Sie kurz den Hebel für den Rückwärtsbetrieb gedrückt ...
- und treten erneut so etwa auf den Fußschalter – bis Sie wieder am Beginnpunkt der Naht sind. Wenn Sie nun von Dort aus mit der Naht fortfahren, ist diese durch mehrmaliges Darübernahen verriegelt.
c) Naht abschreiben
Nahren Sie auch am Nahtende mehrere Male hin und her - mit dem Rückwartsbetrieb wie zu Beginn der Naht. Damit ist diese auch am Nahtende verriegelt.



d) Stoffe führen
Fuhren Sie normale Stoffe nur so, wie in der Abbildung gezeigt. Vermeiden Sie jegliches Ziehen, weil die Nadel sonst verbiegen oder brechen kann.
- Sehr feine Stoffeziehen beim Nahlen leicht ein. Um dies zu vermeiden legen Sie einfach dünnes Papier mit unter den Stoff - und nahlen theses mit. Nach dem Nahlen konnen Sie das Papier vorsichtig vom Stoff abreiben, das Ergebnis ist eine sehr saubere Naht.
2 Bei dehnbaren Stoffen kann es notwendig sein, den Stoff vor und hinter dem Nähfuß zu führen, um ein Einziehen zu vermeiden.
e) Änderung der Nährchtung
Sie möchten ab einer bestimmten Stelle in eine andere Richtung weiter{nahen?
③ Dies Goes am einfachsten, indemn Sie am Drehpunkt anhalten und die Nadel im Stoff stecken halten.
- Stellen Sie mit dem Füßchen-Hebel den Nährfuß hoch.
- Drehen Sie um die Nadel herum den Stoff in die gewünschte Richtung
- und senken Sie dann den Nähfuß ab.
Nun können Sie einfach ganz normal in die neue Richtung weiter{nagen.


f) Stichmuster wahlen
Um ein bestimmtes Stichmuster zu erzielen, sind folgende Schritte notwendig:
Wahlen Sie das Stichprogramm am Programmwahler.
2 Stellen Sie die Stichlänge ein.
Wahlen Sie die Stichbreite.
Montieren Sie den jeweiligen Nähfuß, wie im Kapitel 8 beschrieben.
Aus der Tabelle rechts konnen Sie die erforderlichen Einstellungen entnehmen. Wenn zwei Werte zur Stichlänge angegeben sind, verstehen sich diese als „von...bis“-Werte.
g) Geradstich
These Stichart wird am früigsten verwendet. Der Zickzack-Nahfuß dient sowohl für Geradstich- als auch für Zickzacknähte. Für das Nahlen feiner Stoffe sollen den Kleinere Stichgroßen gewählt werden.
h) Zickzack
Der Zickzackstich ist ein Universalstich. Beim Satin-Stichmuster handelt es sich um dicht aufeinander folgende kurze Stiche, die sich zum Aufnahen von Initialen, Figuren, Applikationen usw. eignen.
Nähen (Stichmusterwähler) & Nähtischausstattung
| Stichmuster | Stichlänge | Nähfuß | Stichbreite | ||
| A | Geradstich | 04 | 0 | 0 | |
| Zickzack | 04 | 0 | 0-5 | ||
| B | Umgekehrter Blindsbaum | 13 | 3-5 | 3-5 | |
| C | Kastenstich | 13 | 5 | 5 | |
| D | Zickzack mit 3 Stichen | 0,53 | 3-5 | 3-5 | |
| E | Blindsbaum | 13 | 5 | 5 | |
| F-H | Knopfloch | 0,251 | 5 | 5 | |
| I | Trikotstich | 4 | 5 | 5 | |
| J | Smok-Stich | ||||
| K | Schräger Überwendlingsstich | ||||
| L | Elastischer Raupenstich | ||||
| Elastischer Geradstich | 0 | ||||
| M | Doppelter Overlockstich | 5 | |||
| Freihandsticken | 0 | 0-5 | 0-5 | ||



i) Blindsbaum
1 Falten Sie den Stoff, wie gezeichnet. Legen Sie die Falte so breit, wie Sie den fertigen Baum wünschen: Dieunte Falte soll damit um ca. 5 mm darüberstehen.
2 Verwenden Sie den Blindsbaumfuß. Prüfen Sie beim Nähen die Saumbreite und Nadelstellung, damit der Saum gleichmäßig wird.
3 Nahlen Sie den Blindsbaum auf der unteren Stoffbahn, so dass der breitere Zickzackstich jeweils nur mit seiner Spitze die obere Stoffbahn ansticht. Wenn Sie mit dem Nahlen fertig sind, schlagen Sie das linke Stoffteil nach rechts und streichen es glatt. Der Saum ist fast unsichtbar!
Die Tabelle darüber nebenan zeigt einen Vorschlag für das Einstellen der verschiedenen Werte in Abgangigkeit vom verwendeten Material.
Stoff-Faden-Nadel-Tabelle
Beachten Sie die Angaben für die verschiedeneen Stoffe.
| Stoff | Faden | Nadel | Fußchendruck | Stichlänge | Oberspannung | ||
| Siehe S. 19 | Geradstich | ZZ | |||||
| Stichtägen-wahl | |||||||
| Leicht | |||||||
| Nylon | Baumwolle 80 | 70 (10) | 1-3 | 1-4 | |||
| Trikot | Kunstfaser 60 | ||||||
| Seide | Seide 50 | ||||||
| Wolle-Seide | Kunstfaser 50 Seide | 80 (12) | |||||
| Mittel | |||||||
| Popeline | Baumwolle 60-80 | 80-90 (12-14) | 0.5-3 | 0.5-4 | |||
| Feinjersey | Kunstfaser 60 | 80 (12) | |||||
| Gabard | Seide 50 | ||||||
| Schwer | |||||||
| Jeans | Baumwolle 50 | 90-100 (14-16) | 0.5-3 | 0.5-4 | |||
| Jersey | Kunstfaser 50 | 80-90 (12-14) | |||||
| Tweed | Seide 50 | 80-90 (12-14) | |||||



j) Saumfuhrung
1 Verwenden Sie die Saumführung zum Nahlen langer Säume oder Nähte, die einen gleichmäßigen Abstand zum Stoffrand haben sollen.
- Schrauben Sie die Saumführung in eines der Gewindelöcher rechts an der Stichplatte. Stellen Sie dann den gewünschten Abstand ein und drehen Sie die Rändelschraube fest.
- Beim Nähen muss der Stoffrand die Saumführung berühren. Zum Nähen von Kurven kann die Saumführung auch schräg angeschraubt werden.
k) Umschlingen
Wahlen Sie diese Stiche, wenn Sie das Ausfransen von Schnittkanten verhindern wollen.
I) Stretchnaht
3 Wahlen Sie diese Stiche für Strickstoffe, Trikot und andere dehnbare Textilien. Eine solche Naht lasst sich dehnen, ohne dass der Faden reibt. Der elastische Geradstich ergibt auch eine äußerst strapazierfähige Geradnaht.

m) Knopflöcher nahlen
Montieren Sie den Knopfloch-Fuß, wie in Kapitel 8 beschreiben.
- Entnehmen Sie aus der Tabelle:
- die einzustellende Stichlänge
- das zu währende Stichmuster
- und die Vorgehensweise beim Nahlen.
Zum Schluss konnen Sie das Knopfloch in der Mitte einschneiden, wie dargestellt.
| Muster-Wähler (Stichmuster) | Vorgehens- weise | Einstellungen/Stichlänge |
| H | 1. Wähler auf „1“ stellen 2. Linke Seite{nahen 3. Nadel nach obenbringen | |
| G | 4. Wähler auf „2“ stellen 5. 5-6 Stiche{nahen 6. Nadel nach obenbringen | |
| F | 7. Wähler auf „3“ stellen 8. Rechte Seite{nahen 9. Nadel nach obenbringen | |
| G | 10. Wähler auf „4“ stellen 11. 5-6 Stiche{nahen 12. Nadel nach obenbringen |



n) Knöpfen annahen
Montieren Sie den Knopf-Fuß und ...
legen Sie die Stopfplatte auf die vorhandene Zickzack-Stichplatte auf, wie in Kapitel 8 beschreiben.
Legen Sie den Knopf zwischen den Knopffuß und den Stoff und senken Sie dann den Knopffuß ab.
- Drehen Sie das Schwungrad von Hand entgegen dem Uhrzeigersinn. Testen Sie damit, ob die Nadel ganz sauber in beiden Knopflöcher trifft.
Passen Sie eventuell die Stichbreite vom Zickzack-Betrieb etwas an. - Wenn die Nähmaschine befind Knopflöcher beim Handbetrieb trifft, können Sie nun durch vorsichtiges Heruntertreten des Fuß-Schalters 5-7 Stiche mit der Maschine nahren.
o) „Rand-an-Rand“-Nähen
4 Hierfür wahlen Sie das Dreistich-Zickzack (,D^ ) oder den Smokstich (,J^ ) als Stichmuster.



p) ReiBverschluss einnahen
Mit dem Reißverschluss-Fuß können Sie rechts und links dicht an den Reißverschlussgliedern entlang{nahen,ohne diese oder die Nadel zu beschädigen.
Der Reißverschluss-Fuß ist aber auch praktisch, um Kanten oder Parallelnähte zu nahren.
Montieren Sie den ReiBverschlussFuB, wie in Kapitel 8 beschreiben.
- Wahlen Sie dann als Stichmuster den Geradstich.
Schlagen Sie ca. 2 cm Stoff um und legen Sie den ReiBverschluss so unter die Stoff-Falte, dass die Glieder knapp vorstehen. Eventuell hilft es, den ReiBverschluss vorher einzuheften
3 Nahlen Sie dann möglichst dicht an den ReiBverschlussgliedern entlang.
- Zum Nahlen der linken Seite vom ReiBverschluss muss der Fuß sich links von der Nadel befinden.
- Zum Nahlen der rechten Seite vom Reißverschluss muss der Fuß sich rechts von der Nadel befinden.



q) Nahlen mit der Zwillingsnadel
1 Setzen Sie die Zwillingsnadel mit der flachen Seite nach hinten ein.
- Fädeln Sie das Garn ein, wie für normales Nahlen. Beide Fäden werden zusammen durch die Führungen gefädelt – bis zur Zwillingsnadel.
- Erst Dort werden die beiden Oberfällig getrennt eingefädelt.
- Stellen Sie sicher, dass die Einstellung für die Stichbreite nicht länger ist als „3“ – da andernfalls die Nadel abbricht.
r) Sticken
- Nehmen Sie den Nähfuß ab und ...
- legen Sie die Stopfplatte auf die vorhandene Zickzack-Stichplatte auf, wie in Kapitel 8 beschrieben.
Der Stickvorgang erfolgt nun frei-händig. Bewegen Sie den in den Stickrahmen gespannten Stoff gemäß der Motivvorgabe, während Sie mit dem Fußschalter die Geschwindigkeit der Nadelbewegungen steuern.
s) Fadenschneider
Wenn Sie die Naht abgeschlossen haben oder aus anderen Gründen die Faden trennen wollen:
3 Ziehen Sie die Faden einsch auf über die scharfe Schneide hinter dem Nähfuß, um die Faden abzuschneiden.




11. Pflege
Entfernen Sie nach jedem Nahlen Restevon Faden, Stoff und Flusen. Nur dann kann die Nahmaschine einwandfrei arbeiten und lange Funktionieren.
Warning:
Ziehen Sie erst den Stecker aus der Steckdose, bevor Sie irgendwelche Arbeitsen an der Nahmaschine vornehmen. Damit verhindern Sie Unfallgefahr, wenn die Maschine während der Arbeitsen versehentlich anlauft.
a) Greiferbereich reinigen
Achtung:
Nehmen Sie auf keinen Fall die Mechanik im Greiferbereich auseinander! Diese wieder zusammen erfordert viel Erfahrung im Umgang mit mechanischen Konstruktionen.
Die Vorrichtungen zum Auseinandernehmen im Greiferbereich sind nur für den Kundendienst vorgesehen. Es reicht aus, wenn der Benutzer nur mit Pinsel und evtl. Staubsauger reinigt.
Drehen Sie mit dem Handrad erst die Nadel ganz nach oben.
2 Öffnen Sie dann den Greiferdeckel
3 undnehmenSie die Spule heraus.
- Entfernen Sie nun mit einem Pinsel oder einem Staubsauger (mit keinem Pinselaufsatz) allen Schmutz.
b) Stoffschieber reinigen
4 Nehmen Sie die Nadel heraus und
⑤ lahfuB ab, wie im Kapitel 8 beschreiben.
6 Losen Sie die in der Stichplatte eingelassenen Schrauben und behmen Sie die Stichplatte ab. Nun konnen Sie den Stoffschieber reinigen.
c) Gehäuse reinigen
Gefahr:
Öffnen Sie niemals andere Gehäuseteile, als in dieser Anleitung beschreiben. Es befinden sich keinerlei Bedienelemente darin. Andernfalls kann Unfallgefahr und Lebensgefahr durch elektrischen Schlag bestehen.
- Reinigen Sie alle Kunststoff-Flächen mit einem trockenen weichen Tuch.
- Verwenden Sie keine Reinigungsoder Scheuermittel - die Gehäuse können verkratzen.
- Auf keinen Fall)dürfen die Geräteile in Wasser oder andere Flüssigkeiten getaucht werden! Hierdurch konnen die Geräte beschädigt werden

d) Ölen der Greiferbahn
Achtung:
Seien Sie sehr sparsam mit dem Öl. Übermäßig viel Öl an den Antriebsteilen können das Nähgarn und ihre Stoffe verschmutzen.
7 Traufeln Sie 2-3 Tropfen Öl in den schmalen Spalt zwischen Greifer und Greiferbahn ...
und drehen Sie von Hand ein paar Mal den Greifer ganz herum. Damit verteilt sich das Öl.
Es reicht wirklich, 1-2 mal pro Jahr ganz weniger zu ölen. Es Goes während hauptsächlich um Schutz vor Rostbildung, die bei längeren Stillstandzeiten entsteht.
e) Was ist noch zu offen?
Nichts - alle anderen Antriebsteile benötigen keinerlei Öl. Sie sollenn auch nichts unnöttig ölen, weil ülige Teile Staub anziehen und dann verkleben konnen.
f) Aufbewahren
Bewahren Sie die Nähmaschine auf ...
- an einem trockenen Ort, damit sich kein Rost an den metallischen Mechanikteilen ansetzt,
- immer unter den mitgelieferten Hüllen, damit kein Staub in die Nähmaschine eindringen kann,
- außerhalb der Erreichbarkeit durch keine Kinder oder gebrechliche Personen, damit diese nicht durch un- beaufsichtigten Betrieb in Gefahr geraten können.
12. Probleme?
Wenn etwas nicht Funktioniert, können Sie mit dieser Tabelle versuchen, die Störung zu beseitigen. Wenden Sie sich an den Kundendienst, wenn Sie das Problem nicht selbst beheben konnen.
Warning:
Ziehen Sie erst den Stecker aus der Steckdose, bevor Sie irgendwelche Arbeitsen an der Nahmaschine vornehmen. Damit verhindern Sie Unfallgefahr, wenn die Maschine während der Arbeitsen versehentlich anlauft.
| Störung / Problem: | Prüfen Sie: | Mögliche Behebung: |
| Stoff wird nicht transportiert | Maschine nähnt nicht – nur das Handrad dreht sich? Stichlängenrad besteht auf „0“? Stoffdruck ist zu schwach? | Handrad reinrücken! stellen Sie es auf „1“ bis „4“! Stoffdruck-Hebel höher stellen! |
| Nadel bricht ab | Nadel falsch eingesetzt? Nadel ist verbogen? Entsprechen Nadel + Garn + Stoff der Tabelle im Kapitel 10? | flache Seite nach hinten! Neue Nadel einsetzen! die richtige Nadel zum Garn und Stoff auswahlen! |
| Der Oberfaden reiβt | richtig eingefädelt? Zickzack zu breit eingestellt? Oberfadenspannung zu fest? Ritzen / Kratzer am Greifer? | am besten ganz neu einfädeln! mit geringer Breite versuchen! mittlere Einstellung wahren! Greifer ersetzen setzen! |
| Unterfaden reiβt | Unterfadenspannung zu straff? Nadel falsch eingesetzt? richtig eingefädelt? Staub und Flusen im Greifer? | Spannung lockern! flache Seite nach hinten! am besten ganz neu einfädeln! Greiferbereich reinigen! |
| Stoff welt sich | Spannung ist zu stark? Fürbuchendruck ist zu hoch? Entsprechen Nadel + Garn + Stoff der Tabelle im Kapitel 10? | Spannung verringn! Fürbuchendruck verringn! die richtige Nadel zum Garn und Stoff auswahlen! |

Die Lampe leuchtet nicht mehr?
Wenn die eingebaute Lampe durchgebrannt ist, ersetzen Sie diese gegen eine gleichartige aus dem Fachhandel. Die Bezeichnung damit lautet
,15W - E14".
- Losen Sie mit dem mitgelieferten kleinen Schraubendreher die Schraube an der Oberseite des Frontdeckels.
Klappen Sie dann den Frontdeckel auf.
Drehen Sie die defekte Lampe hereus und eine neue in die Fassung.
13. Garantie und Service
Die Garantiebedingungen und die Serviceanschrift enthalten Sieitte dem Beiblatt.
14. Entsorgen
Bewahren Sie die Transportverpackung der Nähmaschine auf! Zum einen kann sie Ihnen für die Aufbewährung der Nähmaschine nützlich sein - vor allem aber, wenn Sie die Nähmaschinemal zur Reparatur versenden wollen. Die meisten Schäden entstehen)namlich erst auf dem Transportweg.
Tipp: Schonen Sie die Umwelt! Wenn Sie die Geräte später mal entsorgen wollen, geben Sie diese bei einer Sammelstelle für Elektronik-Recycling zur Entsorgung ab.
Mode d'emploi
2. Technische gegevens
Wanner het tafelplateau nicht volledig waterpas is, kurz ukleine oneffenheden wegwerken:
EinfachAnleitung