CS 2250 S - Kettingzaag JONSERED - Gratis gebruiksaanwijzing en handleiding
Vind de handleiding van het apparaat gratis CS 2250 S JONSERED in PDF-formaat.
Questions des utilisateurs sur CS 2250 S JONSERED
0 question sur cet appareil. Repondez a celles que vous connaissez ou posez la votre.
Poser une nouvelle question sur cet appareil
Download de handleiding voor uw Kettingzaag in PDF-formaat gratis! Vind uw handleiding CS 2250 S - JONSERED en neem uw elektronisch apparaat weer in handen. Op deze pagina staan alle documenten die nodig zijn voor het gebruik van uw apparaat. CS 2250 S van het merk JONSERED.
GEBRUIKSAANWIJZING CS 2250 S JONSERED
Gebruiksaaanwijizing
DE (2-41)
FR (42-81)
NL (82-121)
Symbole am Gerät:
Symbolen op de machine:
WAARSCHUWING! Motorkettingzagen kuren gevaarlijk zijn! Slordig of onjuist gebruik kan resulteren in ernstig letsel of overlieden van de gebruiker of anderen.
Neem de gebruiksaanwijzing grondig door en gebruik de machine Niet voor u alles duidelijk heeft begrepen.
Draag altijd:
Goedgekeurdeveiligheidshelm
- Goedgekeurde gehoorbeschemmers
Veiligheidsbril of vizier
Dit product voldoet aan de geldende CE-richtlijnen.
Geluidsemissie maar de omgeving volgens de richtlijnen van de Europese Gemeenschap. De emissie van de machine worden aangegeven in het hoogstuk Technische gegevens en op plaatjes.
De gebruiker moet steeds beside handen gebruiken om de kettingzaag te bedieren.
Bedien een kettingzaag nooit verwijl u deze slechts met een hand vasthoudt.
Voorkom dat de punt van het zaagblad in contact komt met enig voorwerp.
WAARSCHUWING! Er kan terugslag optreden wanner de punt van het zaagblad in contact komt met een voorwerp en een reactie veroorzaken waardoor het zaagblad omhoog en maarachtenaar de gebruiker toe kommt. Dit kan ernstig persoonlijk letsel veroorzaken.
Overige op de machine aangegeven symbolen/ plaatjes verwijzenaar specifieke eisen aan certificering op bepaalde markten.









Symbolen in de gebruiksaanwijzing:
Controle en/of onderhoud
moeten worden uitgevoerd als
de motoruit staat. N.B! De
start/stopknopGaat
automatisch terugaar
bedrijfsstand. Om een
onbedoelde start te
voorkomen,要去aarom altije
ontstekingsmechanisme van de
bij montage,controle en/of one

Gebruik alkijd goedgekeurde veiligheidshandschoenen.
Moet regelmatig schoongemaaakt worden.
Controleer met het blote oog.
Gebruik van veiligheidsbril of vizier verplicht.
Brandstof bijvullen.
Olie bijvullen en afstellen van oliestroom.
De kettingrem moet geactiveerd bijn wanneer u de motorkettingzaag start.







WAARSCHUWING! Er kan terugslag optreden wanneer de punt van het zaagblad in contact komt met een voorwerp en een reactie veroorzaken waardoor het zaagblad omhoog enaarachten aan de gebruiker toe kommt. Dit kan ernstig personlijk letsel veroorzaken.

Inhoud
VERKLARING VAN DE SYMBOLEN
Symbolen op de machine: 82
Symbolen in de gebruiksaanwijzing: 82
INHOU
Inhoud 83
INLEIDING
Besteklant! 84
WAT IS WAT?
Wat is wat op de motorkettingzaag? 85
ALGEMENE VEILIGHEIDSINSTRUCTIES
Maatregelen voor gebruik van een neue motorkettingzaag 86
Belangrijk 86
Gebruik altijd uw gezond verstand. 87
Persoonlijkeveiligheidsuitrusting 87
Veiligheidsuitrusting van de machine 87
Snijutrusting 91
MONTEREN
Monteren van zaagblad en ketting 98
BRANDSTOFHANTERING
Brandstof 100
Tanken 101
Voor ieder gebruik: 104
Algemene werkinstructies 104
Maatregelen die terugslag voorkomen 111
ONDERHOUD
Algemeen 112
Carburaturinstelling 112
Controle, onderhoud en service van de veiligheidsuitrusting van de motorkettingzaag .... 112
Geluidemper 114
Starter 115
Luchtfilter 116
Bougie 117
Neuswiel van het zaagblad smeren 117
Naaldlager smeren 117
Koelsystem 117
Centrifugal reinigen "Turbo Air Cleaning" 118
Gebruik in de winter 118
Onderhoudsschema 119
TECHNISCHE GEGEVENS
Vijlen en vijilmallen van de zaagketting 121
EG-verklaring van overeenstemming 121
INLEIDING
Beste klant!
Gefeliciteerd met de aankoop van een Jonsered-product!
We zijn ervan overtuigd dat u de kaliteit en prestaties van ons product gedurende een lange periode maar volle tevredenheid zult waarden. Door de aankoop van eén van onsste producten krijt u de beschikking over professionele hulp bij reparations en service moct er toch iegeuren. Wanner u de machine Niet heeft gekocht bij een van ons erkende dealers, kunt u hen vragen aan de dichtstbijingende serviceworkplaats.
Wij hapen dat u tevreden zult zich met uw machine en dat deze u gedurende langeijd za vergezellen. Denk erom dat deze gebruiksaanwijzing een waardevol document is. Door de inhoud (gebruik, service, onderhoud enz.) te volgen kutu u de levensduur van uw machine en de tweedehandes Waarde aanzienlijk verlengen. Mocht u uw machine verkopen moet u ervoor zorgen de gebruiksaanwijzing aan de neue eigenaar over te dragen.
Succes met het gebruik van uw Jonsered-product!
Jonsered werkkt voortdurend aan het verder ontwikkelen vanhaar producten en houdt zich dan ook hetrecht voor om zonder aankondiging vooraf wijzigingen in o.a. vorm en uiterlijk door te voeren.
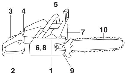
WAT IS WAT?




Wat is wat op de motorkettingzaag?
1 Cylinderkap
2 Decompressieklep
3 Brandstofpomp
4 Startherinnering
5 Gecombineerde start- en stopknop
6 Achterste handvat
7 Informatie- en waarschuwingsplaatje
8 Brandstoftank
9 Stelschroeven carburateur
10 Starthendel
11 Starter
12 Kettingolietank
13 Product- en serienummerplaatje
14 Voorste handvat
15 Terugslagbeveiliging
16 Geluddemper
17 Ketting
18 Neuswiel
19 Zaagblad
20 Schorssteun
21 Kettingvanger
22 Kettingspannerschroef
23 Koppelingdeksel
24 Rechterhandbescherming
25 Gashendel
26 Gashendelvergrendeling
27 Kettingspanwiel (CS 2245S, CS 2250S)
28 Knop (CS 2245S, CS 2250S)
29 Gebruiksaaanwijzing
30 Zaagbladbescherming
31 Combisleutel
Maatregelen voor gebruik van een neue motorkettingzaag
Lees de gebruiksaanwijzing zorgvuldig door.
- Controller de montage en de afstelling van de snijuitrusting. Zie de instructies in het hoofdstub Monteren.
Tank en start de motorzaag. Zie de instructies in de hoofdstukken Brandstofhantering en Starten en Stoppen.
- Gebruik de motorkettingzaag Niet voor er voldoende kettingsmeerolie bij de zaagketting is gekomen. Zie de instructies in het hoofdstuk Smeren van de snijuitrusting.
- Langdurige blootstelling aan lawaai kan leiden tot permanente gehoorbeschadiging. Gebruik waarom algijd goedgekeurde gehoorbescherming.

WAARSCHUWING! De oorspronkelijke vormgeving van de machine mag in geen enkel geval gewijzigd worden zonder toestemming van de fabrikant. Men moet altiijd originele onderdelen gebruiken. Niet goedgekeurde wijzigingen en/of Niet-originele onderdelen kunten tot ernstige verwondingen of de dood van zowel gebruiker als omstanders leiden.

WAARSCHUWING! Als
motorkettingzagen slordig of verkeerd
gebruikt worden, können ze gevaarlijk
gereedschap zich en tootenstige, zichs
levensgevaarlijke verwondingen leiden.
Het is erg belangrijk dat u deze
gebruiksaanwijzing leest en begrijpt.

WAARSCHUWING! De binnenkant van de geluiddempo bevat chemaliën die kankerverwekkend hunnen. Vermijd contact met deze elementen wanner de carburateur is beschadigd.

WAARSCHUWING! Langdurige inademing van de uitlaatgassen van de motor, kettingolienevel en stof van zaagsel kan een gezondheidsrisico vormen.

WAARSCHUWING! Het ontstekingssysteme van deze machine produeertijdens bedrijf een elektromagnetisch veld. Dit veld kan onder bepaalde omstandigheden pacemakers storen. Om het risico van ernstig of fataal letsel te verminderen, raden wij aan dat personen met een pacemaker contact opnemen met hun arts en de fabrikant van de pacemaker voor ze deze machine gaan bedieren.

WAARSCHUWING! Sta nooit toe dat\ kinderen de machine gebruiken of in de\ buurt van de machine zich. Omdat de\ machine is uitergerust met een terugverende\ stopschakelaar en kan worden gestart op\ lage snugheid en met weinig kracht op de\ starthandgreep, kennun zichs kleine\ kinderen onder bepaalde omstandigheden\ de kracht hebben, die nodig is om de\ machine te starten. Dat kan een risico van\ ernstig personlijk letsel inhouden.\ Verwijderaarom de bougiekap wanneer\ de machine nicht onder toezicht staat.
Belangrijk
BELANGRIJK!
De machine is alleen gemaakt om in hout te zagen.
U mag alleen de zaagblad/zaagkettingcombinations gebruiken, die wij aanbevelen in het hoofdstub Technische gegevens.
Gebruik de machine nooit als u moe bent, alcohol heeft gedronken of medicijnen heegt ingenomen, die uw gezichtsvermögen, beordelingsvermögen of coordinatievermögen können bevinoelden.
Draag altiijd persoonlijke veiligheidsuitrusting. Zie instructies in het hoofdstuk Persoonlijke veiligheidsuitrusting.
Wijzig deze machine nooit zo dat hij Niet langer overeenstemt met de originele UITvoering, en gebruik de machine Niet als u denkt dat anderen hem haber gewijzigd.
Gebruik nooit een machine die defect is. Volg de onderhouds-, controle- en service-instructions van deze gebruiksaanwijzing. Bepaalde onderhouds- en servicemaatregelen要去 uitgevoerd worden door opgeleide en gekwalificierde specialisten. Zie instructies in het hoofdstuk Onderhoud.
Gebruik uitsluitend de in deze gebruiksaanwijzing aanbevolen accessoires. Zie instructies in de hoofdstukken Snijutrusting en Technische geveens. N.B! Gebruik als untijd een beschemingsbril of gezichtsvizier om het risico van verwonding door wegliegendere voorwerpen te verminderen. Een motorzaag is in staat om met groe kracht voorwerpen, zoals zaagsel, kleine stukjes haut enz.,weg te slingeren. Dit kan leiden tot ernstig letset, vooral aan ogen.

WAARSCHUWING! Een motor lately lopen in een afgesloten of slecht geventileerde ruimte kan dodelijk ongelukken veroorzaken door verstikking of koolmonoxidevergiftingig.

WAARSCHUWING! Een verkeerde snijuitrusting of een verkeerde zaagblad/ kettingcombinatie verhoogt het risico op terugslag! Gebruik uitsluitend de zaagblad/ kettingcombinations die wij aanbevelen, en volg de vijl instructie. Zie de instructies in het hoofdstuk Technische gegevens.
Gebruik altijd uw gezond verstand
Het is onmogelijk om alle denkbare situatuies, waarvoor u zich geplaatst kunt zien bij het gebruik van een motorzaag, af te dekken. Wees alti\dijk voorzichtig en gebruik gezond verstand. Vermijd situatuies, waarvoor u zich niet voldoende gekwalificeerdacht. Wanner u zich, na het lezen van deze instructcies, nog steeds onzeker voelt over de handelwije, moet u een expert om advies vragen voor u verdergaat. Aarzel zich noct contact op te nemen net uw dealer of met ons, wanneer u vragen heeft over het gebruik van motorzagen. We juices u graag van Dienst om u adviezen te Geven, die u helpen uw motorzaag op een betere en veilger manier te gebruiken. Volg een oppleiding in het gebruik van motorzagen. Uw dealer, bosbouwschool of uw bilbiotheekKennu u vertellen welk opledingsmaterial en welke cursussen beschikbaar+zijn.

Er worden voortdurend gewerkt aan het verbeteren van design en techniek - verbeteringen waardoor uw gezilheid en effectiviteit toenemen. Breng regelmatig een bezoek aan uw dealer om te zien welk nut u kut hebben van de noviteiten die worden geintroduceerd.
Persoonlijke veiligheidsuitrusting

WAARSCHUWING! Het grootste gedeelte van de oncegvallen met motorkettingzagen gebeurt wanner de ketting de gebruiker raakt. Bij al het gebruik van de machine moet goedgekeurde persoonlijke beschemingsuitrusting gebruikt worden. Persoonlijke beschemingsuitrusting elimineert de risico's Niet, maar vermindert het schadelijk effect in geval van een oncegal.Vraag uw dealer om raad wanner u uw utrusting koopt.

Goedgekeurdeveiligheidshelm
- Gehoorbeschemers
Veiligheidsbril of vizier
- Handschoenen met zaagbescherming
Broeken met zaagbescherming - Laarzen met zaagbescherming, stalen neus en anti-slip zool
- U要去 altijd een EHBO-kit bij de hand hebben.
Brandblusser en spa

Verder moet de kleding goed aansluiten zonder u in uw bewegingen te belemmeren.
BELANGRIJK! Er können vonden komen van de geluideddempzer, zaagblad en hetting of een andere bron. Houd altijd een hulpmiddel voor brandblussen beschikbaar, voor het geval u ze nodig mocht hebben. Op die manier helpt u bosbranden voorkomen.
Veiligheidsuitrusting van de machine
In dit hoofdstuk worden utgelegd wat de veiligheidsonderdelen van de machine zich, en hun functie. Voor controle en onderhoud zich de instructies in het hoofdstuk Controle, onderhoud en service van de veiligheidsuitrusting van de motorzaag. Zie de instructies in het hoofdstuk Wat is wat?, om te zien waar deze onderdelen zich bevinden op uw machine.
De levensduur van de machine kan worden verkort en het risico van ongelukken kan toenemen wonneer het onderhoud aan de machine Niet op de juiste manier worden uitgevoerd en wonneer service en/of reparaties nicht vakkundig worden gedaan. Indien u meer informatie nodig heeft, verzoeken wij u contact op te nemen met de dichtsbijzijnde serviceworkplaats.

WAARSCHUWING! Gebruik de machine nooit wanneser de veiligheidsuitrusting defect is. De veiligheidsuitrusting要去 worden gecontroleel er onderhoden. Zie de instructies in het hoofdstuk Controle, onderhoud en service van de veiligheidsuitrusting van de motorzaag. Als uwmachine Niet door alle controles komt, moet u ernee maar uw serviceworkplaats voor reparatie.
Kettingrem met terugslagbeveiling
Uw motorzaag is voorzien van een kettingrem, die de ketting in geval van terugslag stopt. Een kettingrem verminder het risico op oncegallen, maar alleen u als gebruiker kutnze voorkomen.

Wees voorzichtig wanner u de motorkettingzaag gezruikt en zorg ervoor dat de terugsslagrisico-sector van het zaagblad nooit in contact komt met een voorwerp.

- De kettingrem (A) word of handmatig geactiveerd (via uw linkerhand) of met het traagheidsmechanisme.
- Het activeren vindt plaats wanner der terugslagbeveiliging (B) maar voren worden geduwd.


- Deze beweging activeert een met een vier gespannen mechanisme dat de remvoerig (C) rond het kettingaandrijvingssysteme van de motor (D) (koppelengtrammel) spant.

- De terugslagbeveiliging werden nicht alleen geconstrueerd om de kettingrem te activeren. Een andere belangrijke functie is dat ze het risico vermindert dat de linkerhand de ketting raakt wanneer men de greep op het voorste handvat verliest.

- De kettingrem要去 geactiveerd zijn wanner u de motorzaag start, om te voorkomen dat de ketting draait.

- Gebruik de kettingrem als 'parkeerrem' bij starten en bij korte verplaatsingen, om ongelukken te
voorkomen waar bij gebruikers of omgeving onvrijwillig in contact komen met een bewegende zaagketting.

- De ketting worden ontkoppeld door de terugslagbeveiliging maar après te duwen, maar het voorste handvat.

- Een terugslag kan bliksemsnel gebeuren en erg krachtig zijn. Meestal is de terugslag erglicht en worden de kettingrem nicht alsigtijd geactiveerd. In dieGeVallen is het belangrijk dat men de motorkettingzaag stevig vasthoudt en Niet laat vallen.

Hoe de kettingrem geactiveerd worden, manueel of via het traagheidsmechanisme, worden bepaald door de sterkte van de terugslag en door de positie van de motorkettingzaag in verhouding tot het voorwerp waarmee de terugslagriso-sector in contact komt. Bij hevige terugslag en wonneer de terugslagrisosector van de motorkettingzaag zich zo ver möglichk van de gebruiker befindt, is de kettingrem zo geconstrueree, dat hij wordt geactiveerd via het tegenwicht van de kettingrem (traagheid) in de terugslagrichting.

Bij minder hevige terugslag en wanneer de terugslagrisico-sector van de motorkettingzaag zich dichter bij de gebruiker bevindt, worden de kettingrem manueel geactiveerd met de linkerhand.

- Bij velstand is de linkerhand in een stand, waardoor het onmogelijk is de kettingtem handmatig te activeren. Bij deze greep, d.w.z. wanner de linkerhand zo geplaatst is dat ze de beweging van de terugslagbeveiliging Niet kan beinvloeden, kan de kettingrem uitsluitend geactiveerd worden via het traagheidsmechanisme.

Zal mijn hand de kettingrem bij terugslag algid activeren?
Nee. Er is een zekere kracht voor nodig om de terugslagbeveiliging maar voren te bewegen. Als uw hand de terugslagbeveiliging slechtslicht beroert of eroverheen gaat, kan het gebeuren dat de kracht nicht voldoende groot is om de kettingrem te activeren. Ook wanneer u werkst, moet u de handgrepen van de motorzaag stevig beet honden. Als u dat doet en u krijgt terugslag, laat u misschien nooit uw hand los van de voorhandgreep en activeert u de kettingrem Niet, of de kettingrem wordt pas geactiveerd wanneer de zaag al eventjes heeft hunnen rondslingeren. In zo'n situatie kan het voorkomen dat de kettingrem de ketting Niet kan stoppen voor deze u raakt.
Er zich ook bepaalde werkhoudingen waardoor uw hand Niet bij de terugslagbeveiliging kan om de kettingrem te activeren, bijv. wonneer de zaag in velpositie worden gehonden.
Zal de kettingrem.altijd door de traagheid worden geactiveerd, wanseer terugslag optreedt?
Nee. Ten eerste moet uw rem functioneren. Het is makkelijk de rem te testen, zich de instructcies in het hoofdstuk Controle, onderhoud en service van de veiligheidsuitrusting van de motorzaag. Wij raden aan dat u dit doet, iedereKeer voor u begint te werken. Ten tweede moet dererugslag voldoende sterk+zijn om de kettingrem te activeren. Als de kettingrem gevoelig zou,zou.Deze voortdurend worden geactiveerd, wat lastig zou zich.
Zal de kettingrem me alsijd beschemmen gegen letsel als terugslag voorkomt?
Nee. Ten eerste要去 uw rem functioneren om de bedoelde bescherming te geven. Ten tweede要去 hij zo worden geactiveerd als hierboven beschreiben, om de zaagketting bij terugslag te stoppen. Ten derde kan de kettingrem worden geactiveerd, maar wanner het zaagblad te zich bij u is, kan het gebeuren dat de rem Niet opijd afgeremd is om de ketting te stoppen voor de motorzaag u raakt.
Alleen uzelf en een juiste arbeitstechniek kunnen terugslag en de bijbehorende risico's elimineren.
Gashendelvergrendeling
De gashendelvergrendeling is geconstrueerd om onopzettelijke activering van de gashendel te voorkomen. Wanner de vergrendeling (A) in het handvat wordt gedrukt (= wanneer men het handvat vasthoudt) worden de gashendel ontkoppeld (B). Wanner men het handvat loslaat, gaan zowel de gashendel als de gashendelvergrendeling terug maar hun respectievelijke beginpositions. Deze positie houdt in dat de gashendel automatisch vergrendeld worden op stationair draaien.

Kettingvanger
De kettingvanger is geconstrueree on een losgeraakte of gebarsten ketting op te vangen. Vervang deze, als dat nodig is, met een kettingvanger van aluminium (verkrijgbaar als reserveonderdeel). Dit kan meestal voorkomen worden door de ketting juist op te spannen (zie instructies in het hoofdstuk Monteren) en door voor correct onderhoud en service van het zaagblad en de ketting te zorgen (zie de instructies in het hoofdstuk Algemene werkinstructies).

De rechterhandbescherming moet er behalte de hand beschemmen wonneer de ketting losraakt of breekt, ook voor zorgen dat de takken en twijgen de grip op het achechterste handvat Niet beinvloeden.

Trillingdempingssysteme
Uw machine is uitergerust met een trillingdempingssystem dat geconstrueree is om zo trillingvrij en comfortabel möglichk met de zaag te konnen werken.

Het trillingdempingssysteme van de machine reducert het overbrengen van de trillingen van de motorenheid/ snijuitrusting op de handvateenheid van de machine. Het motorzaaghuis inclusief de snijuitrusting is via een zogenaam trillingdempend element opgehangen in de handvateenheid.

Zagen in een harde houtsoort (de meeste loofbomen)veroorzaakteer trillingen dan zagen in een zachte houtsoort (de meeste naaldbomen).Zagen met een botte
of verkeerde snijuitrusting (verkeerd type of verkeerd geslepen) verhoegt het trillingniveau.


WAARSCHUWING! Als men teveel worden blotgesteld aan trillingen, kan dit tot bloedvat- en zenuwbeschadigingen leiden bij Personen die een slechte bloedcirculatie hebben. Consulteer uw dokter wanner u symptomen heeft die wijzen op te groe blootstelling aan trillingen. Voorbeelden van zulke symptomen zich slapen, geen gevoel, "kriebels", "speldeprikken", pijn, geen of minder kracht, huidverkleuringen of veranderingen van het huidoppervlak. Deze symptomen komen meestel voor op vingers, handen of polsen. Deze symptomen konnen toenemen bij koude temperaturen.
Stopschakelaar
De stopschakelaar要去血液循环t worden om de motor uit te schakelen.

Geluiddemper
De geluidemper wird ontworpen om het geluidsniveau zo laag möglich te honden, en om de uitlaatgassen weg te richten van de gebruiker.

WAARSCHUWING! De uitlaatgassen van de motor zijn heet en kuren vonden bevatten die brand kurenveroorzaken. Start de machine waarom nooit binnenshuis of in de buurt vanlicht ontvlambaar materiaal!
In gebieden met een warm en droog klimaat kan het risico van branden erg groot zijn. Het komt voor dat deze gebieden gereguleerd worden met wetgeving, die vereist
dat de geluiddempoer onder andere uitgerust要去en met een goedgekeurd vondenopvangnet.

N.B.! De geluiddempert worden zeer heet, zowel tijdens het gebruik als na het stopen. Dit geldt ook bij stationair draaien. Wees opletend op brandgevaar, Vooral bij hantering vlakbij brandgevaarlijke stoffen en/of gassen.

WAARSCHUWING! Gebruik de motorzaag nooit zonder of met een kapotte geluiddempster. Door een kapotte geluiddempster kunten het geluidsniveau en het risico van brand aanzienlijk toenemen. Hou gereedschap voor brandblussen bij de hand. Gebruik nooit een motorzaag zonder of met een defect vonden opvangnet, als een vondenopvangnet verplicht is in uw werkgebied.
Snijuitrusting
In dit hoofdstuk wordenbehandeld hoe u door het juiste onderhoud en door het juiste type snijuitrusting te gebruiken:
- Het terugslagrisico van uw machine redueert.
- Vermindert het risico op losraken en barsten van de ketting.
Bereikt optimale snijprestaties. - De levensduur van de snijuitrusting verlengt.
Voorkomt toename van trillingsniveau.
Basisregels
- Gebruik uitsluitend de door ons aanbevolen snijuitrusting! Zie de instructies in het hoofdstuk Technische gegevens.

Zorg ervoor dat de tanden van de ketting goed en juist geslepen zich! Volg once instructies en gebruik de aanbevolen vrijmal. Ein verkeerd geslepen de beschadigde ketting verhoogt het risico op oncevallen.

Zorg ervoor dat de tanddiepte juist is! Volg onsine instructies en gebruik de aanbevolen
dieptestellermal. Als de tanddiepte te groot is, verhoegt dit het risico op terugslag.

- Hou de ketting gestrekt! Als de ketting nicht voldoende gestrekt is, neemt het risico toe dat de ketting losraakt en de slijtage van zaagblad, ketting en kettingwiel neemt toe.


Zorg ervoor dat de snijuitrusting voldoende gesmeerd is en onderhoud ze op de juiste manier! Als de ketting nicht voldoende gesmeerd worden, neemt het risico op barsten toe en verhoogt de slijtage van zaagblad, ketting en kettingwiel.

Snijuitrusting die het risico op terugslag vermindert

WAARSCHUWING! Een verkeerde snijuitrusting of een verkeerde zaagblad/ kettingcombinatie verhoegt het risico op terugslag! Gebruik uitsluitend de zaagblad/kettingcombinations die wij aanbevelen, en volg de vijlinstructie. Zie de instructies in het hoofdstuk Technische gegevens.
Terugslag kan alleen voorkomen worden doordat u er als gebruiker voor zorgt dat de terugslagrisico-sector van het zaagblad nooit in contact可想而知 met een Voorwerp.
Door snijutrusting met een "ingebouwde" terugslagreductie te gelebruiken en door de ketting correcte te slijpen en te onderhoden kan het effect van een terugslag gereduceerd kan worden.
Zaagblad
Hoe kleiner de neusradius, hoe minder neiging tot terugslag.
Ketting
Een ketting bestaat UIT een aantal verschillende schakels die leverbaar zijn in standardduitvoering en in eenuitvoering die het risico op terugslag reducert.
BELANGRIJK! Geen enkele zaagketting elimineert het risico op terugslag.

WAARSCHUWING! Ieder contact met een draaiende zaagketting kan ernstig letsel veroorzaken.
Een aantal uitdrukkingen die de specificaties van het zaagblad en de ketting aangeven.
Om alle verilgheidsonderdelen op de snijuitrusting te behouden, moet u versleten of beschadigde zaagblad-/ kettingcombinaties verrangen door een zaagblad en ketting die Jonsered aanbeveelt. Zie de instructies in het hoofdstuk Technische geegevns voor informatie welke zaagblad-/kettingcombinaties we aanbevelen.
Zaagblad
Length (duim/cm)

- Aantal tanden in het neuswiel (T).

- Kettingsteek (=pitch) (duim). Het neuswiel van het zaagblad en het kettingaandrijftandwiei van de motorkettingzaag要去en aangepast zich aan de afstandussen de aandrijschakels.

- Aantal aandrijschakels (stuks). Elke zaagbladlengthe levert in combinatie met de kettingsteek en het+aantal tanden van het neuswiel een bepaald+aantal aandrijschakels op.

- Zaagbladgroefbreedte (duim/mm). De breedte van de zaagbladgroef moet aangepast zijn aan de aandrijschakelbreedte van de ketting.

- Kettingolie-opening en opening voor kettingstrekkerpen. Het zaagblad要去 aangepast zijn aan de constructie van de motorkettingzaag.

Ketting
- Kettingsteek (=pitch) (duim)

Aandrijschakel-breedte (mm/duim)

Aantal aandrijfschakels (stuks)

Slijpen en afstellen van de tanddiepte van de ketting
Algemeen met betrekking tot het sijjen van de tanden
- Zaag nooit met een botte ketting. De ketting is bot wanneer u de snijutrusting door de boom要去 drukken en wanneer de houten spaanders ergklein zich. Met een zeer botte ketting zijn er zichs—helemaal geen spaanders. Dan krijtgen alleen houtpoeder.
- Een goed geslepen ketting eet zich door het hout en geeft houten spaanders die groot en lang+zijn.

- De zagende delen van een ketting worden zaagschakels genoemd en bestaan uit een snijtand (A) en een diepestellernok (B). Het verschil in hoogteussen deze beiden bepaalt de snijdiepe.

Bij het slijpen van snijtanden moet men rekening houden met vier verschillende afmetingen.
1Vijlhoek

2 Snijhoek

3 Vijlpositie

4 Diameter van de rende vijl

Het is erg moeijlk om zonder hulpmiddelen een ketting correct te slijpen. Daarom raden we u aan one vijlmael te gebruiken. Die garandeert dat de ketting wordst geslepen voor een optimale terugslagreductie en zaagcapaciteit.

Zie de instructies in het hoofdstuk Technische gegevens voor de gegevens die van toepassing zijn bij het slijpen van de ketting van uw motorzaag.

WAARSCHUWING! Het nicht volgen van de slijpinstructies,verhoogt het terugslagrisico van de ketting aanzienlijk.
Sijpen van de snijtand


Om de snijtand te slijpen heeft u een Ronde vijl en een vijlmal nodig. Zie de instructies in het hoofdstuk Technische gevevens met betrekking tot de diameter van deRonde vijl en welke vijlmal worden aanbevolen voor de ketting van uw motorzaag.



- Controller of de ketting gestrekt is. Als de ketting nicht voldoende gestrekt is, is ze zijdelings onstabel waardoor ze Niet juist geslepen kan worden.

Vijl alkijd van de binnenkant van de snijtand waar buiten toe. Til de vijl op wanneer u maar de volgende tand要去. Vijl eerst alle tanden aan een kant, draai daarna de motorzaag om en vijl de tanden van de andere kant.

Vijl zo dat alle tanden even lang zijn. Wonneer de lengte van de snijtand slechts 4mm (0,16") bedraagt, is de ketting versleten en moet ze verrangen worden.


Algemeen betreffende het instellen van de snijdiepte
- Wonneer men de snijtanden slijpt, vermindert de tanddiepte (=snijdiepte). Om de maximum zaagcapaciteit te behouden,要去 dieieptestellernok verlaagd worden tot de aanbevolen hoogte. Zie de instructucties in het hoofdstuk Technische gegevens hoe groot de tanddiepte要去 voor de ketting van uw motorzaag.


WAARSCHUWING! Een te große snijdiepte vergroot het terugslagrisico van de kelting!
Afstelling van de tanddiepte


-
Wonneer de snijdiepte worden afgesteld,要去en de snijtanden net geslepen zich. We raden aan de snijdiepte bij te stellen na elke derde kettingslijpbeurt. N.B.! Bij deze aanbeveling worden ervan uitgegaan dat de lengte van de snijtanden Niet abnormaal afgevijd werk.
-
Om de snijdiepte in te stellen heeft u een platte vrij en een dieptestellermal nodig. We raden u aan once vijlmal voor de tandtiepe te gebruiken, om de juiste maat voor de tandtiepe en de juiste hoek van de dieptestellernok te krijgen.

Leg de vijlmal over de zaagketting. Informatie over het gebruik van de vijlmal staat op de verpakking. Gebruik de platte vijl om het overschot van het deel van de dieptestellernok dat onder de mal uitkomt, weg te vrijlen. De snijdiepte is correct als u geen wonderstand voelt wanner u de vijl over de mal haalt.

Ketting strekken



WAARSCHUWING! Een onvoldoende gestrekte ketting kan resulteren in het losraken van de ketting wat tot ernstige en zelfs dodelijke verwondingen kan leiden.
Hoe meer u de ketting gebruikt, hoe langer ze worden. Het is belangrijk dat u de snijuitrusting aan deze verandering aanpast.
Bij elke tankbeurt moet gecontroleerd worden de hetting voldoende gestrekt is. N.B.!. Een十几年e wetting vereist een inrijperiode gedurende dewelke men vaker moet controlenen of de hetting voldoende gestrekt is.
Algemeen geldt dat de ketting zo hard möglich gestrekt要去en, maar Niet harder dan dat men ze manueel rond kan draaien.

CS 2245

Maak de zaagbladmoeren los die het koppelengdeksel/kettingrem vergrendelen. Gebruik de
combisleutel. Draai de zaagbladmoeren met de hand zo vast möglichk.

- Til de zaagbladpunt op en strek de ketting door aan de kettingstrekschroef te draaien met behulp van de combisleutel. Strek de ketting tot hij Niet langer slap hangt aan de onderkant van het zaagblad.

- Gebruik de combisleutel en haal de zaagbladmoeren aan terwijl u tegelijerkertijd de zaagbladpunt omhoog houdt. Controller of het ketting gemakkelijk rond kan gedraaid worden met de hand en of hij niel hier beneden hangt aan de onderkant van het zaagblad.


Deplaats van de kettingstrekschroef is verschillend voor de once diverse modellen motorzagen. Zie de instructies in het hoofdstuk Wat is wat?, waar wordt aangegeven waar hij op uw model zit.

CS 2245S, CS 2250S
Maak de knop los door unde ze uit te klappen.

- Draai de knop gegen de klok in om de de kap van het zaagblad los te make.

Stel de spanning van de ketting af door het wiei waar beneden (+) te draaien voor meer spanning en omhoog (-) voor minder spanning.

Zet de zaagbladkoppeling vast door de knop met de klok mee te draaien.

Klap de knop terug om de spanning vast te zetten.

Snijuitrusting smeren

WAARSCHUWING! Onvoldoende smeren van de snijuitrusting kan een breuk van de ketting veroorzaken wat tot ernstige en zelfs dodelijke verwondingen kan leiden.
Zaagkettingolie
Zaagkettingolie要去 een goede hechtung aan de motorzaagketting en tevens goede vloeie-eigenschappen hebden, of het nu een warme zomer oen een koude winter is.
Als fabrikant van motorkettingzagen hebben wij een optimale zaagkettingolie ontwikkeld die door zijn plantaardige basis bovendien biologisch afbreekbaar is. Wij raden het gebruik van once olie aan voor zowel een maximale levensduur van de motorzaagketting als voor behoud van het milieu. Als once zaagkettingolie Niet verkruijbaar is, bevelen wij gewone zaagkettingolie aan.
Gebruik nooit afvalolie! Deze is schadelijk voor uzelf, voor de machine en het milieu.
BELANGRIJK! Bij gelebruik van plantaardige kettingolie, moet u de zaagketting demonteren en ketting en zaagbladgleuf schoonmaking, voor u ze langeijd opberget. Anders bestaat het risico dat de kettingolie oxideert, wat ertoe leidt dat de zaagketting vrij worden het neuswiel van het zaagblad aanloopt.
Kettingolie bijvullen
- Al once motorkettingzaagmodellen haben automatische kettingsmering. Een eenaal modellen is ook leverbaar met verstelbare oliestroom.


- De tank voor de kettingolie en de brandstoftank zijn zo gedimensioneerd dat de brandstof op is voordat de kettingolie op is.
Deze veiligheidsfunctie vereistECHter wel dat men de juiste kettingolie gebruikt (met te dunne en dunvloieendi eile raakt de kettingolietank leeg voor de brandstof op is),dat men once aanbevelingen met betrekking tot de carburateurinstelling volgt (met een te "magere"instelling gaat de brandstof langer mee dan de kettingolie) en dat men onze aanbevelingen met betrekking tot de snijuitrusting volgt (een te lang zaagblad heefteer kettingolie nodig).
Controle van de kettingsmering
- Controleer bij elké tankbeurtde kettingsmering.Ziede instructies in het hoofdstuk Smeren van hetneuswiel van het zaagblad.
Hou de zaagbladpunt op ca. 20 cm (8 duim) op een vastlicht voorwerp gericht. Na 1 minuut draaien met 3/4 gas geven, moet er een duidelijkke ollerand te zien zich op het lichte voorwerp.

ALGEMENE VEILIGHEIDSINSTRUCTIES
- Controller of het kettingoliekanaal van het zaagblad open is. Maak schoon indien nodig.

- Controller of de zaagbladgroef schoon is. Maak schoon indien nodig.

- Controller of het neuswiel van het zaagblad soepel draait en of de smeeropening van het neuswiel open is. Maak schoon en smeer indien nodig.

Als de kettingsmering Niet werkt na de bovenstaande controles en de bijbehorende maatregelen, moet u de motorkettingzaag maar uw serviceworkplaats brengen.
Kettingaandrijftandwiel


De koppelingtrommel is voorzien van een van de volgende kettingaandrijftandwielen:
A Spur-aandrijftandwiel (kettingaandrijftandwiel vastgesoldeerd op de trommel)
B Rim-aandrijftandwiel (ervangbaar)

A

Controleer regelmatig het slijtageniveau van het kettingaandrijf-tandwiel. Vervang het als het abnormalaal versleten is. Het kettingaandrijf-tandwiel要去 verrangen worden telkens men de keetting verrangent.
Naaldlager smeren

Beide soorten kettingpoelie's hebben een naaldlager aan de uitgaande as, dat regelmatig gesmeerd moet worden (1 keer per week). N.B.! Gebruik lagervet van goede kwaliteit of motorolie.

Slijtagecontrole van de snijuitrusting

Controller de ketting dagelijks:

- Of er zichtbare barsten in klinken en schakels+zijn.
- Of de ketting stijf is.
- Of klinken en schakels abnormalaal versleten zijn.
Gooi de zaagketting weg als deze een of enkele van bovenstaande punten vertoont.
We raden aan een neue zaagketting te gebruiken om de slijtage van de ketting die u gebruikt te controleren.
Wanneer de lenghte van de snijtanden slechts 4mm bedraagt, is de ketting versleten en moet ze verwangen worden.
Zaagblad

Controllerregelmatig:
- Of er braam zit op de buitenzijden van het zaagblad. Vijl weg indien nodig.

- Of de zaagbladgroef abnormaal versleten is. Vervang het zaagblad indien nodig.

- Als de zaagbladneus abnormaal of ongelijkmatig versleten is. Als er een "holte" ontstaat in waar de radius van de zaagbladneus ophoudt, was de ketting Niet voldoende gestrekt.

Voor een zo lang möglichke levensduur moet het zaagblad elke dag omgedraaid worden.


WAARSCHUWING! Het grootste gedeelte van de oncegallen met motorkettingzagen gebeurt wanner de ketting de gebruiker raakt.
Draag algtd persoonlijke veiligheidsuitrusting. Zie instructies in het hoofdstuk Persoonlijke veiligheidsuitrusting.
Voer geen taken uit waarvoor u zich nicht voldoende gekwalificeerd acht. Zie instructies in de hoofdstubken
Persoonlijke veiligheidsuitrusting, Maatregelen om terugslag te voorkomen, Snijuitrusting en Algemene werkinstructies.
Voorkom situations waar risico op terugslag bestaat. Zie instructies in het hoofdstuk Veiligheidsuitrusting voor de machine.
Gebruik de aanbevolen snijuitrusting en controllerer de conditie waar in ze zich bevindt. Zie instructies in het hoofdstub Algemene werkinstructies.
Controleer de werking van de veiligheidsonderdelen van de motorkettingzaag. Zie instructies in de hoofstukken Algemene werkinstructies en Algemene veiligheidsinstructies.
Monteren van zaagblad en hetting



WAARSCHUWING! Wanner u aan de ketting werk,要去 u altiijd handschoenen dragen.
CS 2245
Controller de kettingrem ontkoppeld is door der terugslagbeveiling van de kettingrem aan de voorste handvatbeugel te duwen.

Verwijder de zaagbladmoer en het koppelingdeksel (de kettingrem). Verwijder de transportbescherming (A).

Monteer het zaagblad over de zaagbladbouten. Plaats het zaagblad in de achechterste stand. Plaats de ketting over het kettingaandrijftandwiel en in de zaagbladgroef. Begin aan de bovenkant van het zaagblad.

Controleer of de randen van de motorzaagschakels op de bovenkant van het zaagblad waar voren zijn gericht.
Monteer het koppelengdeksel en Zoek de kettingafstelpen in de opening van het zaagblad. Controller of de aanrijfschakels van de ketting op het aanrijftandwiel passen en of de ketting jeust in de groef van het zaagblad zit. Draai de zaagbladmoer met uw vingers vast.
Span de ketting door met behulp van de combisleutel de kettingspanschroef met de klok mee te schroeven. De
ketting moet aangespannen worden tot ze nicht langer slap hangt aan de onderkant van het zaagblad.

De ketting is juist gespannen wanner ze nicht langer slap hangt aan de onderkant van het zaagblad en toch gemakkelijk met de hand kan worden voortbewogen. Hou de tip van het blad omhoog en draai de zaagbladmoeren met de combisleutel vast.

Op een neue ketting moet de kettingspanning vaak gecontroleerd worden tot de ketting goed "ingelopen" is. Controleer regelmatig de kettingspanning. Correct aangespannen kettingen geben goede bedrijfsprestaties en—hebben een lange levensduur.

CS 2245S, CS 2250S
Controller of de kettingrem ontkoppeld is door de terugslagbeveiliging van de kettingrem aan de voorste handvatbeugel te duwen.

Maak het kettingspanwiel los en verwijder het koppelingsdeksel (de kettingrem). Haal de transportbescherming weg.

Monteer het zaagblad over de zaagbladbouten. Plaats het zaagblad in de achechterste stand. Plaats de ketting over het kettingaandrijftandwiel en in de zaagbladgroef. Begin aan de bovenkant van het zaagblad.

Controleer of de randen van de motorzaagschakels op de bovenkant van het zaagblad waar voren zijn gericht.
Monteer het koppelengdeksel en Zoek de kettingafstelpen in de opening van het zaagblad. Controller of de aandrijschakels van de ketting op het aandrijftandwiel passen en of de ketting juist in de groef van het zaagblad zit.
Breng de ketting op spanning door het viel waar beneden te draaien (+). De ketting要去 zover gespannen zijn dat ze aan de onderkant van het zaagblad Niet doorzakt.

De ketting is correct gespannen wanner ze aan de onderkant van het zwaard Niet doorzakt, maar nog wel makkelijk met de hand bewogen kan worden. Houd de neus van het zwaard omhoog enzet de zwaardkoppeling vast door de knop gegen de klok in te draaien.

Op een neue ketting moet de kettingspanning vaak gecontroleerd worden tot de ketting goed "ingelopen" is. Controller regelmatig de kettingspanning. Correct
aangespannen kettingen gegen goede bedrijfsprestaties en—hebben een lange levensduur.

Monteren van schorssteun
Voor het monteren van een schorssteun - neem contact op met uw serviceworkplaats.

Brandstof
Let op! Uw machine is uitergerust met een tweetaktmotor; gebruik steeds een mix van benzine met tweetaktolie. Om zeker te zijn van de juiste mengverhouding, is het erg belangrijk dat u de oliehoeveelheid steeds nauwkeurig afmeet. Als ukleine brandstofhoeveelheden meldt, hebben zichs kleine afwijkingen van de juiste oliehoeveelheid een groe invloed op de mengverhouding.

WAARSCHUWING! Zorg steeds voor een goede ventilatie bij het vullen en hanteren van brandstof.
Benzine

- Gebruik loodvrije of gelode benzine van een hoge kwaliteit.
N.B.! Motoren voorzien van een katalysator要去en op een loodvrij benzine-oliemengsel lopen. - Het aanbevolen laagste octaangetal is 90 (RON). Indien u de motor gekruikt met benzine met een lager octaangetal dan 90, kan het zogenaamde pingelen voorkomen. Dit leidt tot een hogere motortemperatuur en hogenere belasting van de lagers, wat ernstige schade aan de motor kan veroorzaken.
- Als men voortdurend met een hoog toerental werkkt (b.v. snoeien) is het aan te raden een hoger octaangehalte te gebruiken.
Milieubrandstof
JONSERED beveelt het gebruik van milieuvriendelijk benzine aan (zogenaamde alkylaatbenzine), hetzig Aspen tweetakt benzine hetzig milieuubenzine voor viertaktmotoren gemengd met tweetaktolie zoals hieronder aangegeven. Let op dat het nodig kan zich de carburateur af te stellen wanneer u van brandstof verandert (zie de instructies in het hoofdstuk Carburateur).
Inlopen
De eerste tien uur moet u voorkomen op een veel te hoog toerental te werken.
Tweetaktolie
- Voor de Beste resultaten en prestaties, moet u JONSERED tweetaktolie gebruiken, die special wordt gemaakt voor unsere luchtgekoelde tweetaktmotoren.
- Gebruik nooit tweetaktolie die bedoeld is voor watergekoelde buitenboardmotoren, zogenaamde outboardoil (aangeduid met TCW).
- Gebruik nooit olie bedoeld voor vier-takt motoren.
- Een lage oliekwaliteit of een te rijk olie/ brandstofmengsal kan de functie van de katalysator op het spel zetten en de levensduur verminderen.
Mengverholding
1:50 (2%) met JONSERED tweetaktolie.
1:33 (3%) met andere olie, gemaakt voor lustgekeeled tweetaktmotoren, geklassificeerd voor JASO FB/ISO EGB.
| Benzine, liter | Tweetaktolie, liter | |
| 2% (1:50) | 3% (1:33) | |
| 5 | 0,10 | 0,15 |
| 10 | 0,20 | 0,30 |
| 15 | 0,30 | 0,45 |
| 20 | 0,40 | 0,60 |
Mengen

- Meng de benzine en olie altiijd in een schone jerrycande goedgekeurd is voor benzine.
- Begin altijd met de helft van de benzine die gemengd moet worden erin te gieten. Giet er daarna de gehele oliehoeveelheid bij. Meng (schud) het brandstofmengsel. Giet er de resterende hoeveelheid benzine bij.
- Meng (schud) de brandstofhoeveelheid goed voor u de brandstofank van de machine vult.
- Meng Niet meer brandstof dan voor max. 1 maand nodig is.
- Als u de machine gedurende een langereijd Niet gebruikt, moet u de brandstoftank leeg maken en hem schoonmakers.
Kettingolie
- Als smeermiddel raden we een speciale olie aan (kettingsmeerolie) met goede adhesie.

- Gebruik nooit gebruikte olie. Dit kan de oliepomp, het zaagblad en de ketting beschaden.
- Het is belangrijk het juiste olietype te gebruiken in verhouding tot de luchttemperatuur (juiste viscositeit).
- Bij temperatenere onder 0^ worden bepaalde oliesoorten minder visceus. Dit kan de pomp overbelasten en de componenten van de pomp beschadigen.
- Neem contact op met uw dealer voor het kiezen van de juist kettingolie.
Tanken


WAARSCHUWING! Om het risico op brand te verminderen, moet u de volgende voorzorgsmaatregelen nemen:
Rook nicht en plaats ook geen warm voorwerp in de buurt van de brandstof.
Stop de motor en LAST hem voor het tanken enkele minutes afkoelen.
Open de dop van de tank voorzichtig
wonneer u wilt tanken zodat eventuele
overdruk langzaam verwijdnt.
Draai de dop van de tank goed vast na het tanken.
Verwijder de machine steeds van de tankplaats, voor u de motorzaag start.
Maak de dop van de tank en de directe omgeving goed schoon. Maak de brandstof- en kettingolietanks regelmatig schoon. Het brandstofffilter要去 minstens een keer per Jaar verrangen worden. Verontreinigingen in de tank kunnen defecten veroorzaken. Zorg ervoor dat de brandstof goed gemengd is door de jerrycan voorzichtig te schudden voor u de tank vult. De volumes van de kettingolie- en brandstoffanks zijn goed op elkaar afgestemd. Vul waarom de kettingolie- en de brandstoffank altijd op hetzelfdeijdstip.


WAARSCHUWING! Brandstof en brandstofdampen zijn uiterst brandgevaarlijk. Wees voorzichtig bij het hanteren van brandstof en kettingolie. Vergeet het brand-, explosie- en inademingsgevaar Niet.
Brandstofveiligheid
Tank nooit wanneer de motor van de machine loopt.
Zorg voor een goede ventilatieijdens het tanken en het Mengen van brandstof (benzine en 2-takt olie).
- Verplaats de machine ten minste 3 m van de tankplaats voor u de motor start.

Start de machine nooit:
1 Als u brandstof of kettingolie op de machine heeft gemorist. Neem alle gemorste brandstof af en laat de benzinersten verdampen.
2 Als u brandstof op uzelf of op uw kleding gemorst heeft, trek schone kleding aan. Was de lichaamsdelen die in contact+zijn geweest met brandstof. Gebruik water en zeep.
3 Als de machine brandstof lekt. Controller de tankdop en de brandstoffleidingen regelmatig op lekkage.

WAARSCHUWING! Gebruik nooit een machine met zichbare beschadigingen aan bougiebescherming en ontstekingskabel. Er bestaat een risico van vonkvorming, wat brand kan veroorzaken.
Transport en opbergen
Berg de motorkettingzaag en de brandstof zo dat eventuelle lekkage en dampen Niet in contact kennen konen met vonden of vlammen. Bijvoorbeeld elektrische machines, elektrische motoren, stopcontacten/schakelaars, verwarmingsketels e.d.
- De brandstof moet in waarvoord bedoelde en goedgekeurde tanks worden bewaard.
- Bij opslag van langere duur en transport van de motorkettingzaag moeten de brandstof- en zaagkettingolietanks worden geleegd. Vraag bij uw tankstation of de gemeente waar u de afgetapte brandstof en kettingolie kwijt kan.
Zorg ervoor dat de machine goed is schoongemaakt en dat een volledige servicebeurt is gegeven voor een langeperiode van stalling.
- De transportbescherming van de snij-uitrusting moetijdens transport of opslag van de machine altdjaangebracht zich, om abusievelijk contact met descherpe ketting te vermiijden. Ook een ketting die nicht beweeegt, kan ernstig lesetl toebrengen aan de gebruiker of andere Personen, die de ketting aanraken.
- Verwijder het ontstekingsmechanisme van de bougie. Activeer de kettingrem.
Opslag voor langearend
Leeg de brandstof- en olietanks op een goed geventileerde plaats. Bewaar de brandstof in goedgekeurde jerrycans op een veilige plaats. Monteer de zaagbladbescherming. Maak de machine schoon. Zie instructies in het hoofdstuk Onderhoudsschema.
Starten en stoppen

WAARSCHUWING! Voor het starten moet u rekening honden met de volgende punten:
De kettingrem moet geactiveerd zijn wanneer de motorzaag worden gestart, om het risico van contact met de draaiende ketting bij de start te verminderen.
Start de motorkettingzaag nooit zonder daaagblad, ketting en alle kappen gemonteerd zijn. Anders kan de koppeling losraken en persoonlijk letsel veroorzaken.
Plaats de machine steeds op een stabiele ondergrund. Zorg ervoor dat u stevig staat enDat de ketting nicht in contact kan komen met een voorwerp.
Hou onbevoegden uith het werkgebied.
Starten
De kettingrem moet geactiveerd zijn wanner u de motor start. Activeer de rem door de terugslagbescherming maar voren te brengen.

Koude motor
Startpositie (1): Zet de start/stopschakelaar in de chokestand door het rode bedieningsselementaar buiten en omhoog te trekken (1).
Decompressieklep (2): Druk de klep in om de druk in de cilinder te verminderen om zo het starten van de machine te vergemakkelijken. Wanner de machine gestart is, gaat de klep automatisch terug waar de beginpositie.
Brandstofpomp (3): Druk een aantal malen op de rubberen balg van de brandstofpomp tot er brandstof in de balg komt (ten minste 6 keer). De balg hoeffiet neht heelaal gemvuld te worden.

Grijp het voorste handvat vast met uw linkerhand. Houd de motorzaag op de grond door uw rechtservoet op het
onderste deel van het achterste handvat teplaatsen. Grijp de starthendel vast en trek met uwrechterland langzaam aan het starterkoord tot u onderstand voelt (starkhaven grijpen in) en trek daarna eenaar keer snel en kort totdat de motor ontsteekt (4).
Druk de rode chokehendel (5) in zodra de motor onsteekt, wat te horen is aan de hand van een "plot"-geluid. Blij stevig aan het koord trekken totdat de motor start.
Warme motor
Wanneer de motorzaag warm is, kurz u de zaag starten door enkel stevig aan het koord te trekken totdat de motor start (6).
Wikkel het startkoord nooit rond uw hand.
Omdat de kettingrem nog steeds geactiveerd is, moet het toerental van de motor zo snel möglichk terug maar nullast; hiervoort moet u de gasvergrendeling uitschakelen. Uitschakeling vindt plaats door een Klein beetje gas te给他们 via de gashendel. Daardoor voorkomt u onnodige slijtage van koppeling, koppelingsstrommel en remband.

Laat de machine enkele seconden stationair draaien voordat u vol gas geeft.
N.B.! Trek het starterkoord Niet volledig UIT en-Laat de starthendel Niet zomaar los wanner het volledig uitgetrokken is. Dit kan tot beschadigingen van de machine leiden.

Let op! Reset de kettingrem door de terugslagbescherming terug te brengen maar de handvatbeugel. De motorkettingzaag is dan klaar voor gebruik.
Reset de kettingrem door de terugslagbescherming terug te brengen maar de handvatbeugel. De motorkettingzaag is dankaar voor gebruik.


WAARSCHUWING! Langdurige
inademing van de uitlaatgassen van de motor, kettingolienevel en stof van zaagsel kan een gezondheidsrisico vormen.
- Start de motorkettingzaag nooit zonder dat zaagblad, zaagketting en alle kappen correct gemonteerd zijn. Zie de instructies in het hoofdstuk Monteren. Wanneer zaagblad en ketting Niet op de motorzaag+zijn gemonteerd, kan de koppeling losraken en ernstig letsel veroorzaken.

- De kettingrem要去 geactiveerd zich wanner u de motorzaag start. Zie instructies onder het hoofdstuk Starten en stoppen. Gebruik nooit de valstart voor de motorzaag. Deze methode is zeer gevaarlijk,ondat u makkelijk de controle over de motorzaag kutverliezen.

- Start de machine nooit binnenshuis. Vergeet nicht dat het gevaarlijk is om de uitlaatgassen van de motor in te ademen.
- Controller de omgeving en vergewis u ervan dat er geen risico.bestaat dat mensen de dieren in contact komen met de snijuitrusting.

- Hou de motorzaag aktijd met beiden handen beet. Hou uw rechterhand op de weiterhandgreep en uw linkerhand op de voorhandgreep. Alle gebruikers, zowel rechts- als linkshandigem, moeten deze grep gebruiken.Hou stevig vast zodat uw duimen en vingers de handgrepen van de motorzaag omsluiten.

Stoppen

U stopt de motor door de start/stophendel in te drukken. N.B.! De start/stopknop gaat automatischtering naar bedrijfsstand. Om een onbedoelde start te voorkomen,要去aarom altijd het ontstekingsmechanisme van de bougie worden gehaald, wonneer de machine Niet onder toezicht staat.

Voor ieder gebruik:

1 Controller of de kettingrem goed werkt en nicht beschadigd is.
2 Controller of de awhilee rechterhandbescherming nicht beschadigd is.
3 Controller of de gashendelvergrendeling goed werkt en Niet beschadigd is.
4 Controller of het stopcontact goed functioneert en onbeschadigd is.
5 Controller of alle handvatten vrij van olie zich.
6 Controller of het trillingsdempingssysteme goed werkt en Niet beschadigd is.
7 Controller of de geluidemper goed vast zit en nicht beschadigd is.
8 Controller of alle onderden van de motorkettingzaag vastgedraaid zich en dat ze nicht beschadig zich onontbreken.
9 Controller of de kettingvanger op+zijn plaatzit en nicht beschadigd is.
10 Controller de kettingspanning.
Algemene werkinstrcties
BELANGRIJKI
In dit hoofdstuk nemen we de basisveiligheidsregels voor het werken met een motorkettingzaag door. Deze informatie kan nooit de kennis verrangen die een vakman via opledingen en praktische ervaring hebts verworven. Wanner u in een situatie belandt waar u Niet goed weet hoe u verder te werk要去 gaan,要去 u een expert raadplegen. Wend u touw dealer, uw serviceworkplaat of een ervaren motorkettingzaaggebruiker. Vermijd gebruik waarvan u vindt dat u Niet voldoende gekwalificeerd bent!
Voor u de motorkettingzaag gaat gebruiken, moet u weten wat terugslag is en hoe dit voorkomen kan worden. Zie instructies in het hoofdstuk Maatregelen die terugslag voorkomen.
Voor u de motorkettingzaag gaat gebruiken moet u begrijpen wat het verschil is:tussen zagen met de onderkant en zagen met de bovenkant van het zaagblad.Zie de instructies in het hoofdstuk Maatregelen om terugslag te voorkomen en De veiligheidsuitrusting van de machine.
Draag altiijd persoonlijke veriligeidsuitrusting. Zie instructies in het hoofdstuk Persoonlijke veriligeidsuitrusting.
Basisveiligheidsregels
1 Controller de omgeving:
- Om ervoor te zorgen dat u de contrôle over uw machine nicht kurz verliezen vanwege omstanders, dieren of een andere reden.
- Om te voorkomen dat omstanders en dieren in contact komen met de ketting of geraakt worden door de vallendeBoom en gewond raken.

N.B.! Volg de hierboven genoemde puntenaar gebruik de motorkettingzaag nooit als u Niet de mogelijkheid heeft om hulp in te roepen in geval van een ongeval.
2 Gebruik de motorkettingzaag nicht in ongunstige weersomstandigheden. B.v. bij dichte mist, hevige regen, harde wind, hevige koude enz. Werken in slechte weersomstandigheden is vermoeiend en kan tot gevaarlijke situatuies leiden, zo kan de grond glad zijn, de wind de valrichting van de boom beinvloeden enz.
3 Wees extra voorzichtig bij het afzagen vankleine takken en zaag Niet in struiken (=veel kleine takken tegelijkertijd). Kleine takken kanne na het afzagen vastraken in de ketting, in uw gezicht e.d. geslingerd worden en ernstige verwondingen verroorzaken.
4 Zorg ervoor dat u veilig kunt gaan en staan. Controller of er eventuele hinderissen zijn als u onverwacht nsel moet kennen wegkomen (wortels, stenen, takken, kuilen, greppels enz.). Wees extra voorzichtig wanneer u op hellend terrein werkt.

5 Wees extra voorzichtig wanner u in bomen zaagt die gespannen zijn. Een gespannen boom kan zowel voor als na het doorzagen in zijn normale stand terug vliegen. Als u op de verkeerdeplaats staat of de inkening op de verkeerdeplaats maakt, kan dit ertoe leiden dat deBoom u of de machine raakt zodat u de controle verliest. In beide gevallen kunt u ernstig gewond raken.


6 Wonneer u zich verplaatst要去 het ketting vergrendeld worden met de kettingrem en要去 de motoruitgeschakeld worden.Draag demotorkettingzaag met het zaagblad en de kettingnaarchter gericht. Als het om een langere verplaatsing gaat,要去 u de zaagbladbescherming gebruiken.

7 Wonneer u de motorzaag op de grond plaatst, moet u de ketting met de kettingrem blokkeren en ervoor zorgen dat u de machine in de gaten kurz honden. Als de motorzaag een langereijd "geparkeerd" worden, moet u de motor uitzetten.
Basisregels
1 Door te begrijpen wat terugslag is en hoe hetverooraakt worden, kut u het verrassingseffect reduceren of elimineren. Het verrassingseffect verhoegt het ongevalsrisico. De meeste terugslagen zijn Klein, maar sommige{kunnen bliksemsnel en erg krachtig zich.
2 Hou de motorzaag alsijd stevig vast met uw rechterhand op het achechterste handvat en uw linker handvat op het voorste handvat. Plaats uw duimen en vingers rond de handvatten. Ledereen, of men nu rechts- of linkshandig is, moet de motorzaag op deze manier vastgrijpen. Want dit is de Beste greed om het terugsslageffect te reduceren en de controle over de motorzaag te behouden. Laat de handvatten Niet los!

3 De meeste terugslagongevallen gebeuren bij het snooeien. Zorg ervoor dat u stevig staat en dat er niets op de grund ligt waarover u kutn struikelen of uw evenwicht kutn verliezen.
Door onoplettendheid kan de terugslagrisico-sector van de motorzaag onopzettelijk een tak, een boom in de buurt of een ander voorwerp raken, en terugslag veroorzaken.

Zorg dat u controle over het werkstuk hebt. Als de stukken, die u zaagt, Klein enicht zijn kannen ze in de ketting vastraken enaar u geworpen worden. Al hoeft dit op zich Niet gevaarlijk te+zijn, u kunt erdoor verrast worden en de controle over de zaag verliezen. Zaag nooit opgestapelde stammen of takken zonder ze eerst uit elkaar te trekken. Zaag slechts een stem of een stuk per keer.Verwijder de afgezaagde stukken om uw werkterrein veilig te houden.

4 Gebruik de motorzaag nooit hoger dan schouderhoogte en zaag Niet met de tip van het zaagblad. Zaag nooit wanner u de motorzaag slechts met een hand vasthoudt!

5 Om volledige controle te hebben over uw motorkettingzaag is het noodzakelijk dat u stabel staat. Werk nooit verwijl u op een trap staat, hoog in eenBoom of opplaaten waar u geen stabiele ondergrund hebt om op te staan.

6 Zaag met een hoge gettingsnelheid, d.w.z. met volgas.
7 Wees extra voorzichtig wanner u met de bovenkant van het zaagblad zaagt, d.w.z. wanner u van de onderkant van het zaagvoorwerp zaagt. Dit worden zagen met duwende ketting genoemd. De ketting duwt
de motorzaag dan maarachtenaar de gebruiker toe.
Wanner de ketting beklemd raakt, kan de motorzaag
aarachtenaar u toe worden geworpen.

8 Als de gebruiker deze duwende beweging nicht pareert, bestaat het risico dat de motorzaag zo ver maar,achter worden geduwd dat dererugslagriscosector van te zaaghd het enige contact met de boom vormt, wat tot terugslaged leidt.

Met de onderkant van het zaagblad zagen, d.w.z. van de bovenkant van het zaagvoorwerp waar beneden, worden zagen met trekkende ketting genoemd. Dan worden de motorzaag maar deBoom getrokken en de voorkant van de motorzaaghuis vormt dan een tatsächuilijke steun tegen de stam. Bij zagen met trekkende ketting hebelt gebruiker meer controle over de motorkettingzaag en waar de terugslagriscosector van het zaagblad zich bevindt.

9 Volg de vijl- en onderhoudsinstructies voor het zaagblad en de ketting. Als u het zaagblad en de ketting verrant, mag slechts een van de door ons aanbevolen combinaties gebruikt worden. Zie instructies in de hoofdstukken Snijuitrusting en Technische gevevens.
Basistechniek zagen

WAARSCHUWING! Gebruik nooit een motorzaag door hem met een hand vast te houden. U kunt een motorzaag nicht veilig controleren met een hand. Hou de handgrepen.altijd met beiden handen stevig vast.
Algemeen
- Geef altijd volgas bij het zagen!
-
Laat de motor na elke zaagsnede stationair draaien (als de motor langdurig op volte toeren draait zonder dat hij belast worden, d.w.z. zonder de verstand die de motor bij het zagen via de ketting ondervindt, kan dit tot ernstige beschadigingen van de motor leiden).
-
Vanaf de bovenkant zagen = met "trekkende" hetting zagen.
- Vanaf de onderkant zagen = met "duwende" hetting zagen.
Zagen met een "duwende" ketting betekent een groter risico op terugslag. Zie instructies in het hoofdstuk Maatregelen die terugslag voorkomen.
Benamingen
Zagen = Algemene benaming voor zagen door hout.
Snoeien = Takken van een geveldeBoom afzagen.
Splijten = Wonneer het voorwerp dat u door/af wilt zagen afbreekt voor u de hele zaagsnede aangebracht heeft.
Voor het zagen要去 rekening houden met vrij erg belangrijke factoren:
1 De snijuitrusting mag Niet vastgeklemd worden in de motorzaagsnede.

2 Het zaagvoorwerp mag Niet splijten.

3 De ketting magijdens en na het zagen Niet in contact komen met de grond of een ander voorwerp.

4 Bestaat er risico op terugslag?

5 Kunt u op deze grond en in deze omgeving veilig gaan en staan?
Dat de ketting worden vastgeklemd of dat het zaagvoorwerp splijt is te wijten aan twee oorzaken: welke steun het zaagvoorwerp voor en na het zagen heeft en of het zaagvoorwerp onder spanning staat.
De eerder genoemde ongewenste verschijnselen können in de meeste gevallen voorkomen worden door het zagen in twee stappen uit te voeren: vanaf de boven- en de onderkant. Het gaat erom de "wil" van het zaagvoorwerp
om de ketting vast te klemmen of te splijten, te neutraliseren.
BELANGRIJK! Als de ketting wordt vastgeklemd in de motorzaagsnede: schakel de motor uit! Probeer de motorkettingzaag Niet los te trekken. Als u dit doet kurz u zich verwonden aan de ketting wonneer de motorzaag plotseling loskomt. Gebruik een hefboom om de motorkettingzaag los te make.
Hieronder volgt een theoretische beschrijving van hoe de meeste voorkomende situatuies waarmee de gebruiker van een motorkettingzaag te makek krijt, gezendeert要去en worden.
Snoeien
Bij het snoeien van dikkere takken moet mendezelfde principes toepassen als bij het zagen.
Zaag moeilijke takken stukje voor stukje af.

Zagen

WAARSCHUWING! Probeer nooit te zagen in stammen als ze opgestapeld liggen of wanneer eenaar stammen dicht bij elkaar liggen. Dergelijk handelwijzen vergroten het risico van terugslag aanzienlijk, wat kan leiden tot ernstig of levensbedreigend letsel.
Als u een stapel stammen heeft, moet ie dere stam die u wilt zagen, van de stapel af, op een zaagbok of -tafel worden gelegd en apart worden doorgezaagd.
Verwijder de doorgezaagde stukken ut het werkterrein. Door ze in het werkterrein te lately litgen, vergroot u zowel het risico om per ongeluk terugslag te krijgen als het risico om uw balans te verliezen terwijl u werkct.

De stam ligt op de grond. Er bestaat geen risico dat de ketting worden vastgelemd of dat de stam splijt. Het risico dat de ketting na het doorzagen de grond raakt, isECHTER wel groot.

Zaag van bovenaar beneden door de hele stam. Wees voorzichtig op het einde van de motorzaagsnede zodat u voorkomt dat de ketting de grond raakt. Blijf vol gas geben maar wees bereid om te reageren indien dit nodig mayct hij.

Als dit möglich is (kan de stam geroteerd worden?) zaag de stam dan voor 2/3 door.
Roteer de stam zo dat de resterende 1/3 van bovenaf kunt zagen.

De stam worden aan een kant ondersteund. Groot risico op splijten.

Begin met van onder maar boven te zagen (ca. 1/3 van de stam diameter).
Zaag de stam daarna van bovenaar beneden door zodate twee zaagsneden elkaar ontmoeten.

De stam worden aan beiden kanten ondersteund. Groot risico dat de ketting worden vastgeklemd.

Begin met van onder maar boven te zagen (ca. 1/3 van de stam diameter).
Zaag de stam daarna van bovenaar beneden door zodate te wee zaagsneden elkaar ontmoeten.

Veltechniek
BELANGRIJK! Voor het vellen van een boom is veel techniek vereist. Een onervaren motorkettingzaaggebruiker mag geen bomen vellen met de motorzaag. Voer nooit taken uit waarvoor u niet voldoende gekwalificeerd bent!
Veiligheidsafstand
De veiligheidsafstandussen de boom die gemeld zal worden en de dichtstbijzinde werkplek moet ten minste 2 1/2 boomlengtes bedragen. Zorg ervoor dat niemand zich voor eenijdens het vellen indezne "risicozone"bevindt.

Velichting
Bij het vellen van bomen is het de bedoeling dat de boom zo geveld worden dat het sneoien en het doorzagen van de geveldeBoom in zulik "eenvoudig" terrein als möglichkank gebeuren. U要去r veilig hunnen gaan en staan.
Nadat u bepaald heeft in wilke richting u wilt dat de boom valt, moet u ook beoordelen wat de natuurlijke valrichting van de boom is.
Die wordt bepaald door de volgende factoren:
Helling
Hoe gebogen de boom is
Windrichting
Takkenconcentratie
Eventueel gewicht van de sneeuw op de boom
- Obstakels binnen de reikwijde van de boom: bijv. andere bomen, elektriciteitsleidingen, wegen en gebouwen.
- Kijk waar schade of rot in de stam, waardoor het waarschijnlijk is dat de boom breekt en valt voordat u dit verwacht.

Na deze beoordeling kan men gedwongen zich om de boom in+zijn natuurlijke richting te lately venlen odomat blijkt dat het onmogelijk of te gevaarlijk is om te proberen de boom in de gewenste richting te lately vallen.
Een andere belangrijke factor, die geen invloed heeft op de valrichting, maar wel belangrijk is voor uw persoonlijke verilgheid, is dat u moet controeren of de boom geen beschadigde of "dode" takken hebt die af{kunnen breken en u kunnen verwonden.
In de eerste plaat smoet voorkommen worden dat de vallendeBoomvastraaktin een andereboom.Het is erg gevaarlijk om zoin vastgeraakte boom op de grond te krigen en het ongevalsrisico is erg groot.Zie instructies in het hoofdstuk Hanteren van een mislukte poging.

BELANGRIJK! Op kritieke velmomenten要去 den gehoorbeschemers direct na het voltooen van de motorzaagwerkzaamheden opgefakte worden, zodat u geluiden en waarschuwingssignalen kutn opmerken.
Onderste gedeelte van de stam snoeien en vluchtweg
Haal altidt tot schouderhoogte de takken van de stam. Het is het veiligst van onder maar boven te werken en de stam tussen u en de motorkettingzaag te houden.

Verwijder de vegetatie rond de boom en controllerer of er eventuele hindernissen (stenen, takken, kuilen enz.) zijn zodate u gemakkelijk weg kunt komen wanner deBoom begint te vallen. De vluchtweg moet in een hoek van circa 135^ (schuin achefterwaarts) gegenover de geplande valrichting liggen.

1 Risicozone
2 Vluchtweg
3 Velrlichting
Vellen

WAARSCHUWING! We raden involoende gekwalificeerde gebruikers ten sterkste af bomen te vellen met een zaagbladlengthe die kleiner is dan de stam diameter!
Het vellen gebeurt met drie zaagsneden. Eerst maakt men een inpeking die bestaat uit een bovenste inpeking en een onderste inpeking, en daarna worden het vellen beeindig met een zaagsnede. Door de inpekingen en de motorzaagsnede op de juisteplaats aan te brengen, kan men de valrichting erg nauwkeurig sturen.
Inkeeping
Bij het aanbrengen van de inkeping begint men met de bovenste inkeping. Kijk langus de velrichtpunten (1) op de zaag maar een doel verderop in het terrein, waar u wilt dat de boom neervalt (2). Sta aan de rechterkant van de boom, awhile de zaag, en zaag met trekkende ketting.
Breng daarna de onderste inkening aan zodate die eindigt waar de bovenste inkening eindigt.

De inkepingsdiepe meot 1/4 van de stam diameter bedragen en de hoekCUSen de bovenste en de onderste inkening ten minste 45^
De beiden inkepingen ontmoeten elkaar op de inkepinglijn. De inkepinglijn moet volkommen horizontaal liggen en tegelijkkertijd een rechte hoek (90^) vormen met de gekozen valrichting.

Zaagsnede
De motorzaagsnede worden aangebracht vanaf de andere kant van de boom en moet volkommen horizontal liggen.
Sta links van de boom en zaag met trekkende hetting.
Breng de motorzaagsnede ca. 3-5 cm (1,5-2") boven de horizontale lijn van de inkening aan.

Stek de schorssteun (indien deutsche gemonteerd is) ache ter h scharnierstuk. Zaag met vol gas en duw de ketting/het zaagblad langzaam in deBoom. Let op of de boom Niet in eenrichting beweegt die tegenovergesteld is aan de gekoenz valrichting. Breng zodra de snijdiepie dit toelaat, een velwig of een breekijzer aan in de motorzaagsnede.

De motorzaagsnede moet parallel met de inkepinglijn beeindig worden zodate afstandussen beiden tenminste 1/10 van de stam diameter bedraagt. Het Niet doorgenzaagde gedeelte worden scharnierstuk genoemd.
Het scharnierstuk doet diest als scharnier en stuart derichting van de vallende boom.

Als het scharnierstuk teklein is of doorgezaagd is of als de inkeping of de motorzaagsnede verkeerd geplaatst zich, kan men alle controle over de valrichting van de boom verliezen.

Wanner de motorzaagsnede en de inkening klaar+zijn, moet de boom uit zichzelf beginnen te vallen of met behulp van de velwig of het breekijzer.

We raden aan een zaagbladlengte te gebruiken die groter is dan de stamdiameter van de boom, zodat de zaagsnede en de inkeping aangebracht hunnen worden met een zogenaamde "enkelvoudige snede". Zie de instructies in het hoofdstuk Technische gegevens welke
zaagbladlengthes wij aanbevelen voor uw motorkettingzaag.

Er zijnethododesombomen te vellen meteen stamdiameter die groter is dan de zaagbladlengthe.Bij deze methodes is het risico dat de terugslagrisico-sector van hetzaagblad in contactkommeneteen voorwerp erg groot.

Hanteren van een mistrukte poging
"Vastgeraakte boom" omlaag halen
Het is erg gevaarlijk om zoin vastgeraakte boom op de grond te krijgen en het ongevalsrisico is erg groot.
Probeer de boom die ergens opgevalen is nooit maar beneden te zagen.
Werk nooit binnen het risicogebied van bomen die vast hangen in een andere boom.

Deveiligste methode is een takel gebruiken.
Gemonteerd op een trekker

Draagbaar

Bomen en takken zagen die onder spanning staan
Voorbereidingen: Beoordeel in welke richting de bomen/ takken gespannen zijn en waar het breekpunt (d.w.z. het punt waar de boom/tak zou breken als hij nog meer gespannen zou worden) zich befindt.

Beoordeel hoe u de spanning het best kutn wegnemen en of u dit zichl kutn. In extra gecompliceerde situatuies is de enige veilige methode geen motorkettingzaag te gebruiken en een takel te gebruiken.
In het algemeen geldt:
Sta zo dat u Niet het risico loopt geraakt te worden door de boom/tak wanneer de spanning worden weggenomen.

Maak eén of meertere sden op of in de buurt van het breekpunt. Zaag zo diep en breng zoveel sden aan als nodig is om de spanning in deBoom/tak voldoende weg te nemen zodate boom/tak "afbrekt" bij het breekpunt.

Zaag een voorwerp dat onder spanning staat nooit hebelaal door!
Wanner u de boom/tak moet doorzagen, maakt u twee of drie snedes van 3-5 cm diep met 3 cmussenruimte.

Zaag verwolgens steeds dieper tot de spanning van de boom/tak verdwijnt.

Zaag de boom/tak cervolgens vanaf de andere kant door, nadat de spanning eraf is.
Maatregelen die terugslag voorkomen

WAARSCHUWING! De terugslag kan bliksemsnel, plotseling en.krachtig+zijn en kan ertoe leiden dat de motorzaag,het zaagblad en de ketting tegen de gebruiker sloan. Als de ketting in beweging is wanner ze de gebruiker raakt, kan dit tot ernstige en zelfs dodelijke verwondingen leiden. Het is moodzakelijk om te begrijpen waardoor terugslag wordenveroorzaakt en hoe terugslag voorkomen kan worden door voorzichtig en op de juiste manier te werken.
Wat is terugslag?
Terugslag is de benaming van een plotselinge reactie waarbij de motorzaag en het zaagblad terugslaan van een voorwerp dat geraakt ward door der terugslagrisico-sector van de zaagbladpunt.


Terugslag geleurt altijd in de richting van het zaagbladopppervlak. Meestal slaan de motorzaag en het zaagblad omhoog enaar achteren aan de gebruiker toe. Maar dit kan ook in andere richtingen zich, afhankelijk van de positie waarin de motorzaag zich bevindt op het ogenblick dat de terugslagrisico-sector in contact kommt met een voorwerp.

Terugslag vindt uitsluitend plaats wanner de terugslagrisico-sector van het zaagblad in contact komt met een voorwerp.

Snoeien

WAARSCHUWING! De meeste terugslagongevallen gebeuren bij het snoelen. Gebruik de terugslagriscocsector van het zaagblad nicht. Wees uiterst voorlichtig en vermij dat de punt van het zaagblad in contact komt met de stam, andere takken of voorwerpen. Wees uiterst voorlichtig met takken die op spanning staan. Ze hunnenaar u terugveren en ertoe leiden dat u de controle verliest, wat letsel kanveroorzaken.
Zorg ervoor dat u veilig kunt gaan en staan! Werk vanaf de linkerkant van de stam. Werk zo zich möglich bij de motorkettingzaag voor een zo goed möglichke controle. Indien möglichk moet u het gewicht van de motorkettingzaag op de stam lately rusten.

Verplaats u uitsluitend wanner de stam zich:tussen u en de motorkettingzaag befindt.
Stam van gevelde boom doorzagen
Zie instructies in het hoofdstuk Basistechniek zagen.
Algemeen
De gebruiker mag alleen die onderhouds- en serviceerkzaamheden uittvoeren die in deze gebruiksaanwijzing worden beschreiben. Meer ingrijpende maatregelen要去en door een erkende serviceworkplaatsworden uitgevoerd.
Carburaturinstelling
Uw Jonsered-product is geconstrueerd en gemaakt volgenspecificaties, die de schadelijkeuitlaatgassen reduceren.
Werking
- Via de gasklepediening stuart de carburateur het toerental van de motor. In de carburateur worden brandstof en lucht vermingd. Dit melds (brandstof/ lucht) kan worden afgesteld. Om het maximum vermogen van de machine te konnen benuten,要去 de afstelling correct zijn.
- De T-schroef regelt de positie van de gaskleped生姜ing bij stationair draaien. Als de T-schroef met de klok mee worden gedraad, krijgt men een hoger stationair toenental en als ze gegen de klok in worden gedraad, een lager stationair toenental.
Basisafstelling en inrijden
Tijdens het testen in de fabriek worden de basisafstelling van de carburateur uitgevoerd. Een fijnafstelling moet worden gedaan door een opgeleid, kundig persoon.
Aanbevolen stationair toerental: Zie hoofdstuk Technische gegevens.
Fijnafstelling van schroef T
Het stationair toerental worden afgesteld met de schroef T. Als afstelling nodig is, moet u terwijl de motor draait, de schroef met de klok mee draaien tot de ketting begint te roteren. Draai daarna de schroef gegen de klok in tot de ketting stilstaat. Het stationair toerental is correct aftesteld wanner de motor in alle posities gelsekmatig draaien en dit met een goede marge tot het toerental waar bij de ketting begint te draaien.

WAARSCHUWING! Als het stationair toerental zich zo kan worden afgesteld dat de ketting stilstaat, dient u uw dealer te raadplegen. Gebruik de motorzaag nooit voor ze correct is afgesteld of gerepareerd.
Correct afgestelde carburateur
Een correct afgestelde carburateur houdt in dat de machine zonder enige aarzeling accelereert en dat de machine een ietsje "lalt" bij vol gas geven. Verder mag de ketting niet roteren bij stationair draieren. Een te arm afgestelde L-naald kan tot startmoeilijkheden en slecht accelereren leiden. Een te arm afgestelde H-naald leidt tot een lager vermogen van de machine, een slechte acceleratie en/of motorbeschadiging.
Controle, onderhoud en service van de veiligheidsuitrusting van de motorkettingzaag
Let op! Om service en reparations aan de machine uit te voeren, is een speciale opleiding nodig. Dit geldt voor vooral voor de veiligheidsuitrusting van de machine. Als de machine eén van de volgende controles Niet goed doorstaat, raden wij aan dat u maar uw serviceworkplaats�.
Kettingrem met terugslagbeveiliging
Controle van slijtage aan de remvoering


Maak de kettingrem en de koppelingtrommel vrij van spaanders, hors en vuil. Vuil en slijgate hebben een negatieve invloed op het remvermogen.

Controleer regelmatig of de dikte van de remvoering op de meest versletenplaats tenminste 0,6 mm bedraagt.
Terugslagbeveilingig controleren


Controleer of de terugslagbeveiliging geen zichtbare beschadigingen vertoont zoals materiaalbarsten.

Duw de terugslagbeveiliging maar voren en terug om te controlleren of hij makkelijk loopt en of hij stabil verankerd is bij় verbinding in het koppelingdeksel.

Controle van het traagheidsmechanisme

Hou de motorzaag, met de motoruit, boven een boomstronk of een ander stabel voorwerp. Laat de voorhandgreep los en laat de motorzaag door zich eigengewicht, draaiend rond dechterhandgreep, maar de stronk vallen.

Wanneer de punt van het zaagblad de stronk raakt, moet de rem geactiveerd worden.

Remvermogen controlleren
Plaats de motorkettingzaag op een stabiele ondergrond en start ze. Zorg ervoor dat de zaagketting Niet in contact kan komen met de grond of een ander voorwerp. Zie instructies onder de kop Starten en stoppen.

Hou de motorkettingzaag stevig vast met uw duimen en vingers stevig om de handvatten.

Geef volgas en activeer de kettingrem door uw linkerpols\ aar de terugslagbeveiliging te bewegen. Laat het voorste\ handvat Niet los. De ketting moet onmiddelijk stoppen.

Gashendelvergrendeling

- Controller of de gashendel vergrendeld is in de stationaire stand wanneer de gashendelvergrendeling in de oorspronkelijke stand staat.

- Druk de gashendelvergrendeling in en controllerer of ze teruggaat waar de oorspronkelijke positie wanneer uhaar loslaat.

- Controller of de gashendel en de gashendelvergrendeling vlot lopen en of hun terugspringveersystemen werken.

- Start de motorkettingzaag en geef vol gas. Laat de gashendel los en controllere of de ketting stopt en stil blijft staan. Als de ketting roeteert wanneer de gashendel in de stationaire stand staat,要去 de stationair instelling van de carburateur gecontroleerd worden.
Kettingvanger


Controller of het metingvanger niet beschadigd is en of hij vast zit in de het motorzaaghuis.

Controleer of de rechterhandbeveiliging geen zichbare beschadigingen vertoont, bijv. materiaalbarsten.

Trillingdempingssysteme



Controleer het trillingdempingselement regelmatig op materiaalbarsten en verrormingen.

Controller of het trillingdempingselement vast verankerd isussen de motoreenheid en de handvateenheid.

Stopschakelaar

Start de motor en controller of de motor uitschakelt wanner u de stopschakelaar in de stopstand zet (druk de rode knop omlaag).

Geluiddempper



Gebruik de machine nooit wanner de geluiddempo.
defect is.

Controller regelmatig of de geluiddempo vastzit in de machine.

Bepaalde geluideddempers zich voorzien van een special vondenopvangnet. Indien uw machine uitergerust is met zo'n geluideddempers, moet u het net minstens eén keer per week schoonmakers. Gebruik bij voorker een stalen borstel. Een verstopt net leidt tot oververhitting van de motor wat tot ernstige beschadigingen van de motor leidt.
Let op! Een beschadigd net mag nooit worden teruggeplaatst. Bij verstopping van het net zal de machine oververhitten waardoor de zuiger en cilinder+kennen worden beschadigd. Gebruik de machine nooit als de geluiddempo in slechte staat is. Gebruik de knalpot
ONDERHOUD
nooit wonneer het vondenopvangnet ontbreekt of defect is.

De geluiddempo is ontworpen om het geluid van de machine te reduceren, en om de uitaatgassen van de gebruiker weg te richten. De uitaatgassen zijn zeer heet en bevatten vonden die droge en ontvlambare materiaalen in brand können steken.
Starter

WAARSCHUWING! De in het starterhuis gemonteerde terugspringveer is opgespannen en kan eruit springen als men Niet voorzichtig tewerk gaat en kan dan personelijk verwondingen verroorzaken.
Wees alti\dijk voorzichtig bij het verrangen van de veer of het startkoord. Gebruik een beschemmingsbril en beschemmingshandspoelen.
Starthoord verrangen



- Draai de schroeven los waarmee de starter op het carter bevestigd is en verwijder de starter.

- Trek het starterkoord ca. 30 cm uit en til ze op tot de inkeping in de periferie van de schijf. Nulstel de terugspringveer door de schijf langzaamchyteruit te draaien.


Maak de schroef in het midden van de koordschijf los en haal meenemerwiel (A), meenemerverveer (B) en koordschijf (C) weg. Bevestig een nuew startkoord in de schijf en maak vast. Wikkel het starterkoord circa 3 keer rond de koordschijf. Monteer de koordschijf op de retourveer (D), zodatein van de retourveer in de schijf haakt. Monteer verrolgens meenemerverveer, meenemerwiel en de schroef in het midden van de koordschijf. Leid het startkoord door de opening in het starterhuis en de starthendel. Maak daarna een stevige knoop in het startkoord.

De terugspringveer spannen
- Plaats het starterkoord in de inkeping van de schijf en draai de schijf 2 slagen maar rechts.
Let op! Controller of de schijf, wanneer het starterkoord volledig uitgetrokken is, tenminste een halve slag gedraaid kan worden.

Strek het koord met de handgreep. Verplaats uw duim en waar het koord los. Zie onderstaande afbeelding.

Vervangen van retour- en meenemerverveer



Retourveer (A)
- Til de koordpoelie op. Zie instructies in het hoofdstuk Startkoord verrangen. Denk eraan dat de terugstelveer opgespannen in het starterhuis ligt.
- Verwijder de cassette met de terugstelveer uit de starter.
- Smeer de terugstelveer in met dunne olie. Monteer de cassette met de terugstelveer in de starter. Monteer de koordpoelie en span de terugstelveer op.

Meenemervereer (B)
Maak de schroef in het midden van de koordschijf los en haal meenemerwiel en meenemerveer weg.
- Vervang de meenemerver en monteer het meenemerwiel bovenop de veer.
Starter monteren
Monteer de starter door eerst het starterkoord vollediguit te trekken en daarna de starter op het carter teplaatsen. Laat het starterkoord langzaam los zodat de starthaken in het wil gewijpen.
- Monteer de schroeven die de starter op zijnplaats houden en draai ze vast.

Luchtfilter


Het luchtfilter dient regelmatig te worden schoongemaakt (stof en vuil verwijderen) om de volgende problemen te vermijden:
- Storingen van de carburateur
Moeilijkheden bij het starten
Vermogensverlies - Onnodige slijtage van de motoronderdelen.
Abnormaal hoog brandstofverbruik - Demonteer het luchtfilter door het cilinderdeksel te verwijderen en schroef het luchtfilter eraf. Bij het weer in elkaar zetten dient u te controlleden dat het filter dicht gegen de filterhouserligt. Reinig het filter door het te schudden of af te borstelen.

Voor grondiger reinigen kunt u water en zeep gebruiken. Na een lange gebruiksperiode kan het luchtfilter Niet meer worden vereinigd. Daarom moet het filter regelmatin vergangen worden. Een beschadigl luchtfilter要去 alsijd vergangen worden.
Een JONSERED motorkettingzaag kan uiterust worden met verschillende luchtfiltertypes afhankelijk van de werkomgeving, de weersomstandigheden, het seizoen enz. Vraag uw dealer om advies.
Bougie

De volgende factoren zijn van invloed op de conditie van de bougie:
- Een incorrecte afstelling van de carburateur.
- Een verkeerd oliemengsel in de brandstof (te veel of verkeerde olie).
Een vuil luchtfilter.
Deze factoren veroorzaken afzettingen op de elektronen van de bougie, wat tot motordefecten en startmoeilijkheden kan leiden.
Wanner de machine te weinig vermogen heeft, moeilijk start of onregelmatig onbelast draait, dient u altijd erest de bougie te controeren voor u andere maatregelen neemt. Maak de bougie schoon als ze verstopt is en controllerer of de afstandussen de elektroden 0,5 mm bedraagt. De bougie要去 na een maand gebruik, of erder indien nodig, verrangen worden.

Let op! Gebruik steeds het correcte bougietype! Andere types können de zuiger/cilinder beschadigen. Zorg ervoor dat de bougie zag. radio-ontstoring heeft.
Neuswiel van het zaagblad smeren



Het neuswiel van het zaagblad moet bij elke tankbeurt gesmeerd worden. Gebruik een hiervoor bedoelde smeersputen lagervet van goede kwaliteit.

Naaldlager smeren


De koppelingsstrommel is voorzien van een naaldlager op de uitgaande as. Dit naaldlager要去 regelmatig worden gesmeerd.
Bij het smeren worden het koppelingsdeksel gedemonteerd door den moer van het zaagblad los te draaien. Leg de zaag op+zijn zijkant neer, met de koppelingsstrommel omhoog.
U smeert door motorolie in het midden van de koppelengstrommel te druppelen toenwijl de koppelengstrommel worden gedraaid.


Koelsysteme


Om de werktemperatuur zo laag möglich te houden, is de machine uitgerust met een koelsystem.
Het koelsystemebestaat UIT:
1 Luchtinlaat in de starter.
2 Luchtgeleidingsrail.
3 Ventilatorschoepen op het vliegewiel.
4 Koelflenzen op de cilinder.
5 Cilinderkap (leidt de koellucht waar de cilinder).

Maak het koelsysteme een keer per week schoon met een borstel; dit moet vaker geleuren wannesu in moeilijke omstandigheden werk. Een vuil of verstoct koelsystem leidt tot oververhitting van de machine waardoor de cilinder en zuiger beschadigd kannen worden.
Let op! Het koelsysteme van een motorkettingzaag met katalysator要去 dagelijks schoongemaakt worden. Dit is vooral erg belangrijk op een motorkettingzaag met katalysator die vanwege de hogere uitlaatgastemperatuur een erg goede koeling van de motor en de katalysatorenheid vereist.
Centrifugaal reinigen "Turbo Air Cleaning"
Centrifugaal reinigen houdt het volgende in: Alle lucht\ aar de carburateur gaat door de starter. Vuil en stof\ worden wegbeblazen door de koelventilator.

BELANGRIJK! Om de werkung van de centrifugaalreiniging Niet in gevaar te brengen,要去 hij goed onderhonden worden. Maak de luchtinlaat van de starter, de ventilatorschoepen van het vliegwiel, de ruimte rond het vliegwiel, de inlaatpijp en de carburateurruimte schoon.
Gebruik in de winter
Wanneer de machine worden gebruikt bij kou of sneeuw hunnen storingen in de werking optreden die wordenveroorzaakt door:
Eentelage motortemperatuar.
- ljsvorming op luchtfilter en bevriezing in de carburateur.
Men dientaarom speciale maatregelen te treffen, zoals:
- De luchtinlaat van de starter verminderen en zo de werktemperatuur van de motor verhogen.
Temperatures van -5°C of lager

Voor werken met de machine bij lage temperaturen of in poedersneeuw, is er een special deksel verkrijgbaar dat op het huis van het startupparaat worden gemonteerd. Hierdoor wordt de koude luchtstroom gereduceerd en voorkomt men dat er groote hoeveelheden sneeuw maar binnen worden gezogen.

N.B.! Indien een speciale winterset is gemonteerd of er maatregelen getroffen zijn om de motortemperatuur te verhogen, moet de afstelling waar worden aangepast als de machine onder normale omstandigheden worden gezruikt. Anders is er risico op oververhitting, waardoor de motor ernstig beschadigd kan worden.
BELANGRIJK! Al het overige onderhoud dat Niet in dit handboek worden genoemd要去uitgevoerd worden door een erkende werkplaats (dealer).
Onderhoudsschema
Hieronder volgt een lijst van het onderhoud dat aan de machine要去 worden uitgevoerd. De meeste punten staan beschreiben in het hoofdstuk Onderhoud.
| Dagelijks onderhoud | Wekelijks onderhoud | Maandelijks onderhoud |
| Maak de machine uitwendig schoon. | Op motorzagen zonder katalysator要去 u het koelsystem eiddere week controleren. | Controler de remvoering van de kettingrem op slijtage. Vervang deze wanner minder dan 0,6 mm over is op de meest versleten plaat. |
| Controler of de delen van de gashendel goed werkken.(Gashendelvergrendeling en gashendel.) | Controler de starter, het startkoord en de terugspringveer. | Controler het centrum van de koppeleling, de koppelingtrommel en de koppelingveer op slijtage. |
| Maak de kettingrem schoon en controllerer de remfunctie. Controller de kettingvanger op beschadigingen en verrang indien nodig. | Controler of de trillingsdempingselementen nicht beschadigd zijn. | Maak de bougie schoon. Controller of de afstand tussen de elektroden 0,5 mm bedraagt. |
| Het zaagblad要去 voor evenwichtig afslijten dagelijks worden omgekeerd. Controller of de smeeropening Niet verstopt is. Maak de groef schoon. Als het zaagblad uitergerust is met een poelie,要去 die gesmeerd worden. | Smeer het lager van de koppeletingtrommel. | Maak de buitenkant van de carburateur schoon. |
| Controler of de ketting en het zaagblad voldoende olie krijgen. | Verwijder eventuele braam op de zijkanten van het zaagblad met een vijl. | Controler het brandstofffilter en de brandstoffleidingen. Vervang indien nodig. |
| Controler de zaagketting op zichbare barsten in klinken en schakels, of de ketting stijf is en of klinken en schakels abnormaal versleten�. Vervang indien nodig. | Maak het vonkenopvangnet van de geluidemper schoon of verrang het. | Leeg de brandstoffank en kaak deze inwendig schoon. |
| Slijp de ketting en controllerer de conditie en de spanning. Controller het kettingwiel op abnormale slijtage, verrang indien nodig. | Maak de carburateurruimte schoon. | Leeg de olietank en kaak deze inwendig schoon. |
| Maak de luchtinlaat van de starter schoon. | Maak het luchtfilter schoon. Vervang het indien nodig. | Controler alle kabels en aansluitingen. |
| Controler of de bouten en moeren en vastgedraaid�. | ||
| Controler of de stopschakelaar werkt. | ||
| Controler of er brandstof lekt uitt motor, tank of brandstoffleidingen. | ||
| Op motorzagen met katalysator要去 u het koelsystem dagelijks controleren. |
TECHNISCHE GEGEVENS
Technische gegevens
| CS 2245 | CS 2245S | CS 2250S | |
| Motor | |||
| Cilinderinhoud, cm3 | 45,7 | 45,7 | 50,2 |
| Cylinder diameter, mm | 42 | 42 | 44 |
| Slaglengte, mm | 33 | 33 | 33 |
| Stationair toerental, t/min | 2700 | 2700 | 2700 |
| Vermogen, kW/ t/min | 2,1/9000 | 2,1/9000 | 2,4/9000 |
| Ontstekingssystem | |||
| Fabrikant van ontstekingssystem | Walbro | Walbro | Walbro |
| Soort ontstekingssystem | MBU-16 | MBU-16 | MBU-16 |
| Bougie | NGK BPMR 7A/ Champion RCJ 7Y/ Husqvarna PR 17Y | NGK BPMR 7A/ Champion RCJ 7Y/ Husqvarna PR 17Y | NGK BPMR 7A/ Champion RCJ 7Y/ Husqvarna PR 17Y |
| Elektrodenafstand, mm | 0,5 | 0,5 | 0,5 |
| Brandstof-/smeersystem | |||
| Fabrikant van carburateur | Zama | Zama | Zama |
| Soort carburateur | EL 37 | EL 37 | EL 37 |
| Inhoud benzinetank, liter | 0,45 | 0,45 | 0,45 |
| Capaciteit oliepomp bij 9.000 omw./min., ml/min. | 13 | 13 | 13 |
| Inhoud olietank, liter | 0,26 | 0,26 | 0,26 |
| Type oliepomp | Niet instelbaar | Niet instelbaar | Niet instelbaar |
| Gewicht | |||
| Motorzaag zonder zaagblad, ketting en met lege tanks, kg | 4,9 | 5,1 | 5,1 |
| Lawaii-emissie (zie opm. 1) | |||
| Geluidsvermögen, gemeten dB(A) | 112 | 112 | 113 |
| Geluidsvermögen, gegardeerd LWA dB(A) | 115 | 115 | 115 |
| Geluidsniveau (zie opm. 2) | |||
| Equivalent geluidsdrukniveau bij hetoor van de gebruiker, gemeten volgens de van toepassing zijnde internationale normen, dB(A) | 103 | 103 | 104 |
| Trillingsniveau (zie opm. 3) | |||
| Voorste handvat, m/s2 | 2,4 | 2,4 | 3,4 |
| Achterste handvat, m/s2 | 3,6 | 3,6 | 3,6 |
| Ketting/zaagblad | |||
| Standaard zaagbladlengthe, duim/cm | 13"/33 | 13"/33 | 13"/33 |
| Aanbevolen zaagbladlengthes, duim/cm | 13-18/33-45 | 13-18/33-45 | 13-18/33-45 |
| Effectieve zaaglengthe, duim/cm | 12-17/31-43 | 12-17/31-43 | 12-17/31-43 |
| Steek, duim/mm | 0,325/8,25 | 0,325/8,25 | 0,325/8,25 |
| Dikte van de aandrijschakel, duim/mm | 0,050/1,3 | 0,050/1,3 | 0,050/1,3 |
| 0,058/1,5 | 0,058/1,5 | 0,058/1,5 | |
| Type aandrijfwienen/aantal tanden | Spur/7 | Spur/7 | Spur/7 |
| Kettingsnelheid bij maximum vermogen, m/sec. | 17,3 | 17,3 | 17,3 |
Opm.1: Emissie van geluid maar de omgeving gemeten als geluidsvermögen (Lw) volgens EG-richtlijn 2000/14/EG.
Opm. 2: Equivalent geluidsdrukniveau, volgens ISO 22868, wird berekend als de tijdsgewogen energiesom van de geluidsdrukniveauaus in verschlende werkomstandigheden, met de volgende tijsindeling: 1/3 nullast, 1/3 maximum belasting, 1/3 maximum toerental.
Opm. 3: Het equivalent trillingniveau, volgens ISO 22867, worden berekend als de tijsdgewogen energiesom van de trillingniveau in verschillende werkomstandigheden, met de volgende tijsdverdeling: 1/3 nullast, 1/3 maximum belasting, 1/3 maximum toerental.
Zaagblad- en hettingcombinations
De onderstaande combinaties zijn CE-typegoedgekeurd.
| Zaagblad | Ketting | ||||
| Lengte, duim | Stek, duim | Spoorbreds, mm | Maximum aantal tanden neuswiel | Type | Lengte, aandrijschakels (stuks) |
| 13 | 0,325 | 1,3 | 10T | Jonsered H30 | 56 |
| 15 | 0,325 | 10T | 64 | ||
| 16 | 0,325 | 10T | 66 | ||
| 18 | 0,325 | 10T | 72 | ||
| 13 | 0,325 | 1,5 | 10T | Jonsered H25 | 56 |
| 15 | 0,325 | 10T | 64 | ||
| 16 | 0,325 | 10T | 66 | ||
| 18 | 0,325 | 10T | 72 | ||
Vijlen en vrijlallen van de zaagketting
| inch/mm | inch/mm | |||||
| H30 | 3/16 / 4,8 | 85° | 30° | 10° | 0,025 / 0,65 | 5056981-00 |
| H25 | 3/16 / 4,8 | 85° | 30° | 10° | 0,025 / 0,65 | 5056981-00 |
EG-verklaring van overeenstemming (Alleen geldig voor Europa)
Jonsered, SE-561 82 Huskvarna, Zweden, tel: +46-36-146500, verkaart hierbij dat de Jonsered CS 2245, CS 2250 met een serienummer uit 2008 en verder (hetwoord metDAOpvolgend een serienummer worden duidelijk aangegeven op het productplaatje), in overeenstemming zijn met de voorschriften in de RICHTLIJN VAN DE RAAD:
- van 22 Juni 1998 "betreffende machines" 98/37/EG, bijlage IIA.
- van 15 december 2004 "betreffende elektromagnetische compatibiliteit" 2004/108/EEC.
- van 8 mei 2000 "betreffende geluidsemissie door materieeel voor gebruik buitenshuis" 2000/14/EG.
Voor informatatie betreffende lawaaiemissies, zie hoofdstuk Technische gegevens. De volgende normen zijn van toepassing: EN ISO 12100-2:2003, CISPR 12:2005, EN ISO 11681-1:2004
Aangemelde instantie: 0404, SMP Svensk Maskinprovning AB, Fyrisborgsgatan 3, SE-754 50 Uppsala, Zweden, heeft een EG-typecontrole uitgevoed volgens artikel 8, punt 2c, van de machinerichtlijk (98/37/EG). De certificaten van de EG-typecontrole volgens bijlage VI hebben nummer: 404/08/1246 - CS 2245, CS 2245S 404/08/1247 - CS 2250S.
Verder heeft SMP, Svensk Maskinprovning AB, Fyrisborgsgatan 3, SE-754 50 Uppsala, Zwerden, een verklaring afgegeben van overeenstemming met bijlage V van de richtlijn van de raad van 8 mei 2000 "betreffende geluidsemissie door materieel voor gebruik buitenshuis" 2000/14/EG. De certificaten hebben nummer:01/161/073 - CS 2245, CS 2245S 01/161/072 - CS 2250S.
De geleverde motorkettingzaag komt overeen met het exemplaar dat een EG-typecontrole heeft ondergaan.
Huskvarna, 28 april 2008

Bengt Frögelius, Hoofd Ontwikkeling Motorzaag

1151012-20
SimpelGids