KX-HNS103EX2 - Waterleksensor PANASONIC - Gratis gebruiksaanwijzing en handleiding
Vind de handleiding van het apparaat gratis KX-HNS103EX2 PANASONIC in PDF-formaat.
Download de handleiding voor uw Waterleksensor in PDF-formaat gratis! Vind uw handleiding KX-HNS103EX2 - PANASONIC en neem uw elektronisch apparaat weer in handen. Op deze pagina staan alle documenten die nodig zijn voor het gebruik van uw apparaat. KX-HNS103EX2 van het merk PANASONIC.
GEBRUIKSAANWIJZING KX-HNS103EX2 PANASONIC
Installatiehandleiding
Thuisnetwerksystem
Waterlekkagesensor
Model
KX-HNS103EX2

Bedankt dat u hebt gekozen voor een product van Panasonic.
In dit document worden uitgelegd hoe de waterlekkagesensor correct moet worden geinstalleerd.
Raadpleeg de Gebruikershandleiding (pagina 19) voor meer informatie over het gebruik van het system.
Lees dit document aandachtig door voordat u het apparaat in gebruik neemt enbewaar het voor latere naslag.

PNQX7999YA
PNQX7999YA CC0116WK1126 (E)
Inhoud
Inleiding
Aanvullende informatie 3
Belangrjke informatatie
Over dit system 4
Voor uwveiligheid 4
Belangrijke veiligheidsinstrumentes ....5
Voor de beste prestaties 5
Overige informatie 6
Instellen
Onderdeelnamen en functies 8
LED-indicator 8
Instellen: overzicht 8
De batterijplaatsen 9
De sensor registrieren 9
Het gebruiksgebied bevestigen ....10
Installatie 11
Bijlage
De sensor testen 19
Beschikbare functies bij gebruik van
de app [Home Network] 19
Toegang tot de
Gebruikershandleiding 19
Specifications 20
Aanvullende informatie
Meegeleverde accessoires
| Nr. | Accessoire/artikelnummer | Aantal |
| ① | Batterij*1 | 1 |
| ② | Adapters voor wand Montage*2 | 2 |
| ③ | Schroeven voor wand Montage (25 mm)*3 | 3 |
1 Raadpleeg voor het verzangen van de batterij "Stroomvoorziening" van "Specifications", pagina 20 voor batterijgegevens.
2 1 adapter voor de hoofdeenheid
1 adapter voor de sonde-eenheid
*3 2 schroeven voor de hoofdeenheid en 1 schroef voor de sonde-eenheid
①

(2)

(3)

Overige informatie
- Ontwerp en specifications können zonder waarschuwing worden gewijzigd.
- Deillustraties in deze publicatie kurenietwat awijken van het eigenglijke product.
Handelsmerken
- iPhone en iPad+zijn handelsmerken van Apple Inc., gedeponeerd in de Vereinigde Staten en andere landen.
- Android is een handelsmerk van Google Inc.
- Microsoft, Windows en Internet Explorer zijn gedeponeerde handelsmerken of handelsmerken van Microsoft Corporation in de Verenigde Staten en/of andere landen.
- Alle overige vermelde handelsmerken zijn eigendom van hun respectieve eigenaren.
Belangrijke informatie
Over dit system
- Dit systeme is een hulpsysteme, het is nied ontworpen om volledige bescherming gegen materielle schade te bieden. Panasonic kan nicht aansprakelijk worden gehonden voor eventuele materielle schade die optreedt verwijl dit systeme in bedrijf is.
- De draadloze functies van het systeem kunnen last hebben van storingen, waardoor geen functionaliteit in alle situations kan worden gegarandeerd. Panasonic kan Niet aansprakelijk worden gehonden voor letsel of materiele schade in geval van fouten of storingen in de draadlozecommunicatie.
Voor uw veiligheid
Om ernstig letset en gevaar voor uw leven/ eigendommen te voorkomen dient u dit gedeelte goed door te lezen voordat u het product in gebruik neemt.

WAARSCHUWING
Voedingsaansluiting
- Gebruik alleen de stroombron die op het apparaat worden aangegeven.
- Sluit geen apparaten aan die nicht zich gespecifieerd.
Installatie
Stel dit product nicht bloat aan regen om vuur en elektrische schokken te voorkommen.
- Plaats of gebruik dit product nicht in de buurt van automatische apparaten zoals automatische deuren en brandalarmen. De door dit product uitgezonden
radiogolven kunnen storingen in
dergelijke apparaten veroorzaken
waardoor ongelukken kunnen gebeuren.
Zorg dat er nicht te hard aan het snoer wordt getrokken en dat het nicht worden verbogen of onder zware voorwerpen komt te liggen. Zorg dat de hoofdeenheid altiijdrechtop staat.
Zorg dat de sonde-eenheid geen contact maakt met een batterij of stopcontact. Het product kan dan beschadigd raken.
- Houdkleine onderden (schroeven, enz.) buihen het bereik van kinderen. Deze onderden kan worden ingeslikt. Wanner ze worden ingeslikt, moet u direct een arts raadplegen.
Veilig gebruik
Haal het apparaat Niet uit elkaar.
Medisch
- Neem contact op met de fabrikanten van uw personlijke medische apparatusuur, zoals pacemakers of gehoorapparaten, om te controleren of die apparatusuur voldoende is beschermd gegen externe radiofrequente energia. DECT-functies werkten tussen 1,88 GHz en 1,90 GHz met een piekoverdrachtvermögen van 250 mW.
- Gebruik dit product nicht in zorginstellungen wanneser in deze instellungen worden aangegeven dat dit nicht is teogestaan. Ziekenhuizen en zorginstellungen können apparatuur gebruiken die gevoelig is voor externe radiofrequente energia.
CR-lithiumbatterij
U moet de batterij Niet opnieuw opladen,uit elkaar halen, aanpassen, verhitten of in vuur gooien.
- Raak de polen en Niet aan met metalen voorwerpen.
- Er is explosiegevaar als de batterij worden verzangen door een batterij van het verkeerde type. Houd u bij het weglooien van de gebruekte batterij aan de lokale regelgeving.
- Als een elekrolyt in contact komt met uw handen of kleding, moet u deze grondig afspoelen met water.
- Als een elektrólyt in contact komt met uw ogen,要去 u nooit in uw ogen wrijven. Spoel uw ogen grondig met water en raadpleegervolgens een arts.

OPGELET
CR-lithiumbatterij
- Gebruik alleen de batterij die worden vermeld op pagina 3.
- Plaats de batterij op de juiste wijze.
- Laat de batterij Niet in een auto die langere tijd is bloatgesteld aan direct zonlicht werwij de deuren en ramen zich gesloten.
- Verwijder de batterij als u het apparaat langereijd Niet gebruikt. Bewaar het apparaat op een koele, donkere locatie.
- Vervang een batterij Niet met natte handen.
- Houd buiten het bereik vankleine kinderen. Deze onderdelen kannen worden ingeslikt. Als de batterij worden ingeslikt,要去 un onmiddelijk medische hulp inroepen.
- Verwijder de batterij als deze nicht meer kan worden gezruikt. Er bestaat een kans op lekkage, oververhitting en breuken. Probeer geen batterij te gezruiken die lekt.
- Ga voorzichtig met de batterijen om. Raak de batterijen Niet aan met geleidende materialien, zoals ringen, arbanden of sleutels. Dit kan kortsluiting verrooraken, waardoor de batterijen en/of het geleidende materiaal
heet kunnen worden en brandwonden kunnen veroorzaken.
Belangrijke veiligheidsinstructies
Volg als u het apparata gebrukt aktijd de veilighheidsvoorschriften ter voorkoming van brand, elektrische schokken of persoonlijk letset, waaronder:
- Gebruik alleen de batterijen die in dit document worden beschreiben. Gooi nooit batterijen in een open vuur. Deze kunnen explodingen. Houd u bij het weglooien van batterijen aan de lokale milieuvoorschriften.
BEWAAR DEZE INSTRUCTIES
Voor de besteprestaties
Locatie van hub/ruis voorkomen
De hub en andere compatibile Panasonic-apparaten gelebruiken radioglenvo voor de onderlinge communicatie.
Voor een maximaal bereik en storingsvrije communicatie plaatst u de hub:
- op een gemakkelijk bereikbare, hoge en centrale locatie (binnenshuis) zonder obstakels:tussen het product en de hub;
buiten bereik van elektronische apparatuur, zoals televisioneystellen, radio's, computers, draidazo applicatuur en andere telefoons;
-uit de buurt van radiofrequentiezenders, zoals buiertenantennes of zendmasten van
Belangrjke informatatie
mobiele telefoons. (Zet de hub Niet voor het raam of waar in de buurt.)
- Als de ontvangst met de hub op een bepaalde locatie Niet goed is, zet de hub dan ergens anders.
Omgeving
Zorg ervoor dat er geen apparaten in de buurt van het apparaat+zijn die elektrische interferentie genereren, zoals Spaarlampen en motoren.
Stel het apparaat Niet bloot aan extreem veel rook, stof, hoge temperaturen of trillingen.
- Stel het apparaat Niet bloot aan direct zonlicht.
- Plaats geen zware objeven op het product.
- Houd het product UIT de buurt van warmtebronnen, zoals verwarming, kooktoestellen enzovoort. Plaats het product Niet in een kamer waarin de temperatuur lager is dan 0^ of hoger dan 40^ .
- Gebruik van het product in de buurt van elektrische apparaten kan storing veroorzaken. Ga uit de buurt van het elektrische apparaat.
Zorg dat de metalen sondes van de sonde-eenheid geen contact makes met metalen voorwerpen. Dit kan de gebruiksduur van de batterij beperken.
Overige informatatie
OPGELET: er is explosiegevaar als de batterij wordt verrangen doen een batterij van het verkeerde type. Voer gezruekte batterijen af volgens de instructies.
Algemene verzorging
Veeg het oppervlak van het product schoon met een zachte,vochtige doeck.
- Gebruik geen benzine, verdunner of schuurmiddel.
- Als de metalen sondes van de sonde-eenheid in contact konem met vreemd materiaal (olie, reinigingsmiddel, enz.), kennen de sondes water afstoten, waardoor het Niet mogelijk is correct een waterlekkage te detecteren. Controleer regelmatig de metalen sondes en veeg water of vreemd materiaal af dat aan de sondes is blijven zitten.
- Als de sondes in contactkommen met water, moet u de sonde-eenheid droogvegen. Zorg dat de sondes Niet langere tijd in contact blijven met water odomat de sondes dan zwart können worden. (Dit heeft envoledo op het vermogen van het product om een waterlekkage te detecteren.)
Oude apparaten en batterijen afvoeren (alleen voor Europese Unie en landen met recyclingsystemen)


Deze symbolen (1, 2) op de produits, vergpakkingen, en/of begeleidende documenten beteken dat gebruekte elektrische en elektronische producten en batterijen nicht met het algemene huishoudelijk afval gemengd@mogen worden.
Voor een correcte behandeling, recuperatie en recyclage van oude produits en gebruekte batterijen要去en zij maar de bevoegde verzamelpunten gebracht worden in overeenstemming met uw nationale wetgeving.
Belangrjke informatie
Doorudge producten correct af te voeren draagt u uw steentje bij tot het beschemen van waardevolle middelen en tot depreventie van potentielle schadelijkeeffecten op de gezondheid van de mens enop het milieu.
Neem contact op met uw lokale overheid voor meer informatie over inzameling en recyclung.
Voor een nicht-correcte verwijdering van dit afval kunnen boetes opgelegd worden in overeenstemming met de nationale wetgeving.
Voor zakelijk gebruikers in de Europese Unie
Indien u elektrische en elektronische apparaten wilt afvoeren, neem dan contact op met uw dealer voor更多信息.
Informatie over het afvoeren in andere landen buiten de Europese Unie
Deze symbolen (1, 2) zijn enkel geldig in de Europese Unie. Indien u deze producten wilt afvoeren, neem dan contact op met uw plaatelijkke autoriteiten of dealer, en vraag informatatie over die correcte wijze om deze producten af te voeren.
Opmerking over het batterijensymbol
Dit symbool (2) kan geleukt worden in verbinding met een chemisch symbol. In dat geval wordt de eis, vastgelegd door de Richtlijn voor de betrokken chemische producten verruld.
Opmerking over de verwijderingsprocedure voor de batterij
Raadpleeg "De batterij plaatsen" op pagina 9.
Instellen
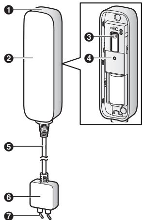
Onderdeelnamen en functies

1 Hoofdeenheid
2 Kap van hoofdeenheid
3 [C]
Wordt gebruikt om de status van de sensor te bevestigen of de sensor bij de hub te registeren.
4 LED-indicator
Kabel
6 Sonde-eenheid
Sondes
LED-indicator
U kunt op [ ]C] drukken en de LED-indicator controlleden om de sensorstatus te bevestigien.
Nadat de sensorstatus is bevestigd, raden we aan de LED-indicatoruit te schakelen
door zo snel möglich opnieuw op [ ()C] te drukken om de batterij Niet onnodig te belasten.
| Indicator | Status |
| Groen, brandt | Geen water gedetecteerd |
| Rood, brandt | Water gedetecteerd |
| Rood, knip-pert | Sensor bevindt zich bui-ten het bereik van de hub |
| Groen, knip-pert lang-zaam | Registratiemodus (u hebt[<>][C] ingedrukt gezhou-den) |
| Uit | Geen batterijvermogen |
Opmerking:
- De LED-indicator geeft de sensorstatus Niet aan als de sensor nicht is geregistreerd (pagea 9).
Instellen: overzicht
1 Eerste configuratie
Zorg dat u toegang tot het systeem hebt met uw mobiele apparaat.
Raadpleeg de Instelhandleiding voor systeme bij uw hub voor meer informatie.
2 De batterijplaatsen
De sensor werkt op batterijen.
3 Registerten
Alleen vereist als de sensor afzonderlijk is aangeschäft (niet als deel van een bundel).
4 Bevestig het installmentgebied
Lees de informatatie in dit document om te bevestigen dat het gewenste installmentatiegbied geschikt is voor een juiste werkinq.
5 Installatie
Installer de sensor op de gewenste locatie.
De batterijplaatsen
GEBRUIK ALLEEN een CR2-lithiumbatterij.
- Controller of de batterijen correct zich geplaatst ( ,)
1 Verwijder de kap van de hoofdeenheid.
- Til omhoog vanaf de inkeping (①) en open de kap van de hoofdeenheid (②).

2 Plaats de batterij.

3 Plaats de kap van de hoofdeenheid terug.
De sensor registraren
Deze procedure is nicht vereist voor apparaten die zijn geleverd als deel van een bundel.
Voordat u de sensor=kunt gekruiken, moet\ deze worden geregisteerd bij de hub.
Als u apparaten afzonderlijk hebt gekocht (niet als deel van een bundel), moet u elk apparaat bij de hub registrieren.
U kunt elk apparaat registrareren met behulp van de registratieknoppen of de app [Home Network].
Registrarieknoppen gebruiken
1 Hub:
Houd [C OTHER DEVICE]
ingedrucht totdat de LED-indicator
langzaam groen knippert.
2 Sensor:
Verwijder de kap van de hoofdeenheid en houd [ (2)C] ingedrukt todat de LED-indicator langzaam groen knippert (pageina 8).
- Wanneer de registatie is voltooid, speelt de hub eén lange pieptoon af.
Opmerking:
- Als u wilt annuleren zonder de sensor te registrieren, drukt u nogmaals op [▶]C] op de hub en op de sensor.
- Wonneer de registratie is mistrukt, speelt de hub verschillende korte pieptonen af.
De app gebruiken
Wanneer u de sensor registreert met behulp van de app [Home Network], kunt u een naam toewijzen aan uw apparaten en ze groeperen op locatie. Raadpleeg de
Instellen
Gebruikershandleiding (pagea 19) voormeer informatie.
Het gebruiksgebied bevestigen
Bereik van draadloze communicatie
Het bereik van de draadloze communicatie van elk apparaat in het systeme van de hub is ongeveer 50m binnenschuis en ongeveer 300m buitenshuis. Draadloze communicatie kan onbetrouwbaar zijn wanner de volgende obstakelsussen de hub en andere apparaten staan.
- Metalen deuren of schermen
- Muren met isolatieplaten van aluminium
- Muren van beton of golfplaten
Ramen met dubbel glas - Meerdere muren
- Wanneer de diverse apparaten op verschilende verdiepingen of in verschilnde gebouwen worden gebrukt
Opmerking:
- U kunt de communicatiestatus van de sensor controleren door op [ )C] te drukken. Als de LED-indicator groen of rood brandt, werkt de sensor correct met de hub. Als de LED-indicator rood knippert, is de sensor buiten bereik van de hub.
Installatie
De hoofdeenheid worden aan een muur bevestigd en de sonde-eenheid kan aan een muur of op de vloer worden bevestigd.
Wanneer de metalen sondes op de sonde-eenheid in contact komen met water, stroomt eenkleine hoeveelheid elektrische ladingussen de sondes, wat door de hoofdeenheid worden herkend als een waterlekkage.
| Sonde-eenheid geinstalleerd aan muur | Sonde-eenheid geinstalleerd op vloer |
Voorzorgsmaatregelen voor installmentie
- De sensor is nicht bedoeld voor gebruik in situatuies die hoge betrouwbaarheid vereisen. In dergelijkke situatuies raden we het gebruik van de sensor Niet aan.
- Panasonic eenvaardt geen verantwoordelijkheid voor letsel of schade als gevolg van het gebruik van dit product.
Zorg bij installment dat de batterij correct worden geplaatst en dat de kap van de hoofdeenheid volledig worden gesloten. - Bij installation op een houten oppervlak, moeten de meegeleverde adapters voor wandmontage worden gebruikt. Bevestig de adapters voor wandmontage aan de muur met behulp van schroeven (geen dubbelzijdige tape).
- Bevestig de sensor op een stabiele locatie waar de sensor voldoende kan worden ondersteund bij bevestiging.
- Bevestig de sensor Niet aan een zacht materiaal. Deze kan vallen en kapotgaan of letseveroorzaken.
- Bevestig de sensor Niet aan de volgende materialen: gipsplaten, ALC (lichtgewicht autoclaafgehard cellenbeton), betonblokken, multiplex dat dunner is dan 25,4 mm, enz.
- De sensor kan möglichnest not correct een waterlekkage detecteren als het water verwuilingen bevat, zoals olie, of als het water bevroren is (ijs of sneuw).
Instellen
- Wanner u de metalen sondes met uw hand aanraakt, kan möglichk een waterlekkage worden gedetecteerd. Dit is geen defect.
- Installeer de sonde-eenheid zodaning dat de metalen sondes horizontaal zijn. Een waterlekkekage kan allelen worden gedetecteerd als het water beside metalen sondes raakt. Als het water slechts eén van de sondes raakt, worden waterlekkeg edeteeerd.
| Juiste installment | Onjuiste installment |
| Metalen sondes zijn horizontaal maar de vloer | Metalen sondesijken nicht horizontaal maar de vloer |
Installatiolocation
Installer de waterlekkagesensor in een kelder, keuken, onderhoudsruimte of andere ruimte waar u een waterlekkage wilt detecteren. Voorbeelden van veelgebruekte installatielocaties zich in de buurt van een wasmachine, boiler, of plekken waar in het verleden waterlekkage hebts plaatsgevonden.
Opmerking:
- Installeer de sonde-eenheid zodanig dat de metalen sondes onceveer 1 mm boven de vloer zich. Als de sondes de vloer rakan, kan de sensor valse detecties geleven. Als de sondes te ver van de vloer zich, kan alleen een waterlekkage worden gedetecteernd nadat het gelekte water hoog genoeg is gekommen ome de sondes te raken.
Instellen
- Installeer de hoofoenheid 1m of hoger boven de vloer. De hoofoenheid is nicht waterbestendig. Als ze ne wat wordt, kan de sensor beschadigd raken en worden waterlekkages nicht correct gedetecteerd.

Instellen
Bevestigen met de adapters voor wandmontage
1 Gebruik schroeven om de adapters voor wandmontage aan de muur te bevestigen.
Hoofdeenheid
A Schroven
③ 75mm
Sonde-eenheid
A Schroef

Opmerking:
- Raadpleeg pagina 17 om de sonde-eenheid op een vloer te installereren. In dat geval gebruikt u Niet de adapter voor wandmontage van de sonde-eenheid.
2 Verwijder het achtervel van de dubbelzijdige tape, plaatds hoofdeenheid en de sonde-eenheid in de adapters voor wandmortage en druk verrolgens stevig op elke eenheid om te zorgen dat deze goed vastzitten aan het installmentatieoppervlaak.
Dubbelzijdige tape

Instellen
Alleen bevestigen met dubbelzijdige tape
Opmerking:
- Zorg dat alle oppervlakken die in aanraking komen met de dubbelzijdige tape, schoen en droog maar voordat u de tape aanbrengt. Wanneer u de dubbelzijdige tape aan beton of stenen bevestigt en het oppervlak hiervan nat is, moet u zorgen dat het oppervlak volledig worden gestrodroogd voordat u de dubbelzijdige tape aanbrengt.
1 Verwijder het achtervel van de dubbelzijdige tape, bevestig de hoofdeenheid en de sonde-eenheid aan het installationeoppervlak en druk cervolgens stevig op elke eenheid om te zorgen dat deze goed vastzitten aan het installationeoppervlak.
A Dubbelzijdige tape

Opmerking:
- Raadpleeg pagina 17 om de sonde-eenheid op een vloer te installereren.
De sonde-eenheid op een vloer installereren
Wanneru de sonde-eenheid op een vloer installeert, gebruikt u de dubbelzijdige tape om de sonde-eenheid rechtstreeks aan de vloer te bevestigen.
Opmerking:
- Als de sonde-eenheid in de adapter voor wandmontage worden geplaatst enervolgens aan de vloer worden bevestigd, komen de sondes te ver van de vloer, waardoor alleen een waterlekkage kan worden gedeteerd nadat het gelekte water hoog genoeg is gekommen om de sondes te raken.
| Juiste installment | Onjuiste installment |
| Ondiep water raakt sondes | Alleen diep water kan sondes raken ① Adapter voor wandmontage |
Instellen
Van de muur verwijderen
Adapter verwijderen uit de houder voor wandmontage
1 Steek een platte schroevendraier in de uitsparingen van de adapter voor wandmontage en wrik de hoofdeenheid en sonde-eenheid voorzichtiglos.

2 Verwijder de schroeven waarmee de adapter voor wandmontage aan de muur is bevestigd.
■ Verwijden bij bevestiging met alleen dubbelzijdige tape
1 Bind een stuk draad tussen twee stokjes, schroevendraaiers, enz.
2 Trek de draad strak en gebruik het om de dubbelzijdige tape te snijden. Verwijderervolgens de achtergebleven tape.
A Achtergebleven tape

De sensor testen
U kurz de LED-indicator van de sensor controlleden om de prestaties van de sensor te testen.
1 Verwijder de kap van de hoofdeenheid.
2 Druk op [C].
3 Breng de sondes van de
sonde-eenheid in contact met water.
4 Controller of de LED-indicator rood gaat branden.
5 Druk nogmaals op [ ]]
Beschikbare functies bij gebruik van de app [Home Network]
Enkele sensorfuncties die beschikbaar zijn bij gebruik van de app [Home Network] worden hieronder weergegeven. Raadpleeg de Gebruikershandeiding (pageina 19) voor meer informatie.
- Alarmsystem
U kunt de app gebruiken om het alarmsysteme te activeren of deactiveren, de huidige status van de sensor te bevestigten en een logboek van eerdere gebeurtenissen te bekijken.
- Sensorintegratie
U kurz de sensor configureren om andere systeimegeburtenissen te triggeren, zoals cameraopname, het inschakenen van een elektrisch apparatus (zoals een lamp), enzovoort. (Geschikt apparatus vereist.)
U knot het systeem configureren om een voorgeprogrammeerd telefoonnummer te bellen wanner de sensor worden getriggerd.
Toegang tot de Gebruikershandleiding
De Gebruikershandleiding is een verzameling online documentation wiearmee u optimaal gebruikmaakt van de app [Home Network].
1 iPhone/iPad
Tik op :in het beginschem van de app.
Android™-apparaten
Tik op of druk op de menuknop van uw mobiele apparaat in het beginschem van de app.
2 Tik op [Gebruikershandleiding].
Opmerking:
- Microsoft® Windows® Internet Explorer® 8 en eerdere versies worden nicht ondersteund.
Android 4.1 of hogere versies worden aanbevolen. - U kunt de Gebruikershandleiding ook bekijken op de hieronder vermelde webpagina.

www.panasonic.net/pcc/support/tel/homenetwork/manual/
Bijlage
Specifications
- Standaarden
DECT (Digital Enhanced Cordless Telecommunications: digitale draadloze telecommunicatie)
Frequentiebereik
1,88 GHz - 1,90 GHz
RF-overdrachtvermogen
Circa: 10 mW (gemiddeld vermogen per kanaal)
max. 250mW
Stroomvoorziening
Lithiumbatterij CR2 (CR15H270)
(1× 3,0V,850mAh)
Bedrijfsomstandigheden
0^ - 40^
Levensduur batterijen
Maximaal 2aar (wonneer de sensor enmaal per maand word getrigged, in een omgeving van 25^) bij gebruik van een batterij van 3,0 V,850 mAh.De levensduur van de batterij is afhankelijk van de capacititeit van de gebruekte batterij.
- Afmetingen
Hoofdeenheid (hoogte × bredte × diepte) (dubbelzijdiege tape Niet meegerenkeld):
Circa 106mm× 31mm× 22mm
Sonde-eenheid (hoogte × bredte × diepte) (dubbelzijdige tape nicht meegererdek):
Circa 44mm× 24mm× 10mm
Snoer (length):
Circa 1,2 m
Gewicht
Circa 80g de batterij Niet meegerekend
Grafische symbolen voor gebruik op apparatuur en hun beschrijvingen
| Picto-gram | Uitleg | Picto-gram | Uitleg |
| ~ | Wisselstroom (AC) | □ | Klasse II-apparatuur (appa-ratuur waaroor bescherming tegen elektrische schokken worden geboden door dubbele isolatie of versterkte isolatie.) |
| --- | Gelijkstroom (DC) | | | "AAN" (stroom) |
| Randaarde | ○ | "UIT" (stroom) | |
| = | Beschemende aardverbin-ding | ○ | Stand-by (stroom) |
| Functionele aarde | ○ | "AAN"/"UIT" (stroom; druk-druk) | |
| Alleen voor binnengebruik | ○ | Waarschuwing: risico op elektrische schok |
Voor naslag
Wij raden u aan om de volgende gegevens te noteren. Dit is handig voor reparaties die vallen onder de garantie.
| Seriennummer | Aankoopdatum |
| (zie de binnenkant van de hoofdeenheid) | |
| Naam en adres dealer | |
Bevestig hier uw aankoopbon.
Panasonic Corporation
1006, Oaza Kadoma, Kadoma-shi, Osaka 571-8501, Japan
http://www.panasonic.com
SimpelGids