10900 N - Estrattore di succo Reber - Manuale utente e istruzioni gratuiti
Trova gratuitamente il manuale del dispositivo 10900 N Reber in formato PDF.
Domande degli utenti su 10900 N Reber
0 domanda su questo apparecchio. Rispondi a quelle che conosci o fai la tua.
Fai una nuova domanda su questo apparecchio
Scarica le istruzioni per il tuo Estrattore di succo in formato PDF gratuitamente! Trova il tuo manuale 10900 N - Reber e riprendi in mano il tuo dispositivo elettronico. In questa pagina sono pubblicati tutti i documenti necessari per l'utilizzo del tuo dispositivo. 10900 N del marchio Reber.
MANUALE UTENTE 10900 N Reber
Leggere aentamente prima dell'uso e conservare per tua la durata dell'apparecchio.
Reber segue una polica di connua ricerca, evoluzione e modica dei propri pro do in campo normavo, technique, ecologico e commerciale, eventuali diormità del prodoo rispeo al presente libero di istruzioni, sono consequencesa di questo processo.
AVVERTENZE
Questo apparecchio può essere uszzato da persone ( compresi i bambini al di sopra degli 8 anni di età) con ridoe disponà siche, sensoriali, psicologiche e mentali, o da persona con un grado non succiente di conoscenza o specica esperienza, solo ed esclusivamente se adeguatamente forma ed informa in merito al correto utilizzo dell'apparecchio e dei rischi adesso correla e/o
sorveglia da personale responsable che possa garanre la loro incolumità.
La pulizia e la manutenzione dell'apparecchio non devono essere euate da minori non sorveglia.
Per il suo ulizzo, abbiate cura di posizionare l'apparecchio su una supercie piana e stabile. Prima di qualsi asi intervento sulla macchina posizionare l'interruore in posizione "Spento" (-0-) e sganciare la spina alla presa di corrente. Per il suo funzionamento l'apparecchio deve essere collegato ad una presa di corrente che rimanga in permanenza facilemente accessibile durante l'uso. In caso di deterioramento del cavo spina, lo stesso dovrà essere sostuito da un technicianico qualicato, esclusivamente con un cavo po HO5 VV-F, omologato "HAR" con spina di forma "RA" conforme alla norma DIN 49406 Parte 2. Livello acusco inferiore a 80 dBA.
I minori non devono poter giocare con l'apparecchio
La pulizia e la manutenzione dell'apparecchio non devono essere euate da minori non sorveglia.
-Non ulizzare all'esterno
-Non immershere il motore elerico in acqua o altri liquidi in fase di pulizia
-Non usare prolonghe al cavo di alimentazione
-Non estrarre la spina alla presa rando il cavo di alimentazione
-Non usare l'apparecchio con mani bagnate o a piedi nudi
-Non usare l'apparecchio in ambient umidi o in presenza di liquidi sui piani di lavoro
-
Per evitare anni rischio di shock elerico, non immergere l'apparecchio in acqua e non usizzarlo se l'apparecchio stesso, la spina o il cavo spina sono bagna.
-
Ogni po di intervento sull'apparecchio, comprese le operazioni di assemblaggio, pulizia e manutenzione, deve essere eeuato con il cavo spina disinserito alla presa di corrente ed ulizzando guan di protezione per le mani.
RESPONSABILITA' DEL COSTRUTTORE
Il costruore non si rittà responsablei di inconvenientien, roure, inciden, ecc. dovu alla non conosenza (o comunque alla non applicazione) delle prescrizioni contenate nel presente manuale. Lo stesso dicasi per l'esecuzione di modiche, varian e/o l'infallazione di accessori non autorizza prevenvamente. .Questo apparecchio è desnato esclusivamente ad un uso domesco.
DATI TECNICI
Motore elerico universale a colleore economia di energia; uso intermiente 150W:15 minu max e 250W: 2,5 min. max. lasciar rareddare l'apparecchio prima di riulizzare. Riduore ad ingranaggi in acciaio e nylon.
ACCESSORIO SPREMIPOMODORO
Corpo in ghisa o resina acetalica elica in resina acetalica, perno di traino in nylon insertato su acciaio stagnato; cono ltro, imbuto e sgocciolatoio in acciaio inox 18/10 (10900 N) imbuto e sgocciolatoio in Moplen (10902 N)

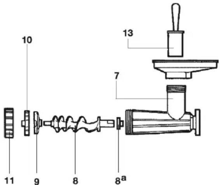
Legenda:
7-Pestello 8-Imbuto 9-Corpo in ghisa o resina 10-Elica in resina 11-Filtro Inox 12-Sgocciolatoio Inox o Moplen 13-Perno con molla 16-Paraschizzi Inox (solo 10900 N) 17-Guarnizione Imbuto
USO DELLO SPREMIPOMODORO
Questo appearecchio è destinato ad un utilizzo esclusivamente domestico e previsto per produzioni di quantità limitata.
Eeuare l'assemblaggio del perno con molla seguendo
accuratamente lo schema di montaggio; la molla deve sempre essere installata tra il perno e l'elica.
Questo appearecchio può passare pomodori sia co che crudi.
Le diverse qualità, il grado e la pologia di maturazione inuiscono sulla quantà di umilità residua del pomodoro e, di conseguenza, sul funzionamento dell'apparecchio e sul risultato nale; un prodoo biologico è sempre dierente stagione dopo stagione.
Se il pomodoro è coo, lasciarlo sepidire ed inserirlo nella macchina ad una temperatura non superiore a 50^ , se è crudo, tagliarlo a pezzi di dimensioni adeguateanchesposano cadere nel collo del corpo alla dover premere.
E' sempre consigliabile lasciare scolare i pomodori (sia co che crudi) per far perdere l'acqua di vegetazione; questa procedura eviterà la fuoriuscita di buccce troppo umide ed il rischio di fuoriuscita di liquido alla parte posteriori del corpo.
L'elica è concepita per oenere il massimo della passata se lasciata lavorare nella forzare: inseire il pomodoro nell'imbuto, farlo scendere nel corso con il pestello nella premere e lasciare lavorare la macchina nella forzare, l'elica si svuoterà autonomamente, la passata risulterà correamente consistente e si eviterà la fuoriuscita di buccce troppo bagnate (una seconda passata è comunque eeuabile qualora il pomodoro sia molto umido)
Premere il pomodoro con il pestello quando l'elica è giornata di pomodoro cui provocare la fuoriuscita di liquido alla parte posteriori del corso danneggiando il riduore; lasciendo scaricare autonomamente l'elica si evita quello inconvenientmente.
Se il pomodoro è troppo caldo, e/ o se si forza con il pestello quando ilsystema elica/ltro è piano, si rischia di intasare il systema e di danneggiare il cono ltro e il corpo.
Per esigenze di ingombro la macchina è parzialmente smontata nell'imballo; occorre inseire il perno di traino con molla nel foro del corpo (9), inseire l'elica (10) nel corpo imboccandola sul quadro del perno di traino, quando sovrapporre all'elica il cono ltro (11) premendolo e ruotandolo in senso antiorario per incastrare le orecchiee della ghiera nelle apposite nicchie ricavate nel corpo.
Avvitare l'imbuto (8) al collo leato del corpo e agganciare lo sgocciolatoio (12) al cono除外 e al corpo mediante gli apposi fermagli. La macchina è casi pronta per l'uso; è assolutamente da evitare il funzionamento a secco (senza pomodoro). Al termine del lavoro svitare l'imbuto (8), sganciare lo sgocciolatoio (12), ruotare in senso orario il cono ltro (11) per rimuovere l'elica (10) e il perno di traino con molla. Rimuovere il corpo (9) dal coperchio del riduore (6), quando lavare, asciugare accuramente tue le par che sono entrata in contao con l'alimento.

Conforme Reg. EC n. 1935/2004 + UE 10:2011
ACCESSORIDISPONIBILI




ACCESSORIO TRITACARNE ART. 8820 N
Legenda tritacarne
7-Corpo in ghisa 8-Elica 8^ -Boccola 9-Piastra 10-Coltello 11-Ghiera 13- Pestello e Piao ACCESSORIO TRITACARNE
Corpo, Elica e ghiera sono costrui in ghisa stagnata, piastra e coltello autoalante in acciaio temperato; pestello in moplen e piao acciaio inox o moplen, a richiesta corona per insaccare ed imbu insaccatori in moplen. Sono disponibili su richiesta piastre con fori di diverse dimensioni secondo le necessità.
USO DEL TRITACARNE
Prima di meere in funzione il tritacarne lavare con acqua boliente ed asciugare accuramente tue le par che Enteredanno in contao con la carne. Al primo ulizzo, per eliminare tu gli eventuali residui di lavorazione, si consiglia di far funzionare il tritacarne con carne di scarto per 5 minu. Avvitare la ghieraenza forzare ed evitare tassavamente di svitarla durante il funzionamento. Al termine del lavoro per smontare il tritacarne ruotare la ghiera (11) in senso anorario, estrarre il coltello (10), la piastra (9) e l'elica (8), rimuovere il corpo in ghisa (7) dal coperchio del riduore (6); lavare, asciugare accuramente ed eventualmente ungere con olio alimentare, tue le par che sono entrata in contao con la carne
I tritacarne elerici REBER sono predispos per il funzionamento con piastre aven fori di diametro da mm. 3 a mm. 12. REBER srl declina agli responsabilità riguardo a danni e inciden derivan dall'uso di piastre aven fori di diametro maggiore di 12 mm.

ACCESSORIO GRATTUGIA ART. 8810 N
Legendagraugia
1-Coperchio molplicatore 2-Ingranaggio grande
3- Ingranaggio piccolo molplicatore 4- Perno graugia
5- Flangia molplicatore 6- Dado cieco graugia
7- Maniglia graugia 8- Corpo graugia 9- Rullo dentato
10-Coperchi nylon 11-Vite coperchio nylon
12-Casseo raccoglitore
ACCESSORIO GRATTUGIA
Corpo e maniglia in alluminio, rullo in acciaio stagnato e casseo raccoglitore in materiale plasco alimentare; la graugia oponal viene innestata sul gruppo motoriduore mediante un molplicatore di giri assiale ad ingranaggi in nylon fornito nella confezione.
USO DELLA GRATTUGIA
Prima dell'uso smontare il rullo come soo specicato e lavare ed asciugare accuratamente tue le par che Enteredanno in contao con l'alimento.
Al terme del lavoro svitare le vi (11) e rimuovere il coperchio in nylon (10) per estrarre il rullo dentato (9) al quale sono ssa il perno (4) e l'ingranaggio piccolo (3); lavare ed asciugare accuramente tue le par che sono entrata in contao con l'alimento.
CONDITIONI DI ASSISTENZA E GARANZIA
Le informazioni in merito al centro di assistenza più prossimo sono nelle reperite sul site www.rebersrl.it alla voce assistenza.
GARANZIA PRODOTTI
Tu i prodo sono coper da garanzia contro i dife di fabbricazione, con validità 2 anni dal momento dell'acquisto da parte dell'ulizzatore nale (1 anno nel caso di ulizzatori professionali). La data dell'acquisto è aestata dallo scontrino o faura di acquisto; in mancanza di que's documen è possibilefare riferimento all'anno di costruzione dell'apparecchio riportato sull'echea da tecnici. La garanzia copre i dife per causa di fabbricazione, eventuali dife non chiaramente aribuibili al costruore, devono essere visiona da un nostro techniciano interno o da un centro di assistenza autorizzato che aesterà la validità della garanzia.
La garanzia non copre i dati cui causa da ulizzo ed installazione improprio o non conformi all'uso per il quale l'apparecchio è costruito, da traamenanche di pulizia erra, i dati cui causa da ur o cadute, i materiali di consumo. La garanzia decade qualora il prodoo sa stato riparato o manipolato da sogge terzi non autorizza. La garanzia non preveDE la sostuzione della macchina o l'estensione della garanzia in caso di riparazione. Le riparazioni devono essere eeuate direamente da Reber o da un centro di assistenza autorizzato e devono pervenire in porto franco. La garanzia non copre le operazioni di pulizia della macchina ove necessario.

Smalmente di apparecchiature da roamare da parte di priva nell'Unione Europea Questo symbolo che appeare sul prodoo o sulla confezione indica che il prodoo non deve essere smalto assiemeagli altriaru domesci. Gli uten devono provvedere allo smalmente delle apparecchiature da roamare portandole al luogo di raccolta indicato per il riciclaggio delle apparecchiature eleriche ed eleroniche. La raccolta e il riciclaggio separa delle apparecchiature da roamare in fase di smalmente favoriscono la conservazione delle risorse naturali e garanscono che tali apparecchiature vengano roaming nel rispeo dell'ambiente e della tutela della salute. Per ulteriori informazioni sui pun di raccolta delle apparecchiature da roamare, contaire il proprio comune di residenza, il servizio di smalmente dei ri u locale o il negozio presso il quale è stato acquistato il prodoo.
ManualeFacile