SmartZone EZ 8576 - Programmatore irrigazione Nelson - Manuale utente e istruzioni gratuiti
Trova gratuitamente il manuale del dispositivo SmartZone EZ 8576 Nelson in formato PDF.
Domande degli utenti su SmartZone EZ 8576 Nelson
0 domanda su questo apparecchio. Rispondi a quelle che conosci o fai la tua.
Fai una nuova domanda su questo apparecchio
Scarica le istruzioni per il tuo Programmatore irrigazione in formato PDF gratuitamente! Trova il tuo manuale SmartZone EZ 8576 - Nelson e riprendi in mano il tuo dispositivo elettronico. In questa pagina sono pubblicati tutti i documenti necessari per l'utilizzo del tuo dispositivo. SmartZone EZ 8576 del marchio Nelson.
MANUALE UTENTE SmartZone EZ 8576 Nelson
Ea t o dei e n i a r d t o.
GUIDA ALL'INSTALLAZIONE E ALLA PROGRAMMAZIONE
Perimodelli:
8504
8506
8508
8512
8514
8516
8518
8522
8574
8576
8578
8582

Italiano. . . . . . . . . . . . . . . . . . . . . . . . . . . . . . . . . . . . . . . . . . . . . . . . . . . . . . . . . . . . . . . . . . . . . . . . . . . . . . .
Portugués . 29-57
GRAZIE per aver acquistato la centralina elettronica per l'irrigazione SmartZone™ EZ. Ben presto scoprirte perché l'abbiamo soprannominata "EZ". Siamo sicuri cheessa sare la più facilee la più fidabile centralina che userete mai. Eosi "EZ" (easy = facile) che probabilmente sarete in grado di installare e programmare esta centralina piena di caratteristiche alla le istruzioni. Tuttavia, prima di installare e programmare la centralina, vi consigliamo di leggere attentamente le istruzioni per trabre vantageg in modo biano da ciò che lo SmartZone™ EZ ha da offrire.
Se avete domande, problemi o commenti sul vosto novo SmartZone™ EZ, chiamate il nostro Servizio di Assistenza al numero verde 1-800-NELSON8.
Leader nell'irrigazione del mondo erboso sin dal 1911
N.B.: A causa dei nostri continui sforzi nel migliorare ed aggiornare i nostri prodotti, le caratteristiche e le specifiche in questo manuale possono variare alla preavviso.
INDICE
Caratteristica 3
Installazione 4-9
Morsettiera 5
Collegamento della Master Valve o del Relè per
l'Avviamento della Pompa 5
Collegamento dei cavi del Trasformatore 5-6
Collegamento del Sensore per la Pioggia/Umidità 7
Collegamento della Pila e Reset della centralina 8-9
Programmazione dello SmartZone™ EZ 10-19
Generalità sulla Programmazione 10
Schema del Pannello frontale 11-12
Regolazione Ora del giorno 13
Regolazione Giorno attuale 13
Regolazione Data di oggi 13
Selezione delle Zone e Regolazione Tempi di durata 13-14
Regolazione degli Orari d'inizio 15
Regolazione % Erogazione di Acqua 15
Programmazione 16-17
Regolazione dell'opzione Programmazione Giorni d'irrigazione 17
Regolazione dell'opzione Giorni Dispari/Pari 18
Regolazione dell'opzione Programmazione con Intervallo 18
Revisione del Programma 19
Spegnimento della Centralina 19
Caratteristica technologicamente avanzate 20-21
Funzionamento Manuale di una Zona 20-21
Funzionamento Manuale di un Programma 21
Prova di 3 minuti (a Siringa) 21
Dati tecnici / Specifiche 22-24
Localizzazione Guasti / Servizio di Assistenza 25
Norme FCC 26
Garanzia 27
CARATTERISTICHE
- Livello professionale
- Manopole et tasti per la programmazione facili da usare
- LCD (Display a Cristalli Liquidi) grande e facile da leggere
- Memoria non-volatile per il mantenimento del programma alla corrente elettrica o pile
3 programmi independenti - 3 orari d'inizio per programma (9 partenze in totale)
- 3 opzioni di programmazione (calendario di 7 giorni, giorni dispari/pari, intervallo da 1-30 giorni)
- 3 cicli di prova (Manuale, Ciclo, Prova di 3 minuti)
- Erogazione di acqua
- Tempi di durata programmabili da 1 minuto fino a 9 ore e 59 minuti
- Esclusiva programmazione Select&Adjust™ - Selezionare e Regolare
- Trasforma tore interno
- 2 anni di garanzia sui materiali e sui difetti di fabbrica
ISTRUZIONI PER L'INSTALLAZIONE
N.B.: Le istruzioni sono per l'uso all'aperto e all'interno.
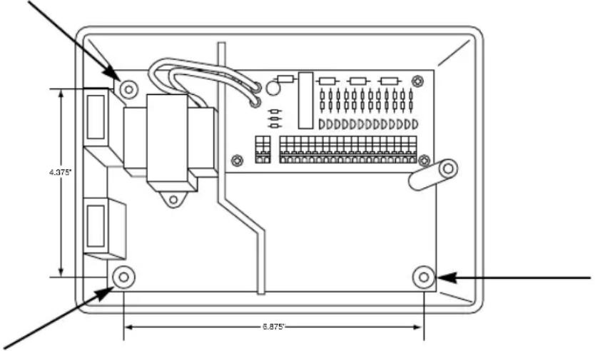
Trovate unippo vicino ad una presa elettrica di 110 V (220 V per i modelli 8574, 8576, 8578 e 8582) o ad un impianto elettrico di 110 V. Installate SmartZone™ EZ all'altezza degli occhi, se possibile. Aprite il pannello frontale svitando la vite che lo tiene chiuso e tirando la linguetta che si trova sulla destra dello stesso facendolo girare sui gangheri. Usate i tre fori che si trovano nel contentatore per segnare sul muro i punti in cui applicare le viti e fate i buchi col trapano. I due fori guida a sinistra dello SmartZone™ EZ sono allineati vertically per fissare la centralina su un montante (Vedere Fig. 1). Inserite le viti nei foriattraverso il contentitore ed avvitarle nei correspondenti buchi fatti sul muro.
N.B.: É possibile rimuovere il pannello frontale per facilitare l'installazione togliendo il connettore a nastro alla schedà di interconnessione ed estraendolo dai gangheri.

FIGURA 1
ISTRUZIONI PER L'INSTALLAZIONE
Morsettiera
Tutti i collegamenti dei cavi delle zone, della pompa e del sensore fatti all'interno dello SmartZone™ EZ utilizzato connettori per i quali non occorre l'uso di arnesi. Premete la levetta della morsettiera con una penna o con un piccolo cacciavite ed inserte il cavo elettrico in basso. Le morsettiere nella centralina SmartZone™ EZ utilizzato cavi elettrici di 12 AWG (4,8 mm) o più piccoli.
Collegamento della Master Valve o del Relè della pompa
Lo SmartZone™ EZ è fornito di un circuito in comune per operare sia il relè per l'avviamento della pompa che la Master Valve. Collegate un cavo dal relè per l'avviamento della pompa a COM (comune) nella morsettiera e l'alto a PMP/MV (pompa/Master Valve) sempre nella morsettiera. Fate riferimento alle istruzioni del fabbricante sul relè per l'avviamento della pompa per specifici dettagli sulla INSTALLazione.
Collegamento del trasformatatore*
- 110 V CA negli Stati Uniti, Canada e Messico; 220 V CA in Europa ed Australia
N.B.: Fare riferimento ed osservare i regolamenti locali se sono diversi da queste istruzioni.
AVVERTENZA: Staccare la corrente a 110 V (220 V per i modelli 8574, 8576, 8578 e 8582) prima di fare il collegamento dei cavi del trasformatore. Completare tutti i collegamenti e l'installazione prima di allacciare il trasformatore all'alimentazione. Ciò eviterà il cortocircuito accidentale che potrebbe arrecare danni alla centralina.

ATTENZIONE: Il materiale isolante primario sare èsposto quando siCTL il pannello frontale. Disinserire l'energia elettrica prima di rimuovere quello pannello.
ISTRUZIONI PER L'INSTALLAZIONE
Peri modelli 8504, 8506, 8508, 8512:
Col pannello frontale aperto per averere accesso al trasformatore interno, inserte i cavi da 110V su per l'apertura della conduittura da 13mm nella parte inferiore del contentatore. (Per il collegamento alla rete, i cavi CA devono averere come minimo un isolamento de 75^ ). La conduittura deve essere fissata al contentatore (secondo i regolamenti locali). Collegate i cavi CA con quelli del trasformatore utilizzando gli apposti cappucci per cavi elettrici. Inoltre, assicurarsi che il cavo di messa a terra sua collegato al cavo di messa a terra di colore verde con striscia gialla. Controllate, per favore, i regolamenti locali riquardanti i requisiti per la messa a terra nella vostra zona. Raccogliere I cavi inserendoli nella fascetta e stringerli fermamente per evitare che i cavi pendenti toccano i circuiti secondari. Adesso il transformatore è collegato. Ma NON mettete corrente.
Peri modelli 8574, 8576, 8578, 8582:
Col pannello frontale aperto per avere accesso al trasformatore interno, inserte i cavi da 220 V su per l'apertura della conduttura da 13 mm nella parte inferiore del contentatore. (Per il collegamento alla rete, i cavi CA devono avere come minimo un isolamento di 75^ C). La conduttura deve essere fissata al contentitore (secondo i regolamenti locali). Collegate i cavi CA al connettore in dotazione e stringere le viti. Fare attenzione alla polarità dei cavi quando si effettua la connessione (ad es. L1, L2 e messa a terra). Raccogliere i cavi inserendoli nella fascetta e stringeri farmamente per evitare che i cavi pendenti toccano i circuiti secondari. Adesso il trasformatore è collegato. Ma NON mettete la corrente.
N.B.: La mancata osservanza nell'effettuare la messa a terra del dispositivo in modo appropriato cui cause gravi danni alla centralina e/o alla proprietà e renderà nulla la garanzia.
Peri modelli 8514, 8516, 8518, 8522:
Il trasformatatore viene dotato di un cavo elettrico CA lungo 1,8 metri avente una spina per la messa a terra. Si consiglia di non manomettere questa connessione. La sostituzione di quello cavo deve avvenire secondo i regolamenti locali ed in tutti i casi in cui il disposativo deve avere la messa a terra effettuata in modo appropriato.
ISTRUZIONI PER L'INSTALLAZIONE
Collegamento del Sensore per la Pioggia/Umidità
Lo SmartZone™ EZ è predisporto per far funzionare un sensore con conduttori chiusi in modo normale. La porta del sensore nelle SmartZone™ EZ è il primo connettore che non richiede l'uso di arnesi sulla schedà di interconnessione (Vedere Fig. 2). Per installare un sensore, togliete via il ponticello pre-installato dal connettore del sensore all'interno della morsettiera ed inserte i cavi del sensore. Fate riferimento alle istruzioni del fabbricante sul sensore per specifici dettagli sull'infallazione.

FIGURA 2
Se un sensore ha sospeso l'irrigazione, sul display apparirà il segmento dell'indicatore del sensore ® simbolo scomparità quando il sensore sare è asciutto o quando la centralina è regolata in una delle modalità manuali (Vedere la pagna 23). Lo SmartZone™ EZ ripristinerà l'opération in base al programma selezionato.
ISTRUZIONI PER L'INSTALLAZIONE
Collegamento della pila e reset della centralina
Collegate una pila alcalina di 9 V al connettore della pila ed insertela nel fermo dietro il pannello frontale. La pila permette allo SmartZone™ EZ di essere programmatico perché corrente elettrica e conserva l'ora del tempo reale nel caso in cui venga a mancare l'energia elettrica. Se la pila non viene installata, la centralina perderà il tempo reale se viene a mancare la corrente. La pila dovrebbe essereambiata una volta all'anno.
AVVERTENZA: Usare solo una pila alcalina di 9 V. Una pila al nichel-cadmio di 9 V può essere una perdita o esplodere causando danni alle persona o alla proprietà.
Dopo aver installato la pila, premete il tasto nero di Reset che si trovava dietro il pannello frontale per azzerare la centralina (non ha effetto sui programmi). Per riportare la centralina sulle impostazioni standard, premete contemporaneamente sua il tasto nero di Reset che il tasto SELECTIONARE. Chiudete il pannello frontale, assicurandovi di non danneggiare i cavi. Se i cavi sono rigidi, sarebbe bene piegarli prima. Chiudete il contentatore avvitando la vite del pannello. Collegate il cavo CA per il trasformatatore alla presa oppure attaccate la corrente.
N.B.: Dato che tutti i programmi sono memorizzati nella memoria non volatile, non andranno perdute le impostazioni dei programmi durante l'interruzione della corrente,anche se la pila non è installata.
ISTRUZIONI PER L'INSTALLAZIONE

Figura 3
Adesso siete pronti per iniziare a programmare!
Generalità sulla Programmazione
Prima di programmare lo SmartZone™ EZ, è bene essere a conoscenza di alcuni punti guida generali:
- Se uno o più segmenti lampeggiano nel display, ciò significica che l'utente può apportare dei cambiamenti.
- Quando si usano i tasti o, premete il tasting per tre secondi per dare il via allo scorrimento velocce.
- Assicurarsi che sul display compaia le lettera del programma appropriata; i cambiamenti di programma sono specifici alla lettera del programma visualizzata sul display.
- Non esiste un tasto "INVIO". Le premute di tasto e le impostazioni della manopola vengono memorizzate automaticamente per voi.
- Se effettuate un Cambiamento di programma nelle corso un programma, quello cessa di funzionare immediatamente. Il nuovo programma inizia alla successiva ora d'inizio programmata.
- Quando non è in funzione, la centralina在哪的上场?
- Durante le operazioni manuali, si verifica un ritardo di 10 secondi prima che abbia inizio l'operazione. Durante quello tempo potete cancellare le vostre impostazioni. Ogni volta che effettuate un cambiamento, il ritardo ritorna ai 10 secondi.
- Le procedure MANUALE, CICLO, PROVA DI 3 MINUTI funzionano solo con la manopola della Programmazione regolata sulla posizione AUTO.
- Dopo il funzionamento di una procedura di prova, la centralina ritorna alla procedura AUTO e fa entrare in funzione il programma successivo programmato.
- Le procedure di prova ignorano la connessione al sensore; perché vi permette di effettuire l'irrigazione o di far funzionare il vosto programmaanche se il sensore ha fatto sospendere l'operazione.
Generalità sulla Programmazione
Schema del Pannello frontale
Guardando al pannello frontale (Vedere Fig. 4) potete osservare un grande display a cristalli liquidi, 4 tasti di gomma, una grande manopola girevole e due piccole manopole girevoli. I tasti di gomma sono contrassegnati con "SELECTIONARE" e "REGOLARE" e costituiscono la parte centrale della esclusiva programmazione SELECT&ADJUST™ di Nelson. I tasti sono identificati con per far augmentare o diminuire il segmento sul quale state operando.
SELECT&ADJUST™ funzione secondo il principio che prima SELECTIONATE ciò che desiderate regolare e poi REGOLATE le variabili di quello che avete selezionato. Per esempio, se desiderate un tempo di durata di 10 minuti per la zona 5, userete i tasti SELECTIONARE per selezionare la zona 5 e, una volta nella zona 5, userete i tasti REGOLARE per regolare il tempo di durata sui 10 minuti.
Ci sono dei casi in cui è richiesto solo l'uso di SELECTIONARE o solo di REGOLARE. Ciò verrà spiegato in questa guida al momento opportuno.
Una regola approssimativa: Il tasting SELECTIONARE selezione le zone o un particolare orario d'inizio (1, 2 o 3). Il tasting REGOLARE regola le ore, le date e la % Erogazione di acqua.
Vedere l'etichetta dentro il coperchio di SmartZone™ EZ per una veloce consultrazione su quali tasti usare per le diverse posizioni della manopola.
Generalità sulla Programmazione

FIGURA 4
N.B.: La manopola della MODALITA deve trovarsi nella posizione "Programmazione".
N.B.: Ogni volta che si preme il tasto o il tempo aumento o diminuirà di un minuto. Tenere premuto il tasto per tre secondi per dare il via allo scorrimento veloce.
N.B.: Fare riferimento alla sezione Dati tecnici per la spiegazione sui segmenti del display.
Generalità sulla Programmazione
Regolazione Ora del giorno
Girate la manopola grande fino alla posizione ORA. Premete REGOLARE + per scorrere fino all'ora corretta. Non c'è un indicatore di a.m.
Regolazione Giorno attuale
Girate la manopola grande fino alla posizione GIORNO ATTUALE. Premete SELECTIONARE per posizionare l'indicatore del giorno attuale sul giorno attuale.
Il tasto SELECTIONARE sposterà l'indicatore v a destra; SELECTIONARE sposterà l'indicatore v a sinistra.
Regolazione Data di anni
Girate la manopola grande fino alla posizione DATA. Premete i tasti REGOLARE + per scorrere fino alla data corrente. L'ANNO cambiera automaticamente una volta superato 12/31.
N.B.: La DATA è richiesta solo se avete intenzione di usare la programmazione DISPARI/PARI o di regolare una data d'inizio, diversa da quella corrente, per la programmazione con INTERVALLO.
Selezione delle Zone e Regolazione Tempi di durata
Il tempo di durata di una zona determina il tempo che una zona impiega per l'irrigazione. Girate la manopola grande fino alla posizione ZONA/TEMPO DI DURATA. Premete SELECTIONARE ^+ per selezionare la zona che desiderate per il programma selezionato (A, B o C). Con il numero della zona visualizzato sul display, premete REGOLARE per regolare Il TEMPO DI DURATA per那一zza. Il TEMPO DI DURATA cui quella zona. Il TEMPO DI DURATA cui quella zona. Il TEMPO DI DURATA cui quella zona. Il TEMPO DI DURATA cui quella zona. Il TEMPO DI DURATA cui quella zona. Il TEMPO DI DURATA cui quella zona. Il TEMPO DI DURATA cui quella zona. Il TEMPO DI DURATA cui quella zona. Il TEMPO DI DURATA cui quella zona. Il TEMPo DI DURATA cui quella zona. Il TEMPO DI DURATA cui quella zona. Il TEMPO DI DURATA cui quella zona. Il TEMPO DI DURATA cui quella zona. Il TEMPO DI DURATA cui quella zona. Il TEMPO DI DURATA cui quella zona. Il TEMPO DI DURATA cui quella zona. Il TEMPO DI DURATA cui quella zona. Il TEMPO DI DURATU LA ZONA PER I LARIO TEMPI DI DURATA. Quale are delle zone che desiderate nel programma selezionato.
Generalità sulla Programmazione
Dopo l'ultima zona e prima della prima zona, viene dato il riepilofo del TEMPO DI DURATA. Ciò è utile per determinare il tempo di durata totale per un programma. Il display在哪 la lettere "ALL" (Tutti) e viene visualizzato il TEMPO DI DURATA totale. Il tempo sul display è un riepilofo di tutti i TEMPI DI DURATA per il programma selezionato (100% Erogazione di acqua). (Per es., un programma ha un tempo di durata di 5 minuti nella zona 1; 12 minuti nella zona 2; e 6 minuti nella zona 4. Il display in questa posizione visualizza ALL ed un tempo di durata di 23 minuti).

FIGURA 5
Generalità sulla Programmazione
Regolazione Orari d'inizio
L'ORARIO D'INIZIO è l'ora del giorno in cui un programma enterra in funzione. Lo SmartZone™ EZ permette di aver tre orari d'inizio per agli programma.
Girate la manopola grande fino alla posizione ORARI D'INIZIO. Premete SELECTIONARE per selezionare l'ora d'inizio che desiderate stabilire (1, 2 o 3). Premete REGOLARE per regolare l'ora del giorno in cui avrav inizio il programma. Ripetete a seconda delle esigenze.
Regolazione % Erogazione di acqua
La % EROGAZIONE DI ACQUA cambia l'estensione dei tempi di durata di un programma a seconda della percentuale 5-200% immessa (per es., un tempo di durata di 10 minuti con una erogazione di acqua al 50% durera 5 minuti). Questa caratteristica è utile quando si verificano cambiamenti nelle condizioni meteorologiche. Se il tempo è insolitamente secco, potete estendere il vosto tempo di durata per ciascuna zona del programma. Con la % Erogazione di acqua poteteambiare un numero e tutti i tempi di durata del programma saranno modificati.
Girate la manopola grande fino alla posizione % EROGAZIONE DI ACQUA. Sul display apparirà il symbolo % per farvi sapere che state operando sulla quantità della % Erogazione di acqua. Premete REGOLARE per scegliere la quantità della percentuale desiderata.
Generalità sulla Programmazione
Se una percentuale di erogazione di acqua viene programmata su 110% o per una quantità maggiore, lo SmartZone™ EZ suddividerà il tempo di durata a metà per ridurre l'arresto del funzionamento. Per ciascuna zona di quel programma sarebbe operative metà del tempo di durata seguita dall'altra metà per ciascuna zona.
Ricordate, la % Erogazione di acqua è modificabile secondo programma. Se avete una programmazione in A, B e C dovete programmare tre valori di percentuale di erogazione di acqua se volete che ciascun programma venga cambiato.
PROGRAMMAZIONE
Una brevenota sulla programmazione e sullo SmartZone™ EZ...
La centralina SmartZone™ EZ ha tre opzioni di programmazione:
- GIORNI D'IRRIGAZIONE, o giornaliera, vi permette di scegliere quali giorni della settimana desiderate effettuare l'irrigazione (per es., solo il lunedi, il mercoledi, il venerdi).
DISPARI/PARI chiede alla centralina d'irrigare nei giorni pari o dispari del mese (per es., la centralina effettuerà l'irrigazione il 31 e l'1 quando viene scelta la programmazione DISPARI). - INTERVALlo effettua l'irrigazione agli otto numero di giorni (da 1 a 30 giorni. etc.). (per es., irrigare agli 3 giorni, irrigare agli 10 giorni, etc.). Un valore di 1 in una programmazione con intervallo significata di effettuare l'irrigazione agli giorni. Quando si usa l'opzione con intervallo, si ha la flessibilità di chiedere alla centralina in quale giorno dare inizio al programma con intervallo (fino ad un massimo di 30 giorni).
Generalità sulla Programmazione
N.B.: La manopola della MODALITA deve trovarsi nella posizione "Programmazione" per regolare un programma.
Quando la manopola è regolata su una qualsiasi delle opzioni, il display visualizzera il programma attualmente programmatico (il valore standard consiste in una programmazione con 1 giorno d'intervallo avente come giorno d'inizio la data del giorno di giorni). Assicurarsi che la manopola del PROGRAMMA sia regolata sul programma che desiderateambiare (A, B o C) e che desideriateambiare la programmazione attuale. Viene scelta un'opzione di programmazione dopo che premete un tasting, via SELECTIONARE che REGOLARE. La vecchia programmazione viene sostituita con quella nuova. Se volete di nuovo la vecchia programmazione è facile programmare con le seguenti procedure.
Regolazione dell'opzione Programmazione Giorni d'irrigazione
Girate la manopola grande fino alla opzione di programmazione GIORNI D'IRRIGAZIONE. Sul display apparirà l'ultima opzione di programmazione scelta per l'attuale programma o quella standard con 1 giorno di intervallo. Premete il tasting SELECTIONARE per selezionare quel giorno in cui irrigare o premete il tasting SELECTIONARE per i giorni in cui non irrigare.
Un segnale lampeggiante appeare sul giorno che state per regolare. Sui giorni selezionati per l'irrigazione appaiono le gocce di pioggia . Il segnale si sposta automaticamente di un giorno verso destra dopo che si preme il tasting SELECTIONARE . Continuate ad effettuare la selezione o ad eliminare la selezione dei giorni in cui volete che la centralina effettui l'irrigazione fino a quando avete finito di regolare il vosto calendario di 7 giorni.
N.B.: La programmazione di un programma GIORNI D'IRRIGAZIONE annulla qualsiasi alla programmazione per il programma selezionato.
Generalità sulla Programmazione
Regolazione dell'opzione Programmazione giorni Dispari/Pari
Girate la manopola grande fino alla posizione DISPARI/PARI. Sul display appeare l'ultima opzione di programmazione scelta per l'attuale programma o quella standard con 1 giorno di intervallo. Per regolare una programmazione con giorni dispiaro oEDI premete il tasto SELECTIONARE (deve essere stabilita una data per l'irrigazione giorni Dispari/Pari). Sul display apparirà una freccetta accanto alla programmazione appropriata (Disparo o Pari). I tasti SELECTIONARE si comeportano come tasti di cui e permetteranno di passare daEDI a dispiaro e viceversa.
N.B.: La programmazione di un programma DISPARI/PARI annulla qualsiasi alla programmazione per il programma selezionato.
Regolazione dell'opzione Programmazione con Intervallo
Girate la manopola grande fino alla posizione INTERVALLO. Sul display appeare l'ultima opzione della programmazione scelta per l'attuale programma o l'opzione di programmazione standard con 1 giorno di intervallo. Premete SELECTIONARE per stabilire i giorni d'intervallo tra le irrigazioni (1-30). La data visualizzata è il primo giorno della programmazione con intervallo (la data di anni se è stato stabilito uno). A seconda delle esigenze, cambiate la data del primo giorno della programmazione con intervallo con il tasto REGOLARE (è possibile effettuare la regolazione per i 30 giorni a venire).
Ripetete le suddette procedure per ciascun programma richiesto (A, B o C).
Todo qui! Adesso il vosto SmartZone™ EZ è programmato. Girate la manopola della MODALITA fino alla posizione AUTO per far funzionare il programma immesso.
N.B.: La programmazione di un programma con INTERVALLO annulla qualsiasi altra programmazione per il programma selezionato.
Generalità sulla Programmazione
REVISION DEL PROGRAMMA
Per fare la revisione dell'attuale programma, girate la manopola della MODALITA fino alla posizione PROGRAMMAZIONE e girate la manopola grande fino alla impostazione che desiderate rivedere (per es., girate la manopola grande fino a ORA per rivedere l'ora stabilita per la centralina). Quando avete bisogno di prendere visione di diverse zone o tempi di durata (1, 2, 3), usate solo i tasti SELECTIONARE.
N.B.: Dato che vi trovate nella modalità della programmazione, c'è il rischio diambiare il programma in modo accidentale.
SPEGNIMENTO DELLA CENTRALINA
Esistono dei casi in cui volete sospendere l'irrigazione, sia per brevi periodi (mente piove se non avete collegato il sensore), sia per lunghi periodi (durante l'inverno). Per ovviare a questa esigenza, lo SmartZone™ EZ può essere "spento". Girate la manopola della MODALITA fino alla posizione OFF. Ciò sospende il funzionamento di tutte le operazioni dell'irrigazione (incluse le procedure manuale/prova). L'orologio continua a mantenere l'ora attuale e la data ed il vosto programma viene conservato fino a quando attiverete di nuovo i nostri programmi. Per far entrare in funzione il vosto programma, girate di nuovo la manopola della MODALITA fino alla posizione AUTO.
N.B.: La memoria non volatile dello SmartZone™ EZ conserva il vosto programma sulla bisogno di energia. Se non c'è una pila e viene a mancare la corrente elettrica, l'ora attuale dell'orologio verrà perduta e occorrera riprogrammare l'ora.
CARATTERISTICHE TECNOLOGICAMENTE AVANZATE
Lo SmartZone™ EZ è dotato di tre procedure manuale/prova per controllare la funzione della centralina o per permettervi di far evitare al programma di effettuare l'irrigazione immediatamente. La segunte sezione vi migliorà come regolare la centralina per:
- far funzionare una zona manualmente
- far funzionare un programma manualmente
- far funzionare una prova di 3 minuti per agli zona programmata
N.B.: Tutte le procedure di prova funzionano con la manopola della MODALITA nella posizione AUTO. Ciò permette alla centralina di ritornare alla impostazione AUTO dopo il funzionamento di una procedura manuale/prova. Ciò vi permette, inoltre, di allontanarvi alla centralina più segato una procedura manuale/prova essere bisogno di ritornare ad impostare la centralina su AUTO.
N.B.: Tutte le procedure manuale/prova ignorano il collegamento col sensore. Quindi, potete effettuire l'irrigazione utilizzato una delle procedure manuale/prova anche se il sensore ha sospeso il programma da voi programmato.
Funzionamento Manuale di una Zona
Girate la manopola grande fino alla posizione MANUALE. Il valore standard della zona 01 e 00:10 minuti lampeggerà (ricordatevi che questo significa che potete apportare dei cambiamenti).
Premete SELECTIONARE per selezionare il numero della zona che volete far funzionare.
Premete REGOLARE per regolare il tempo di durata per la zona selezionata. La centralina avrà un ritardo di 10 secondi prima di far entrare in funzione la zona.
CARATTERISTICHE TECNOLOGICAMENTE AVANZATE
Lo SmartZone™ EZ è dotato della caratteristica ManualAdvance™ di Nelson nella procedura MANUALE. ManualAdvance™ vi permette di far cessare la zona che è attualmente in funzione e di passare immediamente a qualsiasi另一zza selezionata. Quando la procedura MANUALE è in corso in una zona, premete SELECTIONARE per passare ad una nuova zona. Verrà visualizzato l'ultimo tempo di durata immesso. Premete REGOLARE per immettere un nuovo tempo di durata per la nuova zona (la centralina avrà un ritardo di 10 secondi prima di dare inizio alla nuova zona).
Funzionamento Manuale di un Programma
Girate la manopola grande fino alla posizione CICLO. La lettera del programma attuale lampeggerà. Per passare ad un programma diverso, girate la manopola del PROGRAMMA fino al programma desiderato (A, B o C). La centralina avrà un ritardo di 10 secondi prima di dare inizio al programma selezionato. Dopio il suo funzionamento, la centralina ritorna sulla procedura AUTO.
N.B.: CICLO fa entrare immediatamente in funzione il vosto programma attuale. Non possono essere apportati cambiamenti al programma nella procedura CICLO.
Funzionamento Prova di 3 minuti (a Siringa)
Girate la manopola grande fino alla posizione PROVA DI 3 MINUTI. Le lettere A B C lampeggeranno sul display (non possono essere cambiate). Ciò serve per farvi sapere che la centralina effettuerà la revisione di tutti e tre i programmi e farà entrare in funzione una prova di 3 minuti solo per quella zone che sono state programmate. Tale caratteristica viene chiamata SmartSyringe™.
Essa permette alla centralina di saltare哪些 zone che non sono state programmate. Potrebbero essere delle zone che non sono collegate, risparmiandoosi la vostra pompa (se esiste).
DATI TECHNICI
1. Trasforma
Trasformatore interno a 24 V CA; 20 VA, 0,83 A per le zone e logica. Il trasformatore cui far funzionare al massimo una pompa o una master valve e una valvola di zona.
2. Protezione contro le Sovratensioni
7 joules MOV lungo i secondari. (Vedere l'interruttre qui除去).
3. Operazione del Sensore
Lo SmartZone™ EZ è configurato in modo tale da operare la centralina con oswana il sensore. I sensori devono essere normalmente connessioni chiuse (conduttori). Il ponticello preinstallato alla fabbrica deve trovarsi al suo quello se non viene utilizzato il sensore.
4. Linee della zona
Lo SmartZone™ EZ farà funzionare un massimo di due (2) uscite contemporaneamente, ammesso che una sia la valvola della pompa/master valve. Ciascuna uscita della zona più far funzionare solo un soleniode.
Corrente di entrata: 0,52 A mas.
Corrente di mantenimento: 0,40 A mas.
DATI TECHNICI
5. Gamma della Temperatura
Operante: da -5^ a +55^ C (da 23^ a 131^ F).
Non operante: da -30° a +85°C (da -22° a 185°F)
6. Display

7. Pile
É richiesta una pila alcalina di 9 V. Non usare pile al nichel-cadmio.
Avvertenza: Anche se non inflirà sul funzionamento del dispositivo, occorrefare attenzione a non toccare il display a cristalli liquidi. Alti livelli di ESD potrebbero apportare cambiamenti ad alcuni segmenti del display.
8. Mantenimento del programma
Per conservare i programmi in mancanza della pila e della corrente elettrica viene utilizzata la memoria non volatile. Essaiene aggiornata quando il programmaieneambiato ed a intervalli di 5 minuti. La memoria non volatile durera per un minimo di 5 anni, nel peggiore dei casi.
DATI TECHNICI
9. Dimensioni del contentatore (all'incirca)
15 × 24 × 9,5 cm (il coperchio si puòtogliere sensa arnesi)
10. Programma standard
12:00 a.m. (Non esiste un indicatore di "a.m." sul display)
Domenica
La data è 01/01/96
Nessun Tempo di durata (zona 01, -:-)
Nessun Orario d'inizio (Numero d'inizio 01, -:-)
100% Erogazione di acqua
Orario con irrigazione giornaliera (Intervallo=01; Giorno d'inizio=oggi)
Manopola Modalità nella posizione OFF
Manopola Programmazione nel programma A
3 secondi di ritardo tra una zona e l'altra (non cui essere cambiato).
11. Interruittore
Nel disaccoppiatore PCB della centralina è incorpore un interrottore multiplo elettronico. Questo tipo di interrottore non richiede la reimpostazione o la sostituzione da parte dell'utente.
LOCALIZZAZIONE GUASTI/SERVIZIO DI ASSISTENZA
SINTOMO CAUSA PROBABILE SOLUZIONE
| Energia non erogata alla zona, pompa o master valve rilevata alla centralina, si accende | · Energia elettrica non collegata | · Controllare l'alimentazione CA, se non è l'indicatore di mancanza corrente CA |
| Mancanza CA e display vuoto | · Manca la pila o pila scarica | · Sostituire la pila e premere Reset |
| Il display è vuoto | · Manca l'énergia elettrica e la pila | · Installare la pila per ripristinare l'uso del |
| · Il cavo a nastro non è collegato display, controllare la corrente CA per l'erogazione al circuito assicurare l'erogazione al circuito | · Assicurarsi che il cavo a nastro tra il pannello frontale e la schedda della centralina sia collegato in entrambare le estremità | |
| Il display è alterato o mancano dei segmenti alterato, premere allo stesso tempo Reset | · Occorre azzerare la centralina (verde la pagna 67) | · Premere il tasto di Reset. Se è ancora ed il tasto Selezionare + (ritorna alla impostazione standard) |
| "M-X" appeare sul display quando si tenta di far funzionare una zona manualmente | · La manopola della MODALITA è nella posizione del programma | · Posizionare la manopola della MODALITA nella posizione AUTO per il funzionamento manuale della zona |
| "C-X" appeare sul display quando si tenta di far funzionare un programma a CICLO | · La manopola della MODALITA è nella posizione del programma | · Posizionare la manopola della MODALITA nella posizione AUTO per il funzionamento del programma a CICLO |
| "S-X" appeare sul display quando si tenta di far funzionare una PROVA di 3 MINUTI | · La manopola della MODALITA è nella posizione del programma | · Posizionare la manopola della MODALITA nella posizione AUTO per far funzionare la procedura 3 Minuti di Prova |
| La centralina non esegue la PROVA di 3 MINUTI | · Mancano i programmi in A, B o C | · Immettere un programma con i tempi di durata per le zone di cui avete bisogno. La PROVA di 3 MINUTI fa funzionare solo le zone aventi tempi di durata programmati |
| Sul display è visualizzato Er1 | · E un erre di comunità tra la micro-centralina e la memoria non volatile | · Premere Reset. Se l'erreore non scompare, e sostituire la scheda |
| Sul display è visualizzato Er2 | · Indica all'utente che è stato programmato un tempo di durata per più di 24 ore | · Rivedere il totale dei tempi di durata in tutti i programmi e fare le correzioni - oppure - · Premere Reset e Selezionare + allo stesso tempo per ripristinare le impostazioni standard della fabbrica |
PARTI SOSTITUIBILI
- Trasformatore
Nastro di interconnessione
Pannello frontale
Cavo CA di 1,8 metric
- Scheda di interconnessione
NORME FCC
Questa centralina elettronica per l'irrigazione emana ed usa energia di radio frequenza e se non viene installata e usata in modo appropriato,cisione con la stretta osservanza delle istruzioni del costruttore,puo causare interferenza alla riscione della radio e
televisione. Etata provata per determinare il tipo a cui appariene ed è stata dichiarata conforme ai limiti per un dispositivo elaboratore
della Classse B, secondo le specificazioni che si trovano nella sottosezione J della Parte 15 delle norme FCC, che sono state istituite per
offrre una ragionevole protezione contro tali interferenze nella installatione residenziale. Tuttavia, non è garantito che non si avranno tali
interferenze in una particolare installmente. Se questa centralina dovesse effettivamente causare interferenze alla riscione radio-
televisiva, casa che può avvenire con accendendo e spegnendo la centralina, si consiglia all'utente di provare ad eliminare l'interferenza
attraverso uno o più dei seguenti provvedimenti:
Riorientare I'antenna di riscione
Ricollocare la centralina da un'altra parte con riferimento al ricevitore
Spostare la centralina lontano dal ricevitore
Collegare la centralina ad un'altra presa in modo tale che la centralina ed il ricevitore si trovino su rami diversi del circuito.
Se necessario, I'utente dovrebbe consultrare il rivenditore o un esperto tecnico radio-televisiono per ulteriori suggerimenti.
L'utente può trovare utile il seguente opuscolo preparato alla Federal Communications Commission (Commissione federale delle
comunicazioni): "How to identify and resolve Radio-TV interference problems" (Come identificare e risolverve i problemi delle interferenze radiotelevise).
Questo libretto è disponibile presso U.S. Government Printing
Office, Washington, D.C. 20402. Stock no. 004-000-00345-4.
REGOLAMENTI SULLE INTERFERENZE RADIO DEL CANADA
N.B.: Questo apparato digitale non va altre i limiti della Classe B riguardanti le emissioni di rumori radiofoniche emanate da un appearecchiatura digitaleosi come stabilito nei regolamenti sulle interferenze radio del Dipartimento delle Comunicazioni del Canada.
GARANZIA
Garanzia limitata
La L.R. Nelson Corporation ("Nelson") garantisce che tutti i prodotti elettronici sono esenti da difetti di materiale e di fabbrica per un periodo di due (2) anni alla data di acquisito originale. Nel caso di tali difetti, la Nelson riparere o sostuirà, a sua discrezione, il prodotto o la parte difettosa.
Questa garanzia noniene estesa ai danni di un prodotto Nelson o ad una sua parte derivanti da incidente, maltrattamento, alterazione, negligenza, abuso, installmento impropria o normale usura, per apparenza esteriore o per il colore. Questa garanzia vale solo nei confronti dell'utente originale del prodotto Nelson.
Se si riscontra un difetto in un prodotto Nelson o in una sua parte, nell'ambito del periodo di garanzia, dovre contattare il vosto tecnico installatore, il rivenditore Nelson, il distributore oppure la L.R. Nelson Corporation pressa una delle seguenti località:
One Sprinkler Lane 1961 Miraloma Ave. 3462 Maggie Blvd.
Peoria, IL 61615 Suite B Orlando, FL 32811
(309) 690-2200 Placentia, CA 92670 (407) 648-1020
Fax (309) 692-5847 (714) 993-0496 Fax (407) 648-0924
Fax (714) 993-0496
La Nelson pue, a sua discrezione, richiedere che il prodotto o la parte difettosa vengano restitui presso un Centro di Assistenza Nelson o presso il vosto rivendatore o distributore. La Nelson determinerà se il difetto oggetto del reclamo sa coperto alla garanzia. Se è coperto, il prodotto sare riparato o sostituito. Occorro n 4/6 settimane per il completamento delle riparazioni o per la sostituzione ed il ritorno del prodotto o della parte. Se un prodotto o una parte vengono sostituiti, la sostituzione è garantita solo per il restante periodo di garanzia del prodotto o parte originale.
Questa garanzia vi da specifici diritti legali, e potete far valere anche altri diritti che variano da Stato a Stato. La L.R. Nelson Corporation non autorizza nessuno a create nei suo confronti alcun alto tipo di obbligazione o responsabilita in connessione con i prodotti Nelson.
PER LEGGE, UNA QUALSIASI GARANZIA IMPLICITA SULLA COMMERCIABILITÀ O ADATTAMENTO AD UNA PARTICOLARE FINALÀ APPLICABLE AI PRODOTTI NELSON VIENE LIMITATA ALLA DURATA DI QUESTE GARANZIE SCRITTE. NE LA L.R.NELSON CORPORATION NÉ I SUOI DISTRIBUTORI O NEOGOZIANTI SONO RESPONSABILI PER LA PERDITA DI TEMPO, INCONVENIENTI, PERDITA ECONOMICA, OPPURE DANNI ACCIDENTALI O CONSEGUENZIALI DERIVANTI DALLA VENDITA O DISTRIBUTIONE DEI PRODOTTI NELSON, SIA PER LA VIOLAZIONE DELLA GARANZIA QUI ESPRESSA SIA PER NEGLIGENZA O COLPA. Alcuni Stati non ammettono limiti sulla durata di una garanzia implicita o sulla esclusione o limitazione ai danni accidentali o consequencesi, per cui i limiti o le esclusioni sudette potrebbero non essere applicabili nel vostri confronti.
Le domande riguardanti la garanzia o la sua applicazione vanno richieste alla L.R. Nelson Corporation, One Sprinkler Lane, Peoria, Illinois 61615, U.S.A. all'attenzione del Customer Service.
PRASSI PER LA MERCE RITENUTA DIFETTOSA
i viene data l'approvazione, i prodotti verranno riparati o sostituiti oppure verrà emessa unanota per un credito equivalente al valor del prezzo di acquisito al netto.

ManualeFacile