SmartZone EZ 8508 - Programmatore irrigazione Nelson - Manuale utente e istruzioni gratuiti
Trova gratuitamente il manuale del dispositivo SmartZone EZ 8508 Nelson in formato PDF.
Domande degli utenti su SmartZone EZ 8508 Nelson
0 domanda su questo apparecchio. Rispondi a quelle che conosci o fai la tua.
Fai una nuova domanda su questo apparecchio
Scarica le istruzioni per il tuo Programmatore irrigazione in formato PDF gratuitamente! Trova il tuo manuale SmartZone EZ 8508 - Nelson e riprendi in mano il tuo dispositivo elettronico. In questa pagina sono pubblicati tutti i documenti necessari per l'utilizzo del tuo dispositivo. SmartZone EZ 8508 del marchio Nelson.
MANUALE UTENTE SmartZone EZ 8508 Nelson
GUIDA ALL'INSTALLAZIONE E ALLA PROGRAMMAZIONE
Per i modelli:

text_image
NO PROGRAM PLACE THE MORE DAL IN THE PROCEDURE ADDITION PROGRAM ON OFF LARGE WAL POSITION SELECT +1 ADJUST +2 RUNTIME START TIME NATTS START DAY DOCCIÓN SCROLLS The PROCEDURE DAL can be H.A. B, CTC or any of the information above. RETURNMODE DAL, TO CON POSITION WHEN PROCEDURE DO COMPLIETS TO RUN PROCEDURE NOTE: MANUAL CYCLE AND ENTERED SET BE IMPORT IN THIS PROCEDURE - SEE TO RUN A TEST TO RUN SET PLACE THE MORE DAUN THE OS POSITION PROGRAM ON OFF LARGE WAL POSITION SELECT +1 ADJUST +2 MANUAL RUN TIME NOT PROCUMMABLE CYCLE NOT PROCUMMABLE STORAGE LEAVE MODE DAL IS ON POSITION WHEN COMPLET PROCEDURE ALL RUNS SCHEDULED: NOTE: PRATING SELECT AS WITH THE MANUAL TEST & TOMING W/ subsequently terminate the activity zone and 600 to reach in the next SELECT ON ADJUST 6:34PM Su R T W Th F S Sub-Run Time Start Time Water 2 Budget Water Days Cycles Intervs Program AUTO Mode B Program NELSON SmartZone™ EZ Italiano.... pgs. 1-28Italiano....pgs.1-28
GRAZIE per aver acquistato la centralina elettronica per l'irrigazione SmartZone™ EZ. Ben presto scoprirete perché l'abbiamo soprannominata "EZ". Siamo sicuri che essa sarà la più facile e la più affidabile centralina che userete mai. È così "EZ" (easy = facile) che probabilmente sarete in grado di installare e programmare questa centralina piena di caratteristiche senza le istruzioni. Tuttavia, prima di installare e programmare la centralina, vi consigliamo di leggere attentamente le istruzioni per trarre vantaggio in modo pieno da ciò che lo SmartZone™ EZ ha da offrire.
Se avete domande, problemi o commenti sul vostro nuovo SmartZone™ EZ, chiamate il nostro Servizio di Assistenza al numero verde 1-800-NELSON8.
Leader nell'irrigazione del manto erboso sin dal 1911
N.B.: A causa dei nostri continui sforzi nel migliorare ed aggiornare i nostri prodotti, le caratteristiche e le specifiche in questo manuale possono variare senza preavviso.
INDICE
Caratteristiche 3
Installazione 4-9
Morsettiera 5
Collegamento della Master Valve o del Relè per
l'Avviamento della Pompa 5
Collegamento dei cavi del Trasformatore 5-6
Collegamento del Sensore per la Pioggia/Umidità 7
Collegamento della Pila e Reset della centralina 8-9
Programmazione dello SmartZone™ EZ 10-19
Generalità sulla Programmazione 10
Schema del Pannello frontale 11-12
Regolazione Ora del giorno 13
Regolazione Giorno attuale 13
Regolazione Data di oggi 13
Sezione delle Zone e Regolazione Tempi di durata 13-14
Regolazione degli Orari d'inizio 15
Regolazione % Erogazione di Acqua 15
Programmazione 16-17
Regolazione dell'opzione Programmazione Giorni d'irrigazione 17
Regolazione dell'opzione Giorni Dispari/Pari 18
Regolazione dell'opzione Programmazione con Intervallo 18
Revisione del Programma 19
Spegnimento della Centralina 19
Caratteristiche tecnologicamente avanzate 20-21
Funzionamento Manuale di una Zona 20-21
Funzionamento Manuale di un Programma 21
Prova di 3 minuti (a Siringa) 21
Dati tecnici / Specifiche 22-24
Localizzazione Guasti / Servizio di Assistenza 25
Norme FCC 26
Garanzia 27
CARATTERISTICHE
- Livello professionale
- Manopole e tasti per la programmazione facili da usare
- LCD (Display a Cristalli Liquidi) grande e facile da leggere
- Memoria non-volatile per il mantenimento del programma senza corrente elettrica o pile
• 3 programmi indipendenti - 3 orari d'inizio per programma (9 partenze in totale)
- 3 opzioni di programmazione (calendario di 7 giorni, giorni dispari/pari, intervallo da 1-30 giorni)
- 3 cicli di prova (Manuale, Ciclo, Prova di 3 minuti)
- Erogazione di acqua
- Tempi di durata programmabili da 1 minuto fino a 9 ore e 59 minuti
- Esclusiva programmazione Select&Adjust™ - Selezionare e Regolare
- Trasformatore interno
- 2 anni di garanzia sui materiali e sui difetti di fabbrica
ISTRUZIONI PER L'INSTALLAZIONE
N.B.: Le istruzioni sono per l'uso all'aperto e all'interno.
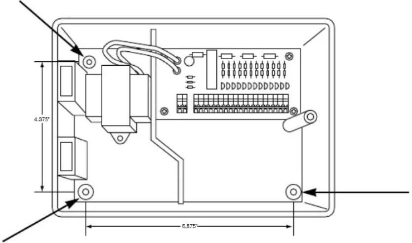
Trovate un posto vicino ad una presa elettrica di 110 V (220 V per i modelli 8574, 8576, 8578 e 8582) o ad un impianto elettrico di 110 V. Installate SmartZone™ EZ all'altezza degli occhi, se possibile. Aprite il pannello frontale svitando la vite che lo tiene chiuso e tirando la linguetta che si trova sulla destra dello stesso facendolo girare sui gangheri. Usate i tre fori che si trovano nel contenitore per segnare sul muro i punti in cui applicare le viti e fate i buchi col trapano. I due fori guida a sinistra dello SmartZone™ EZ sono allineati verticalmente per fissare la centralina su un montante (Vedere Fig. 1). Inserite le viti nei fori attraverso il contenitore ed avvitarle nei corrispondenti buchi fatti sul muro.
N.B.: È possibile rimuovere il pannello frontale per facilitare l'installazione togliendo il connettore a nastro dalla scheda di interconnessione ed estraendolo dai gangheri.
FIGURA 1

text_image
4.375" 6.875"ISTRUZIONI PER L'INSTALLAZIONE
Morsettiera
Tutti i collegamenti dei cavi delle zone, della pompa e del sensore fatti all'interno dello SmartZone™ EZ utilizzano connettori per i quali non occorre l'uso di arnesi. Premete la levetta della morsettiera con una penna o con un piccolo cacciavite ed inserite il cavo elettrico in basso. Le morsettiere nella centralina SmartZone™ EZ utilizzano cavi elettrici di 12 AWG (4,8 mm) o più piccoli.
Collegamento della Master Valve o del Relè della pompa
Lo SmartZone™ EZ è fornito di un circuito in comune per operare sia il relè per l'avviamento della pompa che la Master Valve. Collegate un cavo dal relè per l'avviamento della pompa a COM (comune) nella morsettiera e l'altro a PMP/MV (pompa/Master Valve) sempre nella morsettiera. Fate riferimento alle istruzioni del fabbricante sul relè per l'avviamento della pompa per specifici dettagli sulla installazione.
Collegamento del trasformatore\*
* 110 V CA negli Stati Uniti, Canada e Messico; 220 V CA in Europa ed Australia
N.B.: Fare riferimento ed osservare i regolamenti locali se sono diversi da queste istruzioni.
AVVERTENZA: Staccare la corrente a 110 V (220 V per i modelli 8574, 8576, 8578 e 8582) prima di fare il collegamento dei cavi del trasformatore. Completare tutti i collegamenti e l'installazione prima di allacciare il trasformatore all'alimentazione. Ciò eviterà il cortocircuito accidentale che potrebbe arrecare danni alla centralina.

ATTENZIONE: Il materiale isolante primario sarà esposto quando si apre il pannello frontale. Disinserire l'energia elettrica prima di rimuovere questo pannello.
ISTRUZIONI PER L'INSTALLAZIONE
Per i modelli 8504, 8506, 8508, 8512:
Col pannello frontale aperto per avere accesso al trasformatore interno, inserite i cavi da 110 V su per l'apertura della conduttura da 13 mm nella parte inferiore del contenitore. (Per il collegamento alla rete, i cavi CA devono avere come minimo un isolamento de 75°C). La conduttura deve essere fissata al contenitore (secondo i regolamenti locali). Collegate i cavi CA con quelli del trasformatore utilizzando gli appositi cappucci per cavi elettrici. Inoltre, assicurarsi che il cavo di messa a terra sia collegato al cavo di messa a terra di colore verde con striscia gialla. Controllate, per favore, i regolamenti locali riquardanti i requisiti per la messa a terra nella vostra zona. Raccogliere I cavi inserendoli nella fascetta e stringerli fermamente per evitare che i cavi pendenti toccano i circuiti secondari. Adesso il transformatore è collegato. Ma NON mettete corrente.
Per i modelli 8574, 8576, 8578, 8582:
Col pannello frontale aperto per avere accesso al trasformatore interno, inserite i cavi da 220 V su per l'apertura della conduttura da 13 mm nella parte inferiore del contenitore. (Per il collegamento alla rete, i cavi CA devono avere come minimo un isolamento di 75° C). La conduttura deve essere fissata al contenitore (secondo i regolamenti locali). Collegate i cavi CA al connettore in dotazione e stringere le viti. Fare attenzione alla polarità dei cavi quando si effettua la connessione ( ad es. L1, L2 e messa a terra). Raccogliere i cavi inserendoli nella fascetta e stringerli farmamente per evitare che i cavi pendenti toccano i circuiti secondari. Adesso il trasformatore è collegato. Ma NON mettete la corrente.
N.B.: La mancata osservanza nell'effettuare la messa a terra del dispositivo in modo appropriato può causare gravi danni alla centralina e/o alla proprietà e renderà nulla la garanzia.
Per i modelli 8514, 8516, 8518, 8522:
Il trasformatore viene dotato di un cavo elettrico CA lungo 1,8 metri avente una spina per la messa a terra. Si consiglia di non manomettere questa connessione. La sostituzione di questo cavo deve avvenire secondo i regolamenti locali ed in tutti i casi in cui il dispositivo deve avere la messa a terra effettuata in modo appropriato.
ISTRUZIONI PER L'INSTALLAZIONE
Collegamento del Sensore per la Pioggia/Umidità
Lo SmartZone™ EZ è predisposto per far funzionare un sensore con conduttori chiusi in modo normale. La porta del sensore nello SmartZone™ EZ è il primo connettore che non richiede l'uso di arnesi sulla scheda di interconnessione (Vedere Fig. 2). Per installare un sensore, togliete via il ponticello pre-installato dal connettore del sensore all'interno della morsettiera ed inserite i cavi del sensore. Fate riferimento alle istruzioni del fabbricante sul sensore per specifici dettagli sull'installazione.
FIGURA 2

text_image
Porta del sensoreSe un sensore ha sospeso l'irrigazione, sul display apparirà il segmento dell'indicatore del sensore 📂 simbolo scomparirà quando il sensore sarà asciutto o quando la centralina è regolata in una delle modalità manuali (Vedere la pagina 23). Lo SmartZone™ EZ ripristinerà l'operazione in base al programma selezionato.
ISTRUZIONI PER L'INSTALLAZIONE
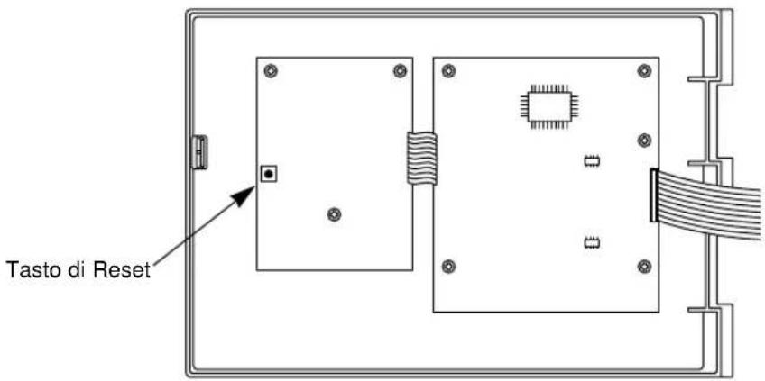
Collegamento della pila e reset della centralina
Collegate una pila alcalina di 9 V al connettore della pila ed inseritela nel fermo dietro il pannello frontale. La pila permette allo SmartZone™ EZ di essere programmato senza corrente elettrica e conserva l'ora del tempo reale nel caso in cui venga a mancare l'energia elettrica. Se la pila non viene installata, la centralina perderà il tempo reale se viene a mancare la corrente. La pila dovrebbe essere cambiata una volta all'anno.
AVVERTENZA: Usare solo una pila alcalina di 9 V. Una pila al nichel-cadmio di 9 V può avere una perdita o esplodere causando danni alle persona o alla proprietà.
Dopo aver installato la pila, premete il tasto nero di Reset che si trova dietro il pannello frontale per azzerare la centralina (non ha effetto sui programmi). Per riportare la centralina sulle impostazioni standard, premete contemporaneamente sia il tasto nero di Reset che il tasto SELEZIONARE. A Chiudete il pannello frontale, assicurandovi di non danneggiare i cavi. Se i cavi sono rigidi, sarebbe bene piegarli prima. Chiudete il contenitore avvitando la vite del pannello. Collegate il cavo CA per il trasformatore alla presa oppure attaccate la corrente.
N.B.: Dato che tutti i programmi sono memorizzati nella memoria non volatile, non andranno perdute le impostazioni dei programmi durante l'interruzione della corrente, anche se la pila non è installata.
ISTRUZIONI PER L'INSTALLAZIONE
Figura 3

text_image
Tasto di ResetAdesso siete pronti per iniziare a programmare!
Generalità sulla Programmazione
Prima di programmare lo SmartZone™ EZ, è bene essere a conoscenza di alcuni punti guida generali:
- Se uno o più segmenti lampeggiano nel display, ciò significa che l'utente può apportare dei cambiamenti.
- Quando si usano i tasti o, premete il tasto per tre secondi per dare il via allo scorrimento veloce.
- Assicurarsi che sul display compaia le lettera del programma appropriata; i cambiamenti di programma sono specifici alla lettera del programma visualizzata sul display.
- Non esiste un tasto “INVIO”. Le premute di tasto e le impostazioni della manopola vengono memorizzate automaticamente per voi.
- Se effettuate un cambiamento di programma mentre è in corso un programma, questo cessa di funzionare immediatamente. Il nuovo programma inizia alla successiva ora d'inizio programmata.
• Quando non è in funzione, la centralina mostra sul display l'ora attuale ed il giorno corrente. - Durante le operazioni manuali, si verifica un ritardo di 10 secondi prima che abbia inizio l'operazione. Durante questo tempo potete cambiare le vostre impostazioni. Ogni volta che effettuate un cambiamento, il ritardo ritorna ai 10 secondi.
- Le procedure MANUALE, CICLO, PROVA DI 3 MINUTI funzionano solo con la manopola della Programmazione regolata sulla posizione AUTO.
- Dopo il funzionamento di una procedura di prova, la centralina ritorna alla procedura AUTO e fa entrare in funzione il programma successivo programmato.
- Le procedure di prova ignorano la connessione al sensore; ciò vi permette di effettuare l'irrigazione o di far funzionare il vostro programma anche se il sensore ha fatto sospendere l'operazione.
Generalità sulla Programmazione
Schema del Pannello frontale
Guardando al pannello frontale (Vedere Fig. 4) potete osservare un grande display a cristalli liquidi, 4 tasti di gomma, una grande manopola girevole e due piccole manopole girevoli. I tasti di gomma sono contrassegnati con “SELEZIONARE” e “REGOLARE” e costituiscono la parte centrale della esclusiva programmazione SELECT&ADJUST™ di Nelson. I tasti sono identificati con per far aumentare o diminuire il segmento sul quale state operando.
SELECT&ADJUST™ funziona secondo il principio che prima SELEZIONATE ciò che desiderate regolare e poi REGOLATE le variabili di quello che avete selezionato. Per esempio, se desiderate un tempo di durata di 10 minuti per la zona 5, userete i tasti SELEZIONARE per selezionare la zona 5 e, una volta nella zona 5, userete i tasti REGOLARE per regolare il tempo di durata sui 10 minuti.
Ci sono dei casi in cui è richiesto solo l'uso di SELEZIONARE o solo di REGOLARE. Ciò verrà spiegato in questa guida al momento opportuno.
Una regola approssimativa: Il tasto SELEZIONARE seleziona le zone o un particolare orario d'inizio (1, 2 o 3). Il tasto REGOLARE regola le ore, le date e la % Erogazione di acqua.
Vedere l'etichetta dentro il coperchio di SmartZone™ EZ per una veloce consultazione su quali tasti usare per le diverse posizioni della manopola.
Generalità sulla Programmazione
FIGURA 4

text_image
D SVGMeMaL DISPAR PM → 05 Zona/Tiempo di durata Orari d'Inizio % Erogazione di acqua Giorni d'irrigazione Dispar/Pari Intervallo Ora Giorno attuale Data Manuale Ciclo Prova di 3 minuti PROGRAMMAZIONE AUTO OFF Modalità Programma NELSON® SmartZone™ EZN.B.: La manopola della MODALITÀ deve trovarsi nella posizione “Programmazione”.
N.B.: Ogni volta che si preme il tasto o il tempo aumenterà o diminuirà di un minuto. Tenere premuto il tasto o per tre secondi per dare il via allo scorrimento veloce.
N.B.: Fare riferimento alla sezione Dati tecnici per la spiegazione sui segmenti del display.
Generalità sulla Programmazione
Regolazione Ora del giorno
Girate la manopola grande fino alla posizione ORA. Premete REGOLARE + - per scorrere fino all'ora corretta. Non c'è un indicatore di a.m.
Regolazione Giorno attuale
Girate la manopola grande fino alla posizione GIORNO ATTUALE. Premete SELEZIONARE +▼ per posizionare l'indicatore del giorno attuale ▼ sul giorno attuale.
Il tasto SELEZIONARE ✉ sposterà l'indicatore ▼ a destra; SELEZIONARE ▼ sposterà l'indicatore ▼ a sinistra.
Regolazione Data di oggi
Girate la manopola grande fino alla posizione DATA. Premete i tasti REGOLARE ▲▼ per scorrere fino alla data corrente. L'ANNO cambierà automaticamente una volta superato 12/31.
N.B.: La DATA è richiesta solo se avete intenzione di usare la programmazione DISPARI/PARI o di regolare una data d'inizio, diversa da quella corrente, per la programmazione con INTERVALLO.
Selezione delle Zone e Regolazione Tempi di durata
Il tempo di durata di una zona determina il tempo che una zona impiega per l'irrigazione. Girate la manopola grande fino alla posizione ZONA/TEMPO DI DURATA. Premete SELEZIONARE +7 per selezionare la zona che desiderate per il programma selezionato (A, B o C). Con il numero della zona visualizzato sul display, premete REGOLARE per regolare Il TEMPO DI DURATA per quella zona. Il TEMPO DI DURATA può essere regolato da 1 minuto fino a 9 ore e 59 minuti. Continue a selezionare le zone ed a regolare i loro tempi di durata fino a quando avete tutte le zone che desiderate nel programma selezionato.
Generalità sulla Programmazione
Dopo l'ultima zona e prima della prima zona, viene dato il riepilogo del TEMPO DI DURATA. Ciò è utile per determinare il tempo di durata totale per un programma. Il display mostra le lettere "ALL" (Tutti) e viene visualizzato il TEMPO DI DURATA totale. Il tempo sul display è un riepilogo di tutti i TEMPI DI DURATA per il programma selezionato (100% Erogazione di acqua). (Per es., un programma ha un tempo di durata di 5 minuti nella zona 1; 12 minuti nella zona 2; e 6 minuti nella zona 4. Il display in questa posizione visualizza ALL ed un tempo di durata di 23 minuti).
FIGURA 5

text_image
D SVGMeMaL DISPARI PARI INTERV A B C 23 PM 8:00 Zona Tiempo di durata Orari d'Inizio % Erogazione di acqua Gjorni d'irrigazione Dispari Pari Intervallo Ora Giorno attuale Data Manuale Ciclo Prova di 3 minuti PROGRAMMAZIONE AUTO OFF. Modalità Programma NELSON® SmartZone™ EZGeneralità sulla Programmazione
Regolazione Orari d'inizio
L'ORARIO D'INIZIO è l'ora del giorno in cui un programma entrerà in funzione. Lo SmartZone™ EZ permette di aver tre orari d'inizio per ogni programma.
Girate la manopola grande fino alla posizione ORARI D'INIZIO. Premete SELEZIONARE per selezionare l'ora d'inizio che desiderate stabilire (1, 2 o 3). Premete REGOLARE per regolare l'ora del giorno in cui avrà inizio il programma. Ripetete a seconda delle esigenze.
Regolazione % Erogazione di acqua
La % EROGAZIONE DI ACQUA cambia l'estensione dei tempi di durata di un programma a seconda della percentuale 5-200% immessa (per es., un tempo di durata di 10 minuti con una erogazione di acqua al 50% durerà 5 minuti). Questa caratteristica è utile quando si verificano cambiamenti nelle condizioni meteorologiche. Se il tempo è insolitamente secco, potete estendere il vostro tempo di durata per ciascuna zona del programma. Con la % Erogazione di acqua potete cambiare un numero e tutti i tempi di durata del programma saranno modificati.
Girate la manopola grande fino alla posizione % EROGAZIONE DI ACQUA. Sul display apparirà il simbolo % per farvi sapere che state operando sulla quantità della % Erogazione di acqua. Premete REGOLARE per scegliere la quantità della percentuale desiderata.
Generalità sulla Programmazione
Se una percentuale di erogazione di acqua viene programmata su 110% o per una quantità maggiore, lo SmartZone™ EZ suddividerà il tempo di durata a metà per ridurre l'arresto del funzionamento. Per ciascuna zona di quel programma sarà operante metà del tempo di durata seguita dall'altra metà per ciascuna zona.
Ricordate, la % Erogazione di acqua è modificabile secondo programma. Se avete una programmazione in A, B e C dovete programmare tre valori di percentuale di erogazione di acqua se volete che ciascun programma venga cambiato.
PROGRAMMAZIONE
Una breve nota sulla programmazione e sullo SmartZone™ EZ...
La centralina SmartZone™ EZ ha tre opzioni di programmazione:
- GIORNI D'IRRIGAZIONE, o giornaliera, vi permette di scegliere quali giorni della settimana desiderate effettuare l'irrigazione (per es., solo il lunedì, il mercoledì, il venerdì).
- DISPARI/PARI chiede alla centralina d'irrigare nei giorni pari o dispari del mese (per es., la centralina effettuerà l'irrigazione il 31 e l'1 quando viene scelta la programmazione DISPARI).
- INTERVALLO effettua l'irrigazione ogni tot numero di giorni (da 1 a 30 giorni. etc.). (per es., irrigare ogni 3 giorni, irrigare ogni 10 giorni, etc.). Un valore di 1 in una programmazione con intervallo significa di effettuare l'irrigazione ogni giorno. Quando si usa l'opzione con intervallo, si ha la flessibilità di chiedere alla centralina in quale giorno dare inizio al programma con intervallo (fino ad un massimo di 30 giorni).
Generalità sulla Programmazione
N.B.: La manopola della MODALITÀ deve trovarsi nella posizione “Programmazione” per regolare un programma.
Quando la manopola è regolata su una qualsiasi delle opzioni, il display visualizzerà il programma attualmente programmato (il valore standard consiste in una programmazione con 1 giorno d'intervallo avente come giorno d'inizio la data del giorno di oggi). Assicurarsi che la manopola del PROGRAMMA sia regolata sul programma che desiderate cambiare (A, B o C) e che desideriate cambiare la programmazione attuale. Viene scelta un'opzione di programmazione dopo che premete un tasto, sia SELEZIONARE che REGOLARE. La vecchia programmazione viene sostituita con quella nuova. Se volete di nuovo la vecchia programmazione è facile programmare con le seguenti procedure.
Regolazione dell'opzione Programmazione Giorni d'irrigazione
Girate la manopola grande fino alla opzione di programmazione GIORNI D'IRRIGAZIONE. Sul display apparirà l'ultima opzione di programmazione scelta per l'attuale programma o quella standard con 1 giorno di intervallo. Premete il tasto SELEZIONARE per selezionare quel giorno in cui irrigare o premete il tasto SELEZIONARE per i giorni in cui non irrigare.
Un segnale lampeggiante ▼ appare sul giorno che state per regolare. Sui giorni selezionati per l'irrigazione appaiono le gocce di pioggia ♠. Il segnale ▼ si sposta automaticamente di un giorno verso destra dopo che si preme il tasto SELEZIONARE ⚠. Continue ad effettuare la selezione o ad eliminare la selezione dei giorni in cui volete che la centralina effettui l'irrigazione fino a quando avete finito di regolare il vostro calendario di 7 giorni.
N.B.: La programmazione di un programma GIORNI D'IRRIGAZIONE annulla qualsiasi altra programmazione per il programma selezionato.
Generalità sulla Programmazione
Regolazione dell'opzione Programmazione giorni Dispari/Pari
Girate la manopola grande fino alla posizione DISPARI/PARI. Sul display appare l'ultima opzione di programmazione scelta per l'attuale programma o quella standard con 1 giorno di intervallo. Per regolare una programmazione con giorni dispari o pari premete il tasto SELEZIONARE (deve essere stabilita una data per l'irrigazione giorni Dispari/Pari). Sul display apparirà una freccetta accanto alla programmazione appropriata (Dispari o Pari). I tasti SELEZIONARE si comportano come tasti di cambio e permetteranno di passare da pari a dispari e viceversa.
N.B.: La programmazione di un programma DISPARI/PARI annulla qualsiasi altra programmazione per il programma selezionato.
Regolazione dell'opzione Programmazione con Intervallo
Girate la manopola grande fino alla posizione INTERVALLO. Sul display appare l'ultima opzione della programmazione scelta per l'attuale programma o l'opzione di programmazione standard con 1 giorno di intervallo. Premete SELEZIONARE per stabilire i giorni d'intervallo tra le irrigazioni (1-30). La data visualizzata è il primo giorno della programmazione con intervallo (la data di oggi se è stato stabilito uno). A seconda delle esigenze, cambiate la data del primo giorno della programmazione con intervallo con il tasto REGOLARE (è possibile effettuare la regolazione per i 30 giorni a venire).
Ripetete le suddette procedure per ciascun programma richiesto (A, B o C).
Tutto qui! Adesso il vostro SmartZone™ EZ è programmato. Girate la manopola della MODALITÀ fino alla posizione AUTO per far funzionare il programma immesso.
N.B.: La programmazione di un programma con INTERVALLO annulla qualsiasi altra programmazione per il programma selezionato.
Generalità sulla Programmazione
Per fare la revisione dell'attuale programma, girate la manopola della MODALITÀ fino alla posizione PROGRAMMAZIONE e girate la manopola grande fino alla impostazione che desiderate rivedere (per es., girate la manopola grande fino a ORA per rivedere l'ora stabilita per la centralina). Quando avete bisogno di prendere visione di diverse zone o tempi di durata (1, 2, 3), usate solo i tasti SELEZIONARE.
N.B.: Dato che vi trovate nella modalità della programmazione, c'è il rischio di cambiare il programma in modo accidentale.
SPEGNIMENTO DELLA CENTRALINA
Esistono dei casi in cui volete sospendere l'irrigazione, sia per brevi periodi (mentre piove se non avete collegato il sensore), sia per lunghi periodi (durante l'inverno). Per ovviare a questa esigenza, lo SmartZone™ EZ può essere "spento". Girate la manopola della MODALITÀ fino alla posizione OFF. Ciò sospende il funzionamento di tutte le operazioni dell'irrigazione (incluse le procedure manuale/prova). L'orologio continua a mantenere l'ora attuale e la data ed il vostro programma viene conservato fino a quando attiverete di nuovo i vostri programmi. Per far entrare in funzione il vostro programma, girate di nuovo la manopola della MODALITÀ fino alla posizione AUTO.
N.B.: La memoria non volatile dello SmartZone™ EZ conserverà il vostro programma senza bisogno di energia. Se non c'è una pila e viene a mancare la corrente elettrica, l'ora attuale dell'orologio verrà perduta e occorrerà riprogrammare l'ora.
CARATTERISTICHE TECNOLOGICAMENTE AVANZATE
Lo SmartZone™ EZ è dotato di tre procedure manuale/prova per controllare la funzione della centralina o per permettervi di far evitare al programma di effettuare l'irrigazione immediatamente. La seguente sezione vi mostrerà come regolare la centralina per:
- far funzionare una zona manualmente
- far funzionare un programma manualmente
- far funzionare una prova di 3 minuti per ogni zona programmata
N.B.: Tutte le procedure di prova funzionano con la manopola della MODALITÀ nella posizione AUTO. Ciò permette alla centralina di ritornare alla impostazione AUTO dopo il funzionamento di una procedura manuale/prova. Ciò vi permette, inoltre, di allontanarvi dalla centralina dopo aver regolato una procedura manuale/prova senza bisogno di ritornare ad impostare la centralina su AUTO.
N.B.: Tutte le procedure manuale/prova ignorano il collegamento col sensore. Quindi, potete effettuare l'irrigazione utilizzando una delle procedure manuale/prova anche se il sensore ha sospeso il programma da voi programmato.
Funzionamento Manuale di una Zona
Girate la manopola grande fino alla posizione MANUALE. Il valore standard della zona 01 e 00:10 minuti lampeggerà (ricordatevi che questo significa che potete apportare dei cambiamenti).
Premete SELEZIONARE per selezionare il numero della zona che volete far funzionare.
Premete REGOLARE per regolare il tempo di durata per la zona selezionata. La centralina avrà un ritardo di 10 secondi prima di far entrare in funzione la zona.
CARATTERISTICHE TECNOLOGICAMENTE AVANZATE
Lo SmartZone™ EZ è dotato della caratteristica ManualAdvance™ di Nelson nella procedura MANUALE. ManualAdvance™ vi permette di far cessare la zona che è attualmente in funzione e di passare immediatamente a qualsiasi altra nuova zona selezionata. Quando la procedura MANUALE è in corso in una zona, premete SELEZIONARE per passare ad una nuova zona. Verrà visualizzato l'ultimo tempo di durata immesso. Premete REGOLARE per immettere un nuovo tempo di durata per la nuova zona (la centralina avrà un ritardo di 10 secondi prima di dare inizio alla nuova zona).
Funzionamento Manuale di un Programma
Girate la manopola grande fino alla posizione CICLO. La lettera del programma attuale lampeggerà. Per passare ad un programma diverso, girate la manopola del PROGRAMMA fino al programma desiderato (A, B o C). La centralina avrà un ritardo di 10 secondi prima di dare inizio al programma selezionato. Dopo il suo funzionamento, la centralina ritorna sulla procedura AUTO.
N.B.: CICLO fa entrare immediatamente in funzione il vostro programma attuale. Non possono essere apportati cambiamenti al programma nella procedura CICLO.
Funzionamento Prova di 3 minuti (a Siringa)
Girate la manopola grande fino alla posizione PROVA DI 3 MINUTI. Le lettere A B C lampeggeranno sul display (non possono essere cambiate). Ciò serve per farvi sapere che la centralina effettuerà la revisione di tutti e tre i programmi e farà entrare in funzione una prova di 3 minuti solo per quelle zone che sono state programmate. Tale caratteristica viene chiamata SmartSyringe™.
Essa permette alla centralina di saltare quelle zone che non sono state programmate. Potrebbero essere delle zone che non sono collegate, risparmiando così la vostra pompa (se esiste).
DATI TECNICI
1. Trasformatore
Trasformatore interno a 24 V CA; 20 VA, 0,83 A per le zone e logica. Il trasformatore può far funzionare al massimo una pompa o una master valve e una valvola di zona.
2. Protezione contro le Sovratensioni
7 joules MOV lungo i secondari. (Vedere l'interruttore qui sotto).
3. Operazione del Sensore
Lo SmartZone™ EZ è configurato in modo tale da operare la centralina con o senza il sensore. I sensori devono avere normalmente connessioni chiuse (conduttori). Il ponticello preinstallato dalla fabbrica deve trovarsi al suo posto se non viene utilizzato il sensore.
4. Linee della zona
Lo SmartZone™ EZ farà funzionare un massimo di due (2) uscite contemporaneamente, ammesso che una sia la valvola della pompa/master valve. Ciascuna uscita della zona può far funzionare solo un soleniode.
Corrente di entrata: 0,52 A mas.
Corrente di mantenimento: 0,40 A mas.
DATI TECNICI
5. Gamma della Temperatura
Operante: da -5^ a +55^ C (da 23^ a 131^ F).
Non operante: da -30^ a +85^ C (da -22^ a 185^ F)
6. Display

text_image
Ora, Data, Tempo di durata, Orario d'inizio, % (simbolo), Data inizio intervallo Simbolo sospensione sensore Simbolo mancanza corrente elettrica Giorno attuale Lettera del Programma A, B o C Indicatore PM DISPARI PARI INTERV. Anno, Numero zona, Numero orario d'inizio, % Erogazione di acqua, Numero intervallo Giorni d'irrigazione D L M A M E G V S7. Pile
È richiesta una pila alcalina di 9 V. Non usare pile al nichel-cadmio.
Avvertenza: Anche se non influirà sul funzionamento del dispositivo, occorre fare attenzione a non toccare il display a cristalli liquidi. Alti livelli di ESD potrebbero apportare cambiamenti ad alcuni segmenti del display.
8. Mantenimento del programma
Per conservare i programmi in mancanza della pila e della corrente elettrica viene utilizzata la memoria non volatile. Essa viene aggiornata quando il programma viene cambiato ed a intervalli di 5 minuti. La memoria non volatile durerà per un minimo di 5 anni, nel peggiore dei casi.
DATI TECNICI
9. Dimensioni del contenitore (all'incirca)
15 x 24 x 9,5 cm (il coperchio si può togliere senza arnesi)
10. Programma standard
12:00 a.m. (Non esiste un indicatore di “a.m.” sul display)
Domenica
La data è 01/01/96
Nessun Tempo di durata (zona 01, —:—)
Nessun Orario d'inizio (Numero d'inizio 01, —:—)
100% Erogazione di acqua
Orario con irrigazione giornaliera (Intervallo=01; Giorno d'inizio=oggi)
Manopola Modalità nella posizione OFF
Manopola Programmazione nel programma A
3 secondi di ritardo tra una zona e l'altra (non può essere cambiato).
11. Interruttore
Nel disaccoppiatore PCB della centralina è incorporato un interruttore multiplo elettronico. Questo tipo di interruttore non richiede la reimpostazione o la sostituzione da parte dell'utente.
LOCALIZZAZIONE GUASTI/SERVIZIO DI ASSISTENZA
SINTOMO CAUSA PROBABILE SOLUZIONE
| Energia non erogata alla zona,pompa o master valve rilevata dalla centralina, si accende | Controllare l'alimentazione CA, se non èl'indicatore di mancanza corrente CA | |
| Mancanza CA e display vuoto | Manca la pila o pila scarica | Sostituire la pila e premere Reset |
| Il display è vuoto | Manca l'energia elettrica e la pilaIl cavo a nastro non è collegato display, controllare la corrente CA perl'erogazione al circuito assicurare l'erogazione al circuitoAssicurarsi che il cavo a nastro tra ilpannello frontale e la scheda della centralinasia collegato in entrambe le estremità | |
| Il display è alterato o mancanodei segmenti alterato, premere allo stesso tempo | Occorre azzerare la centralina (verde la pagina 67) | Premere il tasto di Reset. Se è ancoraed il tasto Selezionare + (ritorna allaimpostazione standard) |
| "M-X" appare sul display quando si tenta difar funzionare una zona manualmente | La manopola della MODALITÀ è nellaposizione del programma | Posizionare la manopola dellaMODALITÀ nella posizione AUTO per ilfunzionamento manuale della zona |
| "C-X" appare sul display quando si tenta difar funzionare un programma a CICLO | La manopola della MODALITÀ è nellaposizione del programma | Posizionare la manopola dellaMODALITÀ nella posizione AUTO per ilfunzionamento del programma a CICLO |
| "S-X" appare sul display quando si tenta difar funzionare una PROVA di 3 MINUTI | La manopola della MODALITÀ è nellaposizione del programma | Posizionare la manopola dellaMODALITÀ nella posizione AUTO per farfunzionare la procedura 3 Minuti di Prova |
| La centralina non esegue la PROVA di 3 MINUTI | Mancano i programmi in A, B o C | Immettere un programma con i tempi didurata per le zone di cui avete bisogno. LaPROVA di 3 MINUTI fa funzionare solo lezone aventi tempi di durata programmati |
| Sul display è visualizzato Er1 | È un errore di comunicazione tra lamicro-centralina e la memoria non volatile | Premere Reset. Se l'errore non scompare, esostituire la scheda |
| Sul display è visualizzato Er2 | Indica all'utente che è stato programmato untempo di durata per più di 24 ore | Rivedere il totale dei tempi di durata in tutti iprogrammi e fare le correzioni - oppure -Premere Reset e Selezionare + allo stessotempo per ripristinare le impostazionistandard della fabbrica |
PARTI SOSTITUIBILI
- Trasformatore
• Cavo CA di 1,8 metri
• Nastro di interconnessione
- Scheda di interconnessione
- Pannello frontale
NORME FCC
Questa centralina elettronica per l'irrigazione emana ed usa energia di radio frequenza e se non viene installata e usata in modo appropriato, cioè con la stretta osservanza delle istruzioni del costruttore, può causare interferenza alla ricezione della radio e televisione. È stata provata per determinare il tipo a cui appartiene ed è stata dichiarata conforme ai limiti per un dispositivo elaboratore della Classe B, secondo le specificazioni che si trovano nella sottosezione J della Parte 15 delle norme FCC, che sono state istituite per offrire una ragionevole protezione contro tali interferenze nella installazione residenziale. Tuttavia, non è garantito che non si avranno tali interferenze in una particolare installazione. Se questa centralina dovesse effettivamente causare interferenze alla ricezione radio-televisiva, cosa che può avvenire con accendendo e spegnendo la centralina, si consiglia all'utente di provare ad eliminare l'interferenza attraverso uno o più dei seguenti provvedimenti:
Riorientare l'antenna di ricezione
Ricollocare la centralina da un'altra parte con riferimento al ricevitore
Spostare la centralina lontano dal ricevitore
Collegare la centralina ad un'altra presa in modo tale che la centralina ed il ricevitore si trovino su rami diversi del circuito.
Se necessario, l'utente dovrebbe consultare il rivenditore o un esperto tecnico radio-televisivo per ulteriori suggerimenti.
L'utente può trovare utile il seguente opuscolo preparato dalla Federal Communications Commission (Commissione federale delle comunicazioni):
Questo libretto è disponibile presso U.S. Government Printing
Office, Washington, D.C. 20402. Stock no. 004-000-00345-4.
REGOLAMENTI SULLE INTERFERENZE RADIO DEL CANADA
N.B.: Questo apparato digitale non va oltre i limiti della Classe B riguardanti le emissioni di rumori radiofoniche emanate da un apparecchiatura digitale così come stabilito nei regolamenti sulle interferenze radio del Dipartimento delle Comunicazioni del Canada.
GARANZIA
Garanzia limitata
La L.R. Nelson Corporation ("Nelson") garantisce che tutti i prodotti elettronici sono esenti da difetti di materiale e di fabbrica per un periodo di due (2) anni dalla data di acquisto originale. Nel caso di tali difetti, la Nelson riparerà o sostituirà, a sua discrezione, il prodotto o la parte difettosa.
Questa garanzia non viene estesa ai danni di un prodotto Nelson o ad una sua parte derivanti da incidente, maltrattamento, alterazione, negligenza, abuso, installazione impropria o normale usura, per apparenza esteriore o per il colore. Questa garanzia vale solo nei confronti dell'utente originale del prodotto Nelson.
Se si riscontra un difetto in un prodotto Nelson o in una sua parte, nell'ambito del periodo di garanzia, dovrete contattare il vostro tecnico installatore, il rivenditore Nelson, il distributore oppure la L.R. Nelson Corporation presso una delle seguenti località:
One Sprinkler Lane 1961 Miraloma Ave. 3462 Maggie Blvd.
Peoria, IL 61615 Suite B Orlando, FL 32811
(309) 690-2200 Placentia, CA 92670 (407) 648-1020
Fax (309) 692-5847 (714) 993-0496 Fax (407) 648-0924
Fax (714) 993-0496
La Nelson può, a sua discrezione, richiedere che il prodotto o la parte difettosa vengano restituiti presso un Centro di Assistenza Nelson o presso il vostro rivenditore o distributore. La Nelson determinerà se il difetto oggetto del reclamo sia coperto dalla garanzia. Se è coperto, il prodotto sarà riparato o sostituito. Occorrono 4/6 settimane per il completamento delle riparazioni o per la sostituzione ed il ritorno del prodotto o della parte. Se un prodotto o una parte vengono sostituiti, la sostituzione è garantita solo per il restante periodo di garanzia del prodotto o parte originale.
Questa garanzia vi dà specifici diritti legali, e potete far valere anche altri diritti che variano da Stato a Stato. La L.R. Nelson Corporation non autorizza nessuno a creare nei suoi confronti alcun altro tipo di obbligazione o responsabilità in connessione con i prodotti Nelson.
PER LEGGE, UNA QUALSIASI GARANZIA IMPLICITA SULLA COMMERCIBILITÀ O ADATTAMENTO AD UNA PARTICOLARE FINALITÀ APPLICABILE AI PRODOTTI NELSON VIENE LIMITATA ALLA DURATA DI QUESTE GARANZIE SCRITTE. NÉ LA L.R.NELSON CORPORATION NÉ I SUOI DISTRIBUTORI O NEGOZIANTI SONO RESPONSABILI PER LA PERDITA DI TEMPO, INCONVENIENTI, PERDITA ECONOMICA, OPPURE DANNI ACCIDENTALI O CONSEGUENZIALI DERIVANTI DALLA VENDITA O DISTRIBUZIONE DEI PRODOTTI NELSON, SIA PER LA VIOLAZIONE DELLA GARANZIA QUI ESPRESSA SIA PER NEGLIGENZA O COLPA. Alcuni Stati non ammettono limiti sulla durata di una garanzia implicita o sulla esclusione o limitazione ai danni accidentali o consequenziali, per cui i limiti o le esclusioni suddette potrebbero non essere applicabili nei vostri confronti.
Le domande riguardanti la garanzia o la sua applicazione vanno richieste alla L.R. Nelson Corporation, One Sprinkler Lane, Peoria, Illinois 61615, U.S.A. all'attenzione del Customer Service.
PRASSI PER LA MERCE RITENUTA DIFETTOSA
I prodotti che sono stati ritornati al rivenditore o al distributore e ritenuti difettosi devono essere ispezionati dal rappresentante Nelson per determinare la conformità alla garanzia. Se viene data l'approvazione, i prodotti verranno riparati o sostituiti oppure verrà emessa una nota per un credito equivalente al valore del prezzo di acquisto al netto.
ManualeFacile