EV023 - Bilance da cucina Emos - Manuale utente e istruzioni gratuiti
Trova gratuitamente il manuale del dispositivo EV023 Emos in formato PDF.
Domande degli utenti su EV023 Emos
0 domanda su questo apparecchio. Rispondi a quelle che conosci o fai la tua.
Fai una nuova domanda su questo apparecchio
Scarica le istruzioni per il tuo Bilance da cucina in formato PDF gratuitamente! Trova il tuo manuale EV023 - Emos e riprendi in mano il tuo dispositivo elettronico. In questa pagina sono pubblicati tutti i documenti necessari per l'utilizzo del tuo dispositivo. EV023 del marchio Emos.
MANUALE UTENTE EV023 Emos
IT | Bilancia da cucina digitale
Prima di mettere in funzione il prodotto, leggere attendamente le istruzioni.
Specifiche
display LCD: 50 × 21 ~mm
Peso massimo: fino a 15kg (3 g - 15 kg)
Risoluzione di misurazione: 1 g
Unità di misura: g/kg/oz/lb oz/fl oz
Funzione TARA
Spegnimento automatico/manuale
Indicazione di sovraccarico/batteria debole
Occhiello di sospensione
Orologio con timer
Alimentazione: 2 batterie AAA da 1,5 V

Display

g/kg/oz/lb oz/fl oz - unità di peso
Avvisisuldisplay
"Lo" - le batterie sono scariche e vanno sostituite.
"IEEE" - bilancia sovraccarica, la portata massima è di 15 kg. Rimuovere la dose pesata alla bilancia per evitare danni.
Pulsanti
ON-ZERO - accensione/spegnimento/attivazione della funzione di pesatura aggintiva (TARA)
SET-UNIT - unità di pesatura a scelta g/oz/lb/kg
Pesatura
- Posizione are la bilancia su una superficie piana, rigida e stabile.
- Prima di accendere la bilancia, posizionare una ciotola da cucina (non inclusa) sulla superficie di pesata se si desidera usarla.
- Premere il pulsante ON-ZERO per attivare la modalità di pesatura.
- Premere ripetutamente il pulsante SET-UNIT per impostare l'unità di peso desiderata (g/lb/oz/kg).
- Posizione l'oggetto sulla bilancia o nella ciotola. Il display LCD migliorare il peso dell'oggettoto pesato.
- Per spegnere la bilancia tenere premuto a lungo il pulsante ON-ZERO oppure lasciare che si spenga automaticamente dopo 45 secondi.
Nota: In modalità standby, l'ora viene sempre visualizzata sul display.
Non è possibile spegnere completamente il display.
Funzione Tara (pesatura aggiantiva)
Serve per misurare il peso delle diverse dosi agginte gradualmente che rimangono sulla bilancia.
- Posizione are la prima dose sulla bilancia e il display ne visualizza il peso.
- Premere il pulsante ON-ZERO prima diMETTERe la dose successiva sulla bilancia. Il valore sul display viene ripristinato. Adesso è possibile aggungere un'altra dose. Questa operazione può essere ripetuta più volte.
Impostazione dell'ora
Dopo aver inserto le batterie, sul display comparirà l'ora.
Nella modalità di visualizzazione dell'ora sul display della bilancia, tenere premuto il pulsante SET-UNIT per 3 secondi. Premere ripetutamente il pulsante SET-UNIT per impostare l'ora, quando premere ON-ZERO, premente ripetutamente il pulsante SET-UNIT per impostare i minuti. Per confermare le impostazioni premere nuovamente il pulsante ON-ZERO.
Per modificare la modalità di visualizzazione dell'ora 12/24 ore, tenere premuto il pulsante SET-UNIT per 2 secondi, quando tenere premuto a lungo il pulsante Set-UNIT per spostare le impostazioni dell'ora.
Tenere premuto il pulsante finché sul display non compare AM o PM.
Nella modalità 24 ore sul display non sare visualizzato AM/PM.



Impostazione e controlo del timer
Nella modalità di visualizzazione dell'ora, premere il pulsante SET-UNIT, il display inizia a lampeggiare. Tenere premuto il pulsante ON-ZERO, il valore sul display verrà ripristinato a 00:00, il valore dell'ora lampeggerà.
Premere ripetutamente il pulsante SET-UNIT per impostare i minuti, quindi premere ON-ZERO, premere ripetutamente il pulsante SET-UNIT per impostare i secondi.
L'intervallo di impostazione del timer va da 1 s a 199 min 59 s.
Quindi premere il pulsante ON-ZERO, inizierà ilconto alla rovescia del timer.
Il conto alla rovescia più essere sospeso con il pulsante SET-UNIT.
Se si preme 2 volte il pulsante ON-ZERO durante il conto alla rovescia, il dato temporale del timer sare annullato.
Dopo che il tempo del timer arrivava a 0:00, viene attivato l'allarme - segnale acustico per 1 minuto.
Il valore impostato del timer rimane in memoria finché non si modifica il limite del tempo.


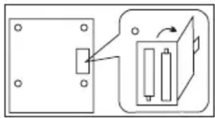
Sostituzione della batteria
- Aprire il coperchio del vano batteria sul retro della bilancia.
- Rimuovere le batterie usate.
- Inserire 2 batterie AAA da 1,5 V. Assicurarsi di rispetto la corretta polarità. Utilizzato solo batterie alcaline nuove. Non utilizzato batterie ricaricabili.
- Chidere il coperchio del vano batteria.

Manutenzione e pulizia
- Per pulire la bilancia utilizzare un panno umido, facendo attenzione che l'acqua non penetri all'interno della bilancia. Non utilizzato detergenti chimici e detergenti con effetto abrasivo. Non immergere la bilancia nell'acqua!
- Tutte le parti in plastica devono essere pulite dopo il contatto con sostanze grasse come spezie, aceto o esaltatori di sapori. Evitare di schizzare la bilancia con succo acido di agrumi!
- Mantenere la bilancia sempre in posizione orizzontale.
Istruzioni di sicurezza
- Questa bilancia è destinata esclusivamente alla pesatura degli alimenti per uso domestico.
- Non manomettere i circuiti elettrici interni del prodotto - si rischia di danneggiarlo e di invalidare automaticamente la garanzia.
- La bilancia deve essere posizionata su una superficie piana, rigida e stabile (non su moquette ecc.) a una distanza sufficiente dagli appearecchi con Campo elettromagnetico per evitare interferenze reciproche.
Non esporre la bilancia a urti, scosse e non farlo cadere a terra. - Utilizzare la bilancia solo in conformità con le istruzioni fornite in questo manuale. In caso di quasto il prodotto deve essere riparato solo da uno specialista qualificato.
- Questo appearecchio non è destinato all'uso da parte di persona (compresi i bambini) le cui incapacità fisiche, sensoriali o mentali o la cui mancanza di esperienza o di conoscenze impediscono loro di utilizzato l'apparecchio in modo sicuro, a meno che non siano sorvegliate o struite sull'uso di questo appearecchio da una persona responsable della loro sicurezza.
- É necessario tenere d'occhio i bambini per assicurarsi che non giochino con l'apparecchio.

Non smaltire con i rifiuti domestici. Utilizza punti di raccolta speciali per i rifiuti differenziati. Contatta le autorit à locali per informazioni sui punti di raccolta. Se i dispositivi elettronici dovessero essere smaltiti in discarica, le sostanze pericolose potrebbero raggiungere le acque sotterranee e, di conseguenza, la catena alimentare, dove potrebbe influire sulla salute umana.
ManualeFacile