Wall - Caminetto Hwam - Manuale utente e istruzioni gratuiti
Trova gratuitamente il manuale del dispositivo Wall Hwam in formato PDF.
Domande frequenti - Wall Hwam
Domande degli utenti su Wall Hwam
0 domanda su questo apparecchio. Rispondi a quelle che conosci o fai la tua.
Fai una nuova domanda su questo apparecchio
Scarica le istruzioni per il tuo Caminetto in formato PDF gratuitamente! Trova il tuo manuale Wall - Hwam e riprendi in mano il tuo dispositivo elettronico. In questa pagina sono pubblicati tutti i documenti necessari per l'utilizzo del tuo dispositivo. Wall del marchio Hwam.
MANUALE UTENTE Wall Hwam
Descrizione dei prodotti 40
Istruzioni per l'installazione....41
Istruzioni per l'uso....43
Istruzioni per il riscaldamento 44
Ragguagli generali sul riscaldamento....44
La canna fumaria 44
Manutenzione 45
Irregolarità nel funzionamento....46
A.

text_image
117 1 493 60 230 110 4 x (14 x 27) 890 925 1005 17 9 10 18 65 kg 194 kgAI

text_image
190 1 725 83 1005 1 2 3 4 5 6 7 8 9 10 11 12 13 14 15 16 B BA2
B.

text_image
2 1 5 36 cm 3 4 6C.

In occasione del 25 anniversario della fondazione della ditta HWAM Heat Design AS, nel 1998 è stato bandito un concorso di designer in collaborazione con la Dansk Design Center. Quattro noti designer hanno presentato le loro proposte per una stufa a legna moderna e funzionale.
La stufa che ha vinto il concorso si chiama HWAM WALL ed è stata disegnata dall'architetto Mogens Kristensen e dal designer Torben Madsen della Århus Arkitekterne e SMT design.
HWAM WALL è stata creata con l'idea di permettere al singolo utente di influire sul design della stufa. HWAM WALL è costituita da un modello base che può essere appeso a muro o posizionato su un basamento e di un rivestimento a pannello disponibile in diversi materiali, tutto ciò permette di ottenere il design che più si desidera.
Appendere la stufa a muro comporta dei vantaggi poiché in questo modo si occupa meno spazio. Ed è più facile pulire sotto e intorno alla stufa stessa.
HWAM WALL è fornito con sportello in vetro che si apre con telecomando a distanza o con sportello apribile manualmente.
Una sorgente di calore efficace
HWAM WALL è una stufa a legna da design esclusivo che riassume tutte l'esperienza tecnica che la HWAM Heat Design AS ha accumulato nel corso degli anni.
HWAM WALL, come tutte le stufe HWAM Heat Design, scalda per convezione ed è dotata di regolazione automatica dell'aria primaria e secondaria. Per la regolazione manuale vi è soltanto una manopola che può essere manovrata da entrambi i lati della stufa. Il vetro è autopulente.
Riconoscimenti
La stufa ha il riconoscimento DIN 18891, Bevart I, per il riscaldamento a legna.
E' severamente vietato e dannoso per la stufa bruciare legna verniciata o impregnata di sostanze chimiche e plastica.
Dati tecnici
HWAM WALL ha una potenza nominale di 5 kw, consuma 1,4 kg di legna, contenente 16% d'acqua, per ogni ora.
Accessori
• Supporto per appendere HWAM WALL a parete
- Basamento inox.
Accessori supplementari
- Pannelli in materiali e colori diversi: Acciaio inox e barre di vetro.
- Set accessori HWAM WALL
- Portalegna
Istruzioni per l'installazione
HWAM WALL ha una garanzia di 5 anni. Le parti elencate di seguito sono escluse, a meno che il danno non venga segnalato entro 8 giorni dalla consegna: parte posteriore in acciaio, rivestimento acciaio, vetro, scamolex, girofumi, griglia oscillante, guarnizioni.
Norme di legge
L'installazione della stufa HWAM WALL deve rispettare le norme di costruzione locali.
Requisiti per la stanza
L'ambiente dove si installa la stufa deve avere possibilità di areazione tramite una finestra o una porta.
Requisiti della stanza (Disegno B)
La stufa HWAM WALL deve appoggiare su pavimento ignifugo. Se il pavimento è di legno o simili, si dovrà appoggiare HWAM WALL su un basamento ignifugo di 30 cm più largo davanti e 15 cm di lato. Per questo motivo la ditta HWAM mette a disposizione una vasta gamma di piastre da pavimento in acciaio o in vetro.
Ricordare che non tutto il vetro è termoresistente. Pertanto, in alcuni casi, le pareti di vetro dovranno essere considerate infiammabili. Per la corretta distanza da una parete di vetro rivolgersi allo spazzacamino di zona o al fabbricante del vetro.
Distanze (Disegno B)
I. Da parete infiammabile:dietro 5 cm
2. Da parete infiammabile:lato 30 cm
Peso
Prima di installare la stufa, assicurarsi che il pavimento o il muro possano sopportare il peso della stufa.
- Stufa base 178 kg
- Stufa senza cassetto della cenere e rivestimento laterale 135 kg
• Pannello acciaio inox 17 kg - Basamento inox 16 kg
• Basamento acciaio smaltato
24 kg
Montaggio
Prima di installare la stufa a pavimento o appesa a parete, togliere le protezioni per il trasporto del contrappeso svitando le viti poste sul retro della stufa.
Consigliamo di smontare la stufa togliendo il cassetto della cenere e il rivestimento in acciaio per facilitare la manovrabilità, dato che in questo modo il peso è minore.
Norme per la valvola a serranda per la fuoriuscita di fumi e vapori
Se viene montato una valvola a farfalla per la fuoriuscita di fumi e vapori, questa deve essere manuale e facile da usare. La sua posizione deve essere evidente e stabile. La valvola non deve chiudersi ermeticamente. Questo è possibile grazie a un intaglio nella valvola di minimo 20% dell'area della valvola, comunque minimo 20 cm ^3 .
Collegamento alla canna fumaria
La stufa HWAM WALL può essere collegata alla canna fumaria partendo dalla parte superiore della stufa o dalla parte posteriore.
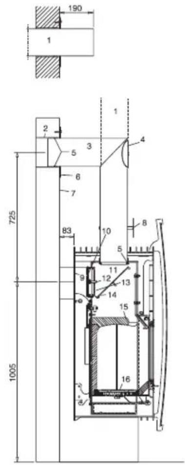
Sezione verticale della stufa HWAM WALL (Disegno A)
Al: Appesa a muro con uscita fumi posteriore
A2: Su basamento con uscita fumi superiore
I. Canna fumaria/Tubo in acciaio
2. Foro di entrata in canna fumaria
3. Gomito
4. Sportello di pulizia
5. Montaggio. Si fissa con guarnizione
6. Rosetta
7. Supporti fissati a parete.
8. Valvola di regolazione tiraggio del fumo.
9.&10. Tappo di chiusura. Da togliere e fissare sopra se la stufa ha uscita posteriore.
II. Percorso per il fumo.
12. Bullone per montaggio.
13. Tappo di chiusura uscita fumi.
14. Mensola del fumo in acciaio.
15. Girofumi in scamolex.
16. Copri griglia.
17. Piastra smontabile superiore.
18. Vite di regolazione.
Stufa appesa a muro
Prima di fissare la stufa controllare i seguenti punti:
- La parete dietro e la canna fumaria devono essere costruiti in materiale ignifugo.
- Lo stato e la capacità di sopportazione del muro.
• Gli elementi per fissare la stufa non devono deteriorare ne danneggiare la canna fumaria.
Montaggio
- Fissare la piastra per appendere la stufa sul muro all'altezza richiesta.
- Segnare i 4 punti di fissaggio sulla parete e forarla.
- Fissare la piastra con le tacche in alto, sollevare la stufa e agganciarla alle tacche.
- Regolare la distanza della stufa dal muro tramite la vite (18) di regolazione.
- Se la stufa dovesse pendere da un lato, si può ovviare al problema sollevando la stufa dal lato basso e fisandolo al supporto sulla piastra di montaggio con i due bulloni M10 già inclusi nel HWAM WALL.
Montaggio sul basamento
La stufa si posiziona sul basamento appoggiando senza bisogno di essere fissata.
Sportello apribile con telecomando a distanza
Controllare i seguenti punti prima dell'uso:
- Far scorrere manualmente lo sportello per accertarsi che scivoli senza fare strani rumori.
• Collegare la spina alla presa fissa. - Sistemare la scatola dei comandi elettrici nel ripiano sotto la stufa.
- Nascondere il filo elettrico sotto la stufa.
Collegata la tensione, lo sportello si solleva per poi chiudersi di nuovo. Ciò avviene per consentire ai controlli di trovare il punto di regolazione.
Sistemazione delle singole parti (Disegno A)
Prima di usare la stufa assicurarsi che tutte le parti interne siano posizionate al loro posto:
- I due girofumi (14 e 15) devono essere posizionati bene contro la parete dietro alla camera di combustione.
- Collocare la piastra (16) sulla griglia della cenere.
- La stufa ha due uscite per lo scarico dei fumi: una posteriore e una superiore. E' necessario tappare quella che non si utilizzerà.
Piastra copri griglia (Disegno C)
HWAM WALL è fornita con una piastra di ferro di circa 3 mm di spessore per coprire la griglia della cenere e prevenire la caduta della stessa nel cassetto. Essa assicura nello stesso tempo un buon isolamento della camera di combustione.
Montaggio del pannello
Agganciare il pannello sul lato anteriore della stufa.
Istruzioni per l'uso
Griglia oscillante
La griglia oscillante per la cenere è agganciata ad un'asse che può essere manovrata da ambo i lati e serve quando si vuole svuotare la camera di combustione dalla cenere.
Cassetto della cenere
Il cassetto della cenere è posizionato sul lato sinistro o destro della stufa a secondo dell'esigenza del cliente.
Sportello
Lo sportello è dotato di vetro ceramicato. Il getto d'aria del meccanismo autopulente viene diretto su tutta la superficie del vetro per ridurre al minimo gli accumuli di fuliggine.
- Sportello con comando a distanza:
Attivando il telecomando o premendo il pulsante sotto la stufa si può aprire, chiudere e anche fermare in qualsiasi posizione lo sportello. - Sportello con apertura manuale:
Lo sportello si alza e si abbassa manualmente e non si può bloccare in posizioni intermedie, quindi deve essere sempre sostenuto a mano quando è aperto.
Esiste però una calamita che si può posizionare sopra la camera di combustione e che permette di tenere alzato lo sportello.
Telecomando
Mantenere il tasto premuto per 1 o 2 secondi per aprire o chiudere lo sportello. (E' possibile fermare lo sportello in qualsiasi posizione si desideri).
Automatismo
L'afflusso di aria alla camera di combustione è regolato costantemente come in tutte le stufe HWAM grazie all'automatismo brevettato HWAM.
Istruzioni per il riscaldamento
La prima volta che si accende la stufa HWAM occorre fare molta attenzione dato che tutti i suoi componenti devono adattarsi al calore. La vernice che riveste la stufa si indurisce alla prima accensione emettendo un odore sgradevole. Occorre quindi provvedere a una buona areazione.
La manopola di regolazione è collegata dietro su ambo i lati della stufa. La maniglia anteriore è per la griglia oscillante.
Combustione a legna (Disegno D)
- Spingere la manopola di regolazione dell'aria verso sinistra (DI).
- Aprire lo sportello e caricare con 2 o 3 pezzi di legna fine.
- Usare un po' di diavolina per facilitare l'accensione.
- Tenere lo sportello socchiuso per almeno 10 minuti, fino a che la legna non ha preso bene fuoco.
- Posizionare la manopola al centro (D2) e caricare con 2 o 3 pezzi di legna più grossi.
- Lasciare lo sportello socchiuso per altri 5 o 10 minuti.
Attenzione! Il cassetto della cenere non deve essere aperto nella fase di accensione ne', soprattutto, quando la stufa è in funzione.
Tipo di combustibile
E' consigliabile usare legna di betulla o di faggio stagionata da almeno un anno.
E' vietato bruciare legna verniciata o impregnata di sostanze chimiche, plastica o gomma.
Ragguagli generali sul riscaldamento
Riscaldamento rapido ed elevato:
Si ottiene bruciando tanti piccoli pezzi di legna insieme.
Combustione massima:
Prevede di bruciare al massimo 2/3 kg di legna all'ora.
Attenzione ! Se si supera questo limite si rischia di rovinare la stufa e la garanzia decade !
Combustione troppo debole:
Evitare la combustione troppo debole perché una temperatura troppo bassa nella camera di combustione può causare l'annerimento del vetro. Se ciò si dovesse verificare è consigliabile aumentare il carico di legna e posizionare la manopola di regolazione dell'aria più a sinistra.
La canna fumaria
La canna fumaria costituisce il motore della stufa essendo essa determinante per il suo funzionamento. E' quindi di primaria importanza che sia la stufa che la canna fumaria vengano installate secondo le norme e le indicazioni date.
Il tiraggio della canna fumaria dipende dalla differenza di temperatura tra la canna stessa e l'esterno.
Quanto più alta è la temperatura all'interno della canna fumaria tanto migliore è il tiraggio. Diventa quindi determinante che si riscaldi bene la canna fumaria per il buon funzionamento della stufa.
Requisiti della canna fumaria
La canna fumaria deve avere un'altezza minima di 2 metri e una sezione minima di 150 mm.
La stufa HWAM WALL ha una potenza nominale di circa 15 Pascal.
Manutenzione
Pulizia
La pulizia della stufa va fatta solo a stufa fredda.
Per pulire la superficie esterna va usato un panno morbido e asciutto.
Gli eventuali graffi possono essere coperti usando lo spray Senoterm in dotazione.
La camera di combustione va svuotata completamente dalla cenere e quindi pulita solo a fine stagione.
Cenere
Durante l'uso della stufa uno strato di circa 2/3 cm di cenere va sempre mantenuto all'interno della camera di combustione.
Il cassetto della cenere va svuotato solo quando è pieno.
Controllare frequentemente che la guarnizione del cassetto della cenere sia intatta. In caso di usura è necessario sostituire la guarnizione utilizzando soltanto guarnizioni originali.
Attenzione! La cenere può ancora contenere brace viva anche 24 ore dopo lo spegnimento della stufa.
Dispositivo automatico (Disegno G)
Rimuovere il pannello laterale sinistro. Controllare il punto di partenza della lancetta del sensore, a stufa fredda.
Il punto di partenza, a stufa fredda è il punto in corrispondenza del quale la lancetta del sensore indica, verso il lato sinistro della stufa, un'angolazione di 50° rispetto all'asse orizzontale. Essa deve essere libera di muoversi e molleggiare quando la si spinge, indipendentemente dal fatto che la stufa sia calda o fredda. La barra di regolazione del dispositivo automatico deve essere libera di muoversi.
Pulizia del vetro
Tutte le operazioni di pulizia del vetro vanno eseguite a vetro freddo. Per pulire il vetro è necessario allargare i ganci d'arresto in alto sui lati del telaio al fine di poter portare in avanti la porta.
Per la pulizia si possono usare un panno umido da passare sul vetro preventivamente bagnato con l'apposito spray di pulizia.
Controllare frequentemente che la guarnizione dello sportello sia morbida e intatta. In caso di usura è necessario sostituire la guarnizione utilizando solo guarnizioni originali.
Sostituzione di sportello (Disegno E)
• Staccare la spina dalla presa.
- Sollevare e togliere il pannello anteriore.
- Inclinare lo sportello in avanti (vedi operazioni per pulizia vetro).
- Smontare uno dei due dadi posti sull'asse sostenendo lo sportello dal lato opposto.
- Portare lo sportello il più in alto possibile ed estrarre l'asse per liberare il vetro.
- Rimontare un nuovo sportello operando in senso inverso.
Nota: Rimontando l'asse chiudere i dadi in modo da permettere allo sportello di scorrere facilmente.
Pulizia dei pannelli
Per pulire i pannelli è sufficiente usare un panno morbido e asciutto con spray appositi.
Pulizia della canna fumaria
Per prevenire il rischio di incendio della canna fumaria è necessario pulirla almeno una volta l'anno.
Pulizia dei tubi
Anche i tubi vanno puliti una volta l'anno.
Prima di pulire i tubi è necessario spostare la manopola di regolazione dell'aria completamente a destra, in modo tale da evitare che la fuliggine e la cenere sporchino l'automatismo.
Pulizia della camera di combustione (Disegno F)
- Girofumi in scamolex (7): tirare il girofumi in avanti, inclinarlo sul bordo anteriore mettendolo in posizione verticale, in questa posizione la fuliggine cade.
- Girofumi in acciaio (5): nelle stufe con uscita fumo posteriore bisogna smontare il coperchio in ghisa(2), entrare dall'alto per sollevare il girofumi all'interno e far cadere la cenere. Nel caso di stufe con uscita di evacuazione fumi nella parte superiore, raddrizzare dapprima i perni sul lato del pannello dell'uscita fumi, quindi sollevare quest'ultimo tenendolo inclinato per liberarlo dai ritegni (6), scuotendo leggermente il girofumi la fuliggine cade.
Garanzia
La mancata manutenzione provoca la decadenza della garanzia.
Irregolarità nel funzionamento
Il vetro si sporca
- La legna è troppo umida: bruciare soltanto legna stagionata da almeno un anno.
- La combustione è troppo debole: caricare una maggiore quantità di legna in modo da aumentare la combustione.
- Insufficiente tiraggio della canna fumaria.
Fuoruscita di fumo all'apertura dello sportello
• La valvola del tubo è chiusa.
- Il girofumo è montato sbagliato: deve essere posizionato contro la parete posteriore.
- Insufficiente tiraggio nella canna fumaria.
- Mancanza di aria nella combustione.
Combustione irregolare
- La guarnizione dello sportello fuoco o del cassetto cenere è usurata o mal montata: sostituire la guarnizione.
- Controllare la funzionamento dell'automatismo muovendo la manopola di regolazione dell'aria.
- Se le piastre d'acciaio della camera di combustione si scrostano o si deformano significa che l'uso della stufa è errato: moderare la combustione.
Se il problema persiste sospendere l'uso e contattare il rivenditore.
Lo sportello non funziona automaticamente
- Controllare che lo sportello funzioni manualmente.
- Controllare la scatola dei comandi.
- Controllare l'interruttore sul quadro dei comandi.
- Controllare che le batterie del telecomando siano cariche (tipo AAA).
Se il problema persiste contattare il rivenditore.
DICHIARAZIONE DI CONFORMITÀ LA DIRETTIVA SUI MACCHINARI ALLEGATO II.A
dichiara con la presente che la
| Macchina: Tipo: Serie no:Stufa da legna HWAM WALL 24 |
È stato prodotta in conformità alla Direttiva del Consiglio del 14 giugno 1989 (89/392/UE) – Direttiva Macchine – con successici emendamenti
ed in conformità alla
Direttiva del Consiglio del 19 febbraio 1973 (73/23/CEE) Direttiva sulla bassa tensione - con successivi emendamenti
e alla
Direttiva del Consiglio del 3 maggio 1989 (89/336/CEE) – Direttiva EMC – con successivi emenda- menti.
La macchina suddetta inoltre è stata prodotta in conformità alle seguenti norme armonizzati:
Direttiva Macchine EN 292-1 EN 292-2
Direttiva sulla bassa tensione EN 60204-1 N 60335-1 EN 60335-2/238
Direttiva EMC EN 55014-2 EN 55014 ENV 50142 EN 50081-1 ENV 50141 EN 50081-2
Hørning, d. 01. marzo 1999
Data

text_image
Jenny A. B. 2014Tonny K. Jensen Responsabile della costruzione
ManualeFacile