LEIHDC90BBEU - Cappa da cucina FALCON - Manuale utente e istruzioni gratuiti
Trova gratuitamente il manuale del dispositivo LEIHDC90BBEU FALCON in formato PDF.
Domande degli utenti su LEIHDC90BBEU FALCON
0 domanda su questo apparecchio. Rispondi a quelle che conosci o fai la tua.
Fai una nuova domanda su questo apparecchio
Scarica le istruzioni per il tuo Cappa da cucina in formato PDF gratuitamente! Trova il tuo manuale LEIHDC90BBEU - FALCON e riprendi in mano il tuo dispositivo elettronico. In questa pagina sono pubblicati tutti i documenti necessari per l'utilizzo del tuo dispositivo. LEIHDC90BBEU del marchio FALCON.
MANUALE UTENTE LEIHDC90BBEU FALCON
Libretto di Istruzioni
Instructions Manual
CONSIGLI E SUGGERIMENTI 4
CARATTERISTICHE 5
INSTALLAZIONE 6
USO 9
MANUTENZIONE 10
INDEX
EN
RECOMMENDATIONS AND SUGGESTIONS 11
CHARACTERISTICS 12
INSTALLATION 13
USE 16
MAINTENANCE 17
SOMMAIRE
FR
CONSEILS ET SUGGESTIONS 18
CHARACTERISTIQUES 19
INSTALLATION 20
UTILISATION 23
ENTRETIEN 24
INHALTSVERZEICHNIS
DE
Questo libretto di istruzioni per l'uso è previsto per più versioni dell'apparcchio. É possibile che siano descriitti singoli particolari della dotazione, che non riguardano il Vostro apparecchio.
INSTALLAZIONE
- Il produttore declina qualiasi responsabilità per danni dovuti ad installmentione non corretta o non conforme alle regole dell'arte.
- La distanza minima di sicurezza tra il Piano di cottura e la Cappa deve essere di 650~mm , (alcuni modelli possono essere installati ad un'altezza inferiore, fare riferimento ai paragrafi ingombro e INSTALLazione).
- Verificare che la tensione di rete corrisponda a quella riportata nella targhetta posta all'intemo della Cappa.
- Per Apparecchi in Classe I a accertarsi che l'impianto elettrico domestico garantisca un corretto scarico a terra.
- Collegare la Cappa all'uscita dell'aria aspirata con tubazione di diametro pari o superiore a 120~mm . Il percorso della tubazione deve essere il più breve possibile.
Non collegare la Cappa a condotti di scarico dei fumi prodotti da combustione (caldaie, caminetti, ecc.). - Nel caso in cui nella stanza vengano utilizzati sa la Cappa che appearecchi non azionati da energia elettrica (ad esempio appearecchi utilizzatori di gas), si deve provvedere ad una aerazione sufficiente dell'ambiente. Se la cucina ne fosse sprovista, praticare un'apertura che comunichi con l'esterno, per garantire il richiamo d'aria pulita.
USO
- La Cappa è stata progettata esclusivamente per uso domestico, per abbattere gli odori della cucina.
Non fare mai uso improprio della Cappa. - Non lasciare fiamme libero a forte intensità molto la Cappa in funzione.
- Regolare sempre le fiamme in modo da evitare una evidente fuoriuscita laterale delle stesse rispetto al fondo delle pentole.
- Controllare le friggitrici durante l'uso: I'olio surriscaldato potrebbe infiammarsi.
- Non preparare alimenti flambé sotto la cappa da cucina; pericolo d'incendio.
- Questo apparecchio non deve essere utilizzato da persone (bambini inclusi) con ridotte capacità psichiche, sensoriali o mentali, oppure da persona perché esperenza e conoscenza, a meno che non siano controllati o struitti all'uso dell'apparecchio da persona responsabili della loro sicurezza.
- I bambini devono essere supervisionati per assicurarsi che non giochino con l'apparecchio.
MANUTENZIONE
- Prima di procedere a qualsiasi operazione di manutenzione, disinserire la Cappa torngliendo la spina elettrica o spegnendo l'interruttore generale.
- Effettuare una scrupolosa e tempestiva manutenzione dei Filtri secondo gli intervalli consigliati (Rischio di incendio).
- Per la pulizia delle superfici della Cappa è sufficiente utilizzato un panno umido e detersivo liquido neutro.
Il significato sul prodotto o sulla confazione indica che il prodotto non deve essere considerato come un normale rifiuto domestico, ma deve essere portato nel punto di raccolta appropriato per il riciclaggio di apparecchiature elettriche ed elettroniche. Provedendo a smaltire questo prodotto in modo appropriato, si contribuisce a evitare potenziali consequences negative per l'ambiente e per la salute, che potrebbero derivare da uno smaltimento inadeguato del prodotto. Per informazioni più dettagliate sul riciclaggio di quello prodotto, contattare l'ufficio comunale, il servizio locale di smaltimento rifiuti o il negazio in cui è stato acquistato il prodotto.


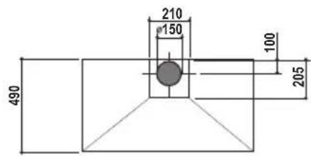
Ingombro



Componenti
Rif. Q.tà Componenti di Prodotto
1 1 Corpo Cappa completo di: Comandi, Luce, Filtri, Moto
2 1 Camino Telescopico formato da:
2.1 1 Camino Superiore
2.2 1 Camino Inferiore
Q.tà Documentazione
| 8a | 1 | Griglia | direzionata | Destra |
| 8b | 1 | Griglia | direzionata | Sinistra |
91 Flangia di Riduzione 150-120 mm
10 1 Anello di Maggiorazione 120-125 mm
15 1 Raccordouscita Aria
Rif. Q.tà Componenti di Installazione
7.1 2 Staffe Fissaggio Corpo Cappa
7.2.1 2 Staffe Fissaggio Camino Superiore
11 8 Tasselli
12a 8Viti4,2x44,4
12c 6Viti 2,9× 9,5
12d 2VitiM4x25
1 Libretto Istruzioni

Foratura Parete e Fissaggio Staffe

Tracciare sulla Parete:
- una linea Verticale fino al soffitto o al limite superiore, al centro della zona prevista per il montaggio della Cappa;
- una linea Orizzontale a: 650~mm min. sobre il Piano di Cottura, per installatione alla Fondale; alla quota H (H=altezza della parte in vista del Fondale), per installatione con Fondale.
- Appoggiare come indicato la Staffa 7.2.1 a 1 - 2mm dal soffitto o dal limite superiore, allineando il suo centro (intagli) sulla linea Verticale di riferimento.
- Segnare i centri dei Fori della Staffa.
- Appoggiare come indicate la Staffa 7.2.1 a X mm sotto la prima staffa (X = altezza Camino Superiore in dotazione), allineando il suo centro (intagli) sulla linea Verticale di riferimento.
- Segnare i centri dei Fori della Staffa.
- Appoggiare come indicato, la Staffa 7.1 a 109,5 mm alla linea Verticale di riferimento, e 190 mm sopra la linea Orizzontale di riferimento.
- Segnare i centri dei Fori della Staffa.
Ripeterequesta operazione dallaparte opposa.
FONDALE (OPZIONALE)
Il Fondale va montato prima di montare il Corpo Cappa e, se si desidera fissarlo alla parete sia superiormente che inferiormente, è necessario montarlo alla giusta altezza, prima del montaggio delle basi. Essendo但这a operazione complessa va effettuata solamente dall'installatore della cucina o da personale competente che conosca tutte le dimensioni finali dei mobili.
Limitandosi al solo fissaggio superiore, procedere come segue:
- Appoggiare il Fondale sulla base inserendo la faldina inferiore tra il piano superiore e la pa rete, centrandolo sulla linea Verticale di riferimento.
- Segnare i centri dei due fori della faldina superiore.
- Forare 8mm i punti segnati.
- Inserire i tasselli 11 nei fori.
- Fissare le Staffe, utilizzato le Viti 12a (4,2 x 44,4) in dotazione.
- Se presente, fissare il Fondale, utilizzando le Viti 12a (4,2 x 44,4) in dotazione.
Montaggio Corpo Cappa
- Avvitare sulle Staffe 7.1, le 2 Viti 12d in dotazione.
- Agganciare il Corpo Cappa alle Staffe 7.1, centrandolo sulla linea verticale.
- Agire sulle Viti 12d, dal除去 della Cappa, per livellare il Corpo Cappa.

Connessioni
USCITA ARIA VERSIONE ASPIRANTE
Per installazione in Versione Aspirante collegare la Cappa alla tubazione di uscita per mezzo di un tubo rigido o flessibile di 150 o 125mm , la cui scelta è lasciata all'installatore.
- Per collegamento con tubo 125mm , insere la Flangia di riduzione 9 sull'Uscita del Corpo Cappa e l'anello di maggiorazione 10 120 - 125 sulla Flangia.
- Fissare il tubo con adeguate fascette stringitubo. Il materiale occorrente non è in dotazione.
- Togliere eventuali Filtri Antiodore al Carbone attivo.

USCITA ARIA VERSIONE FILTRANTE
Applicare a pressione il Raccordo Uscita Aria 15 sull'Uscita del Corpo Cappa.
- Assicurarsi della presenza del Filtro Antiodore al Carbone attivo.

CONNECTION ELETTRICA
- Collegare la Cappa all'Alimentazione di Rete interponendo un Interruttore bipolare con aperture dei contatti di almeno 3mm
- Rimuovere i Filtri antigrasso (vedi par. "Manutenzione") e assicurarsi che il connettore del Cavo di alimentazione sia correttamente inserito nella presa dell'Aspiratore

Montaggio Camino
Camino superiore
- Allargare leggermente le due falde laterali, agganciarle dietro le Staffe 7.2.1 e richiuderle fino a battuta.
- Fissare lateralmente alle Staffe con 4 Viti 12c (2,9 x 9,5) in dotazione.
Camino inferiore
- Allargare leggermente le due falde laterali del Camino, agganciarle tra il Camino superiore e la parete e richiuderle sono a battuta.
Fissare lateralmente la parte inferiore al Corpo Cappa con 2 Viti 12c (2.9× 9.5) in dotazione. - Per la Versione Filtrante con Griglie per uscita laterale, aplicare le Griglie direzionate 8a - 8b nelle apposite sedi, in modo che i symboli direzionali risultino orientati versuso l'alto e il fronte della Cappa. Assicurarsi che risultino inserte correttamente nel Raccordo 15.


L Luci Accende e spegne l'Impianto di Illuminazione.
M Motore Accende e spegne il motore Aspirazione.
V Velocità Determina la velocità di esercizio:
- Velocità minima, adatta ad un ricambio d'aria continuo particolaremente silenzioso, in presenza di pochi vapori di cottura.
- Velocità media, adatta alla maggior parte delle condizioni d'uso, dato l'ottimo rapporto tra portata d'aria trattata e livello sonoro.
- Velocità massima, adatta a fronteggiare le massime emissioni di vapore di cottura,anche per tempi prolongati.
Filtri antigrasso
PULIZIA FILTRI ANTIGRASSO METALLICI AUTOPORTANTI
- Sono lavabilianche in lavastoviglie, e necessitano di essere lavati ogni 2 mesi circa di utilizzo o più frequently, per un uso particolarmente intenso.
- Togliere i Filtri uno alla volta, spingendoli verso la parte posteriore del gruppo e tirando contemporaneamente verso il basso.
- Lavare i Filtri evitando di piegarli, e lasciarli asciugare prima di rimontarli.
- Rimontarli facendo attenzione a mantenere la maniglia verso la parte visibile esterna.

Filtri antidore al Carbone attivo (Versione Filtrante)
Il Filtro antidore al Carbone attivo non è lavabile e non è rigenerabile, va sostituito anni 4 mesi circa di utilizzo o più frequentlymente, per un uso particularmente intenso.
SOSTITUZIONE
- Togliere i Filtri antigrasso.
- Rimuovere i Filtri antidore al Carbone attivo saturi, come indicato (A).
- Montare i nuovi Filtri, come indicato (B).
Rimontare i Filtri antigrasso.

Illuminazione
SOSTITUZIONELAMPADE
Lampade alogene da 28 W
- Togliere i Filtri antigrasso metallici.
- Svitare le Lampade e sostituirle con nuove di uguali caratteristiche.
Rimontare i Filtri antigrasso metallici.

ManualeFacile