AI220190 - Cappa da cucina GAGGENAU - Manuale utente e istruzioni gratuiti
Trova gratuitamente il manuale del dispositivo AI220190 GAGGENAU in formato PDF.
Domande degli utenti su AI220190 GAGGENAU
0 domanda su questo apparecchio. Rispondi a quelle che conosci o fai la tua.
Fai una nuova domanda su questo apparecchio
Scarica le istruzioni per il tuo Cappa da cucina in formato PDF gratuitamente! Trova il tuo manuale AI220190 - GAGGENAU e riprendi in mano il tuo dispositivo elettronico. In questa pagina sono pubblicati tutti i documenti necessari per l'utilizzo del tuo dispositivo. AI220190 del marchio GAGGENAU.
MANUALE UTENTE AI220190 GAGGENAU
it Istruzioni d'uso e per il montaggio
Informazioni generali 68
Avvertenze sulla tutela dell'ambiente 68
Al primo uso 68
Avverenze di sicurezza 69
Uso regolare 69
Sicurezza tecnica 69
Avvertenze speciali per fornelli a gas 70
Uso appropriato 71
Montaggio appropriato 71
Modi di funzionamento 72
Funzionamento ad espulSIONe d'aria 72
Funzionamento a ricircolo d'aria 72
Uso 73
Pulizia e cura 75
Smontaggio e montaggio dei filtri per grassi 76
Smontaggio e montaggio dei filtri per grassi 76
Montaggio e smontaggio dei filtri a carbone attivo 76
Sostituzione delle lampade 77
Istruzioni per il montaggio
Istruzioni per il montaggio 78
Collegamento dei tubi 78
Allacciamento elettrico 79
Montaggio 80
Preparazione del montaggio 80
Fissaggio 81
Montaggio dei rivestimenti del camino 82
Avverenze sulla tutela dell'ambiente
Smaltimento dell'imballaggio di trasporto
L'imballaggio ha protetto il vostro nuovo
apparecchio nel trasporto fino a voi. Tutti i materiali
impiegati sono compatibili con I'ambiente e
riciclabili. Preghiamo di collaborare smaltendo
l'imballaggio in modo ecologico.
PERICOLO DI LESIONI!
Le parti dell'imballaggio possono essere pericolose per i bambini. Custodire perché queste parti fuori della portata dei bambini.
Rottamazione dell'apparecchio dismesso
Gli apparecchi dismessi non sono rifiuti sulla valore! Mediente uno smaltimento compatible con l'ambiente possono essere recuperate materie prima prezioso.

Questo apparecchio è contrassegnato conformamente alla Direttiva europea 2002/96/CEE - Rifiuti di apparecchiature elettriche ed elettroniche (waste electrical
La direttiva prescire il quadro normativo per un ritiro e riciiclaggio degli appearecchi dismessi valido in tutte l'UE. Prima di rottamare l'apparecchio dismesso, renderlo inservibile.
Non gettare assolutamente l'apparecchio dismesso nei rifiuti non riciclabili!
Chiedere informazioni sulle attuali vie di smaltimento al proprio rivenditore specializzato oppure alla propria amministrazione comunale.
Provedere affinché l'apparecchio dismesso sua conservato fuori della portata dei bambini fino alla rottamazione.
Al primo uso
Nota: quello libretto d'istruzioni è valido per diversi modelli. è possibile che siano descritti alcuni particulari di dotazione, che non riguardano quello apparecchio.
Prima di mettere in funzione l'apparecchio nuovo, leggere con attenzione ed interamente le istruzioni per l'uso. Esse contengono informazioni importanti per la vostra sicurezza, nonché per l'uso e la cura dell'apparecchio.
Conservare con cura il libretto d'istruzioni per l'uso ed il montaggio e consegnarlo ad un eventuale successivo proprietario dell'apparecchio.
Guasti
Se nel display compare una F:
Vedi capitolo "Uso".
Se la cappa aspirante non risponde al commande:
- Togliere tensione alla cappa aspirante per ca. 1 minuto extraendo la spina di alimentazione o disinserendo l'interruttore di sicurezza. Quindi insertire di nuovo.
In caso di eventuali domande o di guasti, rivolgersi al servizio assistenza clienti.
(Vedi elenco dei centri di assistenza clienti).
In caso di chiamata si prega diindicare:
E-Nr.
FD
I numero sono sulla targhetta porta-dati visible,\ dopo la rimozione dei filtri per grassi,\ nell'interno della cappa aspirante.
Annotare i numeri nei campi qui sopra.
Uso regolare
- Questa cappa aspirante è conforme alle prescritte norme di sicurezza. Un uso incompetente può causare danni a persono o beni materiali.
- Impiegare la cappa aspirante escludamente per l'uso domestico. Il costruttore non risponde dei danni causati da impiego improprio o da uso errato.
Il costruttore non può essere chiamato a rispondere di danni, che siano da attribuire all'inosservanza delle avventenze di sicurezza.

PERICOLO DI LESIONI!
Vietare ai bambini di giocare con la cappa aspirante. L'uso dell'apparecchio è sempre vietato ad adulti e bambini nei casi seguenti,
-se impediti fisicamente o mentalmente,
- oppure se non sono in possesso di conoscenze ed esperienza per usare l'apparecchio correttamente ed in sicurezza.
Sicurezza technique
- La cappa aspirante ha lasciato la fabbrica in perfetto stato. Controllare tuttavia l'apparecchio prima del montaggio alla ricercà di eventuali danni visibili. Se è danneggiato, è vietato metterlo in funzione!
Se il cavo di collegamento della cappa aspirante è danneggiato, per evitare pericoli, delve essere sostituito dal costruttore, dal suo servizio assistenza clienti o da una persona in possesso di simile qualificazione.
Il montaggio (incluso l'allacciamento elettrico), la manutenzione o riparazione della cappa aspirante devono essere eseguiti solo da un tecnico specializzato. In agli caso delve essere possibile togliere tensione alla cappa aspirante extraendo la spina di alimentazione oppure disinserendo il dispositivo di sicurezza!
Il montaggio, la manutenzione o riparazione incompetenti possono causare considerevoli pericoli per l'utente, dei quali il costruttore non risponde.
Le modifiche apportate alla struttura elettrica o meccanica sono pericolose e perché vietà! Esse possono provocareanche il malfunzionamento della cappa aspirante.
Impiego contemporaneo della cappa aspirante e di un focolare dipendente dall'aria interna
- Focolari dipendenti dall'aria interna sono ad es. appearecchi di riscaldamento funzionanti a gas, petrolio, legna o carbone, scaldacqua istantanei, scaldabagni, piani di cottura oppure fornì, che per la combustione utilizzato l'aria dell'ambiente d'installazione della cappa aspirante, ed i cui gas di scarico vengono scaricati all'esternoattraverso un camino.

PERICOLO D'INTOSSICAZIONE
In caso di impiego contemporaneo della cappa aspirante e di un focolare dipendente dall'aria interna sussiste pericolò d'intossicazione a causa di gas di combustione di riflusso, aspirati alla cappa.

- Un uso privo di pericolò è possibile se la depressione nell'ambiente d'installazione del focolare non supera 4 Pa (0,04 mbar). Questo si può essere l'aria necessaria per la combustione più refluire相对较ure opertura non chiudibili, ad es in porte, finestre, in collegamento con una cassetta murale di alimentazione/scarico dell'aria oppure mediante altre soluzioni tecniche.

- É quindi necessario garantire sempre una sufficiente alimentazione dell'aria.
- Una cassetta murale di alimentazione/scarico dell'aria da sola non garantisce il rispetto del valore limite.
Nota: nella valutazione si deve sempre considerare l'insieme della ventilazione totale dell'abitazione. Per la valutazione consultare la competente autorità.
Se la cappa aspirante viene impiegata esclusivamente in funzionamento a ricircolo d'aria, l'uso è possible senza limitazione.
Avvertenze speciali per fornelli a gas
In caso di montaggio sopra fornelli a gas, osservare le pertinenti disposizioni di legge nazionali (ad es. in Germania: Regole Tecniche per Impianti a Gas TRGI).
Osservare le norme ed istruzioni di montaggio rispettivamente valide del costruttore dell'apparecchio a gas.
- Tenere presente che la cappa aspirante può essere montata con solo un lato a contatto diretto con un mobile alto o una parete. Altrimenti sussiste il pericolo di accumulo di calore. La distanza dal muro o dal mobile alto deve essere almeno 50~mm .
Pericolo di uszioni
Non accendere contemporaneamente più di 2 fornelli a gas per un periodo superiore a 15 minuti al massimo carico termico. A causa dell'effetto del calore, vi è pericololo di scottature in caso di fatto con le superfici della carcassa!
- Tenere presente che un bruciatore grande con più di 5 kW (Wok) di potenza corrisponde alla potenza di due bruciatori a gas.
La cappa aspirante cui essere danneggiata dal forte effetto di calore.
Non usare mai un fornello a gasenza stoviglie sovrapposte. Regolare la fiamma in modo che non sporga il fondo delle stoviglie da cucina.
Uso appropriato
- Alla prima messa in funzione pulire con cura la cappa aspirante.
- Prima di agli pulizia e manutenzione togliere tensione alla cappa aspirante extraendo la spina di alimentazione oppure disinserendo il disposativo di sicurezza.
Le lampade (specialmente lampade alogene) si surriscaldano durante il funzionamento. Un pericolò di usstioni sussisteanchescliche tempo dopo averle spente! - Prima di anni sostituzione di lampade, togliere tensione alla cappa aspirante e lasciare raffreddare le lampade!
- Usare la cappa aspirante solo con le lampade montate.
Accendere sempre la cappa aspirante quando si usa un fornello. Se la cappa aspirante non viene accesa può formarsi acqua di condensazione. Questa può causare danni di corrosione all'apparecchio.
Non deporre oggetti sulla cappa aspirante.

PERICOLO D'INCENDIO
Non fiammeggiare alimenti sotto la cappa aspirante né lavorare a fiamma scoperta. La cappa aspirante accesa attira la fiamma nelchio. I depositi di grasso nelchio possono causare un incendio!
- Sorvegliare le pentole, i tegami e gli apparecchi per frittura quando si preparano alimenti con olio e grassi, ad es. patatine fritte. L'olio o i grassi surriscaldati possono lavoramente incendiarsi!
Un pericolo d'incendio si previene pulendo regolarmente i filtri per grassi e sostituendo tempestivamente il filtro a carbone attivo.
Non usare mai la cappa aspirante ricerca filtri per grassi.
Montaggio appropriato
-
Osservare le istruzioni del costruttore dell'apparecchio di cottura, con riferimento alla possibilità di usare una cappa aspirante sovrapposta.
Se il costruttore dell'apparecchio di cottura non prescrive distance di sicurezza maggiori, vale una distanza minima: -
fra i fornelli elettrici ed il bordo inferiore della cappa aspirante di 550 mm, fig.1.
-
fra i fornelli a gas (bordo superiore del la griglia d'appoggio pentola) ed il bordo inferiore della cappa aspirante di 650 mm, fig.1.
Se si usano fornelli diversi, vale la maggiore delle distance indicate.
La larghezza della cappa aspirante deve corrispondere alla larghezza del piano di cottura.
- Sopra un focolare per combustibili solidi, dal quale può derivare un pericolo d'incendio (ad es. scintille volanti), il montaggio della cappa aspirante è consentito solo se il focolare è dotato di una copertura chiusa non amovibile e vengono rispetto le norme nazionali specifiche. Questa limitazione non è valida per le cucine a gas ed i piani di cottura a gas.
Per evitare danni al piano di cottura, coprirlo durante il montaggio della cappa aspirante.
La cappa aspirante cui essere usata in funzionamento ad espulzione d'aria ed a ricircolo d'aria. Funzionamento ad espulzione d'aria è l'impostazione di serie.
Funzionamento ad espulsione d'aria

L'aria aspirata viene depurata dai filtri per grassi e scaricata all'aperto tramite un sistema di tubi.
Dimensioni dell'apparecchio ad espulsione d'aria

Funzionamento a ricircolo d'aria

L'aria aspirata viene depurata dai filtri per grassi e da unchio a carbone attivo ed immessa nuovamente nella cucina.
Per fissare gli odori nel funzionamento a ricircolo d'aria deve essere montato unfiltro a carbone attivo (vedi "Smontaggio e montaggio dei filtri per grassi").
Il set di montaggio completo ed i filtri di ricambio sono disponibili nel commercio specializzato, presso il servizio assistenza clienti eppure nell'Online-Shop. Il numero di accessorio è indicato alla fine di quello libretto d'istruzioni.
La presa elettrica delve essere applicata almeno 170mm 除去 il soffitto.
Dimensioni dell'apparecchio a ricircolo d'aria

Uso
Per eliminare nel modo più efficace i vapori di cottura:
- Accendere la cappa aspirante all'inizio della cottura.
- Specnere la cappa aspirante solo alcuni minuti dopo la fine della cottura.

Accendere il ventilatore:
Premere il tasto 1, 2, 3 oppure Int.
Spagnere il ventilatore:
Premereiltastoo.
Grado forte
con il grado forte si raggiunge la massima potenza.
Questa enecessaria per breve tempo.
- Durante le fritture nelle padelle scoperte si consiglia di attivare il tasto Int per l'aspirazione intensa.
Se avete acceso la cappa attivando diretamente l'aspirazione intensa,questa verradisattivata automaticamente dopo 5 minuti.
Se inceve avete premuto il tasto Int quando la cappa era attivata allo stadio 1, 2 o 3, il dispositivo elettronico ritorna dopo 5 minuti allo stadio di ventilazione preselezionato.
Per terminare lo stadio, intenso' prima dei 5 minuti, premete il tasto 0 ("Motore spento") oppure uno relativo ad un'alto stadio. La funzione di aspirazione della cappa cui siere chiaramente disattivata in qualsiassi momento digitando il tasto 0 ("motore spento").
Funzioni speciali
Durata dell'aspirazione intensa:
- Premendo contemporaneamente i tasti Int e 1, 2 oppure 3 è possibile impostare e memorizzare la durata di aspirazione intensa a 3, 5 o 10 minuti; impostazione standard: cinque minuti, ossia combinazione dei tasti Int/2.
Stadio rallentamento:
Il rallentamento più essere attivato in qualsiasi stadio. Premete prima il tasting desiderato 1, 2, 3 oppure Int e confermate con
Il tempo di rallentamento è, in tutti gli stadi, di dieci minuti. Al termine di questi dieci minuti la ventilazione si spegne automaticamente, nella luce resta accesa.
Intervallo:
- Una particolarità di quest'apparecchio è rappresentata dall'intervallo. Si tratta di una attivazione automatica periodica della ventilazione di risp. cinque minuti agli ora. Questa funzione può essere attivata premendo contemporaneamente i tasti 0 e, a seconda dell'intensità di aspirazione desiderata, 1, 2 o 3.
Questo modo operativo viene indicato dall'accensione intermittente del tasting congiuntamente all'indicazione del relative stadio.
L'intervallo viene spento con il tasting 0.
Illuminazione:
Per accendere e spagnere, premetebrevamente il pulsante
L'illuminazione può essere usata sempre,anche quando il ventilatore è escluso.
Regolazione della luminosità: Mantenete premuto il pulsante finché non è stata raggiunta la luminosità desiderata.
Indicazione di saturazione: F
La spia del filtro F comincia a lampeggiare\
dopo 30 ore di esercizio, segnalando che i filtri\
devono essere puliti. Chiaramenteamenti\
questi\
possono essere pulitianche se la spia non\
lampeggia.
Per spegnere la spia di saturazione premere il pulsante F.
PERICOLO DI LESIONI!
Idonei prodotti per la pulizia e la cura dell'apparecchio possono essere acquistati tramite la linea verde oppure l'Online-Shop (vedi copertina).
Superfici dell'apparecchio
Nota: osservare le norme di garanzia nell'accluso opuscolo del servizio assistenza.
Le superfici dell'apparecchio e gli elementi di commando sono sensibili ai graffiti. Osservare perché le seguenti istruzioni per la pulizia:
- Evitare la pulizia della cappa aspirante con panni asciutti, spugne dure che lasciano graffi, prodotti abrasivi e con pulitori contenti sabbia, soda, acidi, cloruro o altri prodotti corrosivi.
- Pulire le superfici dell'apparecchio e gli elementi di lavoro solo con un panno morbido, umido, detergente liquido per stoviglie o con un pulitore delicato per vetri.
- Non asportare graffiando lo sporco essiccato, ma ammorbidirlo con un panno umido.
- Pulire con precauzione la zona degli elementi di lavoro, per evitare la penetrazione di umidità nei circuiti elettronici.
Nota: Pulire le superfici in acciaio inox solo nel senso di lucidatura!
Non usare pulitori per acciaio per i pulsanti di comando!
Avvertenza sulla cura dell'apparecchio
- Idonei prodotti per la pulizia e la cura dell'apparecchio possono essere ordinati tramite il numero verde oppure l'Online-Shop (vedi copertina).
Filtri per grassi metallici
- I filtri per grassi metallici trattengono i grassi dei vapori di cucina.
I filtri piani sono costituiti da metallo incombustibile.
PERICOLO D'INCENDIO
A causa della progressiva saturazione dei filtri con residui grassi, aumento la loro infiammabilità.
Inoltre cui oessere pregiudicato il buon funzionamento della cappa aspirante.
- Mediente una tempestiva pulizia dei filtri per grassi metallici si previene il pericolò d'incendio.
Al lavaggio dei filtri per grassi rimuovere anche con un panno umido i depositi di grassi dalle parti accessibili della carcassa.
Lavaggio dei filtri per grassi metallici ...
- Con un funzionamento normale (da 1 a 2 ore al giorno), i filtri per grassi metallici devono essere lavati 1 volta al mese.
...in lavastoviglie
- I filtri per grassi metallici sono essere lavati in lavastoviglie. Con questo lavaggio sono verificarsi leggere alterazioni di colore, cheuttavia non hanno alcuna influenza sull'efficienza dei filtri per grassi.
I filtri devono giacere liberi nella lavastoviglie. Essi non devono essere bloccati tra altre stoviglie.
Note: non lavare con altre stoviglie i filtri per grassi metallici molto saturi di grassi.
... a mano
Per un lavaggio manuale ammonbidire i filtri per grassi in una soluzione di acqua e detersivo ben calda, spazzolarli, sciac quarli bene e lasciarli sgocciolare.
Non usare detergenti corrosivi, contenti acidi o soluzioni alcaline.
In caso di sporco particularmente resistente, consigliamo la pulizia con uno speciale spray solvente per grassi. Questo può essere ordinatotramite I'Online-Shop.
Smontaggio e montaggio dei filtri
per grassi
PERICOLO DI LESIONI!
Prima di smontare e montare i filtri per grassi osservare assolutamente le istruzioni ed avventenze nel capitolo "Avventenze di sicurezza"!
Smontaggio e montaggio dei filtri per grassi
1 Apriere il fermo ed abbassare i filtri per grassi.
Cio facendo, con la mano libera sostenero除去 i filtri per grassi.



(in apparecchi con aspirazione marginale)
2 Pulire i filtri per grassi.
3 Inserire di nuovo i filtri per grassi puliti.
Filtro a carbone attivo
I filtri a carbone attivo fissano gli odori nel funzionamento a ricircolo d'aria.
Nell'uso normale (da 1 a 2 ore al giorno), i filtria carbone attivo devono essere sostituiti circa 2 volte all'anno.
Acquistare il filtro a carbone attivo nel commercio specializzato, presso il servizio assistenza clienti o tramite l'Online-Shop (vedi "Accessori speciali"). Usare solo filtri originali.
I filtri a carbone attivo non contengono sostenze nocive. Essi possono essere smaltiti con i rifiuti domestici.
Montaggio e smontaggio dei filtri a carbone attivo
1 Smontare i filtri per grassi (vedi "Smontaggio e montaggio dei filtri per grassi metallici").

2 Inserire il filtro a carbone attivo.
3 Innestare la linguetta.
4 Inserire di nuovo i filtri per grassi (vedi "Smontaggio e montaggio dei filtri per grassi metallici").
Sostituzione delle lampade
- Prima di sostituire le lampade osservare assolutamente le istruzioni ed avvertenze nel capitolo "Avvertenze di sicurezza"!
La descrizione della sostituzione lampade è valida per molti modelli dell'apparecchio.
Nota: osservare le norme di garanzia nell'accluso opuscolo del servizio assistenza.
Sostituzione delle lampade alogene
PERICOLO DI LESIONI!
Le lampade alogene si surriscaldano durante il funzionamento. Un pericolo di ustioni sussiste ancche quale tempo dopo averle spente!
Le lampadine difettose devono essere sostituite immediatamente, per evitare il sovraccarico sulle altre lampade.
- Prima della sostituzione, le lampade aologene devono essersi completeness raffreddate.
1 Rimuovere con precauzione, con un attrezzo idoneo, l'anello della lampada.

2 Sostituire la lampada difettosa con una nuova dello stesso tipo e di uguale wattaggio (vedi targhetto porta-dati).

Nota: non toccare con le dita il vetro le lampade alogene durante l'insertimento. Inserire percià la lampada afferrandola con un panno pulito.
3 Inserire di nuovo il coperchio della lampada.
4 Ripristinare l'alimentazione elettrica inserendo la spina di alimentazione oppure il dispositivo di sicurezza.
Sostituzione delle lampade ad incandescenza
PERICOLO DI LESIONI!
Le lampade ad incandescenza si surriscaldano durante il funzionamento. Un pericolo di usioni sussiste alla sua对该的敌人的攻击。
- Prima della sostituzione lasciare raffreddare completamente le lampade ad incandescenza.
1 Staccare leggermente il coperchio della lampada.
2 Spingere il soperchio della lampada verso il centro dell'apparecchio.

3 Sostituire la lampada difettosa con una nuova dello stesso tipo e di uguali wattaggio (vedi targhetta porta-dati).

4 Inserire di nuovo il coperchio della lampada.
5 Ripristinare l'alimentazione elettrica inserendo la spina di alimentazione oppure il dispositivo di sicurezza.
Note: se l'illuminazione non funziona, controllare se le lampade sono inserte correttamente.
Istruzioni per il montaggio
- Prima del montaggio, osservare assolutamente le istruzioni ed avvertenze nel capitolo "Avvertenze di sicurezza"!
Funzionamento ad espulsione d'aria
L'aria di espulsione viene inviata verso l'alto all'esternoattraverso un pozzo di ventilazione, oppure direttamente all'apertoattraverso umuro esterno.
Nota: l'aria espulsa non deve essere immessa ne in un camino per fumi o gas di scarico funzionante, ne in un pozzo destinato allo scarico d'aria di locali d'installazione di focolari.
Se l'aria di scarico deve essere immessa in un camino per fumi o gas di scarico non attivo, è necessario chiedere l'autorizzazione della competente autorità di sorveglianza.
Nell'espulsione di aria di scarico, osservare le norme ufficiali e di legge (ad es. regolamenti edilizi territoriali).
Se l'aria di scarico viene espulsa atraverso il muro esterno,utilizzare una cassetta murale telescopica.
La cappa aspirante raggiunge la sua efficienza ottimale mediana:
-un tubo di scarico breve, rettilineo e
-un diametro del tubo possibilmente grande.
- Se non fosse possibile evitare curve, utilizzare curve con raggio possibilmente grande.
Nota: l'impiego di tubi di scarico aria lunghi, ruvidi, di molte curve o diametri di tubo inferiori a 150~mm comporta una riduzione della potenza ottimale e un aumento del rumore.
- Per installare il tubo di scarico aria utilizzato solo tubi rigidi o flessibili in materiale ininfiamabile.
Il costruttore delle cappe aspiranti declina agli responsabilità per reclami attribuibili a progettazione ed esecuzione della tubazione di scarico.
Collegamento dei tubi
Il diametro dei tubi di scarico non dovrebbe essere inferiore a 150~mm
Tubi tondi: Consigliamo un diametro interno di 150~mm e comunique almeno di 120~mm .
I canali piatti devono avere una sezione trasversale interna equivalente ai tubi tondi. Essi non devono presentare deviazioni ad angolo stretto.
0 150 mm ca. 177 cm²
0 120 mm ca. 113 cm²
In caso di diversi diametri del tubo: utilise nastri di tenuta.
Collegamento del tubo dell'aria di scarico 0 150 mm (grandezza consigliata)
Fissare il tubo dell'aria di scarico direttamente sul raccordo dell'aria ed ermetizzarlo adeguatamente. Se si utilizza un tubo di alluminio, distendere prima la zona di giunzione.


Collegamento del tubo dell'aria di scarico 0 120 mm
Fissare il riduttore direttamente sul raccordo dell'aria.
Fissare il tubo di scarico aria al riduttore.
- Ermetizzare adeguatamente i due punti di collegamento.



Allacciamento elettrico
- Prima dell'allacciamento elettrico, osservare assolutamente le istruzioni ed avvertenze nel capitolo "Avvertenze di sicurezza"!
La cappa aspirante deve essere allacciata solo da un elettricista qualificato, che conosca le norme della competente azienda di fornitura dell'energia elettrica.
PERICOLO DI LESIONI!
Se il cavo di collegamento della cappa aspirante è danneggiato, per evitare pericoli, deve essere sostituito dal costruttore, dal suo servizio assistenza clienti o da una persona in possesso di simile qualificazione.
- Collegare la cappa aspirante solo ad una presa con contatto di terra installata a norma.
Installare la presa con contatto di terra possibilmente dietro il rivestimento del camino.
-La presa con contatto di terra deve essere collegatatramite un proprio circuito.
- Se la presa con contatto di terra dopo il montaggio della cappa aspirante non fosse più accessibile, deve essere disponibile un dispositivo di separazione come nelle'allacciamento fisso.
In caso di necessità del collegamento fisso
- Sul lato impianto deve essere previsto un dispositivo di separazione. Come dispositivo di separazione sono validi interruptori con un'apertura fra i contatti superiore a 3 mm e disinserzione su tutti i poli. Fanno parte di questi gli interruptori automatici, i fusibili ed i contatori.
Dati elettrici
I dati di allacciamento necessari sono riportati sulla targhetto porta-dati visible, dopo la rimozione del filtrlo per grassi, nell'interno della cappa aspirante.
Lunghezza del cavo di allacciamento: ca. 1,30 m.
Questa cappa aspirante è conforme alle norme di suppressione radiodisturbi CE.
Montaggio
La cappa aspirante è prevista per il fissaggio al soffitto della cucina oppure ad un soffitto sospeso resistente.
- Nel montaggio prestareancheattenzione ad eventualiaccessori speciali da montare.
- Attenzione alla distance minima fra piano di cottura e cappa aspirante (vedi "Avvertenze di sicurezza")!
- Attenzione a non danneggiare le delicate superfici!
Preparazione del montaggio
PERICOLO DI LESIONI, PERICOLO DI DANNI MATERIALI
Prima di trapanare fori, controllare se nel luogo di montaggio previsto passano sotto traccia condutture elettriche o di altri impiani.
Il soffitto delve essere piano e orizzontale.
Le viti ed i tasselli in dotazione sono idonei per calcestruzzo e pietra naturale. Per soffitti di natura diversa usare adeguati mezzi di fissaggio.
Attenzione ad una sufficiente portata del soffitto.
- Prestare attenzione che la profondità dei fori corrisponda alla lunghezza delle viti.
Curare il saldo fissaggio dei tasselli.
Peso max.: 50 kg.
Con riserva di modifiche costruttive nel quadro dell'evoluzione tecnica.
Montaggio del telaio portante superiore
1 Prima del montaggio stabilire l'altezza totale del telaio portante e tracciare i fori per le viti. Il telaio portante è regolabile in altezza a distanzi di 20 mm.
L'altezza totale dipende dall'altezza del soffitto, dall'altezza del piano di lavoro e dalle corrispondenti distance fra piano di cottura e cappa aspirante.
2 Tracciare sul soffitto il centro della cappa aspirante.
3 Per mezzo dell'acclusa dima, tracciare sul soffitto le posizioni per le viti.

4 Trapanare 4 fori 08mm ed insere i tasselli a paro con il soffitto.
5 Fissare al soffitto con 4 viti la parte superiore del telaio portante.
6 Prestare attenzione alla corretta posizione del telaio portante. La staffa centrale definisce il lato preferenziale. Esso deve essere rivolto verso il pannello comandi del piano di cottura.
Montaggio del telaio portante inferiore
Fissare con 10 viti all'altezza totale stabilita la parte superiore ed inferiore del telaio portante (scelta dei fori preferibile, cfr. figura).
- Prestare attenzione alla corretta posizione del telaio portante inferiore. Il lato aperto deve essere rivolto verso il pannello comandi del piano di cottura.

NOTA: Allentando le viti di fissaggio sul soffitto il telaio portante cui si sono allineato successivamente.
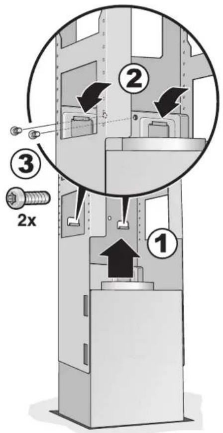
Montaggio della cappa aspirante
1 Agganciare la cappa aspirante da fatto nel telaio portante. Ciò facendoattenzione a non schiacciare il cavo di alimentazione!
2 Con 2 viti di sicurezza fissare la cappa aspirante al telaio portante.


3 Agganciare la staffa di sicurezza ed avvitarla.
4 Collegare il tubo.
5 Eseguire il collegamento elettrico.
Montaggio dei rivestimenti del camino
PERICOLO DI LESIONI!
Il dato interno dei rivestimenti del camino possono presentare spigoli vivi. Per il montaggio consigliamo di indossare quanti protettivi.
1 Separare i rivestimenti del camino. A tal fine staccare il nastro adesivo.
2 Staccare il film protettivo sui due rivestimenti del camino.
3 Disporre le due parti del amino superiore sulla cappa aspirante e unirle sui bordi.
NOTA: Proteggere la cappa aspirante da danni.
Evitare i graffiti sulle delicate superfici!

4 Sollevare la parte superiore del camino e fissarla con 2 viti.

5 Appicare le due parti inferiori del camino e unirle sui bordi.

ManualeFacile