GW12776 - Radio Gewiss - Manuale utente e istruzioni gratuiti
Trova gratuitamente il manuale del dispositivo GW12776 Gewiss in formato PDF.
Domande degli utenti su GW12776 Gewiss
0 domanda su questo apparecchio. Rispondi a quelle che conosci o fai la tua.
Fai una nuova domanda su questo apparecchio
Scarica le istruzioni per il tuo Radio in formato PDF gratuitamente! Trova il tuo manuale GW12776 - Gewiss e riprendi in mano il tuo dispositivo elettronico. In questa pagina sono pubblicati tutti i documenti necessari per l'utilizzo del tuo dispositivo. GW12776 del marchio Gewiss.
MANUALE UTENTE GW12776 Gewiss
Ricevitore RF 8 canali Easy - da incasso
8 channel Easy RF receiver - flush-mounted
Récepteur RF 8 canaux Easy - encasable
Receptor RF 8 canales Easy - empotable
8-Kanal RF-Empfänger Easy - für Unterputzmontage

GW 10776 GW 12776 GW 14776


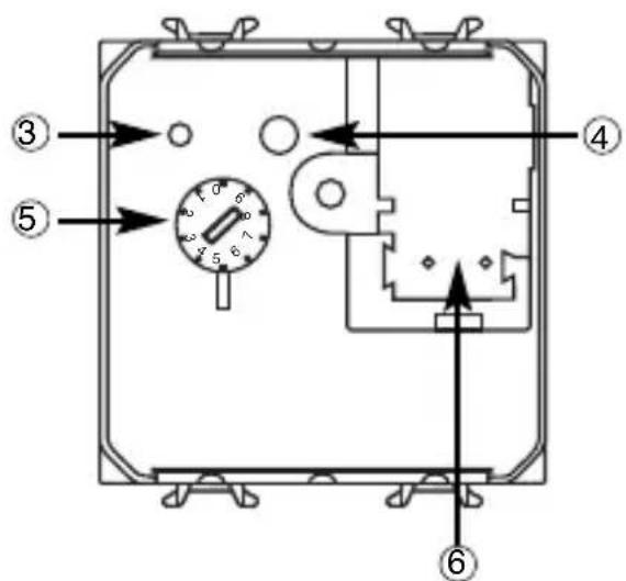
A

Pulsante di localizzazione canali EIB Easy- Easy EIB channel localization button - Bouton de localisation des canaux EIB Easy - Pulsador de localizacion canales EIB Easy - Lokalisierungstaste Kanäle EIB Easy
2 LED multifunzione - Multi-function LED - LED multifonctions - LED multifunción - Multifunktons-LED
3 LED di programmazione - Programming LED - LED de programmation - LED de programacion - Programmier-LED
Tastodiplagrammazione-Programmingkey-Touche deprogrammation- Tecla de programacion-Programmiertaste
5 Selettore rotativo - Rotary selector - Selecteur rotatif - Selector rotativo - Drehschalter
6 Terminali bus - Bus terminal - Borniers bus - Terminales bus - Busanschlüsse

B
INDICE
pag.
AVVERTENZE GENERALI 4
DESCRIZIONEGENERALE 5
INSTALLAZIONE 10
PROGRAMMAZIONE CON UNITÀ BASE EASY 13
IN SERVIZIO 15
DATI TECNICI 16
AVVERTENZE GENERALI
Attenzione! La sicurezza dell'apparecchio è garantita solo attendendosi alle istruzioni qui riportate. Pertanto è necessario leggerle e conservare. I prodotti Chorus devono essere installati conformmente a quanto previsto alla norma CEI 64-8 per gli apparecchi per uso domestico e similare, in ambienti non polverosi e dove non sia necessaria una protezione speciale contro la penetrazione di acqua.
L'organizzazione di vendita GEWISS è a disposizione per chiarimenti e informazioni tecniche.
Gewiss SpA si riserva il diritto di apportare modifiche al prodotto descritto in quello manuale in qualsiasi momento e alla alcun preavviso.
Contenuto della confezione
n. 1 Ricevitore RF 8 canali Easy - da incasso
n.1 Morsetto bus
n. 1 Coperchietto con vite
n. 1 Manuale di installmente e uso
In breve
Il Ricevitore radio 8 canali Easy - da incasso permette ai dispositivi di lavoro e controlo delsystema Chorus RF di comunicare con un sistema KNX/EIB, consentendo di ampliare ilsystema Home Automation EIB Easy con dispositivi di lavoro in radiofrequenza.
Il ricevitore viene visto dalsystema EIB Easy come un'interfaccia di ingresso a 8 canali. A agli canale si possono abbinare fino a 4 diverse sorgenti di lavoro (trasmettitori) RF, consentendoosi di gestire un totale di 32 canali di telecomandi RF (GW 20 963), pulsantiere RF (es.GW 14 803),rivelatore RF di movimento IR con crepuscolare (es.GW 14 811), moduli di ingressso 2 canali RF (es.GW 14 813),etc.
Il ricevitatore è alimentato alla linea bus. Il pulsante frontale viene utilizzato in fase di configurazione per essere i comandi di localizzazione dei canali Easy identificati dalle posizioni (1-8) del selettore rotativo posteriori; allo stesso modo, con il selettore in queste posizioni, il ricevitatore radio è in grado di apprenderere gli abbinamenti con i dispositivi di lavoro RF. Lo stato di configurazione è segnalato dal LED frontale.
Il dispositivoiene posizionato in scatole da incasso standard, montato su supporti della serie Chorus nelle spazio di due moduli.
Funzioni
Ogni canale del ricevitore RF può essere configurato con l'unità base Easy per svolgere, a scelta, una delle seguenti funzioni:
COMMUTAZIONE ON/OFF
Permette la commutazione dell'uscita di un attuatore KNX/EIB.
Per il dato si possono utilizzare due pulsanti del telecomando RF, un tasto della pulsantiera RF (es. GW 14 841), un cronotermostato RF o quello bidirezionale RF (es. GW 14 851), un modulo di ingressi a 2 canali RF o un rivelatore RF di movimento IR con crepuscolare.
GESTIONE DIMMER CON 2 PULSANTI
Consente di gestire degli appearecchi di illuminazione collegati ad un dimmer KNX/EIB. Il funzionamento di agli singolo canale dimmer più essere controllato con un taste della pulsantiera RF, due pulsanti del telecomando RF o con un modulo di ingressso 2 canali RF:
- pressione lunga (>0,5s) : regolazione della potenza luminosa;
- pressione breve (≤0,5 s): accensione o spegnimento totale.
GESTIONE DI TENDE E TAPPARELLE
Consente di azionare tende o tapparelle motorizzate collegate a un attuatore comando motore KNX/EIB.
Il funzionamento di anni singola tends o tapparella cui si serra controllato con un tasto della pulsantiera RF, due pulsanti del telecomando RF o con un modulo di ingresso 2 canali RF:
- pressione lunga (>0.5s) : movimento della tapparella;
- pressione breve ( ≤ 0,5 s): stop, se la tapparella è in movimento; regolazione delle lamelle se la tapparella è ferma e solo se l'attuator è in configurazione "veneziane".
COMANDO ON CON TEMPORIZAZIONE
Consente di attivare un carico elettrico collegato a un attuatore KNX/EIB che si disattivera automaticamente trascorso un tempo prefissato parametrizzabile sull'attuatore.
Per il lavoro si può utilizzare un tasto della pulsantiera RF o del telecomando RF, un modulo di ingressso 2 canali RF o un rivelatore RF di movimento IR con crepuscolare.
GESTIONE SCENARIO
Consente di gestire uno scenario. Lo scenario più essere controllato con un taste della pulsantiera RF o del telecomando RF (due scenari per agli canale) o con un modulo di ingressso 2 canali RF:
- pressione breve (≤3 s): attivazione dello scenario;
- pressione lunga (>3s) : memorizzazione dei nuovi valori di scenario.
INVIO COMANDI PRIORITARI
Mediante i tasti della pulsantiera RF o del telecomando RF o di un modulo di ingressso 2 canali RF è possibile forzare lo stato (ON o OFF fisso, parametrabizzabile a scelta) di un dispositivo KNX/EIB. Questa funzione può essere usata, ad esempio, per mantenere accese delle luci, ignorando eventuali altri comandi di spegnimento. Se non vengono ricevuti altri comandi, al termine della forzatura i dispositivi comandati tornano nella stato precedente l'attivazione della stessa. In caso contrario lo stato assunto è quello corrispondente all'ultimo lavoro ricevuto durante la forzatura.
Comandi inviati sul bus KNX/EIB
In base al tipo di dispositivo RF utilizzato, all'azione compiuta su diesso e alla funzione configurata sul canale KNX/EIB del ricevitore, il ricevitore inviera sul bus KNX/EIB un preciso dato, come lostrato nelle tabelle che seguono.
DESCRIZIONEGENERALE
| Rivelatore di movimento IR crepuscolare RF | |||
| Dispositivo RF Funzione | configurata sul canale EIB del ricevitore | ||
| sensore azione commutazione | modo temporizzato | ||
| IR attivazione - ON | |||
| IR + crepuscolare attivazione - ON | |||
| crepuscolare | attivazione ON ON | ||
| disattivazione OFF OFF | |||
| Cronotermostato RF o cronotermostato RF bidirezionale | |
| Azione del disposativo RF | Funzione configurata sul canale EIB del ricevitore |
| commutazione | |
| accensione impianto ON | |
| spegnimento impianto OFF | |
| Pulsantiera per comandi RF o telecomando RF | ||||
| Dispositivo RF Funzione configurata sul canale EIB del ricevitore | ||||
| canale azione commutazione | dimmer 2 pulsanti | tappar. 2 pulsanti | ||
| superiore o destro | pressione breve | ON ON | stop movimento / regolazione lamelle | |
| pressione lunga | - | incrementa luminosità | muovi tapparella su | |
| inferiore o sinistro | pressione breve | OFF OFF | stop movimento / regolazione lamelle | |
| pressione lunga | - | decrementa luminosità | muovi tapparella giù | |
| canale azione | modo temporizzato | scenario | comando prioritario | |
| superiore o destro | pressione breve | ON | attiva scenario A | attiva forzatura |
| pressione lunga | - | apprendi scenario A | - | |
| inferiore o sinistro | pressione breve | OFF | attiva scenario B | disattiva forzatura |
| pressione lunga | - | apprendi scenario B | - | |
DESCRIZIONEGENERALE
| Modulo di ingressso a 2 canali RF | ||||
| Dispositivo RF Funzione e configurata sul canale EIB del ricevitore | ||||
| canale azione commutazione | dimmer 2 pulsanti | tappar. 2 pulsanti | ||
| 1 (modalità ingressi abbinati) | pressione breve | ON ON | stop movimento / regolazione lamelle | |
| pressione lunga | incrementa luminosità | muovi tapparella su | ||
| 2 (modalità ingressi abbinati) | pressione breve | OFF OFF | stop movimento / regolazione lamelle | |
| pressione lunga | decrementa luminosità | muovi tapparella giù | ||
| 1 e 2 (modalità stato) * | chiusuraicontatto | ON - muovi tapparella su | ||
| aperturaicontatto | OFF - muovi tapparella giù | |||
| 1 e 2 (modalità inversionione | chiusuraicontatto | ciclicaON/OFF | - | - |
| aperturaicontatto | - - - | |||
| 1 e 2 (modalità sempre ON) | chiusuraicontatto | ON - muovi tapparella su | ||
| aperturaicontatto | - - - | |||
| 1 e 2 (modalità sempre OFF) | chiusuraicontatto | OFF - muovi tapparella giù | ||
| aperturaicontatto | - - - | |||
continua nella pagina successiva
DESCRIZIONE GENERALE
| Modulo di ingressso a 2 canali RF | ||||
| Dispositivo RF Funzione e configurata sul canale EIB del ricevitore | ||||
| canale azione | temporizzato | scenario comando prioritario | ||
| 1 (modalità ingressi abbinati) | pressione breve | ON | attiva scenario A | attiva forzatura |
| pressione lunga | apprendi scenario A | - | ||
| 2 (modalità ingressi abbinati) | pressione breve | OFF | attiva scenario B | disattiva forzatura |
| pressione lunga | apprendi scenario B | - | ||
| 1 e 2 (modalità stato) * | chiusura contatto | -- attiva | forzatura | |
| apertura contatto | -- disattiva | forzatura | ||
| 1 e 2 (modalità inversionione) | chiusura contatto | --- | ||
| apertura contatto | --- | |||
| 1 e 2 (modalità sempre ON) | chiusura contatto | ON - attiva | forzatura | |
| apertura contatto | --- | |||
| 1 e 2 (modalità sempre OFF) | chiusura contatto | OFF - disattiva | forzatura | |
| apertura contatto | --- | |||
*Il messaggio RF e di seguenza il telegramma KNX/EIB vengono ripetiologi 10 minuti

ATTENZIONE: l'installazione del dispositivo deve essere effettuata esclusivamente da personale qualificato, segendo la normativa vigente e le linee guida per le installazioni KNX/EIB.
Avvertenze per l'installazione KNX/EIB
- La lunghezza della linea bus tra il ricevitore RF 8 canali Easy e l'alimentatore non deve superare i 350 metri.
- La lunghezza della linea bus tra il ricevitore RF 8 canali Easy e il più lontano dispositivo KNX/EIB da comandare non deve superare i 700 metri.
- Per evitare segnali e sovratensioni non voluti, non dar vita se possibile a circuiti ad anello.
- Mantenere una distanza di almeno 4mm tra i cavi singolarmente isolati della linea bus e quelli della linea elettrica (figura C).
- Non danneggiare il conduttore di continuità elettrica della schermatura (figura D).

ATTENZIONE: i cavi di segnale del bus non utilizzati e il conduttore di continuità elettrica non devono mai toccare elementi tanto tensione o il conduttore di terra!
Avvertenze per un buon collegamento radio
- Installare il ricevitore in una posizione "centrale" rispetto ai vari dispositivi RF che deve ricevere.
- Installare il ricevitore lontano da potenziali fonti di disturbi elettromagnetic, come motori elettrici, contatori di elettricità, elettrodomestici.
- Non installare il ricevitore vicino o dietro superfici metalliche.
- Non installare il ricevitore all'interno di quadri elettrici in metallo o di scatole di derivazione incassate in muri di cemento armato.
Concessioni elettriche
La figura B在哪的 schema delle connessioni elettriche.
- Connettere il filo rosso del cavo bus al morsetto rosso (+) del terminale e il filo nero al morsetto nero (-). Al terminale bus si possono collegare fino a 4 linee bus (fili dello stesso colore nelle stesso morsetto) (figura E).
- Isolare lo schermo, il conduttore di continuità elettrica e i rimanenti fili bianco e giallo del cavo bus (nel caso in cui si utilizi un cavo bus a 4 conduttori), che non sono necessari (figura D).
- Inserire il morsetto bus negli apposti piedini del dispositivo. Il corretto senso di insertizione è determinato delle guide di fissaggio. Isolare il morsetto bus usingo l'apposto coperchietto, che deve essere fissato al dispositivo con la sua vite. Il coper chietto garantisce la separazione minima di 4 mm tra i cavi di potenza e i cavi bus (figura F).
Inizializzazione con unità base Easy
- Alimentare il disposativoattraverso il bus.
-
Far acquire il disposativo dalsystema con una delle seguenti procedure:
-
Acquisizione automatica (il dispositivo ha alcora le impostazioni di fabbrica):
- scegliere nell'unità base Easy il menu "Applicazione → Nuova funzione" o "Applicazione → Edita funzione": il dispositivo viene riconosciuto automaticamente.
-
Acquisizione manuale (le impostazioni di fabbrica sono state modificate):
-
scegliere nell'unità base Easy il menu "Applicazione →Cerca dispositivo";
- premere brevamente (< 2 secondi) il tasto di programmazione. Il LED di programmazione si illuminerà durante il processo di acquisizione (figura A).
Il disposizione acquisito dall'unità base Easy viene elencato, con il numero assegnato, nei canali dei menu "Applicazione Nuova funzione" o "Applicazione Edita funzione".
Apprendimento dei canali RF
Per memorizzare gli abbinamenti tra i dispositivi trasmettitori RF e il ricevitore fare quanto segue:
- Portare il selettore rotativo posteriore del ricevitore in posizione 1: il LED frontale si accende (rosso) per segnalare che il ricevitore è pronto a ricevere un messaggio RF di apprendimento da memorizzare.
INSTALLAZIONE
- Agire sul disposativo che si intende abbinare secondo quando descritto nel relativo foglio di istruzioni, in modo da generate il messaggio di lavoro desiderato. Il LED si spegne per segnalare che il messaggio RF è stato appreso.
- Dopo 5 secondi il LED si riaccende ed è possibile memorizzare un altro messaggio RF, ripetendo il punto 2. Se il LED lampeggia (rosso) significa che la memoria è piena (4 trasmettitori memorizzati sullo stesso canale) e che pertanto è necessario passare ad un altre canale.
- Se necessario, portare il selettore rotativo sulla posizione successiva (2, 3 ... 8) e ripetere la procedura dal punto 2 per memorizzare gli altri trasmettitori. ATTENZIONE: non portare il selettore rotativo in posizione 9.
- Dopo aver memorizzato tutti i trasmettitori necessari, portare il selettore rotativo in posizione 0 per il funzionamento ordinario. In questa posizione il LED del ricevitore effettua un breve lampeggio verde agli volta che riceve un messaggio proveniente da un dispositivo RF più appreso.
Cancellazione dei canali RF appresi
Per cancellare gli abbinamenti memorizzati nei vari canali RF portare il selettore rotativo in posizione 9: il LED frontale lampeggia per 10 secondi (giallo) e quando rimane accesso fisso (giallo) ad indicate l'avvenuta cancellazione degli abbinamenti di tutti i canali. Per interrompere la procedura di cancellazione basta spostare il selettore rotativo in另一zza posizione prima che il LED smetta di lampeggiare.

ATTENZIONE: non è possibile la cancellazione selettiva: l'operazione di cancellazionechestra un nuovo apprendimento di tutti i trasmettitori RF necessari.
Completamento
Inserire il dispositivo in un supporto Chorus, facendo attenzione che il pulsante di localizzazione dei canali EIB Easy si trovi a sinistra.
Completare eventually il supporto con altri dispositivi Chorus o coprifori e fissarlo al contentitore prescelto (scatola da incasso, scatola da parete, etc.).
Applicare la placca di finitura.
PROGRAMMAZIONE CON UNITÀ BASE EASY
Programmare i canali tramite l'unità base Easy (codice GW 90 831).
Il canale da utilizzare più essere selezionato, a scelta:
- azionando il dato RF (nel caso in cui l'associazione dei canali RF e KNX/EIB, descritta nel paragrafo Apprendimento dei canali RF, sua giornata effettuata): il canale verrà evidenziato nell'élenco dei canali dei menu "Applicazione →Nuova funzione" o "Applicazione →Edita funzione" del configuratore e il LED frontale del ricevitore farà un lampeggio verde;
- portando il selettore rotativo sul numero di canale da programmare e premendo il pulsante frontale del ricevitore: il canale verrà evidenziato nell'elenco dei canali dei menu "Applicazione Nuova funzione" o "Applicazione Edita funzione" del configuratore e il LED frontale del ricevitore farà un lampeggio verde;
- direttamente dall'elenco dei canali dei menu "Applicazione Nuova funzione" o "Applicazione Edita funzione".
Dopo la selezione del dispositivo è possibile create le funzioni.
| Nomi delle funzioni sull'unità base Easy | |
| commutazione lavoro | ON/OFF |
| modo temporizzato | comando ON con temporizzazione (il tempo viene impostato sull'attuatore) |
| scenario lavoro gestione | e degli scenari |
| comando prioritario invio | comandi prioritari |
| dimmer 2 pulsanti | comando gestione dimmer con 2 pulsanti |
| tappar. 2 pulsanti | comando gestione di tapparelle o veneziane con 2 pulsanti |
Nella tabella successiva sono riportate le funzioni dell'unità base da utilizzare a seconda del disposativo RF scelto.
Per ulteriori informazioni sulle procedure di programmazione fare riferimento alla
| Funzione Rilevatore | RF di movimento IR crepuscolare | Pulsantiera per comandi RF o telecomando RF | Cronotermostato RF o cronotermostato RF bidirezionale | Modulo di ingressso a 2 canali RF |
| commutazione | ■ | ■■■ | ||
| modo temporizzato | ■■■■ | |||
| scenario | ■ | ■ | ||
| comando prioritario | ■ | ■ | ||
| dimmer 2 pulsanti | ■ | ■ | ||
| tappar. 2 pulsanti | ■ | ■ |
documentazione dell'unità base Easy.
Parametri di configurazione (Easy)
Dopo la creazione della funzione desiderata è possibile impostare i parametri di funzionamento del dispositivo dal menu "Applicazione Impostazioni parametri". I parametri disponibili, in relazione alla funzione realizzata, sono elencati nelle tabelle sottoriportate.
Il valore sottolineato indica il valore di default.
| Funzione: scenario | |
| Parametro: numero scenario A - numero scenario B | |
| 1 attivazione scenario 1 (chiusura prolongata: memorizzazione scenario) | |
| 2 attivazione scenario 2 (chiusura prolongata: memorizzazione scenario) | |
| 3 attivazione scenario 3 (chiusura prolongata: memorizzazione scenario) | |
| 4 attivazione scenario 4 (chiusura prolongata: memorizzazione scenario) | |
| 5 attivazione scenario 5 (chiusura prolongata: memorizzazione scenario) | |
| 6 attivazione scenario 6 (chiusura prolongata: memorizzazione scenario) | |
| 7 attivazione scenario 7 (chiusura prolongata: memorizzazione scenario) | |
| 8 attivazione scenario 8 (chiusura prolongata: memorizzazione scenario) |
| Funzione: lavoro prioritario | |
| Parametro: lavoro prioritario | |
| off/su off e su prioritari on/giù on e giù prioritari | |
| Funzione: dimmer 2 pulsanti |
| Parametro: funzione pulsante |
| su aumento luminosità, accensione giù diminuzione luminosità, spegnimento |
| Funzione: tappar. 2 pulsanti |
| Parametro: funzione pulsante |
| su sollevamento veneziane, regolazione lamelle giù abbassamento veneziane, regolazione lamelle |
IN SERVIZIO
Comportamento alla caduta e al ripristino dell'alimentazione bus
Alla caduta dell'alimentazione bus il dispositivo non compie nessuna azione. Il dispositivo è pienamente operativo al ripristino dell'alimentazione bus.
Manutenzione
Il disposativo non necessita di manutenzione. Per un'eventuale pulizia adoperare un panno asciutto.
DATI TECHNICI
| Comunicazione | Bus KNX/EIB |
| Frequenza comunicazione RF | 868 MHz |
| Alimentazione | Tramite bus KNX/EIB, 29 V dc SELV |
| Cavo bus | KNX/EIB TP1 |
| Assorbimento corrente dal bus | 15 mA max |
| Elementi di commando | 1 tasting miniatura di programmazione |
| 1 pulsante frontale per configurazione KNX/EIB | |
| 1 selettore rotativo 10 posizioni: | |
| 0 →funzionamento ordinario | |
| 1...8 → apprendimento e localizzazione canali | |
| 9 →cancellazione | |
| Elementi di visualizzazione | 1 LED rosso di programmazione |
| 1 LED multifunzione (rosso-verde-giallo) | |
| per appendimento e localizzazione | |
| Ambiente di utilizzo | Interno, luoghi asciutti |
| Temperatura di funzionamento | -5 ÷ +45 °C |
| Temperatura di stoccaggio | -25 ÷ +70 °C |
| Umidità relativa | Max 93% (non condensante) |
| Connessione al bus | Morsetto ad innesto, 2 pin Ø 1 mm |
| Grado di protezione | IP20 |
| Dimensione | 2 moduli Chorus |
| Riferimenti normativi | Direttiva bassa tensione 2006/95/CE |
| Direttiva compatibilità elettromagnetica 89/336/CEE, R&TTE 99/05/CEE, EN50428, EN50090 | |
| Certificazioni | KNX/EIB |
CONTENTS
GENERAL INFORMATION 18
GENERAL DESCRIPTION 19
INSTALLATION 24
PROGRAMMING WITH THE EASY BASE UNIT 27
IN SERVICE 29
TECHNICAL DATA 30
GENERAL INFORMATION
① Connessione dispositivo bus
Bus device connection - Connexion dispositif bus - Conexión dispositivo bus Anschluss Busvorrichtung
② Connessione cavo bus
Bus device connection - Connexion cable bus Conexión cable bus - Anschluss Buskabel

F

Ai sensi dell'articolo 9 comma 2 della Direttiva Europea 2004/108/CE si informa che responsabile dell'immissione del prodotto sul mercato Comunitario e: According to article 9 paragraph 2 of the European Directive 2004/108/EC, the responsible for placing the apparatus on the Community market is: GEWISS S.p.A Via A. Volta, 1 - 24069 Cenate Sotto (BG) Italy Tel: +39 035 946 111 Fax: +39 035 945 270 E-mail: qualitymarks@gewiss.com


+39 035 946 111
8.30 - 12.30 / 14.00 - 18.00
lunedi ÷ venerdi - monday ÷ friday

+39 035 946 260

ManualeFacile