CALIFORNIA STONE - Moto MOTO GUZZI - Manuale utente e istruzioni gratuiti
Trova gratuitamente il manuale del dispositivo CALIFORNIA STONE MOTO GUZZI in formato PDF.
Domande degli utenti su CALIFORNIA STONE MOTO GUZZI
0 domanda su questo apparecchio. Rispondi a quelle che conosci o fai la tua.
Fai una nuova domanda su questo apparecchio
Scarica le istruzioni per il tuo Moto in formato PDF gratuitamente! Trova il tuo manuale CALIFORNIA STONE - MOTO GUZZI e riprendi in mano il tuo dispositivo elettronico. In questa pagina sono pubblicati tutti i documenti necessari per l'utilizzo del tuo dispositivo. CALIFORNIA STONE del marchio MOTO GUZZI.
MANUALE UTENTE CALIFORNIA STONE MOTO GUZZI
Le illustrazioni e descrizioni di quello opuscolo si intendono fornite a titoloindicativo. La Casa si riserva pertanto il diritto di apportare ai motocicli, in qualsiasi momento e alla sua visso, delle modifiche che ritenesse utili per il miglioramento o per qualsiasi esigenza di carattere costruttivo e commerciale.
Vendita - Assistenza - Ricambi: consultare le

MOTO GUZZI S.p.A. - Servizio Publicazioni Tecniche - Cod. 03 90 00 46 Printed in Italy - DECA - Ravenna - 05/2001
Egregio CLIENTE
Innanzutto La ringraziamo per aver dato la Susa preferenza al nostro prodotto.
Seguendo le istruzioni indicate in questa publicazione tecnica, assicurera alla Sua motocicletta una lunga durata sanza inconvenienti.
Prima de uso, La consiglio de leggere completeness la presente pubblicazione al fine di conoscere le caratteristiche del veicolo e soprattutto como manovrarlo con sicurezza.
Per le operazioni di controllo e revisione è necessario rivolgersi ai nostri concessionari i quali garantiranno un lavoro razionale e sollecito.
Riparazioni e regolazioni non effettuate durante il periodo di garanzia alla notre di assistenza potrebbero annullare la garanzia stessa.
Dear rider
IMPORTANTE - Allo scopo di rendere lagettura di immediata comprenzione i paragrafi sono stati contraddistinti da illustrazioni schematiche che evidenziano l'argomento trattato.
In questo manuale sono state riportate note informative con significativi particulari:

Norme antinfortunistiche per l'opercatore e per chi opera nelle vicinanze.

Esiste la possibilità di arrecare danno al veicolo e/o ai loro componenti.

Ulteriori notizie inerenti I'operazione in corso.
8 Caratteristica generali
20 Dati di identificazione
24 Apparecchi di controllo e comandi
56 Uso del motociclo
62 Rodaggio
66 Manutenzioni e regolazioni
82 Smontaggio ruote dal veicolo
94 Programma di manutenzione
98 Pulizia - rimessaggio
102 Norme per la pulizia del parabrezza (se montato)
104 Lubrificazioni
118 Distribuzione
122 Sistema iniezione-accensione WEBER (I.A.W. 15M)
142 Impiano elettrico
162 Schema impianto elettrico
CONTENTS
Disposizione cilindri a «V» di 90^
Alesaggio mm 92
Corsa mm 80
Cilindrata totale cc 1064
Rapporto di compressione 9,5:1
Coppia massima .... kgm 9,6 (94 Nm) a 5000 giri/min.
Potenza massima .... CV 74 (Kw 54) a 6400 giri/min.
Distribuzione
Adaste e bilancieri e 2 valvole per cilindro. Un albero a camme nel basamento comandato da catena duplex con tendicatena automatico.
Alimentazione
Iniezione elettronica indiretta, sequenziale fasata MAGNETI MARELLI IAW 15 Msystema "Alfa-N", N^2 corpi farfallati 40mm con iniettori Weber IW031, pompa elettrica con regolatore di pressione, gestione digitale dei tempi di iniezione ottimizzata.
Impianto scarico
In acciaio inox - 2 tubi collegati ad una camera di espansione e a due silenziatori.
Lubrificazione
Sistema a pressione con pompa ad ingranaggi.
Filtri a rete ed a cartuccia montati nella Coppa del basamento.
Pressione normale di lubrificazione kg/cmq 3,8÷ 4,2 (regolata da apposita valvola montata nella Coppa del basamento).
Trasmettitore elettrico per segnalazione insufficiente pressione situato sul basamento.
Generatore alternatore
Montato sulla parte anteriore dell'albero motore.
Potenza di uscita: 350W a 5000 giri/min. (14V - 25A).
Accensione
Elettronica digitale a scarica induttiva "MAGNETI MARELLI".
Candele di accensione: NGK BPR 6 ES.
Distanza tra gli elettrodi delle candele: mm 0,7.
Bobine di accensione: n.2 montate sul telaio.
Avviamento
Elettrico mediante motorino avviamento (12 V - 1,2 KW) munito di innesto a lavoro elettromagnetico. Corona dentata fissata al volano motore.
Comando a pulsante (START) «(j)» posto sul lato destro del manubrio.
Trasmissioni
Frizione
Tipoa secco a due dischi condotti. E' posta sul volano motore. Comando mediante leva sul manubrio (lato sinistro).
Transmission primaria
Ad ingranaggi elicoidali, rapporto 1:1,2353 (Z=17/21).
Cambio
A cinque marce con ingranaggi sempre in presa ad innesto frontale. Parastrappi incorporato.
Comando con leva a pedale posta sul lato sinistro del veicolo.
Rapporti cambio:
1^a marcia = 1:2 (Z = 14 / 28)
2^a marcia = 1:1,3889 (Z=18/25)
Ad albero con giunto cardanico ed ingranaggi.
Rapporto: 1:4,125 (Z=8/33)
Rapporti totali (motore-ruota):
1^a marcia = 1:10,1912
2^a marcia = 1 : 7,0772
3^a marcia = 1 :5,3382
4^a marcia = 1 : 4,4309
5^a marcia = 1 : 3,8217
Telaio
Tubolare a doppia culla scomponibile in acciaio ad alto limite di snervamento.
Sospensioni
Anteriore: forcella telescopia idraulica «MARZOCCHI 045 mm».
Posteriore: forcellone oscillante condue ammortizzatori idraulici SACHS-BOGE regolabili nel precarico molla.
Quote
A raggi con cerchi in acciaio nelle misure:
- anteriore: 18"x2,50-B-40H2-TDOT oppure 18x2,50 B-40 H2-TC e DOT
- posteriore: 17"x3,50-B-40H2-T DOT oppure 17x3,50 B-40 H2-TR e DOT
Pneumatici
- anterioe: 110/90 - 18 - 61H/61V/61VB
- posteriore: 140/80 - 17 - 69H/69V/69VB
Freni
Anteriore: monodisco semiflottante "BREMBO" in acciaio inox con pinza fissa a 4 pistoncini differenziati.
Comando con leva a mano posta sul lato destro del manubrio.
- disco 320mm
- Ø cilindro fremante 30/34 mm;
- pompa 13mm
10
Posteriore: a disco fisso con pinza flottante a 2 pistocini paralleli. Comando con leva a pedale posta al centro sul lato destro del veicolo;
- disco 282 mm;
- Ø cilindro frenante 30/32 mm;
- pompa 16 mm.
Ingombri e peso
Passo (a carico) m 1,560
Lunghezza massima (senza bauletto) m 2,355
Larghezza massima m 0,850
Altezza massima (senza parabrezza) m 1,150
Altezza sella pilota m 0,770
Altezza minima da terra m 0,165
Peso (a secco) kg 246.
Rifornimenti
| Parti da rifornire | Litri | Prodotti da impiegare |
| Serbatoio carburante (riserva lt 4 circa) | 19 ca. | Benzina super (97 NO-RM/min.) Benzinaenza piombo (95 NO-RM/min.) |
| Coppa motore | 3 | Olio «Agip 4T SUPER RACING SAE 20W/50» |
| Scatola cambio | 0,750 | Olio «Agip Rotra MP SAE 80 W/90» |
| Scatola trasmissione (lubrificazione coppia conica) | 0,250 di cui 0,230 0,020 | Olio «Agip Rotra MP SAE 80 W/90» Olio «Agip Rocol ASO/R» o «Molykote tipo A» |
| Forcella telescopia (per gamba) | 0,560 | Olio per ammortizzatori (SAE 10) |
| Impiano frenante anteriore e posteriore | — | Fluido «Agip Brake Fluid - DOT 4» |
Prestazioni
Velocità massimaenza accessori con il solo pilota a bordo: Km/h 200 (Norma CE)
Consumo carburante: litri 5 per 100km (norme CUNA).

N.B.-Il motoveicolo più essere equipmentsaggiato a richiesta con parabrezza che consente una可供e contraveole, e borse asportabili di notevole in cicità.
Tutti quosti volumi comportano pero una limitazionne all'aerodinamica del veicolo. E' consigliabilepertanto, specie in condizioni di carico massimo, non superare la velocità di 130Km / h circa.
SPECIFICATIONS
Engine
20 DATI DI IDENTIFICAZIONE (fig. 2)
Ogni veicolo è contraddistinto da un numero di identificazione impressiono sulla pipa del telaio e sul basamento motore.
Il numero impresso sulla pipa del telaio è riportato sul libretto di circolazione e serveagli effetti di legge per l'identificazione del motocicchio stesso.
In caso di sostituzione di particulari, chiedere ed assicurarsi che siano impiegati esclusivamente «Ricambi Originali Moto Guzzi».
L'uso di ricambi non originali annulla il diritto alla garanzia.
Spare Parts
Always use approved «Moto Guzzi Original Spares» only when replacing or repairing parts.
Quadro di controllo (fig. 3)
1 Commutatore a chiave per inserimento utilizzatori e bloccasterzo.
Posizione OFF «» veicolo fermo. Chiave estraibile (nessun dato);
Posizione ON «Q» veicolo pronto per l'avviamento. Tutti gli utilizzatori sono inserti. Chiave non estraibile; Posizione LOCK «E» sterzo bloccato. Motore spento, nessun contatto, chiave estraibile.
Posizione P «P» sterzo Bloccato. Motore spento; con l'interruttore «A» di fig. 5 in posizione «S» si ha la luce di parcheggio. Chiave estrabile.

INSTRUMENTS AND CONTROLS
Control panel (fig. 3)
Per azionare il dispositivo bloccasterzo operare come segue:
■ Ruotare il manubrio verso sinistra.
Premere la chiave verso il basso e rilasciarla, quindi ruotarla in senso antiorario sino alla posizione LOCK «O» o P «P’.
ATTENZIO ne LOCK
ATTENZIONE: non girare la chiave in posizione LOCK «@» o P «P»» durante la marcia.
2 Tachimetro contachilometri.
3 Spia (luce verde) «Neutral». Si accende con il cambio in folle.
4 Spia (luce rossa) erogazione corrente del generatore. Si deve spagnere appena il motore ha raggiunto un certo numero di giri.
5 Spia (luce arancio) riserva carburante.
6 Spia (luce verde) indicatori di direzione.
7 Spia (luce rossa) pressione olio. Si spegne quando la pressione è sufficiente ad assicurar la lubrificazione del motore.
8 Spia (luce bleu) luce abbagliante.
9 Azzeratore per contachilometri parziale.
28 Interruttori comando luci (figg. 4 e 5)
Sono montati sui lati del manubrio.
Interruttore «A» (fig. 5)
Posizione «●» luci spente.
Posizione «» luci di parcheggio.
Posizione « » accensione lampada biluce.
Interruttore «A» (fig. 4)
Con l'interruttore «A» di fig. 5 in posizione « ※ ».
Posizione «D» luce anabbagliante.
Posizione « 口 » luce abbagliante.
Posizione « ID» lavoro e sprazzo.
30 Pulsante per avvisatore acustico, passing e interrottore comando lampegliatori (fig. 4)
Sono montati sul lato sinistro del manubrio:
Pulsante B (b) commande avvisatore acustico.
Pulsante C:
Posizione «→» lavoro lampeggiatori destri.
Posizione ««» lavoro lampegliatori sinistri.
Premere l'interruttore per disinserire i lampegliatori.
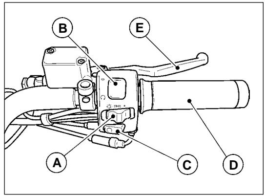
32 Pulsante avviamo ed interrottore di fermo motore (fig. 5)
Sono montati sul lato destro del manubrio.
Con chiave «1» di fig. 3 in posizione ON « », il veicolo è primo per l'avviamento.
Per avviare il motore operare come segue:
accertarsi che l'interruttore «B» sia in posizione (run);
■ tirare a fondo la leva della frizione;
se il motore è freddo portare la levetta «D» «CHOKE» in posizione di avviamento «1» (vedi fig. 4);
■ premere il pulsante di avviamento «C» «(j)» (start).
Per fermare il motore in caso di emergenza, occorre:
spostare l'interruttore «B» in posizione (off).

Fermato il motore, ruotare la chiave del commutatore di fig. 3 in senso antiorario fino alla posizione OFF «» ed estrarre la chiave dal commutatore.
Ricordarsi sempre di rimettere l'interruttore «B» in posizione (RUN) prima dell'avviamento.
La manopola dato gas è situata sul lato destro del manubrio; ruotandola verso il pilota après il gas; ruotandola in senso inverno lo chiude.
Throttle twist grip («D» in fig. 5)
Leva commande frizione («E» di fig. 4)
E'situata sul lato sinistro del manubrio; va azionata solo alla partenza e durante I'uso delchio.
Clutch lever («E» in fig. 4)
E' situata sul lato destro del manubrio; comanda la pompa del freno idraulico anteriore destro.
La leva commando dispositivo di avviamento a motore freddo (CHOKE) è situata sul lato sinistro del manubrio:
«1» posizione di avviamo.
«2» posizione di marcia.
Pedale commande freno posteriori
(«A» di fig. 16)
Si trov a centro sul lato destro del veicolo ed è collegato a mezzo tirante al gruppo pompa.
E' una doppia leva a bilanciere, si trova al centro sul lato sinistro del motociclo:
1a marcia, pedalino anteriore verso terra;
2^a, 3^a, 4^a 5^a marcia, pedalino posteriore verso terra;
folle,tra la 1^a e la 2^a marcia.
ATTENZIONE! Prima di azionare la leva commandochio, bisognatirare a fondo la leva della frizione.
Gear change pedal (fig. 6)
Per aprire il tappo del serbatoio carburante, ruotare la chiave in senso antiorario.
N.B. Eventuali fuoriuscite di carburante all'at to del rifornimento, dovranno essere immediatamente eliminare per evitare danni permanenti alla vernice del serbatoio.
ATTENZIONE! Dopo agli rifornimento accer-tarsi sempre che il tappo sia perfettamente posizionato e chiuso.
Fuel filler cap (fig. 7)
42 Rubinetto elettrico carburante (fig. 8)
Il motoveicolo è equipaggiato con un rubinetto elettrico «A» montato sul lato sinistro sotto al serbatoio, che opera automaticamente, interrompendo il flusso del carburante al gruppo farfallato quando il motore non è in moto.
Entra in azione quando la chiave del commutatore «1» di fig. 3 è in posizione ON « ».
In caso di inefficenza del rubinetto, verificare innanzitutto lo stato del fusabile «1» di fig. 9.
Electric fuel cock (Fig. 8)
4 4 Morsettiera porta fusibili (fig.9)
Si trov a centro sul lato destro del motociclo; per accedervi occorre togliere il coperchio laterale ed eventualmente la sella anteriore.
Sulla morsettiera sono montati n. 6 fusibili.
Prima di sostituire il fusibile o i fusibili occorre eliminare il guasto che ne ha determinato la fusione.
Fusibile «1»: ricarica batteria.
Fusibile «2»: commutatore a chiave.
Fusibile «3»: luce abbagliante, anabbagliante, avvisatore acustico.
Fusibile «4»: indicatori direzione, luce di posizione.
Fusibile «5»: ECU
Fusibile «6»: pompa, bobina, iniettori.
Fuse box (fig. 9)
46 Ammortizzatore di sterzo (fig. 10)
E' montato sul lato sinistro del motoveicolo tra il telaio e la base di sterzo.
Per aumentare o ridurre l'effetto frenante, occorre avvitare o svitare il dato «A».
La sua azione contribuisce a rendere lo sterzo più preciso e più stabile, migliorando la guidabilità del motociclo in agli condizione.
Steering damper (fig. 10)
Per sganciare le borse laterali e il bauletto posteriori dai技术支持, tirare la levetta «A» del dispositivo di fissaggio dopo aver sbloccato la serratura con la relativa chiave. Per aprire i coperchi sollevare la serratura «B» dopo averla sbloccata con la chiave.
N.B. - Il carico massimo consentito per agli borsa laterale è di kg 10; in agli caso è opportuno che il carico sia uniformamente ripartito tra le 2orse.
Il carico massimo consentito per il bauletto posteriore è di kg 5.

50 Dispositivo bloccaggio sella (fig. 12)
La sella del pilota è bloccata da un apposto dispositivo «A» azionatotramiteuna trasmissione flessibile dallalevetta «B» inserta nel dispositivo portacasco «C».
Per sganciare la sella occorre tirare la levetta «B» verso il basso dopo averla sbloccata agenda sulla serratura del portacasco «C».
Per agganciare la sella, occorre infilarla nella sua sede sul telaio, premere su diessa, bloccare infine la leva «B». La sella del passeggero è fissa.
Saddlelock (fig. 12)
Il casco più essere lasciato sul motociclo usfurende dell'apposto disposativo con serratura «C».
N.B. - non lasciare mai il casco appeso al dispositivo durante la marcia, per evitare eventuali interferenze con parti in movimento.
Helmet holder (fig. 12)
Vano per documenti e attrezzi
(A) di fig. 13
Per accedervi occorre togliere la sella del pilota (vedi Fig. 12).
54 Braccio laterale sostegnomotociclo
(A) di fig. 14
Il motocchio è equipaggiato con un braccio che ha la funzione di sostegno laterale di parcheggio.
Quando il braccio è in posizione di parcheggio (tutto fuori), il microinterrutture «B» aziona un teleruttore che interrompe l'erogazione di corrente al motorino avviamento; in tali condizioni non è possibile avviare il motore.
Side stand («A» in fig. 14)
Controllo prima della messa in moto Controllare che:
■ nel serbatoio vi sua sufficiente quantita di carburante;
I'olio nella Coppa del basamento sua a giusto livello;
la chiave sul commutatore di accensione sua in posizione ON «@» (vedere fig. 3);
■ le seguenti spie siano illuminate:
rosse: insufficiente pressione olio, insufficiente tensione generatore;
— verde:indicatorecambioinfolle《NEUTRAL》;
■ il lavoro «CHOKE» a motore freddo sa in posizione di avviamento («1» di fig. 4);
I'interruptto di fig. 5 sua in posizione (run).
Avviamo a motore freddo
Dopo i suddetti controli, tirare a fondo la leva della frizione e premere il pulsante avviamento (C «j») di fig. 5).
Avviato il motore, prima di riportare la levetta dato «CHOKE» in posizione di marcia («2» di fig. 4), lasciare girare il motore a vuoto e a basso regime per quale secondo nella stagione calda e miglior che minuto nella stagione fredda.
Cold start
After making the above checks, engage the clutch and press the button (C «f» in fig. 5).
ATTENZIONE! - Se con commutatore di accensione inserto (vedi ON «♀» di fig. 3), la spia «verde» sul cruscotto non si illumina, segnala che ilchio ha una marcia innestata; l'avvamento del motore in tali condizioni cui quod assere pericoloso; è sempre bene, prima dell'avvamento accertarsi che ilchio sa ia effettivamente in posizione di «folle».
Avviamento a motore caldo
Come a motore freddo, salvo che non occorre portare la levetta dato «CHOKE» in posizione di avviamento («1» di fig. 4).
ATTENZIONE! - Il motorino di avviamento non deve essere azionato per altre 5 secondi; se il motore non parte, attendere 10 secondi prima di eseguire il successivo avviamento. In agli caso agire sul pulsante di azionamento C «(f)» di fig. 5 solo a motore fermo.
In marcia
Per cancellare marcia, chiudere il gas, azionare a fondo la leva della frizione ed innestare la successiva marcia; rilasciare dolcamente la leva della frizione e contemporaneamente accelerare.
Il pedale di lavoro cambio va azionato con decisione accompagnandolo con il piede.
Quando si passa alle marce inferiori usate gradualmente i freni e la chiusura della manopola dato gas, onde evitare di mandare fuori giri il motore, nel momento del rilascio della leva dato frizione.
Chiudere il gas, agire sulle leve commande freni e solo quando si è quasi fermi tirare a fondo la leva della frizione. Questa manovra va eseguita con molta coordinazione per mantenere il controllo del motociclo.
Per una riduzione normale di velocità con l'uso appropriato delchio,utilizzare il freno motore facendo attenzione a non mandare fuori giri il motore.
Su strade bagnate e sdrucciolevoli, fare attenzione all'uso dei fremi e particolaremente all'uso del fremo anteriore.
Per fermare il motore, portare la chiave del commutatore in posizione OFF «» (vedere fig. 3).
Parcheggio
Per sosto in strade non sufficientemente illuminate, è necessario lasciare accese le lui di parcheggio.
Occorre portare la chiave del commutatore, in posizione P «P» (vedere fig. 3) e l'interruttore lui «A» di fig. 5 in posizione «»; indi sfilare la chiave dal commutatore.
IMPORTANTE Non lasciate l'interruttore su « ≥ 0 » per tempi troppo lunghi, diversamente la batteria si scariche- rà.
Durante il periodo di rodaggio osservare le seguenti norme:
■ Prima di partire, riscaldare accuramente il motore lasciandolo girare a vuoto ed a basso regime per un periodo variabile in funzione della temperatura ambiente.
Evitare di superare i regimi (giri/1') di rodaggio nelle riportati tenendo tuttavia presente che, pur attenendosi ai giri prescritti in funzione dei km percorsi, è ottima norma non marciare a regime costante ma variate frequentemente la velocità.
■ Prima di fermarsi, rallentare progressivement per evitare di sottoporre i gruppi a repentini sbalzi di temperatura.
- Tenere presente che un perfetto assestamento dei componenti, che permetta di sfruttare in piano e per periodi prolongati il motociclo, si ha solo dopo diverse migliaia di km.
Dopo i primi 500÷ 1500 km
Sostituire l'olio per la lubrificazione del motore. Nel caso che, prima di raggiungere i 500÷ 1500km I'olio dovesse scendere al livello minimo, anzichè eseguire il rabbocco occorre effettuare la sostituzione. Lubricante prescritto: «Agip 4T SUPER RACING SAE 20W/50»
Sostituire I'olio per la lubrificazione delchio.
Sostituire l'olio per la lubrificazione della scatola trasmissione.
Controllare la chiusura di tutte la bulloneria.
Ripristinare il giuoco alle punterie.
Controllare la pressione pneumatici.
REGIMI (GIRI/1') DI RODAGGIO
| Km da percorrere | Regime (giri/1') da non superare |
| Da 0 a 1000 | 5000 |
| Da 1000 a 2000 | 6000 |
| Da 2000 a 4000 | Aumentare gradualmente i regimi di giri sopra indicati, fino a raggiungere i massimi consentiti. |
RUNNING-IN
MANUTENZIONI E REGOLAZIONI
Regolazione leva frizione (fig. 15)
Regolare il giuoco tra leva e attacco sul manubrio; se superiore o inferiore a 3 ÷ 4 mm agire sulla ghiera «A» sino a che il giuoco sia quello prescritto.
La regolazione può essere effettuataanche sul tendifilo «B» dopo aver allentato il controdo «C» situato sul lato destro della scatolachio.
MAINTENANCE AND ADJUSTMENTS
68 Regolazione pedale lavoro freno posteriori (fig. 16)
Nel caso si voglia variate la posizione del pedale di lavoro «A» operare come segue:
■ levare la copiglia «B», sfilare la spina «C», allentare il controdado «D» ed avvitare o svitare il forcellino «E» sino ad ottenere la posizione desiderata del pedale di lavoro;
■ rimontare la spina «C» con la relativa copiglia «B».
Ogni 3000 km controllare lo spessore delle pastiglie fremi:
Spessore minimo del materiale d'attrito mm. 1,5.
Se lo spessore minimo del materiale d'attrito è inferiore al suddetto valore, è necessario cancellare le pastiglie. Dop la sostituzione non occorre eseguire lo spurgo degli impianti frenanti, ma è sufficiente azionare le leve di lavoro ripetutamente fino a riportare i pistocini delle pinze nella posizione normale.
In occasione della sostenuzione delle pastiglie, verificare le condizioni delle tubazioni flessibili; se danneggiata devono essere immediatamente sostituite.

N.B. - In caso di sostituzione delle pastiglie è opportuno, per i primi 100 km, agire sui fremi
con moderazione, al fine di permettere un corretto assestamento delle stesse.
Controllo dischi fremi
I dischi fremi devono essere perfettamente puliti, alla olio, grasso od altra sporcizia e non devono presentare profonde rigature.
La coppia di serraggio delle viti che fissano i dischi ai MOZzi è di kgm 3 ÷ 3,2 .
Per una Buona efficienza dei freni osservare le seguenti norme:
1 Verificare frequentlymente il livello del fluido nel serbatoio anteriore «A» di fig. 17 e posteriori «B» di fig. 18. Tale livello non deve mai scendere quello il segno di minimo indicate sui serbatoi.
2 Effettuare periodicamente, o quando si rende necessario, il rabbocco fluido nei serbatoi sopra citati.
Per i rabbocchi usare tassativamente fluido prelevato da lattine sigillate da après solo al momento dell'uso.
3 Effettuare agli 20.000 km circa o al massimo aglianno la completenesse del fluido dagli impianti frenanti.
Per il buon funzionamento degli impianti, è necessario che le tubazioni siano sempre piene di fluido con escludione di bolle d'aria; la corsa lunga ed elastica delle leve di lavoro indica la presenza di bolle d'aria.
Nel caso di lavaggio di circuiti frenanti, usare unicamente del liquido fresco.
É vietato assolutamente l'uso di alcool o l'impiego di aria compressa per la successiva asciugatura; per le parti metalliche si consiglia l'uso di «Trielina».
Per eventuali lubrificazioni è assolutamente vietato l'impiego di olii o grassi minerali. Non disponendo di lubricanti adatti, si consiglia di umettare i particolari in gomma ed i particulori metallici con fluido degli impianti. Fluido da usare «Agip Brake Fluid DOT 4».
IMPORTANTE. Maneggiare con attenzione il fluido, poichè potrebbe danneggiare la vernice.

Siconsglia di effettuare le suddette operazioni presso le sedi dei nostri concessionari.
76 Registrazione ammortizzatori posteriori (fig. 19)
Il motocchio è equipaggiato con ammortizzatori aventi la regolazione del precarico molla.
Per regolare il precarico della molla, con apposita chiave, allentare la ghiera «A» e avvitare o svitare la ghiera «B»; avvitando si aumento il precarico della molla.
N.B. - E' sempre opportuno, per una Buona stabilità del motociclo, assicurarsi che entrambi gli ammortizzatori siano regolati nella medesima posizione.
N.B. - Per evitare il danneggiamento della filettatura tra il corpo immortizzatore e la ghiera «B», lubrificare con «SVITOL», con olio o con grasso la filettatura stessa.
80 Registrazione dello sterzo (fig. 20)
Per la sicurezza di guida, lo sterzo deve essere regolato in modo tale da renderere possibile il libero movimento del manubrio, ma alla.
■ allentare la vite bloccaggio testa di sterzo «A»;
■ svitare il dato tenuta testa di sterzo «B»;
avvitare o svitare il dato di regolazione «C» sino a che il gioco sia regolare.
A registrazione avvenuta, bloccare il dato «B» e la vite bloccaggio testa di sterzo «A».

Siconsglia di effettuare la suddetta operazione presso le sedi dei nostri concessionari.
Adjusting the steering column (fig. 20)
Per smontare la ruota dal veicolo operare come segue:
disporre il veicolo sul cavalletto centrale, mettere un supporto quello il basamento motore per sollevare la ruota da terra;
■ svitare le viti «A» che fissano la pinza al gambale della forcella e staccare dal gambale stesso la pinza con montata la relativa tubazione;
■ allentare le viti «B» fissaggio gambali al perno;
■ svitare e sfilare il perno «C» osservando come è montato il distanziale «D», e togliere la ruota;
Front wheel (fig. 21)
per il rimontaggio procedere in ordine inverso, facendo attenzione alla corretta posizione del distanziale; azionare, quindi, ripetutamente la leva del freno per riportare i pistoncini della pinza nella posizione normale.
AVVERTENZA PER RUOTE A RAGGI In occasione di ogni tagliando di manutenzione è necessario controllare l'integrità e la tensione dei raggi ruote.
La marcia in condizioni di tensione raggi non correttata, o in presenza di uno o più raggi rotti, cui danneggiare la ruota con seguenti rischi riguardanti la sicurezza e la stabilità del veicolo.
Rispettare in agli caso le prescrizioni di carico massimo consentito.
Carico massimo consentito
L'inosservanza delle dovute prescrizioni della pressione delle gomme o dei limiti di carico possono riflettersi negativamente sulla maneggevolezza, sul funzionamento e sul controllo della vostra motocicletta. Il peso massimo consentito trasportabile da但这a moto è di Kg.256 (Passeggeri + bagagli + accessori).
Ripartito come segue:
- Asse anteriore Kg. 72.
- Asse posteriore Kg. 184.
Max. permitted load
Ruota posteriore (fig. 22)
Per smontare la ruota posteriori dal braccio forcellone e scatola trasmissione operare come segue:
porre il veicolo sul cavalletto centrale;
■ togliere il silenziatore sinistro;
■ svitare la vite-perno «A» di fermo per la piastra porta pinza «B»;
■ smontare la pinza freno «C» dalla pista porta pinza «B»;
■ svitare il dato «D» con rosetta «E» sul perno lato scatola;
■ allentare la vite bloccaggio perno «F» sul braccio del forcellone;
■ sfilare il perno «G» alla scatola, dal MOZzo e dal braccio forcellone;
■ sfilare la piastra porta pinza «B»;
Rear wheel (fig. 22)
To disassemble the rear wheel from the fork arm and gearbox, do the following:
place the vehicle on the central stand;
remove the left muffler;
■ unscrew the lock screw-pin «A» for the caliper plate «B»;
remove the brake caliper «C» from the calliper plate «B»;
■ unscrew the nut «D» with washer «E» on the housing side pin
■ loosen the spindle lock screw «F» on the fork arm;
remove the spindle G from the housing, the hub and the fork arm;
remove the calliper plate «B»

■ inclinare il veicolo sul lato destro quel tanto da poter sfilare la ruota dal braccio del forcellone e scatola trasmissione.
Per rimontare la ruota, invertire l'ordine di smontaggio tenendo presente di inflare la piastra porta pinza sul fermo «A» del braccio sinistro del forcellone oscillante.
I pneumatici rientrano tra gli organi più importanti da controllare.
Da essi dipendono: la stabilità, il comfort di guida del veicolo ed in alcuni casianche l'incomità del pilota.
E' pertanto sconsigliabile l'impio di pneumatici che abbiano battistrada inferiore a 2 mm.
Anche una anormale pressione di gonfiaggio può essere difetti di stabilità ed eccessiva usura del pneumatico.
Le pressioni prescritte sono:
■ ruota anteriore: con una o due persone 2,3 BAR.
■ ruota posteriori: con una persona 2,5 BAR; con due persone 2,9 BAR.
I valori indicati si intendono per impiego normale (turistico). Per impiego a velocità massima continuativa, impiego su autostrada, è raccommando un aumento di pressione di 0,2 BAR al pneumatico anteriore.

IMPORTANT!
In caso di sostituzione del pneumatico si consiglia di utilizzaremarca etipodi primo equipaggiamento. Misurate la pressione dei pneumatici quando essi sono freddi.
Tyres
92 Smontaggio e rimontaggio pneumatici sulle ruote
Il motocchio è equipaggiato con cerchi in acciaio che, pur presentando una notevole resistenza meccanica, posso non tuttavia essere danneggiati, sa dal lato estetico che funzionale, dall'uso di non appropriati attrezzi usati durante le operazioni di smontaggio e di montaggio del pneumatico sul cercchio. Pertanto per le suddette operazioni si consiglia l'impiego di ferri che non presentino nervature e spigoli sulle parti che dovranno andare a fatto con il bordo del cercchio: la superficie di fatto dovrà essere ampia, ben levigata e con i bordi opportunistamente arrotondati; l'uso di uno degli apposti lubrificanti reperibili in commercio facilità lo scorrimento e l'assestamento del pneumatico sul cercchio durante lo smontaggio e il rimontaggio ed elimina la necessità di carichi elevati sui ferri; a tal proposito èanche importantissimo che i talloni del pneumatico siano ben assestati nel canale centrale del cercchio.
Durante il montaggio dei pneumatici occorre inoltre tenere presente che le copertura che presentano eventualmente una frezza stampigliata sul fianco laterale dovranno essere montate nel seguente modo:
■ con la freccia rivolta nel senso della rotazione di marcia per la ruota posteriori;
■ con la freccia rivolta in senso contrario alla rotazione di marcia per la ruota anteriore.

N.B. - Quanto soprà è valido salvo indicazioni contrarie riportate sul pneumatico.
Tyre fitting
| PERCORRENZE OPERAZIONI | 1500 Km | 10000 Km | 20000 Km | 30000 Km | 40000 Km | 50000 Km |
| Olio motore | R | R | R | R | R | R |
| Filtro olio a cartuccia | R | R | R | R | R | R |
| Filtro olio a rete | C | C | C | C | C | C |
| Filtro aria | R | R | R | R | R | |
| Filtro carburante | R | R | ||||
| Candele | A | R | R | R | R | R |
| Giuoco valvole | A | A | A | A | A | A |
| Carburazione | A | A | A | A | A | A |
| Serraggio bulloneria | A | A | A | A | A | A |
| Serbatoio carburante, filtrato rubinetto, tubazioni | A | A | A | |||
| Olio cambio | R | R | R | R | R | R |
| Olio trasmissione posteriori | R | R | R | R | R | R |
| Cuscinetti ruote e sterzo | A | A | ||||
| Olio forcella anteriore | R | R | R | |||
| Motorino avviamento e generatore | A | A | ||||
| Fluido impianto frenante | A | A | R | A | R | A |
| Pastiglie freni | A | A | A | A | A | A |
LEGENDA: A = Manutenzione - Controllo - Regolazione - Eventuale sostituzione. / C = Pulizia. / R = Sostituzione.
Saltuariamente controllare il livello dell'elettrolito nella batteria e lubrificare le articolazioni dei comandi ed i cavi flessibili; agli 500 km controllare il livello dell'olio motore.
In agli caso sostituire l'olio motore, il filtrò olio e il fluido frenante almeno una volta all'anno.
Controllare periodicamente la tensione dei raggi delle ruote.
SERVICE SCHEDULE
Preparazione per il lavaggio
Prima di lavare il veicolo è opportuno copire con nylon le seguenti parti: parte terminale dei silenziatori di sca-rico, breve frizione e freno, lavoro gas, commutatore di accensione.
Durante il lavaggio
Evitare di spruzzare acqua con molta pressione sugli strumenti, MOZZo posteriore e anteriore.
Dopo il lavaggio
Rimuovere tutte le coperture in nylon
Asciugare accuratamente tutto il veicolo.
Provare i freni prima di adoperare il veicolo.
N.B. - Per la pulizia delle parti verniciate del gruppo propulsore (motore,chio, scatola trasmiss. ecc.) I prodotti da impiegare sono: nafta, gasolio, petrolio o soluzioni acquose di detergenti neutri per auto.
In ogni caso rimuovere immediatamente tali prodotti con acqua pura, evitando assolutamente l'impiego di acqua ad alta temperatura e pressione.
CLEANING - STORAGE
Cleaning
Se il veicolo dovesse essere tenuto fermo per lungo periodo di tempo (es. per la stagione invernale) occorre prendere le seguenti precauzioni:
■ pulire accuramente tutto il veicolo;
■ vuotare il serbatoio e impianto di alimentazione. Se dovesse essere lasciato per lungo tempo, il carburante evaporerebbe lasciando residui ed incrostazioni;
■ smontare le candele ed immettere nei cilindri un poco di olio SAE 30. Quindi far compiere alcuni giri all'albero motore e rimontare le candele;
■ ridurre la pressione dei pneumatici di circa il 20% ;
■ sistemare il veicolo in modo che le ruote non tocchino terra:
proteggere con olio le partin non verniciate in modo da preserverle alla ruggine;
■ smontare la batteria e riporla in un luogo asciutto dove non vi sua pericololo di gelo e non sua a diretto contatto con la luce solare; controllare la carica agli mese circa;
■ ricopire il veicolo per proteggerlo alla polvere avenida pero cura che circoli aria.
Storage
Il parabrezza più essere pulito usando la maggior parte dei saponi, detervisi, cere e polishes usati per altre materie plastiche e per il vetro.
Tuttavia devono essere osservate le seguenti precau-zioni:
non lavare né pulire il parabrezza quando la temperatura dell'aria è molto elevata e quando l'esposizione al sole è troppo forte;
per nessuna ragione devono essere usati solventi, liscive o prodotti analoghi;
■ non usare liquidi contenti sostanze abrasive, pomice, carte vetrate, raschietti, ecc.;
- possono essere usati polishes solo dopo aver rimoso so pulvere e sporco con un accurato lavaggio. Piccole graffature superficiali posso sono essere eliminare con polish morbido;
■ pittura fresca e sigillanti vengono fácilmente rimossi, prima dell'essicazione, sfregando leggermente con nafta solvente, alcohol isopropilico o butyl cellosolve (non usare alcohol metilico);
■ bisogna sempre usare panni morbidi, spugne, pelli di daino e cotone idrofilo operando con delicatezza. Non usare asciugamani di carta, panni di fibre sintetiche perché tendono a graffiare il parabrezza.
Graffiature profonde o abrasioni non sono essere eliminate strofinando enerigamente o usando solventi.
Lubrificazione del motore
Controllo livello olio (fig. 23)
Ogni 500 km controllare il livello dell'olio nel basamento motore: l'olio deve sfiorare la tacco del massimo segnata sull'astina del tappo «A».
Se l'olio è molto il livello prestabilito aggiungerne della qualità e gradazione prescritta.

N.B. - Il controlledo va effettuato dopo che il motore ha girato quello minuto: il tappo «A»
con astina di livellouvessereavvitatoafondo.
LUBRICATION
Engine lubrication
Un buon olio motore ha delle particolari qualità.
Fate uso solamente diolio motore altamente detergente, certificato sul contentatore come corrispondente, o superiore, alle necessità di servizio SE, SF o SG.
Viscosità
SAE 20W-50
Le autre viscità indicate in tabella possono essere usate se la temperatura media della zona di uso della motocicletta si trovava nei limiti della gammaindicata.
Engine oil
108 Cambio dell'olio (fig. 23 e 24)
Dopo i primi 500 ÷ 1500 km e in seguito agli 10000 km circa sostituire l'olio. La sostituzione va effettuata a motore caldo.
Prima di immettere olio fresco lasciare scolare bene la cappa.
«A» Tappo immissione olio con astina di controllo livello (fig. 23).
«B» Tappo scarico olio (fig. 24).
Quantità occorrente: litri 3 di olio «Agip 4T SUPER RACING SAE 20W/50».
110 Sostituzione filtering a cartuccia e puliturra filtering a retina (fig. 24)
Dopo i primi 500 ÷ 1500 km (primo cambio dell'olio) e in seguitogni 10.000 km sostituire la cartuccia filtrante «A» operando come segue:
■ svitare il tappo «B» e lasciare scolare per bene l'olio alla Coppa;
■ svitare le viti e staccare la coppa «C» dal basamento con montato: il filtrato a cartuccia «A», il filtrato a retina «D» e la valvolina di regolazione pressione olio «E».
■ svitare la cartuccia filtrante «A» e sostituirla con una originale. E' opportuno, quando si sostituisce la cartuccia «A», smontareanche il filtrato a retina «D», lavarlo in un bagno di benzina e asciugarlo con getto di aria compressa. Rimontarlo sulla cotta after a soffiato con aria compressa i canali della cotta.
Nel rimontare la Coppa sul basamento ricordarsi di sostituire la guarnizione tra Coppa e basamento.

Siconsglia di effettuare le suddette operazioni presso le sedi dei nostri concessionari.
112 Lubrificazione delchio
Controllo livello olio (fig. 25)
Ogni 5000 km, controllare che l'olio sfiori il foro del tappo di livello «B».
Se l'olio è molto il livello prescritto,aggiungerne della qualità e gradazione prescritta.
Cambio dell'olio
Dopo i primi 500 ÷ 1500 km e in seguito agli 10.000 km circa sostituire l'olio nella scatola cambio. La sostituzione deve avvenire a gruppo caldo, poichè in tali condizioni l'olio è fluido e quando facile da scaricare.
Ricordarsi, prima di immettere olio fresco, di lasciare scolare bene la scatola delchio.
«A» Tappo di immissione.

Gearbox lubrication
«B» Tappo di livello.
«C» Tappo di scarico.
Quantità occorrente: litri 0,750 diolio «Agip Rotra MP SAE 80W/90».
Lubrificazione scatola trasmissione posteriori (fig. 26)
Controllo livello olio
Ogni 5000 km controllare che l'olio sfiori il foro del tappo di livello «A»; se l'olio è molto il livello prescritto, aggiungere della qualità e gradazione prescritta.
Cambio dell'olio
Dopo i primi 500 ÷ 1500 km e in seguito agli 10.000 km circa, sostituire l'olio della scatola trasmissione. La

«B» Level plug.
Drain plug.
sostituzione deve avvenire a gruppo caldo, poichè in tali condizioni l'olio è fluido e quindi facile da scaricare.
Ricordarsi, prima di immettere olio fresco di lasciare scolare bene la scatola trasmissione.
«A» Tappo di livello.
«B» Tappo di immissione.
«C» Tappo di scarico.
Quantità occorrente litri 0,250 di cui:
litri 0,230 di olio «Agip Rotra MP SAE 80W/90»
litri 0,020 di olio «Agip Rocol ASO/R», oppure «Molykote tipo A».
Cambio olio forcella anteriore.
Dopo i primi 500 ÷ 1500 Km e in seguito agli 20.000 km circa o almeno una volta all'anno sostituire l'olio della forcella.
Quantità occorrente circa 0,560 litri di olio per ammortizzatori «MARZOCCHI (SAE 10)».

Siconsglia di effettuare la suddetta operazione presso le sedi dei nostri concessionari.
Lubrificazioni varie
Per le lubrificazioni:
cuscinetti dello sterzo;
■ cuscinetti del forcellone oscillante;
articolazioni trasmissioni di lavoro;
articolazione del cavalletto di supporto;
Usare grasso: «Agip Grease 30»
Dopo i primi 500 ÷ 1500 km e in seguito agli 10000 km o quando la distribuzione risulta molto rumorosa, controllare il giuoco tra valvole e bilancieri.
La registrazione va effettuata a motore freddo, con il pistone al punto morto superiore (P.M.S.) in fase di compressione (valvole chiuse).
Dopo aver levato il coperchio alla testa operare come segue:
1 allentare il dato «A»;
2 avvitare o svitare la vite di registrar «B» sino ad otteneri seguenti giochi:

TIMING SYSTEM
Tappet clearances (fig. 27)
valvola aspirazione mm 0,10;
valvola scarico mm 0,15.
La misurazione va effettuata using apposto spessimetro «C».
Si tengà presente che se il giuoco è maggiore di quello prescritto, le punterie risultano rumorose, in caso contrario le valvole non chiudono bene dando luogo ad inconvenienti quali:
perdita di pressione;
■ surriscaldamento del motore;
■ bruciatura delle valvole, ecc.
122 Sistema iniezione-accensione WEBER (I.A.W. 15M)
Ilsystemadiiniezione-acccensioneWeber è del tipo «alfa/N»nelquale il regime del motore e la posizione farfalla vengonoutilizzati per misurare la quantità di aria aspirata;notalantitudiaria si dosala quantità di carburante in funzione del titolo voluto.Altrisensori presenteli nelsystemapermettondoicorreggerela strategia di base,in particulori condizioni di funzionamento. Il regime motore e l'angolo farfalla permiettonoinltre di calcolo I'anticipo di accensiono ottimale per qualsiasi condizione di funzionamento.La quantità di aria aspirata da ogni cilindro,per ogni ciclo,dipende della densità dell'aria nel collettore di aspirazione,dalla cilindrata unitaria e alla efficienza volumetrica.Per quanto riguarda I'efficienza volumetrica,essa viene determinata sperimentalmente sul motore in toutil Campo di funzionamento (giri e carico motore) ed è memorizzata in una mappa nella centralina elettronica. Il comando degli iniettori,per cilindro,e del tipo "sequenzialefasato",cchio i due iniettori vengono comandiato seconda la sequenza di aspirazione,mentre I'erogazionepuo iniziare per ogni cilindro giaddalla fase di espansionefino alla fase di aspirazione giainiziata.Lasfasatura di inizio erogazione è containuta in una mappa della centralina elettronica. L'accensione é del tipo a scarica induttiva di tipo statico con controlo del dwell nei moduli di potenza (incorporati nella centralina)e mappatura dell'anticipo memorizzata nella centralina elettronica. Le bobine ricevono dai moduli di potenza (incorporati nella centralina)i comandi della centralina I.A.W.15M che elabora I'anticipo di accensione.
WEBER injection-ignition system (I.A.W. 15M)
124 Costituzione dell'impiano
Circuito carburante
Il carburanteiene iniettato nel condotto di aspirazione di ciascun cilindro, a monte della valvola di aspirazione.
ComPREnde: serbatoio, pompa, filtro, regolatore di pressione, elettroiniettori.
Circuito aria aspirata
Il circuito è composto da: filtrà aria, collettore aspirazione, corpo farfallato.
A valle della valvola a farfalla è insertita la presa per il regolatore di pressione
Calettato sull'alberino della farfalla è montato il potenziometro posizione farfalla.
A monte della valvola a farfalla sono inserti il sensore pressione assoluta (integrato nella centralina) e il sensore temperatura aria.
Circuito elettrico
E' il circuito attraverso cui la centralina elettronica effetua i rilievi delle condizioni motore e l'attuazione dell'erogazione del carburante e dell'anticipo di accensione.
ComPREnde: batteria, commutatore accensione, due relè, centralina elettronica con integrato il sensore pressione assoluta, gruppo di accensione, sensore temperatura aria, potenziometro posizione farfalla, due iniettori, sensore temperatura olio, sensore fase giri.
126 Fasi di funzionamento
Funzionamento normale
In condizione di motore termicamente regimento la centralina I.A.W. 15M calcola la fase, il tempo di iniezione, l'anticipo di accensione, esclusivamente attraverso l'interpolazione sulle rispettive mapper e memorizzate, in funzione del numero di giri e posizione farfalle.
La quantità di carburante sono determinata viene erogata in due mandate in sequenza ai due cilindri.
La determinazione dell'istante di inizio erogazione, per agli cilindro, avviene per mezzo di una mappa in funzione del numero di giri.
Fase di avviamo
Nell'istante in cui si agisce sul commutatore di accensione, la centralina I.A.W. 15M alimenta la pompa carburante per alcuni istanti ed acquisisce angolo farfalla e temperatura relative al motore.
Procedendo alla messa in moto la centralina riceve segnale di giri motore e fase che le permettono di procedere a comandare iniezione e accensione.
Per facilitare l'avviamento, viene attuato un arricchimento della dosatura di base in funzione della temperatura dell'olio
Ad avviamento avvenuto ha inizio il controllo dell'anticipo da parte della centralina.
Operation phases
Normal operation
Funzionamento in accelerazione
In fase di accelerazione, ilsystema provvede ad aumin-tare la quantità di carburante erogata al fine di ottenere la migliorie guidabilità.
Questa condizione viene riconosciuta quando la variazione dell'angolo farfalla assume valori appreczabili, il fattore di arricchimento tiene conto delle temperature dell'olio e dell'aria.

ATTENZIONE!
- Per non provocare danneggiamento all'impo di iniezione/accensione elettronica, osservaseguenti precauzioni:
in caso di smontaggio o rimontaggio della batteria, accertarsi che il commutatore di accensione sia in posizione OFF «»;
non scollegare la batteria con motore in moto;
accertarsi della perfetta efficienza dei cavi di collegamento;
■ non eseguire saldature ad elettrico sul veicolo;
non utilizzato dispositivi elettrici di ausilio per l'avviamento;
per non provocare irregularità di funzionamento e inefficenze dell'impianto di accensione è necessario che gli attacchi cavi candela (pipette candela) e le candele siano del tipo prescritto (come montati in origine);
Acceleration mode
non eseguire verifiche di corrente alle candele除去 l'interposizione delle pipette candele previste in origine, dato che tale operazione potrebbs danneggiare in modo irreparabile la centralina elettronica;
■ nel caso di montaggio di dispositivi antifurto od altri dispositivi elettrici, non interferire assolutamente con l'impianto elettrico dell'accensione/iniezione.
Nell'implantiodi diniezione/accensione elettronicanone è possibile variate la taratura della carburazione (rapporto aria/benzina).

IMPORTANT!
Non manomettere i componenti meccanici ed elettronici dell'impiano di iniezione/accensione elettronica.
Ogni operazione di regolazione e manutenzione deve essere effettuata presso le sedi dei nostri concessionari.
132 Regolazione del regime minimo
Regime minimo previsto 1050÷ 1150~g / m

N.B. - la regolazione va effettuata con il motore a temperatura di esercizio.
Si consiglia di effettuare le suddette operazioni presso le sedi dei nostri concessionari.
134 Sostituzione filtro carburante
(A) di fig. 28
Il filtrò è dotato di un elemento filtrante in carta, con superficie di circa 1200 cm2, e potere filtrante di 10 m : è indispensable per l'elevata sensibilità degli iniettori ai corpi estranei.
Il fatto è montato sotto il serbatoio carburante tra la pompa e il gruppo corpi farfallati e riporta sull'involucro esterno una freccia che indica il senso di passaggio del carburante.
Ogni 20.000 Km. se ne prescrive la sostituzione.

Per la sostituzione del filtro carburante, si consiglia di rivolgersi presso le sedi dei noncessionari.

136 Sostituzione filtro aria («A» di fig. 29)
Ogni 5000 km verificare lo stato dell'elemento filtrante e pulirlo eventualmente con aria compressa; agli 10.000 km se ne prescire la sostituzione.
Tale filtering is montato in una apposita custodia sopra il gruppo motore; per accedervi occorre togliere la sella e il serbatoio carburante.

Per la sostituzione della cartuccia, si consiglia di rivolgersi presso le sedi dei nostri sessionari.
Changing the air filter («A» of fig. 29)
I tipi di candela da impiegare sono:
NGK BPR 6 ES
Distanza tra gli elettro: mm 0,7.
Le candele devono essere rimosse periodicamente per la pulizia ed il controllo della distanza tra gli elettrodi.
Nel rimontare le candele, fare attenzione che imbocchino perfettamente e che si avvitino facilmente nelle loro sedi; se fosso rimboccate male, rovinerebbbero il filetto sulle teste; perché consigliamo di avvitarle a mano per quale giro, e di adoperare poi l'apposita chiave (data in dotazione) per bloccarle a motore freddo.
Spark plugs (fig. 30)
Anche se le candele appaiono in ottime condizioni, dopo 10.000 km circa, vanno sostituite.

N.B. Valori inferiori a mm 0,7 possono promettere la durata del motore.

ATTENZIONE!
Per non provocare irregularità di funzionamento e inefficenza dell'impianto di accensione è necessario che gli attacchi cavi candela (pipette candela) e le candeli siano del tipo prescritto (come montati in origine).
Non eseguire verifiche di corrente alle candele senza l'interposizione delle pipette candele previste in origine, dato che tale operazione potrebbe danneggiar e in modulo irreparabile la centralina elettronica.
L'impiano elettrico è composto da:
Batteria.
Motorino avviamento a commando elettromagnetico.
Generatore-alternatore, montato sulla parte anteriore dell'albero motore.
Dispositivo segnalatore riserva carburante.
Teleruttore fari.
Bobine di accensione.
Centralina elettronica (I.A.W. 15 M).
■ Sensore di fase e di giri.
Telerutto per cavalletto laterale.
Regolatore di tensione.
■ Morsettiera porta fusibili.
Telerutlore commande centralina elettronica.
Teleruttore comando pompa, bobine, elettroiniettori.
Teleruttre per avviamento.
Faro anteriore.
■ Fanalino posteriore.
■ Indicatori di direzione.
Commutatore inserimento utilizzatori.
Dispositivi dato luci indicatori di direzione, avvisatore acustico e lampeggio.
Dispositivo di avviamento e arresto motore.
Trombe elettriche - Teleruttore trombe.
Spie sul cruscotto per segnalazione:chio in folle (verde),accensione luce posizione «città» (verde), controllo pressione olio (rossa),luce abbagliante (bleu), insufficiente tensione generatore (rossa), riserva carburante (arancio),indicatori di direzione (verde).
ELECTRICAL SYSTEM
La batteria ha una tensione di 12V e una capacité di 30 Ah; alla sua carica provvede il generatore. Per accederere alla batteria occorre:
togliere la sella;
■ levare il contentatore attrezzi.
Istruzioni per la manutenzione delle batterie cariche con acido.
Le batterie cariche secche attivate dopo carica di ravivimento o ricevute cariche con acido devono essere trattate con le segunti avventenze:
■aggiungere quando occorre acqua distillata (mai acido) in modo che a riposo il livello dell'acido si di 5 mm社会发展 i separatori;
■ mantenere puliti e serrati i morsetti e ingrassarli con vaselina;
mantenere asciutta la parte superiore della batteria evitando traboccamenti di acido, che riducono l'isolamento e corrodono telai e cassette di contentimento;
assicurarsi che l'impianto di carica a bordo non dia cariche excessively od insufficienti, tenendo presente che la densita dell'acido deve mantenersi fra 1,24 e 1,27. Se ciò non avvenisse occorre rivedere l'isolamento e l'efficienza dell'impianto di carica di avviamento;
■ le batterie immagazzinate cariche con acido devono essere periodicamente ricaricate con intesita pars a 1/10 della capacité, mantenendo il livello corretto o la densità di 1,27 a 25^
- le batterie devono essere montate sul veicolo ben serrate dai congegni di fissaggio mantenendo attivi dispositivi antivibranti.
Battery
N.B. - Per le batterie destinate a funzionare in climi tropicali (temperatura media maggiore di 33^) si consiglia la riduzione della densità dell'acido a 1,23.
Importante Uno sfiato piegato o attorcigliato cui causare un innalzamento della pressione nella batteria e danneggiarla.
Attenzione La batteria contiene acido solforico (elettrolito). Evitare il contatto con pelle e occhi in quanto può provocare gravi ustioni. In caso di contatto della pelle con l'elettrolito lavate la parte interessata con abbondante acqua. In caso di contatto con gli occhi, lavate con aqua corrente per almeno 15 minuti e chiamate un medico immediatamente.
Attenzione Le batterie producono dei gas esplosivi: tenetele lontano da fonti di calore e dal fuoco.
Caricate la batteria in un luogo ben ventilato. Portate sempre occhiali e quanti di protezione quando operate vicino alla batteria.
Attenzione Tenete la batteria lontano alla portata dei bambini.
148 Batteria versione USA;SGP;CAN
La batteria ha una tensione di 12V e una capacité di 16Ah; alla sua carica provvede il generatore.
Per accedere alla batteria occorre:
Rimuovere la sella;
Rimuovere il contentatore attrezzi.
E' una batteria ermetica (senza manutenzione) che non ha alcuna necessità di controlli.
Istruzioni per la ricarica
La eventuale ricarica dovrè essere seeguita con un caricatore a tensione costante regolato a 14,7 ÷ 15V a 25^ .

Attenzione Contiene materiali tossici (PbeH_2SO_4)
Currenti estremamente elevate, evitare corti circuiti. NON ricaricare in contentitore ermetico.
Accumulatore ermetico al piombo.
Riciclare o smaltire secondo le normative vigenti.

Si consiglia di effettuare la suddetta operazione presso le sedi dei nostri concessionari.
USA;SGP;CAN battery version
150 Sostituzione delle lampade
Faro anteriore (fig. 31)
Svitare la vite «A» posta in basso al gruppo ottico; estrarre il gruppo ottico, sfilare i portalampade indi sostituire le lampade.

N.B. - Durante l'opération di sostituzione
della lampada anteriore (abbagliante - anab
bagliante) occorre fare attenzio direttamente il bulbo con le dita.
Replacing bulbs
Headlight (fig. 31)
To change the bulbs, remove the retaining screw «A» under the headlight unit; remove the light unit, slide out the bulb holder and replace the bulb.

Svitare la vite «A» che fissa il catadiattro al corpo fanalino; premere le lampade verso l'interno ruotandole contemporaneamente e sfilarle dai portalampade.
Indicatori di direzione anteriors e posteriori
(figg. 31-32)
Svitare le viti «D» che fissano i catadiottriagli indicatori di direzione; premere le lampade versus l'interno ruotandole contemporaneamente e sfilarle dai portalampade.
N.B. - Non serrare eccessivamente le viti che fissano i catadiottri in plastica onde evitarne la rottura.

Tail light (fig. 32)
■ svitare le viti «A»;
togliere il perno azzeratore «B»;
togliere il contentatore contachilometri «C»;
- estrarre il portalampada e sostuire la lampada.
Odometer (Fig. 33)
Remove the screw «A»;
Extract the reset pin «B»;
Remove the odometer container «C»;
Extract the lamp holder and replace the lamp.

Smontare il faro anteriore;
Smontare il supporto spiie inferiore dopo aver svitato le 3 viti «A»;
Svitare le viti «B»;
Estrarre il portalampada e sostituire la lampada.
Dashboard (Fig. 34)
Dismantle the head lamp;
Remove the 3 screws «A», then remove the lower warning light support;
Remove screws «B»;
Extract the bulb holder and replace the bulb.


Tableau de bord (fig. 34)
158 Regolazione fascio luminoso del faro anteriore (fig. 35)
Il faro anteriore delve essere sempre orientato alla giusta altezza, per la sicurezza di guida e per non arrecare disturbo ai veicoli incrocianti. Per l'orientamento verticale bisogna allentare le due viti «C» che fissano il proietore e spostarlo manually versuso l'alto o verso il basso fino a raggiungere l'altezza prescritta.
Abbagliante e anabbagliante
Luce città o parcheggio
Fanalino posteriore:
Luce targa, posizione, stop
Indicatori di direzione
Spia luce tachimetro
Spie luci sul cruscotto
Bulbs
Headlight:
Legenda schema impianto elettrico
1 Luce abbagliante 60W (H4 alogena con anabbagliante)
2 Luce di posizione 4W
3 Luce anabbagliante 55W (H4 alogena con abbagliante)
4 Connettore Amp 4 vie foro anteriore
5 Indicatore di direzione DX anteriore 10W
6 Connettore Cannon 2 vie ind. direz. DX anteriore
7 Indicatore di direzione SX anteriore 10W
8 Connettore Cannon 2 vie ind. direz. SX anteriore
9 Cruscotto
10 Connettore A Pakard 10 vie (cruscotto)
11 Connettore B Pakard 10 vie (cruscotto)
12 Interruttore pressione olio
13 Interruttore folle
14 Interruttore livllo carburante
15 Avvisatore acustico tono L
16 Avvisatore acustico tono H
17 Connettore Pakard 10 vie (disp. SX)
18 Dispositivo comandi SX: luci, frece, segn. acustico
19 Alternatore 12 V 350 W
20 Regolatore di tensione
21 Intermittenza
22 Relè luci (MINIRELE N.A.)
23 Relé di avviamento (MINIRELÉ DEVIATORE)
24 Motorino di avviamento
25 Batteria 12V 30Ah
25 Batteria 12V 16Ah (USA,SGP,CAN)
26 Interrupttore Stop posteriore
27 Connettore Cannon 3 vie per frece e stop post.
28 Connettore Cannon 2 vie per posiz. posteriore
29 Indicatore direzione SX posteriore 10W
30 Indicatore direzione DX posteriore 10W
31 Luce STOP posteriore 21W (con luce posizione)
32 Luce posizione posteriore 5W (con luce STOP)
33 Luce targa 5W (a richiesta con targa tipo USA)
34 Elettrovalvola (rubinetto elettrico)
35 Serie fusibili di protezione (vedi tabella)
36 Relè sicurezza cav. laterale (MINIRELE N.A)
37 Connettore Cannon 2 vie per cav. laterale
38 Interrupttore sicurezza cavalletto laterale
39 Dispositivo comandi DX (Acc.-Run, Start, Luci)
40 Connettore Pakard 10 vie (disp. comandi DX)
41 Interruittore Stop anterio
42 Commutatore di accensione a chiave
43 Connettore AMP 4 vie
44 Centralina IAW 15M
45 Sensore temperatura aria (NTC ATS05)
46 Connettore diagnosi AMP 3 vie
47 Diodo LED lampada di warning (NON MONTATA)
48 Bobina AT di accensione cilindro SX (BAE850AK)
49 Bobina AT di accensione cilindro DX (BAE850AK)
50 Relè di potenza per iniezione (MINIRELE N.A.)
51 Diodo di protezione
52 Relè centralina ECU (MINIRELE N.A.)
53 Pompa carburante
54 Iniettore SX (IV031)
55 Iniettore DX (IV031)
56 Sensore di fase (SEN813)
57 Sensore temperatura olio motore (NTC WTS05)
58 Potenziometro farfalla (PF3C)
59 Sensore pressione assoluta interno centralina ECU
60 Connettore AMP 1 via (alimentazione sottochiave)
61 Connettore AMP 1 via (contagiri lato iniezione)
WIRING DIAGRAM
F1 Ricarica batteria (30A)
F2 Commutatore a chiave (15A)
F3 Abbagliante, Anabbagliante, Avvis. acustico (15A)
F4 Indicatore direzione, Luce posizione (5A)
F5 ECU (5A)
F6 Pompa, Bobine, Iniettori (10A)
FUSES
Bianco-Azzurro = White-Light blue
Bianco-Giallo = White-Yellow
Bianco-Nero = White-Black
Blu-Nero = Blue-Black
Giallo-Nero = Yellow-Black
Rosso-Giallo = Red-Yellow
Rosso-Nero = Red-Black
Verde-Grigio = Green-Grey
Verde-Nero = Green-Black
Rosa-Nero = Pink-Black
Bianco-Azzurro = Blanc-Azur
Bianco-Giallo = Blanc-Jaune
Bianco-Marrone = Blanc-Marron
Bianco-Nero = Blanc-Noire
Blu-Nero = Bleu-Noire
Giallo-Nero = Jaune-Noire
Nero-Grigio = Noire-Gris
Rosso-Bianco = Rouge-Blanc
Rosso-Blu = Rouge-Bleu
Rosso-Giallo = Rouge-Jaune
Rosso-Nero = Rouge-Noire
Rosso-Verde = Rouge-Vert
Verde-Grigio = Vert-Gris
Verde-Nero = Vert-Noire
Rosa-Nero = Rose-Noire
Rosso-Giallo = Rot-Gelb
Rosso-Nero = Rot-Schwarz
Rosso-Verde = Rot-Grün
Verde-Grigio = Grün-Grau
Verde-Nero = Grün-Schwarz
Rosa-Nero = Rosa-Schwarz
Marrone-Nero = Braun-Schwarz
Bianco-Blu = Weiss-Blau
Bianco-Verde = Weiss-Grün

ManualeFacile