MW 7777 - Mikroaaltouuni SEVERIN - Ilmainen käyttöohje ja opas

Löydä laitteen käyttöohje ilmaiseksi MW 7777 SEVERIN PDF-muodossa.

📄 188 sivua Suomi FI 💬 AI-kysymys
Notice SEVERIN MW 7777 - page 125

Lataa ohjeet laitteellesi Mikroaaltouuni PDF-muodossa ilmaiseksi! Löydä käyttöohjeesi MW 7777 - SEVERIN ja ota elektroninen laitteesi takaisin hallintaan. Tällä sivulla julkaistaan kaikki laitteidesi käyttöön tarvittavat asiakirjat. MW 7777 merkiltä SEVERIN.

KÄYTTÖOHJE MW 7777 SEVERIN

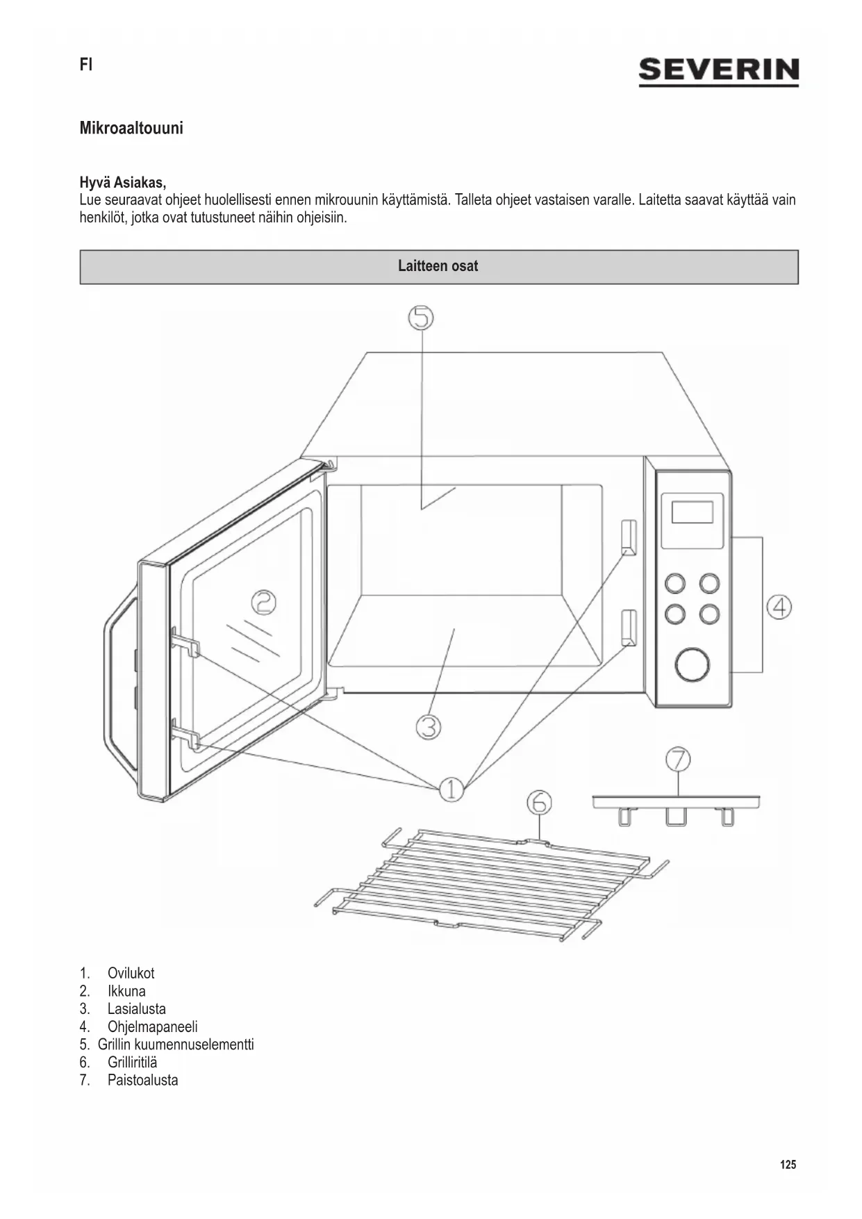
5. Grillin kuumennuselementti

FI126 142 x 208 mm Ohjauspaneelin osat Painike Toiminto Painikeäänet ja Lapsilukko Lempiruoka & kello Pikakäynnistys / Pidennä kypsennysaikaa 30 sekunnilla Mikrouuni Grilli Erittäin kuuma ilma Keskeytys / Pysäytys Kiertokytkin Toiminto Paina Käynnistys Käännä Aika & Automaattiset valmistus- ohjelmat127 142 x 208 mm Näyttö Näytön alueella näkyy senhetkinen kellonaika tai käytön aikana ohjelmoitu kestoaika ja valitut toiminnot. Automaattiset ohjelmat Ensimmäisen ohjelman valinta Toisen ohjelman valinta Sulatus painon mukaan Lapsilukko Lämpötila Kellon asetus Paino Erittäin kuuman ilman toiminto Grillitoiminto Mikroaaltotoiminto Automaattiset ohjelmat Sulatus ajan mukaan128 142 x 208 mm Tärkeitä turvallisuusohjeita Tärkeitä turvallisuusohjeita Lue seuraavat ohjeet huolellisesti ja säilytä käyttöohje tulevaa tarvetta varten Kytkentä sähköverkkoon Laite tulee kytkeä vain sähköturvallisuusmääräysten mukaisesti asennettuun maadoitettuun pistorasiaan. Varmista, että verkkojännite vastaa laitteen arvokilpeen merkittyä jännitettä. Tämä tuote on kaikkien voimassa olevien CE-merkintöjä koskevien direktiivien mukainen. Mikroaaltouunin sijaintipaikan valitseminen ∙ Sijoita mikrouuni aina tukevalle ja tasaiselle, kuumuutta kestävälle alustalle ja varmista, että laite on suojassa lämpölähteiltä tai liialliselta kosteudelta. ∙ Älä käytä laitetta ulkona. ∙ Laitteen pohjassa olevia jalkoja ei saa irrottaa. ∙ Huolehdi aina riittävästä tuuletuksesta. Älä aseta mitään esineitä laitteen päälle. Varmista, että laite on vähintään seuraavilla etäisyyksillä seinästä tai esineistä: Sivut: 7,5 cm Takaosa: 7,5 cm Yläpuoli: 30,0 cm Laitetta ei saa sijoittaa kaappiin. Laitetta paikoilleen sijoitettaessa on myös varmistettava, että sitä ei aseteta kaapin tms. alapuolelle. Tärkeää ∙ Varoitus: Jotkut ruoat syttyvät helposti palamaan. Älä koskaan jätä laitetta ilman valvontaa käyttäessäsi mikroaalto-, grilli-, kiertoilma- tai yhdistelmätoimintoja. ∙ Tämä mikroaaltouuni on tarkoitettu vain ruuan sulattamiseen, kuumentamiseen ja kypsentämiseen. Varoitus: Jos ruokaa tai vaatteita yritetään kuivata tai lämpötyynyjä, kotitossuja, sieniä, märkiä puhdistusriepuja jne. lämmittää, seurauksena voi olla vammoja, palaminen tai tulipalo. ∙ Valmistaja ei vastaa mahdollisista laitteen väärinkäytöstä tai käyttöohjeiden laiminlyömisestä johtuvista vaurioista. ∙ Käytä vain mikrouunikäyttöön soveltuvia astioita. Mikroaaltotoiminnolla ei saa käyttää metalliastioita ruokien tai juomien lämmittämiseen. Katso lisätietoja kohdasta ’Käytä aina mikrouuniin sopivia astioita’. ∙ Tätä laitetta ei ole tarkoitettu käytettäväksi erillisen ajastimen tai kaukosäätimen kanssa.129 142 x 208 mm ∙ Tätä laitetta saavat käyttää lapset (vähintään 8-vuotiaat) sekä henkilöt, joilla on fyysisesti, aistillisesti tai henkisesti rajoittunut toimintakyky tai joilla on puuttuvat tai vajavaiset tiedot laitteen toiminnasta, mikäli heitä valvotaan tai ohjataan laitteen käytössä ja he ymmärtävät täysin kaikki käyttöön liittyvät vaarat ja turvatoimenpiteet. ∙ Lasten ei saa antaa leikkiä laitteella. ∙ Lasten ei saa antaa tehdä laitteen puhdistus- tai huoltotoimenpiteitä, elleivät he ole aikuisen valvonnassa sekä vähintään 8 vuotta vanhoja. ∙ Laite ja sen liitäntäjohto täytyy aina pitää alle 8-vuotiaiden ulottumattomissa. ∙ Sähköiskun välttämiseksi älä puhdista laitetta vedellä äläkä upota sitä veteen. ∙ Varoitus: Grilli- ja/tai kuumailmatoimintojen käytön aikaisten korkeiden lämpötilojen vuoksi lapset eivät saa käyttää laitetta muutoin kuin aikuisten tarkassa valvonnassa. ∙ Varo yhdistelmä- tai grillitoimintojen sekä/tai kiertoilmatoimintojen käytön aikana erityisesti koskettamasta sisäpuolella olevia lämpöelementtejä. ∙ Älä käytä höyrypuhdistuslaitteita laitteen puhdistamiseen. ∙ Katkaise aina virta laitteesta ja irrota pistotulppa pistorasiasta: - ennen laitteen puhdistamista ja, - mahdollisen toimintahäiriön sattuessa. - jokaisen käyttökerran jälkeen. ∙ Kun irrotat pistotulpan pistorasiasta, älä vedä liitäntäjohdosta vaan tartu aina pistotulppaan.

Varoitus: Laitteen ulkopinnat saattavat kuumentua käytön aikana. Kuumaa höyryä voi myös tulla tuuletusaukoista: palovammavaara. ∙ Anna laitteen jäähtyä riittävästi ennen sen kuljetusta. ∙ Kotelo ja virtajohto eivät saa joutua lähelle kuumaa keittolevyä tai avoliekkejä. Virtajohtoa ei saa päästää roikkumaan ja se on pidettävä loitolla kuumista laitteen osista. ∙ Jos laitetta ei pidetä puhtaana eikä elintarvikejäänteitä poisteta, pintojen laatu voi heikentyä, mikä lyhentää laitteen elinikää ja voi aiheuttaa vaaraa käyttäjille. Ovitiivisteet, lasialustainen kypsennystila ja viereiset osat on puhdistettava käytön jälkeen kostealla pyyhkeellä. Pese grilliritilä ja paistopelti huuhtelemalla sitä vedellä. Lisätietoja puhdistamisesta ja käyttäjän vastuulla olevista huoltotoimista on kappaleessa “Puhdistus”. ∙ Tämä laite on tarkoitettu kotitalouskäyttöön tai vastaavaan, kuten - ruokalat, toimistot ja muut kaupalliset ympäristöt - maatalousyritykset - hotellien, motellien jne. ja vastaavien yritysten asiakkaat130 142 x 208 mm - aamiaisen ja majoituksen tarjoavat majatalot. ∙ Varoitus: Huolto- ja korjaustyöt, jotka vaativat mikroaaltosäteilysuojuksen poistamista, ovat erittäin vaarallisia henkilöille, joilla ei ole alan koulutusta. Näihin töihin luetaan myös erikoisliitäntäjohdon ja sisävalon lampun vaihtaminen. Laitteen saa avata vain alan koulutuksen saanut, pätevä henkilö. Jos laite tarvitsee korjausta, ota yhteyttä asiakaspalveluumme puhelimitse tai sähköpostitse (katso liite). ∙ Kun lämmität nesteitä mikrossa, neste voi kuumentua kiehumapisteen yli ilman että kuplia näkyy. Siksi astioita käsiteltäessä on oltava erittäin varovainen (esim. otettaessa niitä mikrosta). Ylikiehumisen vaaraa voidaan vähentää asettamalla astiaan lämpöä kestävä lasisauva kuumennuksen ajaksi. ∙ Kananmunia kuorineen tai kovaksi keitettyinä ei saa kuumentaa mikrouunissa, koska ne saattavat räjähtää mikroaaltoprosessin päätyttyäkin. ∙ Varoitus: On myös erittäin vaarallista kuumentaa nesteitä tai mitään kiinteitä ruoka-aineita suljetuissa astioissa, koska tämä aiheuttaa erittäin vakavan räjähdysvaaran. ∙ Vauvojen ruokintapulloja tai vauvanruokaa sisältäviä lasiastioita on sekoitettava tai ravistettava kunnolla, jotta lämpö jakautuu tasaisesti. Varoitus: Kivuliaitten ja vaarallisten palovammojen välttämiseksi tarkista aina ruoka-aineen lämpötila ennen lapselle antamista. ∙ Kun lämmität tai kypsennät syttyvään aineeseen (kuten muoviin tai paperiin) pakattua ruokaa, voi tällainen materiaali syttyä palamaan. On myös mahdollista, että ruoka kuivuu tai jopa syttyy, jos on valittu liian pitkä kypsentämisaika. Rasva ja öljy ovat myös syttyviä aineita. Siksi on tärkeää valvoa laitteen toimintaa käytön aikana. Herkästi syttyvät nesteet kuten väkevät alkoholit eivät luonnollisesti sovellu kuumennettaviksi. ∙ Jos huomaat käytön aikana savua, pidä laitteen ovi kiinni tai estä tai tukahduta liekit. Kytke laitteesta virta pois välittömästi ja irrota pistotulppa pistorasiasta. ∙ Palovammojen estämiseksi käytä aina asianmukaista patalappua ottaessasi ruoka-aineita uunista, koska valmistusvälineet ja -astiat kuumenevat sekä grilli- ja kiertoilmatoiminnon että mikrouunin käytön aikana. ∙ Erityisiä ruokalämpömittareita (joita käytetään tavallisissa uuneissa) ei voi käyttää mikroaaltouuneissa. Ennen ensimmäistä käyttöä ∙ Tarkista laite ja sen liitäntäjohto vaurioiden varalta, kun olet ottanut sen pois pakkauksesta ja aina ennen sen kytkemistä sähköverkkoon.131 142 x 208 mm ∙ Huom: Tarkista myös, että laitteen ovi (mukaan lukien ikkuna, ovitiivisteet ja lukot) ei ole vaurioitunut tai taipunut. Sulje ovi kunnolla kehystä vasten. Tämä on tärkeää, jotta mikroaaltoenergiaa ei säteile käytön aikana. Samasta syystä tarkasta myös huolellisesti laitteen kotelo ja uunin sisäpuoli. Jos laitteessa ilmenee jotain vikaa, sitä ei saa käyttää ennen kuin asiantunteva ammattikorjaaja on korjannut sen. ∙ Poista kaikki ulko- ja sisäpakkausmateriaalit ja tarrat. Kaikki nämä materiaalit sopivat kierrätykseen. ∙ Varoitus: Älä irrota kumitulppia grilliritilästä. ∙ Älä poista suojafoliota oven sisäpuolelta. ∙ Varoitus: Pidä lapset poissa pakkausmateriaalien luota potentiaalisen vaaratilanteen esim. tukehtumisvaaran vuoksi. ∙ Ennen kuin laitetta käytetään ensimmäistä kertaa tai jos sitä ei ole käytetty pitkään aikaan, se on puhdistettava huolellisesti jaksossa Laitteen puhdistus. ∙ Anna laitteen kuumentua noin 10 minuutin ajan grilliasetuksella (ilman mikroaaltotoimintoa) ennen ensimmäistä käyttökertaa. Tämä toimenpide poistaa hajun, jota ilmenee tavallisesti, kun grilli kytketään päälle ensimmäistä kertaa. Laitteesta voi tulla jonkin verran savua; tämä on normaalia, mutta huolehdi kuitenkin riittävästä tuuletuksesta. ∙ Huom: Älä kytke mikrouuniin virtaa, jollei uuniin ole laitettu lämmitettävää tai kypsennettävää ruokaa. Laitteen käyttäminen tyhjänä voi aiheuttaa vaurioita. ISM-laite Tämä laite kuuluu 2-ryhmään ja B ISM -luokkaan. 2-ryhmä käsittää kaikki ISM-laitteet (teolliset, tieteelliset, lääketieteelliset), jotka tuottavat suurtaajuusenergiaa ja/tai käyttävät suurtaajuusenergiaa sähkömagneettisen säteilyn muodossa käsitelläkseen materiaaleja; se käsittää myös kipinätyöstölaitteet. Luokka B erittelee kotitalouskäyttöön tarkoitetut laitteet tai kaikki vastaavanlaiset laitteet, jotka on yhdistetty kotitalouksille sähköä jakavaan, yleiseen sähköverkkoon. Miten mikroaallot toimivat (Ryhmä II EN 55011 vaatimusten mukaisesti) Laitteen sisällä syntyy sähkömagneettista energiaa, joka saa ruuan molekyylit (enimmältään vesimolekyyleja) kieppumaan ja aiheuttaa ruuan kuumenemisen. Siksi paljon vettä sisältävät ruoka-aineet kuumenevat nopeammin kuin suhteellisen kuivat ruoka-aineet. Lämpöä syntyy vähitellen ruoka-aineessa. Ruuan valmistamisessa käytetyt välineet ja astiat kuumenevat vain epäsuorasti ruuan lämpötilan nousun seurauksena. Käytä aina mikrouunikäyttöön soveltuvia astioita ∙ Älä aseta elintarvikkeita suoraan lasialustan päälle, vaan käytä sopivaa astiaa. ∙ Metalliesineitä tulee välttää, koska mikroaallot heijastuvat metallista eivätkä ehkä saavutakaan kypsennettävää ruoka- ainetta. Uunin sisällä metalli voi myös aiheuttaa kipinöintiä, mikä saattaa vaurioittaa laitetta. ∙ Yleisesti ottaen aterimia tai metalliastioita ei saa käyttää mikrouunissa. Jotkut ruokien pakkausaineet sisältävät alumiinifoliota tai metallilankaa paperikerroksen alla, ja niitä ei saa käyttää mikroaaltolaitteiden kanssa. Jos ruokaohjeessa suositellaan alumiinifolion käyttöä, on ruoka-aine käärittävä tiiviisti folioon (välttämällä ilmakuplien syntymistä). On myös varmistettava, että alumiinifolion ja uunin sisäseinien väliin jää vähintään 2,5 cm:n tila. ∙ Tarkista aina, että ruuan valmistukseen käytettävässä astiassa tai lautasessa ei ole metallikoristeita kuten kullattua reunusta tai metallihiukkasia sisältävää väriä. Lyijykristallista valmistetut esineet eivät myöskään sovi mikroaaltolaitteisiin. Varmista myös, että käyttämissäsi astioissa ei ole onttoja osia (esim. varressa tai kädensijassa). Huokoisiin materiaaleihin on ehkä imeytynyt vettä puhdistuksen aikana eivätkä ne siksi sovi käytettäviksi mikroaaltolaitteissa. Melamiinimuovista valmistetut keittoastiat tai välineet imevät energiaa eivätkä siis sovi mikroaaltokäyttöön. Mikroaaltotoiminto ∙ Kuumuutta kestävästä lasista tai posliinista tehdyt astiat sopivat erittäin hyvin mikrouuniin. ∙ Muovi sopii käytettäväksi vain, jos se on kuumuutta kestävää. ∙ Mikrouunikäyttöön sopivia astioita voi ostaa useimmista keittiötarvikemyymälöistä. ∙ Ruuanvalmistuspussit on puhkaistava, jotta paine poistuu niistä ruuanvalmistuksen aikana. Grilli- tai kuumailmatoiminnon käyttö ∙ Näillä toiminnoilla laitteessa voidaan käyttää kaikkia tavalliseen uuniin sopivia, kuumuutta kestäviä astioita tai lautasia. Älä kuitenkaan käytä muoviastioita.132 142 x 208 mm ∙ Kypsennettävä ruoka voidaan asettaa suoraan grilliritilän tai paistopellin päälle. Työnnä grilliritilä sisään ja aseta paistopelti lasialustan päälle. Mikroaalto-/grilli- tai mikroaalto-/kuumailmatoiminnon yhdistelmä ∙ Yhdistelmätoimintoja käytettäessä mikroaalto- ja grilli- tai kuumailmatoiminnot aktivoituvat vuoroittain. Siksi käytettävien astioiden ja lautasten on sovittava sekä mikrouunikäyttöön että oltava kuumuutta kestäviä. Muoviastioita ei saa käyttää suhteellisen korkeiden lämpötilojen takia. Varmista, että käytettävä astia tai lautanen ei sisällä metalliosia. Toiminta Kellon ensiasetus ∙ Kun laite on kytketty virtalähteeseen, näyttöön ilmestyy „1:00“, tuntinäyttö vilkkuu ja kuuluu merkkiääni. ∙ Aseta oikea tunti kiertokytkintä kääntämällä. ∙ Paina lyhyesti painiketta . Minuuttinumerot alkavat vilkkua. ∙ Aseta oikeat minuutit kiertokytkintä kääntämällä. ∙ Päätä ajan asettaminen painamalla lyhyesti painiketta . ’:’ vilkkuu näytöllä ja nykyinen aika näytetään. ∙ Ajan asettaminen voidaan peruuttaa tai ohittaa painiketta painamalla. ∙ Kellonaika täytyy asettaa uudelleen sähkökatkoksen jälkeen. Ajan muuttaminen ∙ Paina painiketta 3 sekunnin ajan muuttaaksesi aikaa. Näytöllä näkyy Hr 24 tai Hr 12. ∙ Vaihda 24- tai 12-tunnin muotoon painamalla lyhyesti painiketta . ∙ Tuntinäyttö vilkkuu; aseta oikea tunti kiertokytkintä kääntämällä. ∙ Paina lyhyesti painiketta . Minuuttinumerot alkavat vilkkua. ∙ Aseta oikeat minuutit kiertokytkintä kääntämällä. ∙ Päätä ajan asettaminen painamalla lyhyesti painiketta . ’:’ vilkkuu näytöllä ja nykyinen aika näytetään. Äänimerkki & Lapsilukko Äänimerkki ∙ Kun mitä tahansa ohjauspainiketta painetaan tai kiertokytkintä käännetään, oikein syöttö vahvistuu piippaavalla äänimerkillä. ∙ Peruuta äänimerkki painamalla lyhyesti painiketta . Piippaavan merkkiäänen peruuttaminen tällä tavalla vaikuttaa vain ohjauspainikkeen tai kiertokytkimen käyttöön; merkkiäänet ilmaisevat ohjelmajaksojen olevan yhä aktiivisia. ∙ Aktivoi äänimerkki uudelleen painamalla painiketta lyhyesti uudelleen. Lapsilukko: ∙ Lapsilukko estää lapsia käyttämästä laitetta ilman valvontaa. ∙ Aktivoi lapsilukko painamalla -painiketta kolmen sekunnin ajan. Symboli tulee näyttöön. ∙ Poista lapsilukko käytöstä painamalla -painiketta uudelleen kolme sekuntia. Symboli katoaa. ∙ Huomaa: Jos laitteen käynnistäminen ei onnistu, varmista, ettei lapsilukko ole päällä. Normaali ohjelmointi ∙ Annostele lämmitettävä elintarvike sopivaan astiaan ja aseta astia lasialustan päälle. ∙ Mikrouunissa kuumennettava ruoka on peitettävä kuivumisen estämiseksi. Tähän tarkoitukseen sopivia kansia yms. voi ostaa useimmista keittiötarvikeliikkeistä. ∙ Grilli-, kuumailma- tai yhdistelmätoimintoja käytettäessä valmistettavaa ruokaa ei saa peittää. ∙ Sulje ovi ja valitse haluamasi toimintosarja. ∙ Huomaa: Kypsennysaikaa asetettaessa käytetään seuraavia jaksoja: 0 – 5 minuuttia : 10 sekunnin jaksot 5 – 10 minuuttia : 30 sekunnin jaksot 10 – 30 minuuttia : 1 minuutin jaksot 30 – 95 minuuttia : 5 minuutin jaksot133 142 x 208 mm ∙ Käynnistä ohjelma kiertokytkintä painamalla. ∙ Kun toimintosarja käynnistyy, sisävalo syttyy. ∙ Jos ovi avataan käytön aikana tai -painiketta painetaan (esimerkiksi ruoan sekoittamiseksi kääntämiseksi niin, että lämpö jakautuu tasaisesti), ajastin- ja ohjelmatoiminnot keskeytyvät automaattisesti. Valmistusaikaa voi tällöin muuttaa, mikäli tarpeen. Ohjelma jatkuu automaattisesti heti, kun ovi suljetaan jälleen ja kiertokytkintä painetaan. ∙ Toimintosarja keskeytetään painamalla -painiketta kahdesti. ∙ Merkkiääntä ilmoittaa, että ajastettu aika on kulunut. Samalla sisävalo sammuu ja näyttöön tulee ”End” ∙ Avaa ovi ja ota ruoka-astia pois mikrosta. ∙ Jotta lämpö jakautuisi tasaisesti ruuassa, on astian annettava seisoa useamman minuutin ajan. ∙ Jos ovea ei avata heti, kun esiohjelmoitu käyttöaika on kulunut, 2 minuutin välein kuuluu sarja merkkiääniä. Jäähdytystoiminto: Tämä mikroaaltouuni sisältää automaattisen jäähdytysominaisuuden. Kun käyttöaika ylittää kaksi kolme minuuttia, jäähdytystuuletin käynnistyy automaattisesti muutaman minuutin ajaksi ohjelman päätyttyä. Grilliritilä & paistoalusta ∙ Grilliritilä ja paistoalusta soveltuvat mikroaaltouuni-, grilli- ja kuumailmakäyttöön. ∙ Varoitus: Älä irrota kumitulppia grilliritilästä. ∙ Työnnä grilliritilä halutulle korkeudelle ja aseta paistopelti grilliritilän tai lasialustan päälle. ∙ Kypsennettävä ruoka voidaan asettaa suoraan grilliritilälle tai paistoalustalle. Kypsennys/kuumennus mikroaalloilla Mikroaalloilla kypsennettäessä/kuumennettaessa lämmitys vaikuttaa suoraan ruoan sisälle. Vinkki! Kun grilliritilän tai lasialustan päälle asetetaan kaksi annosta, aseta kypsennettävät ruoka-annokset erilleen toisistaan niin, että ne eivät koske toisiinsa. Kun säädetystä ajasta on kulunut puolet, vaihda annosten paikkaa. ∙ Paina painiketta toistamiseen, kunnes haluttu tehoasetus tulee näyttöön (katso alla oleva taulukko). ∙ Valitse sitten kiertokytkimellä haluamasi kypsennysaika. Käyntiajan voi asettaa enintään 95 minuutiksi. ∙ Käynnistä kypsennysprosessi kiertokytkintä painamalla. ∙ Hämmennä kypsennettävää tai lämmitettävää ruokaa varmistaaksesi lämmön tasaisen jakaantumisen. ∙ Jos kypsennysprosessin aikana painetaan -painiketta, näyttöön tulee valittu tehoasetus. Teho (W) Teho

Näyttö Toiminto Käyttö Käännä kerran 900 W 100 P100 Korkea asetus Nesteiden kuumentaminen, kypsentäminen 2 x 810 W 90 P-90 3 x 720 W 80 P-80 4 x 630 W 70 P-70 Keskikorkea asetus Pakasteiden sulattaminen ja kuumentaminen 5 x 540 W 60 P-60 6 x 450 W 50 P-50 Keskiasetus Herkkien ruoka-aineiden kypsentäminen 7 x 360 W 40 P-40 8 x 270 W 30 P-30 Alhainen Ruoan sulattaminen 9 x 180 W 20 P-20 10 x 90 W 10 P-10 Erittäin alhainen Herkkien ruokien sulattaminen134 142 x 208 mm Pikaohjelmointi / mikroaalloilla kypsennys ∙ Painikkeen painaminen aktivoi suoraan kypsennysprosessin. Kypsennysaikaan lisätään 30 sekuntia aina kun painiketta painetaan. ∙ Mikrouunin tehoasetus on aina 100 %. ∙ Kypsennysaika voidaan esiasettaa enintään 95 minuuttiin. ∙ Jos painiketta painetaan mikroaalto-ohjelman ollessa aktiivinen, painallus lisää 30 sekuntia kypsennysaikaan. Kiertokytkin - Pikaohjelmointi / mikroaalloilla kypsennys ∙ Tarvittava kypsennysaika valitaan kääntämällä kiertokytkintä myötäpäivään. ∙ Kiertokytkimen painaminen käynnistää kypsennysprosessin suoraan. ∙ Mikrouunin tehoasetus on aina 100 %. ∙ Kypsennysaika voidaan esiasettaa enintään 95 minuuttiin. Grillitoiminto Grillausprosessi käyttää ruoan valmistamiseen säteilylämpöä. Toiminto soveltuu gratinointiin tai ohuiden lihanpalojen grillaamiseen. ∙ Paina painiketta . ∙ Valitse sitten kiertokytkimellä haluasi kypsennysaika. Kypsennysaika voidaan esiasettaa enintään 95 minuuttiin. ∙ Käynnistä kypsennysprosessi kiertokytkintä painamalla. ∙ Liha on käännettävä toisen puolen ruskistuttua ja otettava grillistä kummankin puolen kypsyttyä, minkä vuoksi kypsennysprosessia on seurattava tarkasti. Grilli-/mikroaaltotoiminnon yhdistelmäohjelmat Nämä ohjelmat soveltuvat linnunlihan, kalan valmistukseen tai gratinointiin. ∙ Paina -painiketta toistuvasti: Paina kaksi kertaa: Co-1 → 30 % mikroaaltotehoa, 70 % grillitehoa Paina kolme kertaa: Co-2 → 55 % mikroaaltotehoa, 45 % grillitehoa ∙ Valitse sitten kiertokytkimellä haluasi kypsennysaika. Kypsennysaika voidaan esiasettaa enintään 95 minuuttiin. ∙ Käynnistä kypsennysprosessi kiertokytkintä painamalla. ∙ Koska ruokaa täytyy kääntää, kun toinen puoli on riittävän ruskistunut, ja ottaa ulos molempien puolten ollessa valmiita, tätä prosessia on seurattava tarkasti. Erittäin kuuman ilman toiminto Tässä toiminnossa kuuma ilma kiertää uunin sisällä, mikä edesauttaa tasaista kypsymistä ja ruskistumista. Kuumailmakypsennys sopii erityisesti pizzan tai vastaavien ruokien valmistukseen. Vinkki! Kun grilliritilän ja lasialustan päällä valmistetaan kaksi annosta, aseta alempi kypsennettävä ruoka-annos paistopellille niin, ettei se ole suoraan lasialustan päällä. Kun säädetystä ajasta on kulunut puolet, vaihda annosten paikkaa. ∙ Paina painiketta toistamiseen valitaksesi kypsennyslämpötilan 230 °C ja 110 °C väliltä. ∙ Valitse sitten kiertokytkimellä haluasi kypsennysaika. Kypsennysaika voidaan esiasettaa enintään 95 minuuttiin. ∙ Käynnistä kypsennysprosessi kiertokytkintä painamalla. ∙ Koska ruokaa täytyy kääntää, kun toinen puoli on riittävän ruskistunut, ja ottaa ulos molempien puolten ollessa valmiita, tätä prosessia on seurattava tarkasti. ∙ Käännä ruokaa 180°, kun puolet kypsennysajasta on kulunut. ∙ Jos kypsennysprosessin aikana painetaan painiketta , näyttöön tulee valittu lämpötila. Esikuumentaminen: Tarvittaessa uuni voidaan esikuumentaa. ∙ Paina painiketta toistamiseen valitaksesi kypsennyslämpötilan 230 °C ja 110 °C väliltä. ∙ Käynnistä kuumennus heti kiertokytkintä painamalla. Näytöllä näkyy 30.00 ja esikuumennus käynnistyy. ∙ Merkkiäänet ilmaisevat, että valittu lämpötila on saavutettu. Avaa ovi ja laita ruoka sisään. ∙ Paina käynnistääksesi prosessin, josta on kuvaus kohdassa ’Kuumailmatoiminto’. Yhdistelmäohjelma ja erittäin kuuma ilma ∙ Yhdistelmäohjelma sopii laatikkoruuille ja vastaaville. ∙ Paina painiketta noin 3 sekunnin ajan.135 142 x 208 mm ∙ Paina painiketta toistamiseen valitaksesi lämpötilan 230, 200, 170 tai 140 °C. Muut lämpötilat eivät ole valittavissa. ∙ Valitse sitten kiertokytkimellä haluasi kypsennysaika. Kypsennysaika voidaan esiasettaa enintään 95 minuuttiin. ∙ Käynnistä kypsennysprosessi kiertokytkintä painamalla. ∙ Koska ruokaa täytyy kääntää, kun toinen puoli on riittävän ruskistunut, ja ottaa ulos molempien puolten ollessa valmiita, tätä prosessia on seurattava tarkasti. ∙ Käännä ruokaa 180°, kun puolet kypsennysajasta on kulunut. ∙ Jos kypsennysprosessin aikana painetaan painiketta , näyttöön tulee valittu lämpötila.. Useiden ohjelmien asettaminen Mikroaaltouunille voidaan valita 2 erillistä ohjelmaa, jotka suoritetaan peräkkäin ilman että yksikköä tarvitsee käynnistää välissä; esim. normaali kypsennys mikroaaltotoiminnolla ensin ja sen jälkeen gratinointi grillillä. Tätä moniohjelmaominaisuutta voidaan käyttää minkä tahansa mikroaalto-, kuumailma-, grilli- ja yhdistelmätoiminnon kanssa. Automaattiset kypsennysohjelmat ja pikaohjelma eivät sovellu moninkertaiseen ohjelmointiin. ∙ Paina halutun ohjelman painiketta toistamiseen, kunnes näyttöön tulee haluttu tehoasetus/lämpötila. ∙ Valitse kiertokytkimellä haluamasi kypsennysaika. ∙ Paina sitten seuraavan ohjelman painiketta toistamiseen, kunnes näyttöön tulee haluttu tehoasetus/lämpötila. ∙ Valitse kiertokytkimellä haluamasi kypsennysaika. ∙ Käynnistä kypsennysprosessi kiertokytkintä painamalla. ∙ Laite käynnistää ensimmäisen ohjelman. Näytöllä näkyy S1. Heti kun seuraava ohjelma on käynnistetty, näyttöön vaihtuu S2. Vihje: Tämä muistitoiminto on erityisen hyödyllinen, kun ruokaa valmistetaan eri tehoasetuksilla. Kun aluksi valitaan suurempi tehoasetus, tehoa voidaan pienentää myöhemmin ruoan pitämiseksi kuumana ja jotta varmistetaan lämmön tasainen jakaantuminen ruoan ollessa valmista. Lempiruoan tallentaminen Yllä mainitut ohjelmat ja ohjelmayhdistelmät voidaan tallentaa ’lempiruokina’ nopeaa tulevaa käyttöä varten. Kolme eri ruokalajia voidaan tallentaa. Ellei muistitila ole täynnä, sen vastaava numero vilkkuu. Huomaa kuitenkin, ettei tässä tilassa voi valita automaattisia kypsennysohjelmia eikä pikaohjelmia. ∙ Paina painiketta lyhyesti kerran, kaksi tai kolme kertaa. Numero 1, 2 tai 3 alkaa vilkkua näytöllä. ∙ Paina halutun ohjelman painiketta toistamiseen, kunnes näyttöön tulee haluttu tehoasetus/lämpötila. ∙ Valitse kiertokytkimellä haluamasi kypsennysaika. ∙ Paina sitten seuraavan ohjelman painiketta toistamiseen, kunnes näyttöön tulee haluttu tehoasetus/lämpötila. ∙ Valitse kiertokytkimellä haluamasi kypsennysaika. ∙ Tallenna lempiruoka painamalla painiketta uudelleen lyhyesti. ∙ Tallennettu ohjelma voidaan tallentaa painamalla lyhyesti painiketta ja sitten kääntökytkintä. ∙ Jos laite on ollut kytkettynä irti verkkovirrasta, ohjelmat täytyy tallentaa uudelleen. ∙ Jos muistitila on jo täynnä, vastaava numero ei vilku. Muistitila voidaan kuitenkin päällekirjoittaa helposti edellä olevan kuvauksen mukaisesti. Automaattiset kypsennys- ja sulatusohjelmat Automaattiset ohjelmat ovat käytännöllisiä kypsennettäessä tai lämmitettäessä ruokaa ilman asetusten, kuten tehon tai kypsennysajan, erillistä valitsemista. ∙ Käännä kiertokytkintä vastapäivään, kunnes näyttöön tulee alla olevassa luettelossa oleva tarvittava ohjelma. Paina kiertokytkintä. ∙ Valitse kiertokytkimellä sopiva paino (katso taulukko). ∙ Käynnistä ohjelma kiertokytkintä painamalla. ∙ Näyttöön tulee valittu ohjelman kestoaika. Valikko Paino Näyttö A-1 Juomat 200 ml 1 400 ml 2 600 ml 3136 142 x 208 mm A-2 Popcorn 99 g 99 A-3 Nuudelit/pasta 100 g (kylmässä vedessä, 400 ml) 100 200 g (kylmässä vedessä, 800 ml) 200 300 g (kylmässä vedessä, 1200 ml) 300 A-4 Uuniperunat 230 g 1 460 g 2 690 g 3 A-5 Lämmitys 200 g 200 300 g 300 400 g 400 500 g 500 600 g 600 700 g 700 800 g 800 A-6 Kanapaisti 800 g 800 1000 g 1000 1200 g 1200 1400 g 1400 A-7 Pizza 150 g 150 300 g 300 450 g 450 A-8 Kakku noin 475 g

d-1 Sulatus ajan mukaan Valittava aika 0:00 d-2 Sulatus painon mukaan Valittava paino

142 x 208 mm Yleisohjeet A-1 Juomat: Juomien ja kuuman veden lämmitykseen teetä ja pikakahvia varten. A-2 Popcorn: Mikroaaltouunipopcorneille (saatavana pusseissa). Noudata aina pakkauksessa olevia valmistajan ohjeit. A-3 Nuudelit/pasta: Laita pasta sopivaan astiaan ja peitä se kylmällä vedellä; sijoita astia sisätilaan keskelle. A-4 Uuniperunat: Laita raa’at, kuorimattomat perunat sopivalle lautaselle ja aseta se uunin keskelle. A-5 Lämmitys: Kiinteän ruoan lämmitykseen mikroaaltouunin kestävässä astiassa. Vinkki: Järjestele ruoka ympyrän muotoon optimaalisen lämmönjakelun takaamiseksi. A-6 Kanapaisti: Laita koko kana mikroaaltouunin kestävälle lautaselle uunin keskelle. Merkkiäänet ilmaisevat, että esiohjelmoidusta kypsennysajasta on kulunut 1/2, kun kypsennys keskeytyy. Käännä kana ja käynnistä kypsennys jälleen kiertokytkintä painamalla. A-7 Pizza: Pizzan kypsentämiseen grilliritilällä tai paistoalustalla. Kun kypsennät pakastepizzoja, anna laitteen esikuumeta ensin valmistajan ohjeiden mukaisesti (löytyy pakkauksesta), ja valitse sitten sopiva automaattiohjelma. Merkkiäänet ilmaisevat, että esiohjelmoidusta kypsennysajasta on kulunut 1/2. Avaa luukku, käännä pizzaa 180° ja käynnistä kypsennysprosessi uudelleen painamalla kiertokytkintä. A-8 Kakku: Tämä ohjelma sopii painoltaan noin 475 g yksinkertaisten kakkujen paistamiseen. Huomioi reseptissä olevat esikuumennusaikaa koskevat tiedot ja lämmitä laite vastaavasti etukäteen. (katso “Kuuma ilma/esilämmitys”). Annostele kakkutaikina kuumuutta kestävään paistovuokaan ja aseta vuoka grilliritilän tai lasialustan päälle. Kun säädetystä ajasta on kulunut puolet, kuuluu äänimerkki. Avaa ovi, käännä paistovuokaa 180 ° ja paina valintanuppia jatkaaksesi kypsentämistä. d-1 Sulatus ajan mukaan: Katso osio ’Sulatus ajan mukaan’ alta. d-2 Sulatus painon mukaan: Katso osio ’Sulatus painon mukaan’ alta. d-1 Sulatus ajan mukaan ja d-2 Sulatus painon mukaan Sulatusohjelmat mahdollistavat aika- tai painoperusteisen sulatuksen. Käännä kiertokytkintä vastapäivään, kunnes näytöllä näkyy d-1 tai d-2. ∙ Vahvista ohjelman valinta kiertokytkintä painamalla. ∙ Käännä kiertokytkintä, kunnes näytöllä näkyy sulatusaika (ohjelma d-1) tai asiaankuuluva paino (ohjelma d-2). ∙ Käynnistä sulatus kiertokytkintä painamalla. Hyödyllisiä vihjeitä: ∙ Merkkiäänet ilmaisevat, että sulatusajasta on kulunut 2/3. Käännä ruoka ympäri ja ota pois valmiiksi sulanut osuus. ∙ Paina kiertokytkintä ohjelman jatkamiseksi. ∙ Jos ruoka ei sula kokonaan ajastetussa sulatusajassa, on sulattamista paras jatkaa 1 minuutin jaksoissa, kunnes ruoka on kokonaan sulanut. ∙ Mikroaaltouunikäyttöön soveltumattomissa muoviastioissa säilytettävä ruoka on syytä jättää joksikin aikaa seisomaan pakastimesta ottamisen jälkeen. Odota, kunnes ruoka irtoaa helposti muovista ennen kuin laitat sen uuniin mikrouunille soveltuvassa astiassa. Sisävalo Sisävalo syttyy, kun ovi avataan. Se palaa myös käytön aikana. Jos ohjelma on päättynyt, valo sammuu.138 142 x 208 mm Laitteen puhdistus ∙ Mikroaaltouuni on puhdistettava säännöllisesti poistamalla ruokajäämät heti käytön jälkeen. ∙ Varmista, että laitteesta on katkaistu virta ja että se on täysin jäähtynyt ennen puhdistamista. ∙ Älä käytä vettä laitteen puhdistamiseen. Varmista, ettei vettä pääse ollenkaan laitteen sisällä tai ulkopuolella sijaitseviin tuuletusaukkoihin. Älä käytä höyrypuhdistuslaitteita laitteen puhdistamiseen. ∙ Koko laite voidaan pyyhkiä kosteahkolla, nukattomalla rievulla ja miedolla pesuaineella. Kuivaa perusteellisesti pyyhkimisen jälkeen. ∙ Älä käytä hankausaineita tai vahvoja puhdistusliuoksia. Myynnissä olevia, tavallisten uunien puhdistukseen tarkoitettuja puhdistussuihkeita ei saa käyttää. ∙ Puhdista kypsennystila jokaisen käyttökerran jälkeen. Oven sisäpuoli, oven kehys ja lasialusta on pidettävä aina puhtaina. ∙ Grilliritilä ja paistoalusta voidaan puhdistaa lämpimässä saippuavedessä. Varoitus: Älä laita osia astianpesukoneeseen. Lisätietoa Tekniset tiedot Ulkomitat : 490 mm (L) x 491 mm (S) x 287 mm (K) Sisämitat : 340 mm (L) x 338 mm (S) x 197 mm (K) ∙ vapaa tila lasialusta alustan yläpuolella : 190 mm ∙ Paistoalusta : Ø 265 mm Paino : 17,4 kg Käyttöjännite : 230 V~ 50 Hz Tehontarve : 2050 W ∙ grilli : 1200 W ∙ mikrouuni : 1400 W ∙ kuumailmatoiminto : 2050 W Mikroaaltoteho : 90 W - 900 W Jätehuolto Tällä symbolilla merkityt laitteet täytyy hävittää kotitalousjätteestä erillään, sillä ne sisältävät arvokkaita kierrätyskelpoisia materiaaleja. Asianmukaisella hävittämisellä suojellaan ympäristöä ja ihmisterveyttä. Saat aiheesta lisätietoa paikallisilta viranomaisilta tai jälleenmyyjiltä.139 142 x 208 mm Micro-ondas Caro Cliente, Por favor, leia atentamente as instruções antes de usar o micro-ondas e guarde-as para referência futura. Aquele só pode ser usado por pessoas que estão familiarizadas com as instruções de segurança. Peças do aparelho

Käyttöohje-avustaja
ChatGPT:n tukema
Odotetaan viestiäsi
Tuotetiedot

Merkki : SEVERIN

Malli : MW 7777

Kategoria : Mikroaaltouuni