PK1803 - Jääkaappi PROGRESS - Ilmainen käyttöohje ja opas
Löydä laitteen käyttöohje ilmaiseksi PK1803 PROGRESS PDF-muodossa.
Questions des utilisateurs sur PK1803 PROGRESS
0 question sur cet appareil. Repondez a celles que vous connaissez ou posez la votre.
Poser une nouvelle question sur cet appareil
Lataa ohjeet laitteellesi Jääkaappi PDF-muodossa ilmaiseksi! Löydä käyttöohjeesi PK1803 - PROGRESS ja ota elektroninen laitteesi takaisin hallintaan. Tällä sivulla julkaistaan kaikki laitteidesi käyttöön tarvittavat asiakirjat. PK1803 merkiltä PROGRESS.
KÄYTTÖOHJE PK1803 PROGRESS
Temperatuuriindikaator kuvab vaikimisi määratud temperatuuri.
Külmiku temperatuuri saab muuta, vajutades temperatuurinuppu.
Turvallisuustiedot 19
Turvallisuusohjeet 20
Käyttö 21
Päivittäinen käyttö 24
Vihjeitä ja neuvoja 24
Hoito ja puhdistus 25
Vianmääritys 26
Asennus 29
Tekniset tiedot 33
Äänet 34
Oikeus muutoksiin pidätetään.
Lue laitteen mukana toimitetut ohjeet ennen laitteen asennusta ja käyttöä. Valmistaja ei ota vastuuta henkilö- tai omaisuusvahingoista, jotka aiheutuvat laitteen virheellisestä asennuksesta tai käytöstä. Pidä ohjeet aina laitteen mukana tulevia käyttökertoja varten.
Lasten ja taitamattomien henkilöiden turvallisuus
- Vähintään 8 vuotta täyttäneet lapset ja sellaiset henkilöt, joiden fyysiset, sensoriset tai henkiset kyvyt eivät ole tähän riittäviä tai joilla ei ole laitteen tuntemusta tai kokemusta sen käytöstä, saavat käyttää tätä laitetta ainoastaan silloin, kun heidän turvallisuudestaan vastaava henkilö valvoo ja ohjaa heitä käyttämään laitetta turvallisesti ja ymmärtämään sen käyttöön liittyvät vaarat.
- Älä anna lasten leikkiä laitteella.
- Lapset eivät saa suorittaa puhdistusta tai huoltoa ilman valvontaa.
- Pidä kaikki pakkausmateriaalit lasten ulottumattomissa.
Yleiset turvallisuusohjeet
- Laite on tarkoitettu käytettäväksi kotiympäristöissä ja vastaavissa ympäristöissä, kuten:
- henkilöstön kodinomainen keittiöympäristö liikkeissä, toimistoissa ja muissa työympäristöissä.
- hotellien, motellien ja muiden majatalojen asiakkaiden kodinomainen käyttöympäristö.
- Pidä kalusteen sisään asennetun laitteen syvennyksen tai kalustekaapin ilmanvaihtoaukot vapaina.
- Älä yritä nopeuttaa sulatusta mekaanisilla tai muilla sellaisilla välineillä, joita valmistaja ei ole neuvonut käyttämään.
- Varo vahingoittamasta jäähdytysputkistoa.
- Älä käytä sähkölaitteita elintarvikkeiden säilytystiloissa, elleivät ne ole valmistajan suosittelemaa tyyppiä.
- Älä suihkuta vettä tai käytä höyryä laitteen puhdistamiseen.
- Puhdista laite kostealla pehmeällä liinalla. Käytä vain mietoja puhdistusaineita. Älä käytä hankausainetta, hankaavia pesulappuja, liuottimia tai metalliesineitä.
- Älä säilytä laitteessa räjähtäviä aineita, kuten syttyvien ponneaineiden aerosolipulloja.
- Jos virtajohto vaurioituu, sen saa vaaratilanteiden välttämiseksi vaihtaa vain valmistaja, huoltoliike tai vastaava ammattitaitoinen henkilö.
TURVALLISUUSOHJEET
Asennus

VAROITUS! Asennuksen saa suorittaa vain ammattitaitoinen henkilö.
- Poista kaikki pakkausmateriaalit.
- Vaurioitunutta laitetta ei saa asentaa tai käyttää.
- Noudata koneen mukana toimitettuja ohjeita.
- Siirrä laitetta aina varoen, sillä se on raskas. Käytä aina suojakäsineitä.
- Varmista, että ilmankierto on hyvä laitteen ympärillä.
- Odota vähintään 4 tuntia ennen kuin kytket laitteen sähköverkkoon. Täten öljy virtaa takaisin kompressoriin.
- Älä asenna laitetta lämmittimien tai liesien, uunin tai keittotasojen lähelle.
- Laitteen takaosa on asetettava seinää kohden.
- Laitetta ei saa asentaa suoraan auringonvaloon.
- Älä asenna tätä laitetta liian kosteisiin tai kylmiin tiloihin, kuten rakennustelineisiin, autotalliin tai viinikellariin.
- Kun siirrät laitetta, nosta sitä etureunasta, jottet naarmuta lattiaa.
Sähköliitäntä

VAROITUS! Tulipalo- ja sähköiskuvaara.
- Laite on kytkettävä maadoitettuun pistorasiaan.
- Kaikki sähkökytkennät tulee jättää asiantuntevan sähköasentajan vastuulle.
- Varmista, että arvokilven sähkötiedot vastaavat kotitalouden sähköverkon arvoja. Ota muussa tapauksessa yhteyttä sähköasentajaan.
- Kytke pistoke maadoitettuun pistorasiaan.
- Älä käytä jakorasioita tai jatkojohtoja.
- Varmista, etteivät sähköosat vaurioidu (esim. pistoke, virtajohto, kompressori). Ota yhteyttä huoltoliikkeeseen tai sähköasentajaan sähköosien vaihtamiseksi.
- Virtajohdon on oltava aina pistokkeen alapuolella.
- Kytke pistoke pistorasiaan vasta asennuksen jälkeen. Varmista, että laitteen verkkovirtakytkentä on ulottuvilla laitteen asennuksen jälkeen.
- Älä vedä virtajohdosta pistoketta irrottaessasi. Vedä aina pistokkeesta.
Käyttö

VAROITUS! Henkilövahinkojen, palovammojen tai sähköiskujen tai tulipalon vaara.
- Älä muuta laitteen teknisiä ominaisuuksia.
- Älä aseta sähkölaitteita (esim. jäätelökoneita) laitteeseen, ellei valmistaja ole antanut lupaa niiden käyttöön.
- Varo, ettei jäähdytysputkisto vaurioidu. Se sisältää isobutaania (R600a), joka on hyvin ympäristöön yhteensopiva maakaasu. Kyseinen kaasu on syttyvää.
- Jos jäähdytysputkisto vaurioituu, varmista, ettei huoneessa ole avotulta ja sytytyslähteitä. Huolehdi hyvästä ilmanvaihdosta.
- Älä anna kuumien esineiden koskea laitteen muoviosia.
- Älä säilytä tulenarkoja kaasuja tai nesteitä laitteessa.
- Älä aseta laitteeseen, sen lähelle tai päälle syttyviä tuotteita tai syttyviin tuotteisiin kostutettuja esineitä.
- Älä kosketa kompressoriin tai lauhduttimeen. Ne ovat kuumia.
Hoito ja puhdistus

VAROITUS! Virheellinen käyttö voi aiheuttaa henkilövahinkoja tai laitteen vaurioitumisen.
KÄYTTÖ
Käyttöpaneeli
- Ennen kuin aloitat huoltoa tai puhdistusta, kytke laite pois toiminnasta ja irrota pistoke pistorasiasta.
- Laitteen jäähdytysyksikkö sisältää hiilivetyä. Ainoastaan pätevä alan ammattilainen saa huoltaa yksikköä ja täyttää sen uudelleen.
- Tarkista sulamisveden poistoaukko säännöllisesti ja puhdista se tarvittaessa. Jos poistoaukko on tukossa, sulanut vesi kerääntyy laitteen pohjalle.
Hävittäminen

VAROITUS! Henkilövahinko- tai tukehtumisvaara.
- Irrota pistoke pistorasiasta.
- Leikkaa johto irti ja hävitä se.
- Poista ovi, jotta lapset ja eläimet eivät voisi jäädä kiinni laitteen sisälle.
- Tämän laitteen jähdytysputkistossa ja eristysmateriaaleissa ei ole otsonikerrokselle haitallisia aineita.
- Eristevaahto sisältää tulenarkaa kaasua. Kysy lisätietoa laitteen oikeaoppisesta hävittämisestä paikalliselta viranomaiselta.
- Älä vaurioita lämmönvaihtimen lähellä olevaa jääkaapin osaa.

1 ON/OFF -painike
2 Näyttö
3 Lämpötilan lisäyspainike
4 Lämpötilan alennuspainike

OK -painike
Näyttö

text_image
A HE F GCB D 88 min 88°Laitteen käynnistäminen
Liitä pistoke pistorasiaan
- Paina ON/OFF-painiketta, jos näyttö ei ole päällä.
Lämpötilanäyttö näyttää asetetun oletuslämpötilan.
- Hälytyksen äänimerkki saattaa kuulua muutaman sekunnin kuluttua. Jos "DEMO" tulee näkyviin näyttöön, laite on esitystilassa. Lue ohjeet kohdasta "Vianmääritys".

Jos haluat muuttaa lämpötila- asetusta, katso kohta "Lämpötilan säätäminen".
Laitteen kytkeminen pois toiminnasta
-
Paina virtapainiketta 5 sekunnin ajan. Näyttö sammuu.
-
Irrota pistoke pistorasiasta.
Lämpötilan säätäminen
Jääkaapin oletuslämpötila on +5 °C.
Aseta jääkaapin lämpötila painamalla lämpötilapainiketta.
Lämpötilanäyttö näyttää asetetun lämpötilan.

Asetettu lämpötila saavutetaan 24 tunnin kuluessa.
Asetettu lämpötila säilyy laitteen muistissa sähkökatkoksen jälkeen.

Functions -painike
A) Ajastin
B) Tuuletustoiminto
C) Intensive cooling -toiminto
D) DrinksChill -toiminto
E) Holiday -toiminto
F) ChildLock -toiminto
G) Hälytyksen merkkivalo
H) Lämpötilan merkkivalo
DrinksChill -toiminto
DrinksChill-tilaa tulee käyttää hälytysmerkkiänen aktivoimiseen tiettynä ajankohtana, se on hyödyllinen esimerkiksi silloin, kun haluat nopeasti jäähdyttää elintarvikkeita tietyssä ajassa.
-
Kytke toiminto toimintaan painamalla Functions-painiketta, kunnes vastaava kuvake tulee näkyviin. Merkkivalo DrinksChill alkaa vilkkua. Ajastin näyttää asetetun arvon (30 minuuttia) muutaman sekunnin ajan.
-
Aseta ajastimen arvoksi 1–90 minuuttia painamalla lämpötilan vähennys- tai lisäyspainiketta.
-
Vahvista OK-painikkeella. DrinkChill syttyy. Ajastin alkaa vilkkua (min). Kun ajastimen aika on kulunut umpeen, DrinksChill-merkkivalo vilkkuu ja laitteesta kuuluu äänimerkki.
-
Paina OK-painiketta äänimerkin pois päältä kytkemiseksi ja toiminnon lopettamiseksi.

Toiminto voidaan kytkeä pois toiminnasta milloin tahansa ajanlaskennan aikana painamalla painiketta Functions, kunnes DrinksChill-merkkivalo vilkuu ja vahvistamalla sen jälkeen OK-painikkeella.

Aika-asetusta voidaan muuttaa ajastuksen aikana ja sen päättyessä painamalla lämpötilan alennuspainiketta ja lämpötilan lisäyspainiketta.
ChildLock -toiminto
Estä painikkeiden käyttäminen lapsilukolla valitsemalla ChildLock-toiminto.
- Paina Functions-painiketta, kunnes vastaava kuvake tulee näkyviin.
Merkkivalo ChildLock alkaa vilkkua. - Vahvista OK-painikkeella.
ChildLock-merkkivalo syttyy. - Kytke toiminto pois toiminnasta painamalla Functions-painiketta, kunnes merkkivalo ChildLock vilkkuu, vahvista valinta OK-painikkeella.
ChildLock-toiminnon merkkivalo sammuu.
IntensiveCooling
Jos laitat jääkaappiin paljon tuoreita elintarvikkeita, esimerkiksi kaupassakäynnin jälkeen, on suositeltavaa kytkeä IntensiveCooling-toiminto, jotta tuotteet jäähtyvät nopeammin. Tällä tavoin voidaan välttää myös muiden jo jääkaapissa olevien elintarvikkeiden lämpeneminen.
IntensiveCooling kytkeytyy pois toiminnasta automaattisesti noin kuuden tunnin kuluttua.
-
Käynnistä toiminto seuraavasti:
a. Paina Functions-painiketta, kunnes vastaava kuvake tulee näkyviin.
Merkkivalo IntensiveCooling alkaa vilkkua.
b. Vahvista OK-painikkeella.
IntensiveCooling-merkkivalo syttyy. -
Toiminnon poistaminen käytöstä ennen sen automaattista päättymistä:
a. Paina Functions-painiketta, kunnes IntensiveCooling-merkkivalo alkaa vilkkua.
b. Vahvista OK-painikkeella.
IntensiveCooling-toiminnon merkkivalo sammuu.

Toiminto voidaan sammuttaa muuttamalla jääkaapin lämpötila-asetusta.
Lomatoiminto
Tämän toiminnon avulla voit tyhjentää jääkaapin ja jättää oven kiinni esimerkiksi pitkän loman ajaksi ilman, että jääkaappiin muodostuu epämiellyttävää hajua.

Jääkaappiosasto on tyhjennettävä lomatoiminnon käytön ajaksi.
- Paina Functions-painiketta, kunnes vastaava kuvake tulee näkyviin.
Lomatoiminnon merkkivalo alkaa vilkkua. Jääkaapin lämpötilanäytössä näkyy asetettu lämpötila. - Vahvista OK-painikkeella. Lomatoiminnon merkkivalo syttyy. Voit kytkeä toiminnon pois päältä toistamalla toimenpiteen, kunnes lomatoiminnon merkkivalo sammuu.

Toiminto voidaan sammuttaa muuttamalla jääkaapin lämpötila-asetusta.
Ovihälytys
Jos ovi on auki muutaman minuutin ajan, laitteesta kuuluu äänimerkki. Oven aukiolo ilmaistaan seuraavasti:
• vilkkuva hälytysmerkki
- äänimerkki.
Kun olosuhteet ovat palautuneet normaaleiksi (ovi suljettu), äänimerkki sammu.
Hälytyksen aikana merkkiääni voidaan sammuttaa painamalla mitä tahansa käyttöpaneelin painiketta.
PÄIVITTÄINEN KÄYTTÖ
Siirrettävät hyllyt
Jääkaapin seinissä on kannattimia eri tasoilla, minkä ansiosta hyllyt voidaan sijoittaa halutulle tasolle.

Älä siirrä vihanneslaatikon ja pullohyllyn yläpuolella olevia lasihyllyä, jotta jääkaapin ilmanvaihto toimii oikein.
Ovihyllyjen sijoittaminen
Ovihyllyt voidaan sijoittaa eri korkeuksille siten, että erikokoiset pakkaukset mahtuvat lokeroihin.
Ovihyllyjen korkeus säädetään seuraavasti:
- Vedä lokeroa varovasti nuolen suuntaan, kunnes se irtoaa kiinnikkeestään.

Normaalin toiminnan äänet
Seuraavat äänet ovat normaaleja käytön aikana:
- Asenna hylly haluamaasi kohtaan.
Puhallin

Jääkaappiosastossa on laite, joka mahdollistaa elintarvikkeiden nopean jäähdyttämisen ja tasaisemman lämpötilan.
Laite aktivoituu itsestään esimerkiksi oikean lämpötilan palauttamiseksi nopeasti oven avaamisen jälkeen tai silloin, kun ympäristön lämpötila on korkea.
Laite voidaan kytkeä manuaalisesti päälle tarvittaessa (katso kohta "Puhallintoiminto").

Puhallinlaite pysähtyy, kun ovi on auki, ja käynnistyy uudelleen oven sulkemisen jälkeen.
- Kevyt loriseva tai pulputtava ääni jäähdytysaineen kierron aikana.
-
Huriseva ja sykkivä ääni kompressorista jäähdytysaineen kierron aikana.
-
Äkillinen rätisevä lämpölaajenemisen aiheuttama ääni laitteen sisältä (luonnollinen ja vaaraton ilmiö).
- Kevyt napsahdusääni lämpötilan säätimestä kompressorin kytkeytyessä päälle tai pois päältä.
Energiansäästövinkkejä
- Älä avaa ovea usein äläkä pidä ovea auki pitempään kuin on tarpeen.
- Jos ympäristön lämpötila on korkea ja lämpötila on säädetty hyvin kylmäksi laitteen ollessa aivan täynnä, kompressori voi käydä jatkuvasti, jolloin höyrystimeen muodostuu huurretta tai jäätä. Aseta lämpötilan säädin tässä tapauksessa lämpimämpään asetukseen sulatuksen käynnistämiseksi, jolloin voit säästää energiaa.
Tuoreiden elintarvikkeiden säilytys
Noudata seuraavia ohjeita varmistaaksesi elintarvikkeiden parhaan mahdollisen säilyvyyden:
- Alä laita jääkaappiin lämpimiä ruokia tai haihtuvia nesteitä.
- Peitä ruoka kannella tai kääri folioon tms. erityisesti, kun ruoka on voimakastuoksuista.
- Sijoita elintarvikkeet jääkaappiin siten, että ilma pääsee kiertämään vapaasti niiden ympärillä
Säilytysohjeita
Vinkkejä:
- Liha (kaikki tyypit): pakkaa muovipusseihin ja laita vihanneslaatikon päällä olevalle lasihyllylle.
- Säilytä lihaa tällä tavoin korkeintaan muutama päivä.
- Kypsennetyt ruoat, kylmät ruoat, jne.: kannella ja aseta ne mille hyllylle tahansa.
- Hedelmät ja vihannekset: puhdista huolellisesti ja säilytä niille tarkoitetussa laatikossa/laatikoissa.
- Voi ja juusto: säilytä ilmatiiviissä rasioissa tai pakattuna alumiinifolioon tai muovipussiin mahdollisimman ilmatiiviisti.
- Pullot: säilytä pullot suljettuina joko pullotelineessä tai oven pullohyllyssä (jos varusteena).
- Banaaneita, perunoita, sipuleita ja valkosipuleita ei pidä säilyttää jääkaapissa pakkaamattomana.
HOITO JA PUHDISTUS

VAROITUS! Lue turvallisuutta koskevat luvut.
Yleiset varoitukset

HUOMIO! Kytke laite irti verkkovirrasta ennen minkäänlaisten puhdistustoimenpiteiden suorittamista.

Laitteen jäähdytysyksikkö sisältää hiilivetyä. Jäähdytysyksikön huollon ja täytön saa suorittaa ainoastaan valtuutettu huoltomekaanikko.

Jääkaapin varusteita ja osia ei saa pestä astianpesukoneessa.
Säännöllinen puhdistus

HUOMIO! Älä vedä, siirrä tai vahingoita kaapin sisällä olevia putkia ja kaapeleita.

HUOMIO! Varo vahingoittamasta jäähdytysjärjestelmää.

HUOMIO! Kun siirrät laitetta, nosta sitä etureunasta, jottet naarmuta lattiaa.
Laite on puhdistettava säännöllisesti.
-
Puhdista sisäosa ja varusteet lämpimällä vedellä ja käsitiskiaineella.
-
Tarkista oven tiivisteet säännöllisesti ja pyyhi ne puhtaaksi.
-
Huuhtele ja kuivaa huolellisesti.
-
Jos mahdollista, puhdista laitteen takaosassa sijaitsevat lauhdutin ja kompressori harjalla.
Tämä toimenpide parantaa laitteen suorituskykyä ja säästää energiaa.
Jääkaapin sulattaminen
Normaalikäytössä huurretta poistuu automaattisesti jääkaappiosaston höyrystimestä aina kompressorin pysähtyessä. Sulatusvesi valuu laitteen takana, kompressorin yläpuolella sijaitsevaan kaukaloon, josta se haihtuu.
Jääkaappiosaston kanavan keskellä oleva sulatusveden tyhjennysaukko on tärkeää puhdistaa säännöllisin väliajoin, jotta vettä ei tulvi yli ja tipu ruokien päälle.

VAROITUS! Lue turvallisuutta koskevat luvut.
Käyttöhäiriöt
| Ongelma Mahdollinen syy Korjaustoimenpide | ||
| Laite ei toimi lainkaan. Virta on | katkaistu laitteesta. Kytke laitteeseen virta. | |
| Pistoke ei ole kunnolla kiin- | ni pistorasiassa. | Kiinnitä pistoke oikein pistora-siaan. |
Jos laitetta ei käytetä pitkään aikaan
Jos laitetta ei ole tarkoitus käyttää pitkään aikaan, suorita seuraavat toimenpiteet:
-
Kytke laite irti verkkovirrasta.
-
Ota kaikki ruoat pois
-
Puhdista laite ja kaikki lisävarusteet.
-
Jätä ovi/ovet raolleen, jotta laitteen sisälle ei muodostu epämiellyttävää hajua.

VAROITUS! Jos jätät laitteen päälle, pyydä jotakin toista henkilöä tarkistamaan kaappiin jätetyt elintarvikkeet aika ajoin, jotta ne eivät pilaannu esimerkiksi sähkökatkon sattuessa.
| Ongelma Mahdollinen syy Korjaustoimenpide | ||
| Pistorasiaan ei tule jännitet- | tä. | Kokeile kytkemällä pistorasiaan jokin toinen sähkölaite. Ota yhteys sähköasentajaan. |
| Laitteen käyntiääni on kova. Laitetta ei ole tuettu kun-nolla paikalleen. | Tarkista, onko laite vakaa. | |
| Äänimerkki tai visuaalinen hä- lytys on päällä. | Pakastin on juuri kytketty päälle tai lämpötila on vielä liian korkea. | Katso kohta "Ovihälytys" tai "Korkean lämpötilan hälytys". |
| Laitteen lämpötila on liian korkea. | Katso kohta "Ovihälytys" tai "Korkean lämpötilan hälytys". | |
| Ovi on jätetty auki. Sulje luukku. | ||
| Laitteen lämpötila on liian korkea. | Ota yhteyttä pätevään sähköa-sentajaan tai paikalliseen val-tuutettuun huoltopalveluun. | |
| Lämpötilanäytössä näkyy suorakulmio numeroiden si- jaan. | Lämpötila-anturin häiriö. Ota yhteys valtuutettuun huol-toliikkeeseen (jäähdytysjärjestel-mä pitää elintarvikkeet kylminä, mutta lämpötilaa ei voi säätää). | |
| Valo ei syty. Lamppu on valmiustilassa. Sulje ja avaa ovi. | ||
| Valo ei syty. Lamppu on palanut. Ota yhteyttä valtuutettuun huol-toliikkeeseen. | ||
| Kompressori käy jatkuvasti. Lämpötila on asetettu vir- heellisesti. | Lue ohjeet Käyttö-luvusta. | |
| Laitteeseen on pantu mon- ia elintarvikkeita samanai-kaisesti. | Odota muutama tunti ja tarkista lämpötila uudelleen. | |
| Huoneen lämpötila on liian korkea. | Katso ilmastoluokan taulukko arvokilvestä. | |
| Ruoka on pantu kodinko- neeseen liian lämpimänä. | Anna ruoan jäähtyä huoneen lämpötilaan ennen pakastamis-ta. | |
| Ovi ei ole kunnolla kiinni. Lue ohjeet kohdasta "Oven sul-keminen". | ||
| IntensiveCooling-toiminto on kytkettynä. | Katso kohta "IntensiveCooling-toiminto". | |
| Kompressori ei käynnisty heti IntensiveCooling-painikkeen painamisen tai lämpötilan muuttamisen jälkeen. | Tämä on normaalia, eikä tarkoita vikaa. | Kompressori käynnistyy jonkin ajan kuluttua. |
| Vettä valuu jääkaapin sisälle. Veden tyhjennysaukko on tukossa. | Puhdista veden tyhjennysaukko. | |
| Elintarvikkeet estävät veden valumisen vedenkeruukau-kaloon. | Tarkista, että elintarvikkeet eivät kosketa takaseinään. | |
| Vettä valuu lattialle. Sulatusvesiaukkoa ei ole lii-tetty kompressorin yläpuo-lella olevaan haihdutusas-tiaan. | Kiinnitä sulatusveden poisto-putki haihdutusastiaan. | |
| Lämpötilaa ei voi säätää. FastFreeze tai Intensive-Cooling-toiminto on kytket-ty päälle. | Kytke FastFreeze tai Intensive-Cooling pois päältä manuaali-sesti tai odota, kunnes toiminto nollautuu automaattisesti lämp-ötilan asettamiseksi. Katso koh-ta "FastFreeze- tai Intensive-Cooling-toiminto". | |
| DEMO tulee näkymään näyt-töön. | Laite on esitystilassa. Pidä OK-painiketta painettuna noin 10 sekunnin ajan, kunnes kuulet pitkän äänimerkin ja näyttö sammuu lyhyeksi ajaksi. | |
| Laitteen lämpötila on liian al-hainen tai korkea. | Lämpötilaa ei ole säädetty oikein. | Säädä lämpötila korkeammak-si/alhaisemmaksi. |
| Ovi ei ole kunnolla kiinni. Lue ohjeet kohdasta "Oven sul-keminen". | ||
| Ruat ovat liian lämpimiä. Anna ruokien lämpötilan laskea huoneen lämpötilaan ennen kuin laitat ruat laitteeseen. | ||
| Laitteeseen on lisätty paljon ruokia samalla kertaa. | Aseta laitteeseen vähemmän ruokia yhdellä kertaa. | |
| Ovea on avattu liian usein. Avaa ovi vain tarvittaessa. | ||
| IntensiveCooling-toiminto on kytkettynä. | Katso kohta "IntensiveCooling-toiminto". | |
| Laitteen kylmän ilman kier-to ei toimi. | Tarkista kylmän ilman kierto. | |

Jos ongelmaa ei ratkaista ohjeiden avulla, ota yhteyttä paikalliseen valtuutettuun huoltollikkeeseen.
Lampun vaihtaminen
Laitteessa on pitkäikäinen LED-sisävalo.
Vain huoltoliike saa vaihtaa lampun. Ota yhteys valtuutettuun huoltoliikkeeseen.
Oven sulkeminen
- Puhdista oven tiivisteet.
- Säädä ovea tarvittaessa. Lue ohjeet kohdasta "Asennus".
ASENNUS
Sijoittaminen
Asenna tämä laite kuivaan ja hyvin tuuletettuun sisätilaan, jossa ympäristön lämpötila vastaa laitteen arvokilvessä mainittua ilmastoluokkaa:
| Ilmas-toluok-ka | Ympäristölämpötila |
| SN +10°C - 32°C | |
| N +16 °C - 32°C | |
| ST +16 °C - 38°C | |
| T +16 °C - 43 °C | |

Joissakin malleissa voi esiintyä toiminnallisia ongelmia, jos niitä käytetään kyseisen käyttövälin ulkopuolella. Virheetön toiminta taataan vain määritetyllä lämpötilavälillä. Jos laitteen asennuspaikan valitsemisessa on epäselvyyksiä, käänny jälleenmyyjän, asiakaspalvelumme tai lähimmän huoltopalvelun puoleen.
Sähköliitäntä
- Ennen kuin kytket laitteen verkkovirtaan, tarkista, että arvokilvessä mainittu jännite ja taajuus vastaavat verkkovirran arvoja.
-
Laite on kytkettävä maadoitettuun pistorasiaan. Virtajohdon pistoke on varustettu maadoituskoskettimella. Jos pistorasia, johon laite kytketään, ei ole maadoitettu, ota yhteys sähköasentajaan ja pyydä asentajaa kytkemään laite erilliseen maadoitusliittimeen voimassa olevien määräysten mukaisesti.
-
Vaihda tarvittaessa vaurioituneet oven tiivisteet. Ota yhteys valtuutettuun huoltolikkeeseen.
-
Valmistaja ei vastaa millään tavalla vahingoista, mikäli edellä olevia turvallisuusohjeita ei ole noudatettu.
- Tämä kodinkone vastaa Euroopan yhteisön direktiivejä.
Ilmanvaihtovaatimukset
Ilmanvaihdon on oltava riittävä laitteen takana.

text_image
5 cm min. 200 cm² min. 200 cm²
HUOMIO! Lue asennusohjeet.
Oven kätisyyden vaihtaminen
Laitteen ovi avautuu oikealle. Jos haluat vaihtaa oven avautumissuunnan vasemmalle, suorita seuraavat toimenpiteet ennen laitteen asentamista paikalleen:
- Avaa ja irrota ylätappi.

- Irrota ovi.
- Poista välikappale.
- Löysää alatappi ruuviavaimella.
- Kiristä alatappi kiinni vastakkaiselle puolelle.

- Kiinnitä välikappale paikalleen.
- Asenna ovi paikalleen.
- Kiristä ylätappi.
Laitteen asentaminen

HUOMIO! Tarkista, että virtajohto pääsee liikkumaan vapaasti.
- Leikkaa tarvittaessa liimautuva tiivistelista ja kiinnitä se sen jälkeen laitteeseen kuvan mukaisesti.

- Poraa laitteeseen käyttäen ∅ 2,5 mm poraa (maks. 10 mm syvä reikä).
- Asenna neliön muotoinen lisäkappale laitteeseen.

text_image
13 mm Ø 2.5 mm 1 2 3- Asenna laite aukkoon.
- Työnnä laitetta nuolien (1) suuntaan, kunnes yläaukon suojus on kiinni keittiökalusteessa.

-
Työnnä laitetta nuolien (2) suuntaan saranan vastakkaisella puolella olevaa kaappia vasten.
-
Säädä laite aukkoon. Tarkista, että laitteen ja keittiökalusteen etureunan väliin jää 44 mm:n rako. Alemman saranan suojuksen (lisävarustepussissa) avulla voit varmistaa, että keittiökaluste ja laite tulevat oikein paikoilleen. Tarkista, että laitteen ja keittiökalusteen välinen rako on 4 mm.
-
Avaa ovi. Aseta alasaranan suojus paikalleen.

text_image
4mm 44mm- Kiinnitä laite aukkoon neljällä ruuvilla.

- Irrota oikea osa saranan suojuksesta (E). Jos tarvitset osan oikeanpuoleista saranaa varten, irrota osa, jossa on merkintä DX, ja irrota vasemmanpuoleista saranaa varten osa, jossa on merkintä SX.

- Kiinnitä suojukset (C, D) korvakkeisiin ja saranan aukkoihin.

- Kiinnitä ilmanvaihtoritilä (B) paikalleen.
- Kiinnitä saranan suojukset (E) saranaan.
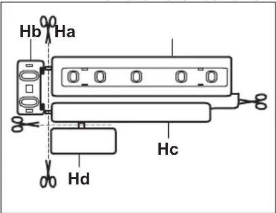
- Irrota osat (Ha), (Hb), (Hc) ja (Hd).

- Kiinnitä osa (Ha) keittiökalusteen sisäpuolelle.

text_image
ca. 50 mm 90° 21 mm 90° ca. 50 mm 21 mm- Paina osa (Hc) osan (Ha) päälle.

text_image
Ha Hc- Avaa laitteen ja keittiökalusteen ovet 90°:n kulmaan.
- Kiinnitä pieni neliö (Hb) ohjaimeen (Ha).
- Kiinnitä laitteen ovi ja kalusteen ovi yhteen ja merkitse reikien paikat.

- Poista pienet neliöt ja poraa ø 2 mm:n reiät 8 m:n päähän oven ulkoreunasta.
- Aseta pieni neliö uudelleen ohjaime päälle ja kiinnitä se paikalleen pakkauksen mukana toimitetuilla ruuveilla.
- Kohdista keittiökalusteen ovi ja laitteen ovi toisiinsa säätämällä osaa (Hb).

text_image
Hb- Paina osa (Hd) osan (Hb) päälle.

text_image
Hb HdTarkista lopuksi seuraavat seikat:
• Kaikki ruuvit on kiristetty.
- Tiivistelista on kiinnitetty tiukasti kaappiin.
- Ovi avautuu ja sulkeutuu kunnolla.
TEKNISET TIEDOT
Tekniset tiedot
| Asennusmitat | ||
| Korkeus mm 1780 | ||
| Leveys mm 560 | ||
| Syvyys mm 550 | ||
| Jännite V 230 - 240 | ||
| Taajuus Hz 50 |
Tekniset tiedot on merkitty laitteen ulkopuolelle tai sisäpuolelle kiinnitettyyn arvokilpeen ja energiatarraan.
ÄÄNET
Tietynlaiset äänet kuuluvat laitteen normaaliin toimintaan (kompressori, jäähdytysaineen kierto).

text_image
OK SSSRRR! HISSS! BLUBB! CLICK! BRRR! CRACK!
text_image
SSSRRR! SSSRRR! CLICK! CLICK!
text_image
HISSS! HISSS! BRRR! BRRR!
text_image
BLUBB! BLUBB! CRACK!CFYMPÄRISTÖNSUOJELU
Kierrätä materiaalit, jotka on merkitty merkillä Kierrätä pakkaus laittamalla se asianmukaiseen kierrätysastiaan. Suojele ympäristöä ja ihmisten terveyttä kierrättämällä sähkö- ja elektroniikkaromut.
Älä hävitä merkillä ⚫merkittyjä kodinkoneita kotitalousjätteen mukana. Palauta tuote paikalliseen kierrätyskeskukseen tai ota yhteyttä paikalliseen viranomaiseen.
HelppoOhje