ATS300EVB - Tostadora BESTRON - Manual de uso y guía de instrucciones gratis
Encuentra gratis el manual del aparato ATS300EVB BESTRON en formato PDF.
Preguntas de los usuarios sobre ATS300EVB BESTRON
0 pregunta sobre este aparato. Responde a las que conoces o haz la tuya.
Hacer una nueva pregunta sobre este aparato
Descarga las instrucciones para tu Tostadora en formato PDF gratis! Encuentra tus instrucciones ATS300EVB - BESTRON y toma tu dispositivo electrónico nuevamente en la mano. En esta página están publicados todos los documentos necesarios para el uso de su dispositivo. ATS300EVB de la marca BESTRON.
MANUAL DE USUARIO ATS300EVB BESTRON
ES Manual del usuario tostador

780 - 930W, 220 - 240V \~ 50/60Hz

VEILIGHEIDSVOORSCHRIFTEN - Algemeen
- Lea las instrucciones de uso con detenimiento y guárdelas cuidadosamente.
- Utilice este aparato únicamente en la forma que se describe en las instrucciones.
- Este aparato puede ser utilizado por niños de 8 años y arriba y personas con reducción capacidades físicas, sensoriales o mentales o falta de experiencia y conocimiento si han tenido supervisión o instrucciones relativas al uso del aparato de forma segura y entender los riesgos que conllevan.
- Es preciso vigilar que los niños no juequen con el aparato.
- Haga reparar el aparato únicamente por personal cualificado. No intente nunca repararlo usted mismo.
NORMAS DE SEGURIDAD - Electricidad y calor

Algunas partes del aparato pueden calentarse. as toque, para evitar quemaduras.
- Antes de utilizar el aparato, verifique que el voltaje de la red corresponda al voltaje indicado en la placa.
- Verifique que la toma de pared a la que va a conectar el aparato tenga conexión a tierra
- Retire siempre el enchufe de la toma de alimentación cuando no esté utilizando el aparato.
- Al retirar el enchufe de la toma de pared, asegúrese de tirar del enchufe y no del cable.
- Verifique regularmente que el cable del aparato esté en buenas condiciones. No utilice el aparato si el cable está averiado. Haga sustituir el cable deteriorado por personal de servicio cualificado.
- Si usa un cable de extensión, asegúrese de que éste está desenrollado completamente.
- Use únicamente un cable de extensión que tenga la debida aprobación.
- Algunas partes del aparato pueden calentarse. No las toque, para evitar quemaduras.
- Es indispensable que el aparato se pueda deshacer del calor que produce para evitar riesgos de incendio. Procure que haya suficiente espacio libre alrededor del aparato y que no pueda entrar en contacto con materiales inflamables. No cubra nunca el aparato. Asegúrese de que las aberturas de ventilación no están obturadas.
- No use este aparato cerca de materiales inflamables.
- Procure que ni el aparato, ni el cable entren en contacto con fuentes de calor, por ejemplo, con una placa caliente de la estufa o con fuego abierto.
- Asegúrese de que ni el aparato, ni el cable, ni el enchufe están en contacto con el agua.
NORMAS DE SEGURIDAD - Durante el uso
- No use nunca este aparato fuera del hogar.
- Colóquelo sobre una superficie plana y estable, en un lugar donde no pueda caerse.
- No deje que el cable quede colgando sobre el borde de la encimera, el tablero de trabajo o una mesa.
- Asegúrese de tener las manos secas cuando manipule el aparato, el cable o el enchufe.
- No lo utilice nunca en lugares húmedos.
- Desconecte el aparato y retire el enchufe de la toma de pared si se presentan fallos durante el uso, cuando quiere limpiar el aparato, o después del uso del aparato.
- No recoja el aparato si éste ha caído en el agua. Retire inmediatamente el enchufe de la toma de pared. No vuelva a utilizar el aparato.
- Limpie el aparato a fondo después de usarlo (véase el capítulo 'Limpieza y mantenimiento').
- No sumerja nunca el aparato, el enchufe, ni el cable en agua o en otro líquido.
- Evite las rebanadas de pan muy gordas, y que éstas pueden quedarse atascadas en el tostador. Al prolongarse demasiado el tueste, el pan puede inflamarse.
- Procure que la ventilación sea suficiente.
- El aparato no se puede poner en funcionamiento mediante un cronómetro externo ni con otro sistema separado con control remoto.
Este aparato está concebido únicamente para uso doméstico, no para uso profesional.

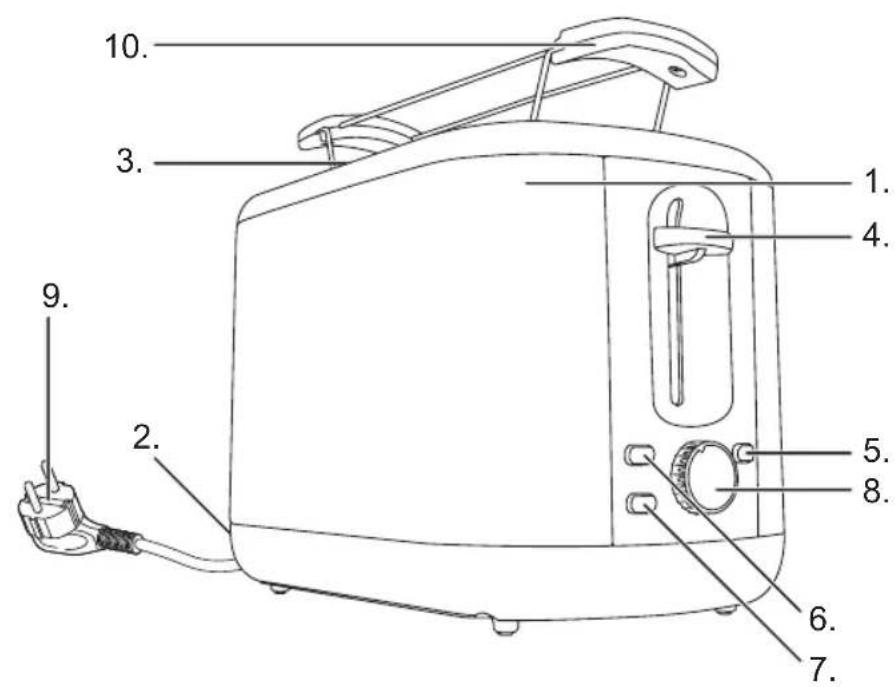
- Carcasa
- Bandeja para recoger las migas
- Ranura para el pan
- Palanca de accionamiento de la ranura para el pan
-
Botón 'Stop' con indicador luminoso
-
Botón 'Reheat' con indicador luminoso
- Botón 'Defrost' con indicador luminoso
- Botón de ajuste del dorado
- Cable y enchufe
- Parrilla para calentar panecillos
USO - Antes del primer uso
Haga funcionar el tostador varias veces a la tiempo máxima (posición 7), sin pan. De esta forma se quitan los últimos restos del proceso de fabricación. Puede desprenderse un poco de olor y de humo.
USO - Preparación
- Coloque el aparato sobre una superficie plana y estable.
- Introduzca el enchufe en la toma de pared.
USO - Tostar pan
- Ajuste la tiempo de tostado mediante el botón correspondiente (8).
- En la posición más baja (posición 1) el tiempo de tostado es el más corto.
- En la posición más alta (posición 6) el tiempo de tostado es el más largo.
- En caso de duda, empiece siempre ajustando una posición baja.
- Para tostar pan viejo debe seleccionar una posición más baja que para el pan fresco.
- Para tostar pan integral deberá seleccionar una posición más alta que para el pan blanco.
- Coloque una rebanada de pan en la ranura de la tostadora (3).
-
Introduzca el pan en la tostadora empujando hacia abajo la palanca de mando hasta que quede bloqueada (4). La luz indicadora se ilumina (5). El aparato empieza a tostar el pan y se apaga automáticamente cuando haya terminado el tueste. Las rebanadas de pan son levantadas automáticamente.
-
Saque el pan tostado de la tostadora.
- Retire el enchufe (9) de la toma de pared.
- Deje enfriar la tostadora antes de guardarla. Enrolle el cable alrededor de las patas en la parte inferior de la tostadora.
- El proceso de tostado se puede interrumpir en cualquier momento. Para hacerlo, pulse el botón 'Stopar'(5).
- Si la tostadora o el pan producen humo, apague la tostadora pulsando el botón 'Stop'.
- Si el pan se queda atascado, retire el enchufe de la fuente de alimentación y deje enfriar la tostadora. A continuación, saque el pan de la tostadora con cuidado. No use objetos con filo o metálicos para sacarlo.
USO - Función de recalentamiento
La tostadora dispone de una función de recalentamiento. Para usar la función de descongelación pulse el botón 'reheat' (6) después de haber introducido el pan en la tostadora. Al pulsar el botón se enciende el indicador luminoso 'reheat'.
USO - Función de descongelación
La tostadora dispone de una función de descongelación. Esta función se usa para descongelar pan. Para usar la función de descongelación pulse el botón 'defrost' (7) después de haber introducido el pan en la tostadora. Al pulsar el botón se enciende el indicador luminoso 'defrost'.
USO - Recalentar panecillos o pan de barra
- Coloque la parrilla (10) sobre la tostadora.
- Coloque los panecillos o el pan de barra sobre la parrilla.
- Siga el procedimiento para tostar pan, sin colocar rebanadas en las ranuras.
LIMPIEZA Y MANTENIMIENTO
- Retire el enchufe de la fuente de alimentación y deje enfriar el aparato.
- Retire la bandeja recogemigas (2) del aparato y saque las migas restantes.
- Limpie la parte exterior del aparato con un paño húmedo y séquelo con un paño seco. Asegúrese de que la humedad no entra al interior del aparato.
- Vuelva a colocar la bandeja recogemigas en el aparato.
- No sumerja nunca el aparato, ni el enchufe, ni el cable en agua. No lo meta nunca en el lavavajillas. - No use limpiadores fuertes ni abrasivos, ni objetos con filo (como cuchillos o cepillos con cerdas duras) para limpiar el aparato.
MEDIO AMBIENTE

- Tire el material de embalaje, como plástico y cajas, en los contenedores destinados para ello. No tire este producto al final de su vida útil con los residuos domésticos normales, en su lugar llévelo a un centro de recolección para reutilización de aparatos eléctricos y electrónicos. Tenga en cuenta el símbolo que aparece en el aparato, el manual de instrucciones o el embalaje.
- Los materiales pueden reutilizarse como se ha indicado. Su ayuda para reutilización, procesamiento de materiales u otras formas de utilización de aparatos viejos es una contribución importante a la conservación de nuestro medio ambiente.
- Infórmese con las autoridades sobre los puntos de recolección en su localidad.
DISPOSICIONES DE GARANTÍA
Bajo las siguientes condiciones, y durante un período de 60 meses contado a partir de la fecha de compra, el importador otorgará garantía de este aparato por defectos ocasionados por deficiencias en la fabricación o en los materiales.
-
Durante el período de garantía mencionado no se cobrarán los costes de la mano de obra ni el material. Una reparación que tenga lugar durante el período de garantía no prolonga dicho período.
-
En caso de reemplazo, las piezas defectuosas o los aparatos defectuosos mismos pasarán automáticamente a propiedad del importador.
-
Toda reclamación por garantía deberá ir acompañada de la factura de compra de la empresa.
-
Toda reclamación por garantía deberá hacerse al distribuidor donde ha sido comprado el aparato o al importador.
-
La garantía es válida únicamente para el comprador y no es susceptible de transferencia.
-
La garantía no cubre los daños ocasionados por:
a. accidentes, mala utilización, desgaste y/o descuido;
b. mala instalación y/o uso en contradicción con las normas técnicas o de seguridad legales vigentes;
c. conexión a una red eléctrica cuyo voltaje no corresponde al voltaje indicado en la placa;
d. una modificación no autorizada;
e. una reparación ejecutada por terceros;
f. negligencia en el transporte del aparato sin el embalaje o protección adecuados.
- No podrá apelarse a estas disposiciones de garantía en los siguientes casos:
a. pérdida ocurrida durante el transporte;
b. remoción o modificación del número de serie del aparato.
-
La garantía no cubre los cables, las bombillas, ni las partes de cristal.
-
La garantía no concede derecho a reclamar indemnización alguna por daños, diferente a la sustitución o reparación, respectivamente, de las partes defectuosas. El importador no podrá ser responsabilizado por daños consecuenciales o por cualquier otra clase de efectos causados por el aparato suministrado por él o que guarden relación con el mismo.
-
Para hacer valer la garantía. Puede acudir a la tienda donde compró el producto. Bestron también ofrece la posibilidad de entregar el aparato directamente al servicio técnico Bestron para su reparación. Pero no podrá enviarlo de cualquier manera. El paquete podría ser rechazado y los costes asociados correrían de su cuenta. Póngase en contacto con el servicio técnico, donde le indicarán cómo debe embalar y enviar el aparato.
-
Este aparato no es apto para uso profesional.
SERVICIO
Si se presenta un fallo inesperado, puede ponerse en contacto con el departamento de servicios de BESTRON: www.bestron.com/service
CERTIFICACIÓN DE CONFORMIDAD (CE)
Este producto satisface las disposiciones de las siguientes directivas de la Unión Europea en el marco de la seguridad:
- Directiva de compatibilidad electromagnética 2014/30/EU
• Directiva de bajo voltaje 2014/35/EU
• Directiva RoHS 2011/65/EU

R. Neyman Control de calidad

ManualFácil