2180CBBS - Tubo de lámpara DOVRE - Manual de uso y guía de instrucciones gratis
Encuentra gratis el manual del aparato 2180CBBS DOVRE en formato PDF.
Preguntas frecuentes - 2180CBBS DOVRE
Preguntas de los usuarios sobre 2180CBBS DOVRE
0 pregunta sobre este aparato. Responde a las que conoces o haz la tuya.
Hacer una nueva pregunta sobre este aparato
Descarga las instrucciones para tu Tubo de lámpara en formato PDF gratis! Encuentra tus instrucciones 2180CBBS - DOVRE y toma tu dispositivo electrónico nuevamente en la mano. En esta página están publicados todos los documentos necesarios para el uso de su dispositivo. 2180CBBS de la marca DOVRE.
MANUAL DE USUARIO 2180CBBS DOVRE
Declaración CE de conformidad...3....
Seguridad 4
Condieones de la instalacion..4.
Condiciones generales 4.
Chimenea 4
Ventilación de la estancia 5
Suelos y paredes 6
Descripción del producto.6
Instalacion 7
Preparación 7
Ajuste de la toma de aire exterior. 11
Instalacion en una chimenea existente... 11
Uso.
Primer uso 14
Combustible 14
Encendido 14
Alimentar con madera 15
Regulación del aire de combustión 16
Extinction del fuego 16
Eliminado de cenizas 16
Nieblasybrumas 17
Posibles problemas 17
Mantenimiento 17
Chimenea 17
Limpieza yOTHERMANTENIMIENTo periodico. 17
Puerta de guillotina panoramicca del Modelo
2180CBGD 19
Anexo 1: Especificaciones技术水平 23
Anexo 2: Medidas. 24
Anexo 3: Distancia a materiales.
inflammables 27
Anexo 4: Diagnóstico de problemas. 28
29
Introduccion
Estimado cliente,
con la compra de este aparato de calefacción
DOVRE, ud. ha adquirido un producto de calidad.
Este producto forma parte de una nuevo generation de aparatos de calefaction respetuos con el medio ambiente y con un consumo de energia mas eficiente. Estos aparatos hacen un uso optimo tanto del calor por convecacion como del calor por irradiacion
Su aparato DOVRE ha sido fabricado con los mas
moderos procesos de fabricacion. En caso de por la presente averia en su aparato, pueda enviar su reclamacion al serviceo的技术o de DOVRE.
El aparato no pueda modificarse; utilise siempre componentes originales.
El aparato está créé para el uso en viviendas.
Debe connectarse de manière hermetica a chimenea que funciona correctamente.
Le aconsejamos que haga instalar su aparato poñformativas EN 13229. un instalador certificado.
DOVRE no se hace responsable de los problemas o días originados por la instalacion inadequada Weelde 20-05-2006 de sus produits.
- Durante la instalación,onga en cuenta los consejos de seguridad que se describe a continuación.
En este manual podra leer como instalar, utilizar y mantener su aparato de calefacción DOVRE de manera segura. Si desea Obtener mas informacion o datos技术和aderencias, o si Tiene problemas con la instalacion,pongase en contacto con su distribuidor.

© 2012 DOVRE NV
En el marco de la mejor continua de nuestros Productos, las specifications del aparato suministrado peuvent variar de aquellas descritas en este manual, sin necessities de previo avis.
DOVRE N.V.
Atencion! Siga las instrucciones de seguidad del fabricante al pie de la letra.
Lea atentamente las instrucciones para la instalacion, uso y mantenimiento del aparato antes de ponerlo en funciona bajo.
La instalacion del aparato debe cumplir con todas las normativas y regulaciones vigentes en su País de residencia.
El aparato debe cumplir con todas las dispositions locales y las dispositions que tengan relacion con normativas naciales o europeas.
Lea las instrucciones sobre la instalacion, use y mantenimiento que vienen suministradas con el aparato.
Haga instalar su aparato por un instalador certificado. Esteoulda informarle de todas las dispositions y normativas vigentes.
Este aparato se ha disnado para fines de calefacion. Todas las superficies delismo, incluyendo el cristal y el tubo de conexion, poderan alcanzar temperatas muy elevadas (más de 100^) ! Para Manipular el aparato. cuando este en functiomento,utilice una "manofria" o quantes protectores contra el calor.
Evite colocar cortinas, prendas, ropa lavada u.
otros materiales inflamables sobre el aparato en las cercanias del mesmo.
Cuando el aparato está en funciona, n utilise sustancias inflamables o explosivas en las proximas.
Evite incendios en la chimenea haciéndola limpiar periodicamente. Nocede la puerta abierta@mstead el fuego esté encendido
En caso de fuego de chimenea: ciderre las entradas de aire del aparato y llama a los bomberos.
En caso de que el cristal de su aparato se roto o agrietado, deben reemplazar el cristal antes de volver a utiliser el aparato.
Mantenga la habitacion donde secoloque el aparato bien ventilada. Una ventilacion insufiente de la habitacion可以使 producir una combustion insufficiente y la liberacion de gases toxicos. Consulte la section "Condiones de instalacion" para saber mas sobre la necessities de ventilacion.
Condiciones de la instalación
Condiciones generales
El aparato debe connectarse a una chimenea en\ buen estado
Para realizar la connexion: lea el anexo "Especificaciones Tecnicas"
Informatese en su département local de bomberos y / o en su compañero asegurar sobre posibles requisitos y prescricciones.
Chimenea
La chimenea o conducfo de humos es necessities para:
La evacuación de los gases inflamables, mediante el tiro natural.
El aire caliente que está dentro de la chimenea es más ligero que el aire exterior, y este provoca que el aire se eleve.
La succion del aire, necessitiesa para la combustion del combustible dentro del aparato.
dUn conductor de humos en mal estado能把 occasional el returno de los gases alAbrir la puerta del aparato. Los daños producidos por el returno de gases estan excluidos de la garantia.
No conecte various aparatos a la mismam Chimenea (por exemple, conectar además del aparato, una caldera de calefacción central), a menos que las normativas locales o naciasas asi lo permitan.
Su instalador pode asesorarle sobre las normativas de seguidad de la chimenea.Consulte la Normativa Europea EN13384 para hacer un calculo adecuado de la capacité de su chimenea.
La chimenea debe cumplir con las siguientes conditions :
La chimeneaDebe estar fabricada en materiales ignificuros,preferentemente materiales ceramicos o acero inoxidable.
La chimenea doit estar herméticamente cerrada bien limpia, y doit asegurar un tiro sufiente.
Lo ideal es encontrar un tiro/presión de 15 - 20 PA durante una energia normal.
La chimenea debe ser lo mas vertical posible - desde el punto de salute del aparato.Las desviaciones y / o posibles tramos horizontales dificultan la evacuacion de los gases inflamables, pudiendo originar acumulaciones de hollin.
El interior del tubo no debe ser demasiado grand para evaporar que los gases inflamables se enfienden demasiado rápido y se reduzca la capacité de tiro.
Es aconsejable que la chimeneaonga el mismodiametro que el cuello de conexion del aparato.
i Para el diametro nominal: consulte el anexo "Especificaciones Tecnicas" Cuando el conductor de humos está bien aislado, el diametro pueda ser algo mas grande (como maximo el doble de la section del cuello de conexion).
La seccion (superficie) del conducto de humos ha de ser constante en toda su longitud. Los ensanchamientos y (muy especialmente) los estrechamientos peuvent obstaculizar la evacuation de los gases inflamables.
Al aplicar la caperuza o sombrerete sobre la chimenea: evite que la caperuza estreche la calidad de la chimenea o que obstaculice la liberacion de gases de combustion.
La chimenea debe desembocar en una zona del Puede crear una ventilacion adiconal poniendo un atjado que no este obstaculizada por edificios rejilla de ventilacion en algoo de los muros exteriores. adjacentes, arboles cercanos u otheros obstaculos. de la habitacion.
La parte de la chimenea situada fuera de la viviendaDebe estar aislada.
La chimenea deben tener una alta minima de 4 metros.
Puede seguir esta sencilla regla sencilla: 60~cm sobre la parte mas alta del tejado.
Si el caballete del tejado está situado a más de 3 metros de laitters de la chimenea: sigas las medidas indicadas en la?sigaiente imagen.A = el punto mas alto del tejado bajo de una distancia de 3 metros.

Ventilación de la estancia
Para que la combustión sea adecuada, el aparato necessities aire (oxigeno) Este aireenta por las tomas de aire regulables y procebe del espacio en el que está situado el aparato.
Unavilacioninsuficanteocasonauna combustion incompleteyla consiguiente liberacionde gases toxicos.
Una regla sencilla es que la entrada de aire debe ser de 5,5cm^2 /kW . Se necessitiesa ventilacion adicular en los seguidentes casos:
- Cuando el aparato está en un espacio bien aislado.
Cuando existe ventilación mecánica en el espacio, p.ej. un sistema de extracción de aire central, o una campana extractora en una comida abierta.
Puede create una ventilacion adiconal poniendo una rejilla de ventilacion en algoo de los muros exteriores de la habitacion.
Procure queothersaparatosdeairecaliente(como secadoras,aparatosdecalefacionocalefactoresde bano)tengan su propio accesodeaireexterior,ouque estén apagadosm吲traselaparatoestafionando.

Otra solución es conectar el aparato a una toma de aire exterior. El aparato incluye un de connexion para este fin. En este caso no necessitiesa ventilacion adicular.
Suelos y paredes
El sueño sobre elrial se coloca el aparato debe t una calidad de energia suficiente. El peso del aparato se encuentra en el anexo "Especillas de las Tecnicas"

No deben haber conduccciones electricas en el sueño y en las paredes circundentes al aparato

Los materiales inflamables situados bajo el 2. Valvula aparato deben retirarse o protegerse con una plac de cemento de al menos 6 cm de grosR. Pestillo

Las paredes inflamables proximas al aparato 4. Mando de la valvula
deben protegerse con una pared de ladrillo con
al menos 10~cm de grosor y 5 cm de material 5 Regulador de entrada de aire principal
aislante. 6. Regulador de entrada de aire secunda

Para evaporar la aparacion de gritas, proteja las7. Puerta
paredes no inflamables situadas circa del
aparato con un material aislante de al menos8. Base de fuego
2,5 cm de grosor.

Proteja los sueños inflamables instalando una placía ignífuga que los aislen de la radiación calor y de una posible caía de ascuas. Consulte el anexo "Distancia con materiales inflamables".

Mantenga siempre una distancia de seguidad entre el aparato y materiales inflamables como muebles.

Procure que haya suficiente ventilacion en las proximidades de materiales inflamables, como gravasanos decorativos. Consulte el anexo "Distancia con materiales inflamables".

Las alfombras deben colocarse a una distancia minima de 80 cm del fuego.

No coloque materiales inflamables a menos de 50 cm de las salidas de conveccion.
Descripción del producto

Cuello de conexión
- Valvula
Spr.Pestillo
- Mando de la valvula
Regulador de entrada de aire principal - Regulador de entrada de aire secundario
§7. Puerta
- Base de fuego
Characteristicadelaparato
deEl aparato está provisto de deflector de humos extraible, salva-troncos y base de fuego.

Las placas de hierro protegen la camarada de combustion y transmits el calor al exterior.
El aparatoiene suministrado con un set de connexion para el abastecimiento de aire exterior.
El aparato está provisto de un cuello de conexión que offers the posibidad of connectarse en vertical o en un angulo de 45^
El aparato se suministra con una empañadura sueña (A) para abrir la puerta, la denominada "mano fria"; vea la",[significant] imagen.

El aparatoiene provisto de un cajon cencicero extraible. Para Manipularlo, utilise la mano fria.
Characteristicas adiconiales del modelo 218CBGD
El aparato está provisto de una puerta de guillotine; panoramaaca plana. El sistemas de guías你需要 para la mesma puede desmontarse.
El aparato se suministra con una empañadura suelta paraAbrir la puerta,la denominada "manofria";vea la siguientes imagen.

Instalación
Preparación
Nada mas recibir el aparato, compruebe que no tengá daños (por exemple de transporte) u otros posibles defectos.

Si detecta danos o defectos en el aparato, no encienda el aparato todas ypongase en contacto con su vendedor.
Retire los componentes desmontables (deflector de humos, base de fuego, salva-leña, tapa de la base de fuego y cajón cenicero) del aparato antes de instalarlo.

Quitando these components desmontables, le sera mas fácil Manipular y mover el aparato sin dañarlo.

Fijese en la posicón original de这些东西 elementos antes de retirarlos, para que recuerde su posicón afterwards de la instalación.
Nota: En el modelo 2180CBGD es precise desbloquear el contrapeso en primer lugar y a continuacion, qutar el cierre de la puerta. Siga las instrucciones que se indicate a continuacion.
- Para desbloquear el contrapeso, desatornille los dos tornillos (A); vea lasuma imagen.

- Desbloquee la puerta girando los dos cierras situados en la parte superior de la puerta hacía bajo; vea lasuma imagen.


- Abra la puerta del aparato con la ayud de la mano fria.
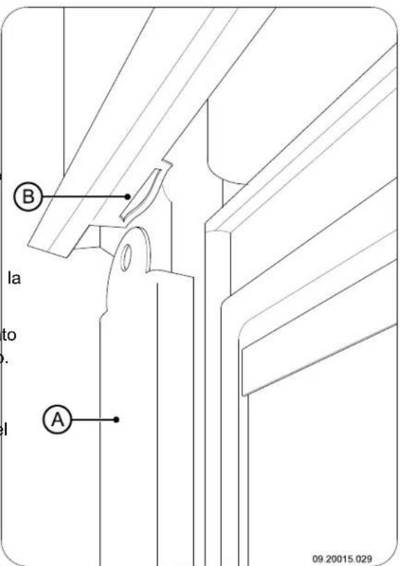
- Levante el elemento (A) para extraerlo de los trinquetes delanteros, y después haga lo mesmo con el elemento (B).
- Incline el elemento (B) para extraerlo del soporte de la pared posterior.
- Extraiga también elementos a工程技术 de la puerta del aparato.

Durante el transporte, tanto la puerta como contrapacesodeferan permanecerbloqueados.
Note: Para el montaje del deflector de humos, siga las instrucciones descriñas anteriorsmente enorden inverso.
Desmontaje del deflector de humos
El deflector de humos se compone de dos elements (A) y (B); vea lasuma imagen.
"Ajuste de la regulación de la valvula
El aparato está provisto de una valvula regulable mediante un vástago. La posición de la valvula influye en el rendimiento de la chimenea: a mayor cierre de la valvula, mayor el rendimiento.
AlAbrir o cerrar la puerta,la valvula se cierra o se abre mediate este vastago.La posicón de la valvula depende del tiro de la chimenea.Si cierra la puerta,la valvula volverá automatistically a la posición adecuada.
En el Modelo 2180CBGD es besoino presionar el vastosago de la valvula con ayud de la mano fria (A); vea la?sigue imagen.

Cuando la puerta está cerrada, es possible abrir la valvula presionando ligeramente y desplazando el vástago hacía la izquierda; vea la.),

La posicón de la valvula es regulable.
- Desatornille el tornillo de ajuste (A) y la tuerca vea la?sigue imagen.

- Gire la valvula con disrespect al vastosago en la posicion adecuada; vea la asignienteImagen.

- Atornille la tuerca (B) y el tornillo de ajuste (A) para fazer la valvula sobre el vástago.
Cambiarto la direccion del cuello de connexion
Si deseña instalar una conexión en un ángulo de 45^ en lugar de una conexión vertical, por exemple porque esto Facilita la conexión a un conductor de gases existente, gire el cuello de conexión 180^ ; vea la",[2]).[3]

- Desconecte la valvula del vástago desatornillando el tornillo de conexión entre ellos.
- Desconecte el cuello de conexión y la campana de la chimenea desenroscando las dos tuercas M8. El vástago de la valvula pasado a estar en parte superior del aparato.
- Desatornille el tornillo situado el lateral del aparato que une el vástago de la valvula con la aparato.
- Retire la valvula y el vastoso de la valvula.

Procure que la valvula no se caiga bajo del aparato al retiring el vástago.
- Separe el cuello de conexión de los tornillos.
- Gire el cuello de conexión 180^ y vuelva a colocarlo en la campana de la chimenea.
- Vuelva a colocar la valvula y el vástago y atornille el tornillo que une la valvula al aparato que está situado en la parte posterior.
-
Conecte el cuello de conexión y la campana de la chimeneacomingslos dos tuercas M8.
-
Utilice masilla para chimeneas para sellar la conexión entre el cuello y la campana de la chimenea.

La masilla para chimeneas noiene suministrada con el aparato.
Montaje de los paneles laterales (sólo para el modelo 2180CBGD)
Modelo 2180CBGDiene suministrado con dos paneles laterales para cubrir el mecanismo del sistema de guias por los laterales izquierdo y derecho del aparato.
- Introduzca el extremo superior del panel lateral (A) en la muesca (B) situada en la parte superior del aparato; vea la siguientes imagen.

Cologne la parte inferior del panel lateral contra el apparato. El panel se mantiene en la posicion adequada gracias a un iman; vea la?sigue imagen.

Ajuste de la toma de aire exterior
Si el aparato está situado en una habitación que cuenta con una ventilación insufiente, puede conectar la toma de aire exterior en el aparato.
El tubo de suministro de aire tiene un diametro de 100mm . Si el tubo es liso, este Podra tener un maximo de 12 metros de longitud. Si se utilizes accesos como@codos,deberte restar del长大o total (12 metros) 1 metro por cada accesorio utilized.
Instalación de la toma de aire exterior en la pared o en el el cielo de conexión
- Realice un orificio de conexión en el sueño (consulte el Anexo 2, "Medidas", para ver una
posicion adecuada para el orificio).
- Cierre herméticamente el conductor de suministro de aire en la pared posterior del aparato.
- Monte el cuello de conexión (A) en la varilla roscada M6 (B) contipsa de la tuerca (D) y la arandela (D);vea la?sigue imagen.

Instalación en una chimenea existente
La instalación del hogar consta de dos fases:
Colocacion y conexión del hogar
Construccion de la chimenea alrededor del hogar
Colocación y conexión del hogar
- Coloque el aparato en una.altura adecuada sobre una superficie lisa e impermeable.
- Asegürese de que las paredes existentes estan provistas del aislamento Neededo (vea el capitulo "Condiciones de la instalacion"), y de que existe una distancia de al menos 100~mm en la parte posterior del aparato; vea las siguientes imagenes.


-
Conecte herméticamente el aparato a la chimenea.
-
Compruebe el tiro de la chimenea y el sellado conexión con el conducto de gases. Paraarlo, haga un peuño encendido de prueba con pa de periodico y maderas finas y secas.
En las obras de nuevo construcción, espere que la mampostería está lo suficientemente seca.
- En caso de connexion a suministro de aire exterior: connecte el suministro del aire exterior al set de connexion que ud. ha instalado en el aparato.
Construccion de la chimenea
El espacio de convecction se construye en la propia chimenea. En este espacio debe circular suficiente
aire. Debe poder succionarse aire para la combustion, y el aire calentado por la chimenea insert (el aire de conveccion)Debe circular libremente en el espacio a calendar; vea la?sigue imagen.

A corriente de aire de conveccion
B irradiación de calor
C suministro de aire desde el espacio a calendar
1guministro de aire exterior a través de la pared
E suministro de aire exterior a trovés del sueño
Durante la construcción de la chimenea, siga las normas de seguridad para el espacio de conveccion que se indica a continuacion:
La parte superior del espacio de convecction debe estar hermétically cerrada por medio de una ior: plac a cubierta ignifuga y de material refractario
La plac de cubierta debe estar impermeabilitizada y situarse en el techo, a una distancia de 30 cm por debajo de la abertura para gases.
Para posibilitar la circulación de aire ambiente,
deben colocarse revillas de ventilacion en el sueo de la chimenea. El caudal de ventilacion minimo es 250~cm^2 . Si el espacio no está suficientemente ventilado, deben crear una circulacion de aire exterior suficiente utilizingo el set para la realizacion de tomas de aire exterior, o bien instalar una salute de aire optional con regulator. 5.
El hogar no debe soportar en ningún caso el peso de la mampostería. En su lugar, utilise un soporte, como por exemple una estructura de hierro. Deje un margen de al menos 3 mm entre la estructura y el aparato.
- Cierre el espacio de convecction con la placadecubierta.
- Coloque rejillas de salute de aire debajo de la mandalplaça de cubierta.
- Realice un orificio en la plac de cubierta para prevenir posiblesAAPostadosde la presion.
En la parte superior de la chimenea, inmediamente debajo de la placac de cubierta, deben instalarse rejillas de salute de aire. El ca de salute minimum es 500^2 .cm
La?siguiente imagen muestra un exemple de la instalacion de un hogar en una chimenea construida. siguiendo las instrucciones y normativas descritas
s anteriormente.

Las rejillas de ventilacion y de salute peuvent adquirirse deformaoptional.

No utilise materiales inflamables en el espacio de conveccion, y evite la creacion de puentes termicos a consecuencia de la Utilizacion de materiales conductores termicos.
Siga las siguientes instrucciones para la construcción de la chimenea:
- Construya el pie de la chimenea instalando aquí las rejoillas de ventilación.

Puede instalar las rejillas de ventilacion en
cualquiera de los laterales del pie.

Asegürese de que la aperture de la puerta no queda obstaculizada por el revestimiento de la chimenea.
- Siga construyendo la chimenea hastaninger a la campana.

Asegürese de que quedan 2 mm de margen entre el hogar y la mamposteria para que se recojan ahora las emisiones tírmicas de la chimenea.
- Si lo desea, pueda revestir el interior del espacio de convecction con un aislante reflectante.

El revestimiento del espacio de convecction previene una irradiacion innecesaria de calor en muros externos y / o estencias contigumas. Ademas,previene el deterioro del aislante en las paredes huecas.
- Siga construyendo la chimenea hastaninger a la abertura de gases del techo.

A Chimenea
B Elemento aislante
C Cubierta
D Aislamiento 10 cm
E Pared ignifuga min. 10 cm (p. ej. hormigón gaseoso)
F Muro inflatable
G Espacio de conveccion
H Techo ignifugo
I Techo inflatable
J Salida del aire de conveccion
K Aislamiento
L Suelo ignifugo
M Suelo inflatable
N Orificio para estar el aumento de presión
O Tubo de connexion
Acabado
- Vuelva a colocar en su lugar los elementos desmontados del aparato.
- Asegürese de que la chimenea recién construida, está lo suficientemente seca antes de proceder a su encendido.

No encienda nunca el aparato sin las placas refractarias interiores.
El aparato ya está lista para su uso.
Uso
Primer uso
Cuando utilise el aparato por primera vez, déjelo encendido a fuego lento durante的一些as horas. Estó hara que la pintura anticalorica se endurezca. Estó
podía producir algo de humano y olores desagrada.
Ventile la habitación abriendo puertas y ventanas.
Combustible
Este aparato unicamente es apto para quemar mad natural serrada, hendida y suficientemente seca.
No utilise autres combustibles, ya que ellos podrijan daßar seriamente el aparato.
Los siguientes combustibles no deben utiliser para contaminan el medio ambiente y también ensucian considerablemente la chimenea, pudiendo llugar a occasionar un incendio de chimenea:
Maderas tratadas como maderas de deshecho, maderas pintadas, maderas impregnadas, maderas tratadas, multiplex y aglorado.
Plástico, papel usado y residuos domesticos.
Madera
Utilice preferentemente maderas duras como roble, haya, abedul y madera de arboles frutes.Esta madera quema más lentamente y con menos llama. Las maderas de coniferas contienen más resina, queman más rápidoy producen más chispas.
- Utilice maderas secas con un percentaje maximo de humedad del 20% . Paraarlo, las maderas debenemarksar al menos 2 años.
Tale y corte las maderas cuando todas esta enan verdes. La madera verde se corta mas fácilmente,)millas que la madera cortada seca mayor y mas rápido. Almacene la madera bajo techo, en un lugardonde circule libremente el viento.
No utilise maderas humedes en el aparato. Las maderas humedes no producen calor debido a que la energia se pierde al evaporarse la humedad. Esto produce acumulaciones de hollin en la puerta del aparato y en el conductor de humos. El vapor de agua se condensa en el aparato y se filtra al exterior a工程技术 de las juntas, pudiendo occasionar manchas negras en el suejo. Además, el vapor de agua podra condensarse en el conductor de humos, formando creosota. La creosota es una sustancia muy inflamable y pueda originar incendios en la chimenea.
Encendido
Escompruebe que el conducto de humos tiene tiro suficiente encendiando una bola de papel de periodico sobre el deflector de humos. Una chimenea que está fria hace que el tiro sea insuficiente, lo que provoca que entre homo en la habitacion. Encendiendo el aparato del modo que le indicamos a continuacion, evaporar este problema.
- Coloque dos lenos de時間 medio-grande cruzados entre si.
- Coloque sobre los lenos dos capas de leña más fina de forma encrecruzada.
- Coloque una pastilla de encendido bajo la capa inferior de leña y enciéndala siguiendo las instrucciones que venden en el paquete de laquia.

- Cierre la puerta del aparato y abra la entrada de aire principal y la entrada de aire secundaria del aparato; vexe la?siguiente figura.
- Deje que el fuego arda intensamente hasta que quede una capa debrasas vivas. Introduzca lasiguiente carga de leña en el aparato; consulte apartado "Alimentar con madera".

=Abierto = Cerrado
Alimentar con madera
Una vez que haya encendido el fuego tal y como especifica en las instrucciones:
-
Abra despacio la puerta del aparato.
-
Reparta lasbrasas por la base de fuego de manera homogenea.
- Coloque various lenos sobre lasbrasas.

Apilado de madera suelta
Apilando los lenos de manière sueña, la madera se quema mucho más rápido, ya que el oxigeno puedaregar a todas las partes de la madera. Utilice un apilamento sueño si quiereocular un fuego rápidaamente.

Apilamento compacto
Apilando los lenos de manera compacta, la madera se quema más lentamente, ya que el oxigeno no puedaURTAR a todas las areas de la madera. Utilice un apilamento compacto si deseamantener el fuego encendido durante mucho tiempo.
- Cierre la puerta del aparato.
- Cierre la entrada de aire principal y deben abierta la entrada secundaria.

Llene el aparato hasta un máximo de un tercio de su capacité.
Regulación del aire de combustión
El aparato dispone de variedes elementos para la regulacion del aire (vease imagen)

La toma de aire principal regula la entrada del aire la rejilla (1)
La toma de aire secundaria regula la entrada del por el cristal (air-wash) (2).
La pared traseraiene bajo el deflector de humos entradas de aire permanentes (3) que favorecen la postcombustion.
Consejos

Encienda un fuego vivo de vez en cuando.
Si tiene el aparato calentando a fuego lento.
durante mucho tiempo, podrian formarse
depositos de alquitrán y creosota bajo de
chimenea. La carbonilla y la creosota son
materiales muy inflamables. Si se producen
demosiados sedimentos de这些东西,
puede inflamarse si se alcanzan
repentinamente grandes temperatas.
Encendiendo de vez en cuando fuegos
intensos, se eliminan los posibles restos de
carbonilla y creosota.
Además si el fuego es demasiado débil puede acumularse alquitrán en el vidrio y en la puerta del aparato.
Porarlo, en caso de una temperatura exterior suave espreferibledejarqueelaparato calienteafuego fuerte duranteunas horas quedeferlo calendarafuego lento durantemucho tiempo.
Regule la entrada de aire con la entrada de aire secundaria.

La entrada de aire secundaria airea no solo el fuego, sino el cristal del aparato,xitando asi la acumulacion de sociedad.
Abra la toma de aire principal si la entrada de aire por la secundaria es insufiente, o si quiere avivar el fuego.
Introducir regularamentePICAas cantidades de leiros es mayor que agrar manyos bloques alismo tempo.
Extinción del fuego
Deje deañadir combustible y que el fuego se vaya apagado por si mesmo. No intente sofocar el fuego.
Por ciendo la entrada de aire: podrián liberarse gases tóxicos. Deje que el fuego se consumes por si mesmo.
El Vigile el fuego hasta que este esté bien apagado. Un aire.
Por vez que el fuego se haya extinguido Completely, no está cerrar todas las entradas de aire.
Eliminado de cenizas
Cuando se quema madera en el aparato, siempre queda unaLEEa cantidad de cenizas.Esta cama de cenizas no solo es un Buen aislante para la base de fuego del aparato, sino que ademas favorece la combustion. Asi que peut dejar una capa final de cenizas en el suelo del aparato.
No obstaculice la entrada de aire situada en el suelo de la chimenea nicede que se acumule ceniza en la parte posterior de las placas de hierro. Paraarlo, elimine de forma periodica el excesso de cenizas.
- Abra la puerta del aparato.
- Abra el cajón cenicero (C); vea lasuma imagen.

- Empuje el excesso de ceniza en el cajón cenicero (A) realizando el recogedor suministrado con el aparato
- Retire y vacie el cajón cenicero conridge de I mano fria (B).
- Vuelva a colocar el cajón de cenizas en el apay retire la mano fria.
- Cierre la puerta del aparato.
Nieblasybrumas
Las nieblas y las brumas en el exterior puede dificultar la calidad de los gases inflamables por la chimenea. Estas peuvent hacer que el humo bajo el conductor y occasione olores. En conditiones de Niebras o brumas, le recomendamos que no utilise aparato a menos que sea realmente besoinario.
Posibles problemas
Consulte el anexo "Diagnóstico de problemas" para SOLUTIONAR posibles problemas durante la utilización del aparato.
Mantenimiento
Siga las instrucciones de mantenimiento que se describen en esta sección paramantener su aparato en las miglioras conditiones.
Chimenea
En manyos paises, la ley obliga a revisar y llvar un mantenimiento regular de los conductos de humos.
Al principio de la temporada de calefacción: haga limpiar la chimenea por un deshollinador提供优质.
- Durante la temporada de calefacción y si la chimenea no se ha utilisé durante un长大o periodo de tiempo: haga que un先进技术cial controle los niveles de holín.
Al final de la temporada de calefacción: ciderre la chimenea mediante una bola de papel de periodico.
Limpieza yOTHERMantenimiento periodico.
a No limpie el aparato cuando este todas esta está caliente.
Limpie el exterior del aparato con un paño seco que no suele pelulas.
Al final de la temporada de fríos, limpie muy bien el interior del aparato:
- Paraarlo, retire primero lasplacas refractarias.En el capitulo "Instalacion"encunarad instrucciones sobre como extraer y colocar lasplacas por refractarias.
Alternatively, you can simply use the following two methods.
Retirey limpie el deflector de humos.
Comprobar las placas refractarias
Las placas refractarias son consumibles sometidos a un gran desgaste. Revise regularmente las placas refractarias y sustituyalias si fuera besoinario.
En el capitulo "Instalacion" encontraras instrucciones sobre como extraer y colocar las placas refractarias.

Las instalas refractarias aislantes de vermiculita peuvent做不到lerqueasigretassin queesto tenga un efecto adverso en su funciona.

Las instalas de hierro interiores duraran mucho tiempo si limpia las cenizas acumuladas en su

parte posterior regularamente. Si no retina la accumulator de ceniza de la placá está no podrá proyector el calor correctamente y puleargar a deformarse o rajarse.

No encienda nunca el aparato sin las placas refractarias.
Limpieza del cristal
Si el cristal se limpia correctamente, la suciedad tarda mas en acumularse. Proceda de la?sigue manera.
- Quite el polvo y la suciedad con un paño seco.
- Limpie el cristal con un limpiador especial para cristales de estufa:
a. Extienda el limpiador con una esponja de cucina, frote la superficie del cristal y déjelo actuar≦unos≦ocos.
b. Retire la sueidad con un paño humedo o papel de cocina.
- Vuelva a limpiar el cristal con su producto limpiacristales habitual.
- Seque el cristal con un pano seco o con papel cocina.
No utilise products abrasivos o corrosivos para limpiar el cristal.
Utilice sempre guantes para proteger sus manos

En caso de que el cristal de su aparato se roto o agrietado, deben reemplazar el cristal antes de volver a utiliser el aparato.

No deje restos del limpiador de cristales para estufas entre el cristal y la puerta de hierro.
Note: Para acceder al cristal interior de la puerta de guillotina del modelo 2180CBGD, gire la puerta 60^ hacía delante. Gire hacía la izquierda los dos tornillos situados en la parte superior de la puerta realizando destornillador (A); vea la",[si]que imagen.

Engrasado
Aúnque los componentes de hierro ya son de una manera autoengrasantes, deben lubricar las partes españoles con cierta regularidad.
Lubrique las partes moviles (como sistemas de guiado, pernas, pestillos y tomas de aire) con grasa especial para chimeneas, que encontrará en establishimientos especializados.
Reparar danos en el acabado
Puede repararPEGOs daños en la pintura con un aerosol de pintura anticalorica que podra adquirir através su proveedor habitual.
Comprobación del sellado
Compruebe que la junta de sellado de la puerta cierra correctamente. Este material se deteriora con el tiempo y ha de Cambiarse regularmente.
Compruebe que el aparato no tengafugas de aire. Selle posibles rendijas con masilla para chimeneas.
Deje que la masilla se endurezca completamente antes de encender el aparato, si no la humedad de la masilla se evaporaray la fuga volvera a abrirse.
Puerta de guillotina panorámina del Modelo 2180CBGD
Elmodelo2180CBGDvieneprovisto deuna puerta guillotinapanoramica plana.El systemadeguias necessitiespara la mismaesdesmontable;tanbiendueapujastarlaposiciondelapuerta deguillotina.
Desmontaje del sistema de guías
Siga los pasos de desmontaje que se indicate a continuación.
- Bloquee la puerta girando hacía fuera los dos cierras situados en la parte superior de la puerta, va a lasuma imagen.

- Gire hacía la izquierda los dos tornillos situados la parte superior de la puerta; vea lasuma imagen. La puerta basculará hacía afuera.

- Retire el frontal (con la puerta y el sistemas de guías) delconjunto superior retrirando los tornillos
situados en la parte superior izquierda y derecha;
vea lasuma imagen.

- Atornille el frontal del aparato. Desatornille los dos tornillos inferiores en primer lugar; vea lasuma imagen.

- A continua desatomille los dos tornillos superiores. Mantenga presionado el frontal contra el aparato valiendose de su cuerpo; vea lasuma imagen.

- Cierre cuidadosamente la puerta manteniendola volteada, vea la siguientes imagen.

- Bloquee la puerta; vea lasuma imagen.

- Fije el frontal y la puerta al sistema de guías en la parte inferior; vea la",[seguidente]Imagen.

- A continuación tire de la sección inferior del frontal y de la puerta hacía si; vea la",[si] suygúnteImagen.

- Gire el Conjunto completo separandolo del aparato; vea lasuma imagen.

- Ya pueda acceder sin obstáculos al sistemas de guías; vea la",[sicidente]Imagen.

Nota: Para el montaje del sistema de guías, siga los pasos descriños anteriorsmente enorden inverso.
Ajustar el cierre de la puerta de guillotina
Es posible ajustar la posicion de la puerta con
respecto al frontal de la chimenea. Para ello, el
sistema de guias ha de ser completamente accesible. Retire los perfiles embellecedores o el marco, si lo hubiera.
- Afloje el tornillo situado en el lateral y ajuste la puerta presionandola contra el frontal. Vuelva aJKLM.
- Apretar la tuerca; vea lasuma imagen.


- Presione la puerta contra la sección inferior del frontal, de talerable que la rueda de la guía entre en contacto con el tope; vea la.),!.

- Si fuera besoino, ajuste la posicion del tope desatornillando los tres tornillos de fijacion delismo y desplazandolo. Vuelva a atornillar los tornillos; vea lasuma image.
Anexo 1: Especillasiones|tecnicas
| Serie 2180CB | |
| Potencia nominal 15 kW | |
| Conexión de la chimenea (diámetro) 200 mm | |
| Peso +/- 190 kg | |
| Peso Modelo 2180CBGD 230 kg | |
| Combustible recomendado Madera | |
| Caracteristicas combustible, longitud máx. 50 cm | |
| Caudal volumétrico de los gases residuales 13.6 g/s | |
| Medicación del aumento de la temperatura en la sección de mediente 268 K | |
| Temperatura medida en la salute del aparato | 326 °C |
| Tiro minimo | 12 Pa |
| Emisión de CO (13%2)O | 0,10 % |
| Emisión de NOx (13%2)O | 97 mg/Nm3 |
| Emisión de CnHm (13%2)O | 96 mg/Nm3 |
| Emissiones de partículas | 22 mg/Nm3 |
| Rendimiento | 76 % |
Anexo 2: Medidas
2180CBS y 2180CBC



09.20017.024
2180CBBS


2180CBGD
Anexo 3: Distancia a materiales inflamables
Serie 2180CB - Espacio minimumo de ventilacion alrededor del area de irradiacion

Serie 2180CB - Medidas de la plaza protectora ignifuga en centimetre


Distancia mininial de la placi ignifuga
$$ \begin{array}{l} V > H + 3 0 > 6 0 \ S > H + 2 0 > 4 0 \ \end{array} $$
Anexo 4: Diagnóstico de problemas
| Problema | |||||
| ● | Leña no termina de arder | ||||
| ● | No da suficiente calor | ||||
| ● | Retorno de homo cuando se agrega combustible | ||||
| ● | El fuego arde demasiado fuerte, no se pueda regular bien. | ||||
| El vidrio se opaca | |||||
| possible causa解決ión | solucion possible | ||||
| ● | ● | ● | tiro insufiente | Unam Chimenea fría produce casi siempre un tiro insufiente. Siga las instrucciones sobre el encendido en el capitulo "Uso"; abra una ventsa. | |
| ● | ● | ● | ● Leña demasiado humeda Utilice siemre leña con un máximo del 20% de humedad. | ||
| ● | ● | ● | ● Leños demasiado grandes | Utilice trozos de leña pequeños. Utilice trozos de leña cortados con un contorno máximo de 30 cm. | |
| ● | ● | ● | ● | La leña no está bien apilada | Coloque la leña de talmana que el aire pueda pasado entre los bloques (apilamento abierto, véase "alimentar con leña"). |
| ● | ● | ● | ● Funcionamente insufiente de la chimenea | Asegúrese de que la chimenea cumpla todos los requisitos: 4 metros de alto como minimo, diámetro adecuado, bien aislada, interior liso, sin demasiados recovecós, sin obstrucciones (nidos de pájaro, demasiado depuesto de hollín), herméticamente cerrada (sin fisuras). | |
| ● | ● | ● | ● Laitters de la chimenea no es correcta carea elementos que la obstruyan. | Laitters de laitters de laitters de laitters de laitters de laitters de laitters de laitters de laitters de laitters de laitters de laitters de laitters de laitters de laitters de laitters de laitters de laitters de laitters de laitters de laitters de laitters de laitters de laitters de laitters de laitters de laitters de laitters de laitters de laitters de laitters de laitters de laitters de laitters de laittera. | |
| ● | ● | ● | ● Tomas de aire en posición incorrecta | Abra Completely las entradas de aire. | |
| ● | ● | ● | ● Laitters entre el aparato y la chimenea no es correcta | Laitters de aire estar herméticamente cerrada. | |
| ● | ● | ● | ● Presión minima en el espacio donde encontrar el aparato | se Apague todos los sistemas de extracción de aire | |
| ● | ● | ● | ● Suministro insufiente de aire fresco | Cree una corriente de aire fresco, por ejemplo utilizingando una toma de aire exterior. | |
| ● | ● | ● | ● Condiciones climáticas adversas? Inversión térmica (cambio de direction en la corriente de aire Dente de la chimenea debido a las elevadas temperatas exteriores), vientos de fuerza extrema | En los casos de inversión térmica, desaconsejamos el uso del aparato. Si fuera necesario, ponga una caperuza a la chimenea. | |
| ● | Corrientes en la habitación | Evite las corrientes de aire en la habitación; no instale el aparato en las cercanlas de puertas o de fuentes de aire caliente. | |||
| Las llamas tocan el cristal | Eviteponer los leynos demasiado cerca del cristal. Cierre un poco más el acceso de aire principal | ||||
| ● | El aparato tiene fugas de aire Comprue la junta de sellado de la puerta y las juntas del aparato. | ||||
Indices
A
Aansluiten
afmetingen.24
advertising
condiciones de seguro.4.
Advertencia
limpiador de cristales de estufa..18.
Agregar combustible
returno de homo.28
Ajustar
cierre de la puerta de guillotina.21....
Ajuste
valvula.8
Alfombras
macenaje de madera. 14
Alquitrán
quitrán 16
Apilado de leiros.
Instrumento de temperatura
seccion de medicacion. 231
Aviso
cristal roto o agrietado. 4, 18
fuego de chimenea 14, 16
incendido la chimenea 4
materialiales inflamables 4
normativas 4
placas refractarias interiores 14
superficie caliente 4
ventilación 4-5
B
Brama, no encender
Calor, insufficient
C.
Capacidad de car
capacidad de energia del sueño. 6
Caperuza
Japeruza 51
Caperuza sobre chimenga.
Chimenea
altura 5
condiciones 5
conexión a. 12
construccion 12
diámetro de conexión 23
mantimiento 17
Combustible
adequado 14
agregar 16
cantidad necessities 17
Ilenado. 16
no apto 14
Combustible adequado.
Combustible no apto.
Condieones climatologicas, no encender.... 17
Conexión al suministro de aire exterior.... 11
Contrapeso 23
desbloquear 7
Creosota....
Cristal
limpieza 18
opacimiento 28
Eliminado de cenizas
Eliminar
cenizas 16
Eliminar cenizas
Emissiones de particulas
Encendido 14-15
calor insufficiente 17,28
el aparato no se pueda regular..bien.... 2
el fuego arde demasiado fuerte 28
introducir combustible. 15
introducir el combustible 16
Engrasado....
Entrada de aire principal 15
Entrada de aire secundaria. 15
Entradas de aire 15
Espacio de convecction
construccion 12
normatas. 12
placa de cubierta 12
Extinguir el fuego. 16
F
Fuego
encendido 14
extinction.16
Fuego de encendido 14
Fuga de aire.18.
G
Gas residual
caudal volumétrico 23
Grasa para engrasado.18
H
Humo
en el primer uso.14
1
Introducir el combustible..16.
J
Junta de sellado puerta.18
L
Laca.14
Lena
no termina de arder 28
Leñahawk 28
Limpiador de cristales de estufa 18
Limpieza
aparato 17
cristal. 18
Limpieza de la chimenea 17
M
madera 14
Madera
almacenado 14
húmeda 14
secar 14
tips inadequados. 14
Madera de coniferas. 14
Maderahumeda. 14
Mantenimiento
chimenea 17
engrasado 18
limpieza aparato. 17
limpieza cristal 18
placas refractarias 17
sellado 18
Materials inflamables
distancia a 27
Medidas 24
N
Niebla, no encender. 17
Nivel de llenado maximal del aparato 16
0
Oxigenación del fuego 16
P
Paredes seguridad contra incendios 6
Peso 23
Placa de cubierta
espacio de convec tion 12
Placas ignifugas
aviso 14
Placas refractarias
mantimiento. 17
Potencia nominal. 17, 23
Prevencion fuego de chimenea 16
Puerta junta de sellado 18
Puerta de guillotina 7,21
ajustar 21
contrapeso 7
sistema de guias. 19
R
Regulación aire. 16
Regulación aire de combustión. 16
Regular entrada de aire 16
Rejilla de salute colocacion 13 requisitos. 13
Rejilla de ventilacion 5
colocacion 12
requisitos 12
Reparar daños en el acabado.18.
Returno de gases 4
Returno de homo.28
s
Secado de la madera.14
Seguridad contra incendios distancia a materiales inflamables.27....
muebles 6
paredes.6
suelo 6
Sistema de guias
desmontaje 19
SolutiOn de problemas. 17, 28
Suelos
capacidad de energia 6
seguridad contra incendios 6
Suministro aire exterior. 11
Suministro de aire exterior 5
conexión a. 12
T
Temperatura de los gases 23
Tiro 23
V
Válvula regulación 8
Ventilación 5
conexión suministro aire exterior. 11
regla de tres. 5
Vidrio limpieza 18
Vidrios opacimiento 28
Contenuo
Introduzione 3
ManualFácil