DXLCD32 - TELEVISOR Dynex - Manual de uso y guía de instrucciones gratis
Encuentra gratis el manual del aparato DXLCD32 Dynex en formato PDF.
Preguntas frecuentes - DXLCD32 Dynex
Questions des utilisateurs sur DXLCD32 Dynex
0 question sur cet appareil. Repondez a celles que vous connaissez ou posez la votre.
Poser une nouvelle question sur cet appareil
Descarga las instrucciones para tu TELEVISOR en formato PDF gratis! Encuentra tus instrucciones DXLCD32 - Dynex y toma tu dispositivo electrónico nuevamente en la mano. En esta página están publicados todos los documentos necesarios para el uso de su dispositivo. DXLCD32 de la marca Dynex.
MANUAL DE USUARIO DXLCD32 Dynex
Televisor con PDT de 32"
DX-LCD32
Informacion de seguridad 32
Characteristicas 34
Preparación de su televisor. 35
Uso de su televisor 37
Mantenimiento. 42
Localization y correccion de fallas 42
Apendice 43
Especificaiones 44
Avisos legales 44
Garantía Limitada de un año 45
Información de seguridad
Advertencia:
Para reducir el riesgo deCHOque eletrico, no retire la cubierta ni la parte posterior. No existen partes reparables por el usuario en el interior. Para las reparaciones, contacte con personal de serviceo calificado.
Para reducir el riesgo de incendio oCHOque electrico, no exponga su television a la lluvia o la humedad.
Precaución
Para evaporar unCHOque eletrico, introduzca la clavija ancha del enchufe del cable de alimentacion en la ranura ancha de un tomacorriere. Si el enchufe no entra, solicite a un electricista certificado que cambie el tomacorriere obsoletto. No modifique el enchufe del cable de alimentacion ya que se anulara estacharacteristica de seguridad.

Este=simbolo indica que voltaje peligioso que pueda constituir un risgo deCHOque electrico se encontrar presente Dentro de su televisor.Esta etiqueta se enquirytra ubicada en la parte posterior de su televator.

Este*simbolo indica que hay instrucciones importantes de operation y mantenimiento en la literatura que acomaña a su teovisor.
Advertencia:
Su tevisor utilizes soldadura de esta y plomo y una lampara fluorescente que contiene unaewsca nacion de mercurio. El deshecho de these materiales pede ser regulado por razones ambientales. Para obtener informacion sobre el deshecho o reciclaje,pongase en contacto con sus autoridades locales o la Alianza de Industrias Electruncas en el situ web www.eia.org.
Lea las instrucciones
Lea todas las instrucciones de seguridad y operación antes de usar su televisor.
Guarde las instrucciones
Conserve las instrucciones de seguridad y operación para referencia futura.
Siga las advertencias y las instrucciones
Preste atencion a todas las advertencias sobre su television y las instrucciones de operacion. Siga todas las instrucciones de operacion y uso.
Agua y humedad
No use su tevisor circa del agua. Por exemple, no lo use cerca de una banera, lavabo, fregadero de cucina, lavadero, en un sotano mojado o cerca de una piscina.
Limpieza
Desconecte su televisor antes de limpiarlo. No use
produtos de limpieza liquidos o en aerosol. Use
solamente un pano humedo para limpiar el exterior
de su televisor.
Ventilación
Las ranuras y aberturas en el gabinete y en la parte posterior o en la base se proportionsan con fines de ventilacion, operation confiable y proteccion contra sobrecalentamento. Estas aberratas no se deben bloquear ni cubir. No cubra las aberratas al colocar su television sobre una cama, sofa, alfombra, oequalquier othera superficie parecida.No colque su televisionoca o sobre un radiador orcalefactor.No colque su television en una instalacion integrada,tal como un libreo o estante,a menos que se provea una ventilacion adeuada o siga las instrucciones del fabricante.
Calor
Asegúrese de que su televisor se incluye alejado de fuentes de calor tal como radiadores, calefactores, estufas uthers products (incluyendo amplificadores) que produzcan calor.
Conexión a tierra o polarización
No anule el proposto de seguridad del enchufe con polarizacion o con connexion a tierra. Un enchufe polarizzato tiene dos clavijas planas, una mas ancha que la othera. Un enchufe de connexion a tierra tiene dos clavijas y un conductor de tierra. La clavija ancha o conductor de tierra se proportionsan para sucurity. Si el enchufe no entra, Solicite a un electricista que cambie el tomacorriente obsoleto.
Protección del cable de alimentación
Los cables de alimentación deben colocarse de manière que no se pisen ni se los aplaste con articículos colocados sobre ellos o contra ellos. Preste atencion especial a los cables en los enchufes, en los receptaculos auxiliares y en el punto en el que salen de su teovisor.
Accesorios
Sólo use aditamentos recomendados por Dynex.
Sopporte
No coloque su televisor en un carro, base, tripode, soporte o mesa inestable. Su televisor seoulda caer y sufir daños importantes, además de causar serias lesiones personales. Usar solamente con carros, bases, tripodes, soportes, o mesas especificadas por el fabricante o que se vendan con el televisor. Si monta su televisor en la pared, siga las instrucciones del fabricante y use un accesorio de montaje recomendado por el fabricante. La combinación del TV y un carro debe moverse con cuidado. Las paradas repentinas, la fuerza excessiva y las superficies irregulares pueda causar que su TV y el carro se volteen de lado.
Rayos
Para proteccion adiconal del receptor de TV durante una tormenta electrica, o cuando se deje sin supervision o sin usar por largos periodos de tiempo, desconectelo del tomacorriente y desconnecte la antenna o el sistema de cable. Esto ayudara a evaporar daños a su telesor debito a relampagos o sobretensiones en las lineas de alimentacion.
Reparación
No trate de reparar este televisor usted mesmo, ya queAbrir o quitar las cubiertas pueda exponerlo a voltajes peligrosos uotherspeligros.Remita todas las reparaciones al personal de service calificado.
Piezas de repuesto
Cuando se necesiten repuestos, asegúrese de que el技术和 operaciones de reparación use repuestospecificados por el fabricante o que tengan las mismascharacteristicas que la pieza original. Las substituciones no autorizadas你能en resultar en incendio,CHOque electrico,lesiones personales uotvos peligros.
Sobrecarga
No sobrecargue los tomacorrientes y los cables de extension ya que thiso resultar en riesgo de incendio oCHOque elctrico.
Ingreso de objetivos y liquidos
Nunca inserte objetivos de ningún tipo en su telector a工程技术 de las ranuras, ya que这些东西��cen tocar para un encendio o como qu'electrico. Nunca derrame liquidos de la lenguna clase sobre su telector.
Dáños que requisieren reparación
Desconecte este televator del tomacorriente y encomiende su reparacion a personal calificado bajo las siguientes conditiones:
- Cuando el cable de alimentacion o el enchufe está danado o pelado.
- Si se ha derramado liquido u objetos han caido dentro de su televisor.
- Si el televisor ha sido expuesto a la lluvia o al agua.
- Si su teovisor no funciona normalmente aun siguiendo las instrucciones de operacion. Ajuste unicamente los controles que estan cubiertos en las instrucciones de operacion, ya que el ajuste incorrecto deculos controlles peuvent resultar en daño y frecuentemente requireirra trabajo intensivo de un technician calificado para restaurar la operacion normal del teovisor.
- Si su teovisor se ha caido o dañado de cadaquier forma.
- Cuando su telector exhiba un cambio significativo en el rendimiento.
Piezas de repuesto
Cuando se necesiten repuestos, asegúrese de que el技术和 operaciones de reparación use repuestospecificados por el fabricante o que tengan las mismascharacteristicas que la pieza original. Las substituciones no autorizadas你能en resultar en incendio,CHOque electrico,lesiones personales uotvos peligros.
Verificacion de seguridad
Después de completar la revisión o reparación de este telector, pidale al的技术o de servicios que realice verificaciones de seguridad para determinar que el telector se oculta en perfecto estado de funcionaimiento.
Fuente de alimentación
Su telesor debe funcionar unicamente con el tipo de fuente de alimentacion indicada en la etiqueta de marca. Si no está seguro del tipo de fuente de alimentacion que hay en su casa, consulte con el vendedor de su telesor o la compania de energia local.
Proteccion de la pantalla
La pantalla de su tevisor está hecha de vidrio. No deje caer su tevisor ni golpee la pantalla de vidrio. Si la pantalla se rompe,onga cuidado al recoger el cristal roto.
Defecto de pixel
La pantalla de su televisor está disénada para做不到 lo que el meñan de lalevision.
Occasionalmente unocks pixeles inactivos ).
puede aparecer en la pantalla como+puntos fijos de
color azul, verde o rojo. Este no es un defecto y no
affecta el rendimiento de su televisor.
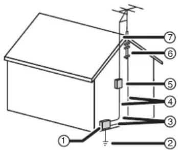
Conexión a tierra de la antenna exterior
Si una antenna externa o un sistema de cable esta conectado al teletvisor, asegúrese de que la antenna o el sistemas de cable esta conectado a tierra, para proveer una protección contra sobre voltajes y la acumulación de cargas realizables. El articulo 810 del número nacional electrico, ANSI/NFPA N.70-1984 proporcióna información con Respecto a la correcta connexion a tierra del poste y de laestructura de soporte, la connexion a tierra del alambre principal de unaunidad de descarga de antenna, el tamanjo de los conductores de la connexion a tierra, laubicacion de launidad de descarga de antenna, la connexion a los electrodos de connexion a tierra y los requisitos para el electrodo de connexion a tierra.

1 Equipo de servicee elctrico
2 Sistemas de electrodos de tierra para el serviceo de alimentacion eletrica
3 Abrazaderas de tierra
4 Conductores de connexion a tierra
5 Unidad de descarga de antenna
6 Abrazadora de tierra
7 Cable conductor de entrada de antenna
Notapara el instalador delsystema CATV
Este recordatorio se proporciona para que el instalador delsystema CATV preste atencion al articulo 820-40 del NEC,que proporciona pautas para una correcta connexion a tierra y, en particular, ):pecifica que la connexion a tierra del cable debe connectarse al systema de masa del edificio, tanoca al punto de entrada del cable como sea possible.
Advertencia sobre Telefonos celulas
Para evaporar interferencia con la imagen y sonido de su teletvisor, problemas de functonamente o aun daño, mantenga su Telefono cellular alejado del teletvisor.
Instruetiones de fin de vidautil
Su teovisor nuevo contiene materiales que podensen ser reciclados y reutilizados. Al final de la vida util de su teovisor, companias especializadas能把ndesmantar el teovisor para reunir los materialesreutilizables y para minimizar lacantidad demateriales que se desecharan.Favor aseguresedeeshacerse de su teovisor antiguo de acuerdo a los reglamentos locales.
Characteristicas
Vista frontal

| # Botón Descripción | ||
| 1 | VOL | Permitte subir el volumen. En el modo de menú, funciona como la flecha derecha para ir alsignificanto menú oacular ajuste. |
| 2 | VOL | Permitte bajo el volumen. En el mode de menú, funciona como la flecha izquierda para ir alsignificanto menú oocularde ajuste. |
| 3 | CH | Permitte ir al significante canal superior. En el mode de menú, funciona como la flecha hacia arriba. |
| 4 | CH | Permitte ir al significante canal inferior. En el mode de menú, funciona como la flecha hacia abajo. |
| 5 | MENÜ Permite做不到 el menú de pantalla. | |
| 6 | ENTRADA Permite selecciónar entre las fuentes de entradado disponible. En el mode de menú, funciona como la tecla ENTER (Entrar). | |
| 7 | ALIMENTACION Permite encender su television o poderlo en el mode de suspensión. | |
Controlremoto

| # Botón Descripción | |
| 1 ALIMENTACION Permite encender su television o poderlo en el modo de suspensión. | |
| 2 Televisor Permite selecciónar entre las fuentes de TV ATSC (digital) o NTSC (analógica). | |
| 3 PC | Permitte alternar entre el modo VGA y el HDMI. |
| 4 REGRESAR | Permitte ver el canal sintonizzato anteriorsmente. |
| 5 SILENCIAR | Permitte silenciar el sonido. Presiónelo de nuevo para restuarar el sonido. |
| 6 CH ▼ o ▼ | Permitte cambio los canales de TV. |
| 7 SALIR | Permitte cerrar el menu de pantalla. |
| 8 MTS/SAP | Permitte selecciónar uno de los modelos de audio predefinidos. Puede selectionar entre MONO, STEREO (Estéreo) y SAP. |
| 9 CCD (Subtitulos optativos) | Permitte activar o desactivar los subtitulos optativos. Para Obtener más información, refiérase a "Visualización de subtitulos optativos" en la págrina 39. |
| 10 CONGELAR | Permitte congelear laImagen de video. Presiónelo-Newamente paradescendingel imagen. No congele laImagen de video por periodos de tiempo extendidos. Este pueda-ddar la pantalla del televisor. |
| 11 AUDIO | Permitte selecciónar el modo de sonido. |
| 12 IMAGEN | Permitte selecciónar ajuste del brillo o del contraste. Le permitte ajustar el brillo y el contraste sin abrir el menu de planta. |
| 13 APAGADO AUTOMÁTICO | Permitte configurar el temporizador de apagado automático. Para Obtener más資訊, refiérase a "Ajuste del temporizador de apagado automático" en la págrina 39. |
| 14 ZOOM (Ampliar) | Permitte selecciónar la relacion de aspecto de la planta. |
| # | Botón | Descripción |
| 15 | P.LOCK | Permitte activar o desactivar la funciona de controlles de los padres. Refiérase a “Configuración de los controlles de los padres” en la págrina 39 para Obtener información sobre de los controlles de los padres. |
| 16 | ENTER (Entrar) | Las flechas permiten moverse bajo, arríba, izquierda o derecha en el menu de pantalla. Presione ENTER para confirmar los Cambios o para actuar o desactivar OPCIONES en el menu de pantalla. |
| 17 | MENÜ Permite acceder al móvil de pantalla. | |
| 18 | FAVORITOS Permite | cerrar entre el modo de Favoritos y el modo Normal. Refiérase a “Configuración de la lista de canales” en la págrina 39 para Obtener más información. |
| 19 | VOL + o - | Permitte subir y bajar el volumen. |
| 20 - | Se usa con los botones numéricos 0-9 y la tecla ENTER para selectionar canales digitales. | |
| 21 | [Botones numéricos] | Permiten ingresar los nombres de canal. En el móvil de pantalla, permiten ingresar su contraseña del control de los padres. |
| 22 | COMP Permite selección ar el modo de fuente de Componentes. | |
| 23 | VIDEO Permite alternar entre los Modes de fuente S-Video y Compuesto. | |
| 24 | ENTRADA Permite selecciónar la señal de la fuente de entrada de video. | |
| 25 | VISUALIZACION Permite(""); no更改 original. | |
Uso del control remoto
Para usar el control remoto:
- Apunte el control remoto hacía el sensor de control remoto al frrente de su television.
Notas
- No exponga el control remoto a choques o liquidos.
- No use el control remoto en un area con alta humedad.
- No coloque el control remoto bajo la luz solar directa.
- No Coloque objetivos, tales como muebles, entre el control remoto y el sensor del control remoto.
- Puede ser que el control remoto no funciona si luz solar directa o luz fuerte brille sobre el sensor del control remoto. Mueva su telesor or cambie el angulo en que usa el control remoto.
Preparación de su telector
Instalación de las pilas del control remoto
Para instalar las pilas del control remoto:
1 Quite la cubierta de las pilas.

2 Inserte dos pilas AAA en el compartmentimiento de la pila. Verifique que los símbolos + y - en las pilas correspondan con los símbolos + y - en el compartmentimiento de las pilas.
3 Reinstale la cubierta.
Notas
No combine pilas detipsodentes.
- No combine pilas gastadas y nuevas.
Saque las pilas cuando se les acabe la carga.
- Los químicos de las pilasSEO.
sarpullido.Si las pilas se detraman, limpie el
compartimiento de pilas con un paño. Si los
químicos tocan su piel, lávese inmediamente.
- Saque las pilas si el control remoto no se va a usar por un periodo de tiempo extendido.
Conexión de su televisor a un tomacorriente
Para conectar su televisor a un tomacorriere eletrico:
- Enchufe el cable de alimentacion en un tomacorriente.
Notas
- Verifique que se está usingo el tipo de alimentación correcta. Refiérase a la etiqueta en su televisor.
- Si no piensa usar su teovisor por un periodo de tiempo extendido, desenhufe el cable de alimentación del tomacorriente electrico.
Conexión de una antenna exterior
Hay dos temas de cables de antenna: 75 ohmios y 300 ohmios.

Cable de 75 ohmios

Cable de 300 ohmios
-
Si su cable de antenna tiene un conductor de 75 ohmios, conectelo al conductor coaxial en la parte posterior de su televisor.
-
Si su cable de antenna Tiene un conductor de 300 ohmios, conectelo a un adaptor de 300-75 ohmios (no incluido), conecte el adaptor a un cable de 75 ohmios, bajo conecte el除外 extremo del conductor de 75 ohmios al toma coaxial en la parte posterior de su teovisor.
Conexión de TV por cable
Su tevisoriene un conector de 75 ohmios para conectar TV por cable.
Algunos proveedores de TV por cable codifican las señas de los canales de pago especial. Para ver"These canales, necessities una caja convertidora/decodificadora.
Si noiene una caja convertidora/decodificadora, suepe conectar su TV por cable directamente a su televisor. Siiene una caja convertidora/decodificadora, suepe conectar su TV por cable usingo un interruptor de RF (no
suministrado). Para Obtener más información sobre como conectar una caja convertidora/decodificadora,pongase en contacto con su proveedor de TV por cable.
Para conectar TV por cable sin usar una caja convertidora/decodificadora:
1 Conecte un extremo de un cable de 75 ohmios al toma coaxial situado en la parte posterior de su televisor.
2 Conecte el除外 extremo del cable al toma de pared de TV por cable.
Para conectar TV por cable con una caja convertidora/decodificadora:
- Refiérase a lasuma figure para conectar una caja convertora/decodificadora. (El commutador de RF y el divisor de senal no se suministran.) Mueva el commutador de RF a la posicón A para ver los canales sin codificacion usingo el control remoto de su televisor. Mueva el commutador de RF a la posicón B para ver los canales codificados usingo el control de la caja convertora/decodificadora.

Conexión a una fuente de postal externa
Puede conectar un reproductor de DVD, VCD, VCR, o una caja decodificadora por various métodos, incluyendo cables compuestos, cables de componentes, cable de S-Video o un cable HDMI. El cable de S-Video no incluye el sonido. Si usa un cable de S-Video, necessitará usear cables de audio para conectar la calidad del sonido.
Advertencia:
Verifique de que apague y desconecte su teovisor antes de conectar equipos.
Nota
Para Obtener el mejor video, use el conector de S-Video si su VCRiene una conexión de S-Video.
Para conectar a una fuente de senal externa:
1 Para video compuesto — Conecte el cable de audio/video en los tomas AUDIO L (Izquierdo), AUDIO R (Derecho) y entrada VIDEO en la parte posterior de su televisor.
-0
Para S-Video — Conecte los cables de audio como se indica arriba y conecte un extremo de un cable de S-Video en el toma de S-Video en la parte posterior de su televisor y el除外 extremo en el conductor de S-Video en la fuente de Signals externa.
-0
Para video de componentes — Conecte los cables de video Y, Pb, Pr y los cables de audio izquierdo y derecho en los tomas de entrada de componentes.
-0
Para HDMI — Conecte un extremo de un cable HDMI en la parte posterior del televisor y el除外 extremo en un reproductor de DVD HD (Alta definccion).
2 Encienda su televisor.
3 Presione INPUT repetidamente para seleccionar la fuente de signaled externa que desea ver.
4 Active la fuente de Signals externa.
5 Inserte un disco o una cinta de video en la fuente de senal externa y presione PLAY (Reproducir).

Conexión a una computadora
Advertencia
Verifique que apague y desconnecte su televator antes de instalar equipos.
Para conectar un PC:
1 Conecte un cable VGA desde su computadora al toma VGA en la parte posterior de su televisor.
2 Conecte un cable de audio desde el toma de salute de audio de su computadora al toma de audio en la parte posterior de su teovisor.
3 Enchufe y encienda su televator.
4 Presione INPUT repetidamente para selectionar la fuente de entrada VIDEO5 y bajo presione PC para alternar entre HDMI o VGA.

Uso de su televisor
Encendido y apagado de su televisor
Para encender y apagar su televisor:
1 Verifique que el cable de alimentacion está conectado a su televisor y a un tomacorriente electrico.
2 Presione para encender su televisor. El indicator LED de encendido se ilumina color verde.
3 Presione de nuevo para returnar su televisor al modo de suspENSION. EI indicator LED de encendido se ilumina color naranja.
Selección de la fuente de la seals de TV
Para seleccionar la fuente de la seals de TV:
-
Con el televator encendido, presione INPUT en el televator o en el control remoto para elegir entre: ANT (antena)
-
Video1 (compuesto posterior)
- Video2 (S-Video posterior)
- Video3 (componente lateral)
- Video4 (S-Video lateral)
- Video5 (components 1)
- Video6 (components 2)
-Video7 (VGA)
Video8 (HDMI) - Video9 (HDMI2)
Si selecciona Video1, presione VIDEO para elegir entre video compuesto y S-Video.
Nota
HDMI, el logo de HDMI y High-Definition Multimedia Interface (Interfaz de Multimedia de Alta Definccion) son MARas comeciales o MARCAS registradas de HDMI Licensing LLC.
Configuración de la lista de canales
Después de selecciónar la fuente de senal de su TV, si seleccióno antenna o cable necessitará configurar la lista de canales. Cuando configure la lista de canales, su telesor buscará todos los canales disponibles en su area y guardará una lista de these canales. Cuando presione CH - o CH + su telesor omitirá los canales que noienen una senal.
Configuración automática de canales
Para configurar automatistically la lista de canales:
1 Presione MENU (Menu). El menu principal de pantalla se abrirá con laooth Setup (Configuración) resultada.

2 Presione para ingresar al submenu y presione o para resaltar Auto Ch Search (Busqued a automatica de canales)
3 Presione ENTER o para comenzar la búsueda.
Nota
Puede presionar Exit para detener la busqueva.
Aggregando o eliminando canales manualmente de la lista de canales
Después de create una lista de canales using la optación "Auto Ch Search", pueda/agregar o eliminar canales de la lista de canales.
Para(agregar o borrar canales:
1 Presione MENU (Menu). El menu principal de pantalla (OSD) se abrirá con laooth Setup (Configuración) resalta.
2 Presione para ingresar al submenu y presione o para resaltar Manual Channel Set (Configuracion manual de canales) Se abrirá la tabla de configuración de canales.
3 Presione para selectionar un canal y bajo presione ENTER para alternar entrevisible y no visible.
4 Presione MENU o EXIT para cerrar el menu.
Cambio de canales
Para embariar los canales:
Presione CH-o CH+ en el control remoto para ir alARRYe canal mas abajo o mas arriba.
-0
Presione los botones numéricos para selectionar directamente un canal (por exemple, si desea ver el canal 83, presione 8, y luego 3).
-0
Presione RECALL (Regresar) para ir alultimate canal visto.
Selección de un sub-canal digital
La mayoría de canales de TV digital tiene más de un canal. El canal principal leva la seals del programa de TV principal. Los sub-canales llevan las señales para programación adicional o alternatively, tal como transmisión de radio o notas.
Por exemple, si el número de canal principal es 8, el número de sub-canal pueda ser 8-1, 8-2 o 8-3.
Para seleccionar un sub-canal:
1 Presione los botones numéricos del canal principal (por exemple 8).
2 Presione -, y fuego el botón del sub-canal (por典型案例 1).
Ajuste del volumen
Paraajustelvolumen:
Presione VOL - o VOL + para bajo o subir el volumen.
- Presione MUTE (Silenciar) para desactivar el sonido. Presione MUTE nuevomente para reactivar el sonido.
Visualización de la información de estado
Paraunar informacionde estado:
- Presione DISPLAY (Visualización). Su telesor lo做不到.
- Presione DISPLAY (Visualización). Su telesor lo做不到.
- Presione DISPLAY (Visualización). Su telesor lo做不到.
- Presione DISPLAY (Visualización). Su telesor lo做不到.
Verificacion de la intensidad de la seals de DTV
Para verificar la intensidad de la seals de DTV:
1 Presione MENU (Menu). El menu principal de pantalla (OSD) se abrira con laooth Setup (Configuracion)resultada.
2 Presione para ingresar al submenu y presione o para resaltar DVT Signal (Senal DTV). Se abrirá el medidor de senal DTV.

3 Presione MENU o EXIT para cerrar el menu.
Adiccón de una etiqueta de canal
1 Presione MENU (Menu). El menu principal de pantalla (OSD) se abrira con laooth Setup (Configuracion)resultada.
2 Presione para ingresar al submenu y presione o para resaltar Channel Labels (Etiquetas de canal). Se abre el menu Channel Label (Etiqueta de canal).
3 Presione para mover el cursor al campo de canal o de etiqueta y presione para seleccionar un canal cuando el cursor se encuentra en el campo de canal, o presione para seleccionar la leyra cuando el cursor se encuentra en el campo de etiqueta.
4 Presione ENTER para regresar al menu anterior.
Congelamento de laImagen
Puede congelar (detener) la imagen en la pantalla.
Precaución
Para proteger su teilevisor, no congele la imagen en pantalla por periodos de tiempo extendidos.
Para congelar o descongelar laImagen:
Presione FREEZE.
Ajustedelreloj
Paraajustarelreloj:
1 Presione MENU (Menu). El menu principal de pantalla (OSD) se abrira con laooth Setup (Configuracion)resultada.
2 Presione o repetidamente para resaltar Feature (Funci). Se abrirá el menu Feature (Funci).

3 Presione para ingresar al submenu y presione o para resaltar Time Set (Configuracion de hora). Se abrira el menu Time Set (Configuracion de hora).

4 Presione para moverse a outros Campos y presione para cambiar los ajustes.
5 Presione MENU o EXIT para cerrar el menu.
Ajuste del temporizador de apagado automatico
El temporizador de apagado automatico le permite selectionar la calidad de tiempo que transcurrirá antes de que su teovisor se apague automatistically.
Para configurar el temporizador de apagado automatico:
1 Presione MENU (Menu). El menu principal de pantalla (OSD) se abrirá con laooth Setup (Configuración) resalta.
2 Presione repetidamente paraDSLarFeature (Funci).Se abrir a el menu Feature (Funcion).
3 Presione para ingresar al submenu y presione o para resaltar Sleep Timer (Temporizador de apagado automatico).
4 Presione para seleccionar lacantidad de tiempo (Off [Desactivado], 5 min, 10 min, 15 min, 30 min, 45 min, 60 min, 90 min, 120 min, 180 min, 240 min). Para desactivar el temporizador, seleccione Off (Desactivado).
Nota
Visualización de subtitutos optativos
Nota
Para seleccionar o personalizar los subtiutos optativos digitales, use el submenu Digital Captions (Subtiutos digitales) o Digital Closed Caption (Subtiutos optativos digitales) en el menu Feature (Funcion).
Para ver los subtitulos optativos:
-
Presione CCD repetidamente para selectionar unaopping de subtitulos optativos. Se pueda的选择ar:
-
On (Activado)
- Off (Desactivado)
- On When Mute (Activado en silencio)
Configuración de los controles de los padres
Su teovisoriene un V-chip que le permite controlar el tipo de programas que sus niños peuvent ver. Los controles de los padres incluyen dos clasificaciones: La MPAA (basada en la edad) y las TV Parental Guidelines [Pautas de TV para los padres] (basadas en el contenido y la edad). Un programa de TV pueda tener una clasificacion de MPAA o de "TV Parental Guidelines", asi que deben configurar los controles para las dos clasificaciones.
Antes de que selección las clasificaciones, necessitará configurar una restracción para los controlles de los padres.
Paraestablisherunacontraseña:
1 Presione MENU (Menu). El menu principal de pantalla (OSD) se abrirá con laooth Setup (Configuración) resalta.
2 Presione repetidamente paraDSLarFeature (Funci).Se abrir a el menu Feature (Funcion).
3 Presione para ingresar al submenu y presione o para resolver Password Set (Configuracion contrasea).
4 Presione los botones numéricos para ingresar la contraseña antigua. Si no ha configurado una contraseña, ingrese 0000. Presione ENTER para continuar.

5 Presione los botones numéricos para ingresar una restraseña nuevo. Presione ENTER para continuar.

6 Presione los botones numéricos para ingresar la contraseñanea, para confirmar. Presione ENTER paraContinuar.

Precaución
Escribe su contrasea y guardela para uso futuro.
Nota
Si olida su contraseña, ingrese 3448 como contraseña antigua e ingrese una contraseña nuevo.Esta contraseña siempre está valida para restablecer su contraseña.
Configuración del nivel de control de los padres
Paraaabustarel niveldecontrolde lospadres:
1 Presione MENU (Menu). El menu principal de pantalla (OSD) se abrira con laooth Setup (Configuracion)resultada.
2 Presione o repetidamente para resaltar Feature (Funcion). Se abrira el menu Feature (Funcion).
3 Presione para ingresar al submenu y presione o para resaltar Parental Control (Control de los padres). Se abrirá la pantalla de la contraseña.

4 Presione los botones numéricos para ingresar la contraseña. Presione ENTER paraContinuar. Se abrirá el menu Parental Control Menu (Menu del control de los padres).

5 Presione para selectionar USA Parental Locks (Bloqueos estadounidense de los padres) o Canadian Parental Locks (Bloqueos canadiense de los padres) bajo presione ENTER. Se abrira el Menu de 控roles que selecciono.

6 Presione , o paramoverse a una clasificacion y presione ENTER para seleccionarla.
Cuando prohíbe una clasificación, se prohibirá dicha clasificación y todas las clasificaciones por encima de ella.
7 Presione MENU o EXIT para cerrar el menu.
Clasificaciones MPAA americanas
| Clasificación | Descripción |
| NONE (Ninguna) | Sin clasificación. |
| G Pública en general. | |
| PG Se sugiere el consejo de los padres. Contiene material que los padres peuvent considerar inadequado para los niños. | |
| PG-13 Se recomienda fuertamente la supervisión de los padres. Este programa contiene material que los padres peuvent considerar inadequado para niños menos de 13 años. | |
| R Restringido. No se recomienda para niños menos那些 de 17 años a menos que esténaminsoonstantos por un padre o un custodio. | |
| NC-17 No se recomienda para niños menos那些 de 17 años. | |
| X Sólo para niños. | |
Clasificaciones MPAA canadienses
| Clasificación | Descripción |
| C | N iñ |
| C8+ Niños de 8 | años y mayores. |
| G Pública en general | |
| PG | Se sugiere el consejo de los padres. |
| 14+ | Niños de 14 años y mayores |
| 18+ | Programación para niños |
| X Sólo para niños. | |
0
Clasificaciones de Pautas de TV para los padres
| Clasificacion | Descripción |
| NONE (Ninguna) | Sin clasificacion. |
| TV-Y Todos los niños. | |
| TV-Y7 | Dirigido a niños mayores de siete años. |
| TV-G | Publico en general. |
| TV-PG | Se sugiere el consejo de los padres. |
| TV-14 | Energico avisao para los padres. |
| TV-MA | Adultos solamente. |
Algunas de las clasificaciones de Pautas de TV para los padres basadas enidad también tenernos clasificaciones basadas en el contenido.
| Clasificación Descripción | |
| FV | Violencia de fantasía. |
| L | Lenguaje vulgar. |
| S Situaciones sexuales. | |
| V Violencia. | |
| D Dario se sexualmente sugestivo. | |
Uso del menu de pantalla (OSD)
Su tevisor tiene un menu de pantalla que le permite ajustar los controlles del teovisor, tal como los ajustes de video y audio.
Para usar el menu de pantalla:
1 Presione MENU (Menu).
2 Presione 一 repetidamente para seleccionar un elemento del menu.
3 Presione para ingresar a un submenu.

4 Presione ENTER o para confirmar un ajuste o commutarlo.
5 Presione MENU o EXIT para cerrar el menu de pantalla.
Menús en pantalla
| Menu de pantalla | Opciones |
| Setup (Configuración) | Tuning Band (Banda de sintonización) – Seleección la fuente de señal de la antenna del television (Air [Aire] o Cable). DTV Signal (Señal DTV) – Muestra la intensidad de la señal de TV digital. Para Obtener más informática, refiérase a “Verificación de la intensidad de la señal de DTV” en la págrina 38. Auto Ch Search (Búsqueada automatística de canales) – Configura automatistically una lista de los canales disponibles en su area. Para Obtener más informática, refiérase a “Configuración automatística de canales” en la págrina 37. Add On Ch Search (Búsqueada de canales(agregados) – Le permiteregarra canalesuales sin ver toda la lista de canales disponibles. Manual Chanel Set (Configuración manual de canales) – Le permiteagregaro o eliminar canales de la lista de canales. Para Obtener más informática, refiérase a “Agregando o eliminando canalesmanualmente de la lista de canales” en la págrina 37. Channel Labels (Etiquetas de canal) – Le permiteagregaruna etiquetaa un canal. Para Obtener más informática, refiérase a “Adicción de una etiquetade canal” en la págrina 38. Menu Language (Idioma del menú) – Permitte selección aridioma para de menu de pantalla. Puede selecciónar English (inglés), French (francés) o Spanish (español). Aspect Ratio (Relación de aspecto) – Seleecciónla relaciúnde aspecto de la pantalla: Normal, Wide (Ancha), Zoom o Cinema. también puede presionrar ZOOMpara selecciónar la relaciúnde aspecto. Favorite Channel mode (Modo de canales favoritos) – Le permiteeditor su lista de canales favoritos. Use FAVORITE en el control remoto paraactivar o desactivar ese modo. |
| Video (Las options你能variar indiferentesmosos.) | Contrast (Contraste) – Aumenta el nivel de la imagen paraaabstur sus Areas blancas. Reduce el nivel de la imagen paraaabstur las Areas negras. (0 ~ 100) Brightness (Brillo) – Aumenta el brillo para aggregar más luz a las Areas oscuras de la imagen. Reduce el brillo para aggregar más oscurdad alas areas iluminadas de la imagen. (0 ~ 100) Sharpness (Nitidez) – Aumenta el nivel de nitidez paraasnataruna imagen más limpia y clara. Reduce la nitidez paraobteneruna imagen más suave. (-50 ~ 50) Color – Ajustael color global de la imagen. (0 ~ 100) Tint (Tono) – Aumenta el nivel de color para aggregar más verde a los tonos de piel. Reduce el nivel de color para aggregar más violeta a los tonos de piel. (R50 ~ G50) Backlight (Retroiluminación) – Ajustael nivel de retroiluminación (0 ~ 10). Settings (Ajustes) – Restaura losaabstuesa losvalores de fábrica. |
| Menu depellata | Opciones |
| Audio(Las optionspuede variar endiferentesmodos.) | Audio Language (Idioma del audio) -Selección un idioma alternativo si el programatemeiTiene más de unidioma disponible. Sólo estáen el modo de television ATSC.Bass (Graves) - Ajusta los sonidos bajo(graves).Treble (Agudos) - Ajusta los sonidos altos(ayudos).Balance - Ajusta el volumen del altozderelo y del izquierdo.Digital Audio Output (Salida de audio digital)-Selección el modo de audio para el tomacoaxial de audio digital.RAW (Puro): Entrada AC-3 - Salida AC-3/Entrada PCM - Salida PCM.PCM: Entrada AC-3 - Salida PCM/Entrada PCM - Salida PCM.TV Speaker (Altavoz del televisor) - Activa(predefinido) o desactiva el altovoz internodeltelevisor. No afecta la calidad de audio digital, lasalida de auriculares y la calidad de audiocompuesto.Settings (Ajustes) - Restaura los ajustes a losvalores de fábrica. |
| Menu de pantalla | Opciones |
| Función Time Set (Ajuste de la hora) - Ajusta el reloj. Para Obtener más información, refiérase a "Ajuste del reloj" en la頁a 38.Sleep Timer (Temorizador de apagado automatico) - Ajusta el temporizador de apagado automatico. Para Obtener más información, refiérase a "Ajuste del temporizador de apagado automatico" en la頁a 39.Advanced Video Set (Configuración avanzada de video)- Noise Reduction (Reducción de ruido) - Seccione entre Low (Baja), Mid (Media), High (Alta) y Off (Desactivado).Color Temperature (Temperatura de color) - Seccione entre Normal, Warm (Cálico) y Cool (predefinido) [Frio]3D Y/C filter (Filtro 3D Y/C) - Seccione entre On (predefinido) [Activado] o Off (Desactivado)Setting (Ajuste) - Restaura los ajustes allos values de fibrica.Password Set (Configurar contrasea) - Le permite establishar la contrasea para los 控ules de los padres. La contrasea preestablacida es 0000. Refiérase a "Configuración de los 控ules de los padres" en la頁a 39.Parental Control (Control de los padres) - Accede a los 控ules del V-chip. Para Obtener más información, refiérase a "Configuración de los 控ules de los padres" en la頁a 39.Digital Caption (Subtitulos optivos digitales) - Establishe el tipo de subtitulos optivos digitales. Seccione entre Service (Servicio) 1-6, Text (Texto) 1-4 y CC 1-4.Closed Caption Options (Opciones de subtitulos optivos) - Personaliza los subtitulos optivos para los sistemas de transmisión digital. Puede ajustar el tamanío, la fuente, el color del texto, la opacidad del texto, el color de fondo, la opacidad del fondo, el efecto del borde, y el color del borde-component Set (Configuración de componentes) - Sólo está disponible en el modo de componentes. Le permitte ajustar Horizontal Position [Posición horizontal] (1 ~ 100), Vertical Position [Posición vertical] (1 ~ 100) y Phase [Fase] (1 ~ 100). La.option Settings (Ajustes) restaura los ajustes a los values predefinidos de fibrica.VGA Set (Configuración de VGA) - Sólo está disponible en el modo VGA. Le permitte ajustar Horizontal Position [Posición horizontal] (1 ~ 100), Vertical Position [Posición vertical] (1 ~ 100), Clock [Reloj] (1 ~ 100) y Phase [Fase] (1 ~ 100). también puede selecciónar Auto Adjust (Ajuste automático) para ajustar automatistically los parametros. La option Settings (Ajustes) restaura los ajustes a los values predefinidos de fibrica. | |
Mantenimiento
-
No utilise su televisor en areas que son demasiado calientes o frías porque el gabinete se pueda doblar o la pantalla pueda funciona mal.
-
Temperatas de almacenamento son 32 a 122^ (0 a 50^ ).
-
Temperatas de funciona son 41 a 104 °F (5 a 40 °C).
-
No coloque su televator bajo luz solar directa nioca de una fuente de calor.
Limpieza de su televisor
Limpie la pantalla y el gabinete con un paño suave y sin pelusa. Si la pantalla o el gabinete se.Encuentran especialmente sucios, humedezca un paño suave y sin pelusa en una solución detergente suave, exprima el excesso de humedad del paño y limpie la pantalla o el gabinete con el paño. Use un paño limpio para secar la pantalla o el gabinete.
Precaución
Evite lo siguiente, ya que pueda darar su television.
- Limpiar su teletor con sustancias inflamables, tal como repelentes de insectos, solventes y diluyentes.
- Dejar su teovisor en contacto con objetos hechos de hule o PVC por periodos de tiempo extendidos.
- Dejar que liquidos goteen dentro del gabinete.
Localización y corrección de fallas
Advertencia
No intente reparar su teovisor usted mesmo. Refierra toda reparacion a un technician de service calificado.
| Síntoma Solución probable | |
| No hay alimentación • Verifique que el cable de alimentación está connectado a su telesor y a un tomacorriente electrico. • Desconnecte el cable de alimentación, espere 60seguidos, cuando reconecte el cable y encienda su telesor. | |
| No hayImagen • Verifique que los cables de video estan connectados firmamente en la parte posterior de su telesor. • Ajuste el contraste y el brillo. • Verifique que se selecciónó el modo de video correcto. • Verifique que la SERIAL de entrada es compatible. • Asegúrese de que la antenna está connectadacorrectamente. • Verifique la configuración de los subtitulos optativos. Algunosromaticos de TEXTOonianbloquear la pantalla. | |
| BuenaImagen, pero no hay sonido | • Suba el volumen. • Verifique que el sonido no estésilenciado. • Verifique que se selecciónó elmode de audio correcto. |
| Síntoma Solutación probable | |
| Buen sonido pero color deficiente | ·Ajuste el contraste, el color y el brillio. |
| Imagen insatisfactoria · Verifique que la habitación no es muy brillante. La luz reflejándose en la pantalla pueda hacer que sea dificil ver laImagen. ·Si unaámara S-VHS o unaámara de video se conecta@msteadas se enciende other equipo conectado,uede serque laImagen se vaainsatisfactoria. Apague uno ormás equipos. | |
| Linea punteada horizontal | ·Puede ser que su television seencuentre demasiado cerca deotro equipo electrico, tal comouna secadora deleo o unuluz neón. Apague el equipo omueva su televisor. |
| Imagen "fantasma" odoble | ·La Causea pueda serobstrucciones de la antennacausadas por edificios altos ocolinas. Usar una antennaaltamente direccionalmente不错ar la calidad de laImagen. |
| El control remot nofunciona | ·Presione TV. ·Reemplace las pilas.Compruebe que los simbolos +y – en las pilas correspondancon los simbolos + y – en elcompartimiento de las pilas. ·Limpie el sensor del controlremoto en el frente de sutelector. ·Illuminación brillante ofluorescende peut interferircon la señ del control remoto. Apague la luz o mueva sutelector. |
| Imagen con nieve o ruido | ·Asegúrese de que los cables deA/V y de la antennaestén bien yfirmamente connectados. |
| LaImagen VGA no esestable o no estásincronizada | ·Verifique que se hasecesionado el modo de VGAcorrecto en su computadora. |
| No hay calidad de uno delos altavoces | ·Ajuste el balance en el menúSound (Sonido). |
| Los botones de controlno funciona | ·Desconecte el cable del alimentación por unossegundos y bajo reconnectarel cable y encienda su televisor. |
| Aparecen imagenespermanentes | ·No muestre unaImagen fija, talcomo un logotipo, un jeu,una imagen de computadorapor un periodo de tiempoextendedo. Este puede causarque una imagen permanente sesqueme en la pantalla. Este tipode daño no está cubierto por sugarantía. |
Apéndice
Para instalar un soporte de montaje en pared en su televisor:
1 Remueva los cuales tornillos M6 que sostienen el televisor a la base.
2 Fije el soporte de montaje en pared a la parte posterior de su televisor usingo quatre tornillos M6, segun se indica en la ilustracion.


Especificaciones
- El disen y las specifications estan susertos a cambio sin avis previo.
| Estándar analógico | NTSC |
| Estándar digital ATSC, 8-VSB, Clear-QAM | |
| Pantalla 32 pulgadas | |
| Rango de canales VHF: 2-13 UHF: 14-69 CATV: Banda media - A-8 ~ A-1, A ~ I Super banda - J ~ W Hiper-banda - AA ~ ZZ, AAA, BBB Ultra banda - 65 ~ 94, 100 ~ 135 | |
| Frente de alimentación | CA 100-240 V 50/60 Hz |
| Consumo de energia | <180 W <1 W en modo de suspensión |
| Potencia de audio 8 W + 8 W altovoz interno | |
| Entrada de S-Video | Y:1 V(p-p), 75 ohmios, sincronización negativa C:0.286 V(p-p) (señal ráfaga), 75 ohmios |
| Entrada de video/audio | Video: 1 V (p-p), 75 ohmios, sincronización negativa Audio: 150 mV (rms) |
| Entrada de componentes | Y: 1 V(p-p), 75 ohmios, sincronización negativa Pr/Cr: ±0.35 V (p-p), 75 ohmios Pb/Cb: ±0.35 V (p-p), 75 ohmios Audio: 150 mV (rms) Resoluciones recomendedas: 1080i, 720p, 480p, 480i |
| Entrada HDMI 2 terminales de entrada HDMI Cumple con HDCP Cumple con E-EDID Velocidades de rstreo recomendedas: 1080i, 720p, 480p, 480i | |
| Entrada VGA Conector D-Sub de 15 terminales Cumple con E-EDID Velocidades de rstreo recomendedas: 640x480 /60 Hz, 800x600 /60 Hz, 1024x768 /60 Hz, 1360 x 768 /60 Hz, Entrada de audio: Mini conector de auriculars para estéreo | |
| Accesorios Cable de alimentación Guía del usuario Control remot Pilas (2 tipo AAA) | |
Avisos legales
FCC Parte 15
Este equipo ha sido sometido a pruebas y se ha determinado que satisface los limites establishados para clasificarlo como dispositivo digital de Clase B de acuerdo con la Parte 15 del reglamento FCC. Estos limites estan disenados para proportionsar una proteccion razonable contra interferencias dañinas en un ambiente residencial. Este equipo genera,utiliza y pueda irradiar energia de radiofrecuencia y, si no es instalado y utilizao de acuerdo a las instrucciones,uede causar interferencias perjudiciales en las comunicaciones de radio. Sin embargo, no se garantiza que no ocurreia interferrencia en una instalacion particular.
Si el equipo Causei interferencias perjudiciales en la recepcion de la senal de radio o television, lo which possible comprobarse encendiendolo y apagandolo alternatively, se recomienda al usuario corrigir la interferencia mediante uno de los siguientes procedimientos:
- Cambie la orientacion o laubicacion de la antenna receptora.
- Aumente la distancia entre el equipo y el receptor.
- Conecte el equipo a un tomacorriente de un circuito distinto de wherein al que está conectado el receptor.
- Solicitar consejo al distribuidor o a un的技术ico experto en radio/TV para Obtener ayuda.
- Sólo se debe utilizes un cable de interfaz blindado.
Modificaciones
La FCC requiere que se notificatione al usuario de que?.
cualquier cambio o modificacion hecha a este equipo que.
no sea aprobada expresamente por Insignia可以使 anular
la autoridad del usuario para usar este equipo.
Cables
Las conexiones a este dispositivo deben ser hechas con cables blindados con cobertores metalicos de connectores contra RF/EMI para que se mantenga la conformidad con el reglamento y las regulaciones de FCC.
Aviso canadiense
Este aparato digital de la Clase B cumple todos los requisitos del Reglamento Canadiense sobre Equipos que Causan Interferencias.
Avis Canadien
Derechos de reproduccion
© 2007 Dynex. DYNEX y el logotipo de DYNEX son MARCAS comerciales de Best Buy Enterprise Services, Inc. Otras MARCAS y nombres de produits son MARCAS comerciales o MARCAS registradas de sus respectivos dueños. Las espécificaciones y caracteristicas están susujetas a cambio sin avis previo u obligation. Para reparación y soporte llamar al (800) 305-2204.
Garantía limitada de un año
Dynex Products ("Dynex") le garantiza a usted, el comprador original de este nuevo DX-LCD32 ("Producto"), que este se inclara libre de defectos de material o de mano de ora en su fabricacion original por un periodo de un (1) año a partir de la Fecha de compra del Producto ("Periode de Garantía"). Este Producto doit ser comprado en un distribuidor autorizzato de produits Dynex y emacado con esta declaración de garantía.这条 garantía no cubre Productos reacondiciones. Si notificationa Dynex durante el Periode de Garantía sobre un defecto cubierto para this garantía que require reparación, los关键时刻 de this garantía se aplican.
Cuánto dura la garantía?
El Periodo de Garantía dura por un año (365 días) a partir de la Fecha en que compró el Producto. La Fecha de compra se encuesta impresa en el recibo que recubió con el producto.
¿Qué es lo que cubre esta garantía?
Durante el Periode de Garantía, si un centro de reparación autorizzato de Dynex conduce que la fabricación original del material o la mano de obr del Producto se encontrar tran defectuosDynex (como su option exclusiva): (1) repara el Producto con repuestos新浪微博 o reacompañados; o (2) reemplazará el Producto con uno nuevo o con uno reaciondo con repuestos equivalentes. Los Productos y repuestos reemplazados bajo esta garantía seVyolveran propidad de Dynex y no se le regresaran austed. Si se requiere la reparacion de Productos y partes despues de que se vence el Periode de Garantía,usted deben pagar todos los costos de mano de obr y de repuestos.Esta estara vigente con tal que usted sea el dueño de su producto Dynex durante el Periode de Garantía. El alcance de la garantía se termina si usted vende o transfiere el producto.
¿como se obtiene la reparación de garantía?
Si ha comprado el Producto en una tienda de ventas, I've su recibo original y el Producto a la tienda en donde lo compró. Asegürese de que vuelva a colocar el Producto en su empaque original o en un empaque que provea la misma proteccion que el original. Si compró el Producto en un situ Web, envie por correto su recibo original y el Producto a la direccion postal listada en el Sitio Web. Asegürese de colocar el Producto en su empaque original o en un empaque que provea la mesma proteccion que el original.
Endondeesvalida garantia?
Esta garantía sólo es valida al comprador original del Producto en los Estados Unidos y en Canada.
¿Qué es lo que no cubre la garantía?
Esta garantía no cubre:
- Capacitación del cliente
- Instalación
- Ajuste de configuración
Danooscosmeticos - Danos defaulted to actos de la naturaleza, tal como rayos
- Accidentes
·Maluso
·Abuso - Negligencia
Uso comerciaI
Modificacion de una parte del Producto
Esta garantía tampoco cubre:
- Dano defaulted al uso o mantenimiento Incorrecto
- La connexion a una fuente de voltaje Incorrecta
- El intento de reparación por algojen que no sea una/company autorizada por Dynex para reparar el Producto
- Productos vendidos talrial (en el estado en que se encuentran) o con todas sus fallas
- Productos consumibles, tal como fusibles o baterias
- Productos en los cuales el número de series asignado en la fabricula ha sido alterado o Removedido.
EL REEMPLAZO DE REPARACION SEGUN PROVISTO BAJO ESTA GARANTIA ES SU UNICO RECURSO. DYNEX NO SERA RESPONSABLE POR DANOS INCIDENTALES O CONSECUENTES DEBIDO AL INCUMPLIMIENTO DE CUALQUIER GARANTIA EXPRESA O IMPLICITA RELACIONADA CON ESTE PRODUCTO, INCLUYENDO PERO SIN LIMITARSE A LA PÉRIDA DE INFORMACION, LA PÉRIDA DE NECGIOS O DE GANANCIAS. DYNEX PRODUCTS NO HACE NINGUNA OTRA GARANTIA EXPRESA E IMPLICITA RELACIONADA A ESTE PRODUCTO, INCLUYENDO PERO SIN LIMITARSE A, CUALQUIER GARANTIA IMPLICITA DE O CONDICIONES DE COMERCIALIZACION O IDONEIDAD PARA UN USO PARTICULARAR, ESTÁN LIMITADAS EN DURACION AL PERÍODO DE GARANTIA DECLARADO ANTERIORMENTE Y NINGUNA GARANTIA YA SEA EXPRESA O IMPLICITA SE APLICARÁ DESPUÉS DEL PERÍODO DE GARANTIA. ALGUNOS ESTADOS, PROVINCIAS Y JURISDIÇCIONES NO PERMITEN RESTRIECIONES EN CUANT A LA DURACION DE UNA GARANTIA IMPLICITA, ÀSÍ QUE LA RESTRICTION ANTERIOR PUEDE NO APLICAREN SU CASO. ESTA GARANTIA LE DA DERECHOS LEGALES ESPECIFICOS, Y USTED PUEDE POSEER OTROS DERECHOS QUE VARIAN DE ESTADO A ESTADO, O DE PROVINCIA A PROVINCIÀ.
Póngase en contacto con Dynex:
Para servicios al cliente favorllamar al 1-800-305-2204
www.dynexproducts.com
DYNEX es unamarcacomercial registrada de Best Buy Enterprise Services, Inc.
Distribuido por Best Buy Purchasing, LLC
DYNEX es unamarca registrada de Best Buy Enterprise Services, Inc. Todos los demas Productos y marcas son marcas commerciales de sus respectivos dueños.
Distribuido por Best Buy Purchasing, LLC
ManualFácil