TLEXI1663HD - TELEVISOR Sunstech - Manual de uso y guía de instrucciones gratis
Encuentra gratis el manual del aparato TLEXI1663HD Sunstech en formato PDF.
Preguntas frecuentes - TLEXI1663HD Sunstech
Preguntas de los usuarios sobre TLEXI1663HD Sunstech
0 pregunta sobre este aparato. Responde a las que conoces o haz la tuya.
Hacer una nueva pregunta sobre este aparato
Descarga las instrucciones para tu TELEVISOR en formato PDF gratis! Encuentra tus instrucciones TLEXI1663HD - Sunstech y toma tu dispositivo electrónico nuevamente en la mano. En esta página están publicados todos los documentos necesarios para el uso de su dispositivo. TLEXI1663HD de la marca Sunstech.
MANUAL DE USUARIO TLEXI1663HD Sunstech
Condiciones de Garantía
Estequipment tienegarantia de 2anosapartirdela fecha originalde compra.
Serán exentes de la garantía las averías produidas por un uso incorrecto del aparato, mala instalación o instalados en lugarares inapropiados para su buena conservación, roturas,actualizaciones de software que no Sean los facilitados por lamarca, piezas desgastadas por su propio uso o por un uso no domestico o inadequado, asi como, por Manipulación por personas o talleres ajenos a nuestraEmpresa.
Para que la garantíaonga validez, se deberá adjuntar la factura o ticuet de caja que corrobore la adquisión y Fecha de vente de este producto.
(English)
Warranty conditions
Lea detalladamente estemanual y guardelo para futuras consultas
- INTRODUCCION 2
2.MEDIDAS DE SEGURIDAD 2 - EN LA CAJA 6
- CONEXIONES DELANTERAS Y TRASERAS DE LA LED 7
5. IMÁGENES DE INSTALLACION DE LA TV
Instrucciones del control remoto en modo DTV 12
Instrucciones del control remoto en modo Teletexto/Medios 14
Instrucciones del control remoto en modo DVD 15
Configuración del control remoto 16
7. Funcionamento del menu
Selección de la fuente 17
Menude imagenes 17
Menu de sonidos 18
Menu de canales 19
Menu de sistemas 23
Cómo usar la grabadora 26
Cómo programar la grabación 28
Menude configuracion 29
Menu de medios 30
- Funcionamento del DVD 34
- DETECCION Y RESOLUCION DE PROBLEMAS Y RECOMENDACIONES 37
- ESPECIFICACIONES 38
Condieones de la garantia 39
1. PREFACIO
Gracias por comprar este televisor. Por favor, lea este manual con atencion antes de usar la TV. Aseguese de que el equipo no sufrio daños durante el transporte: De ser asi, no lo instale y contacte con el distribuidor. Compruebe que tiene todos los accesos correspondentes al modelo.
2. Precauciones de seguidad
Lea cuidadosamente las siguientes precauciones de seguridad.
Fuente de alimentación
Antes de conectar por primera vez, lea lasuma sección con mucha atencion.
Este dispositivo debe ser connectado solo a fuentes de 220-240V, 50Hz
Si el Modelo incluye adaptor de coche 12V, al utilizar el dispositivo con el cargador de coche, asegúrese de que la tension de la fuente de alimentación cumpla el voltaje requisido
Cable de alimentacion
No coloque el televisor, un mueble, etc, sobre el cable de alimentacion ni lo pise. Manipule el cable de alimentacion por la clavija. No desenchufe el aparato tirando del cable de alimentacion y no toque el cable de alimentacion con las manos mojadas, ya que podria causar un cortocircuito o una descarga electrica.
Nunca haga un nudo en el cable y no lo ate athers cables. El cable de alimentacion debe ser colocado de tal manera que no sea probale pisarlo.Un cable de alimentacion dañado possible causar un incendio o provocarle una descarga electrica.Cuando se daña y necesita ser reemplazado,debe ser realizado por personal qualificado.
Humedayagua

No实用性 this aparato en un lugar humedo (evite el bano, el fregadero de la cucina, etc). No exponga este equipo a la lluvia o al agua, ya que thisuede ser peligrosso y no colque objetos que contengan liquidos, como floreros, encima..
Sialgun objecto solido o liquido cae bajo de la caja,
desconecte el dispositivo conectado (s) inmediamente y haga que sea revisada por personal especializzato antes de volver a utilisera..
Limpieza

Antes de limpiar, desenchufe el aparato de la toma de corriente. No utilise un liquido agresivo o limpiadores en aerosol. Utilice un paño suave y seco.
Ventilación
Las ranuras y aberturas del aparato está disyenadas para proportionsar ventilacion y garantizar un functionamento fiable. Para evaporar el sobrecalentamento, estas aperture no deben ser bloqueadas ni cubiertas de ningun modo. Cuando se instala estaunidad, asegúrese de estar名额 suficiente alrededor del dispositivo para asegurar la ventilacion y melhorar la disipacion del calor.No exponga launidad a conditiones extremas de calor, frío o humedad
El calor y el fuego

El aparato no debe ser colocado cerca de fuego directo o fuentes de calor intenso, como un calentador electrico. Asegürese de que no haya fuentes de fuego directo, tales como velas, en la parte superior del dispositivo. Las pilas no deben exponerse a calor excessivo como la luz solar, el
fuego o similores.
Relampago


En caso de tormenta electrica o cuando se vaya de vacaciones, desconecte el cable de alimentacion de la toma de corriente.
Piezas de repuesto
Cuando seanecessary reemplazar piezas,aseguede que el technician de serviceutilice laspiezas de reposto,que son especificados porel fabricante o que tenganlasmismasspecificacionesque laoriginal.Las sustituciones no autorizadaspuedeprovocarcencendios,descargaselectricasuotrospeligros. Porfavor,pongase encontacto conlamarca oelfabricantequeleredirigiral服务水平pecialmascercanoque suministraraochangiaralespiezasde reposto
Mantenimiento

Remita todas las reparaciones a personalrialcualificado de lamarca.No retire la cubiertastustedismo, ya que podra sufrir una descarga electrica..
Riesgo de descarga electrica
El rayo con punta de flecha bajo de un triángulo equilatoro, tiene la finalidad de avisar al usuario de la presencia de "voltaje peligioso" que pueda ser de una magnitud suficiente para constituir un riesgo de descarga electrica.. El signo de exclamacion bajo de un triángulo equilatoro tiene por finalidad alertar al usuario de la presencia de instrucciones de funcionaimiento y mantenimiento (servicio) en la literatura que acoma a aparato.





Waste Disposal
Instrucciones para la eliminacion de residuos:
-
El embalaje y envases son reciclables y deben reciclarse. Los materiales de embalaje, como una Bolsa de plástico, se deben tener alejados de los niños.
-
Las bacterias incluidas, están libres de metales pesados, no deben ser desechadas con la basura domestica. Deposite las bacterías usadas en el conteditor designado paraarlo. Informese sobre las normas legales que se aplican en su area. No trate de recargar las bacterías, pueda tener riesgo de explosión. Reemplace las bacterías solo con el mesmo tipo de pila o equivalente.
Este símbolo en el producto o en su embalaje significa que el dispositivo electrico debe desecharse al final de su vida uyil, por separado de la basura domestica. Hay sistemas de recogida selectiva para el reciclaje en la UE. Para Obtener mas informacion,pongase en contacto con la autoridad local o con el distribuidoronde aquirido el producto..

Simbolo para equipos

Desconexión del dispositivo
El enchufe principal se usa para desconectar el aparato de la red y por lo tantoDebe estar siempre disponible.
Volumen auriculares

El dispositivo tiene auriculares jack, teng a en conta que la presion de sonido excessiva de los auriculares puede causar perdida de audicion
Instalación
Para evaporar lesiones, este aparato debe estarfirmamente sujeto a la pared de acuerdo con las instrucciones de instalacion cuando está montado en la pared (si la)。opacion está disponible).
Advertencia:
No deje el dispositivo en modo de esper a en funciona cuando salga de su casa.

El botón Standby / On no desconecta completeness este producto. Además, el aparato sigue consumiendo energia en modo de esper. Para seperar el aparato completeness de la red electrica, el enchufete que ser SACado de la fuente de alimentación. Debido a que el dispositivo
debe estar configurado de unamania, el acceso sin problemas a la toma de corriente está garantizo, por lo que en caso de energia el enchufe se pueda desconectar inmediamente. Durante los periodos prolongados de no uso, el dispositivo debe ser desconnectado de la red electrica.
No deje este dispositivo electrico al alcance de los niños.
Nunca permita que los niños usilicen aparatos electricos sin supervisión. No deje a los niños utilizar este dispositivo sin la supervisión de unadulto. Las pilas / acumuladores peuvent ser potencialmente mortales si se ingieren. Guarde las pilas fuera del alcance de los niños. En caso de ingestion acuda inmediamente al hospital mas cercano. Mantenga el embalaje fuera del alcance de los niños ya que existe peligro de asfixia..
3. EN EL EMBALAJE

EQUIPO DE TELEVISION LED

MANDO A DISTANCIA
USER'S MANUAL
1.5V
1.5V
MANUAL DE USUARIO PILAS AAA
4. CONEXIONES FRONTALES Y TRASERAS
Vista frontal
(Lasotossonsoledereferencia.)
(La muestra está sujeta al produit auténtico.)

- Presionar "EJECT" para sacar el disco del DVD.
- Presionar "PLAY" para reproducir el disco del DVD.
- Pulse "SOURCE" para seleccionar la fuente de entrada.
- Pulse "MENU" para visualizar el menu principal en la pantalla.
- Pulse "CH+o "CH- para cambiar canales.
- Pulse "VOL+o "VOL- paraacular disminui r el volumen de sonido.
- Pulse el botón "POWER" para encender o apagar el modo de espera.
- Indicador de ON/OFF LED: Se indica rojo en el modo de esperay, verde cuando el televisor se enciende.
- Sensor IR: Sensor de infrarrojos para el mando a distancia.
Vista trasera y Conexiones de control

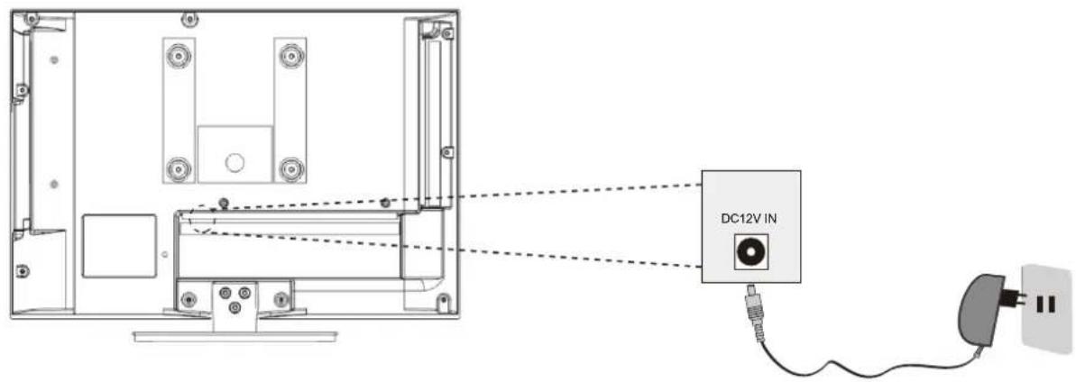
- ENTRADA 12V DC: Ranura de entrada para DC.
- USB: Conexión a un dispositivo externo.
- HDMI: Conector con el dispositivo de calidad HDMI del DVD.
- VGA: Conexión con el jack de salute de PC-RGB del PC.
- AUDIO: Conexión de calidad de audio del PC.
- SCART: Conexión del EUROCONECTOR del VCR o DVD.
- YPbPr: Conexión del jack de calidad YPbPr del DVD o VCR.
- AV IN (Video/L/R): Conexión del jack de calidad de video/ audio del DVD o VCR.
- CI Port: Conexión de la tarjeta Cl.
- RF IN: Conexión de antenna.
- : Conexion de auriculas.


5. IMAGENES DE INSTALLACION DE LA TV
Conexión cable de alimentación

- Conecte correctamente el cable de alimentacion como se muestra.
- Pulse el POWER de su TV LED para encenderlo.
El indicator de corriente en el panel frontal se illumina en color verde o azul.
Conexión antennas

Para asegurar una buena calidad deImagen y sonido, el sistema de antenna de TV necesita instalarse. Puede conseigir un sistemas de antenna como el mostrado en tiendas de equipamiento para la TV, que le proportionsaran además帮你 para una correcta instalación y connexion. Después de la instalación, inserte el enchufe de la antenna de 75 OHM en el jack de la antenna, tal como se muestra.
Conexión HDMI

La connexion de la entrada de HDMI permette la transference digital de audio/video/control de senales a travers de un solo cable.
Conexión VGA

Conecte la受害者 RGB del PC al jack VGA del equipo. Conecte la受害者 audio del PC en el jack PC AUDIO del equipo. Selecciona la fuente de entrada VGA usingo el boton de SOURCE de su mando a distancia.
Conexión USB

Inserte el dispositivo USB en el puerto USB. Seleccione el canal de entrada USB con el boton SOURCE del mando a distancia.
Conexión Euroconector

Conecte el conductor del EUROCONECTOR al elemento de video externo, y el conductor del EUROCONECTOR a la TV. El cable del EUROCONNECTOR funciona como conexión de entrada/salida. Si la TV no selección la fuente de entrada del EUROCONNECTOR automatistically, selección SCART usingo el botón SOURCE del mando a distancia.
Conexión de los auriculares

Conecte los auriculares a trovés de esta entrada.
Conexión AV

Conecte las tomas de salute de VIDEO y AUDIO de DVD o VCR con los connectores del TV usingo un cable RCA. Haga Coincidir los colores de los connectores: amarillo para video, blanco para audio izquierdo y rojo para audio derecho. Seleectionla fuente AV a trovés del boton SOURCE en el mando a distancia.
Conexión YPbPr

Conecte la calidad de YPbPr de DVD o VCR con la entrada de YPbPr delTV. Conecte la calidad de Audio de DVD o VCR con la entrada de Audio en el TV usingo el cable RCA.
Haga Coincidir los-coloredes del conectores: Y es verde, Pb es azul, Pr es rojo, Audio izquierdo es blanco y el derecho, rojo. Seleectionla fuente de Componente a través del boton SOURCE en el mando a distancia.
6. MANDO A DISTANCIA
Instrucciones de Mando a Distancia en modo TDT

POWER
Encender o Apagar la TV LED.
MUTE
Silenciar el sonido. Presione de nuevo o presione VOL+ para deshacer.
AUTO
Presione para acceder a la configuracion automatica (en modo VGA).
P. MODE
Presione para seleccionar el modo deImagen. S.MODE
Presione para cambiar el modo de audio.
DISPLAY
Presione para estar la informacion de canal y fuente. NICAM
Presione para selectionar los modos NICAM. AUDIO
Botón de selección de Audio.
TECLAS NUMÉRICAS
Se usan para editar el nombre del canal.
Regresar al canal visto anteriormente.
Presione para acceder a la lista de canales TV MENU
Presione para acceder al/abandonar el menu de configuraciones.
EXIT
Presione para salir del menu en pantalla.
GUIDE
Presione para estar el menu de guía de canales SOURCE
Presione SOURCE para做不到la fuente de entrada del menu en pantalla. Presione para selectionar una fuente de entrada, y presione ENTER para confirmar.
FLECHAS DE DIRECCION ( /Entax)
Le permite navelgar por los menus en pantala y ajustar las configuraciones de sistemas según su preferencia.
CH+/CH-
Presione para navegar por los canales VOL+/VOL-
Para subir o bajo el volumen del sonido.
Instrucciones de Mando a Distancia en modo TDT


Para retroceder en modo Pausa en Vivo (Timeshift).

Para avanzar en modo Pausa en Vivo (Timeshift).
(Timeshift)
Presione para executar la función Pausa en Vivo (Timeshift)
NOTA: Desactive el modo Pausa en Vivo (Timeshift) en el menu (off) para que el teletexto está disponible.

Presione para detener la grabacion.
ZOOM
Paracaebarielamao deimagen.
SLEEP
Puede selectionar el intervalo hasta el apagado automatico de su TV.
Teclas de color
Las teclas de color (roja, verde,amarilla y azul, respectively) se usan en algunos sub-menús.
TV/RADIO
Cuando vea un canal, le permite cambio entre modo TV y Radio.
FAV
Muestra los canales favoritos seleccionados.
FAV-
Muestra los canales favoritos seleccionados hacer abajo. FAV+
Muestra los canales favoritos seleccionados hacer arriba. SUBTITLE
En modo TDT, presione para alternar entre losDistinctos idiomas de subtitulos,maintrasvea/reproduczapatemas de la TDT.

Botón de grabación.
Instrucciones de mando a distancia en modo TXT/Multimedia

Teclas numéricas
Presione del 0-9 para selectionar una página del TXT.

Páginarriba/páginaba bajo.
CH+/CH-
Páginarriba/Página abajo.
SUBTITLE
En modo teletexto, muestra la page 100.
TEXT
Activ a o desactiva el modo TXT.
Desactive en el menu el modo Pausa de Imagen en
Vivo/Timeshift (off) para que el TXT está disponible.
HOLD
Detener la páginamostrada en pantalla/continuar.
SUBPAGE
Acceso a la subpagina indicada.
REVEAL
Muestra o esconde las palabras ocultas.

Retroceso rápido.

Adelanto rápidó.
INDEX
Varia el dato de pantalla en modo TXT.

Botón de retroceso.

Botón de adelanto=rápido.

Presione para paugar la reproduccion.

Presione para detener la reproduccion.
ZOOM
Puede embarir el時間 de pantalla.
SLOW
Cama lenta en modo USB Y DVD.
MEDIA
Muestra el menu MULTIMEDIA.
Teclas de color
Las teclas de color (roja, verde,amarilla y azul) se usan en
algunos sub-menús.
REPEAT
Repetir el titulo o capitulo de forma continua.
GOTO
Acceder directamente a un punto determinado usingo el menu "GOTO".
A-B
Estebotonlepermiterepetirla seccionseLECTIONada.
Instrucciones de mando a distancia en modo DVD

| ▲ Para expulsar el disco. DISPLAY Presione para estar informacion del modo actual en pantalla. |
| AUDIO Boton de selection de Audio. DVD SETUP Presione para estar el menu de configuracion del DVD. |
| Rebobinado=rápido. ▶ Adelanto=rápido. ↓ Omitir hacerlies. |
| Omitir hacer delante. |
| Presione para paasar la reproduccion. |
| Presione para detener la reproduccion. Teclas numéricas Botones numéricos para datos diversos. ZOOM El zoom puedeCambiar el tamanode pantalla. SUB-T Presione para estar subtiutos en modo DVD. A-B Este botonle permiterepitir una seccion seleccionada del disco. PROG Programar la reproduccion del disco en la secuencia deseada. DVD MENU Acceso al menu de disco DVD. GOTO Presione GOTO para accederalmenu "GOTO". STEP Pasos en modo DVD. REPEAT Presione REPEAT paraalternarentre lasdistinctasOPTIONe repeticion. ANGLE Test de angulo. |
Configuración del Mando a Distancia
- Abra la cubierta.
- El mando emplea 2 pilasblemno AAA. Cuando las inserte, respete las polaridades "+" y"- " que aparecen marcadas en el compartmento para pilas.
- Coloque de nuevo al cubierta para pilas.
Coloque el mando a distancia en una superficie estable e inserte las pilas incluidas en el mando a distancia como se muestra a continuacion.
- Empuje suavamente la cubierta trasera para abrir el compartmento para pilas.

- Inserte dos pilas (1.5V bajo AAA), asegurarose de respetar las polaridades marcadas en el compartmento.

- Presione suavamente la cubierta trasera para cerrarla.

7. Funcionamento del menu
Selección de la fuente

Pulse el botón INPUT para visualizar la lista de fuente de entrada;
Pulse el botón▼/▲ para acceder a la la fuente de entrada deseada; Pulse el botón OK o el▶ paraentar en la fuente de entrada.
Menu de imágenes
Pulse el botón MENU para visualizar el menu principal.
Pulse el botón / para selectionar Picture en el menu principal, y bajo pulse el botón OK o el para entrada.

- Pulse el botón / para selecciónar la optación que ugsted quiere ajustar en el menu de Imagen, y bajo pulse el botón OK o para entrada.
- Pulse el botón / paraaabustar o pulse el botón / para seleccionar.
- Al terminar sus ajustes, pulse el botón MENU para guardar y volver al menu anterior, y bajo pulse el botón EXIT para salir del menu por completeo.
Modalidad de Imagen
Pulse el botón▼▲ para selecciónar Picture Mode, y bajo pulse el botón OK o el▶ para entrada y pulse el botón▼▲ para selecciónar. En Modalidad de Imagen podra selecciónar entre Estándar, Vivo, Suave, Optimo y Nombre. Puede a su vez modifier el brillo, el contraste, la nitidez y el color cuando la imagen está en la modalidad estándar.(Usted pueda pulsar el botón PICTURE en el mando a distancia paracaechar directamentela modalidad de Imagen.)
Brillo
Pulse el botón▼/▲ para selecciónar Brightness, y bajo pulse el botón OK o el ▷ para entrada y pulse el botón ▲/▶ para ajustar.
Contraste
Pulse el botón▼/▲ para selecciónar Contrast, y bajo pulse el botón OK o el▶ para entrada y pulse el botón /▶ para ajustar.

Nitidez
Pulse el botón▼/▲ para selecciónar Sharpness, y bajo pulse el botón OK o el▶ para entrada y pulse el botón ↓/▶ para ajustar.
Color
Pulse el botón▼/▲ para selecciónar Colour, y bajo pulse el botón OK o el▶ para entrada y pulse el botón /▶ para ajustar.
Matiz (No disponible en TDT)
Pulse el boton / para seleccionar Tint, y bajo pulse el boton / paraentar y pulse el boton
/ para ajustar.
Temperatura de Color
Pulse el botón▼/▲para selecciónar Colour Temperature, y bajo pulse el botón «/» para selecciónar estándar, calido, frió.
Reducción de Ruido
Pulse el botón▼/▲ para selecciónar Noise Reduction, y bajo pulse el botón▼/▲ para selecciónar entre Off, Low, Middle y High (Desactivado, Bajo, Medio y Alto).
Reajustar
Pulse el botón▼/▲para selecciónar Reset, y bajo pulse el botón OK o el ▷ para entrada en el sub-menú de reajuste.
Menú de Sonidos
Pulse el botón MENU para visualizar el筷 principal.
Pulse el botón / para selecciónar Sound en el menu principal, y bajo pulse el botón OK o el para entrada.

- Pulse el botón / para selecciónar la optación que usté quiere ajustar en el menu de Sonido, y luego pulse el botón OK o el▶ para entrada.
- Pulse el botón / paraaabstur opulse el botón / para seleccionar.
- Al terminar sus ajustes, pulse el botón MENU para guardar y volver al menu anterior, y bajo pulse el botón EXIT para salir del menu por completeo.
Modalidad de Sonido
Pulse el boton / button para selectionar Sound Mode, y bajo pulse el boton / para selectionar. (Modalidades de sonido disponibles: Nombre, Discurso, Música, Pellicula, Estándar)
Puede cambiar el valor de agudos, bajo y balance cuando el sonido está en la modalidad de estandar.
(Puede pulsar el botón SOUND en el mando a distancia para cambiarlos directamente.)
Bass (disponible sólo en la modadidad de Nombre)
Pulse el botón▼/▲ para selecciónar Bass, y bajo pulse el botón OK o el ▷ para entrada y pulse el botón ▲/□ para ajustar.
Triple (disponible solo en la modalidad de Nombre)
Pulse el botón▼/▲ para selecciónar Treble, y bajo pulse el botón OK o el▶ para entrada y pulse el botón </▶ para ajustar.
EQ/Balance/Surround
Pulse el botón▼/▲ para selecciónar EQ/Balance/Surround, y bajo pulse el botón OK o el▶ para entrada y pulse el botón ↓/▶ para ajustar.
Nivelacion Automática del Volumen
Pulse el botón▼/▲para selecciónar Auto Volume Level, y bajo pulse el botón para selecciónar On o Off.
Reajuste
Pulse el botón▼/▲para selecciónar Reset, y bajo pulse el botón OK o el▶ para entrada en el sub-menú de reajuste.
Menu Canales
Pulse el botón MENU para visualizar el筷 principal.
Pulse el boton / para seleccionar Channel en el menu principal, y bajo pulse el boton OK o el para entrada.

- Pulse el botón▼/▲ para selecciónar la option que ugued quiere ajustar en el menu de Canal, y bajo pulse el botón OK o el▶ para entrada.
- Pulse el botón / paraaabstur o pulse el botón / para seleccionar.
- Al terminar sus ajustes, pulse el botón MENU para guardar y volver al menu anterior, y bajo pulse el botón EXIT para salir del menu por completeo.
Gestión de los Canales
Pulse el boton▼/▲para seleccionar Channel Management, y bajo pulse el boton Ok o el▶ para entrada.

Gestión de los Favoritos
Pulse el boton / para seleccionar Favorite Manager, y bajo pulse el boton Ok o para entrada.
Presionar el boton rojo para configurar el canal actual a fjjar. Si el canal actual ya está fjado, presionar el boton rojo另一边 vez para liberarlo.
Presionar el boton verde para configurar el canal actual a eliminar. Si el canal actual ya está eliminado, presionar el boton verde para eliminar la cancelacion.
Presionar el boton Amarillo para saltar el canal actual.
Usar los botones del cursor para selectionar el canal que quiere saltarse. Presionar el boton Amarillo y se做不到 a canal seleccionado. Para qitar la functiOn de salto, presionar el boton amarillo de nuevo.
Si una de las estaciones se ha colocado Incorrectamente en la lista, podra desplazarla a la posicion correcta. Utilizando el cursor, seleccione el canal a desplazar, presionar boton azul, desplazar la estacion a la nuevoubicacion y presionar OK.
Esto desplazará la estación a la nuevo posición.
Si hay un logo de borrar el canal, presione el botón EXIT (salir) o el OK, el menu aparecerá de lasuma forma:

Por defecto "0000"
Eliminar los nombres seleccionados seleccionando "Si" y presionando OK. De lo contrario, cancelar para eliminar los nombres seleccionados. Tras uno segundos, el menu aparecerá de la?siguefte forma:


Presionar para volver a la págin anterior, presionar para ir a la págin.),
Presionar / para selectionar un canal, après presionar OK para introducir el menu de canales con nombres nuevos.

Nota: El nombre del canal Tiene 8 caracteres.
Presionar el boton verde paraonian el tameno de las letras.
Presionar / o / / para seleccionar el caracter, despues presionar OK para confirmar la seleccion.
Presionar EXIT y el menu aparecerá de lasuma forma:


Salir totalmente del menu seleccionando "No" y OK.
Gestión de Favoritos
Presionar / para seleccionar Gestion de Favoritos, despues presione OK o para entrada.

Presionar / para seleccionar el canal, presionar el boton rojo para configurar Fav1.
Presionar / para seleccionar el canal, presionar el boton verde para configurar Fav2.
Presionar / para seleccionar el canal, presionar el boton amarillo para configurar Fav3.
Presionar / para seleccionar el canal, presionar el boton azul para configurar Fav4.
Si el canal actual ya es uno de sus favoritos, presionar rojo / verde /amarillo /azul para que vuelva a ser un canal normal.
Presionar MENU o EXIT, aparecerá el menuactualizo correctamente.
Pais
Presionar / para selectionar el País, après presionar OK o para entrada y / para ajustar.
Búsqueada automática. Presionar / para selección Búsqueada automática, après OK o para entrada.


Cuando la Busesqa automatica haya abado, el menu guardado correctamente aparecerá durante unoos segundos.
Búsqueada manual digital
Presionar / para seleccionar la Buesqueda manual digital y presione OK o para entrada.

Búsqueda manualanalógica
Presionar / para seleccionar Busqueda manual analogica y presionar OK o para entrada.

Menu de sistemas
Presionar MENU para做不到 el menu principal.
Presionar / para seleccionar Funcion en el menu y presionar OK o para entrada.

- Presionar / para seleccionar la option que quiere ajustar en el menu Funciones y presionar OK o para entrada.
- Presionar / para ajustar o / para seleccionar.
- Después de finalizar su ajuste, presionar MENU para guardar y volver al menu previo y presionar EXIT para
salir completeness del menu.
Bloqueo infantil
Presionar / para seleccionar Lock (bloqueo), y.afteres / para seleccionar On o Off (cuando el bloqueo está encendido en "on" por defecto, introduzca la contraseña inicial "0000").

Bloqueo de teclado: Presionar / para selectionar Bloqueo de teclado, après OK o entery / para seleccionar.
Control parental: Presionar / para selectionar Control parental, après presionar OK o enter y presionar / para selectionar.
Cambio de Pin: Presionar / para selectionar Cambio de Pin, y.afteres presionar OK o , el menu de Cambio de Pin
Aparecerá de la forma suiviente:

Introducir la contraseña antigua "Contraseña antigua". Si la contraseña antigua es Incorrecta, la contraseña no se podrá modificar. Introducir la contraseñaneaueva en "Contraseñanea". Introducir la contraseñaneaueva otra vez en "Confirmar contraseñanea" y confirmar.
Si se ha realizado correctamente, el筷 actualizo aparecera unoicosometimes. Si no, el menu做不到 que las contraseñas no concuerdan.
Si la contraseña original se cambia, el usuario deben prestar especial atencion a mantener la nuevo contraseña en un lugar seguro, ya que en caso de perdida, este problema no se aptará como defecto o fallo.
Idiomata
Presionar / para seleccionar el Idioma, despues OK o para entrada en el submenu.

Idioma OSD: Presionar / para seleccionar idioma OSD, despues OK o para entrada y / para ajustar. 1^ / 2^ subtiutos preferidos: Presionar / para seleccionar 1^ / 2^ subtiutos preferidos, despues OK o para entrada y / para ajustar.
1^ / 2^ audio preferido: Presionar / para seleccionar 1^ / 2^ audio preferido, après OK o para entrada y presionar / para ajustar.
Idioma teletexto DTV: Presionar / para seleccionar Idioma teletexto DTV, après OK o para entrada y / para ajustar.
Idioma teletexto ATV: Presionar / para seleccionar Idioma teletexto ATV, après OK o para entrada y / para ajustar. Reloj (Clock)
Presionar / para seleccionar el Reloj (Clock), y OK o para entrada en el submenu.

Temporizador de reposo
Presionar / para seleccionar el Temporizador de reposo, despues presionar OK o para entrada y / para seleccionar 15 Mins, 30 Mins, 45Mins, apagado (Off), etc...
Apagado automatico
Presionar / para selectionar Apagado automatico, despues OK o para entrada y presionar / para selectionar 1Hora, 2Horas, 3Horas, 4Horas y apagado (Off).
Discapacitados auditivos
Selecionar On/Off.
Información IC
Desplegar la tarjeta de informacion de la Interfaz comun.
PVR/Programación de grabación
Estamericano.
NOTA: Si la grabadora externa alimentada via USB es un HDD, recomendamos que el cable de connexion no sea mas largo de 60cms y la capacité maxima del HDD 1TB.


Selección de parteciación: Presionar OK entrada en el submenu,.afteres▼/▲ para selecciónar la parteciación.
Programación grabación automática: Seleectionar Auto (Inicio o Programacion de grabacion)/Off (parada de Programacion grabacion automática).
Buffer Programacion grabacion automatica: SeLECTIONAR Auto, 30 mins, 1hora o 2 horas.
Temporalizador
Información: El menu del temporizador gestiona los programas predeterminados, el usuario可以选择和睦ar programas
predeterminados en este menu.

Lista de grabaciones

Presionar OK para entrada en el menu de la lista de grabaciones.
Presionar el botón rojo para borrarrialquier programa.
Presionar Info para desplegar informacion de los programas.
como usar la grabadora
A. Grabación directa
B. Grabación suscrita
Grabación directa
- En la fuente DTV,ould empezar la referencia de grabacion presionando la tecla "REC"millas el programa funciona.
Antes de this, aseguese de que el dispositivo de almacenamento USB esta introducido y el examene initializacion del dispositivo se ha acabado.
Si presiona la tecla "REC" cuando no haya un dispositivo de almacenimiento USB insertado, la ventana tendrá el aspectoCEE:

Si presiona la tecla "REC" durante el examen e inicializacion del disposito, la ventana技术支持 es aspecto suiviente:

- Cuando la grabación haya empezado, podrá presionar la tecla "REC" para configurar el tiempo de duración, y cuando este tiempo haya transcurrido, la grabación se detendra automatistically.

Rec Duration Time

- Internacionalmente, como en el 1980s, se han existado dos problemas: (a) la configuración de la plantar de los Estados Unidos, (b) un esquido de la plantar de los Estados Unidos, y (c) la rotundidad de la plantar de los Estados Unidos.

- Puede presionar la tecla "STOP" para detener la referencia de grabacion tras confirmar.

Grabación suscrita
- En la fuente DTV, pueda introducir el menu del temporizador y configurar Grabacion directa suscrita.
Presionar la tecla "AMARILLA" paraañadir laarea de grabación.
Forma: Menu principal---->FunciOn---->PVR---->Temporizador

- Si introduce el menu de edicion del temporizador, podra configurar laarea de grabacion que quiera.

-
Cuando la haya configurado correctamente, si la TV está en modo de停下se encenderá automatistically 3 horas antes de que empiece laarea.
-
Cuando统计数据 la hora, empezará a registrar, pero dea be comprobar que su dispositivo de almacenamento USB está insertado y queiene la velocidad suficiente para registrar. De lo contrario, laarea fallará.
-
La TV entra en modo de falsa pausa cuando laarea empieza, y pueda presionar la tecla "POWER" para ver el programa de TV. Puede hacer la mesma operation como Grabacion directa. Cuando presione "POWER" other than, si laarea no se ha finalizzato,
la TV apagará el panel y continuaGrabando. La TV se apagará de veridad cuando la tarea se acabe.
- Cuando abra el menu EPG, selección las cuales horas de los programas de TV y presione el botón VERDE, la grabación subscriita se configurará automatistically.
Note: La func ion de grabacion finalizar a cuando no quede mas espacio libre en el dispositivo USB.
Cómo/utilizar la programación de grabación
- En la fuente DTV,ould empezar a la function de grabacion programada presionando la tecla "PLAY/PAUSE"mantras el programa referencia.
Antes de this, aseguress de que el dispositivo de almacenamento USB esta insertado y el examen e initalizacion del dispositivo se han acabado.
Si presiona la tecla "PLAY/PAUSE" cuando no haya un dispositivo de almacenimiento USB insertado, la ventsa tendrá el aspecto suiviente:

Si presiona la tecla "PLAY/PAUSE" durante el examen e inicializacion del dispositivo, la ventana技术支持 el aspecto suiviente:
- Cuando la grabación haya empezado,ould presionar la tecla "PLAY/PAUSE" para起初 o pausar el programa y "FAST BACKWORD (rebobinar rápido)/ FAST FORWORD(avanzar rápido)" para Obtener estas functions. La ventana con el estado de la grabación programada aparecerá en la esquina superior izquierda de la pantalla. El tiempo de despliegue significa durante cuando tiempo permaneceré en pantalla la cifra. Internacionalmente, sucesce presionar la tecla "DISPLAY" para Abrir la ventana de estatus detallado para ver cuando espacio queda en el dispositivo USB.

- Puede presionar la tecla "STOP" parakatrar a la emision en tiempo real del programa y othery "STOP" para detener la function de programacion de grabacion afterwards de confirmar.


Note: La func i de programacion de grabacion se detendra cuando no quede espacio libre en el USB.
Menu de configuración
Presionar el boton de MENU para desplegar el menu principal.
Presionar / para seleccionar configuracion en el menu principal,.afteres presione OK o para entrada.

- Presionar▼/▲ para seleccionar la option que quiera ajustar en el menu de configuracion,.aftero OK o para entrada.
- Presione / / para ajustar.
- Al acabar su ajuste, presione MENU para guardar y volver al menu anterior, y el botón EXIT para消息称 Completely del menu.
Temporizador OSD
Presionar / para seleccionar el temporizador OSD, après OK o para entrada presionar / para ajustar.
Euroconector automatico
Selecciónar On/Off.
Configuración PC(Seleectionar la fuente en el PC)

Ajuste automatico: Presionar / para selectionar ajuste automatico, après presionar . El menu aparecerá unoicosometimes.
Posicion H: Presionar / para selectionar la posicacion H y presionar el boton para entrada y / para ajustar Ajusta la imagen horizontalmente.
Posicion V: Presionar / para selectionar la posicion V y presionar el boton para entrada y para ajustar Ajusta laImagen verticalmente.
Modo HDMI
Presionar / para seleccionar el modo HDMI, après OK o para entrada y presionar / para ajustar.
Pantalla azul
Presionar / para selectionar Pantalla azul, après OK o para entrada y presionar / para selectionar On/Off.
Proporaciones
Presionar el boton / para seleccionar Proporciones,despues presionar OK o para entrada y el boton / para ajustar.
Reconfigurar TV
Presionar / para seleccionar Reconfigurar TV, après presionar OK o para entrada. Apareceré el menu de contraseña (cuando elbloqueo infantil este encendido).
Instalacion automática
Presionar / para seleccionar Instalacion automatica, despues presionar OK o paraentar en el menu de Instalacion automatica.
Actualizacion del software
Presionar / para seleccionar Actualizacion del software, despues presionar OK o para entrada en el menu deactualizacion del software.
Menu de medios
Note: Antes de utilizes el menu MEDIOS, conecte el USB o tarjeta de memoria, despues presione el boton FENTE para configurar la Fuente en Medios.
Presionar / para seleccionar MEDIOS en el Menu fuente, y.afteres presionar ENTER o para entrada.
Alternatively, you can enter the Medios presionando el botón MEDIOS en el control remoto.
Menu fotos
Presionar / para seleccionar Foto en el menu principal, après presionar ENTER para entrada. Presionar el boton EXIT para volver al menu anterior.

- Presionar / para selectionar la optacion que quiera ajustar en el menu Medios, après presionar ENTER o para entrada.
- Presionar / para ajustar y presionar / para seleccionar.
- Después de finalizar su ajuste, presionar el botón MENU para guardar y volver al menu anterior y después presionar el botón EXIT para salir Completely del menu.
Presionar / para seleccionar las fotos, despues presione ENTER, boton o boton para ver.

Salir (exit)
Salir de reproduccion,entar en el menu anterior.
Reproducirotosapantallacompleta.
Detener la reproduccion,entar en menu de la lista.
Reproducir el archivo anterior.
Reproducir el archivoCEE.
Puede ver la informacion de la foto en reproduccion tras presionar el boton INFO,
Després reproductir o pausar podra ver es estado de reproduccion en la derec
Despues presione / o para girar la Foto.
Nota: Losotros menus y descripciónes son los mismos que para el menu de Películas.
Menu de música
Presionar / para seleccionar Música en el menu principal,.after es botón ENTER para entrada.
Presionar el boton de salute (EXIT) para volver al menu anterior.

Presionar / para selectionar que cancellation quiere escuchar, y los botones ENTER, o para reproducir.
Presionar para volver al menu anterior.

Podrá ver la información de la canción que está en reproducción en la izquierda del menu.

Menudepelliculas
Presionar para selectionar Pellicas en el menu principal, après presionar ENTER para entrada. Presionar salir (EXIT) para volver al menu anterior.

Presionar / para seleccionar la carpeta que quiere ver.
Presionar ENTER para seleccionar la subcarpeta.

Presionar boton ENTER o para reproducir
Presionar EXIT para parar la reproduccion.
Presionar para volver a la páginainterior.
Podrá ver la información de los medios en reproducción durante los primeros seguidos o tras presionar el botón INFO.

Manu PVR
Presionar para seleccionar PVR en el menu principal, après el boton ENTER para entrada.
Presionar el boton EXIT (salir) para volver al menu anterior.
Presionar / para seleccionar el Video, presionar ENTER, el boton o el boton para reproducir.

Podrá ver la información del video en reproducción durante los primeros seguidos o tras presionar INFO. Después presionar para reproducir, podrá ver el estado de la reproducción en la derecha. Nota: Los otros menos y descripcións son los mismos que para el menu de Películas.
8. Manejo del DVD
Presione el boton SETUP en el mando para estar el menu de ajustes.
Presione el botón / para selección la Págrina de Configuración General.
Presione el boton / para seleccionar el elemento deseado.
Presione para acceder al submenu.
Presione el boton / para acceder al menu superior.
Configuración General

Pantalla de TV
Presione el boton para acceder al submenu.
Presione entonces a seleccionar entre pan Scan/4:3, Letter Box y Ancho.

Idioma OSD en pantalla
Presione para seleccionar el idioma en pantalla.
Presione ENTER para guardar la operacion.

Salvapantallas
Presione para selectionar el modo salvapantallas.
Selezione "ON" para comenzar el salvapantallas.
Selección "OFF" para desactivar el salvapantallas.
Cuando escoja "ON" laImagen del salvapantallas se做不到 en pantalla cuando el reproductor se detenga o laImagen quede congelada sin otra operation, tras uno horas.
El salvapantallas protege la pantalla de daños.

Ultima memoria
Por favor, seleccione su modo deseado.
Activado/on: Presione el botón cuando está viendo un DVD. Cuando cierre el reproductor,ouldra recuperar el本身就是o segmento.
Off: No hay funciona de memoria.

Configuración de audio
Mezclador
Presione el boton seleccionar el mezclador.
Puede seleccionar entre: LT/RT Estereo
Mono dual
Puede optar entre: Estereo Mono-izqdo. Mono-dcho. Mono-mix.
Dinamico
Puedeajustar.



Ajuste de preferencias
TipodeTV
Presione para selectionar el idioma de audio para el DVD que prefería.
1) El idioma que selección tendrá alta prioridad y se adoptará de forma automatica cuando el equipo comience a reproducir un disco.
2) Los idiomas disponibles varian en cada disco,dependiendo del DVD. Internacionalmente selecciona idiomas alternativos presionando el boton de Audio en el mando a distancia.

Subtitulos
Selección el idioma que prefera para los subtitlelos.
1) El idioma de subtoylos que seleccione tendrá alta prioridad y se adoptará de forma automatica cuando el equipo comience a reproducir un disco.
2) Los subtitleos disponibles varian en cada disco,dependiendo del DVD. Internacionalmente可以选择aridiomasalternativos presionando el boton de Subtitleen el mando a distancia.

Menu del disco
Selección el idioma que prefería para el menú del disco.
La elección varía según los discos.

Control paterno
Es possible restringir la reproduccion de algunos discos a usuario de cierto nivel, basandose en su edad, por exemple. Algunas escenas能把 ser bloqueadas o reemplazadas con escenas differentes. La funciona paterna le permit configurar el nivel de control de acceso.
Estamericana.
Nota: Si reproduce discos que no admiten la func i on de control paterno, el reproductor de DVDs no podra restringir el acceso al disco.

Contrasena
Cambie la contrasena a la que desee.
La contraseña por defecto es "0000".

Ajustes por defecto
Revierta a los ajustes de fabrica del reproductor de DVDs.

9. RESOLUCION DE PROBLEMAS Y CONSEJOS
Por favor, compruebe si pueda resolver los problemas por si mesmo.
| Problema | Control |
| No hayseoanal | Porfavor,compruebeque todos los cables estancorrectamente enchufados. |
| No se muessta color | Ajuste el contraste,el color y el brillo. |
| Haymanchas en la pantalla | Puede serresultado deseoales deluzdecoches,motores,neon uotros aparatoselectricos. |
| Imagen doble omultiple | Puede serresultado deinterferenciaselectricasdeotra TV,ordenador,consola dejuegos oradio. |
| Nieve en la pantalla | Los cables de antenna noestan enchufadoscorrectamente. |
| Nofunciona elmando | Compruebele estado y alineaciondelas pilas.Compruebeque elemisor del infrarrojos delmando noestadecondido. |
| Ruidos del cubiertade la TV | Si laImagen en pantalla es correcta,puede haber ruidos si la fijacion del panel no es adecuada. |
| No haysonido | Asegúrese de no haber presionado el botón MUTE en el panel o en elmando a distancia. |
| NoDVD | Asegúrese de que el equipo de TV ha催生ado a modo DVD. |
| Elreproductor delDVD nofunciona correctamente | Asegúrese de que el disco estácorrectamente insertado en elreproductor.Asegúrese de que el disco no estádañado y de que el formato es correcto.Esperepacientemente,ya quealgunos discostardan más comenzar la reproducción. |
10. SPECIFICATIONS
Condiciones de Garantía
Este equipo tiene garantía de 2 años a partir de la Fecha original de compra.
Serán exentes de la garantía las averías produidas por un uso incorrecto del aparato, mala instalación o instalados en lugarares inapropiados para su buena conservación, roturas,actualizaciones de software que no Sean los facilitados por lamarca, piezas desgastadas por su propio uso o por un uso no domestico o inadequado, asi como, por Manipulación por personas o talleres ajenos a nuestraEmpresa.
Para que la garantíaonga validez, se deberá adjuntar la factura o ticuet de caja que corrobore la adquisión y Fecha de vente de este producto.
(English)
Warranty conditions
DECLARACION DE CONFORMIDAD
Directiva(s) del Consejo con la(s) que se declares conformidad:
Erp Directiva (2009/125/EC)
Directiva (2004/108/EC) - EMC
Aplicación de las Normas:
EN 55013:2003 + A1:2003 + A2:2006
EN 55020:2007+A11:2011
EN 60065:2002+A1:2006+A11:2008+A2:2010+A12:2011
EN 61000-3-2:2006+A1:2009+A2:2009
EN 61000-3-3:2008
IEC 62321-2009
Fabricante: AFEX SUNS, S.A
Dirección: C/Pallars 189, 08005, Barcelona
Tipo de equipo: LED TV
Marca.: SUNSTECH
Modelo: TLEXI1663HD
Nosotros, los abajo firmantes, declaramos bajo nuestra exclusiva responsabilidad que el equipo especified星座 con la(s) Directiva(s) y Norma(s)mentionadas
Lugar: Barcelona

(Firma)
VICTOR Planas Bas
(Nombre)
Date: 1/11/2012
Director General
(Cargo)
Leia atentamente estemanuale guarde-o para referencia futura
- PREFÁCIO 2
- PRECAUÇOÉS SE SEGURANÇA 2
- NA CAIXA 5
- CONEXOES FRONTAIS E TRASEIRAS DO LED 6
5.DESENHOS DE INSTALLAÇAO DA TV
Manual de Utilizador

Pilhas AAA
4. CONEXOES FRONTAIS E TRASEIRAS DO LED
Vista frontal
Prima para seleccionar una fonte de entrada, e entao pressione ENTER para confirmar.
THUMBSTICK (▲/▼/▲/▶/ENTER)
Mudar páginapara anterior ou seguinte.
CH+/CH-
Mudar páginapara anterior ou seguinte.
SUBTITLE
Aecesso a páginasub codificado.
REVEL
Botoes numéricos para varios dados.
ZOOM
Etapa no modo de DVD.
REPEAT
Seleccionar Fonte de Entrada

Deficientes auditivos
- Pode también pressionar a tecla "DISPLAY" para Abrir a janela de informacoes para ver quando esponco resta no dispositivo USB

Para a reproducao entra no menu de LISTA.

Pressione / para seleccionar Video, reproducir
pressioneobotaoENTERou ou para

Pressione I para seleccionar o item desejado.
Pressione para entrada no sub menu.
Pressione / para entrada no menu superior.
Condiciones de Garantía
Este equipo tiene garantía de 2 años a partir de la Fecha original de compra.
Serán exentes de la garantía las averías produidas por un uso incorrecto del aparato, mala instalación o instalados en lugarares inapropiados para su buena conservación, roturas,actualizaciones de software que no Sean los facilitados por lamarca, piezas desgastadas por su propio uso o por un uso no domestico o inadequado, asi como, por Manipulación por personas o talleres ajenos a nuestraEmpresa.
Para que la garantíaonga validez, se deberá adjuntar la factura o ticuet de caja que corrobore la adquisión y Fecha de vente de este producto.
(English)
Warranty conditions
Nuance (Non disponible en DTV)
Condiciones de Garantía
Estequipment tienegarantia de 2anosapartirdela fecha originalde compra.
Serán exentes de la garantía las averías produidas por un uso incorrecto del aparato, mala instalación o instalados en lugarares inapropiados para su buena conservación, roturas,actualizaciones de software que no Sean los facilitados por lamarca, piezas desgastadas por su propio uso o por un uso no domestico o inadequado, asi como, por Manipulación por personas o talleres ajenos a nuestraEmpresa.
Para que la garantíaonga validez, se deberá adjuntar la factura o ticuet de caja que corrobore la adquisión y Fecha de vente de este producto.
ManualFácil