CARRA 3 - Piscina de madera GRE - Manual de uso y guía de instrucciones gratis
Encuentra gratis el manual del aparato CARRA 3 GRE en formato PDF.
| Tipo de dispositivo | Piscina desmontable |
| Forma | Cuadrada |
| Dimensiones (L x A x H) | 3,05 m x 3,05 m x 1,19 m |
| Material | No especificado |
| Capacidad de agua | No especificado |
| Grosor de las paredes | No especificado |
| Tipo de estructura | Madera o compuesto (suposición general) |
| Accesorios incluidos | Escalera |
| Tipo de filtración | No especificado |
| Peso en vacío | No especificado |
| Montaje | Autoensamblaje |
| Uso | Exterior |
| Mantenimiento | No especificado |
| Garantía | No especificado |
| Color | No especificado |
| Resistencia a la intemperie | No especificado |
| Accesorios compatibles | No especificado |
Questions des utilisateurs sur CARRA 3 GRE
0 question sur cet appareil. Repondez a celles que vous connaissez ou posez la votre.
Poser une nouvelle question sur cet appareil
Descarga las instrucciones para tu Piscina de madera en formato PDF gratis! Encuentra tus instrucciones CARRA 3 - GRE y toma tu dispositivo electrónico nuevamente en la mano. En esta página están publicados todos los documentos necesarios para el uso de su dispositivo. CARRA 3 de la marca GRE.
MANUAL DE USUARIO CARRA 3 GRE
Es IMPRESCINDIBLE vericar las medidas de las diagonales de las piscinas. De esta manera se evitaran problemas posteriormente. Revisar this varias vezes hasta Obtener las medidas indicadas en los planos.

En caso de roturas y/o deformaciones de la madera, haga el inventario completo del estado de las piezas antes de solicitarlas al serviceo posventa. De esta forma, las piezas llgarran todas en un mesmo envio
En la prima lnea listones (la base de la piscina) es normal que some listones tengan una ranura en la parte inferior y others no la tengan, siendo la base plana (listones de media anchura).
Durante el invierno, los embellecedores metálicos de las playas你能 oxidarse. Usted es responsable delostenimiento de estas piezas. Si utilizes una cubierta de invierno, asegúrese de tener una correcta ventilación.
No vaciar completeness la piscina durante un长大o periodo de tiempo ya que su estructura pueda sufir deformaciones.
Localice elApartado demantimiento en elmanualde su escalera de acero inoxidable (en caso de que sypiscina la incluya)

Antes de atornillar las playas de la piscina, esnecessary presentar las maderas para una correcta localizacion. Estad prohibited sentarse o andar encima de las playas.Cualquier rotura no estara cubierta por la garantia.

Para instalar los tacos (piezas de materia que sujetan las playas), fijese en el plano de la piscina. Es importante que los atornille en el lugar exacto que indica el plano. No apriete demasiado los tornillos para evaporar que se formen astillas en la materia. Se recomienda lijar las zonas que queden con una astilla para eliminar el riesgo de corte.

Pasados unos mezes desde el montaje de la piscina es recomendable dar un tinte al agua para hidrar la madera. Recordemos que la madera es un ser vivo. De esta manera, se minimiza la aparacion de fisuras. Este tinte es aconsejable sobre todo en las playas ya que son las partes más expuestos al sol y al producto quimico. Si usted decide pintar su piscina, asegurese de que es un producto apto para la madera tratada con Autoclave 4.

La solera de hormigónDebe tener las medidas indicadas segun el modelo de la piscina y nunca se inferiores. La piscina deberá estar centrada en esta solera.Esta solera de hormigóndebe ser realizada por un profesonal de acuero a lassiguientescharacteristicas:
Losa de hormigón: Dosificado 350kg / m^3 (normalizzato tipo C125 430)

Unas se abre el palet de mader, es importante montar su piscina en un maximo de dos dias. Ademas es aconsejable hacerlo en dias sin lluvia para evitar que la madera se humedezca, complicando el montaje final.

- BESTANDTEILE COMPONENTI·ONDERDELEN·COMPONENTES
| WOOD SCREWS SABOT SCREWS | SABOT TAPESTRY | 790205 | |
| WOOD SCREWS | 1 | ||
| SABOT SCREWS | 2 | ||
| LINER | 1 | ||
| STAINLESS STEEL LADDER | 1 | ||
| MONOBLOCK | 1 | ||
| HOSE | 2 | ||
| SKIMMER | 1 | ||
| LINER PROFILE | 11 | ||
| SABOT | 4 | ||
| FLOOR TAPESTRY | 1 | ||
| WALL PROTECTOR | 1 | ||
| KIT CORNER PIECE | 1 | ||
| SAND BAG | 1 | ||
| WOODEN LADDER FIXING PIECES | 1 | ||
| x4 |
STORAGE INSTRUCTIONS • INSTRUCCIONES DE ALMACENAJE INSTRUCTIONS D'ENTREPOSAGE • HINWEISE ZUR AUFBEWAHRUNG INSTRUZIONI DI STOCCAGGIO • INSTRUCTIES VOOR OPSLAG INSTRUÇões DE ARMAZENAMENTO
ES Este palet debe ser almacenado sobre un suelo nivelado preferente mente de hormigón.
Si la piscina va a ser montada de inmediato:
Revise el contenido.
- Montar lo antes possible para evitar la deformación de las piezas una vez quitado el fleje de sujeción.
Si la piscina no va a ser montada de inmediato:
- No guitar los flejes de sujeción de la madera.
- En caso que seanecessary deshacer el palet y no se vaya a montar la piscina se debe construir el palet asegurado una buena fijacion para evaporar deformaciones en las piezas (usar cuerdas, flejes etc).
En todos些casocolcar peso encima para asegurar la planicidad de laspiezas.Almacenar el palet en un lugar adecadamenteventilado.
Lea detenidamente esta informacion y guardela para consultarla posteriormente
Enhorabuena por su elección. El modelo que ha elegido se ha concebido especialmente para una instalación sencilla y rápida, pero son necessities了一些 precauciones para el buena uso de su piscina. Antes de comenzar con la instalación y el montaje de su piscina, infórmese sobre la normativa local vigente en materia de superficie y de implantación.
El uso del kit de piscinas implica el respeto de las instrucciones de seguridad descritas en el manual de mantenimiento y de utilizesación. Si no se respetan las normas de seguridad se pueda producir graves riesgos para la salute, en especial la de los niños. Lea atentamente estemanual y observarlas ilustracionesantesde empezar el montaje de su piscina. En caso de que el montaje no garde conformidad con estemanual se expone a un rechazo de la garantía en caso de fallo.
La información que aparece en este manual de instalación se muestra exactamente como se realiza. Sin embargo, las ilustraciones que figuran en el mismo pretenden explicar el proceso de montaje. No se consideraran elementos contractuales en cuando a las formas, los colores y el aspecto que muestran. En su objetivo constante de mejorar sus produits, Manufacturas Gre se reserva el derecho a modifier enequalier momento y sin previo aviso las caracteristicas, los detailles技术和os estandarizados y las options de sus produits.
FATENTION!
Leia cuidadosamente estas informacoes e conserve-as para consultas posteriores
Para cualquier reclamación o servicios posventa, guarde su manual con el número de series jusqu'àngel justificante de compra (ticket de caja).
Para cualquier demanda de garantía deben ponserse en contacto a工程技术 de vuestra web www.grepool.com/postventa, junto con el justificante de compra.
SeSEO. SeSEO. SeSEO. SeSEO. SeSEO. SeSEO. SeSEO. SeSEO. SeSEO. SeSEO. SeSEO. SeSEO. SeSEO. SeSEO. SeSEO. SeSEO. SeSEO. SeSEO. SeSEO. SeSEO. SeSEO. SeSEO. SeSEO. SeSEO. SeSEO. SeSEO. SeSEO. SeSEO. SeSEO. SeSEO. SeSEO. SeSEO. SeSEO. SeSEO. SeEO. SeEO. SeEO. SeEO. SeEO. SeEO. SeEO. SeEO. SeEO. SeEO. SeEO. SeEO. SeEO. SeEO. SeEO. SeEO. SeEO. SeEO. SeEO. SeEO. SeEO. SeEO. SeEO. SeEO. SeEO. SeEO. SeEO. SeEO. SeEO. SeEO. SeEO. SeEO. SeEO. SeEO. SeSEO. SeEO. SeEO. SeEO. SeEO. SeEO. SeEO. SeEO. SeEO. SeEO. SeEO. SeEO. SeEO. SeEO. SeEO. SeEO. SeEO. SeEO. SeEO. SeEO. SeEO. SeEO. SeEO. SeEO SeEO SeEO SeEO SeEO SeEO SeEO SeEO SeEO SeEO SeEO SeEO SeEO SeEO SeEO SeEO SeEO SeEO SeEO SeEO SeEO SeEO SeEO SeEO SeEO SeEO SeEO SeEO SeEO SeEO SeEO SeEO SeEO SeEO SEAO SeOO SeOO SeOO SeOO SeOO SeOO SeOO SeOO SeOO SeOO SeOO SeOO SeOO SeOO SeOO SeOO SeOO SeOO SeOO SeOO SeOO SeOO SeOO SeOO SeOO SeOO SeOO SeOO SeOO SeOO SeOO SeOO SeOO SeOO
TRAS LA VERIFICACION Y LA CONSTATACION DE UN DEFECTO DE FABRICACION.
- Los productos que efectivamente presenten defectos se reparán o se sustituirán con los portes pagados.
!
La garantía se limita a la reparación o a la sustitución de la pieza defectuosa. No implica en ningún caso una demanda de indemnizaciones o de daños y perjuicios.
NO SE APLICADA LA GARANTIA EN LAS SIGUIENTES SITUACIONES:
- Utilización de materiales no conformes a nuezas instrucciones.
- Danos provocados por una Manipulación erronea o de una instalación no conforme.
IMPORTANT:
La société Manufacturas Gre intercambia componentes a cambio deOthers para su peritaje.
Si après del peritaje no se detectaacularia o disfuncion, la société Manufacturas Gre se reserva el Derecho de facturar los costes de portes y other diversos al cliente.
DURACION DE LA GARANTIA:
- La madera de pino silvestre tratada en autoclave de classe IV tiene una garantía de 10 años contra la podredumbre y los ataques de insectos.
- Liner: 2 años para las costuras y la estanqueidad enunas conditiones de uso normal. No entran en garantía: Los desgarrones, los rotos, las roturas, las manchas (productos detratamente directamente en el agua), las manchas vinculadas al crecimiento de algas, las manchas relacionadas con la descopsión de cuerpos extraños en contacto con elinear, las manchas y las decoloraciones resultantes de la acción de los productos oxidantes, el mantenimiento del color y el desgaste debidos a la ficción del material sobre diversas superficies. La deformación delinear que se ha dejado más de 24 horas sin agua (no vacía la piscina por Completely nunca). La Funda (Liner P.V.C.) en caso de descentaje y nuevo montaje de la piscina.
Es obligatorio guardar la etiqueta con el número de série delinear presente en el producto y en su embalaje. Para cualquier solicitud eventual de asunción de garantía, se exigirá unauya delinear.
- Escalera inoxidable: 2 años. En caso de una filtración por electrólisis de sal, no seoulda tener en cuenta la garantía de la escalera.
- Grupo de filtración: La bomba tiene una garantía de 2 años (problema electrico) en conditiones normales de uso. No entra en garantía: la rotura de piezas (base de la bomba/deposito de arena, cubierta del prefiltro, trampilla multidireccional...) el deterioro bajo a una conexión defectuosa, el uso de la bomba en seco, el deterioro por abrasión o por corrosión (el grupo de filtración debe situarse en un lugar fresco y seco, resguardado de salpicaduras de agua).
- Otros componentes: 2 años.
ESTÁN EXCLUIDOS DE LA GARANTÍA:
Cualquier mecanizzato posterior al tratamento que pueda afectar negativamente a la calidad del tratamento, como por exemple, sin que esta lista sea limitante, qualquier corte, cepillado, lijado y taladrado. Excepcion: los orificios necessarios para la fijacion de los refuerzos y los bloques de madera, que se habrian producido utilizing una broca con un diametro de al menos un milimetro menos que el de los tornillos de montaje.
- Los cortes en elliner
- El montaje y la connexion de lafiltración
- El ensamblado
- El llenado de agua
- La colocacion de los bordes
- El invernaje
- El mantenimiento
SERVICIO POSVENTA EN GARANTÍA:
(Previa justificación y prueba de compra)
- Portes de ENVÍO por cargo del cliente.
- Portes de RETORNO por cuenta de Manufacturas Gre (para aquellas piezas comprehendidas en el esquema de la garantía).
- Cambio de madera previa justificacion visual.
- Piezas o componentes por cuenta de Manufacturas Gré.
- Plazo de cambio: 8 días laborables. En elcontexto de la sustitución de un componente defectuoso, el montaje y el desmontaje no correnc por cuenta de Manufacturas Gre.
SERVICIO POSVENTA SIN GARANTÍA:
- Portes de envío / returno por cargo del cliente.
Las piezas se facturarán según nuestros tarifas vigentes.
Piezas sueltas disponibles durante 5 años contactos desde la Fecha de facturacion del producto.
ANTES DEL MONTAJE
Mientras la piscina se encuesta desmontada, es sensible a las variociones de temperatura y de humedad. Por lo tanto, esnecessary tomar ciertas precauciones dealmacenacimiento.
Cuando reciba los paquetes, guarde las piezas de madera en plano, resguardadas de la humedad y de la luz solar para evaporarrialquier riesgo de deformacion.
IMPRESCINDIBLE
- No deja la madera al sol, para evitar que la madera se combe o se agriete de forma excessiva.
- No deje el vaso de la piscina expuesto en el exterior o protegado con una lona estanca, porque la condensacion que emana de la madera va a humedecerla aun más y la someterá a cambio de forma.
OBLIGATORIO
Monte la estructura de una sola vez.
- Guarde la madera de su piscina en un lugar plano, resguardada del agua y de la luz solar.
- Retire la película protectora film para que la madera «respire».
DURACION DE LA INSTALLACION
La instalación de la piscina &, de la intervisión, de al menos dos personas y require dos días (aparte de la preparación del terreno y el llenado).
ANTES DE LA CONSTRUCCION DE SU PISCINA CERCIORSE
- De la intervencion de una persona@cualificada para realizar las conexiones elctricas.
- De que el suministro de agua sea suficiente para llenar la piscina.
- De que ha leído el manual minuciosamente, bajo a bajo, para "...comprender bien la instalacion de la piscina.
IMPORTANT
Manufacturas Gre, S.A no se hará responsable de los fallos que provenganupon a una mala calidad del hormigón.
La solera de hormigónDebe estar hecha por un profesional de acuerdo a lasindicaciones descritas en este manual de instrucciones. En caso de una reclamacion, la factura de dicha soleraouldarpedida para poder estudiarla garantíade la piscina.
PISCINAS ENTERRADAS Y NORMATIVA ESPECÍFICA
Para las piscinas en superficie, se recomienda proteger el acceso al vaso por un elemento de proteccion normalizzato.
Para las piscinas semienterradas y Completely enterradas, la ley francesa n° 2003-9 de 3 de enero de 2003 en relativa a la calidad de las piscinas, como como el decreto francés n° 2003-1389 de 31 de diciembre de 2003 relativo a la calidad de las piscinas exigen proteger el acces al vaso por al menos un elemento de proteccion normalizzato, como:
- Barrera de proteccion
- Alarma de piscina
Cubierta de piscina - Refugio de piscina

CONSEJO DE COLOCACION
Debe preparar el terreno como se indica en este manual en el capítulo «instalación».
NO SITUE SU PISCINA
- Bajo tendidos electricos
- Bajo las ramas de árboles
- Sobre un terrreno no estabilizzato
Un buena emplazamiento le permite ahorrar tiempo y le evita limitaciones. La piscinaDebe estar en un lugar soleado y fácilmente accesible.
La ubicacion de la piscina debe estar libre de tuberias o de conexiones electricas.
Tenga en cuenta que espreferible montar la piscina un dia soleado y evitar los días de mucho viento.
EMBALAJE, CLASIFICACION Y RECICLAJE
- Algunos componentes de la piscina está embalados en bolsas de plástico. Para evaporar todos los riesgos de asfixia, nunca permit que los bebés o los niños jueguen con ellas.
- Gracias por Respectar las normas de la Unión Europea y por collaborar en la protección del medio ambiente.
Cuando haya instalado su piscina y estén todos los componentes ensamblados, le agradecemos que clasifique y recicle todos los embalajes.
Una vez instalada la piscina y todos sus componentes, le agradeceríamos la clasificacion y reciclado de los packagings sobrantes.
ANTES DEL MONTAJE
INSTRUCCIONES DE SEGURIDAD
Es obligatorio colocar el kit de filtracion (filtro + bomba) a una distancia minima de 3,5 metros de la piscina para evaporar el riesgo de descarga electrica.
Es obligatorio prever la instalacion de un dispositivo de proteccion diferencial especial para piscinas en la alimentacion elctrica de la bomba, conforme a la normativa.
Nunca deje a los niños sin vigilancia cerca de la piscina.
Desqués de cada bano, retire la escalera exterior para registrar las caías accidentales de los niños o de las mascotas con la piscina (Norma EN P90-317).
Esta piscina estadestdinadaunusoexclusivamentefamiliar.No estapertimido caminar sobre losbordes ni zambullirso saltardesellos.
Antes de instalar y de utiliser la piscina, lea atentamente la informacion recogida en el presente manual, asimilela y cumplala. Los announcements, las instrucciones y las consignas de seguridad hacer referencia a algunos de los riesgos más habituales relativos al ocio en el agua, pero no cubren la totalidad de riesgos y peligos que se pueda presentar. Tenga prudencia, sentido crtico y sentido comun al practicar本次活动as acuaticas. Guarde esta informacion para poderlas consultar posteriormente.
Seguridad de quienes noiben nada:
Siempre se necesita la vigilancia atenta, activa y continua por parte de un adulto responsable sobre los niños que noaben nadar o no lo hacen bien (tenga en cuenta que el riesgo de ahogo más elevado lo presentan los menos de cinco años).
-
Procure que unadulto responsable vigile la piscina cada vez que seutiliza.
-
Resulta conveniente que los niños que noaben nadar o no lo hacen bien@cuenten con equipos de proteccion individual cuandoutilicn la piscina.
- Cuando no se utilise la piscina o esta se enquiryre sin vigilancia saque todos los juguetes de ella para evitar que los niños se acerquen a ella.
Dispositivos de seguridad
- Es recomendable instalar una barrera (y, en su caso, instalar elementos de seguridad en puertas yVentanas) para evaporarrialquier acceso no permitted a la piscina.
- Las barreras, las cubiertas, las alarmas para piscinas o los dispositivos de seguridad análogos resultan útiles pero no sustituyen la vigilancia continua por parte de unadulto responsable.
Equipamente de seguridad
- Se recomienda disponible de material de salvamento (una boya, por exemple)URTCA la piscina.
- Tenga un téléphone en perfecto estado y un lista de nombres de urgencias cerca de la piscina.
Uso seguro de la piscina
- Anime a todos los sistemas, en especial a los niños, a"aforender a nada.
- Aprendia Tecnicas de salvamento (reanimacion cardiopulmonar) yactualice periodicamente sus conocimientos. Estos gestos能把 salvar una vida en una urgencia.
- Explique a los usuario de la piscina, también a los niños, qué procedimiento deben seguir en caso de urgencia.
- Nunca se tire a piscinas pouco profundas, dado que peutesufrir lesiones graves o mortales.
- No utilise la piscina tras haber ingerido alcohol o medicamentos susceptibles de reducir su capacité de hacerlo en conditiones de total seguidad.
- Si la piscina está tapada por una cubierta, retírela Completely de la superficie de agua antes de entrada. - Trate el agua de su piscina y establishezca buena prácticas de higiene para proteger a los users dellermedades relacionadas con el agua. Consulte como tratar el agua en el manual de instrucciones.
- Mantenga fuera del alcance de los niños los productos químicos (productos de tratimiento del agua, de limpieza o de desinfección, por exemple).
- Es obligatorio colocar los pictogramas incluidos en una posicion visible a menos de 2 m de la piscina.
- Cologne las escaleras móvil en una superficie horizontal.

Piezas sueltas disponibles durante 5 años contados desde la Fecha de facturación del producto.

PEFC
PEFC/14-38-00166



ATENCIón:
Todo aparato alimentado en 220 V, deben situarse por lo menos a 3,50 m del borde de la piscina.
El equipo se debe conectar a una toma de corriente, con connexión a tierra, protegida con un interruptor diferencial (RCD) con una corriente de funcionaimiento residual asignada que no exceeda de 30 mA.
Lea atentamente las instrucciones y guardelas para futuras consultas.
SI TIENE ALGUN PROBLEMA, ..jCONSULTENOS!
SERVICIOS TECNICOS EN ESPAÑA:
www.grepool.com
Una vez instalada la piscina y todos sus componentes, le agradeceríamos la clasificacion y reciclado de los packagings sobrantes.
Dispositivos de segurarca
La madera es un producto natural, las fisuras perceptibles en el filo de la madera son Completely normales y no modifican las caracteristicas de resistencia de la misma.
La madera siempre es un material moldeable (de un 3 % a un 4 % de variaciones dimensionales) con las oscilaciones en temperatura y en humedad. Por lo tanto,你能 aparecer pequeñas gritas y para limitar ulteriores deformaciones, se respetarán los criterios技术水平icos en cuando a la conceccion, a la selección de secciones y de ensamblas y a la forma de lijación. Los nudos son elementos naturales de la madera: su aspecto y su tiempo varian de un producto aarlo. La secrección de resina es un fenómeno natural de la madera resinosa. Al igual que ningún árbol es exactamente igual aarlo, no se pueda considerar defectos los elementos fotografiados a continuación:
LE BOIS: UN MATÉRIAU VIVANT
Puede aparecer moho en la superficie de la madera, except no penetran enlla y no la degradan. Al someterse a la radiacion UV, la madera se vuelg grisacea con el tiempo sin que thiso perjudique a su durabilitad. Puede aplicar un barniz para maderas tratadas en autoclave. Ademas de proteger, el barniz contribuye a la belleza y a la longevida de la instalacion. En este caso, espere a que la madera seque complemente ante de aplicar el barniz.
EL PINO SILVESTRE TRATADO EN AUTOCLAVE
La madera realizada es un pino seleccionado y secado al 25% antes de un tratamiento en autoclave IV. Disfruta de una garantía de 10 años contra el ataque de los insectos y contra la podredumbre para las partes en el sueño.
El grupo defiltración y en especial la bomba electrica de la piscina deben estar situadas obligatoriamente a una distancia de al menos 3,5 metros del vaso (norma electrica NFC-100).
EVACUACION DE AGUA
Elmantimiento y el invernaje del filtros necessitan evacuaciones de agua. Es imprescindible prever las evacuaciones para la instalacion del grupo defiltracion.
TUBO DE FILTRACION
En caso de que紊ee enterrar los tubos de filtracion, es indispensable protegerlos contra el riesgo de deterioro situandolos en un recubrimiento antes de introducirlos bajoterra.
ORIENTACION DEL VASO
El vaso se debe colocar de tal forma que el skimmer seswanae. El skimmer es un elemento muy importante del systema de filtracion y siempre se instala de cara a los vientos dominantes. De la calidad de aspiracion y de su buena emplazamente depende el filtrado optimo del agua de la piscina.

GROUPE DE FILTRATION
El grupo de filtración debe situarse por debajo del nivel de la piscina e ideally a nivel del suejo de la piscina; si no la bomba corre el riesgo de desactivarse. La bomba de filtrado debe situarse protegida de salpicaduras de agua, de inundaciones y de la humedad, en un lugar seco y bien ventilado. En caso contrario, las piezas metálicas y el motor de la bomba pueda deteriorar.
Es una etapa determinante en la construccion de su piscina. Determinadoseworkosde pesta en marcha, como la preparacion del terreno, la losa de hormigon, el drenaje...pueden preciar la intervencion de profesionales que sabran proponerle las soluiones adecuadas.
Selección el emplazimiento ideal, lo más soleado possible, teniendo en cuenta la normativa local (distancia de la Hera, servidumbres Públicos, redes...) y el paisajismo posterior a la instalación de la piscina. Determine el emplazimiento mediante la identificacion del suelo, consulte el capitulo «Trazado en el sueño».
Puede instalar su piscina de estas tres formas:
Procure no instalar su piscina en un sueño rellenado recientamente o que no sea estable. Searial el tipo de instalacion seleccionado, es必需ario excavar y preparar el terreno para nivelarlo.
Atencion: en caso de terreiros en pendiente, es imprescindible excavarlo para nivelarlo. No añada tierra para nivelar su terreno.
La instalación se deben efectuar sobre una losa de hormigón, esta deben tener un espesor minimo de 15 centímetros. El montaje del vaso se realiza una vez se haya secado Completely la losa (3 semanas). El grupo de filtraciónDebe situarse por debajo del nivel de la piscina e ideally a nivel del suejo de la piscina.
- 1 destornillador (con cabeza torx N° T15, T20, T25) • 1 taladro con brocas para madera Ø4, Ø6 y Ø10, para hormigón Ø10 y para
metal Ø5 • 1 cúter • 1 nivel de burbuja • 1 decámetro • 1 mazo • 1 martillo • 1 destornillador • 1 llave 19 • 1 sierra para
metal • 1 sierra para madera • 1 bolígrafo • Adhesivo PVC • Rollo de Téflon • Adhesivo de doble cara o grapadora •
Guantes · Cierra juntas
Tiempo de montaje (aparte de la preparacion del terreno y del lienado): 2 días con 2 personas minimum
OUTILLAGE
Trace en el suelo la forma de su piscina ayudandose de las dimensiones anteriores. Puede efectuar el trazado conaida de una curda.
Si su piscina está complete o parcialmente enterrada, prevea la excavacion de una zona de 50 cm adiconales en el perimetro para poderar sus movimientos durante el montaje.
PLACA DE HORMIGON:
La instalacion de su piscina implica la construccion de una losa de hormigon armado con fibras o de mallazo soldado. El hormigon debe ser de 350~kg / m^3 (normalizzato C125 430).
Si se trat de un instalacion parcial o totalmente enterrada, procure retirar todos los fragmentos de mader, ramas oraices susceptibles de degradarse con el tiempo. No instale un encofrado en torno a la piscina o proximo a ella con una mader que no estratable para su instalacion en contacto con la tierra. No aplicque ningun tratamento adiconal sobre la parte enterrada, por ejemplo, la aplicacion de alquitrn o de barniz no micro poroso esta prohibida. Cerciorese de que la maderiene la posibidad de «respirar», consulte el capitulo «Preparacion del terreno».
FR DALLE BÉTON : IL FAUT CENTRER LA PISCINE SUR LA DALLE EN BÉTON, COMME PRÉCISE SUR LE PLAN. LES MESURES INCLUENT L'ÉPAISSEUR DE LA PAROI.
DIMENSIONS INTÉRIÉURE :
PREPARACION DEL TERRENO
Las recomendaciones sobre la construccion para las piscinas total o parcialmente enterradas son efectivas en elcontexto de una instalacion en un terreno que no sea humedo. Es conveniente que se adapten las instrucciones bfaces para evitar las restricciones relativas al tipo de terreno (arcilla por exemple) o a la presencia excessiva de agua en el sueño (fuentes, escorrentias...). Con el fin de evitar cualquier excesso de humedad en su terreno, es necessario instalar un systema de drenaje bajo la piscina y alrededor de ella con la construccion de un pozo de descompresion. En todos los caseos, es necessitiesia la presencia de un systema de evacuation adaptado para evitar el estancimiento del agua con las posibles consecuencias de contaminacion del sueño incluo el deterioriro de la estructura (podredumbre de la madera, deformacion de la estrctura,...). Para garantizaruna planificacionde calidad,puede considerarse muy valiosa la informacion de un especialista.
NO MONTAR NUNCA EN: Terreno inclinado, desigual, arenoso, con piedras o blando.
MARCAR ZONA DE INSTALLACION
Unas esogida la zona de ubicacion de la piscina (que debe estar perfectamente nivelada) procederemos al marcaje. Para marcar el terreno ayuede de estacas de madera, destornillador, embardo (ó botella de plastico), harina o cal y una curda.
Se aconseja nivelar la superficie total necessaria antes del marcaje (que debe quedar centrado en el rectangulo correspondiente al modelo de la piscina) para que en el montaje se trabaje más como y con holgura.
Con el fin de evaporar cualquier excesso de humedad en su terreno, esnecessary instalar un systema de drenaje bajo la piscina y alrededor de ella con la construccion de un pozo de descompressiOn.
NIVELAR
En caso de nivelar el terreno nunca añadiremos tierra donde falta, siempre cavaremosonde sobra. De esta forma garantizaremos la estabilitad del terreno, su firmeza. Enequalier caseliminaremos todas las hierbas, raices, piedras, etc...El procesedeqinelado del terreno es muy importante, dediquele el tiempo y atencion necessarios para que su piscina se asiente perfectamente en el terreno elegido y evitará problemas.
como nivelar: Con reglas o " listones " de madera largos, situelos enterrandolos en la zona elegida y limpia, formando rectangulos (ó cuadrados) nivelados entre sí, por medio de una regla de albanil (aluminio) y un nivel. Cuando estén todos los " listones " a nivel y retirada la tierra sobre, podra rellenar, laspegñas zonas que falten de nivelar (con tierra limpia o arena) pero siempre compactando y nivelando a continuación. Es importante que quede bien firme para que no se hunde el terreno cuandoonga la piscina llena de agua. Consulte con un profesoal: Constructor, jardinero, etc.
Acabo: Encima del terreno limpio y nivelado esparciremos una Fiona capa (max.1 cm) de arena tamizada. Lo regaremos y compactamos (con un rodillo de jardín). Verificamos que esté bien nivelado. No usar la arena para nivelar el terreno. El acabado de ser perfecto.
Important: La instalacion de su piscina implica la construccion de una losa de hormigon armado con fibras o de mallazo soldado.
La RosaCEEDa estar perfectamente alisada y suavizada,para evitarrialquier imperfeccion.


Le recomendamos que acuda a un profesional para la construción de la rosa.
La losa de hormigón no está incluida.
Dosificado 350~kg / m3 (normalizo tipo C125 430)
Ref. WPCARR3 L: 3,81 x A: 3,81 x AL: 0,15 m - 2,19 m³ de hormigón.
INSTALACION PARCIAL O COMPLETAMENTE ENTERRADA
Según la naturaleza del terreno, es importante implantar un drenaje periféric y conectarle un pozo de descopresión. El pozo se cava antes de la construcción de la piscina porque pueda registrar igualmente que las excavaciones de llenen de agua durante lasoras. Debe estar cerca del vaso,unos centímetros por debajo del punto más profundo del本身就是 yootingara la superficie. El pozo de descopresión se situa en el lado más humedo. Despeña la direccion de sumidero en caso de infiltraciones de agua o de sueño arcilloso, partirando de que el agua sube de forma más rápida a工程技术 del tubo que del sueño.


1-Armazón de madera
2-Rollo de proteccion y de drenaje alveolar de PEHD
*En caso de instalar cualquier accesorio en contacto con la madera, es imprescindible colocar el rollo alveolar para una correcta proteccion.
TERRASSEMENT
ES DISPOSICION DE LAS TABLAS: Prepare las tablas «de prueba» formando la silueta del vaso.
COLOCACION DE LA PRIMERA FILA DE TABLAS: Construya la prima fila colocando las tablas (A22) y (B12) como muestra la figura 1. • Ajuste la forma de la piscina utilizing las dimensiones interiores en el plano de instalacion (ver paging 44). • El plano presenta las dimensiones interiores de la piscina para las distinctas diagonales opuestos.
FR DISPOSITION DES MADRIERS: Préparez vos madriers «a blanc» en formant la silhouette du bassin.
Tras colocar la primera fila, es imprescindible efectuar un control de las dimensiones interiores de la piscina. Para un montaje perfecto, las diagonales deben ser iguales y conformes al plano de montaje del final de este manual. Procure poter el mayor de los cuidados en la colocacion de esta第一条 fila de tablas. La precision de este montaje determina la calidad de realizacion de su piscina.

2a FILA DE TABLAS: • Colque las tablas de lasegunda fila conforme a la figura 2. • Para ensambar correctamente las tablas dispone de una cuna de madera en el paquete de estructura. No golpee las tablas directamente. Estropearla espigas y perjudicaria la solidez de la estructura. No golpee con una pieza metalica. Deteriorarla madera immediablemente • Procure ensambar profundamente las tablas desde el principio. NoDebe haber espacio entre cada fila para evitar un desajuste en las maderas superiores.

IMPORTANTE: Es importante que las tablas estén correctamente encajadas, sobre todo las de abajo (donde la presión del agua sera más fuerte). Es posible que se suelten someas tablas. Esto es completemente normal porque la mader es un material vivo. Incluso sueita, es posible colocar la tabla. Siga these pasos: Presente y enganche uno de los dos lados de la tabla. Redirija el otherado con ayuda de un cierra juntas. Encaje la tabla uyudandose de un mazo y de la cuña de madera.

DISPOSICION DE LAS ZAPATAS: •Cologne las zapatas en el centro del lateral de su piscina, apoyadas contra las tablas (figura 3). Apriete bien las zapatas a lo largo de las filas de tablas. •Perfore bien verticalmente la capa con ayud de un taladro dotado de una broca para hormigón de 0 10mm, emploando la zapata como patrón. La profundidad de la perforación debse ser al menos de 100 mm para garantizar una buena fijación. •Situe los pasadores de anclo (con arandelas y tuercas) en los orificios y golpeelos con ayud de un martillo. Clave COMPLETAMENTE los pasadores de anclo (solo debe verse la cabeza). •Aprietefirmamente en cruz las 4tuercas.

La colocacion de zapatas se realiza con un taladro una vez colocada la segunda fila de tablas. Apriete bien las zapatas a lo长大o de las filas de tablas.

Clave COMPLETAMENTE los pasadores de anclo (solo debe verse la cabeza)
TABLES ESPECIFICAS: Boquilla de impulsión: Coloque la tabla españica para la boquilla de salute (E12) situando el refrentado en el lado externo de la piscina.
ES La posicion de los tacos de mader y de los refuerzos estad indicada en el plano (Ver pagina 44).Tambien puee aplicar la escalera de mader para colocar los tacos de mader, vea el capitulo de la escalera.
TACOS DE MADERA ( 6x90)
A· Alinee la parte superior de los tacos de madera al nivel de la ultima tabla. Mantenga los tacos de madera en su lugar.
B· Perfore las tablas con una broca para madera des 0.6 mm situandose en el interior de la piscina.
- Fije primero los tacos de madera superiores y bajo los inferiores (en la 1^a y en la 2^a tabla). Compruebe sistematicamente que la parte superior del taco está bien alineada con la de la tabla.
- Procure que la cabeza del tornillo esté nivelada con la madera.
Para colocar elsegundo tornillo,onga en cuestion la longitud del本身就是 para evitar que sobresalga por la parte posterior.Colquelo lo mas cercano possible a la madera de la parte superior.
- Alinee la parte superior del refuerzo al nivel de la ultima tabla. Mantenga los refuerzos en su lugar. - Perfore las tablas con una broca para madera de 0 6 mm. Atornille en 2 tiempos, situándose en el interior de la piscina. - Fije primero los refuerzos superiores y bajo los inferiores (en la 1^a y en la ultima tabla).
- Compruebe la verticalidad de los refuerzos. - Termine el ensamblado de los refuerzos colocando 1 tornillo por tabla y corrija las posibles deformaciones de la madera (tablas). Compruebe sistematicamente que la parte superior del refuerzo está bien alineada con la de la tabla y que lackeza del tornillo está nivelada con la madera.
FR RENFORTS (6x90)
-
Presente el embellecedor L sobre los extremos de las tablas. Corte el exceedente de embellecedor segun la alta del vaso si es necessario (figura 6).
-
Fije el embellecedor L con ayud de 3 tornillos 4 × 60 partidos homogeaneamente sobre la alta (figura 7).
El ensamblado de la estructura propiamente dicha está terminado. Solo quedaría colocar las playas (ver el capitulo playas).
En este momento debe tener:
- El skimmer posicionado de cara a los vientos dominantes. - El panel de la estrctura sobre el que se colocará la escalera desmontable elegido.

CACHES L (4x60)
EMBELEZADORES L (4x60)
Primero tendrá que hacer una pieza en forma de "U". Esnecessary FIRar los 3 listones mas finos (22mm de espesor) usingo de 3 tornillos por cada lado, como se muestra en las fotografias A y B.
Siempre es aconsejable usar una broca del tiempo apropiado antes de atornillar las piezas. Cuandoonga construida la pieza "U", colóquela contra la piscina tapando la cuña metálica como en la Foto C. Observará que hay una parte de la cuña metálica que queda visible.
Para ocultar esta parte, colque los refuerzos verticales alineados siempre con la parte superior de la piscina (photo D) y atornillelos en primer lugar desde el interior de la piscina con tornillos 6 x 90 (preferiblemente 1 tornillo por tablon) y en segundo lugar contra la pieza "U" como en la Foto E (3 tornillos de 4 x 60 repartidos en la alta de la pieza). Debe quedar como en la Foto F.

Consulte los planos ( 4x40) (Ver pagina 44).
La escalera de madera se incluye para acceder a la piscina. No la utilizes parathers fines.
Monte la escalera de madera y usea como patrón para determinar la separación de fijación.
Fije las abrazaderas en los montantes de la escalera con tornillos 4 × 40 .
Cologne los bucles en el extremo del brocal con tornillos 4 × 40 manteniendo la separacion de la escalera de madera.
Inserte la escalera de madera en los bucles.
Peso maximalo admitido = 150kg
Retire OBLIGATORIAMENTE la escalera antes de cada uso de la piscina.
Según la.altura del vaso,puederesultar necessario unrealjuste de la escalera.
Recorte las zancas de la escalera consultando las dimensiones de la en la parte baja de la zanca de la escalera y sierre la parte que quiere
retirar. (a)

Consulte os planos (4x40) (Ver网页 44).
Peso máximo admitido = 150kg
Retire OBRIGATORIAMENTE a escada(before de cada uso da piscina.
En caso de que la piscina se enquiryrmente enterrada es necessario recortar la escalera para adaptarla a su piscina. Por motivos de
seguridad, si el espacio entre el sueyo y el primer escalon se sitúa entre los 89 y los 230 mm (cota A), se cierra este espacio fijando el peldano de la escalera que no se utilizes de tal forma que la cota B sea inferior a 89 mm. Paraarlo, haga lo suiviente:
1- Reduzca la longitud del escalon 12mm
2-Si la dimenion A es inferior a 140 mm, reduzca el ancho del escalon de tal forma que cuando se instale el escalon el espacio bajo este este Completely cerrado.
3- Monte el escalón modificado en la escalera como muestra el esquema superior, procurando precortar la zanca de la escalera.
FR
Dos posibilidades para instalar la manta protectora de pared.
- Pegue el adhesivo de doble cara panel a panel, alineandolo por la parte superior de las tablas superfiores (figura 9). Si la madera está un poco humeda o Tiene polvo, pueda suavizarla con una lija para poder la adherencia.
- Compruebe la limpieza de las paredes y del suelo. Retire tornillos, costras, virutas, serrin...
- Desenrolle la manta alineandola por el borde superior de las tablas superiores (figura 10).
- Corte el exceedente de manta y elimine los posibles pliegues.
GRAPADORA (NO INCLUIDA)
Grape el extremo de la manta comenzando por una esquina.
- Desenrolle la manta alineandola por el borde superior de las tablas superiores.
- Coloque una grapa cada 20cm (figura 11).
- Corte el exceedente de manda y elimine los posibles pliegues.
- Guarde el excesso del tapiz de la pared. (Puede ser besoino para el fondo).

ES Empiece por colocar la manta protectora de fondo que debe cortarse del rollo incluido.
- Desenrolle la manta teniendo en cuenta como ha elegido orientar la piscina. (Es mejor utilizar tjera en lugar de cuter)
- Junte las piezas sin que se superpongan.
- No doit plieques
- Una las piezas por los bordes con cinta adhesiva de una cara.
- Si su piscinaiene algoza zona de la pared sin cubir con la manta, aproveche ahora al colocar la manta del fondo y súbala un poco por la zona inferior de la pared. Así el liner quedará bien protegado.
El skimmer es el punto de aspiracion de agua de la piscina hacia la filtracion. Su posicion de cara a los vientos dominante permite recuperar los posibles residuos a flote en la superficie del agua (polvo, hojas...)
INSTALLACION
- Corte la manta con un cúter. El corte sera superior al orificio (radio del orificio + 2 cm).
- Fije la primera junta de estanqueidad (junta plana) en el cuerpo del skimmer

La boquilla de salute sirve para introducir agua filtrada en el vaso. Atraviesa la pared por el orificio reservado en la tabla precortada. INSTALACION
- Localice la ubicacion del orificio para la boquilla.
- Haga un corte en cruz en la manta desde el interior de la piscina.
- Corte la manta con un cúter. El corte está superior al orificio (radio del orificio + 2 cm).
La toma de limpiafondos del skimmer solo se usa para el mantenimiento de la piscina.
ES AJUSTE Y FIJACION DE LOS LISTONES (4x40): Presente el liston del liner. Perfore el liston con una broca de 4 mm empezando a 50 mm del borde. Atornille el liston al nivel del borde de la tabla superior mediante los tornillos (4x40). Reparta homogeneamente los tornillos por el liston. Proceda de la misma forma en el resto de paneles. Con ayud de una sierra para metal, corte el exceedente de liston. Seguin vaya cortando los perfiles blancos a la medida correcta para sujetar el liner, el sobrante seranecessary para seguir instalando otherdo de su piscina.
No perfore previamente las tablas.
El número de series se incluye en la etiqueta de la caja
ES - Limpie la estructura interior de la piscina (granos de arena, tornillos...) con un aspirador si es Needed.
- Compruebe que la junta del skimmer está en su lugar. Coloque la trampilla en el interior del skimmer.
- Localice en el fondo o pared del liner y apunte el N° de series en el recuadro de la hora de instrucciones para posibles reclamaciones*
- Compruebe que ningunacede tornillo sobresale de la madera.
El liner debár haber pasado al menos 24 horas a una temperature ambiente de 20^ como minimums ante de su colocacion. Las dimensiones del liner son unos centimetros mas cortas que las medias interiores del vaso, para lograr una instalacion tensa del liner. Es imprescindible que la colocacion del liner se efectue a una temperatura exterior de 15^ como minimo. Es altoamente recomendable exponer el liner al solunas horas ante de su montaje, de manera que se flexibilice para facilitar su colocacion. Es obligatorio guardar la pegatina con el numero de series presente en el liner. Para qualquier satisfitud eventual de asuncion de garantia, se exigirae este numero de series.
INSTALACION (Es imprescindible Ilenar la piscina con agua antes de colocar las playas)
Para realizar este paso es besoino que se descalce, para no darar el liner.
A Entre en el interior de la piscina, ya descalzo.
B Colque el liner en el centro de la piscina (figura 12) y desplieguelo partiendo de ahí (figura 13). Reparta homogeaneamente la holgura entre las medidas del liner y las de la estructura por toda la extension.
Alinee correctamente los ángulos inferiores del liner (ángulos de los cierrés del fondo) con las esquinas del vaso (figura 14).
D Inserte el perfil de enganche del liner en el liston (figura 15).
El liner deber haer pasado al moins 24 hrs a un temperatura ambiente de 20^ como minimo antes de su colocacion. Es imprescindble que la colocacion del liner se efectue a una temperatura exterior de 15^ como minimo.
Para mover el liner ya colocado, deslccelo por el liston. Si resulta muy dificil, se possible retiring el liner levantandolo para no darar el empalme. Cerciorese de que el liner está bien posicionado tanto en el fondo como en las paredes, ajuste uniformamente la tension del mesmo (con la punta del pie, empuje el liner por sus ángulos hacía las esquinas de las paredes) (figura 16).
F Rellene la piscina de aguaunos 2 centimetros (figura 17). Para poderla colocacion del liner, espreferble que el agua no este muy fria.
G Alise el fondo del liner para evitar pliegues empezando desde el centro hacia los extremos.Continue llendo la piscina. Si continua haberido pliegues, corrija la tension del liner en las paredes deslizandolo por el peril de enganche. (Los pliegues obliuos en la pared indican un posicionamento incorrecto.) (figura 18).

Resulta imprescindible que los ángulos del liner correspondan con las esquinas de la estructura del vaso.
Una vez colocado el liner, continue llenando la psicina hasta 10cm bajo la boquilla de impulsión.
Unas semanas despues del lienado, el liner presentaun color diferente entre la parte sumergida y la que está al aire. esta decoloracion es normal y no pone en riesgo la solidez y/o las caracteristicas del liner. Para evitar que aparezca unamarca oscura debida a la contaminacion atmosferica entre la parte sumergida y la parte al aire libre del liner (denominada linea de agua), le recomendamos limpar regularmente el liner en esta zona con un limpiador especialico.

Esta vista transversal在哪o liner colocado no angulo
En las piscinas enterradas o semienterradas, es indispensable un terraplenado de grava para favorecer el drenaje periférico. El terraplenado de la piscina suepe paece una mera formalidad, porque a prima Vista no plantea dificultades tecnicas especiales. Sin embargo, es una operacion mas delicada de lo que parece para la que hay que tomar determinadas precauaciones. Un terraplenado incorrecto pueda dar lugar a deterioros posteriores en la piscina y en sus inmediaciones. Conviene prestar atencion al tipo de material utilized y realizar todas las verificaciones imprescindibles. Antes de realizar el terraplenado, es importante:
Slab-Losa de hormigón
Dalle • Platte • Basamento
Empezar a llenar de agua la piscina, deteniendo el lienado a uno 4 cms del borde inferior del orificio de la valvula.
Marcar el orificio con un rotulador (4) y hacer un corte en cruz en el centro del orificio (B) conridge de un cuter (CUCHILLA) sin rebasar el agujero del troquel.
Des el interior de la piscina introducir por el corte, la valvula de returno (No 1) con uno de los anillos de friccion (No 2) y una de las juntas (No 3).
Los trozos de liner que asomarán por la parte exterior de la piscina deberán cortarse de forma limpia y ajustada. La other junta (No 3.1) se coloca desde el exterior, doblandola y pasando el panel, para que quede en contacto con el liner y panel. Coloque el other anillo de friccion (No 2.1) y apretar firmamente con la tuerca (No 4).
Insertar la manguera de returno, que va desde la toma de salute de la depuradora, hasta la boquilla de returno y sujetarla con la abrazadora.
Important: Antes de poner la manguera, introduzca el embellecedor.(No 5)
Asegurase que la valvula del equipo depurador permanece en posicion de CERRADO (Closed).

Instale la filtración antes de proceder con los cortes delliner.

SKIMMER
MONTAJE DEL SKIMMER
Antes de instalar el skimmer a la piscina se debe instalar el Conjunto compuerta en la boca del skimmer. Seguidamente colocar la junta (No 5) tal como se indica en A.
FIJACION DEL SKIMMER
Continuar llnando de agua la piscina hasta que alcance un nivel de 4cm. por bajo del troquel del skimmer de la madera de la piscina. Recortar el liner con un cuter (cuchilla) siguiendo el marco del troquel.
1-Cuerpo de la boquilla
2- 2.1 Junta plana redonda
3-3.1 Junta
4-Tuera del cuerpo de la boquilla
5-Embellecedor

A


B
C

- Antes de proceder, cerciorese de que la trampilla del skimmer está bien direccionada.
- Marque con un rotulador la posicion de los tornillos de fijacion sobre el liner.
- (B) Colque la segunda junta plana cuadrada (5.1) y después la brida (6) contra el liner, alineando los orificios con las MARAS de ubicacion de los tornillos.
- Fije la brida (6) sobre el liner con los 10 tornillos (7) empezando por la parte inferior (C). La presión de los+puntos de fijación sobre el linerDebe ser constante (sujeción en cruz)
- Los tornillos roscarlos solo un poco al principio, para verificar el correcto encaje, finalmente aplterlos firmamente, sugiuendo el order indicado en C
- Fijar a presión la tapa embrulcédora No 6.1, teniendo la precaución de colocar las marcas de nivel en la posición adequada. (D)
- Enrosque el conductor acanalado (11) previamente equipado con Teflon en el cuero de la boquilla, por el lado exterior del vaso. (E)
- Corte el liner con un cuter por el interior del skimmer.
- En este momento debe instalar la filtración.

1-Tapa skimmer
2-Tapa aspiración
3-Cesto
4- Conjunto compuerta
5- Junta
6-Brida 6.1- contapa
7-Bolsa tornillos (2 DIN 7981 4,2X16 y 10DIN 7983 4,8X25)
8-Valvula returno
9-Tapon de invernaje
10- Llave
11-Adaptador demanguera

D


E






BUSE DE REFOULEMENT
FISSAGGIO DELLO SKIMMER
CONSEJOS DE MONTAJE: • La filtración deberá situarse a un minimo de 3.50 m de la piscina.
Los esquemas a continuación pretenden explicar el sentido de circulación del agua. Consulte el manual incluido con el grupo de filtración para realizar el montaje. Note: Rellene el filtro con 2/3 of de agua limpia y calibrada; solo se suministra un calibre, garantiza el buena funciona en la filtración. (1) Los colores y las conexiones de los sistemas de filtración peuvent variar según los modelos. Consulte el manual spécifique.
La trampilla multidirectional determina un sentido de circulacion. Las marcas «PUMP» «RETURN» «WASTE» estan grabadas en las entradas y en las salidas de la trampilla. La instalacion de todos los sistemas electricos debe complir con la norma NF C15-100.Consulte con el fabricante qualier modificacion de uno o de various componentes del systema de filtracion. La bomba de filtracion no se debe situar por encima del nivel del agua porque corre el riesgo de desactivarse.
Todas las conexiones roscadas deben montarse con la cinta estanca de Teflon incluida *, excepto las conexiones con junta tórica. El Teflon debe enrollarse en sentido contrario a la rosca.
TERRAPLENADO: Termine de llenar la piscina. El nivel de agua se situara entre el tercio superior y la mitad de la boca del skimmer.

Es el mas antiquo de los sistemas de filtracion. El agua filtrada pasa a工程技术 de la arena (silicio calibrado) que retiene todas las impurezas. Este tipo de bajo está equipado con una trampilla multidirecctional que permit las manipulaciones y las limpiezas con calidad.
DIFFERENTES POSICIONES DE LA TRAMPILLA MULTIDIRECCIONAL (4 0 6)*: Cuando se realizen ambios en la posicion de la trampilla multidireccional la bomba debe estar sempre detenida, sin que se corra el riesgo de dañar gravamente el filtro y se anule la garantía.
- POSICION FILTRACION (O FILTER): Posicion habitual de la trampilla que permite que el agua precedente de la bomba entre por la parte superior del bajo y circule a travers de la arena,onde se recogen todas sus impurezas.El agua se recoge en la rejilla del fondo y se devuelve a la piscina.El manometro situado en la parte superior del bajo le permitte controlar la presion.En caso de que aunnte 0,2 bares respecto a la presion de puesta en service, sera necessario limpar el bajo.
- POSICION LAVADO (O BACKWASH): Posicion de limpieza de la arena. Permite que el agua circule en sentido inverso en el bajo. El agua entra por la parte inferior del bajo y hace que se levante la casa filtrante y por lo tanto se recojan sus impurezas que, al ser mas ligeras que la arena, se evacuan por la parte alta del bajo hacia el desague. esta operacion deberá durar entre 2 y 3 minuto.

- POSICION ACLARADO / DESAGUE DEL FILTRO** (O RINSE): Operacion que sigue al lavado del filtro. Cuando se ha limpiado el filtro, es imprescindible aclarar y volver a aplter la masa filtrante. En esta posicion el agua circula por el filtro como durante la filtracion pero se evacua por el desague en la salute del filtro.Esta operacion se debe efectuar entre 20 y 30 segundos.

- POSICION VACIADO / DESAGUE (O WASTE): Posicion para evacuar el agua o para vaciar el vaso. En este caso, el agua no的那一 por el bajo, sale directamente por el desague.

- POSICION CERRADA (O CLOSED):Esta posicion no permite que el agua pase y se utilizes para poder la piscina en invernaje completo cuando se detiene la filtracion.

-
POSICION RECIRCULACION / CIRCULACION*: Posicion empleada para que el agua circule por la red hidrúlica sin pagar por el filtrto.Esta posibiliad se emplee a repolver el agua si debe añadirse un producto en la piscina o si se debe efectuar una operation en el filtrto, dato que en este caso el filtrto está aislado y el agua procedente de la bomba se expulsa directamente.
-
Algunos modelos seentaçanuna trampilla de 4 vias (opciones disponibles: Filtracion, Lavado, Vacido/desague Cerrado o invernaje).
把这些位置名的名称都用在表中。

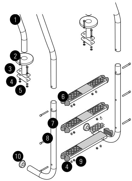
ES PLAYAS: (Es imprescindible llenar la piscina con agua antes de colocar las playas. Está prohibido sentarse o andar encima de las playas. Cualquier rotura no está cubierta por la garantía.)
Los extremos de las playas estan cortados a 90^ . Consulte los planos ( 4x60) (Ver pagina 43-44).
PREPARACION
-
Antes de fjjar la playa, proceda a posicionar todas las láminas de prueba (sin atornillarlas).
-
Deje que la playa sobrepase hacel interior (para crear un «rompeolas»). Preste atencion a las astillas que能把aparecertras las operaciones de corte y fijacion de las playas. Elimine dichas astillas con lija (no includa).
FIJACION
- Es necessario perforar previamente las playas con una broca para madera de 0.4 ~mm para encontrar una fijacion firme y durdera en los refuerzos. Para el montaje, utilise los tornillos inox 0.4 × 60 ~mm que deben atornillar obliquamente (en caso de los exteriros) al fondo de las ranuras.
- Cuando haya ajustado todas las playas, continue con el nivelado empezando por un solo punto en el centro de los mismos.
- Termine el nivelado en todas las playas.
Os extremos do bordo está cortados a 90^ . Consulte os planos ( 4x60) (Ver página 43-44).
PREPARACAO
ES A.- Ensambar Los pasamanos superior (1) e inferior (10) mediante la embutacion, fijandolos entre si con los peldanos (9) y estas al pasamano con los tornillos (11), las tuercas (8) y las arandelas (7) correspondentes. (Fig.19)
B.- Montar los topes (12) del pasamano, para evaporar que la escalera pueda causar desperfectos a la piscina.
C.- Una vez montada la escalera, presentarla en la piscina y realizar quatre taladros 9mm utilizinga plantina como plantilla.
D.- Fijar contrapletina (6) mediante los tornillos (3), las arandelas (4,7) y tuercas (8) con la llave 12-13. (Fig.20)
E.- Montar las tapetas embellecedoras (2).

Fig. 19/Abb. 19/Afb. 19




Durante el primer uso es obligatorio realizar un lavado del filtró (consulte el mantenimiento del sistema de filtración). La filtración es un tratamento mecánico que permite limpiel agua de la piscina mediante la eliminacion de las impurezas y de las particas contaminantes. El conjunto del circuito hidráulico y del grupo de depuración del agua es un elemento esencial para el buena functionamento del sistemas de filtración. El Sistema de filtración debe ser coherente: Las dimensiones del filtró deben ser proportionales al volumen de agua de la piscina y al rendimiento de la bomba. La filtración no es antibacteriana. Por lo tanto, es obligatorio añadir un producto (o un sistema) de desinfección del agua.
TIEMPO DE FILTRACION:
Durante la temporada de uso del kit de piscina, se debeponer en functionamento elsystema de filtracion diario, durante el tiempo suficiente para garantizar una
renovación completa del volumen de agua. En teoría, se realiza elsignificante calculo:
(T^ del agua / 2) = número de horas de filtración
A dato, la practica的结果4 horas antes y 4upon del cénit.
Se desaconseja el funcionaamento intermitente (parada y arranque cada hora) porque no se renovara todo el volumen de agua.
El skimmer aspira el agua de su piscina (este elemento, y especially los cestillos que recogen las hojas y other impurezas grandes, deben estar muy limpios). El agua se dirige entoces a工程技术 de las tuberías para pagar a una bomba con prefiltro * (ahío other cestillo filtras las impurezas medianas, por lo que su limpieza es esencial para un buen configuracion).
| TEMPERATURA AGUA | DURACIÁN FILTRACIÁN 1 DÍA |
| 15 a 18°C | 8 horas |
| 19 a 21°C | 10 horas |
| 22 a 25°C | 12 horas |
| 26 a 28°C | 14 horas |
| 28 a 30°C | 19 horas |
| + de 30°C | 24 hours |
La bomba propulsa el agua hacía un filtro que retiene todas las impurezas en suspensaocracias a su material filtrante. Este filtros es de arena. El agua ya filtrada vuelva a la piscina. Se pueda manejar, programar y proteger este Conjunto mediante una unidad electrica (optional).
El agua de su piscina debe someterse a un tratamento fisico y quimico para mantener su transparencia y para garantizarle un bano completenesse seguro.
No se aconseja llenar la piscina con agua de pozo, paraatar todos los riesgos de reacion quimica y de coloracion del agua.
SIEMPRE DEBE CERCIORARSE DE QUE:
- El nivel de agua es el correcto: es decide, ligeramente por encima de la mitad del skimmer.
- Los cestillos del skimmer y del prefiltro de la bomba está limpios.
- El circuito hidráulico está controlado y las posiciones de las trampillas verificadas.
- Se puedaponer en marcha la filtracion y controlar la presion con el manometro (en funcion del tipo y de la posicion del local technician a la piscina).
PROHIBIDO ACCEDER A LA PISCINA EN CASO DE QUE EL SISTEMA DE FILTRACION Este DETERIORADO
- Según modelo
MANTENIMIENTO DEL SISTEMA DE FILTRACION
LIMPIZA DEL FILTRO
Effectue este procedimerto cada zv que precise limpar el filto. Cuando la presion aume 0,2 bares respecto a la presion de pesta en service es necasario proder a un limpieza como se explica a continuacion. Cerciorese de que se ha instalado correctamente el tubo de vaciado (no inclido) en el colector de la trampilla multidireccional, de forma que permita la evacuation de agua cuando se lave la arena o el filto.
-
Detenga la filtración.
-
Ponga la trampilla multidireccional en la posicion LAVADO.
- Ponga en marcha la filtración ycede que functions de 2 a 3关键时刻.
- Detenga de nuevo la filtración,pongla trampilla multidireccional en posicón ACLARADO y vuelva aponer en marcha la filtración durante 30 segundos.
- Detenga la filtración yonga la trampilla multidireccional en posición FILTRACION.
- Vuelva aponer en marcha la filtracion y compruebe que la presion es la correcta.
LIMPIZA DEL VASO
Con un limpiafondos manual
1. Conecte el tubo al limpiafondos.
2. Introduzca el limpiafondos en el agua.
3. Rellene el tubo de agua situándolo ante una boquilla de salute.
4. Colique elOTHERextremen en la toma limpiafondos.
5. Debe pagar el limpiafondos lentamente (para evaporar que se levante el polvo) y sin sacarlo del agua, para evaporar que la bomba se desactive.
6. Cuando haya terminado la limpieza, limpie el filtro antes de colocarlo en su posicion habitual.
RECOMENDACIONES:
- Es obligatorio comprobar que los orificios de aspirado no está obstruidos.
- Es obligatorio detener la filtración durante las operaciones de mantenimiento del sistema de filtración.
- Compruebe periodicamente el nivel de engraso del filtro.
El mantenimiento y el ivernaje del filtró de arena precisa de evacuaciones de agua. Es imprescindible prever las evacuaciones para la instalación del grupo de filtración.
TRATAMIENTO DEL AGUA
Cualquiera que sea el planta de filtracion aplicado, es necessario tratar quimicamente el agua de la piscina para destruir las bacterias y los microorganismos y para evitar el desarrollo de algas. Se pueda utilizear various productos de esterilizacion, como el cloro, el bromo, el oxigeno, etc.
Solicite asesoramento a un vendedor de produits de tratamento para piscinas paraizaruna decsion. En primer lugar, hay que vericar el nvel de pH mediana un equipo de analis. Preste atencion a que los botes de test solo son validos un ao. El nivel ideal este entre 7,2 y 7,4 en cui to al pH y en 1,5 respecto al CLORO. Rectifque este nvel mediante correctores de pH (aumentadores y minoradores). La cantidad de products es proportional a la cubicacion de su piscina. Para el tratamento de su vaso, consulte las indicaciones que aparecen en el producto que haya elegido para su piscina. pH (potencial de hidrrgeno):
Es obligatorio mantener sempre el pH del agua entre 7,2 y 7,4 porque por debajo de these valores el agua se vuye corrosiva (debido a su acidez) y deteriorara

rapidamente las piezas metálicas de su piscina. Por encima de"These values el agua es báscia y reduce en gran medida la'action del tratimiento.
Nunca introduzca pastillas de cloro directamente en el vaso. Se «quemaria» elliner.
CONSEJOS DE SEGURIDAD
Antes de instalar y de usar la piscina, lea atentamente la informacion recogida en el presente manual, asimilela y cumplala. Los announcements, las instruaciones y las consignas de seguridad hacer referencia a algunos de los riesgos más habituales relativos al ocio en el agua, pero no cubren la totalidad de riesgos y delicros que se pueda presentar. Tenga prudencia, sentido crtico y sentido comun al practicar本次活动as acuaticas. Guarde esta informacion para poderlas consultar posteriormente.
Sin tener en cuenta los materiales usados para la construccion de la piscina, las superficies accesibles tienen que ser revisadas regularmente paraninger lesiones.
Seguridad de quienes noiben nadar:
Siempre se necesita la vigilancia atenta, activa y continua por parte de un adulto responsable sobre los niños que noaben nadar o no lo hacen bien (tenera en cuenta que el riesgo de ahogo más elevado lo presentan los menos de cinco años).
- Procure que unadulto responsable vigile la piscina cada vez que se utilizes.
- Resulta conveniente que los niños que noaben nadar o no lo hacen bien@cuenten con equipos de proteccion individual cuandoutilicen la piscina.
- Cuando no se utilise la piscina o esta se enquiryre sin vigilancia saque todos los juguetes de ella para evitar que los niños se acerquen a ella.
Dispositivos de seguridad
- Es recomendable instalar una barrera (y, en su caso, instalar elementos de seguridad en puertas yVentanas) para evaporarrialquier acces no permitted a la piscina.
- Las barreras, las cubiertas, las alarmas para piscinas o los dispositivos de seguridad análogos resultan útiles pero no sustituyen la vigilancia continua por parte de unadulto responsable.
Equipamente de seguridad
- Se recomienda disponible de material de salvamento (una boya, por exemple) cerca de la piscina.
- Tenga un téléphone en perfecto estado y un lista de nombres de urgencias cerca de la piscina.
Uso seguro de la piscina
- Anime a todos los sistemas, en especial a los niños, a;aocrer a nadar.
- Aprendia Tecnicas de salvamento (reanimacion cardiopulmonar) yactualice periodicamente sus conocimientos. Estos gestos能把 salvar una vida en una urgencia.
- Explique a los usuario de la piscina, también a los niños, qué procedimiento deben seguir en caso de urgencia.
- Nunca se tire a piscinas pouco profundas, dado que pueda sufrir lesiones graves o mortales.
- No utilise la piscina tras haber ingerido alcohol o medicamentos susceptibles de reducir su capacité de hacerlo en conditiones de total seguidad.
- Si la piscina está tapada por una cubierta, retirela Completely de la superficie de agua antes deentr.
- Trate el agua de su piscina y establishezca buena prácticas de higiene para proteger a los usuario de enfermedades relacionadas con el agua. Consulte como tratar el agua en el manual de instrucciones.
- Mantenga fuera del alcance de los niños los productos químicos (productos de tratimiento del agua, de limpieza o de desinfección, por exemple).
- Es obligatorio colocar los pictogramas incluidos en una posicion visible a menos de 2 m de la piscina.
- Coloque las escaleras móvil en una superficie horizontal.
ATENCLON:
Todo aparato alimentado en 220 V, deben situarse por lo menos a 3,50 m del borde de la piscina.
El equipo se debe conectar a una toma de corriente, con connexion a tierra, protegida con un interruptor diferencial (RCD) con una corriente de configuraciono residual asignada que no exceeda de 30mA .
Lea attentamente las instrucciones y guardelas para
futures consultas.
SI TIENE ALGUN PROBLEM, ..CONSULTENOS!
CONSULTAS:
Efetue este procedimento cada vez que precise delimar o futuro.
Dispositivos de seguranca
MANTENIMIENTO HABITUAL
RESPETA EL MEDIO AMBIENTE
«NO DESMONTE LA PISCINA SI NO ES ESTRICTAMENTE NECESARIO. EN CASO DE HACERLO, LE ROGAMOS REUTILICE EL AGUA. EL AGUA ES UN BIEN ESCASO».
- Durante la temporada de uso de un kit de piscina ponga a funciona el Sistema de filtracion una vez al día para asegurar un renovacion completo del volumen de agua y siempre cuando no se este utilizes la piscina para el bano (ver manual de la depuradora).
- Durante la temporada de uso de la piscina verificar regularmente el nivel de obstruccion del medio filtrante.
- Revisar toda la tornillería de la piscina, los posibles+puntos de corrosión en la medida que sea possible.
- El nivel de agua de la piscina debe mantenerse siempre como minimo a 15 cm del borde superior de la misma.
- Nunca vacie totalmente la piscina. Corre el peligro de darar gravamente la estuctura de su piscina si no hay nivel suficiente de agua.
- El hecho de no respetar las consignas de mantenimiento possible occasionar riesgos graves para la salute, especially para los niños.
- La uso de un kit de piscina implica el respeto de las consignas de seguridad descritos en la guía de mantenimiento y uso.
- No dejar un kit de piscina para colocar sobre el suejo en el exterior vacio.
- Limpie regularamente el Liner P.V.C. y la linea del nivel de agua con productos no abrasivos. Limpiar periodically el pliegue de unión del fondo con el lateral del liner ya que es una zona de acumulación de sociedad. Si Ud. por accidente hace un(PCu) agujero en el liner, pueda repararlo con nuestros parches AR202 o V12.
- Las cubiertas de verano (isotérmicas) protegen su piscina de insectos, polvo, hojas, etc. y evitan la perdida de temperatura del agua. Colóquela siempre con las burbujas en contacto con el agua.
INVIERNO:
1-Limpiar el fondo y las paredes del liner con un producto no abrasivo.
2- Tratar el agua con producto químico de invernaje. Se recomienda el uso de INVERNADOR LÍQUIDO en lugar de boyas con producto solido para estar las decoloraciones delinear
3- Dejar la piscina llena de agua, teniendo en cuenta:
a) Para piscinas con skimmer y valvula de returno nivel de agua, 5 cm por bajo del skimmer y cerrar la valvula de returno con el tapón de rosca que se adjunta con la depuradora.
b) Para piscinas con valvulas de admisión y returno nivel de agua a 20 cm del borde superior de la piscina, cerrando las valvulas mediante el sistema de rosca que incorporan.
4- Desconectar las mangueras. No desmontar el skimmer ni las valvulas.
5- Proteger la piscina con una cubierta de invierno, colocando un elemento flotante entre esta y el agua, con el fin de protegerla contra el frío.
6- Depuradora: disconectarla de la piscina. Limpiarla, vaciar la arena o sacar el cartucho, secarla y guardarla en un lugar cubierto y sin humedad.
7- Accesorios: guitar todos los accesorios (escalera, alarma, bajo, perteiga,...), limpiarlos con agua dulce y guardarlos.
NUEVA PUESTA EN MARCHA: Quitar la cubierta de invierno, instalar la depuradora,Cambiar al menos 1/3 del agua y realizar una Cloracion de Choque. Poner la depuradora en functionamento al menos durante 8 horas ininterruptidamente.
MEDIOS QUIMICOS:
Lea con atencion las instrucciones del fabricante del producto quimico. ATENCLON: Guarde los productos quimicos en un lugar limpio, seco y fuera del alcance de los niños. Importante:
Todoos productosutilizadosdebenser compatiblesconeliner deP.V.C.
- Primer Ilenado: Analizar el pH y Cloro (Cl) del agua y ajustarlos a los nivelesolestimos:pH:7,2-7,6;Cloro:0,5-2 ppm.
- Cloración deCHOque: Consiste en augmentar el nivel de cloro hasta 20 ppm aprox. para eliminar las bacterias y algas. Sólo la realizaremos cuando el agua de la piscina provenga de ríos, estanques,... o lleve mucho tiempo sin tratamiento.
- Controles: Revisar, al menos una vez a la hora, los niveles de pH y Cloro. (Utilice un analízador de Cloro y pH). Asíimilar, deben tener Algicida para prevenir la formación de algas.
Nunca bānarse hasta que se estabilice el nivel de cloro. Utilizar siempre un Dosificador flotante para la disolución del producto químico (pastillas). La dosificación de los productos químicos se hace en función de: El volumen de agua de su piscina, la Frequencia del违法违规o, las conditiones climáticas, temperatura del agua y Shedeción. Siempre remove el agua y esperar a la disolución de un producto químico antes deañadir otro. Espere más o menos 12 h. entre cada ajuste de pH, de Cloro, o de antialgas能做到 configurar el sistema de filtración.
MEDIOS MECÁNICOS:
Comprobar que la depuradora, skimmer, valvulas y mangueras estén correctamente connectadas a la piscina. Tenga en cuenta que a mayor temperatura del agua necessitará más tiempo de filtración. Tiempo filtración teórico = Volumen de agua / Caudal del sistemas de filtración (generalmente 8 h/día con la temperatura del agua a 21^ ), (Ideal: 2 h. por lamania - 4 h. a medio día - 2 h. por la tarde). Respete los periodos en continuo indicados en los manuales de las depuradoras.
LIMPIA FONDOS POR ASPIRACION (MANUAL O AUTOMÁTICO):
Solo para piscinas con skimmer. Conectar un extremo de la manguera del limpia fondos a la barredera y sumergirlo en el agua para que se llene la manguera. Conectar el othero extremo de la manguera a la Tapa de Aspiracion (TA) y situarlo encima del cesto del skimmer. Poner en marcha la depuradora en posicn FILTER y comenzar a limpiar el fondo. Especial atencion a zonas con plieguesonde se acumule la socidad.
LIMPIA FONDOS TIPO VENTURY:
Acoplar una manguera de jardín al casingal del limpia fondos e introducirlo bajo de la piscina. Abrir el grifo a una presión normal para que el agua fluya contra el fondo de la piscina, produciendo una corriente ascendente que deposita la suciedad en el bajo que incorpora el limpia fondos.
| EFFECTOS | CAUSAS | REMEDIOS |
| Agua turbia verdosa | ·Filtro sucio ·pH incorrecto ·Formación de algas | ·Lavado del filtró ·Reajuste ·Tratimiento de如何去que |
| La bomba no arranca | ·Disyuntor saltado ·Fusible quemado ·Turbina bloqueada | ·Volver a encenderlo ·Sustituirlo ·Comprobar que el ventilador detrás del motor gira |
| La bomba gira pero no descarga | ·Trampillas de aspiración cerradas ·El skimmer aspira aire ·Prefilterto lleno ·Toma de aire en la cubierta ·Turbina defectuosa | ·Abrirlas de nuevo ·Rectificar el nivel de agua ·Limpiarlo ·Comprobar la junta yCambiar la cubierta prefiltro ·Cambiar la turbina |
| El skimmer no aspira | ·Cestillo lleno ·Trampilla mal cerrada ·Nivel de agua demasiado bajo | ·Vaciarlo ·Abrirla ·Reajusterlo |
| Agua sucia devuelta a la piscina | ·Filtro obstruido | ·Lavarlo, aclararlo |
| Presión del manómetro demasiado alta | ·Lavado del filtró mal realizado ·Trampilla de salute cerrada | ·Repetirlo ·Abrir la trampilla,controllerel estado de la arena (cambiárla cada 3 o 4 años) |
| El limpiafondos no aspira o aspira poco | ·Prefilterto obstruido ·Trampilla correspondiente cerrada ·Tubo desgastado o perforado ·Aire en los tubos ·Otras trampillas abiertas ·Filtro sucio | ·Limpiarlo ·Abrirla ·Sustituirlo ·Purgar yesperar alcebado ·Cerrarlas ·Limpiarlo |
| Marcas de corrosión | ·pH muy bajo | ·Aumentar el pH a 7,2-7,4 |
| Arena en el vaso | ·Rejilla rota ·Manipulación de la trampilla multideccional con la bomba en funcanta-miento ·Filtración conectada alcontrario. Se han invertido las tuberías en el montaje. | ·Cambie la rejilla ·Cambie la trampilla multidireccional ·Conecte la filtración correctamente |
ENTRETIEN COURANT
RECOMMANDATION POUR L'ENVIRONNEMENT: «NE DEMONTEZ PAS LA PISCINE SI CELA N'EST PAS ABSOLUMENT NECESSAIRE. EN CAS DE DEMONTAGE, NOUS VOUS PRIONS DE REUTILISER L'EAU. IL N'Y A PAS D'EAU EN TROP».
ENTRETIEN ET UTILISATION:
Los servicios技术和 se encargan de la instalacion de piscinas, la vente de repuestos y accesorios y elostenimiento de las depuradoras.
| COBERTURA | NOMBRE | TELEFONO |
| ALAVA | URTEAGA QUIMICA, S.L. | 945/26-25-17 |
| ALBACETE | HIDRO BELL | 967/22-02-18 |
| ALICANTE | ELECTROB.S.VICENTE, S.L. | 96/566-48-81 |
| ASTURIAS | RODRIGO Y MARTINO, S.L. | 985/13-49-56 |
| BADAJOZ | MOTONAUTICAS GUILEN, S.L. | 924/66-44-02 |
| BARCELONA | ASIST.TECN.CATALANA, S.A. | 93/309-27-47 |
| BARCELONA | JAP ASITEC, S.L. | 93/716-15-76 |
| BURGOS | FERRETERIA CID | 947/48-54-30 |
| CACERES | TOP CAMPO, S.L. | 927/23-02-73 |
| CACERES | TOP CAMPO, S.L. | 927/29-11-39 |
| CADIZ | ORMOTA, S.L | 956/53-67-21 |
| CADIZ | TECNO.VALVULOR | 956/53-46-96 |
| CANTABRIA | RAHELS PISCINAS | 942/32-09-32 |
| CANTABRIA | SUMINISTROS LAVIN | 942-26-13-15 |
| CASTELLON | AQUA TERRA | 964/60-37-87 |
| CIUDAD REAL | MOTOTRACCION CR, SL | 926/22-22-54 |
| CIUDAD REAL | JESUS CABANES RODRIGUEZ | 926/ 61-00-38 |
| CORDOBA | BRIKPISCINAS SL | 957/26-26-95 |
| CUENCA | TECNICAS DEL AGUA CES | 969-08-99-23 |
| GERONA | J.I.S. ANDRES, S.C. | 972/69-30-64 |
| GRANADA | PISCINAS RAMIREZ, S.L. | 958/12-12-20 |
| GUADALAJARA | BAÑO Y JARDIN | 949/22-54-12 |
| HUELVA | ELEC. Y FONT. ONUBENSE, S.L.U. | 959/23-22-38 |
| IBIZA | PISCINAS JESUS SL | 971/31-68-91 |
| JAEN | AGRO AGUA | 953/69-26-11 |
| LA CORUÑA | HOMESPORT | 981-623-716 |
| LA CORUÑA | ASTYCO | 981/52-10-09 |
| LAS PALMAS | JESUS ROMERO | 629/56-74-32 |
| LEON | ELECTRICIDAD FERCOVII, S.L. | 987/41-72-51 |
| LEON | ATECAL MANTENIMIENTO, S.L.L. | 987/30-75-39 |
| COBERTURA | NOMBRE | TELEFONO |
| LUGO | LUCALOR | 982/21-90-01 |
| LUGO | HYDRO-GLOBAL | 982/41-14-13 |
| MADRID | POOL SPA SPORT | 91/323-18-83 |
| MADRID | SUM. SANTAGATA, S.L. | 91/616-24-58 |
| MALAGA | MARIA ESTHER BANDERAS | 952/28-81-01 |
| MALAGA | RIVAS Y ANAYA SL | 952/80-06-05 |
| MENORCA | PISCI WORLD, S.L. | 971/36-94-25 |
| MURCIA | FERRETERIA INFANTE | 968-26-82-57 |
| NAVARRA SUR | JUGUETES EREGUI, S.L. | 948/12-03-88 |
| ORENSE | HYDRO-GLOBAL | 988/21-28-84 |
| PALMA LA | AGRO-ISLEÑA SUMINISTROS | 922/40-35-20 |
| P. MALLORCA | RIEGOS MANACOR, S.L. | 971/84-57-14 |
| PONTEVEDRA | INSTAL.AUX.TUDENSES, C.B. | 986/60-23-90 |
| PONTEVEDRA | AUXGASCA, S.L. | 986/846-141 |
| SALAMANCA | AQUANUR PISCINAS | 923/13-98-80 |
| SEGOVIA | PISCINAS SEGOVIA, S.L. | 921/44-44-71 |
| SEVILLA | SABIN TECNISERVICIOS, S.L. | 95/451-81-39 |
| SEVILLA | MAKROAGUA SL | 954/71-50-00 |
| SEVILLA | COMERCIAL UTRERA | 95-486-35-11 |
| TARRAGONA | AQUA SERVEIS | 977/30-10-30 |
| TARRAGONA | SAT LUIS, S.L. | 902/18-10-88 |
| TENERIFE | CARLOS STAEBE, S.L. | 922/30-46-41 |
| T. DE LA REINA | SINTAL | 925/80-41-38 |
| TOLEDO | DECO-GARDEN GONZALEZ SL | 925/24-5826 |
| VALENCIA | SERV.TECN.VALENCI. ESTEVAL, S.A.L. | 96/164-00-19 |
| VALLADOLID | PISCINAS VALLADOLID, S.L. | 983/38-08-19 |
| VIZCAYA | ACONAGUA 2000, S.L | 94/476-28-38 |
| ZARAGOZA | M.A.RAFALES | 976/63-66-09 |
| ZARAGOZA | ZARVIGAS, S.L. | 976/10-62-99 |
ManualFácil