DHD 1112 X - Capucha DE DIETRICH - Manual de uso y guía de instrucciones gratis
Encuentra gratis el manual del aparato DHD 1112 X DE DIETRICH en formato PDF.
| Tipo de dispositivo | Campana extractora decorativa |
| Modo de instalación | Techo o pared |
| Material | Acero inoxidable |
| Número de velocidades | 3 |
| Tipo de filtración | Filtros metálicos para grasa |
| Iluminación | LED integrado |
| Nivel de ruido | No especificado |
| Caudal de aire | No especificado |
| Control | Botones táctiles |
| Función temporizador | Sí |
| Modo de recirculación | Opcional |
| Dimensiones (An x Pr x Al) | No especificado |
| Consumo eléctrico | No especificado |
| Color | Acero inoxidable |
| Accesorios incluidos | Filtros, tornillería |
| Garantía | No especificado |
Preguntas frecuentes - DHD 1112 X DE DIETRICH
Questions des utilisateurs sur DHD 1112 X DE DIETRICH
0 question sur cet appareil. Repondez a celles que vous connaissez ou posez la votre.
Poser une nouvelle question sur cet appareil
Descarga las instrucciones para tu Capucha en formato PDF gratis! Encuentra tus instrucciones DHD 1112 X - DE DIETRICH y toma tu dispositivo electrónico nuevamente en la mano. En esta página están publicados todos los documentos necesarios para el uso de su dispositivo. DHD 1112 X de la marca DE DIETRICH.
MANUAL DE USUARIO DHD 1112 X DE DIETRICH
Estimado cliente, estimada cliente:
Descubrir los productos De Dietrich, es sentir las emoiones únicas que sólo nos aportan algunos objetivos de valor.
La atracción es inmediata nada más verlos. La calidad del Diseño se refleja en la estética intemporal y en el cuidado en losaabados que los converten en objetos elegantes y refinados, en perfecta armonia entre sí.
Inmediamente, sentimos un irresistible deseo de tocarlos; porque el diseño De Dietrich se apoya en materiales robustos y prestigiosos; se da prioridad a lo autentico.
Asociando la的技术ía más evolución alempleo de materiales nobles, De Dietrich se asegura la fabricación de productos de alta factura al service del arte culinario, una pasión partida por todos los amantes de la buena cucina.
Le desamos mucha satisfacion en la Utilizacion de este nuevo aparato y estaremos encapsados de recibir sus sugerencias y responder a sus preguntas. Le invitamos a que nos las haya llegar a工程技术 deulosayo增值服务 de atencion al cliente o de notrestra pagina web.
Le animamos a que inscribe su producto en www.de-dietrich.com para disfurutar de las ventajas de lamarca.
Agradeciendole su confianza.
De Dietrich
Conozca todas las noticias de la marca en www.de-dietrich.com
Visite La Galeria De Dietrich, 6 rue de la Pétinière, en Paris VIII
Abierto de martes a sábado de las 10:00 a las 19:00.
Servicio de atencion al cliente: +33(0)892 02 88 04
1 / A LA ATENCIón DEL USUARIO
- Consignas de seguridad 36
- Respeto del medio ambiente 37
- Descripción de su aparato 38
2 / INSTALLACION DE SU APARATO
- Utilización en version evacuación 39
- Utilización en version reciclaje 39
- Conexión electrica 40
Montaje de la campana 41
Montaje de la chimenea Evacuacion exterior 42
O Reciclaje 43
3 / UTILIZACION DEL APARATO
- Descripción de los mandos 44
4 / MANTENIMIENTO Y LIMPIEZA DE SU APARATO
·Limpieza del filtro modular 46
- Cambio del filtro de carbono 46
·Limpieza de la superficie exterior 46
- Cambiar la bombilla 46
Cuidado del aparato 46
Con la inquietud de mejor constantemente nuestros productos, nos reservamos el Derecho de aportar a sus caracteristicas sociales, functionales o estéticas todas las改动aciones relacionadas con su evolución.
Important:
Antes deponer en marcha el aparato, lea atentamente esta guia de instalacion y usoacion para familiarizarse masrapidamente con su functionamento.

Importante
Conserve estemanual conelaparato.
Si debe vender o ceder el aparato a othera persona,asegúrese de que el manual deutilización va conél. Porfavor,lea这些consejos antes de instalar yutilizarel aparato.Han sido redactados pensando en su seguridad y la de losdemás.
- CONSIGNAS DE SEGURIDAD
-
Este aparato ha sido Diseñado para ser realizado por particulares en sus domicilio.
-
Este aparato no está previsto para ser realizado por personas (incluidos los niños) cuyas capacidades físicas, sensoriales o mentales sean reducidas, o por personas privadas de experiencia o conocimiento, salvo si han podido beneficiarse, a工程技术 de una persona responsable de su seguridad, de una vigilancia o de instrucciones previas concernientes a la utilizacion del aparato. Es acontejalve vigilar a los niños para asegurar de que no juguen con el aparato.
-Cuando reciba el aparato, desembalelo o hagalo desembalar inmediamente. Compruebe su aspecto general. Si tiene reservas queseedalar, hagalo por escrito en el albaran deentrega y quedese con un ejemplar.
-Su aparato está destinado a un uso dométrico normal. No lo utilizes con fines commerciales o industriales o conthers fines que no sean aquellos para los que ha sido Diseñado.
- No modifique o intente modifier las caractéristicas del aparato. Podrá suponer un peligro para usted.
Las reparaciones deben ser realizadas exclusivamente por un especialista autorizzato.
- Desconecte siempre la campana extractora antes de limpiarla o realizar el mantenimiento.
- Ventile adecuadamente la habitacion si la campana funciona al mesmo tiempo queothers aparatos alimentados con una fuente de energia que no sea la electricidad. Ello es para que la campana no aspire los gases de combustion.
- No se debe flambear alimentos o tener encendidos los fuegos de gas sin ningún reci
piente bajo la campana (las llamas aspiradas podrjan deteriorar el aparato).
- Cuando estéfriendodebajo delaparato,deberta vigilarloconstantemente.Losaceites y grasas calentadashastraunaalta temperaturacouldencoger fuego.
- Respete la fecuencia de limpieza y cambio de los filtros. La acumulación de depuestos de grasa pourrait provocar un incendio.
- No deben configurar encima de un fuego a base de combustible (madera, carbón).
- No utilise aparatos de vapor o a alta presión para limiar el aparato (exigencias relativas a la seguridad electrica).
- Con el deseo de una mejora constante de nuestros productos, nos reservamos el derecho deañadir a sus caracteristicas típecas, funciona o estéticas las modificaciones necessarias de sus caracteristicas en relacion a los ultimos avances技术和icos.
- Para que en el futuro encontrar fácilmente las referencias de la plac, le aconsejamos que las anote en la頁a "Servicio Técnico y Relaciones con el consumidor" (Esta頁a también le explicía sobre encontraradoras en el aparato).

Atencion
Cuando se traté de una cucina calenta da con un aparato connectado a una chimenea (ej.: estufa), hay que instalar la campana en modo reciclaje. No utilizes la campana sin los filtros modulares.
Hay que prever una ventilación adequada cuando se usa una campana extractor de cocina al mesmo tiempo que otros aparatos que funciona con gas u other combustible.
- RESPETO DEL MEDIO AMBIENTE
- Los materiales del embalaje de este aparato son reciclables. Participe en su reciclaje y ayude a proteger el medio ambiente lluvandolos a los contenedores municipales previstos paraarlo.
- Su aparato contiene también numerousos materiales reciclables. Por ello ha sido marcado con este logotipo que indica que los aparatos viejos no se deben mezclar con los demas residuos.

De este modo, el reciclaje de los aparatos que organize el fabricante se efectuará en optimas conditiones, de(acuerdo con la Directiva Europea 2002/96/CE sobre los residuos de equipos electricos y electrónicos. Pregunte en su ayuntimiento o al vendedor para poder los+puntos de recogida de aparatos viejos más cercanos a su domicilio.

- Le agradecemos su collaboration con la proteccion del medio ambiente.

Atencion
La instalación está reservada a los instaladores y技术和@cricos@cualificados.

Atencion
Antes de utiliser por primera vez el filtro modular, retire lapellicula protectora.

Atencion
Las partes accesibles de este aparato puede calentarse cuando se utilizes con los aparatos de cocina.
DESCRIPCION DE SU APARATO


Aberturas

Carcasa

Chimenea

Mandos
- El aparato debe estar desconectado al instalarlo o al realizarrialquier intervencion en el.
- Compruebe que la tension de la red corresponde a la tension indicada en la placac de caracte-risticas que se enquirytra en el interior de la campana.
- Si la instalación electrica de su campana obliga a efectuar una modificacion para poder connectar el aparato, llame a un electricistariallicado.
- Si la campana se usa en version evacuacion, no conecte el aparato a un conductor de evacuacion de humos de combustion (caldera, chimenea, etc.)o a una VMC (ventilacion mecancia controlada).
- El conductor de evacuation, searial, no debe desembocar en los bajos del tejado.
- Instale la campana a una distancia de seguridad de al menos 70cm de la plac de coccción electrica, de gas o mixta.
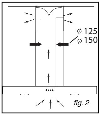
- USO EN VERSION EVACUACION
Si Tiene unaittersa hacia el exterior
(fig. 1)
Puede conectar su campana a ella mediante un conducto de evacuation no incluo (minimo 0 125 mm, esmaltado, de aluminio, flexible o de un material no inflamable). Si su conducto tiene un diametro inferior a 125 mm, deben pagar obligatoriamente al modo reciclaje.
En ese caso, añada un filtro de carbono activo (optional) que retendra los olores.
(verbapitulo4:Cambiodelfittredecarbono)


- CONEXION ELECTRICA
Al efectuar la instalacion y las operaciones de mantenimiento, el aparato deben estar desconectado de la red electrica y los fusibles estarán cortados y quitados.
La connexion électrique se debe realizar una vez realizado el montaje y la sujeción.
Compruebe que:
- la potencia de la instalacion es suficiente,
- las lineas de alimentacion estan en buena estado
- el diametro de los cables es conforme con las normas de instalacion.

Atencion
Este aparato se suministra con un cable de alimentacion H 05 VVF de 3 conductores de 0,75 mm2 (neutro, fase y tierra). Debe ir connectado a la red 220-240 V monofasia por medio de un enchufe normalizo CEI 60083 que deben quedar accesible una vez realizada la instalacion, de acuerdo con las normas de instalacion.
Declinamos toda responsabilidad en caso de accidente si este se produce por no tener coma de tierra o porque esta se encontrar instalada Incorrectamente. El fusible de la instalacion deben ser de 10 o 16 A. Si el cable de alimentacion estuviera danado, llame al serviceo technician para evaporar qualquei peligro.

Atencion
Si la instalacion eletrica de su campana obliga a efectuar una modificacion para poder conectar el aparato, llame a un electricistariallicado.

Atencion
Si la campana Tiene qualquier anomalía, desconecte el aparato oquite el fusible correspondiente a la linea de conexión del aparato.
- MONTAJE DE LA CAMPANA EXTRACTORA

Atencion
La instalación debe ser conforme a las normativas vigentes para la ventilación del los locales. En Francia, dichas normativas tienen indicadas en el DTU 61.1 del CSTB. En particular, el aire evacuado no deben ser enviado a unconductoemployado para evacuar humos de aparatos queutilicengusoutro combustible.Los conductos endesuso solo puede ser realizados conelacrodeunespecialista competente.
La distancia minima entre la zona de cocción y la parte más baja de la campana debe ser de 70 cm. Si las instrucciones de la placar instalada bajo la campana indicaran una distancia mayor que 70 cm, es esta la que se deben tener en cuenta.
Trace auna marca horizontal a una distancia minima de 70 cm de la zona de coccion.(A/fig.1).
Trace una raya vertical (B/fig.1)en la pared, centrada con disrespect a la plac de cocción y que bajo desde el techo hasta lamarca horizontal precedente(A).
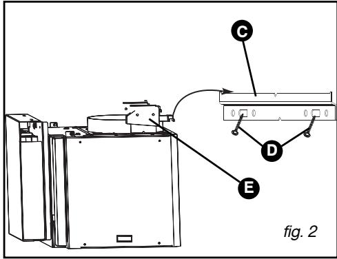
- Coloque la plantilla de perforación (C/fig. 1) contra la pared.
- El emplazimiento (D) corresponde al tornillo "anti-levantimiento" de la campana.
En el caso de una pared hueca, utilise uno tacos y uno tornillos adaptados.
- Taladre los 2 orificios. Introduzca las 2 clavijas.
- Atornille el pasador de fijación a la pared (C/fig. 2) con los 2 tornillos (D/fig.2).
- Enganche la campana extractora por sus suspENSIONES (E/fig. 2).
- Ajuste la alta y el nivel con los tornillos de ajuste (E /fig. 2) de los soportes (el tornillo de arriba para la horizontalidad y el tornillo de abajo para su distancia a la pared).
- Retire la banda adhesiva de la caja (F fig.3)
- Levante la caja uno 2cm y a continuacion libre rela, girela 1/3 y bajo deslificela y fijela con 2 tornillos por encima del motor (fig 3).
Atencion, no dae los cables durante la rota cion y la fijacion.



- MONTAJE DE CHIMENEA
- Evacuación exterior
-Fije contra la pared, con los dos tornillos, el soporte metalico de la chimenea, apoyandolo contra la pared (fig. 1).
- Monte la valvula de retencion en la calidad del motor (fig. 2).Esta valvula de retencion permite obstruir la entrada de aire procedente del exterior.
- Si el diametro del conductor tiene 125mm , utilise el adaptor que se suministra (fig. 3).
Si su conducjo tiene menos de 125mm es obligatorio que conecte la campana en modo reciclate.
-
Encaje el extremo del conductor en la calidad del motor (fig. 4).
-
Prepare su chimenea telescopia teneriendoguided de disimular las abertas (B/fig. 4).
Encaje la chimenea montada de este modo en la campana y levante la parte superior para ajustar la alta. A continuacion atornillela (G/fig. 4) al soporte metalico de la chimenea (A/fig. 4).
A Soporte de la chimenea
B Chimenea telescopia
Conducto
D Adaptador
E Valvula de retencion
F Salida motor
G Tornillo de sujeción de la chimenea
Para lograr un funciona bajo el aparato, le aconsejamos que lo conecte a un conductor de 150~mm de diametro (no incluido). Limite al maximum el numero de codos y la longitud del conductor. Si la campana funciona en evacuation exterior, es conveniente asegurarse de que llegue aire suficiente para que no secrete depresion en la habitacion.

@ Consejo



Reciclaje
- Quite la valvula de retencion (fig. 1).
- Fije contra la pared, con los dos tornillos, el soporte metálico de la chimenea, apoyándolo contra el techo (fig. 2). Tenga cuidado de que el deflector quede centrado conCTLo al trazo vertical着他 en la pared (fig. 2).
- Para los modelos > 700mm (A/fig2)
- Encaje un extremo del conductor en el deflector y el除外 extremo en la calidad motor (fig. 3).
- Prepare la chimenea teniendo cuidado de colocar las aberturas hacía abajo para que estén visibles (B/ fig. 3).
- Encaje la chimenea montada de este modo (C/fig 3) en la campana y levante la parte superior paraJKLM. A continuación atornílela al deflector de humano (A/fig. 3) con los dos tornillos (F/fig. 3).


A Defector de humo
B Aberturas
Chimenea telescopica
Conducto
E Soprte motor
F Tornillo de sujeción de la chimenea

DESCRIPCION DE LOS MANDOS

A Iluminación
B Marcha/Parada
C SeLECTION de las velocidades de 1 a 4
Pantalla
Visualizacion de las velocidades (1,2,3,o4)
F Saturación de los filtros
Temporalizacion/ Parada retardada (10 min)
- MODO AUTOMATICO (según modelos)
Estas campanas extractoras tienen un sentido innato de la adaptacion. Equipadas con sensores, se activan automatically en cuando detectan una emisión de calor o de vape, adaptan espontáneamente la velocidad de aspiración y dean de funciona cuando han evacuado todo el humano.
Selección del tipo de encimera en modo automatístico *
Para selecciónar el tipo de encimera, la campana deben estar parada.
Mantenga pulsado ICs un momento (>2s) para poderla en modo configuracion.
Pulse 10 para seleccionar el tipo de plac: Por defecto, parpadear a I (placa de induccion); si sigue pulsando, la pantalla indica U (placa vitroceramica) y afterwards G (placa de gas). Pulse brevemente ICS para validar su eleccion.
Los@simbolos (sensibilidad minima), (sensibilidad media) y (sensibilidad maxima) parpadean simultaneamente. Si se dejan transcurrir 10 seg. se conservará la sensibilidad media. Para modifier la sensibilidad pulse brevamente
Para validarla, pulse brevemente ICS.
La configuración queda validada automatistically al cabo de 10s.

Consejo
Este manual de instalacion y uso es valido para variedes modelos. Por elgo, es possible que constate fewas diferencias de detailles y de equipacios entre su aparato y la presente descripción.
Pulse brevamente ICS, aparecerá un punto en la pantalla. Al detectar una fuente de calor, parpadeará un y la campana se pondrá en marcha. Al finalizar la cocción, la campana continua的功能任何。
Si pulsa brevamente ICS se desactivar el modo automatico.
Si pulsa brevamente ① se desactivaré el modo automático y la campana quedará en posición 1.
- ARRANQUE DE LA CAMPANA EN MODO MANUAL
Pulsando ① la campana se pone en marcha a velocidad 1.
- SeLECTION de las velocidades
- Cada presión en el botón "Selección de velocidad" estabilece el cicloCEE: velocidad 1-2-3 o 4 y a continuación regreso a la velocidad 1.
- Cada vez que utilise la campana, está seactivará con la velocidad 1.
- Selección de la temporización
- Una presión en 10^ activa una temporización; la campana se detiene al cabo de 10 horas. En la pantalla parpadea la velocidad para indicarle que la campana se oculta en modo temporización.
- ILUMINACION
Pulsando brevamente el mando se enciende o se apaga la luz halógena de la campana. Si se olvida de apagar la luz de la campana, esta se apagará sola al cabo de 9 horas de funciona.
PARADA DE LA CAMPANA
Si mantiene pulsado un momento el mando ① se detendra la campana. Si se olvida de apagar la campana, esta se detendra al cabo de 9 horas de funcionaimiento.
INDICADOR DE SATURATION DEL FILTRO MODULAR
El símbolo parpadea en la pantalla al cabo de 30 horas de funcionaimiento de la campana. Este mensaje le indica que esnecessarylavar el bajo modular.
- Después de limpiar el filtro modular, pulse una vez el botón ① durante aprox. 3 segundos, de este modo se apagará el F.

Atencion
Desconecte (retirando la toma o acontecido el disyuntor) el aparato antes de realizar su mantenimiento o de limparlo. Unostenimiento periodico es una garantía de buen funciona, buena rendimiento y duración.

Atencion
No disrespect las instrucciones de limpieza del aparato y los filtros peuvent occasionar incendios. Respete estricmente las instrucciones deostenimiento.
- LIMPieZA DEL Filtro MODULAR
Se debe limpiar cada 30 horas de uso o aproximamente una vez al mes como minimo. Utilice un cepillo, agua caliente y un detergente suave. Aclarélo y sequelo con cuidado antes de volverlo a colocar.
- Desmontaje del filtro modular (A/ fig. 1)
- Accione el asa integrazione del filtró modular.
-Inclineelfiltromodularhaciaabajo.
- CAMBIO DEL FILTRO DE CARBONO (según modelos)
Cambiocada120horas deutilizacionapproximamente..
- Retire el filtro modular (fig. 1.
- Coloque el filtro de carbono en el filtro modular en el lado interior de la campana.

- LIMPIEZA DE LA SUPERFICIE EXTERIOR
Para limpiar el exterior de la campana utilise agua con jabón, pero no use cremas pararegar, ni estropajos.
- CAMBIO DE BOMBILLA
Modelo con bombilla halógena
- Retire la tulipa (fig. 3).
Cambie la bombilla halógena G4-20W-12V. - Vuelva a colocar elconjunto realizando las operaciones en sentido inverso.


Atencion
-
Antes de realizar cualquier intervencion, deben estar la campana sin tensión, bien desenchufándola o bien actionando el disyuntor.
-
LIMPIAR EL APARATO
| MANTENIMIENTO... | ¿CÓMO PROCEDER? | PRODUCTOS/ACCESORIOS QUE SE DEBEN UTILizar |
| Cubierta y accesorios | No有用的eca nunca estropajos metálicos, productos abrasivos o cepillos demasiadouros. | Para limpiar el chasis y ojo de buey de iluminación, utilise exclu- samente products de limpieza del commercio diluidos en agua, aclare antes con agua y seque con un trapo suave. |
| Filtro modular | El filtro retiene los vapeores gra- sos y el polvo. Este elemento garantiza una parte importante de la eficacidia de la campana. En caso de manchas persisten- tes, utilise un detergente en crema no abrasivo y a continua-acción aclárelo con agua limpia. | Límpiela con un producto de lim- pieza del commercio, aclárela abun- dantamente y séquela. |
| Filtro carbono activo (según modelos u opcio- nal) | Este filtro retiene los olores y se debeCambiar al menos una vez al año, en función de su uso. Pida這些 filtros a su vendedor y anote la Fecha del cambio. |
Para Maintener en buena estado su aparato, le recomendamos que utilize los productos de limpieza Clearit.

La percia de los profesionales
al service de los particulares
Clearit le propone produits professionnelles y SOLUTIONES adecuadas para el mantenimiento cotidiano de sus aparatos electrodomesticos y su cucina.
LosURTAR a laventa en su distribuidor habitual, unto con toda una linea de productos accesarios y consumables.
| SINTOMAS | SOLUTIONES |
| La campana no funciona. | Compruebe que: • no hay un corte de corriente. • se ha selección una velocidad. |
| El rendimiento de la campana es insufiente... | Compruebe que: • la velocidad del motor que ha selecciónado es suficiente para la cantidad de homo y el vapor de agua producido. • la cucina está suficientamente ventilada para que pueda entrada aire. • el filtro de carbono no está gastado (campana n version reciclaje) |
| La campana se ha parado@msteadas estarabfuncionar-do | Compruebe que: • no hay un corte de corriente. • no se ha activado el dispositivo de corte omnipolar. |

6 / SERVICIO TÉCNICO
- INTERVENTIONES
Las eventuales intervenciones sobre su aparato deben ser efectuadas por un profesionalrialcualificado depositario de lamarca. Cuandorealice sullamada,mencione la referenciacompleta del aparato (modelo, tipo y numero de series).Esta informacion figura en la placadearacteristicas (Fig.1).

Direcciones de los Centros de Servicio Tecnico en España
TeléfonodeAtencionalClientepara toda Espana902445533
A CORUNA
A Coruña: Agra del Orzán, 20 bajo
Santiago de Compostela: Pombal, 21
ALBACETE
Albacete: Polig, Campolzano, Calle C, 25
Hellin:Aperadores,15
ALICANTE
Alicante: Avda, de Alcoy, 117
Conceita: Josep Carbonell, 5 bajo
Petrel: Avda, de Felipe V, 16
Orihuela: Avda. de la Vega, 2
Benidorm: Marqués de Comilas, 12
ALMERIA
Almeria: Manuel Azaria, 143
ARABA
Vitoria: San Vicente de Paul, 15 bajo
ASTURIAS
Gijón: Avda, Constitución, 15-17
Owiedo:Aloeniz,12
AVILA
Avila: Eras, 10 - Esquina c/Gredos
El Tiemblo: Molino Nuevo, 3
BADAJOZ
Badajoz: Agustina de Aragon, 2
Villanueva de la Serena: San Benito, 31
BALEARS
Formentera-San Francisco Javier:
San Francisco Javier - Apto, 178
Ibiza: Via Romana. 15 dcha.
Hospitalet:Travesora de las Corts,42-44
Manresa: San Lorenzo de Brindisi, 11
Vic: Passeig de la Generalitat, 61 bajos
Granollers: Esteban Terrades, 36-38
Villafranca Penedes: c/Norte, 6
BZKAIA
Bilbao: Menendez Pelayo, 14
Pintores Zubiare, s/n
Baracaldo:Gernikako Arbola.31
Basauri: Avda, Cervanles, 45
BURGOS
Burgos: Calzadas, 79
Aranda de Duero: San Francisco, 21
CACERES
Coceres: Argentina, 18-bajo
Plasencia: Tornavacas, 3-bajo
Villamasas: Federico Garcia Lorca, 2
CADIZ
Cediz: Pol. Zona Franca c/Tarifa,1
Algeciras: Paseo Victoria Eugenia, 36
CANTABRIA
Santander, J., Jose Perez del Molno, 25
CASTELLON
Castellón: Pol, Ind, Fadrel, c/Ojocau del
Reynave91
CEUTA
Ceuta: Mendoza, 10
CIUDAD REAL
Ciudad Real: Simancas, 4
CORDOBA
Cordoba: Avda. de Libia, 57
CUENCA
Cuenca:Sta,Monica,15-bajo
GIPUZKOA
Mondragon: Licenciado Otilora, 14 pajo
Donostia: Polgono Belarza-Gurutzegi
bides,12-ocal 2
GIRONA
Girona:Sta,Maria,6
GRANADA
Granada: Fray Leopoldo, 12
G.CANARIA
Fuerteventura - Pto, del Rosario:
Diaz Traiter, 87
Lanzarote: Gran Canaria, 22
Las Palmas G, Canaria: Churucu, 25-27
GUADALAJARA
Guadalajara: Francisco Medina, 24
HUELVA
Huelva: Almonaster La Real, 10
HUESCA
Huesca: Teruel, 30
JAEN
Jaen:Luna,4
LA RIOJA
Calahorra: Avda, de los Angeles, 3-b
Logroho: Poligono La Portada 2
c/ Río Muro 2, Nave E
LEON
León: Avda, José Aguado, 11
Ponferrada: Calle Rio Tremor, s/n
LLEDA
Lleida: Cardenal Cisneros, 10
Seod'Urgelt: Capdevila, 20
LUGO
Lugo: Rua das Fontinas, 72-74-bajo
Cartagena: Pintor Balaca, 8 bajo-Edif, Prado.
Murcia: Rio Benamor, s/n,
NAVARRA
Aizosin: Poligono Plazaola, manzana D, 1
Mutiva Baja PJ, Mutiva Baja-c/M, Nave 11,
Tudela: Tringuete, 1- Edit, Misericordia
OURENSE
Ourense: Xosin de Novoa, 2 bajo
PALENCIA
Palencia: Valverde, 4 bajo
PONTEVEDRA
Pontevedra: Rosalá de Castro, 86
Vigo: Vizquez Varela, 21
Via Norte, 38 bajo
SEGOVIA
Segovia: Enrique IV, 8 bajo
SEVILLA
Sevila: Polgono Store c/A, Parcela 10
Parque Comercial San Jeronimo,
Calle C, Nave C1
SOP1A
Soria: Merineros, 22
TARRAGONA
Reus:Constant,6-8
El Rosario; Carretera General de la
Esperanza a Llano del Moro, 44
TERUEL
Teruel: Luis Buñuel, 17
TOLEDO
Toledo: Paseo de la Rosa, 4D
Talavera de la Reina Avda Juan Carlos I, 11
VALENCIA
Valencia: Maestro Vala, 1 y 3
Franco Tormo, 13-15
Gandia: Ferrocarnl de Alcoy, 99
VALLADOLID
Valladolid:Paraderos,64
ZAMORA
Zamora: Doctor Villalobos, 1
ZARAGOZA
Zaragoza: Gonzalo de Berceco, 4
Caspe: Conde de Guadahoroe, 6
| Estimado cliente, | |
| Antes de nada, muchas gratías por haber adquirido uno de nuestros productos,esperamos que cumpla susolestes expectativas.En este documento conocía lo queDebe hacer en caso de detectarequalquier anomalía.Primeramente le acontejamos consulte el libro de instructriones, soluciónarmuchas dudas y defectos aparentes inmediamente.Seguidamente si no encontrarásolutiona su problema o duda, recurra a{nuestro servicios专业技术o oficial, con la profesionalidad de los先进技术 mejorcualificados. Un service rápido, fiable y cercano. | |
| ¿Qué tiene quehacer en casode avería? | Consulte el libro de instructriones y si no encontrara respuesta,llame al902 44 55 33,hablando recogido previamente la singularmente información,Datos PersonalesTelefondo y direcciondonde seencuentra elelectrodomésico,Nombre y apellidos de la persona decontacto,Datos delElectrodomésico Modelo • N° Serie • Fecha de comprasintomas o datos de la averiaDe esta forma{nuestros先进技术 podrardesolver el problema en una unica visita,de la formamásrapida y conlasminmas molestiasparausted. |
| Condiezonest generales de lagarantía 2 añosDe Dietrich | Esta esuna garantía commercial que De Dietrich, como fabricante, otorga a susclientes yquecomplementa ynoafectaal dosrehcoshedespínedeconsumidordecuerdo con lo displasteon la Ley 23/2003 de 10 deJulio de Garantias en laVenta de Bienes de Consumo.La Garantia cubreduranteelplazoodosanosapartirdelafecha de recepcióndeeste aparato,todaslas reparaciones querealicele Servicio de Asistencia Técnica Oficialde la marca.En los supuestos cubiertos por esta Garantía,eltitularela mismañerdaredechoa la reparación totalmentegratuitadelosviciosodefectosoriginalios.En lossupuestos enque la reparacióneffectuada nofuera satisfactoria,yelaparato no revistiese lasconditionsóptimasparacumplirelusoa queestuvieesdestinado,eltituladerlagarantia tendraderechoa la sustitucióndelaparatoadquirido porotrodeidenticascharacteristicas. Elaparato sustituito tendrála garantiaque let restara alanterior,yen todo caso 6meses. |
Condieiones generales de la garantia 2 años De Dietrich
Exclusiones de la presente garantía.
Queda excluido de la cobertura de la presente Garantia, y por tanto sera a cargo del usuario el coste total de la reparacion, lo siguientes:
Las averidas provocadas por negligencia o mal uso del aparato por parte del cliente,
Las averias producidas por causas de caso fortuito, fuerza mayor (fenomenos atmosalféricos o geológicos) y siniestros.
Las operaciones deostenimiento periodico del producto.
- Los desgastes o deteriorados estéticos producidos por el uso.
- La limpieza de acumulación de cal en los aparatos.
- Aquellas intervenciones que se derives de una incorrecta instalacion del aparato o de la falta de mantenimiento del mismo, todo elo de conformidad con las recomendaciones de instalacion y uso recogidas en el Libros de Instrucciones o Manual de Instalacion.
Todo los aparatos, para su reparacion, deben estar instalados de forma accesible para nuestros技术和icos.
En el caso de que no se cumpla este requisito, sera por cuenta del usuario la disposicion de los medios necessarios que posibiliten la reparacion.
Anulación de la presente garantía
La presente Garantía quedará anulada, y por tanto sin efecto algoño, si el aparato ha sido Manipulado, modificado o reparado por personas no autorizadas o servicios技术和os que no sean los SAT oficiales de lamarca.
MUY IMPORTANTE: PARA SER A CREEDOR A ESTA GARANTIA, ES TOTALMENTE IMPRESSIBLE QUE EL CLIENTE ACREDITE ANTE EL SERVICIO TECNICO OFICIAL DE DIETRICH, LA FECHA DE COMPRA MEDIANTE LA FACTURA OFICIAL DE COMPREDA DEL APARATO, EN EL CASO DE APARATOS SUMINISTRADOS EN OBRAS NUEVAS SE DEBERA ACREDITAR SUIFICIENTENTE LA FECHA DE DISPOSIDAD PARA EL USO DEL Mismo.
Note: Para cualquier consulta, aclaración o reclamación en relacion con esta garantía o en caso de avería de su aparato, contacte con DE DIETRICH a工程技术 del 902 44 55 33.
Todostnuestros tectnicos van equipados del correspondiente carne avalado por ANFEL (Asociacion Nacional de Fabricantes de Electrodomesticos) que los acredita como Servicio Oficial de la Marca. En su propio beneficio exija su identificacion.
La presente Garantía es valida únicamente en territorio español y es otorgada por Fagor Electrodométricos, S.Coop, B° San Andres n° 18, 20500 Mondragon-Gipuzkoa.
FR 02
EN 18
ES 34
PT 52
DE 68
Estimado(a) Cliente,
No caso de una parede oca, utilizebuchas e parafusos adaptados.
ManualFácil