RVX - Altavoz acústico KLIPSCH - Manual de uso y guía de instrucciones gratis
Encuentra gratis el manual del aparato RVX KLIPSCH en formato PDF.
| Tipo de producto | Altavoz acústico |
| Características técnicas principales | Tecnología de altavoz Klipsch Tractrix Horn, woofers de cobre |
| Alimentación eléctrica | No aplicable (altavoz pasivo) |
| Dimensiones aproximadas | Altura: 35.6 cm, Ancho: 20.3 cm, Profundidad: 25.4 cm |
| Peso | Aproximadamente 5.4 kg |
| Compatibilidades | Compatible con amplificadores y receptores de audio de la marca Klipsch y otras marcas |
| Tipo de batería | No aplicable (altavoz pasivo) |
| Tensión | No aplicable (altavoz pasivo) |
| Poder | Poder máximo: 100 watts |
| Funciones principales | Reproducción de audio de alta calidad, uso en cine en casa o en sistema estéreo |
| Mantenimiento y limpieza | Limpiar con un paño suave, evitar productos químicos agresivos |
| Piezas de repuesto y reparabilidad | Disponibilidad de piezas de repuesto a través del fabricante o distribuidores autorizados |
| Seguridad | No exponer a la humedad, evitar golpes físicos |
| Información general útil | Ideal para amantes de la música y el cine, diseño elegante y moderno |
Preguntas frecuentes - RVX KLIPSCH
Descarga las instrucciones para tu Altavoz acústico en formato PDF gratis! Encuentra tus instrucciones RVX - KLIPSCH y toma tu dispositivo electrónico nuevamente en la mano. En esta página están publicados todos los documentos necesarios para el uso de su dispositivo. RVX de la marca KLIPSCH.
MANUAL DE USUARIO RVX KLIPSCH
Pode-se también usar um suporte optional de parede ou teto que se encaixaçar nos orificios de 4,8mm .
ANTES DE MAIS NADA: TIPOS DE CONECTORES
- LEA estas instrucciones.
- GUARDE estas instrucciones.
- RESPETE todas las advertencias.
- SIGA todas las instrucciones.
- NO use este dispositorio cerca del agua.
- LIMPIELO SOLAMENTE con un paño seco.
- NO bloquee los orificios de ventilación. Instáeleo de acuerdo con las instrucciones del fabricante.
- NO lo instale cerca de fuentes de calor tales como radiadores, reijillas de calefaction, cocinas uOthers aparatos (incluyendo amplificadores) que generen calor.
- NO neutralice la caracteristica de seguridad del enchufe polarizzato o con clavija de connexión a tierra. Los enchufes polarizados tienen dos patas y una es más ancha que la otra. Los enchufes con clavija de美联ación a tierraILDlen dos patas y una clavija de美联ación a tierra. La pata ancha o la clavija son caracteristicas de seguidad. Si el enchufe del dispositivo no entra en el enchufe de pared, consulta a un electricista para que cambie el enchufe de pared obsoleto.
- PROTEJA el cordón de alimentación. Evite que lo aprieten o lo doblen en excesso o que lo pisen, especially en el punto en que el cordón se une al enchufe, el punto en que el cordón sale del dispositivo y cuando el dispositivo está enchufado.
- USE SOLAMENTE los accesos especialicos por el fabricante.
- USE este dispositivo solamente en un carrito, base, tripode, soporte o mesa asignado por el fabricante o vendido con el producto. Cuando use un carrito,onga cuidado al mover el carrito con el dispositivo encima para evitar lesiones si elconjunto se vuelca.
- DESENCHUFE este dispositorio cuando haya tormentas electricas o cuando no se durante largos periodos de tiempo.
- REMITA todas las reparaciones al personal de service calificado. Acuda a un profesional si el dispositivo ha sufido desperfctos tales como que se ha dadado el enchufe o el cordon de alimentacion, el dispositivo se ha sido caer, parece no funcar correctamente o ha estado expuesto a la lluvia o a la humedad, o han caido objetos o se ha derramado liquido en su interior.

Este simbolo indica que el manual que"acomparna a esta unidad contiene instrucciones importantes sobre operation y mantenimiento.

Este simbolo indica que hay voltaje peligioso que constituya un peligro de descarga electrica bajo el control del operador.
ADVERTENCIA: Para reducir el risgo de incendio o descarga electrica, no exponga este aparato a la lluvia o a la humedad.

ADVERTENCIA: Los voltajes de este equipo constituyen un peligro de muerte. No hay piezas que el usuario pueda reparar bajo el dispositivo. Remita todas las reparaciones al personal de servicios calificado.
PRECAUCTION: Los Cambios o modificaciones que el fabricante no apruebe expresamente pueda anular la autoridad del usuario para operar este dispositivo.
ACERCA DE SU COMPRA KLIPSCH
Gracias por la compra de这些 altavoces Klipsch. Después de leer este manual y conectar el Sistema, ustedouldrascucharlosresultadosdemasde55anosdeunaingenieriarigurosayunvestigacionydesarrolloa la vanguardia de suclase. Como todos los productos Klipsch,estos altavocestienen Tecnologia de cargo por trompeta Klipsch Tractrix®,que es el diseño orientador del primer Klipschorn desarrollado en 1946 y de todos los productos que han venido afterwards. La cargo por trompeta permite a los altavoces tener alta sensibilityda,boa distorsion,respuesta de fecuencia planay amplia dispersiOn,loqucse taducene enla potencia,el detalle y la dinamica sin igual que constituyen el sello distinctivo del "Sonido Klipsch".
Llene la tarjeta de garantia adjunta o inscribase en linea en www.klipsch.com para que podamos atenderle mejor.
Nuevamente le agradecemos que haya escogido a Klipsch y esperamos que这些东西 altavoces le den vida a su música y a suspellicas durante muchos años.
REJILLA
El altovo se pueda usar con o sin la rejilla en posicion. La rejilla se adhiere magnéticamente; se pueda qutar fácilmente jalándola paraSeparateda del altovo y volver a colocar simplement alineando sus bordes con los de la caja del altovo.
UBICACION
Los altavoces RVX de Reference han sido disnados para dar maxima flexibilidad y buena rendimiento en diversas configuraciones. La Figura 1 muestra una configuracion normal de cine en casa con un altavoz de canal central (RVX42) sobre el teilevisor, altavoces frontales derecho o izquierdo (RVX-42 o RVX-54) a los lados de la pantalla, altavoces surround principales (RSX-4 o RSX-5) a los lados del area de audicion y un par de altavoces surround posteriores detrás en un sistemas de 7.1 canales (Dolby Digital EX o DTS-ES). A continuacion se presentan recomendaciones especialicas deubicacion para cada referencia.

Figure 1
Altavoz de canal central. Centre el altovoz directamente encima o bajo de la pantalla de video. El pedestal integral permiteponer el altovoz encima del televisor (o en una repisa solo encima o bajo del televisor) o montarlo en la pared (vea las instrucciones de montaje). Idealmente, el bafle frontal del altovoz debe quedar al ras del fronte de la pantalla. Vea la sec-. tion sobre ajustes del pedestal para Obtener mas detalles.
Altavoces frontales izquierdo y derecho. Los altavoces frontales izquierdo y derecho deben estar aproximadamente en linea con la pantalla de video y a la misma distancia de ella.
La distancia a la pantalla no es de importancia Critica, excepta una mayor separacion tenera a hacer que el sonido sea más espacioso. Evite que los altavoces queden a menos de 60 cm (2 pies) de las paredes laterales y, si estan en repisas o en un armario, colocquelos de mannersque su superficie frontal quede por lo menos al ras de la parte de adelante del armario. Colóquelos a la alta del oido del oyente, si es practico.
Altavoces surround izquierdo y derecho. Los altavoces RVX han sido disénados para corresponder acústica y cosmétrically a la familia de altavoces satélite Reference de Klipsch. Consulte al distribuidor autorizo de Klipsch para ver qué modelo de satélite Reference es apropiado para usted.
La mejor colocacion de los altavoces empleados como altavoces surround esrialquier punto de las paredes o contra ellas a los lados del arealde los asientos, desde una posicjion adyacente hasta 20 grados detrás de tal areal. Montelos mas arriba de la altera del oido de los oyentes sentados (de 1.50 a 1.80 m (5 a 6 pies) de altera) pero evite colocarlos contra el cielo raso. Orientelos directamente hacia el otherdo al de la sala o ligamente hacia la pared de除外 para Obtener un sonido difuso, o hacer la posicjion del oyente para Obtener un sonido directo. El disejo de los modelos satelite Reference permite gran flexibilidad y se pueda Obtener buenos resultados en configuraciones que se diferencian considerablemente del ideal.
Altavoces posteriores surround. Si sus aparatos electrónicos acceptan Dolby Digital EX, THX Surround EX, o Surround DTS-ES de 7.1 o 6.1 canales, usted能把 colocar uno o dos altavoces detrás del área de los asientos para que functionen como altavoces surround posteriores. Tal como con los altavoces surround izquierdo y derecho, la Shedeción optima es por encima
del nivel del oido del oyente sentado. Si Tiene solamente un altovo surround posterior, deben estar centrado detrás del area de audición; si está usingo dos, deben colocarse bastante+juntos. Con este tipo de sistemas, los surround derecho e izquierdo normales deben colocarse en posi- ción adyacente al area de los asientos y no detrés.
AJUSTE DEL PEDESTAL Y MONTAJE EN LA PARED
Los RVX-42 se fjan en sus pedestales por medio de un perno que permite colocarlos en posici-. tion vertical o en la orientacion en que se envian de fabrica: horizontalmente o dispuestos para colocacion en repisas, que es lo normal para altavoces de canal central. Para ajustar la base, quite la herramienta de perno de pedestal de la parte de aftas de la unidad y con ella quitele el perno al pedestal. Coloque el pedestal en el punto de montaje central y vuelva a colocar la herramienta en la abertura en que esta anteriormente (Vea la Figura 2).




Figure 2
Puede usar una montura optional de pared o cielo raso que se ajuste a los insertos suministrados de 3/8 de plg. - 16.
Vea al distribuidor autorizzato de Klipsch para determinar el Modelo correcto para usted.
Para instalar el RVX-42, siga las instrucciones especialidas a continuación:
- Ubique la plantilla de montaje con nivel de burbuja que se suministra y colóquela en la pared en la posión deseada.
- Marque la posicón de los tornillos para el modelo que está instalando.
- Atornille tornillos N^8 de cabeza troncocona para madera (de por lo menos dos pulgadas de longitud) en un paral de madera o use anclas para pared de pirca con el valor nominal de carga apropiado. Deje que las cazas de los tornillos sobresalgan de la pared aproximamente 1/4 de plg. y ajustelos según seanecessary cuando*cuelgue los altavoces.
- Fije las almohadillas de goma autoadheribles a la parte de atrás del altovoz.
- Conecte el cable del altovo a las terminales de los altavoces. Vea la seccion "De los altavoces al amplificador. Mantenimiento de la polaridad".
- Enganche los agujeros en forma de ojo de cerradura de los altavoces en las cabezas de tornillo que sobresalen de la pared. Ajuste la alta de los tornillos para lograr un bien ajuste. No apriete en excesso.
- Afine el ángulo de los altavoces si está usinga una montura optional de pared que se ajuste a los insertos suministrados de 3/8 de plg. - 16.
CONEXIONES
Nota. La connexion correcta de los altavoces al amplificador o receptor es de importancia vital para tener buena calidad de sonido. Siga estas instrucciones cautadosamente. Las conexiones descuidadas peuvent darar o hacer fallar el amplificador.
Los altavoces Reference de Klipschienen cableados internamente con cable de cobre de alta pureza de variedos calibres, seleccionados y enrollados cuidadosamente para asegurar una transference optima de la seals a todas las Frequencias. Usted obtendra el mejor rendimiento de los altavoces si los connecta al amplificador o receptor con cable de calidad similar que su proveedor
puede suministarle. Recomendamos que use cable trenzado de cobre calibre 18 o más pesado (menor calibre). Use cable de menor calibre (más pesado) para trayectos largos a fin de minimizar la perdida de potencia del amplificador debida a la resistencia del cable.
PERO PRIMERO: TIPOS DE CONECTORES
Cable sin aislamento. Despeque los conductores aproximadamente una pulgada y quite aproximadamente 1/4 de pulgada de aislamento de los extremos. (Esto se simplifica con un pelacables, pero se可以选择 usar una navaja de Bolsillo common y corriente paraURTar alrededor del aislamento hasta el metal bajo del cable.) Trence apretadamente las hebras de los conductores individuales. Afloje las tuercas de un par de terminales hasta que se vean los agujeros a工程技术 del metal, lui escribe la parte sin aislamento de los cables a工程技术 de los agujeros. Atornille las tuercas a mano hasta el conductor. Asegúrese de que las hebras del conductor connectado a una terminal no toquen ni la othera terminal ni las hebras del othero conductor. Noamar esta precaución en qualquiera de los extremos de la conexión pueda darar o hacer fallar el amplificador.
Clavijas. Muchos cables de altoz prefabricados terminan en clavijas de metal. Afloje las tuercas de un par de terminales hasta que se vean los agujeros a工程技术 del metal, bajo inserte las clavijas a工程技术 de los agujeros. Atornille las tuercas a mano hasta las clavijas. No las apirete en excesso. Asegürese de que no haya contacto de metal a metal entre las dos clavijas o terminales. Noizar this precauacion en qualquera de los extremos de la connexion possible daar or hacer fallar el amplificador.
Orejetas de pala. Algunos cables de altovo vienen terminados en connectores en forma de U lllamados orejetas de pala. Afloje las tuercas de un par de terminales, bajo inserte las orejetas de pala alrededor de las terminales. Atornille las tuercas a mano hasta las orejetas de pala e inspeccionelas para asegurarde que estan firmamente en posicacion. Asegurese de que no haya contacto de metal a metal entre las orejetas de pala o las terminales. Noayarstesta precaucion en cualesera de los extremos de la connexionuede daar o hacer fallar el amplificador.
HAY OTROS TIPOS DE CONECTORES ESPECIALES PARA FACILITAR EL CABLEADO DE LOS ALTAVOCES. CONSULTE A SU DISTRIBUTOR AutorIZADO KLIPSCH PARA QUE LE DE SUGERENCIAS Y MÁS DETalles.
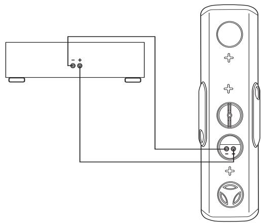
DE LOS ALTAVOCES AL AMPLIFICADOR: MANTENIMIENTO DE LA POLARIDAD
Uno de los aspectos más importantes del cableado de altavoces esmanter la polaridad o fase. Si los altavoces se conectan desfasados, los bajos y la imagen de sonido se degradan.
Lamania más fácil de asegurar que los altavoces estén cableados en fase es conectar siempre las terminales de calidad positiva y negativa del amplificador o receptor a las terminales de entrada correspondientes de los altavoces:positiva (^ + ^ roja) a positiva y negativa (^ - ^ ,negra) a negativa (vea la Figura 3).

Figure 3
La mayora de los cables de altovaz prefabricados tienen conectores de colores que facil- tan la correspondencia correcta entre entradas y salidas. Si los suysos no son asi, o siusted está haciendo sus propios cables con cables de altovaz de dos conductores pegados, busque marcas de identificacion en el aislamento de los conductores. Normalmente hay letras, una banda o un resalto a lo长大o de uno de los conductores.
CONFIGURACIONES DE ADMINISTRATION DE BAJOS Y AJUSTES DE SUBWOOFER
Los procesadores, amplificadores y receptores digitales de sonido surround usan lo que se conoce como administración de bajos para asegurar que las Frequencias bajas de los diversos canales se envian a los altavoces que pueda manejarlas bien y no a los altavoces pequeños que no pueda hacerlo. Los altavoces satélite Reference requieren un subwoofer (o altavoces frontales izquierdo y derechograndes) para reproducir los bajos de baja Frequencia. En el menu de configuración de altavoces del procesador o el receptor, fije todos los canales connectados a los altavoces satélite Reference en "Pequeño" (Small). Si depende de altavoces frontales grandes para los bajos, fije los canales que los alimentan en "Grande" (Large). Si está usingo un subwoofer, fije el canal de subwoofer en "Activado" (On) o "Si" (Yes).
La mayoria de los circuitos de administracion de bajos employan una fecuencia de crossover de 80Hz o 100Hz , lo cual corresponde bien al limite inferior de los satélites Reference. Si su sistemas le offre la option, le recommendamos que comience con 90Hz o 100Hz . Si el subwoofer no está connectado a una calidad de subwoofer dedicada, comience con su crossover interno fijiado en aproximamente 90Hz o 100Hz .
CUIDADO Y LIMPIEZA
Lo unico que se necesita para limpar los altavoces es quitarles el polvo de vez en cuando No les aplique nunca limpiadores a base de solvente o detergentes fuertes. Las rejillas se能把 limpar con el accesorio de escobilla de la aspiradora.
GARANTÍA FUERA DE LOS ESTADOS UNIDOS Y CANADA
Si este produit se vendé a un consumidor fuera de los Estados Unidos o Canada, la garantía deben estar complir con las leyes correspondientes y sera responsableidad exclusiva del distribuidor que lo suministro. Para Obtenerrialquier service de garantia aplicable, comuniquese con el minorista que le vendio este producto o con el distribuidor que lo suministro.
ManualFácil