RVX - Coluna KLIPSCH - Manual de utilização gratuito
Encontre gratuitamente o manual do aparelho RVX KLIPSCH em formato PDF.
Baixe as instruções para o seu Coluna em formato PDF gratuitamente! Encontre o seu manual RVX - KLIPSCH e retome o controlo do seu dispositivo eletrónico. Nesta página estão publicados todos os documentos necessários para a utilização do seu dispositivo. RVX da marca KLIPSCH.
MANUAL DE UTILIZADOR RVX KLIPSCH
- LEIA estas instruções.
- GUARDE estas instruções.
- SIGA todos os avisos.
- SIGA todas as instruções.
- NÃO USE este equipamento proxieso de agua.
- LIMPE SOMENTE com um pano seco.
- NÃO bloqueie nenhuma saida de ventilação. Faça a instalação de acordo com as instruções do fabricante.
- Não instale proxies de nenhuma fonte de calor, como radiadores, fornos ou outros equipamentos (incluindo amplificadores) que produzem calor.
- NAO anule o efeito de segurarca doplugue de aterramento ou polarizzato. Um plugue polarizzato tem bois terminais planos, um mais长大o que o除外. Um plugue do tipo aterramento tem bois terminais planos e um terreiro pino para aterramento. O terminal plano mais长大o e o terreiro pino são fornecidos para sua segurarca. Se o plugue fornecido não encaixar na tomada, peça para um eletricista trocar a tomada da parede.
- PROTEJA o fio de energia para que ele não sera pisado ou esmagado, especialmente nos plugues, adaptadores e no punto em que eles saem do equipamento.
- USE SOMENTE accesórios/conexões especializados pelo fabricante.
- USE somente com uma base, tripé, suporte ou mesa especifiedo peso fabricante, ou vendida com o equipamento. quando for usada uma base molev, tenha dificuldao ao movimentar a combinação base/equipamento para evitar ferimentos causados poI tombamento da caixa.
- DESCONECTE o equipamento durante tempestades de raios ou quando o equipamento não estiverico送去 usedo por um longo periodo de tempo.
- Toda manutenção deve ser feita por pessoal qualificado. A manutenção é necessária se o equipamento for danificado de alguma forma, como danos no cabo de energia, liquidos derramados ou objetos caidos dentro do equipamento, exposicao do equipamento à chuva ou umidade, operacao anomal ou queda do equipamento.

Este sentido indica que existem importantes instruções de manutenção e operação na literatura que accompanies a equipe.

Este simbolo indica a Presence de tensao perigosa que constitui um risco de何时que eletrico.
ATENÇA: Para reduzir o risco de incendio ou Choques electrolycos, não exponha o equipamento à umbidade ou à chuva.

CAUTION RISK OF ELECTRIC SHOCK DO NOT OPEN

ATENÇAO: Existem tenções perigos nasresher equipamento. Não existem no equipamento peças que possem ser reparadas pelo 用户. toda manutençao deve ser feita por pessoal qualificado. ATENÇAO: Alterações ou Mudicações que não tenham sido expressamente aprovidas pelo fabricante podem tornar invalida a autoridade do 用户 para operação deste disposítivo.
SOBRE SUA AOUISICAO DE PRODutos DA KLIPSCH
Agradecemos sua aquisicao das caixas acusticas da Klipsch. Depois de ler este manual e conectar seuSYSTEMa, você ouvirá o resultado de mais de 55 anos de engenharia precisa de ponta e pesquisa e desenvolvimento lider no setor. Como todos os produits da Klipsch, estas caixas acusticas foram fabricadas com a Tecnologia com corneta da Klipsch: o projeto realizado como base fundamental do primeiro produto Klipschorn® desenvolvimento em 1946 e de todos os outros produits lançados posteriormente. A inclusao da corneta permite que as caixas acusticas tenham alta sensibilidade, baixa distortion, resposta de frequencia estavel e dispersao ampla. Isto resulta em uma potencia, nitidez e dinamica inigualaveis: as caracteristicas que distinguuem o "Som da Klipsch".
Não deixe de preencher o cartão de garantía fornecido ou de registrar o produto on-line no site www.klipsch.com para que possamos atendê-lo melhor.
Mais una vez, agradecemos por escolher a Klipsch. Esperamos que as suas caixas acústicas tragam vida às suas MPEGas e filmes durante muitos anos.
GRADE
A caixa acústica pode ser realizada com ou sem a grade instalada. A grade é fixada magnéticamente e pode ser fácilmente retrirada, bastando para isso puxá-la para a frente. Para recolocá-la, alinne as bordas da grade com as da caixa acústica.
POSICIONAMENTO
As caixas acústicas Reference RVX foram projetadas paramericana flexibilitad e terao bom desempenho em uma ampla gama de configurações. A figura 1 minha configuração típica de cinema em casa, com uma caixa acústica no canal central (RVX-42) em cima da TV, caixas acústicas frontais direita e esquerda (RVX-42 ou RVX-54) ao lado daTELa, outropar de caixas acústicas (RSX-4 ou RSX-5) uma de cada lado da area occupiedelos ouvintes para os surrounds principals, e um terreiro par atras para o canal surround traseiro em umsystema de 7.1 canais (Dolby Digital EX ou DTS-ES). As recomendaçoes para o posicionamentospecifico para cada funcao está descritas abaixo.

Figure 1
Caixa acústica do canal central: Centralize a caixa acústica diretamente acima ou abaixo daanela de video. A base integra de permitte que a caixa acústica sera colocada em cima da TV (ou em uma prateleira acima ou abaixo dela) ou montada na parede (consulta as instruções para montagem em parede). Idealmente, o sonoflector frontal da caixa acústica deve estar alinhado com a superficie frontal daanela. Consulate informações mais detalhadas na��a de ajuste da base.
Caixas acústicas frontais esquerda e direita: As caixas acústicas frontais esquerda e direita devem estar aproximamente alinhadas com aanela de video e equidistantes dela.
A distança entre as caixas acústicas e aTELá não é importante, apesar de que separações maiorres tendem a produzir sons mais espacços. Evite posicionar qualquer uma das caixas acústicas a menos de 60 cm de uma parede lateral, e se estiverem em prateleiras ou em um armário, posicione-as de modo que suas superficies frontais fiquem ao menos alinhadas com arente do armário. Se possivel, colque-as na mesma alta dos ouvidos dos ouvintes quando sentados.
Caivas acústicas surround da esquerda e da direita: As caivas acústicas RVX foram projetadas para ser compatíveis acústica e visualmente com a LINHA de caivas acústicas satélite Klipsch Reference. Entre em conta com o revendador autorizzato Klipsch para informar-se sobre o Modelo satélite Reference ideal para seuSYSTEMA.
O melhor local para colocar caixas acuíticas surround é em paredes ou encostadas em paredes nas laterais da区内 ond os ouvintes se sentam. Posizione-as ao lado da posicao de audicão ou a circa de 20o atrás dela. Monte-as acima da alta dos ouvidos dos ouvintes quando sentados (1,5 a 2,0 m de alta), mas evite colocá-las encostadas no teto.
Direcione-as perpendicularamente aos ouvintes, ou um peu para trás em direção à parede traseira para obter um som mais difuso, ou maisproxima da posicao occupada pelos ouvintes para produzir um som mais direto.
O projetos dos modelos satélite Referencemericanamente flexibilidades, e bons resultados podem ser obtidos com configurações significativamente differsentes da ideal.
Caixas acústicas surround traseiras: Se o seu equipamento for compatível com oSYSTEMa Dolby Digital EX, THX Surround EX ou DTS-ES surround de 7.1 ou 6.1 canais, uma ou两大 caixas acústicas podem ser colocadas atrás da area onde os ouvintes sentido para atuarem como caixas acústicas surround traseiras. Da mesma maneira que com as caixas surround esquerda e direita, a melhor posicao é acima do nível dos ouvidos dos ouvintes quando sentados. Casa sera utilizes apenasuma caixa acústica surround traseira, ela deve ficar centralizada atrás da area destinada ao ouvintes. No caso de两大 caixas acústicas,elas devem ficar posicionadas bem proxiesmas um da othera. Com este tipo deSYSTEMA, as caixas acústicas surround esquerda e direita devem ficar ao lado da area onde os ouvintes sentido, e não atrás dela.
AJUSTE DA BASE E MONTAGEM EM PAREDE
As caixas acústicas RVX-42 são fixadas em suas bases atraves de um parafuso que permite que sejam usadas na posicao vertical (como despachadas de fabrica) para serem colocadas em prateleiras, ou na posicao horizontal, normalmente'utiliza para o canal central. Para fazer a base, retire a chave sextavada da parte traseira da unidade e retire o parafuso da base. Reposicao a base no punto de montagem central e(before recoloque a chave sextavada no espoço onde estava. (Ver a figura 2).

Figure 2


Entre em conta com o revendedor autorizzato Klipsch para determinar o Modelo recommendado para o seuSYSTEMA.
- Para instalar a RVX-42, siga as instruções abaixo:
Localize o Modelo para montagem em parede, colocque-a na parede na posicao desejada e - nivele-a.
- Marque os locais para parafusos para o Modelo que está instalando. Utilize parafusos para fixação à parede que sejam adequados ao peso que terão de suportar Deixe as cabecas dos parafusos para fora da parede aproximately 6 mm e ajuste con
- forme necessario ao pendurar a caixa acustica.
- 4Fixe os suportes de borracha auto-adesivos fornecidos na parte traseira da caixa acústica. Conecte o cabo de caixa acústica aos connectores da caixa. Ver "Das caixas acústicas ao
- amplificador: conexão correta" Encaixe os orificios da caixa acústica nas cabecas dos parafusos salientes na parede. Ajuste a
- alta das cabecas dos parafusos para um encaixe solo. Não aperte demasiamente. Reajuste o angulo da caixa acústica caso esteja usingo um suporte optional para montagem em parede que se encaixe nos orificios de 6,3 mm - 16 locais.
CONEXOES
Observação: Para se obter boa qualidade de som, é importante que a conexão das caixas acuíticas ao amplificador ou receivei sera feita corretramente. Siga atentamente estas instruções. Conexões mal feitas podem causar mau functimento do amplificador ou danificá-lo.
A fácão interna das caixas acústicas da série Reference da Klipsch é feita com fios de cobre de alta pureza de various diamétros, cuidadosamente selecionados e enrolados para garantir a transferência ideal de sinais em todas as freqüências. Para obter o melhor desempenho das caixas acústicas, conecte-as ao amplífador ou ao receiveur usingo cabos semelhantes de alta qualida disponiveis no revendedor. Recomendamos o uso de fios de cobre de bitola 18 AWG (1 mm) ou trançado de bitola mais grossa. Utilize uma bitola mais grossa para trechos mais longos, para reduzir a perda de potência do amplífador devo a resistência do fio.
Fio desencapado — Separe os dois condutoreserca de 2,5 cm e remove aproximamente 0,5 cm de isolamento da extremidade de cada um. (Um alicate descascador de fios facillará este procedimento, mas pode-se usar también um canivete comum paraURTAR em volta do isolamento até atingir o fio). Torça individualmente os dois segmentos de fios expostos de cada conductor. Solte as porcas de um par de terminais de conexão até que os orificios dos terminais de metal esteyam expostos. Insira a seguir os fios expostos atraves dos orificios. Parafuse as porcas com os dedos para prender os fios. Certifique-se de que nenhuma parte do fio exposto connectado em um terminal de conexão esteja tocando no除外i termol ou em qualquer parte do fio exposto do除外i conductor. Casa está precação deixe de ser observada em uma das extremidades da conexão, poderá resultar em mau等功能amento ou dano no amplífador.
Pinos — Muito cabos de caixas acústicas pré-fabricados tem pinos metallicos nas extremidades. Solte as porcas de um par de terminais de conexão até que os orificios dos terminais de metal esteyam expostos. Insira a seguir os pinos atraves dos orificios. Parafuse as porcas com os dedos para prender os pinos — não as aperte demasiadamente. Certifique-se de que nenhuma parte metalica dos bois pinos ou dos terminais de conexão esteyam se tocando. Caso esta precação deleixe de ser observada em uma das extremidades da conexão, poderá resultar em mau functimento ou dano no amplífador.
Bornes de conexão — Alguns cabos de caixas acústicas tem na extremidade birthes no formato de U, denominados bornes de conexão. Solte as porcas de um par de terminais de conexão e encaixe os birthes ao redor dos TERMINais de metal.
Parafuse as porcas com os dedos para prender os bornes e examine-os para confirmar se estáfirmamente no lugar. Certifique-se de que nenhuma parte metalica dos bois bornes ou dos terminais de conexão estejam se tocando.
Caso esta precaução deixe de ser observada em uma das extremidades da conexão, poderá resultar em mauFUNICIONamento ou dano no amplificador.
EXISTEM OUTROS TIPOS DE CONECTORES ESPECIALIS PARA FACILITAR A CONEXAO DAS CAIXAS ACUSTICAS. CONSULTE O REVENDEDOR AutorIZADO KLIPSCH PARA OBTER SUGESTOES E DETALHES ADICIONAIS.
DA CAIXA ACUSTICA PARA O AMPLIFICADOR: CONEXXO CORRETA
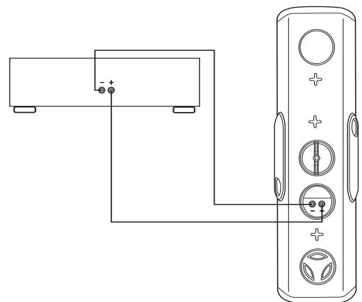
Um dos aspectos mais importantes sobre a conexão das caixas acústicas é mante-las na mesma polaridade, ou fase. Se elas foram connectadas fora de fase, ocorrera degradação de graves e da reprodução do som.
A maneira mais fácil de assegurar que as caixas acústicas estáj am conectadas em fase é sempre conectar os terminais de fazer positivo e negativo do amplificador ou receiveir os terminais correspondentes nas caixas acústicas:positivo (^n + ^n ,identificado pela cor vermelha) a positivo e negativo (^ - ^ , identificado pela cor preta) a negativo. (Ver a figura 3).
A maior dos cabos de caixas acuíticas pré-fabricados tem connectores identificados por estas两大 cores, o que faculta a conexão correta das entradas e saidas. Caso o caboutilizado não tenha esta característica, ou caso esteja utilizesso seu propre cabo com dois conducções emparelhados, procure porscaras de identificacao no isolamento dos dois conducções.
Normalmente, um dos conduções tem uma identificação impressa, uma faixa ou sulco em sua superficie.
AJUSTE DO CONTROLE DE GRAVES E AJUSTE DO SUBWOOFER
Os receivers, amplificadores e processadores digital surround usam umsystemaconhecido como controle de graves para garantir que as baixas frequencias nos various canais sejam enviadas ascaixas acusticasqueconseguemprocessa-lasbem,evitandoenvia-lasacaixascuisticacompactasque não tem esta capacidade.Os satelites Reference necessitam de um subwoofer (ou caixas acusticas esquerda e direita grandes) para reproduzir graves baixos.No menu de configuração da caixa acustica do processor ou do receiver, configure todos os canais conectados ascaixas satelite Reference como "Small" [Pequena].Se você depende de caixas frontais grandes para os graves,configure os canais que as alimentam como "Large" [Grande].E se estiver usingo um subwoofer,configure o subwoofer como "On" [Ativado] ou "Yes" [Sim].

Figure 3
A maior dos circuitos de controle de graves utilize a frequência de transicao (crossover) de 80Hz ou 100Hz , que é uma boa correspondência para o limite inferior das caixas satélite Reference. Se o Sistema oferecer alternativas, recomendamos fazer com 90Hz ou 100Hz . E se o subwoofer não estiver conectado a uma sina de dedicao de subwoofer, comece com a frequencia interna de crossover ajustada em torno de 90Hz ou 100Hz .
MANUTENCA E LIMPEZA
Aúnica coisa que você vai precisar fazer para limpar as caixas acústicas érirrar a poira de vez em quando. Nunca use limpadores abrasivos ou à base de solventes e detergentes fortes. As grades podem ser limpas com a escova que vem com um aspirador de pó.
GARANTIA FORA DOS ESTADOS UNIDOS E CANADA
A garantia deste produto, quando vendido para um cliente para dos Estados Unidos ou Canada, deve estar de acordo com a leiisagem em vigor e é de inteira responsabilitadodistribuidor que vendeu o produits. Para obter os serviços aplicacoes previstos na garantia, entre em conta com o representante de quem você comprou o produit ou com o distribuidor do produits.
ManualFácil