INSTAX SHARE SP-2 - Portable photo printer FUJIFILM - Free user manual and instructions
Find the device manual for free INSTAX SHARE SP-2 FUJIFILM in PDF.
User questions about INSTAX SHARE SP-2 FUJIFILM
0 question about this device. Answer the ones you know or ask your own.
Ask a new question about this device
Download the instructions for your Portable photo printer in PDF format for free! Find your manual INSTAX SHARE SP-2 - FUJIFILM and take your electronic device back in hand. On this page are published all the documents necessary for the use of your device. INSTAX SHARE SP-2 by FUJIFILM.
USER MANUAL INSTAX SHARE SP-2 FUJIFILM
FILLMU887K250K250K250K250K250K250K250K250K250K250K250K250K250K250K250K250K250K250K250K250K250K250K250K250K250K25


Inserting the Battery. 31
Charging the Battery 32
Charging Indicator 32
Loading the INSTAX mini Film Pack.... 33
Turning on/off the Printer 34
Checking Remaining Battery Life. 34
Connecting and Printing 35
When establishing connection for the first
time: 35
When connection is already established: .... 37
Reprinting. 38
Deleting an Image 39
Unloading a used INSTAX mini film pack. 39
About the LED Indication. 40
SPECIFICATIONS 41
TROUBLESHOOTING 42
IMPORTANT SAFETY NOTICE 46
Handling the Battery 53
After reading this User's Guide, keep it in a safe, easy to find place where you can refer to it if needed.
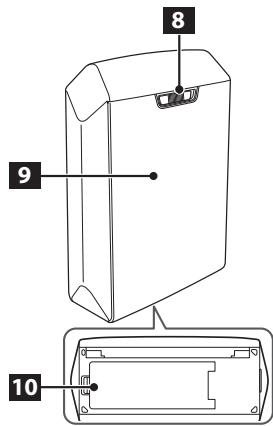
Parts Name


1 Print exit
2 POWER button
3 REPRINT button
4 USB connector cover
5 USB connector
6 Film remaining LED
7 Battery remaining LED
8 Back cover lock
9 Back cover
10 Battery cover
Before Use
Before using the printer, install the instax SHARE application on your device.
- When you are using an Android OS device, search for "instax SHARE" in the Google Play, then install the application.
- System requirements of an Android OS device: Android Ver 4.0.3 or later and Google Play are installed.
- When you are using an iOS device, search for "instax SHARE" in the App Store, then install the application.
- System requirements of an iOS device: iOS Ver 7.1 or later is installed.
You may not be able to print from some devices even if you have installed the instax SHARE application and your device meets the requirements listed here.
Access instax SHARE website for the latest information on system requirements.
Inserting/Charging the Battery
Inserting the Battery

1
Push up the battery cover lock to open the battery cover.

2
Insert the battery according to the arrow on it.
Make sure the yellow line on the battery aligns with the mark on the printer.

3
Push the battery cover lock until it clicks into place.
Inserting/Charging the Battery (Continued)
Charging the Battery

Connect the printer and an AC power adapter supplied with your smartphone using the supplied USB cable, then connect the AC power adapter to an indoor power outlet. The battery remaining LED indicates the battery charge status. For details, see the table on the right column.

- Use an AC adapter to meet the rated output below: DC 5.0 V/1000 mA
- You can print an image while charging is in progress.
- Charging time is approximately 90 minutes.
Charging Indicator
| Indication | Battery status/Action |
| Lights red (ON) Flashes red (OFF) | Charging is in progress. |
| Lights green (ON) Flashes green (OFF) | Charging is more than half completed. |
| Flashes green, then goes off (OFF) | Charging is completed. |
| Flashes green and red alternately | An error is being occurred. Stop charging. |
Charging from a PC:
- Connect the printer and PC directly. Do not connect them via a keyboard or USB hub.
- If the PC enters the sleep mode while charging is in progress, charging will stop. If you continue charging, resume the PC and reconnect the USB cable.
- You may not charge the printer from a PC depending on your PC specifications, settings, or status.
Do not open the back cover until you have used up the film; otherwise, the rest of the film is exposed and turns white. The film can no longer be used.
- When you load the film pack, never press the two rectangular holes on the back of the film pack.
- Never use a film pack beyond its shelf life; otherwise, it may damage the printer.
Use FUJIFILM instax mini Color Film only. No other type of film (e.g. FUJIFILM instax Digital Mobile
Printer Photo Pack) can be used.
Notes on the film pack
Each FUJIFILM INSTAX mini film pack contains 1 black film protective cover and 10 film sheets.
- Do not remove the film pack from its inner bag before loading it into the printer.
- The film cover is ejected automatically when the back cover is closed.
For details, refer to the instructions and warnings on FUJIFILM INSTAX mini film.


Press down the back cover lock and slide it right to open the back cover.


Hold both sides of the film pack, align the yellow marks on the printer and the film pack, then insert it straight.
Close the back cover. Make sure the back cover lock clicks into place.

4
The film cover (black) is ejected automatically when the back cover is closed. Remove the film cover from the print exit.
Turning on/off the Printer

Press and hold the POWER button for approx. 1 second to turn the printer on or off.
Turning the printer on lights up the battery remaining LED and it turns off after a certain period of time.
If no operation occurs for a certain period of time, the printer turns off automatically.
Checking Remaining Battery Life
Use the battery remaining LED to check when turning the printer on or while printing is in progress.
| Indication | Remaining battery life |
| Green | At more than half capacity |
| Red | Low. Charging the battery is recommended. (See page 32.) |
| Printer turns off after flashing red. | No battery capacity remains. Charge the battery. (See page 32.) |
Connecting and Printing
Wireless LAN Setup for iOS Devices
When you are using an iOS device, follow the procedure below to perform wireless LAN setup.
- Select "ON" for "Wi-Fi" in the "Settings" menu of your device.
- Tap the network name (printer name) under "Choose a Network".
When establishing connection for the first time:


Press and hold the POWER button for approx.
1 second to turn the printer on.
The battery remaining LED lights up and it turns off after a certain period of time.

2
Start the downloaded application "instax SHARE".

3
Select the picture to print or take a picture.
Connecting and Printing (Continued)


Tap "Connect and print".
Before tapping "Connect and print", tapping on the upper right displays the edit menu. You can add a template or adjust an image on this menu. Tap "Done" to exit from the menu.


When a printer is detected, tap "Connect". If multiple printers are detected, select the printer to connect from the list. Printer's identifier (SSID) is located on the bottom of the printer.


Enter the factory default password (1111) or the one you specified, then tap "OK". The printer starts printing.
When printing, stabilize the printer by putting it on a steady place such as a desk.
To reset the password to the factory default (1111), turn the printer on while holding the REPRINT button.

When the film has been ejected (the printer stops making a sound), grasp the edge of the film, then take it out. 1 film remaining LED turns off every time you print an image.
Connecting and Printing
When connection is already established:


Press and hold the POWER button for approx.
1 second to turn the printer on.
The battery remaining LED lights up and it turns off after a certain period of time.


Start the downloaded application "instax SHARE".




Select the picture to print or take a picture.
Tap "Print".
The printer starts printing.
- When printing, stabilize the printer by putting it on a steady place such as a desk.
- Before tapping "Print", tapping on the upper right displays the edit menu. You can add a template or adjust an image on this menu. Tap "Done" to exit from the menu.
Continued on the next page
Connecting and Printing (Continued)

When the film has been ejected (the printer stops making a sound), grasp the edge of the film, then take it out. 1 film remaining LED turns off every time you print an image.
Reprinting

Press the REPRINT button once.

Every time you press the REPRINT button, the previous image is reprinted.
- The last printed image is stored even if you turn the printer off. (You can select whether to store the image on the instax SHARE application.)
- Transferring a new image overwrites the stored image.
- You cannot reprint Real time templates.
Color tones may change slightly in continuous printing.
Deleting an Image


Press and hold the REPRINT button for more than 5 seconds with the printer on.


The film remaining LED flashes for 1 second and the image is deleted.
Unloading a used INSTAX mini film pack

When no film is left, all the film remaining LEDs flash slowly. Unload the film pack.


Press down the back cover lock and slide it right to open the back cover.


Grasp the rectangular holes on the film pack, then pull it out straight.
About the LED Indication
Film remaining LED indication

The film remaining LED indicates film remaining, printer operation, or error warning.
1 film remaining LED turns off every time you print an image, and flashes slowly to indicate no film remains.
See the table below for other indication patterns.
| Operation/Status | Indication |
| You deleted a reprint image. | Flashes rapidly for 1 second. |
| You reset the password. | |
| You transmitted an image with no film remaining. | Flashes slowly for 3 seconds. |
| No reprint image | |
| No film pack | Flashes slowly. |
| Development or communication error occurred. | Flashes rapidly. |
Battery remaining LED indication

The battery remaining LED indicates the printer status while charging the battery, or battery life of the printer. See page 32 for indications while charging the battery. See page 34 for battery life of the printer.
SPECIFICATIONS
instax SP-2
| Recording method | 3-color exposure with OLED |
| Film | Fujifilm INSTAX mini instant color film (sold separately) |
| Photo capacity | 10 prints/pack |
| Image size | 62 mm×46 mm |
| Supported image size | 800×600 dots |
| Printing resolution | 320 dpi |
| Printing levels | 256 levels per color (RGB) |
| Interface | Standard compliance: IEEE802.11b/g/n |
| Operation frequency: 2.4 GHz (5 GHz is not supported.) | |
| Supported image format | JPEG, PNG |
| Printing time | Image recording - photo output (fed out): Approx. 10 sec. |
| Approximate printing capacity | Approx. 100 prints (Based on our test conditions) |
| * Varies depending on the conditions of use. | |
| Charging time | Approx. 90 minutes (Varies depending on battery remaining level) |
| Power supply | NP-45S (1 piece) |
| Power consumption | 2 W |
| Operating temperature | +5°C to +40°C/+41°F to +104°F (no condensation) |
| Dimensions/Weight | 89.5 mm × 131.8 mm × 40 mm (excluding projections) |
| 250 g (without battery and film pack) | |
| Supplied accessory | USB cable (BOB711) |
- Specifications above are subject to change for improvement.
TROUBLESHOOTING
During printing
| Problems | Possible Causes | Solutions |
| The printer cannot be turned on. | ① The battery power is low. (The battery remaining LED is flashing red.) ② The battery is not inserted correctly. ③ You did not press the POWER button for long enough. | ① Charge the battery fully. ② Insert the battery correctly. ③ Press and hold the POWER button for approx. 1 second. |
| You entered the password, but the device cannot be connected to the printer. | ● The password is incorrect. | ● Turn the printer on while holding the REPRINT button to reset the password to the factory default (1111). |
| You pressed the REPRINT button, but you cannot print. | ① No images are stored in the printer. (The film remaining LED flashes for 3 seconds.) ② No film remains in the printer. (All the film remaining LED are flashing.) ③ The film pack is not loaded. (All the film remaining LED are flashing.) | ① Transmit an image to print. ② Load a new film pack. ③ Load a new film pack. |
| The film pack cannot be loaded, or cannot be loaded smoothly. | ① The film pack is not for your printer. ② The film pack is not being loaded correctly. | ① Use FUJIFILM INSTAX mini instant color film only. (No other films can be used.) ② Match the yellow line on the film pack with the yellow positioning mark in your printer. |
| The film cover cannot be ejected. | ● The printer cannot recognize the film pack. | ● Remove the film pack and load it again. |
| The film cannot be ejected to the end. | ● The printer shakes or has been dropped and the film has become misaligned. | ① Grasp the edge of the film and pull it out. ② Performing another printing operation pushes the jammed film out. |
| The film pack cannot be ejected. | ① The printer shakes or has been dropped and the film is misaligned. ② The film has been jammed. | ① Load a new film pack. ② Turn the printer off and on again. If this does not solve the problem, remove the jammed film and load a new film pack. |
LED status
| Problems | Possible Causes | Solutions |
| The film remaining LED flashes rapidly, then the printer turns itself off. | ● A printer error has occurred. | ● Turn the printer on. |
| The battery remaining LED flashes red slowly, then the printer turns itself off. | ● The battery power is low. | ● Charge the battery fully. When the remaining battery life is low, you cannot turn the printer on even though the printer is connected to the AC power outlet using the USB cable. Turn the printer on after time has elapsed since you started charging. |
| The film remaining LED flashes during communication and printing does not start. | ● Communication has been interrupted for some reason. | ● Turn the printer on, then restart the application on your device. |
| The battery remaining LED alternately flashes green and red slowly. | ① The battery is being charged beyond the operation temperature. ② The battery life has expired or there is a problem with the USB cable or AC power adapter. | ① Charge the battery between +5°C and +40°C (+41°F and +104°F). ② Replace the battery, USB cable, or AC power adapter with a new one. |
| The battery remaining LED alternately flashes green and red rapidly. | ● The battery life has expired or there is a problem with the USB cable or AC power adapter. | ● Replace the battery, USB cable, or AC power adapter with a new one. |
Printed pictures
| Problems | Possible Causes | Solutions |
| Part or whole finished print is white. | ●The back cover was opened before you have used up the film. | ●Do not open the back cover until you have used up the film; otherwise, the rest of the film may be exposed and ruined for use. |
| The picture is blurred. | ①Pressure was applied to the picture immediately after it came out from the printer. ②The picture did not come out smoothly. | ①Do not shake, bend, fold, or press the print. ②Do not cover the film exit. |
| A black line is printed on the bottom of the finished print. | ●The printer shakes or has been dropped and the film has become misaligned. | ●Retransmit the image. If this does not solve the problem, load a new film pack. |
IMPORTANT SAFETY NOTICE
This product has been designed with safety in mind, and to provide safe service when handled correctly and in accordance with the User's Guide and instructions. It is important that both the product and the INSTAX film are handled properly and used only to print pictures as instructed in this User's Guide and in the INSTAX mini film instructions. For your ease and safety, please follow what is written in this User's Guide. It is also a good idea to keep this User's Guide in a safe, easy to find place where you can refer to it if needed.
WARNING
This symbol indicates danger, which could result in injury or death. Please follow these instructions.
WARNING
If the printer (or batteries) becomes hot, emits smoke or a burnt smell or otherwise seems abnormal, immediately remove the batteries. Faults of this nature could start a fire and cause burns. (Take particular care to avoid burns when removing the batteries or pull out the USB cable.)
If the printer is dropped into water or if water or metal or other foreign objects get inside the printer, immediately remove the batteries, disconnect the AC power adapter and unplug the AC power adapter from the power outlet. Faults of this nature could cause the printer to overheat or catch fire.
Do not use this printer in places where there is flammable gas or near open gasoline, benzine, paint thinner or other unstable substances which can give off dangerous vapors. Faults of this nature could cause the printer to explode or catch fire and cause burns.
Never take apart the batteries. Do not subject them to heat, throw them into an open fire, attempt to recharge them, short-circuit them, drop them, or apply impact to them. Doing so could cause the batteries to explode.
Use only the type of batteries specified in your printer's User's Guide. Faults of this nature could cause the printer to overheat or catch fire.
Make sure batteries are stored in a safe, secure place and well out of the reach of any infants, young children or pets. The batteries could be accidentally swallowed by young children or pets. If this occurs, immediately seek medical treatment.
Only use the specified battery designated for use with the printer. In addition, do not use the printer with a power supply voltage other than that indicated. The use of other batteries could cause the printer to overheat or catch fire.
WARNING
△Never attempt to take this product apart. You may be injured.
If anything is wrong with the printer, never attempt to repair it by yourself. You may be injured.
If this product is dropped or damaged so that the inside is showing, do not touch it. Contact your FUJIFILM dealer.
Do not touch any parts or projecting parts inside the back cover. You may be injured.
Never get this product wet or handle it with wet hands. Doing so may result in an electric shock.
Do not mix new and old batteries or batteries of different types. Also make sure that the battery C and D polarities are correct. A damaged battery or electrolyte leakage may cause a fire, injury, and contaminate the environment.
If the printer will be left unused for a long period (because you are traveling, etc), remove the batteries, disconnect the AC power adapter and unplug the USB cable. Failing to do so could cause a fire.
Do not move the printer while the USB cable is still connected to it. Doing so could damage the USB cable and cause a fire or electric shock.
Keep out of the reach of small children. This product could cause injury in the hands of a child.
Do not cover or wrap the printer or the AC power adapter in a cloth or blanket. This can cause heat to build up and distort the casing or cause a fire.
When using the printer, make sure that the battery cover is attached; otherwise, you may be injured.

The "CE" mark certifies that this product satisfies the requirements of the EU (European Union) regarding safety, public health, environment and consumer protection.("CE" is the abbreviation of Conformité Européenne.)
Hereby, FUJIFILM, declares that this printer is in compliance with the essential requirements and other relevant provisions of Directive 1999/5/EC.
EEE Complies with Directive.
FCC/INDUSTRY CANADA NOTICE
This device complies with part 15 of FCC Rules and Industry Canada's licence-exempt RSSs. Operation is subject to the following two conditions: (1) this device may not cause harmful interference, and (2) this device must accept any interference received, including interference that may cause undesired operation.
Note: This equipment has been tested and found to comply with the limits for a Class B digital device, pursuant to part 15 of the FCC Rules. These limits are designed to provide reasonable protection against harmful interference in a residential installation. This equipment generates, uses and can radiate radio frequency energy and, if not installed and used in accordance with the instructions, may cause harmful interference to radio communications. However, there is no guarantee that interference will not occur in a particular installation. If this equipment does cause harmful interference to radio or television reception, which can be determined by turning the equipment off and on, the user is encouraged to try to correct the interference by one or more of the following measures:
Reorient or relocate the receiving antenna.
Increase the separation between the equipment and receiver.
Connect the equipment into an outlet on a circuit different from that to which the receiver is connected.
Consult the dealer or an experienced radio/TV technician for help.
Note: This transmitter must not be co-located or operated in conjunction with any other antenna or transmitter.
Note: FCC/INDUSTRY CANADA Radiation Exposure Statement:
This equipment complies with FCC/IC radiation exposure limits set forth for an uncontrolled environment and meets the FCC radio frequency (RF) Exposure Guidelines and RSS-102 of the IC radio frequency (RF) Exposure rules. This equipment should be installed and operated keeping the radiator at least 20cm or more away from person's body in normal use position.
FCC CAUTION
Changes or modifications not expressly approved by FUJIFILM responsible for compliance could void the user's authority to operate the equipment.
CAUTION: This Class B digital apparatus complies with Canadian ICES-003.

Disposal of Electric and Electronic Equipment in Private Households
Disposal of used Electrical & Electronic Equipment
(Applicable in the European Union and other European countries with separate collection systems)
This symbol on the product, or in the manual and in the warranty, and/or on its packaging indicates that this product shall not be treated as household waste.
Instead it should be taken to an applicable collection point for the recycling of electrical and electronic equipment.
By ensuring this product is disposed of correctly, you will help prevent potential negative consequences to the environment and human health, which could otherwise be caused by inappropriate waste handling of this product.
If your equipment contains easy removable batteries or accumulators, please dispose these separately according to your local requirements.
The recycling of materials will help to conserve natural resources. For more detailed information about recycling of this product, please contact your local city office, your household waste disposal service or the shop where you have purchased the product.
In Countries outside of EU: If you wish to discard this product, please contact your local authorities and ask for the correct way of disposal.
COMMON SENSE PRINTER CARE
PRINTER CARE
① Your printer is a precision instrument. Do not get it wet or drop it. Also, do not expose to sand.
② If you are not using your printer for a long period, unload the battery and keep it where it will be safe from heat, dust, and moisture.
③ Do not use solvent such as thinner and alcohol to remove dirt.
④ Keep the film chamber and printer interior clean to avoid damaging films.
In hot weather, do not leave your printer in hot places such as in a car or on the beach. Do not leave it in damp places for long periods.
⑥ Moth repellent gas such as naphthalene may affect your printer and prints. Be careful to keep your printer or prints in a chest or bureau.
Because your printer is software-controlled, there is the chance that on rare occasions malfunction. If you experience incorrect operation, reset by removing the batteries and then reloading them after a while.
⑧ Note that the temperature range within which your printer can be used is +5^ to +40^ (+41^ to +104^)
(9) Do not use the printer in aircraft, hospitals or other locations where the use of mobile phones is prohibited.
If the printer causes problems with radio or TV reception, move the printer further away from the radio or TV.
When printing images, carefully read the owner's manual for the sending device being used and ensure that the device's operating requirements are met.
Take great care to ensure that printed materials do not violate copyright, image rights, privacy or other personal rights and do not offend public decency. Actions that violate the rights of others, are contrary to public decency or constitute a nuisance may be punishable by law or otherwise legally actionable.
Cautions during printing



See FUJIFILM INSTAX mini film for film use instructions. Follow all instructions for safe and proper use.
① Keep the film in a cool and dry place. Do not leave the film in a place where the temperature is extremely high (e.g., in a closed car) for many hours.
② When you load a film pack, use the film as soon as possible.
③ If the film has been kept in a place where the temperature is extremely high or low, bring it to room temperature before starting to print pictures.
④ Be sure to use the film before the expiration or "Use Before" date.
⑤ Avoid airport checked luggage inspection and other strong X-ray illumination. The effect of fogging, etc. may appear on unused film. We recommended that you carry the printer and/or the film onto the aircraft as carry-on luggage. (Check with each airport for more information.)
⑥ Avoiding strong light, keep the developed prints in a cool and dry place.
⑦ Do not puncture, tear, or cut INSTAX mini film. If film becomes damaged, do not use.
Cautions on handling the film and prints
For details, refer to the instructions and warnings on FUJIFILM INSTAX mini film.

Wireless Network Devices: Cautions
IMPORTANT: Read the following notices before using the printer's built-in wireless transmitter.
Use only as part of a wireless network.
FUJIFILM does not accept liability for damages resulting from unauthorized use. Do not use in applications requiring a high degree of reliability, for example in medical devices or other systems that may directly or indirectly impact human life. When using the device in computer and other systems that demand a greater degree of reliability than wireless networks, be sure to take all necessary precautions to ensure safety and prevent malfunction.
Use only in the country in which the device was purchased.
This device conforms to regulations governing wireless network devices in the country in which it was purchased. Observe all location regulations when using the device. FUJIFILM does not accept liability for problems arising from use in other jurisdictions.
■ Wireless data (images) may be intercepted by third parties.
The security of data transmitted over wireless networks is not guaranteed.
■ Do not use the device in locations subject to magnetic fields, static electricity, or radio interference.
Do not use the transmitter in the vicinity of microwave ovens or in other locations subject to magnetic fields, static electricity, or radio interference that may prevent reception of wireless signals. Mutual interference may occur when the transmitter is used in the vicinity of other wireless devices operating in the 2.4 GHz band.
The wireless transmitter operates in the 2.4 GHz band using DSSS and OFDM modulation.
This device operates on the same frequency as commercial, educational, and medical devices and wireless transmitters.
It also operates on the same frequency as licensed transmitters and special unlicensed low-voltage transmitters used in RFID tracking systems for assembly lines and in other similar applications.
■ To prevent interference with the above devices, observe the following precautions.
Confirm that the RFID transmitter is not in operation before using this device. Should you observe that the device causes interference in licensed transmitters used for RFID tracking, immediately choose a new operating frequency for this device to prevent additional interference. If you notice that this device causes interference in low-voltage RFID tracing systems, contact a FUJIFILM representative.
■ Certification marks acquired by the printer are located inside the film chamber.
Handling the Battery
Make sure that you use your printer correctly. Read these safety notes and your User's Guide carefully before use.
- After reading these safety notes, store them in a safe place.
| WARNING | CAUTION |
| This symbol indicates danger, which could result in injury or death. Please follow these instructions. | This symbol indicates possible damage, which could result in injury to other people or damage to an object. Please follow these instructions. Please handle the product properly. |
| WARNING | |
| Prohibited | Do not use the battery except as specified. Load the battery as shown by the indicator. |
| Prohibited | Do not heat, change or take apart the battery. Do not drop or subject the battery to impacts. Do not short-circuit the battery. Do not store the battery with metallic products. Do not charge the battery using a charger other than a specified one. Any of these actions can cause the battery to burst or leak and cause fire or injury as a result. |
| Prohibited | Do not use voltages other than the power supply voltage shown. The use of other power sources can cause a fire. |
| Prohibited | If the battery leaks and fluid gets in contact with your eyes, skin or clothing, flush the affected area with clean water and seek medical attention or call an emergency number right away. |
| Required | Risk of explosion if battery is replaced by an incorrect type. Dispose of used batteries according to the instructions. |
| Required | Dispose of used batteries according to the instructions. When discarding, cover the battery terminals with insulation tape. Contact with other metallic objects or batteries could cause the battery to ignite or burst. |
| CAUTION | |
| Required | When you are cleaning the printer or you do not plan to use the printer for an extended period, remove the battery. Failure to do so can cause a fire or electric shock. |
| Required | If a problem arises, turn the printer off and remove the battery. Continued use of the printer when it is emitting smoke, is emitting any unusual odor, or is in any other abnormal state can cause a fire or electric shock. Contact your FUJIFILM dealer. |
The Battery
The following describes the proper use of batteries and how to prolong their life. Incorrect use can shorten battery life or cause leakage, overheating, fire, or explosion.
The battery is not charged at shipment. Charge the battery completely before use.
Notes on the Battery
The battery gradually loses its charge when not in use. Charge the battery one or two days before use.
Battery life can be extended by turning the printer off when not in use.
Battery capacity decreases at low temperatures; a depleted battery may not function at when cold. Keep a fully charged spare battery in a warm place and exchange as necessary, or keep the battery in warm place and insert it in the printer only when shooting. Do not place the battery in direct contact with hand warmers or other heating devices.
Charging the Battery
Charge the battery using the supplied USB cable. Charging times will increase at ambient temperatures below +10^ (+50^) or above +35^ (+95^) . Do not attempt to charge the battery at temperatures above 40^ (+104^) ; at temperatures below +5^ (+41^) , the battery will not charge.
Do not attempt to recharge a fully charged battery. The battery does not however need to be fully discharged before charging.
The battery may be warm to the touch immediately after charging or use. This is normal.
Battery Life
At normal temperatures, the battery can be recharged about 300 times. A noticeable decrease in the length of time the battery will hold a charge indicates that it has reached the end of its service life and should be replaced.
Storage
Performance may be impaired if the battery is left unused for extended periods when fully charged. Deplete the battery fully before storing it.
If the printer will not be used for an extended period, remove the battery and store it in a dry place with an ambient temperature of from +15^ to +25^ (+59^ to +77^) . Do not store in locations exposed to extremes of temperature.
Cautions: Handling the Battery
- Do not affix stickers or other objects to the battery.
- Do not tear or peel off the external label.
- Keep the terminals clean.
- The battery and printer body may become warm to the touch after extended use. This is normal.
Disposal
Dispose of used batteries accord with local regulations.
Information for traceability in Europe
Manufacturer: FUJIFILM Corporation
Address, City: 7-3, Akasaka 9-Chome
Minato-ku, Tokyo
Country: JAPAN
Authorized representative in Europe: FUJIFILM EUROPE GMBH
Address, City: Dusseldorf Heesenstrasse 31, 40549
Country: Germany
Information for FUJIFILM in the United
States
FUJIFILM North America Corp. 200 Summit Lake Drive Valhalla, New York 10595, USA
Information for FUJIFILM in Canada
FUJIFILM Canada Inc.
600 Suffolk Court, Mississauga, Ontario L5R 4G4
[en] If you have any inquiries about this product, please contact a FUJIFILM authorized distributor, or access the website below.
http://www.fujifilm.com/
EasyManual