NW-E5 - Mp3 player SONY - Free user manual and instructions
Find the device manual for free NW-E5 SONY in PDF.
Download the instructions for your Mp3 player in PDF format for free! Find your manual NW-E5 - SONY and take your electronic device back in hand. On this page are published all the documents necessary for the use of your device. NW-E5 by SONY.
USER MANUAL NW-E5 SONY
Portable IC Audio Player
Network Walkman
Operating Instructions

NW-E3/E5
For customers in the United States
Owner's Record
The model and serial numbers are located on the bottom of the player. Record the serial number in the space provided below. Refer to them whenever you call your Sony dealer regarding this product.
Model No. NW-E3
Serial No.
INFORMATION:
This equipment has been tested and found to comply with the limits for a Class B digital device, pursuant to Part 15 of the FCC Rules. These limits are designed to provide reasonable protection against harmful interference in a residential installation. This equipment generates, uses, and can radiate radio frequency energy and, if not installed and used in accordance with the instructions, may cause harmful interference to radio communications. However, there is no guarantee that interference will not occur in a particular installation. If this equipment does cause harmful interference to radio or television reception, which can be determined by turning the equipment off and on, the user is encouraged to try to correct the interference using one or more of the following measures:
- Reorient or relocate the receiving antenna.
- Increase the separation between the equipment and receiver.
- Connect the equipment into an outlet on a circuit different from that to which the receiver is connected.
- Consult the dealer or an experienced radio/TV technician for help.
You are cautioned that any changes or modifications not expressly approved in this manual could void your authority to operate this equipment.
If you have any questions about this product, you may call:
Sony Direct Response Center 1-(800)-222-7669
or write to:
Sony Direct Response Center 12451 Gateway Blvd.Fort Myers,FL33913
Declaration of Conformity
Trade Name: SONY
Model No.: NW-E3
Responsible Party: Sony Electronics Inc.
Address: 1 Sony Drive,
Park Ridge, NJ.07656 USA
Telephone No.: 201-930-6972
This device complies with Part 15 of the FCC Rules. Operation is subject to the following two conditions: (1) This device may not cause harmful interference, and (2) this device must accept any interference received, including interference that may cause undesired operation.
SONY
NW-E3

Tested To Comply
With FCC Standards
FOR HOME OR OFFICE USE
For the customers in the Netherlands
On the supplied software
Copyright laws prohibit reproducing the software or the manual accompanying it in whole or in part, or renting the software without the permission of the copyright holder.
- In no event will SONY be liable for any financial damage, or loss of profits, including claims made by third parties, arising out of the use of the software supplied with this player.
- In the event a problem occurs with this software as a result of defective manufacturing, SONY will replace it. However, SONY bears no other responsibility.
- The software provided with this player cannot be used with equipment other than that which is so designated.
- Please note that, due to continued efforts to improve quality, the software specifications may be changed without notice.
- Operation of this player with software other than that provided is not covered by the warranty.
Program ©2000 Sony Corporation
Documentation ©2001 Sony Corporation
Network Walkman is trademark of Sony Corporation.
OpenMG and its logo are trademarks of Sony Corporation.
WALKMAN is a registered trademark of Sony Corporation.
US and foreign patents licensed from Dolby Laboratories.
All other trademarks and registered trademarks are trademarks or registered trademarks of their respective holders.
Table of Contents
Overview 4
What you can do with your Network Walkman . 4
Other features 5
Getting Started
Step 1: Unpacking.. 6
Step 2: Inserting the battery ......... 7
Basic Operations
Transferring songs from the computer to Network Walkman (Check-out) 8
Listening to music with Network Walkman 9
On other operations 10
On the display 11
Advanced Operations
Adjusting the sound 12
Emphasizing the bass sound (MEGA BASS) 12
Protecting your hearing (AVLS) 12
Adjusting the playback mode..... 13
Changing the display mode 13
Locking the controls (Hold) 14
Other Information
Precautions 15
Troubleshooting 16
To reset the player. 16
What happened? 16
Messages 18
Glossary 19
Looking at the controls 20
Specifications 21
Index 22
Overview
What you can do with your Network Walkman
Network Walkman is a portable IC audio player.
You can easily transfer digital audio files from your computer to the product's built-in flash
memory and carry it anywhere to enjoy.
1 Store digital audio files on your computer.

2 Transfer the files to the Network Walkman.

3 Listen to your Network Walkman.

Other features
- Compact size, light weight.
- Skip-proof: you can enjoy uninterrupted enjoyment of music during physical activities such as jogging or commuting.
- NW-E3: Select record time: up to 60 min., 80 min., 120 min.*
- NW-E5: Select record time: up to 90min , 120min , 180min .*
- Back light LCD screen: song titles and artist names can be displayed.
- Shuttle switch: easy to operate.
- High speed data transfer using the supplied dedicated USB cable.
- OpenMG Jukebox software enables you to record compact discs using the ATRAC3 format (high sound quality, high compression) to the hard drive.**
- Differs according to the bit rate when recording. In this case, the figures for the recordable time are when recording at 132kbps, 105kbps, and 66kbps.
** OpenMG technology conforms to the SDMI (Secure Digital Music Initiative) specifications and allows you to enjoy digital music while maintaining the copyrights of its holders.
NOTES:
- The recorded music is limited to private use only. Use of the music beyond this limit requires permission of the copyright holders.
- Sony is not responsible for music files that are not saved on your computer due to unsuccessful recording from CD or music downloading.
Step 1: Unpacking
Your Network Walkman comes with the following items.
Network Walkman (1)

- LR03 (Size AAA) alkaline battery (1)

- Earphones (1)

- Headphones/earphones extension cord (1)

Dedicated USB cable (1)

- Strap (1) (NW-E3 for U.S.A. only)
- Carrying pouch (1) (for other models)
- CD-ROM (OpenMG Jukebox installation disc) (1)
- NW-E3/E5 Operating Instructions (1)
- OpenMG Jukebox
- Operating Instructions (1)
About the Serial Number
The serial number provided for your device is required for the customer registration. The number is on a label just by the strap attachment on the back of the player.

Step 2: Inserting the battery
Insert the LR03 (size AAA) alkaline battery (supplied) with correct polarity. Be sure to insert it from the side as illustrated.

Battery duration
About 5 hours*.
- The battery life may be shorter due to operating conditions and the temperature of the location.
On the remaining battery indication
The battery icon in the display changes as shown below.

If "LOW BATT" is displayed in the display, you need to change the battery.
Notes
If you do not use the battery correctly, it may become damaged from leakage and corrosion. For best results:
- Use the alkaline battery.
- Make sure the polarity is correct.
- Do not charge a dry cell battery.
- Remove the battery, if you do not intend to use the player for an extended period of time.
- If you have battery leakage, replace with a new battery after cleaning the battery compartment.
If the battery compartment lid is accidentally detached, attach it as illustrated.

Transferring songs from the computer to Network Walkman (Check-out)
In order to check out digital audio files from your computer, first you must install the supplied OpenMG Jukebox software and then import digital audio files to OpenMG Jukebox.
For details, refer to the OpenMG Jukebox operating Instructions.
1 Connect Network Walkman to your computer.
Connect the wide connector of the supplied dedicated USB cable into the dedicated USB jack on Network Walkman, then the narrow connector to the USB jack of your computer.
"CONNECT" appears in the display.

To remove the USB connector from Network Walkman
While pressing the buttons on both sides of the connector, pull it out.

Notes
- Do not connect more than two USB devices to your computer. Normal operation will not be guaranteed.
- Use of this player with a USB hub or a USB extension cable is not guaranteed.
- A malfunction may occur depending on the USB devices connected at any one time.
- Be sure to insert the battery into Network Walkman when connecting it to your computer.
- When connecting Network Walkman to your computer for the first time, the USB driver Installer window appears. Please follow the instructions in the Installer window.
- Connect Network Walkman only as necessary. Disconnect the dedicated USB cable while you do not use Network Walkman with the computer connected.
2 Transfer the music file to Network Walkman (Check-out).
For details on how to operate, refer to the OpenMG Jukebox Operating Instructions.
Tip
To transfer the song back to the computer (check-in), refer to the OpenMG Jukebox software instruction manual or the online help.
Listening to music with Network Walkman
Please insert the battery before use (see page 7).
Note
When using Network Walkman, be sure to disconnect it from the computer.
1 Connect the headphones/earphones.

To use the headphones/earphones extension cord

2 Start playback.

Playback stops automatically when the music reaches the end (only when the REPEAT mode is off).
If playback does not start
The HOLD switch may be switched up. Please release it down (page 14).
To stop playback
Press the button.
Tip
If you do not operate the player for 3 seconds while in stop mode, the display automatically turns off.
On other operations

| To | Operation of the shuttle switch |
| Go to the beginning of the next track | Turn clockwise once. |
| Go to the beginning of the succeeding tracks | Turn clockwise continuously. |
| Go to the beginning of the actual track | Turn counterclockwise once. |
| Go to previous tracks | Turn counterclockwise continuously. |
| Go forward * | While playback, turn clockwise and hold still. |
| Go backward * | While playback, turn counterclockwise and hold still. |
- If you turn the shuttle switch and hold still for more than 5 seconds during playback, the search speed increases.
On the display

1 Text/graphic information display (page 13) The following information is displayed according to the display mode.
- Elapsed time mode

- Title mode

- Graphic mode
Spectrum analyzer

- If you convert a monaural audio MP3/WAV file, the bit rate will be 47kbps.
2 Play mode indication (page 13) The selected play mode is displayed.
3 AVLS indication (page 12) The indication lights up while the AVLS function is activated.
4 MEGA BASS indication (page 12) The indication lights up while the MEGA BASS function is activated.
5 Battery remain indication (page 7) The remaining battery power is displayed.
Adjusting the sound

Emphasizing the bass sound (MEGA BASS)
Mega Bass function intensifies low frequency sound for richer quality audio reproduction.
Press the MEGA BASS/AVLS button.
Each time you press the MEGA BASS/AVLS button, the MEGA BASS indication changes as follows:

| Display indication | Sound quality |
| BASS | Mega Bass (moderate effect) |
| BASS | Mega Bass (strong effect) |
| none | normal play |
Note
If the sound becomes distorted when emphasizing the bass, turn down the volume.
To cancel the MEGA BASS effect
Press the MEGA BASS/AVLS button repeatedly until the MEGA BASS indication goes off.
Protecting your hearing (AVLS)
The AVLS (Automatic Volume Limiter System) function keeps down the maximum volume to protect your ears.
Press and hold the MEGA BASS/AVLS button.
The () (AVLS) indication lights up in the display.
The volume is kept to a moderate level.
To cancel AVLS
Press and hold the MEGA BASS/AVLS button until the indication goes off.
Adjusting the playback mode
You can play tracks repeatedly in three ways: all repeat, single repeat and shuffle repeat.

Press the PLAYMODE button.
Each time you press the PLAYMODE button, the play mode indication changes as follows:

| Display indication | Playback mode |
| ← | all tracks repeatedly |
| ← 1 | current track repeatedly |
| ← SHUF | all tracks repeatedly in random order |
| none | normal |
To cancel the playback mode
Press the PLAYMODE button repeatedly until the play mode indication goes off.
Changing the display mode
You can change the display mode and display the song titles, spectrum analyzer, etc. while in playback or stop mode.

Press the DISPLAY button.
Each time you press the DISPLAY button, the display changes as shown below.

Locking the controls (Hold)
To prevent the controls from being accidentally operated when you carry the player, use this function.

Slide the HOLD switch in the direction of the arrow.
No controls will be able to operate.
If you press buttons while the HOLD switch is ON, "HOLD" appears in the display.
To release the Hold function
Slide the HOLD switch in the opposite direction of the arrow.
Precautions
On installation
Never use the player where it will be subjected to extremes of light, temperature, moisture or vibration.
On the headphones/earphones
Road Safety
Do not use headphones/earphones while driving, cycling, or operating any motorized vehicle. It may create a traffic hazard and is illegal in many areas. It can also be potentially dangerous to play your player at high volume while walking, especially at pedestrian crossings. You should exercise extreme caution or discontinue use in potentially hazardous situations.
Preventing hearing damage
Avoid using headphones/earphones at high volume. Hearing experts advise against continuous, loud and extended play. If you experience a ringing in your ears, reduce the volume or discontinue use.
Caring for others
Keep the volume at a moderate level. This will allow you to hear outside sounds and to be considerate of the people around you.
On cleaning
- Clean the player casing with a soft cloth slightly moistened with water or a mild detergent solution. Do not use any type of abrasive pad, scouring powder or solvent such as alcohol or benzene as it may mar the finish of the casing.
- Clean the headphones/earphones plug and extension cord plug periodically.
If you have any questions or problems concerning your Network Walkman, please consult your nearest Sony dealer.
Troubleshooting
If you experience any of the following difficulties while using Network Walkman, use this troubleshooting guide to help you remedy the problem. Should any problem persist, consult your nearest Sony dealer. For trouble concerning operations while connecting with your computer, please refer to the supplied software's online help "Troubleshooting" contents, too.
To reset the player
If Network Walkman does not operate normally or if there is no sound, even after checking the troubleshooting guide below, remove the battery, then re-insert it.
What happened ?
On playback
| Symptom | Cause/Remedy |
| There is no sound. | → Adjust the volume (page 9). → Connect the headphones securely to the headphones jack. |
| The controls on the player do not work. | → If the player is connected to the computer, disconnect it. → Make sure that the Hold function is deactivated (page 14). → Condensation may have developed inside the player. Allow it to sit for about 2 or 3 hours. → If the battery is weak, replace it with a new one (page 7). → Check that the battery is inserted correctly. |
| The volume does not increase. | → Cancel the AVLS function (page 12). |
| Sound is distorted. | → Record with a higher bps value. |
| There is no sound from the right channel of the headphones. | → Make sure that the headphones plug is connected securely. |
| Playback has stopped suddenly. | → The battery is exhausted. You need to change it (page 7). |
On the display window
| Symptom | Cause/Remedy |
| “□” appears instead of the album title. | → Use the OpenMG Jukebox to rename the title with characters which can be displayed on the player. |
On the connection with the computer and the supplied software
| Symptom | Cause/Remedy |
| The software cannot be installed. | → Software is not compatible with your operating system. For more information about Windows, refer to the OpenMG Jukebox Operating Instructions. |
| “CONNECT” does not appear in the display window when connecting to the computer with the supplied dedicated USB cable. | → Please wait for the authentication of the OpenMG Jukebox to be finished. → If another software is active on your computer, wait for a while, then reconnect the dedicated USB cable. If the problem persists, disconnect the dedicated USB cable, restart your computer, then connect the dedicated USB cable to your computer again. → Make sure the dedicated USB cable is correctly connected. |
| The computer does not identify the player when it is connected to the computer. | →Make sure the dedicated USB cable is correctly connected (page 8). |
| The computer/player does not operate normally when connected. | →If you are connecting both devices with a USB hub or a USB extension cable, normal operation is not guaranteed. Please use only the supplied dedicated USB cable. |
| "Failed to authenticate the portable player" appears on the display when the player is connected to the computer. | →You cannot use this player anymore. Please contact your nearest Sony dealer. |
| Cannot check-out. | →The dedicated USB cable is not fully plugged in. Disconnect the dedicated USB cable and re-connect it.→A song cannot be checked-out more than three times. Check the song back in from one of your other portable players so that checking-out is enabled again.→The available memory space in the Network Walkman may be insufficient.→If the song has a limited playing period or playing count, you may not be able to check it out to the Network Walkman, depending on the restrictions set by the copyright holders. For details on the settings of each song, contact the service, or see the OpenMG Web site.→You may be trying to check-out 121 or more songs to the Network Walkman. The maximum number of songs that can be checked-out to the Network Walkman is 120. |
| There are only a few songs I can check-out. (The recordable time is short.) | →The free memory space of Network Walkman may be less than the data of the song you want to check-out. Check-in unnecessary songs to make more memory space. |
| Cannot check-in. | →The songs can only be checked-in to the computer from which they were checked-out.→If a song is deleted from the computer, it cannot be checked-in. |
| Check-in starts automatically when the player is connected to the computer. | →If you delete songs using another computer's OpenMG Jukebox software, when you reconnect to your computer, the OpenMG Jukebox software will register those songs as checked-in, and the remaining available check-out count is restored. |
| The CD cannot be recorded. | →Clean the CD. |
Other
| Symptom | Cause/Remedy |
| The player gets warm. | → Sometimes, during normal conditions, the player becomes slightly warm. |
| The buttons do not operate. | → Make sure the HOLD switch is OFF (page 14).→ You must change the battery (page 7). |
Troubleshooting (continued)
Messages
Follow the instructions below if a message appears in the display.
| Message | Meaning | Remedy |
| ACCESS | The player is accessing the flash memory. | This is not an error. This message appears during Check-out and during initialization of the flash memory. |
| AVLS | The volume exceeds the maximum level. | Turn down the volume or cancel the AVLS function (page 9, 12). |
| CONNECT | The player is connected to the computer. | This is not an error. You can operate using the OpenMG Jukebox software, but you cannot operate the controls on the player. |
| FLASH ERR | The player cannot read the data in the memory. | There is an error in the data. Initialize the memory (see below). |
| HI DC IN | The DC IN voltage is too high. | The connected computer may have trouble. Disconnect the dedicated USB cable and examine the computer. |
| HOLD | The HOLD switch is ON, and no operating buttons are available. | This is not an error. Switch the HOLD switch to OFF before operating the buttons (page 14). |
| LOW BATT | The battery is low, and needs to be changed. | You must change the battery (page 7). |
| LOW DC IN | The DC IN voltage is too low. | The connected computer may have trouble. Disconnect the dedicated USB cable and examine the computer. |
| NO MUSIC | There are no tracks inside the player. | Use the OpenMG Jukebox to check-out music items. Refer to the OpenMG Jukebox Operating Instructions. |
To initialize the flash memory
If "FLASH ERR" appears in the display, there is an error in the data in the built-in flash memory. In this case, connect the Network Walkman to your computer and initialize the flash memory using the OpenMG Jukebox software. Once you begin initializing the memory of Network Walkman, do not disconnect the USB cable until initialization is completed.
Disconnecting the USB cable during initialization may destroy the data in the flash memory. For details about initializing, refer to the online help for the OpenMG Jukebox software.
Note
If "FLASH ERR" appears even after initializing the flash memory, please contact an authorized Sony service center.
Glossary
ATRAC3
ATRAC3, which stands for Adaptive Transform Acoustic Coding3, is audio compression technology that satisfies the demand for high sound quality and high compression rates.
The ATRAC3 compression rate is approximately 10 times higher than that of the Audio CD, resulting an increased data capacity for the media.
Bit rate
Indicates the data amount per second. The rate is reflected in bps (bit per second).
In OpenMG Jukebox, the bit rate for recording an audio CD or converting MP3 and WAV format audio files into ATRAC3 format can be chosen from 132 kbps/105kbs/66kbps. 105 kbps means 105000 bits of information per second. If the bit rate is large, that means a large amount of information is used to play music. Comparing music of the same format, a 105 kbps data offers better sound quality than 66 kbps data, and 132 kbps data offers better sound quality than 105 kbps data. However, audio files in formats such as MP3 have different encoding methods, and thus sound quality cannot be determined by simply comparing the bit rate.
"Check-in /Check-out"
Check-out is to transfer music files from a personal computer to an external device/media. (such as Network Walkman). Returning checked-out music files to the same computer is to check in. (You cannot move checked-out music files to another computer.)
You can check-out a music file, check it back in, and then check it out again an infinite number of times. The SDMI rules provide that up to four copies of a music file can be checked-out at one time. OpenMG employs a method whereby three copies of a song can be checked-out simultaneously, while the fourth copy is maintained as a "master" on your PC. If three copies of the same song are checked-out at a given time, one copy of the song needs to be checked-in to the computer in order to create an additional check-out.
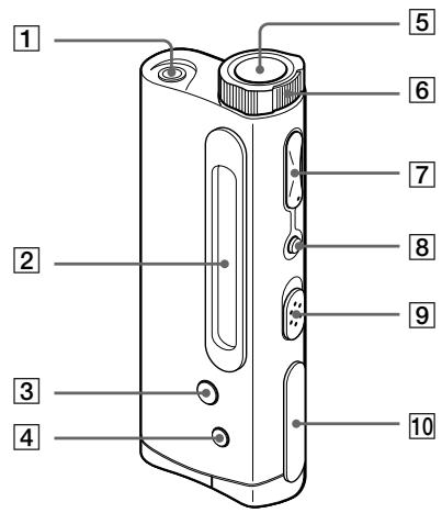
Looking at the controls
Network Walkman
(front)


(rear)
1 (Headphones/earphones) jack (page 9)
2 Display (page 11, 13)
3 PLAYMODE button (page 13)
4 DISPLAY button (page 13)
5 play/stop) button page 9
6 Shuttle switch (page 10)
VOLUME+/- button (page 9)
8 MEGA BASS/AVLS button (page 12)
HOLD switch (page 14)
Dedicated USB jack (page 8)
11 Strip hole for attaching the strap (page 20)
12 Battery compartment (page 7)
Display

1 Text/graphic information display (page 11, 13)
2 Play mode indication (page 13)
3 AVLS indication (page 12)
4 MEGA BASS indication (page 12)
5 Battery remain indication (page 7)
To use the strap
(Supplied for NW-E3 U.S.A. model only)

Specifications
Recording time
NW-E3: Approx. 60 min. (132kbps)
Approx. 80 min. (105kbps)
Approx. 120 min. (66kbps)
NW-E5: Approx. 90 min. (132kbps)
Approx. 120 min. (105kbps)
Approx. 180 min. (66kbps)
Sampling frequency response
44.1kHz
Recording format
ATRAC3
Frequency response
20 to 20,000Hz (single signal measurement)
Output
Earphone: stereo mini-jack
Signal-to-noise ratio (S/N)
More than 80dB (excluding 66 kbps)
Dynamic range
More than 85dB (excluding 66 kbps)
Operating temperature
5^ to 35^ (-41^ to 95^)
Power source
LR03 (Size AAA) alkaline battery
Battery life
Approx. 5 hours
Dimensions (approx.)
81× 32× 14.6mm (31 / 4× 11 / 4× 19 / 32 inches)
(w/h/d, projecting parts not included)
Mass (approx.)
45g (1.6 oz) (battery included)
Memory capacity
NW-E3: 64MB (including the system software):
60.6MB available)
NW-E5: 96MB (including the system software):
92.6MB available)
Supplied accessories
LR03 (Size AAA) alkaline battery (1)
Earphones (1)
Headphones/earphones extension cord (1)
Dedicated USB cable (1)
Strap (1) (NW-E3 for U.S.A. only)
Carrying pouch (1) (for other models)
CD-ROM (OpenMG Jukebox installation disc) (1)
NW-E3/E5 Operating Instructions (1)
OpenMG Jukebox Operating Instructions (1)
Design and specifications are subject to change without notice.
Index
A
ACCESS 18
actual track 10
Artist name 11, 13
ATRAC3 5,19
AVLS 12
B
Battery 7
beginning of the track 10
Bit rate 11, 19
C
CD (compact disc) 4
CD-ROM 6
Check-in 19
Check-out 8,19
computer 4,8,19
copyright 2
D
display 11, 13
DISPLAY button 13
displaymode 13
driver (USB) 8
E
earphones 6
EMD services 4
F
FLASH ERR 18
G
go backward 10
go forward 10
H
hard drive 5
headphones/earphones
6,9,15
HOLD 14
HOLD switch 14
1
initialize (flash memory)
18
install 8,16
Internet (EMD services)
4
L
listen to music 9
LOW BATT 7,18
M
MEGA BASS 12
MP3 4
0
online help 18
OpenMG 5,16,18
OpenMG Jukebox software
5,8,17
P
playback 9,16
playback mode 13
previous tracks 10
R
record 5
remain (battery) 7
repeat 13
reset 16
S
SDMI 5
Shuttle switch 10
song title 11, 13
spectrum analyzer 11, 13
succeeding tracks 10
supplied accessories 6, 21
T
transferring 4,8
to Network Walkman 8
troubleshooting 16
U
USB cable 6,8
USB driver 8
V
volume 9,20
W
WAV format 4
EasyManual