EJF4842AOX - Fridge ELECTROLUX - Free user manual and instructions
Find the device manual for free EJF4842AOX ELECTROLUX in PDF.
Frequently Asked Questions - EJF4842AOX ELECTROLUX
Questions des utilisateurs sur EJF4842AOX ELECTROLUX
0 question sur cet appareil. Repondez a celles que vous connaissez ou posez la votre.
Poser une nouvelle question sur cet appareil
Download the instructions for your Fridge in PDF format for free! Find your manual EJF4842AOX - ELECTROLUX and take your electronic device back in hand. On this page are published all the documents necessary for the use of your device. EJF4842AOX by ELECTROLUX.
USER MANUAL EJF4842AOX ELECTROLUX
Old and out-of-order fridges 4
Safety warnings 4
Installing and operating your fridge 5
Before Using your Fridge 5
THE VARIOUS FUNCTION AND POSSIBILITIES .... 6
Information about NO FROST technology 6
Thermostat Setting 6
Warnings about Temperature Adjustments 7
Accessories 7
Making ice cubes 7
Fast Freezing Shelf 8
Magic Shelf 8
Chiller Shelves 8
Fresh dial 9
Temperature indicator 9
ARRANGING FOOD IN THE APPLIANCE 10
Refrigerator Compartment 10
Freezer Compartment....10
CLEANING AND MAINTENANCE 11
Replacing The Refrigerator and Freezer Light Bulb 12
TRANSPORTATION AND CHANGING OF INSTALLATION POSITION ....13
Repositioning the Door 13
BEFORE CALLING YOUR AFTER SALES SERVICE ....13
Tips for saving energy....15
THE PARTS OF THE APPLIANCE AND THE COMPARTMENTS ......16
Fixing the appliance to the wall....17
PART- 1. BEFORE USING THE APPLIANCE
General warnings
WARNING: Keep ventilation openings, in the appliance enclosure or in the built-in structure, clear of obstruction.
WARNING: Do not use mechanical devices or other means to accelerate the defrosting process, other than those recommended by the manufacturer.
WARNING: Do not use electrical appliances inside the food storage compartments of the appliance, unless they are of the type recommended by the manufacturer.
⚠ WARNING: Do not damage the refrigerant circuit.
WARNING: To avoid a hazard due to the instability of the appliance, it must be fixed in accordance with the instructions.
- If your appliance uses R600a as a refrigerant – you can learn this information from the label on the cooler- you should be careful during shipment and installation to prevent your appliance's cooler elements from being damaged. Although R600a is an environmentally friendly and natural gas. As it is explosive, in the event of a leak due to damage to the cooler elements, move your fridge from open flame or heat sources and ventilate the room where the appliance is located for a few minutes.
- While carrying and positioning the fridge, do not damage the cooler gas circuit.
- Do not store explosive substances such as aerosol cans with a flammable propellant in this appliance.
- This appliance is intended to be used in household and similar applications such as;
- staff kitchen areas in shops, offices and other working environments
- farm houses and by clients in hotels, motels and other residenti type environments
- bed and breakfast type environments;
-
catering and similar non-retail applications
-
If the socket does not match the refrigerator plug, it must be replaced by the manufacturer, its service agent or similarly qualified persons in order to avoid a hazard.
- A specially grounded plug has been connected to the power cable of your refrigerator. This plug should be used with a specially grounded socket of 16 amperes. If there is no such socket in your house, please have it installed by an authorized electrician.
- This appliance can be used by children aged from 8 years and above and persons with reduced physical, sensory or mental capabilities or lack of experience and knowledge if they have been given supervision or instruction concerning use of the appliance in a safe way and understand the hazard involved. Children shall not play with the appliance. Cleaning and user maintenance, shall not be made by children without supervision.
- If the supply cord is damaged, it must be replaced by the manufacturer, its service agent or similar qualified persons in order to avoid a hazard.
Old and out-of-order fridges
- If your old fridge has a lock, break or remove the lock before discarding it, because children may get trapped inside it and may cause an accident.

natural_image
Pure electrical circuit lines without any symbols- Old fridges and freezers contain isolation material and refrigerant with CFC. Therefore, take care not to harm environment when you are discarding your old fridges.
Please ask your municipal authority about the disposal of the WEEE for the reuse, recycle and recovery purposes.
Notes:
- Please read the instruction manual carefully before installing and using your appliance. We are not responsible for the damage occurred due to misuse.
- Follow all instructions on your appliance and instruction manual, and keep this manual in a safe place to resolve the problems that may occur in the future.
- This appliance is produced to be used in homes and it can only be used in domestic environments and for the specified purposes. It is not suitable for commercial or common use. Such use will cause the guarantee of the appliance to be cancelled and our company will not be responsible for the losses to be occurred.
- This appliance is produced to be used in houses and it is only suitable for cooling / storing foods. It is not suitable for commercial or common use and/or for storing substances except for food. Our company is not responsible for the losses to be occurred in the contrary case.

Safety warnings
- Do not use multiple receptacles or extension cord.
- Do not plug in damaged, torn or old plugs.
- Do not pull, bend or damage the cord.


natural_image
Illustration of four different techniques for using a tool, showing hand positioning and cutting process (no text or symbols)- This appliance is designed for use by adults, do not allow children to play with the appliance or let them hang off the door.
- Do not plug-in or out the plug from the receptacle with wet hands to prevent electrocution!
- Do not place glass bottles or beverage cans in the freezer department. Bottles or cans may explode.
- Do not place explosive or flammable material in your fridge for your safety. Place drinks with higher alcohol amount vertically and by closing their necks tightly in the fridge department.
- When taking ice made in the freezer department, do not touch it, ice may cause ice burns and/or cuts.
- Do not touch frozen goods with wet hands! Do not eat ice-cream and ice cubes immediately after you have taken them out of the freezer department!

natural_image
Cartoon illustration of a smiling computer door with arms and legs, showing a person opening the door (no text or symbols)
text_image
Illustration showing a hand holding a phone with a smiling face, crossed out by a prohibition symbol, and another hand pointing at it.
natural_image
Simple line drawing of a bottle and glass with explosion effects (no text or symbols)- Do not re-freeze frozen goods after they have melted. This may cause health issues like food poisoning.
- Do not cover the body or top of fridge with lace. This affects the performance of your fridge.
- Fix the accessories in the fridge during transportation to prevent damage to accessories.

Installing and operating your fridge
Before starting to use your fridge, you should pay attention to the following points:
- Operating voltage for your fridge is 220-240 V at 50Hz.
- We do not take the responsibility of the damages that occur due to ungrounded usage.
- Place your fridge in a place that it would not be exposed to direct sunlight.
- Your appliance should be at least 50 cm away from stoves, Gas ovens and heater cores, and should be at least 5 cm away from electrical ovens.
- Your fridge should never be used outdoors or left under the rain.
- When your fridge is placed next to a deep freezer, there should be at least 2 ~cm between them to prevent humidity on the outer surface.
- Do not place anything on your fridge, and install your fridge in a suitable place so that at least 15 cm is available on the upper side.

natural_image
Cartoon illustration of a distressed container with arms and legs, holding a box labeled 'KG' (no text or symbols beyond the label)- The adjustable front legs should be adjusted to make sure your appliance is level and stable. You can adjust the legs by turning them clockwise (or in the opposite direction). This should be done before placing food in the fridge.
- Before using your fridge, wipe all parts back with warm water added with a tea spoonful of sodium bicarbonate, and then rinse with clean water and dry. Place all parts after cleaning.
• Install the plastic distance guide (the part with black vanes at the rear) by turning it 90^ as shown in the figure to prevent the condenser from touching the wall.

natural_image
Diagram showing two curved heat exchanger-like structures with internal components and directional arrows indicating flow or movement (no text or symbols)- Refrigerator should be placed against a wall with a free distance not exceeding 75 mm.
Before Using your Fridge
- When it is operated for the first time or after transportation, keep your fridge in the upright position for 3 hours and plug it on to allow efficient operation. Otherwise, you may damage the compressor.

natural_image
Simple line drawing of a smiling face on a square object held by a hand (no text or symbols)- Your fridge may have a smell when it is operated for the first time; the smell will fade away when your fridge starts to cool.
PART-2. THE VARIOUS FUNCTION AND POSSIBILITIES
i Information about NO FROST technology
No-Frost fridges differ from other static fridges in their operating principle.
In normal fridges, the humidity entering the fridge in the door openings and the humidity of the food causes freezing in the freezer compartment. To defrost the snow and ice in the freezer compartment, you should turn off the fridge, take the food that needs to be kept in a constant temperature off the fridge, and remove the ice gathered in the freezer compartment periodically.
The situation is completely different in no-frost fridges. Dry and cold air is blown to the fridge and freezer compartments homogeneously from several points via a blower fan. Cold air dispersed homogeneously even between the shelves cools all your food equally and uniformly, thus prevents humidity and freezing.
Therefore your no-frost fridge allows you ease of use, besides its huge volume and stylish appearance.

flowchart
graph TD
A["Top Floor"] --> B["Drain Tank"]
B --> C["Drain Tank 1"]
B --> D["Drain Tank 2"]
B --> E["Drain Tank 3"]
B --> F["Drain Tank 4"]
B --> G["Drain Tank 5"]
B --> H["Drain Tank 6"]
B --> I["Drain Tank 7"]
B --> J["Drain Tank 8"]
B --> K["Drain Tank 9"]
B --> L["Drain Tank 10"]
style A fill:#f9f,stroke:#333
style B fill:#ccf,stroke:#333
style C fill:#cfc,stroke:#333
style D fill:#fcc,stroke:#333
style E fill:#cff,stroke:#333
style F fill:#ffc,stroke:#333
style G fill:#cfc,stroke:#333
style H fill:#fcc,stroke:#333
style I fill:#cfc,stroke:#333
style J fill:#fcc,stroke:#333
style K fill:#cfc,stroke:#333
style L fill:#fcc,stroke:#333
Thermostat Setting
FREEZER THERMOSTAT REFRIGERATOR THERMOSTAT

natural_image
Line drawing of a hand pressing down on a panel with two circular buttons (no text or symbols)
natural_image
Line drawing of a hand holding a circular component above a table, with no visible text or symbolsFreezer and refrigerator thermostat automatically regulates the inside temperature of the compartments. By rotating the knob from position 1 to 5, colder temperatures can be obtained. In cold seasons, you can set lower positions in order to decrease the energy consumption.
Important note: Do not try to rotate knob beyond 1 position it will stop your appliance.
Freezer Thermostat Setting;
1 – 2 : For short-term storage of food in the freezer compartment, you can set the knob between minimum and medium position.
3-4: For long-term storage of food in the freezer compartment, you can set knob medium position.
5 : For freezing the fresh food. Th appliance will work longer. After you get the cold condition you must position to its original position.
Refrigerator Thermostat Setting;
1 - 2 : For less coldly conditions.
3 - 4 : For normal conditions.
5 - MAX : For colder conditions.
Warnings about Temperature Adjustments
- It is not recommended that you operate your fridge in environments colder than 10^ in terms of its efficiency.
- Temperature adjustments should be made according to the frequency of door openings and the quantity of food kept inside the fridge.
- Do not pass to another adjustment before completing an adjustment.
- Your fridge should be operated up to 24 hours according to the ambient temperature without interruption after being plugged in to be completely cooled. Do not open doors of your fridge frequently and do not place much food inside it in this period.
- If the unit is switched off or unplugged, you must allow at least 5 minutes before restarting or re-plugged the unit in order not to damage the compressor.
- Your fridge is designed to operate in the ambient temperature intervals stated in the standards, according to the climate class stated in the information label. We do not recommend operating your fridge out of stated temperatures value limits in terms of cooling effectiveness.
| Climate Class Ambient | |
| T | 16 to 43 °C |
| ST | 16 to 38 °C |
| N | 16 to 32 °C |
| SN | 10 to 32 °C |
Accessories
Making ice cubes (In some models)

natural_image
Diagram of a mechanical device with two circular components and an arrow indicating rotation (no text or symbols)
natural_image
Diagram of a ventilation system with two circular fans and directional arrows indicating airflow or circulation (no text or labels)• Take out the ice making tray
- Fill the water in level of line.
- Place the ice making tray in its original position
- When ice cubes are formed, twist the lever to drop off ice cubes into the icebox.
Do not fill the icebox with water in order to make ice. It can be broken.
Fast Freezing Shelf
- Use the fast freezing shelf to freeze home cooking (and fresh foods which is wanted to freeze) more quickly because of the freezing room's greater freezing power.
- For opening the shelf pull the cover up, and slide it in to the shelf. You can close it in the same way

natural_image
Technical line drawing of a door or vent with a rack and ventilation duct (no text or symbols)Note that; be sure that the cover of fast freezing shelf is closed before closing the compartment door. If not, it can not show its fast freezing power.
Magic Shelf (In some models)

natural_image
Line drawing of two stacked storage racks or cabinets with slats and ventilation grilles (no text or symbols)
natural_image
Technical line drawing of two stacked metal shelving units with directional arrows indicating movement (no text or symbols)
natural_image
Line drawing of two stacked metal shelving units with grating patterns (no text or symbols)Magic shelf, which is on the crisper cover, was designed to give you more place and comfort placing the things in the appliance. This shelf is mobile so you can arrange long or big containers on the crisper cover.
Chiller Shelves

text_image
sliding partKeeping food in the Chiller compartment instead of the freezer or refrigerator compartment allows food retain freshness and flavour longer, while preserving its fresh appearance. When chiller tray becomes dirty, remove it and wash it with water.
(Water freezes at 0^ , but foods containing salt or sugar freeze at temperature lower than that)
Normally people use the chiller compartment for raw fish, lightly pickled, rice, etc...
Do not put foods you want to freeze or ice trays in order to make ice.
Fresh dial
In case of the crisper is totally full, the fresh dial is located in front of crisper, should be opened. By means of this the air in the crisper and humidity rate will be controlled and endurance life will be increased.
If you see any condensation on glass shelf, you must open this klape which is on behind of shelf.

text_image
Fresh dialVisual and text descriptions on the accessories section may vary according to the model of your appliance.
Temperature indicator


natural_image
Two black circular icons: one solid black circle and one warning sign with exclamation mark (no text or symbols)This appliance is sold in France. In accordance with regulations valid in this country it must be provided with a special device (see figure) placed in the lower compartment of the fridge to indicate the coldest zone of it.
PART- 3. ARRANGING FOOD IN THE APPLIANCE
Refrigerator Compartment
- To set the refrigerator compartment to 2-3 graphic bar will be enough for normal conditions.
- To reduce humidity and consequent increase of frost never place liquids in unsealed containers in the refrigerator.
- Never place warm food in the refrigerator. Warm food should be allowed to cool at room temperature and should be arranged to ensure adequate air circulation in the refrigerator compartment.
- Arrange the meat and cleaned fish (wrapped in packages or sheets of plastic) which you will use in 1-2 days.
- You can put the fruits and vegetables into crisper without packing.
Freezer Compartment
- To set the freezer compartment to 2-3 graphic bar will be enough for normal conditions.
- The use of freezer is, storing of deep-frozen or frozen foods for long periods of time and making ice cubes.
- Do not put fresh and warm foods to the freezer door shelves to be frozen. Only use for storage of frozen foods.
- Do not put fresh and warm food with frozen food side by side as it can thaw the frozen food.
- Use the fast freezing shelf to freeze home cooking (and the foods which is wanted to freeze) more quickly because of the freezing room's greater freezing power.
- While freezing fresh foods (i.e. meat, fish and mincemeat) divide them in parts you will use in one time.
- While freezing fresh foods; Maximum amount of fresh food (in kg) that can be frozen in 24 hours is indicated on the appliance label.
- For optimum appliance performance to reach maximum freezing capacity, turn the freezer thermostat knob to position max 24 hours before placing fresh food inthe freezer.
- After placing fresh food in the freezer, 24 hours on max position is generally sufficient, After 24 hours, don not need to set the freezer thermostat knob to position max.
- Attention; In order to save energy, When freezing small amounts of food, don not need to set the freezer thermostat knob to position max.
- For storing the frozen foods; the instructions shown on frozen food packages should always be followed carefully and if no information is provided food should not be stored for more than 3 months from the purchased date.
- When buying frozen foods ensure that these have been frozen at suitable temperatures and that the packing is intact.
-
Frozen foods should be transported in appropriate containers to maintain the quality of the food and should be returned to the freezing surfaces of the unit in the shortest possible time.
-
If a package of frozen food shows the sign of humidity and abnormal swelling it is probable that it has been previously stored at an unsuitable temperature and that the contents have deteriorated.
- The storage life of frozen foods depends on the room temperature, thermostat setting, how often the door is opened, the type of food and the length of time required to transport the product from the shop to your home. Always follow the instructions printed on the package and never exceed the maximum storage life indicated.

natural_image
Pure diagram of a vertical structure with arrows indicating direction, no text or symbols presentWhile loading the freezing compartment, the loading lines should not be passed. Otherwise, the door might remain open. In case that the freezing compartment door is left open, snow formation might occur in the freezing compartment. The problem shall not repeat itself after the snowed part is cleaned and it is made certain that its door is fully closed.
Also, not closing the freezing and/or cooling compartment door would increase your energy consumption.
PART-4. CLEANING AND MAINTENANCE
- Make sure to unplug the fridge before starting to clean it.
- Do not wash your fridge by pouring water.
- You can wipe the inner and outer sides with a soft cloth or a sponge using warm and soapy water.

natural_image
Cartoon illustration of a smiling refrigerator with sunglasses and a bowl, giving thumbs up (no text or symbols)- Remove the parts individually and clean with soapy water. Do not wash in washing machine.
- Never use flammable, explosive or corrosive material like thinner, gas, acid for cleaning.
- You should clean the condenser with broom at least once a year in order to provide energy saving and increase the productivity.

natural_image
Simple line drawing of a hand holding a smiling square character (no text or symbols)
natural_image
Cartoon illustration of a hand cleaning a door with a smiling face (no text or symbols)
natural_image
Cartoon illustration of a smiling refrigerator with hands cleaning it, accompanied by a small bottle and cup (no text or symbols)
natural_image
Simple line drawing of a refrigerator with a red X symbol crossed out, no text or symbols present.
natural_image
Illustration of a hand cleaning a metal grate (no text or symbols)Make sure that your fridge is unplugged while cleaning.
Replacing The Refrigerator and Freezer Light Bulb
- Unplug the unit from the power supply,
- Remove the refrigerator light cover with a minus screw driver, and take out the cover.(A)
- Change the present light bulb with a new one of not more than 15 W.(B)
- Replace the light cover and after waiting 5 minutes plug the unit.(C)

text_image
A B C Freezer compartment lamp
text_image
B C Fridge compartment lamp
natural_image
Diagram of a screwdriver inserted into a device component (no text or symbols visible)Replacing The Light Led (If the illumination is occurred via LED strip)
Please call the service man.

text_image
Led lightPART- 5.
TRANSPORTATION AND CHANGING OF INSTALLATION POSITION
Transportation and Changing of Installation Position
- The original packages and foamed polystyrene (PS) can be concealed if required.
- In transportation the appliance should be tied with a wide stripe or a strong rope. The rules written on the corrugated box must be applied while transporting.
- Before transporting or changing old installation position, all the moving objects (i.e., shelves, crisper...) should be taken out or fixed with bands in order to prevent the shake.

natural_image
Simple line drawing of two children holding a large rectangular object (no text or symbols)Repositioning the Door
- It is not possible to change the opening direction of your fridge door, if the door handles on your fridge are installed from the front surface of the door.
- It is possible to change the opening direction of the door on models without any handles.
- If the door opening direction of your fridge may be changed, you should contact the nearest Authorized Service to have the opening direction changed.
BEFORE CALLING YOUR AFTER SALES SERVICE
What to do if your refrigerator does not operate;
Check that;
- There is no power,
- The general switch in your home is disconnected,
- The thermostat setting is on “•” position,
- The socket is not sufficient. To check this, plug in another appliance that you know which is working into the same socket.
What to do if your refrigerator performs poorly;
Check that;
- You have not overloaded the appliance,
• The doors are closed perfectly, - There is no dust on the condenser,
- There is enough place at the rear and side walls.
If your fridge is operating too loudly;
Normal Noises
Cracking (Ice cracking) Noise:
- During automatic defrosting.
- When the appliance is cooled or warmed (due to expansion of appliance material).
- Heard when the thermostat switches the compressor on/off.
Compressor noise
- Normal motor noise. This noise means that the compressor operates normally
- Compressor may cause more noise for a short time when it is activated.
Bubbling noise and splash:
- This noise is caused by the flow of the refrigerant in the tubes of the system.
Water flow noise:
- Normal flow noise of water flowing to the evaporation container during defrosting. This noise can be heard during defrosting.
Air Blow Noise:
- Normal fan noise. This noise can be heard in No-Frost fridge during normal operation of the system due to the circulation of air.
IMPORTANT NOTES:
- If the unit is switched off or unplugged, you must allow at least 5 minutes before restarting or re-plugged the unit in order not to damage the compressor.
- If you will not use your fridge for a long time (e.g. in summer holidays) unplug it. Clean your fridge according to Part 4 and leave the door open to prevent humidity and smell
- If the problem persists after you have followed all the instructions above, please consult to the nearest service.
- The appliance you bought is designed for home type use and can be used only at home and for the stated purposes. It is not suitable for commercial or common use. If the consumer use the appliance in a way that does not comply with these features, we emphasize that the producer and the dealer shall not be responsible for any repair and failure within the guarantee period.
- The lifetime of your appliance stated and declared by the Department of the Industry is 10 years (the period for retaining parts required for the proper functioning of the appliance).
Conformity Information
- This appliance is designed for use at an ambient temperature within the 16^ - 43^ range.
- The appliance is designed in compliance with the IEC60335-1 / IEC60335-2-24, 2004/108/EC standards.
i Tips for saving energy
1- Install the appliance in a cool, well ventilated room, but not in direct sunlight and not near heat source (radiator, cooker.. etc.). Otherwise use an insulating plate.
2- Allow warm food and drinks to cool down outside the appliance.
3- When thawing frozen food, place it in the refrigerator compartment. The low temperature of the frozen food will help to cool the refrigerator compartment when it is thawing. So it reduces the energy requirements.
4- When placing, drinks and liquids they must be covered. Otherwise humidity increases at the appliance. Therefore the working time gets longer. Also covering drinks and liquids helps preserve the smell and taste.
5- When placing food and drinks, open the appliance door as briefly as possible.
6- Keep the covers closed of any different temperature compartment in the appliance (crisper, chiller ...etc.).
7- Door gasket must be clean and pliable. Replace gaskets if worn.

The symbol 📄 on the product or on its packaging indicates that this product may not be treated as household waste. Instead it shall be handed over to the applicable collection point for the recycling of electrical and electronic equipment. By ensuring this product is disposed of correctly, you will help prevent potential negative consequences for the environment and human health, which could otherwise be caused by inappropriate waste handling of this product. For more detailed information about recycling of this product, please contact your local city office, your household waste disposal service or the shop where you purchased the product.
PART-7.
THE PARTS OF THE APPLIANCE AND THE COMPARTMENTS

text_image
Technical diagram of a refrigerator with numbered components and labeled parts in ChineseThis presentation is only for information about the parts of the appliance. Parts may vary according to the appliance model.
1) Fast freezing shelf
2) Ice tray
3) Ice box
4) Freezer thermostat box
5) Freezer shelf
6) Freezer compartment
7) Freezer lamp box / cover
8) Chiller shelves
9) Refrigerator thermostat box
10) Refrigerator lamp box / cover
11) Refrigerator shelves
12) Crisper cover
13) Crisper
14) Freezer door shelf
15) Egg holder
16) Butter - cheese shelf
17) Door shelves
18) Bottle shelf
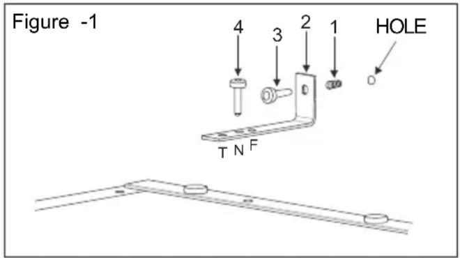
Fixing the appliance to the wall
Note: This fixing part should be used for in the case of, the appliance is out off balance when then the inside of the appliance is fully empty but the door shelves are full with stuffs.
For usage please follow the below instructions
1- Check the kit to locate the following parts.
| Part No | Description Quantity | Used | |
| 4 | Screw M4 No:4 2 pcs For fixing Bracket (Part no: 2) to the appliance | ||
| 3 | Screw for plastic No:3 (∅ 3,5mm) | 2 pcs For fixing Bracket (Part no: 2) to the wall | |
| 2 | Fixing Bracket 2 pcs Main part for fixing | ||
| 1 | Screw grommet 2 pcs For fixing Plastic screw (Part no: 3) to the wall | ||
2- Prepare a star-tip screwdriver for fixing the screws.
3- Prepare a driller for making hole to the wall.
4- Put the refrigerator, where you will use it.
5- Refer the holes, which has been drilled before on the top of the refrigerator, and mark the hole places on the wall.
6- Drill the holes on the wall with ∅ 6 mm.
7- Put screw grommet (Part no: 1) in to the hole.
8- Assemble the fixing part (no: 2) to the wall by using the plastic screw (part no:3)
9- With the screw M4 (Part no: 4) assemble the fixing bracket to the refrigerator.
10- If your appliance is Tropical class then fix Screw M4 to the "T" hole on the bracket; if your appliance is Normal class the fix Screw M4 to the "N" hole on the bracket.
11- Do the same actions to the 2 ^nd fixing part.

text_image
Figure -1 4 3 2 1 HOLE T N F
text_image
Figure -2 T N FSommaire
AVANT D'UTILISER VOTRE APPAREIL 19
TRANSPORT ET DEPLACEMENT 32
natural_image
Symbol of a trash bin with crossed lines indicating no waste or restriction (no text or labels)natural_image
Illustration of four hands performing a rope knotting technique (no text or symbols present)natural_image
Cartoon illustration of a person climbing a door with arms outstretched (no text or symbols)

natural_image
Cartoon illustration of a distressed refrigerator with arms and legs, no text or symbols presentnatural_image
Diagram showing two coil-like structures with arrows indicating direction of motion (no text or symbols)natural_image
Simple line drawing of a hand reaching toward a smiling emoji-shaped object (no text or symbols)natural_image
Line drawing of a hand pressing down on a device panel with two circular buttons (no text or symbols)
natural_image
Line drawing of a hand holding a circular component above a shelf, with no visible text or symbolstext_image
Diagram showing airflow direction and circular components in a ventilation system with directional arrowsnatural_image
Technical line drawing of a mechanical assembly with a handle inserted into a slatted component (no text or symbols)natural_image
Three-panel diagram showing a roof structure with a directional arrow indicating movement, no text or symbols present.Figure -1- Figure -2- Figure -3-
natural_image
Line drawing of a refrigerator drawer with drawers and compartments (no text or symbols)Cadran de Frais
natural_image
Two black circular and triangular symbols: a solid circle and a warning sign with an exclamation mark (no text or numbers present)natural_image
Pure diagram of a vertical structure with two arrows pointing to it, no text or symbols presentnatural_image
Cartoon illustration of a hand holding a refrigerator with a smiling face, reacting to the phone (no text or symbols present)natural_image
Cartoon illustration of a smiling refrigerator with arms and thumbs up, next to a mortar and pestle (no text or symbols)text_image
Illustrated guide showing four different behaviors of cleaning and cleaning products: a smiling hand, a smiling refrigerator, a washing machine with red cross lines, and a sad refrigerator.
natural_image
Illustration of a hand cleaning a wire mesh structure (no text or symbols)natural_image
Close-up of a screwdriver inserted into a mechanical component (no visible text or symbols)SECTION 5. TRANSPORT ET DEPLACEMENT
natural_image
Simple line drawing of two children playing a game with a large block (no text or symbols)text_image
Technical diagram of a refrigerator internal compartments with numbered labels and directional arrows indicating flow or movement.text_image
Figure -1 Figure -2 4 3 2 1 TROU T N F
text_image
T N Fiçindekiler
BUZDOLABINIZI KULLANMADAN ÖNCE 39
Genel uyarılar 39
natural_image
Pure diagram of a trash bin with diagonal lines and no text or symbolsnatural_image
Illustration showing three different techniques for using a tool to cut a wire, with no text or symbols present.natural_image
Cartoon illustration of a character inside a door, showing arms and legs (no text or symbols)text_image
Safety warning illustration showing prohibited items: no hand, bottle, spray bottle, hand, and a smiling face with crossed-out circle.natural_image
Cartoon illustration of a distressed container with arms and legs, holding a box labeled 'KG' (no text or symbols beyond the label)natural_image
Diagram showing two curved heat exchanger-like structures with internal flow arrows (no text or symbols)natural_image
Simple line drawing of a hand holding a smiling emoji inside a rounded square (no text or symbols)BÖLÜM- 2. KULLANIM BİLGİLERİ
natural_image
Cross-sectional diagram of a building interior with directional arrows indicating flow or movement (no text or symbols)BÖLÜM-2. KULLANIM BİLGİLERİ
Sıcaklık Ayarları
natural_image
Line drawings of a washing machine interior and its hand operating the dial (no text or symbols)natural_image
Diagram showing airflow direction and circular components in a technical layout (no text or symbols)natural_image
Line drawing of a hand opening a rack with a gridded metal shelf (no text or symbols)natural_image
Architectural diagram of two stacked metal structures with no visible text or symbolsŞekil: 1 Şekil: 2

natural_image
Diagram of a multi-tiered storage or rack structure with directional arrows indicating movement (no text or symbols)
natural_image
Architectural cross-section diagram of a multi-level building facade with tiered roof and structural elements (no text or symbols)Şekil: 3
natural_image
Line drawing of a refrigerator drawer with internal compartments and storage compartments (no text or symbols)natural_image
Two black circular shapes: one solid black and one warning sign with exclamation mark (no text or symbols)natural_image
Pure diagram of a vertical structure with arrows indicating direction, no text or symbols presentnatural_image
Cartoon illustration of a hand washing a refrigerator while another hand touches it (no text or symbols)
natural_image
Simple line drawing of a hand holding a smiling square object (no text or symbols)
natural_image
Cartoon illustration of a refrigerator with a smiling face, accompanied by a smaller bottle and cup (no text or symbols)
natural_image
Cartoon illustration of a smiling refrigerator with sunglasses and a bowl of food (no text or symbols)natural_image
Illustration of a refrigerator with a red X symbol crossed out, indicating no text or symbols present.natural_image
Cartoon illustration of a smiling rectangular box with arms and legs, accompanied by two small pools (no text or symbols)natural_image
Illustration of a hand cleaning a metal grate (no text or symbols)natural_image
Simple line drawing of a door lock with a bulb labeled B and a minus sign, no text or symbols present.
natural_image
Technical line drawing of a mechanical device with labeled parts (B and C), no readable text or symbols beyond labelsnatural_image
Diagram of a screwdriver inserted into a device component (no text or symbols visible)text_image
LED lambaBÖLÜM- 5. TAŞINMA VE YER DEĞİŞTİRME
natural_image
Simple line drawing of two children playing a game with a block (no text or symbols)text_image
Technical diagram of a refrigerator with numbered components and airflow indicatorstext_image
Şekil -2 T N FCE
52162699
PNC CODE: 925992078
EasyManual