EJF4842AOX - Buzdolabı ELECTROLUX - Ücretsiz kullanım kılavuzu
Cihazın kılavuzunu ücretsiz bulun EJF4842AOX ELECTROLUX PDF formatında.
Sık sorulan sorular - EJF4842AOX ELECTROLUX
Questions des utilisateurs sur EJF4842AOX ELECTROLUX
0 question sur cet appareil. Repondez a celles que vous connaissez ou posez la votre.
Poser une nouvelle question sur cet appareil
Cihazınız için talimatları indirin Buzdolabı PDF formatında ücretsiz! Kılavuzunuzu bulun EJF4842AOX - ELECTROLUX ve elektronik cihazınızı yeniden ele alın. Bu sayfada cihazınızın kullanımı için gerekli tüm belgeler yayınlanmaktadır. EJF4842AOX markasının ELECTROLUX.
KULLANIM KILAVUZU EJF4842AOX ELECTROLUX
Eski ve Kullanım Dışı Buzdolapları......41
Güvenlik Uyarıları 41
Buzdolabınızın Yerleştirilmesi ve Çalıştırılması 42
Buzdolabınızı Çalıştırmaya Başlamadan Önce 43
KULLANIM BİLGİLERİ 43
NO FROST Teknolojisi Hakkında Bilgi 43
KULLANIM BİLGİLERİ...... 44
Sıcaklık Ayarları 44
Sıcaklık Ayarları İle İlgili Uyarılar 44
Aksesuarlar 45
Buzmatik 45
Hızlı Dondurma Bölmesi 45
Sifir Derece Bölmesi 46
Sürgülü raf 46
Sıcaklık göstergesi 47
YİYECEKLERİN YERLEŞTİRİLMESİ 47
Soğutucu Bölme 47
Derin Dondurucu Bölme 48
TEMİZLİK VE BAKIM 50
Ampulün Değiştirilmesi 51
LED Lambaların Değiştirilmesi (Aydınlatma LED lambalarla yapıliyorsa) ...... 51
TAŞINMA VE YER DEĞİŞTİRME 52
Kapının Açılış Yönünün Değiştirilmesi 52
SERVİS ÇAĞIRMADAN ÖNCE 52
Enerji Tasarrufu İçin Öneriler 55
BUZDOLABI PARÇALARI VE BÖLÜMLERİ 56
Buzdolabın duvara sabitlenmesi 57
BÖLÜM- 1. BUZDOLABINIZI KULLANMADAN ÖNCE
Genel uyarılar
⚠️ UYARI: Cihazın mahfazasında veya gövdesinde bulunan havalandırma deliklerini açık tutunuz.
⚠️ UYARI: Buz çözme işlemini hızlandırmak için mekanik araçlar veya başka yapay yöntemler kullanmayın.
⚠️ UYARI: Üretici tarafından önerilmedikçe, cihazın yiyecek saklanal kısımlarında elektrikli cihazlar kullanmayın.
⚠️ UYARI: Buzdolabının soğutucu gaz devresine zarar vermeyin.
⚠️ UYARI: Ürünün dengesizliğinden kaynaklanabilecek zararlardan kaçınmak için, talimatlara uygun olarak ürün sabitlenmelidir.
- Eğer ürününüz soğutucu akışkan olarak R600a kullanıyorsa – bu bilgiyi soğutucudaki etiketten görebilirsiniz- taşıma ve montaj sırasında soğutma elemanlarının hasar görmemesi için dikkatli olunması gerekir. R600a çevre dostu ve doğal bir gaz olmasına karşın patlayıcı özelliği sahip olduğundan, soğutma elamanlarındaki herhangibir hasar nedeniyle oluşacak bir sızıntı sırasında buzdolabınızı açık alev veya ısı kaynağından uzaklaştırıp cihazın bulunduğu ortamı birkaç dakika süreyle havalandırınız.
- Buzdolabını taşırken ve yerleştirirken soğutucu gaz devresine zarar vermeyin.
- Cihazın içerisinde yanıcı içeriği bulunan aerosol kutuları gibi patlayıcı maddeler bulundurmayın.
- Bu cihaz ev ve benzeri yerlerde kullanılmak üzere tasarlanmıştır. Örneğin;
- mağazalar, ofisler ve diğer çalışma ortamlarında bulunan personel mutfakları;
- çiftlik evlerinde, otel, motel ve diğer ikamet ortamlarındaki müşteriler tarafından;
- oda - kahvalti tipi ortamlarda;
- catering ve benzeri perakende olmayan uygulamalar
- Eğer besleme kablonuz prize uygun değilse, herhangi bir tehlikey önlemek amacıyla besleme kablosu üretici firma tarafından ya da yetkili servis tarafından değiştirilmelidir.
- Bu cihaz, yanlarında güvenliklerinden sorumlu olacak veya onları cihazın kullanımıyla ilgili gerekli talimatları verecek bir kişi bulunmadığı sürece fiziksel, duyusal veya zihinsel yeteneklerinde yetersizlik bulunan veya bilgisiz ya da deneyimsiz olan kişiler (çocuklar da dahil) tarafından kullanım için tasarlanmamıştır. Çocuklar denetlenerek cihazla oynamaları önlenmelidir.
- Buzdolabınızın şebeke kablosuna topraklı özel fiş takılmıştır. Bu fiş en az 16 amper değerinde topraklı özel priz ile kullanılmalıdır. Evinizde böyle bir priz yok ise, ehliyetli bir elektrikçiye yaptırınız.
- Bu cihaz 8 yaş ve üstü çocuklar ve fiziksel, duyusal veya zihinsel yetenekleri eksik veya bilgi ve tecrübe açısından eksik kişiler tarafından bir gözetmen ile birlikte veya cihazın güvenli bir şekilde kullanımıyla ilgili talimatların verilmesi ve tehlikeli oluşabilecek durumların anlaşılmasıyla kullanılabilir. Çocuklar ürün ile oynamamalıdırlar. Temizlik ve kullanıcı bakımı, gözetim olmadan çocuklar tarafından yapılmamalıdır.
- Elektrik kablosu zarar görmüşse üretici, servis temsilcisi veya yetkili bir kişi tarafından değiştirilmelidir.
Eski ve Kullanım Dışı Buzdolapları
- Eski buzdolabınız kilidi olan bir buzdolabıysa, atmadan önce kilidini kırın veya çıkartın; çünkü çocuklar oynarken içine girerek kendilerini kilitleyebilir ve bir kazaya neden olabilir.
- Eski soğutucu ve dondurucular, izolasyon malzemeleri ve CFC içeren soğutma gazı ihtiva etmektedirler. Bu nedenle eski buzdolabınızı elden çıkartırken çevreye zarar vermemeye özen gösterin.

Elektrikli ve elektronik ev eşyalarında bulunabilecek zararlı maddelerin çevre ve insan sağlığı üzerinde olumsuz etkilerini en aza indirmek amacıyla atık haline gelmiş olan ürününüzü,
- diğer evsel atıklardan ayrı toplayınız,
- yeniden kullanım, geri dönüşüm, geri kazanım veya bertarafına katkıda bulunmak için belirlenen toplama noktalarına götürünüz,
- kayıt dışı toplama yapanlara vermeyiniz.
Toplama noktaları ile ilgili olarak bağlı bulunduğunuz belediyeler veya ürünü satın aldığınız dağılıcı ile görüşünüz.
Önemli Notlar:
- Lütfen cihazınızı yerleştirmeden ve çalıştırmadan önce kullanma kılavuzunu dikkatle okuyun. Hatalı kullanımlarından doğacak zararlardan firmamız sorumlu tutulamaz.
- Cihazınızın üzerindeki ve kullanma kılavuzundaki tüm uyarıları dikkate alınız ve bu kitapçığı ilerde çıkabilecek bazı sorunlara ışık tutması amacı ile saklayınız.
- Bu ürün evlerde kullanım için üretilmiş olup, yalnızca evde ve belirtilen amaçlar için kullanılabilir. Ticari ya da toplu kullanıma uygun değildir. Böyle bir kullanım, ürünün garantisinin iptaline neden olacağı gibi doğacak zararlardan da şirketimiz sorumlu olmayacaktır.
- Bu ürün evlerde kullanım için üretilmiş olup, yalnızca gıdaların soğutulması / muhafazası için uygundur. Ticari yada toplu kullanıma ve / veya gıda harici maddelerin muhafazasına uygun değildir. Aksi halde doğacak zararlardan şirketimiz sorumlu değildir.

Güvenlik Uyarıları
- Coklu priz ve uzatma kablosu kullanmavınız.
- Hasarlı, vırtılmış veya eskimis kablolu fisi prize sokmayınız.
- Asla kabloyu çekmeyiniz,bükmeyiniz veya hasar vermeyiniz.

- Bu ürün, yetişkinlerin kullanımına göre tasarlanmıştır, çocukların cihazla oynamasına veya kapıya tutunup sarkmalarına izin vermeyiniz.


- Biçak ve benzeri sivri uçlu aletlerle buzu kırmayınız veya kazımayınız.
- Herhangi bir elektrik çarpmasına sebebiyet vermemek için fişi prizden kesinlikle ıslak elle takıp çıkarmayınız!
- Buzdolabınızın derin dondurucu bölmesine cam şişe ve kutulardaki asitli içecekleri kesinlikle koymayınız. Şişe ve kutular patlayabilir.
- Patlayıcı ve yanıcı maddeleri emniyetiniz açısından buzdolabınıza koymayınız. Alkol oranı yüksek içkileri, cihazınızın soğutucu bölmesine ağızlarını sıkı bir şekilde kapatarak ve dik olarak yerleştirin.
- Derin dondurucu bölmesi içinde üretilen buzu çıkarırken elinizin temas etmesinden sakınız, buz yanıklara ve/veya kesiklere neden olabilir.

- Dondurulmuş yiyeceklere ıslak elle dokunmayın! Dondurma ve buz küplerini, derin dondurucu bölmesinden çıkarır çıkarmaz yemeyin!
- Dondurulan yiyecekler çözüldüğünde tekrar dondurmayınız. Gıda zehirlenmesi gibi sorunlara sebep olabileceğinden sağlığınız açısından tehlike yaratabilir.
- Taşınırken ürünün içerisindeki aksesuarların zarar görmemesi için aksesuarları sabitleyiniz.
Buzdolabınızın Yerleştirilmesi ve Çalıştırılması
Buzdolabınızı kullanmadan önce şu noktalara dikkat etmeniz gerekmektedir.
- Buzdolabınızın kullanma voltajı 220-240 V ve 50Hz'dir.
- Buzdolabınızı kullanmaya başlamadan önce yetkili teknik servisi arayarak buzdolabınızın kurulması, çalıştırılması ve kullanılması konusunda yardım talebinde bulunabilirsiniz.
- DİKKAT! Buzdolabı içerisindeki elektrikli hiçbir parçayı (ampul hariç) değiştirmeyiniz. Değiştirilmesi gereken durumlarda Yetkili Teknik Servisi çağırınız.
- Topraklama yapılmadan kullanma sonucu meydana gelebilecek zararlardan şirketimiz sorumlu olmayacaktır.
- Buzdolabınızı doğrudan güneş ışığına maruz kalmayacak uygun bir yere yerleştiriniz.
- Ocak, fırın, kalorifer peteği ve soba gibi ısı kaynaklarından en az 50 cm, elektrikli fırınlardan ise en az 5 cm uzakta olmalıdır.
- Buzdolabınızın üstüne ağır eşya koymayınız ve üstten en az 15 cm boşluk kalacak şekilde uygun bir yere yerleştiriniz.
- Buzdolabınız açık havada kullanılmamalı ve yağmur altında kalmamalıdır.
- Buzdolabınız, bir derin dondurucu ile yan yana yerleştirilirse aralarında en az 2 cm açıklık bırakılması, dış yüzeyde nem yoğuşmasını önlemek açısından gereklidir.

- Kondenserin (arkadaki siyah kanatlı kısım) duvara dayanmaması için size verilen mesafe ayar plastiğini şekilde gösterildiği gibi 90° döndürerek takınız.
- Buzdolabı montajında duvar ile buzdolabının arka bölgesi arasındaki boşluk 75 mm'yi aşmamalıdır.
- Buzdolabınızın üstüne ağır eşya koymayınız ve üstten en az 15 cm boşluk kalacak şekilde uygun bir yere yerleştiriniz.
- Buzdolabınızın düzgün ve sarsıntısız çalışması için ayarlanabilir ön ayakların uygun yüksekliğe getirilerek karşılıklı olarak dengelenmesi gerekir. Bunu, ayarlı ayakları saat yönünde (yada ters yönde) çevirerek sağlayabilirsiniz. Bu işlem, yiyecekler dolaba yerleştirilmeden önce yapılmalıdır.
- Buzdolabınızı kullanmadan önce, bir çay kaşığı yemek sodası katacağınız ılık su ile bütün parçalarını silip daha sonra temiz su ile durulayarak kurulayınız. Temizlik işlemi bittikten sonra tüm parçaları yerlerine yerleştiriniz.
- Buzdolabınızın altında hava dolaşımını engelleyecek hali, kilim vs. olmamalıdır.

Buzdolabınızı Çalıştırmaya Başlamadan Önce
- İlk çalıştırıldığında veya taşınma işlemlerini takiben cihazınızın verimli çalışabilmesi için, buzdolabınızı 3 saat (dik konumda) beklettikten sonra fişi prize takınız. Aksi taktirde kompresöre zarar verebilirsiniz.
- Buzdolabınızı ilk çalıştırdığınızda koku duyulabilir; koku buzdolabınız soğutmaya geçince kaybolacaktır.

i NO FROST Teknolojisi Hakkında Bilgi
No-Frost buzdolapları, çalışma sistemi ile diğer statik dolaplardan farklıdır.
Normal buzdolaplarında, dondurucu bölümde, kapı açılmalarında buzdolabının içine giren nem ile gıdaların nemi, dondurucu bölme içerisinde buz oluşmasına neden olur. Oluşan kar ve buzun belirli zaman aralıklarında eritilmesi için, buzdolabının durdurulması, bu işlem sırasında soğukluğunun korunması gereken besinlerin dışarıya çıkartılması, biriken buzun temizlenmesi gibi işlemlerin yapılması gerekmektedir.
No-frost dolaplarda ise, durum tamamen farklıdır. Fan yardımı ile kuru ve soğuk hava soğutucu ve dondurucu bölümlere birçok noktadan homojen olarak üflenir. Raf aralarına dahi homojen olarak dağılan soğuk hava sayesinde bütün yiyecekleriniz eşit oranda ve düzgün olarak soğumasını sağladığı gibi, nem ve buz oluşmasına imkan vermez.
Bu nedenle sahip olduğunu No-frost buzdolabınız, geniş hacim ve estetik görüntüsünün yanı sıra size büyük bir kullanım kolaylığı sağlar.

Soğutucu ve Dondurucu Termostat Düğmesi

Dondurucu Bölüm Termostat Düğmesi Soğutucu Bölüm Termostat Düğmesi
- Buzdolabınızın soğutucu ve dondurucu bölümlerindeki sıcaklık ayarlarının otomatik olarak yapılmasını sağlar. 1 ve 5 değerleri arasında istenilen herhangi bir değere ayarlanabilir. Termostat ayar düğmesini 1'den 5'e doğru çevirdikçe soğutma derecesi artar. Kış aylarında enerji tasarufu sağlamak amacıyla buzdolabınızı daha düşük konumda çalıştırabilirsiniz.
Dondurucu bölme termostat düğmesi;
5 : Yeni konulan yiyeceklerin hızlı dondurulması ve hızlı buz elde etmek içindir. Buzdolabınız uzun süreli çalışacaktır. Dondurucu bölüm yeterince soğuduğunda tekrar eski konumuna getirilmelidir.
3 - 4 : Normal kullanım ve donmuş yiyeceklerin uzun süre saklanması içindir.
1 - 2 : Oluşan buz küplerinin saklanması ve kış aylarında enerji tasarrufu sağlamak içindir.
Soğutucu bölme termostat düğmesi;
5 - MAX : Daha fazla soğutma içindir.
3 - 4 : Normal kullanım içindir ve en iyi performansı bu konumda alabilirsiniz.
1 - 2 : Daha az soğutma içindir.
Sıcaklık Ayarları İle İlgili Uyarılar
- Termostat ayarı, soğutucu ve dondurucu kapısının ne kadar sıklıkla açılıp kapandığı, içerisinde ne kadar yiyecek saklandığı ve buzdolabınızın bulunduğu ortam sıcaklığı göz önüne alınarak yapılmalıdır.
- Buzdolabınızın 10°C den daha soğuk ortamlarda çalıştırılması verimliliği açısından tavsiye edilmez.
- Buzdolabınızın, prize ilk takıldıktan sonra tamamen soğuyabilmesi için, ortam sıcaklığına bağlı olarak 24 saate kadar kesintisiz çalışması gerekir. Bu süre zarfında, buzdolabınızın kapılarını sık açıp kapamayınız ve aşırı doldurmayınız.
- Ani elektrik kesilmesinde veya fişi prizden takıp çıkarmalarda buzdolabınızın soğutma sistemindeki gazın basıncı henüz dengelenmemiş olduğundan, cihazınıza zarar vermemek için 5-10 dakika bekledikten sonra çalışmasını sağlayınız.
- Buzdolabınız, bilgi etiketinde belirtilen iklim sınıfına göre, standartlarda belirtilmiş ortam sıcaklık aralıklarında çalışacak şekilde tasarlanmıştır. Buzdolabının belirtilen sıcaklık değerlerinin dışındaki ortamlarda çalıştırılırması, soğutma verimliliği açısından tavsiye edilmez.
| İklim Sınıfı Ortam Sıc. (°C) | |
| T | 16 ile 43 arası |
| ST | 16 ile 38 arası |
| N | 16 ile 32 arası |
| SN | 10 ile 32 arası |
Aksesuarlar
Buzmatik

- Buzmatiğin buzluk kısmını su ile doldurup yerine yerleştiriniz.
- Yaklaşık 2 saat sonra buzlarını zı alabilirsiniz.
- Buzluğu yerinden çıkartmadan, buzluk düğmesini, buzlar buz kabına tamamıyla dökülene kadar sağa doğru çeviriniz.
- Buz kabını çıkartarak servis yapabilir veya buzları biriktirebilirsiniz.
! Buz kabı sadece buz biriktirmek içindir. İçine su koyup buz yapmak için kullanmayınız. Aksi takdirde kırılabilir.
Hızlı Dondurma Bölmesi

- Hızlı dondurma bölmesini taze gıdaları dondurmak için kullanınız. Bu şekilde yeni dondurulacak gıdaların daha çabuk donması sağlanarak, donmuş yiyeceklerle olan teması önlenmiş olur. Yiyecekler donduktan sonra; hızlı dondurma rafından alarak dondurucu bölmedeki diğer raflara yerleştirebilirsiniz.
- Hızlı dondurucu bölme kapağını açmak için, yukarı kaldırıp, raylar üzerinde hareket ettirerek ileri sürebilir, aynı şekilde geri çekerek kapatabilirsiniz.
- Buzdolabınızın üst kapısını kapatmadan önce, hızlı dondurucu kapağının kapalı olduğundan emin olunuz. Aksi takdirde istenilen hızlı dondurma özelliğini gösteremez.
Sifir Derece Bölmesi

text_image
KLAPESifir Derece Bölmesi, besinlerinizin 0°C'de kalmasını sağlar. Derin dondurucu bölmesinden çıkardığınız donmuş gıdanın çözülmesi için veya 1-2 gün içerisinde tüketeceğiniz et ve temizlenmiş balıkları (plastik torba veya paketler halinde)vb. bu bölmede ayrıca dondurmaya gerek duymadan saklayabilirsiniz. (Su 0°C'de donar ancak, tuz veya şeker içeren yiyecekler daha soğuk ortamlarda donabilir.)
! Bu raflara donmasını istediğiniz gıdaları veya buzlukları koymayınız.
Sifir derece bölmesi isteğe bağlı olarak, hava kanalının üzerinde bulunan klape (kapak) yardımıyla kahvaltılık bölmesi olarak kullanılabilir. Bunun için bu klapeyi açık konumdan kapalı konuma getirmeniz yeterli olacaktır.
Not: Klape bazı modellerimizde bulunmamaktadır.
Sürgülü raf (Bazı modellerde)

Sebzelik üstü rafın üzerindeki sürgülü raf (bazı modellerde cam, bazı modellerde tel, bazı modellerde de plastik raftır), size yer ve kolaylık kazandırması için tasarlanmıştır. İstenildiği zaman öne doğru çekilerek (Şekil 1) diğer raflar gibi geniş alanlar yaratmak ya da geriye sürülerek (Şekil 2) yüksek kapların da yerleştirilebileceği alanlar yaratmak amacıyla kullanılabilir. (Şekil 3)
Bu opsiyon cam raflarda bulunmaz.
ÖNEMLİ NOT: Sürgülü plastik raflarınızın üzerindeki mavi folyo paslanmaz çelik raf profilinizin çizilmeden son kullanıcıya ulaşmasını sağlamak amacı ile yapıştırılmıştır ve sökülüp çıkartılabilir.
Sebzelik Hava Ayar Düğmesi
Sebzelikteki yiyeceklerinizin daha uzun süre dayanması için, sebzeliğin arka tarafından bulunan sebzelik klapesi açık konuma alınmalıdır. Bu sayede sebzeliğe giren hava kontrol edilerek nem oranı ayarlanır ve yiyeceklerin dayanım ömürleri arttırılır.
Ayrıca, cam rafta yoğunlaşma görürseniz rafın arkasında bulunan bu klapeyi açmalısınız.

Sebzelik hava ayar düğmesi
Aksesuarlar Bölümündeki Tüm Yazılı ve görsel anlatımlar, cihazınızın modeline göre değişkenlik gösterebilir.
Sıcaklık göstergesi


Bu cihaz Fransada satılmaktadır. Ülkenin yasal düzenlemelerine uygun olarak buzdolabınızın soğutucu bölmesinin alt kısmına yerleştirilen bu etiket (şekilde gösterilen etiket), cihazın soğukluğunun uygunluğunu belirtir.
BÖLÜM- 3. YİYECEKLERİN YERLEŞTİRİLMESİ
Soğutucu Bölme
- Normal çalışma koşulları için buzdolabı bölmesini 2-3 grafik çubuğa ayarlamak yeterli olacaktır.
- Nem ve koku oluşmasını önlemek için besinlerin buzdolabına kapalı kaplarda veya üzerleri örtülerek yerleştirilmelidir.
- Sıcak yiyecek ve içeceklerin buzdolabına yerleştirilmeden önce oda sıcaklığına soğutulması gerekir.
- Meyve ve sebzeler: ayrıca sarmadan doğrudan sebzelik bölmesine yerleştirilebilir.
- Soğutucu hava kanalı, soğutucu bölüme soğuk hava dağıtır. Kanalların önünün yiyeceklerle kapatılıp, hava akışının engellenmesinden kaçınılmalıdır. Paketlenmiş yiyecekleri ve kapları soğutucu bölümün lamba ve kapağına dayamayınız.
Önemli Not:
- Buzdolabına konan sıvıların ve sulu yiyeceklerin üstü kapatılmalıdır. Aksi takdirde dolabın içindeki nem oranı artar. Bu da buzdolabının daha fazla çalışmasına sebep olur. Yiyeceklerin ve içeceklerin üstlerinin kapatılması ile ayrıca tat ve lezzetlerinin de korunması sağlanmış olur.
- Patates, soğan ve sarımsak buzdolabında saklanmamalıdır.
Derin Dondurucu Bölme
- Normal çalışma koşulları için dondurucu bölmesini 2-3 grafik çubuğa ayarlamak yeterli olacaktır.
- Dondurucu, derin dondurulmuş ya da dondurulmuş yiyecekleri uzun süre saklamak ve buz üretmek için kullanılır.
- Taze ve sıcak yiyecekleri dondurmak için dondurucu kapısının raflarına koymayın. Yalnızca donmus yiyecekleri saklamak için kullanın.
- Taze ve sıcak yiyecekleri dondurulmuş yiyeceklerle yan yana koymayın, dondurulmuş yiyecekler eriyebilir.
- Evde pişirilen (ve dondurulması gereken) yiyeceği daha hızlı dondurmak için hızlı dondurma rafını kullanın, çünkü dondurma bölmesinin daha yüksek dondurma kapasitesi vardır.
- Taze yiyeceği dondururken (örn., et, balık ve kıyma) bunları bir kerede kullanacağını miktarlara bölün.
- Taze yiyecekleri dondururken; 24 saat içerisinde dondurulabilecek maksimum yiyecek miktarı cihazın etiketinde (kg cinsinden) gösterilmiştir.
- Maksimum dondurma kapasitesine ulaşmanızı sağlayacak ideal cihaz kapasitesi için, taze yiyecekleri dondurucu bölmesine yerleştirmeden 24 saat önce dondurucu bölmesi termostat düğmesini max konumuna cevirin.
- Taze yiyecekleri dondurucu bölmesine yerleştirdikten sonra, max konumunda 24 saat bekletmek genellikle yeterlidir. 24 saatten sonra, dondurucu bölmesi termostat düğmesinin max konumuna avarlanması gerekmez.
- Dikkat; Küçük miktarlardaki yiyecekleri dondururken dondurucu bölmesi termostat düğmesinin max konumuna ayarlanması gerekmez. Bu enerji tasarrufu yapmanızı sağlayacaktır.
- Dondurulmuş yiyecekleri saklamak için; dondurulmuş yiyecek paketlerinin üstündeki talimatlara dikkatle uyulmalıdır, yiyecek üzerinde bir talimat yoksa satın alınma tarihinden jitibaren en fazla 3 ay saklanmalıdır.
- Dondurulmuş yiyecek satın alırken bunların uygun sıcaklıklarda dondurulduğundan ve paketlerinin bozulmadığından emin olun.
- Dondurulmuş yiyecekler, kalitenin korunması için uygun kaplarda taşınmalı ve mümkün olan en kısa zamanda cihazın dondurucu bölmesine verlestirilmelidir.
- Dondurulmuş yiyeceğin paketinde nem ve anormal şişme işaretleri varsa, muhtemelen daha önce uygun olmayan bir sıcaklıkta saklanmıştır ve içeriği bozulmustur.
- Dondurulmuş yiyeceğin saklama ömrü oda sıcaklığına, termostat ayarına, buzdolabı kapağının açılma sıklığına, yiyeceğin türüne ve yiyeceğin marketten eve taşınması için geçen süreye bağlıdır. Her zaman paket üzerindeki talimatlara uyun ve belirtilen saklama süresini hiçbir zaman geçirmeyin.
Önemli Not:
- Buzdolabındaki derin dondurucudan çıkarılan donmuş yiyecekler, bir gün önceden alt bölmeye konulursa, orada çözülerek buzdolabında soğutmaya destek olur. Enerji tasarrufu sağlanır. Buzluktaki malzeme doğrudan açığa konulursa enerji kaybına sebep olur.
- Dondurulmuş et çözüldüğünde aynen taze et gibi pişirilmelidir. Etler, çözüldükten sonra pisirilmemisse kesinlikle tekrar dondurulmamalıdır.
- Yumurta, Kabuklu olarak dondurulmamalıdır. Yumurtanın sarısı ve beyazı ayrı ayrı ya da iyice karıştırılmış şekilde dondurulmalıdır.
- Pişmiş yemeklerde bulunan bazı baharatların (anason, fesleğen, dereotu, sirke, baharat karışımı, zencefil, sarımsak, soğan, hardal, kekik, mercanköşk, karabiber vb.) uzun süre saklandığında tadları değişir ve kuvvetli bir tad kazanır. Bu yüzden dondurulacak yiyecekler az baharatlanmalı ya da arzu edilen baharat, yiyecek çözüldükten sonra eklenmelidir.
- Yiyeceklerin depolanma süresi kullanılan yağa bağlıdır. Uygun olan yağlar; margarin, dana yağı, zeytinyağı ve tereyağ, uygun olmayan yağlar ise yerfistığı yağı ve domuz yağıdır.
- Sıvı şekilde olan yemekler plastik kaplarda, diğer yiyecekler ise plastik folyo veya torbada dondurulmalıdır.

Dondurucu bölmesini yüklerken, yükleme çizgi hizalarının dışına çıkılmaması gerekmektedir. Aksi halde kapı açık kalabilir. Dondurucu bölme kapısının açık kalması durumunda dondurucu bölümde karlanma olabilir. Karlanan bölümün temizlenmesi ve kapısının tam kapandığından emin olunması halinde aynı sorun tekrarlanmayacaktır.
Aynı zamanda dondurucu ve / veya soğutucu kapısının tam kapanmaması, enerji tüketiminizi arttıracaktır.
BÖLÜM- 4. TEMİZLİK VE BAKIM
- Temizliğe başlamadan önce fişi mutlaka prizden çekin.
- Buzdolabınızı su dökerek yıkamayın.
- Cihazınızın iç ve dış kısmını ılık ve sabunlu su ile yumuşak bir bezle veya süngerle silin.

- Parçaları tek tek çıkartıp, sabunlu su ile temizleyin. Bulaşık makinasında yıkamayın.

- Temizlik için tiner, benzin, asit gibi yanıcı, parlayıcı ve eritici malzemeler asla kullanmayın.

- Yılda en az bir kere kondenser (arkada siyah kanatlı kısım) elektrikli süpürge ya da kuru bir fırça kullanılarak temizlenmelidir. Bu, buzdolabınızın daha verimli çalışmasını ve enerji tasarrufu yapmanızı sağlayacaktır.

Ampulün Değiştirilmesi

C
Dondurucu Bölme
Soğutucu Bölme

Dondurucu ve Soğutucu bölmesindeki Ampulün değiştirilmesi için;
1- Buzdolabınızın fişini prizden çıkartınız.
2- Kutunun kapağını, altaki tırnaklardan bir
tornovida yardımı ile çıkartınız.(A)
3- Gücü 15 Watt' tan fazla olmayan yeni bir ampul ile değiştiriniz.(B)
4- Kapağı yerine takınız.(C)
Not: Bazı modellerde dondurucu bölme lambası yoktur.
LED Lambaların Değiştirilmesi (Aydınlatma LED lambalarla yapıyorsa)
Lütfen servis teknisyenini çağırın.

- Orjinal ambalaj ve köpükler, tekrar taşınma için (isteğe bağlı olarak) saklanabilir.
- Tekrar taşınma durumunda buzdolabınızı kalın ambalaj, bant veya sağlam iplerle bağlamalı ve ambalaj üzerindeki taşıma kurallarına mutlaka uymalisınız.
- Yer değiştirme ve taşınma sırasında önce buzdolabınızın içindeki hareket edebilen parçaları (raflar, aksesuarlar, sebzelik vs.) çıkartınız veya dolap içine bantlayıp sarsıntıya karşı sağlamlaştırınız.

Buzdolabınızın dik şekilde taşınmasına özen gösteriniz.
Kapının Açılış Yönünün Değiştirilmesi
- Buzdolabınızın kapaklarındaki kapı kollarının montajı buzdolabınızın ön yüzeyinden yapılmışsa, buzdolabınızın kapısının açılış yönü değişemez.
- Ayrıca kapı kolu bulunmayan modellerde de kapı açılış yönü değişimi mümkündür.
- Eğer sahip olduğunu buzdolabının kapısının açılma yönü değişebiliyorsa, kapı yönü değişimi için en yakın Yetkili Teknik Servise başvurmanız gerekmektedir.
BÖLÜM- 6. SERVİS ÇAĞIRMADAN ÖNCE
Buzdolabınız çalışmıyorsa
- Elektrik arızası var mı?
- Fiş prize doğru takılmış mı?
- Fişin takıldığı prizin sigortası ya da ana sigorta atmış mı?
- Termostat ayari “•” konumunda mı?
- Prizde arıza var mı? Bunun için buzdolabınızın fişini çalıştiğına emin olduğunu bir prize takarak deneyiniz.
Buzdolabınız yeterli soğutma yapmıyorsa
- Termostat ayarı doğru yapılmış mı?
- Buzdolabınızın kapıları sık açılıyor veya uzun süre açık kalıyor mu?
- Buzdolabınızın kapıları tam olarak kapanıyor mu?
- Buzdolabınıza, hava dolaşımını engelleyecek şekilde arka duvarına temas eden kap veya yiyecek yerleştirilmiş mi?
-
Buzdolabınız aşırı derecede dolu mu?
-
Buzdolabınız ile arka ve yan duvarlar arasında yeterli mesafe var mı?
- Çalışma ortam sıcaklığı kullanma kılavuzunda belirtilen limitlerin içinde mi?
Soğutucu bölmesindeki yiyecekler gereğinden fazla soğuyorsa
- Termostat ayarı doğru yapılmış mı?
- Derin dondurucu bölmesinde çok miktarda yeni yerleştirilmiş yiyecek var mı? Eğer varsa, onları dondurmak için kompresör daha uzun çalışacağını soğutma bölmesindeki yiyecekleri de gereğinden fazla soğutması mümkün olabilir.
Buzdolabınız sesli çalışıyorsa
Ayarlanan soğukluk seviyesinin sabit kalabilmesi için, kompresör zaman zaman devreye girecektir. Bu sırada buzdolabınızdan gelecek sesler fonksiyon gereği normaldir. Gereken soğukluk seviyesine ulaştığı zaman, sesler otomatik olarak azalacaktır. Yine de ses varsa;
- Cihazınız dengede mi? Ayakları avarlanmış mi?
- Cihazınızın arkasında bir şey var mı?
- Cihazınızdaki raflar veya raflardaki tabaklar titreşiyor mu? Bu durum sözkonusu ise rafları ve/veya tabakları yeniden yerleştirin.
- Cihazınızın üstüne konan eşyalar titreşiyor mu?
Normal Sesler;
Çırtırtı (Buz Kırılma) Sesi:
- Otomatik buz çözme işlemi esnasında.
- Cihaz soğuduğu veya ısındığı zaman (cihaz malzemesindeki genleşmeler).
Kısa çıtlama
Komprasörü açılıp kapandığı zaman duyulur.
Kompresör sesi
Normal motor sesi:
Bu ses, kompresörün normal çalıştığı anlamına gelir. Kompresör, devreye girerken, kısa süreli olarak biraz daha sesli çalışabilir.
Fokurtu ve şırıltı sesi:
Bu ses, sistem içerisindeki soğutucu akışkanın borular içinde akması esnasında oluşur.
Su akış sesi: Buz çözme işlemi esnasında, buharlaştırma kabına akan suyun normal sesi. Cihazda buz çözme işlemi yapılırken bu ses duyulabilir.
Hava Üfleme Sesi:
Normal fan sesi. No-Frost buzdolaplarında sistem normal çalışırken hava sirkülasyonundan dolayı bu ses duyulabilir.
Buzdolabınızın iç kısımlarında nem oluşuyorsa;
- Yiyecekler düzgün ambalajlanmış mı? Buzdolabına koymadan önce kaplar iyice kurulandı mı?
- Buzdolabının kapıları çok sık açılıyor mu? Kapı açıldığında, odadaki havada bulunan nem buzdolabına girer. Özellikle odanın nem oranı çok yüksek ise, kapıyı ne kadar sık acarsanız, nem birikimi o kadar hızlı olur.
- Otomatik buz çözme işleminden sonra arka duvarda su damlalarının oluşması normaldir. (Statik Modellerde)
Kapılar düzgün bir şekilde açılıp kapanmıyorsa;
- Yiyecek paketleri kapıların kapanmasını engelliyor mu?
- Kapı bölmeleri, raflar ve çekmeceler düzgün yerleştirilmiş mi?
- Kapı contaları bozuk mu veya yırtılmış mı?
- Buzdolabınız düz bir zeminde mi?
Kapı contasının temas ettiği, buzdolabı kabininin kenarları sıcak ise;
Özellikle yaz aylarında (sicak havalarda), komprasör çalışması esnasında, dolap üzerinde contanın temas ettiği yüzeylerde ısınma oluşabilir, bu normaldir.
ÖNEMLİ NOTLAR:
- Ani elektrik kesilmesinde herhangi bir sorun yaşamamak için fişi pirizden çıkartın. Elektriktrikler geldikten sonra fişi pirize takın.
- Herhangi bir sebepten dolayı fişi prizden çıkarttığınızda, buzdolabınızın soğutma sistemine zarar vermemek için yaklaşık 5-10 dakika bekledikten sonra tekrar fişi pirize takabilirsiniz.
- Buzdolabınızı uzun bir süre kullanmayacaksanız (yaz tatillerinde gibi), fişi prizden çıkartın veya termostat düğmesini “•” konumuna getiriniz, eritme işleminden (bakınız 4.BÖLÜM) sonra temizleyip nem ve koku oluşmasını engellemek için kapıyı açık bırakın.
- Bu uyarıların hepsini yerine getirdiğiniz halde buzdolabınızda hala sorun varsa, lütfen yetkili teknik servisi arayıp teknik destek talep ediniz.
- Aldığınız cihaz, ev tipi kullanım için üretilmiş olup, sadece evde ve belirtilen amaçları için kullanılabilir. Ticari yada toplu kullanıma uygun değildir. Tüketicinin buna aykırı kullanımında, TKHK hükümlerinde belirlenmiş, ücretsiz onarım ve garanti süresi içinde arızalardan üretici ve satıcının mesuliyetinin kalktığını önemle belirtiriz.
- Cihazınızın T.C. Gümrük ve Ticaret Bakanlığı Tüketicinin Korunması ve Piyasa Gözetimi Genel Müdürlüğü'nce tespit ve ilan edilen kullanım ömrü (cihazın fonksiyonlarını yerine getirebilmesi için gerekli yedek parça bulundurma süresi) 10 yıldır.
Uyumluluk Bilgileri
- Ürününüz 16°C ile 43°C arasındaki ortam sıcaklıklarında çalışması için tanımlanmıştır.
- Ürün IEC60335-1 / IEC60335-2-24, 2004/108/EC standartlarına uygun olarak tasarlanmıştır.
- Ürün "AEEE" yönetmeliğine uygundur.
- Ürün "PCB" içermez.
i Enerji Tasarrufu İçin Öneriler
1- Cihazı serin, havalandırması iyi bir odaya yerleştirin, direkt güneş ışığına maruz kalmasından ve ısı kaynaklarının (radyatör, fırın ....vb.) yakınına koymaktan sakının. Aksi taktirde yalıtım plakası kullanın.
2- Sıcak yiyecek ve içeceklerin cihaz dışında soğumasını bekleyin.
3- Donmuş gıdaları, çözülmesi için buzdolabına koyun. Donmuş bir gıda çözülürken mevcut düşük ısısı buzdolabının soğumasına yardımcı olur. Böylece enerjiden tasarruf edilmiş olur. Donmuş gıdanın dışarıya konulması enerji israfına neden olur.
4- İçecekleri ve sulu yemekleri buzdolabına koyarken kapalı bir kapta olmalarına dikkat edin. Aksi takdirde cihaz içindeki nem artacaktır. Bu ise çalışma süresini uzatır. İçeceklerin ve sulu yemeklerin kapalı kaplarda muhafaza edilmeleri ayrıca kokularının ve tatlarının bozulmasını engeller.
5- İçecekleri ve gıdaları buzdolabına koyarken, cihazın kapısını mümkün olduğunca kısa süre açık tutun.
6- Cihaz içinde farklı sıcaklık değerlerine sahip bölümleri kapalı tutun. (sebzelik, chiller bölümü ....vb.)
7- Kapı contası temiz ve esnek olmalıdır. Eskimiş contaları değiştirin.
BÖLÜM-7. BUZDOLABI PARÇALARI VE BÖLÜMLERİ

Bu sunum yalnızca cihazın parçaları hakkında bilgilendirme amaçlıdır. Parçalar cihaz modeline göre farklı olabilir.
1) Hızlı Dondurma Rafı
2) Buzmatik
3) Buz Kabi
4) Dondurucu Termostat
5) Dondurucu Bölme Rafı
6) Dondurucu Bölme
7) Dondurucu Lambası ve Kapağı
8) Sifir Derece Rafı
9) Soğutucu Termostat Düğmesi
10) Soğutucu Bölme Lambası ve Kapağı
11) Soğutucu Bölme Rafı
12) Sebzelik üstü cam raf
13) Sebzelik
14) Dondurucu Kapı Rafları
15)Yumurtalık
16) Peynir Tereyağı rafı
17) Soğutucu kapı rafları
18) Şişelik Rafı
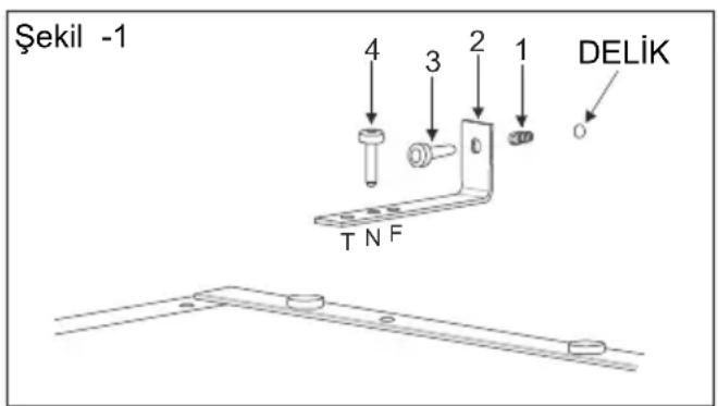
Buzdolabın duvara sabitlenmesi
Not: Sabitleme braketi; ürünün iç kısmı tamamen boş fakat kapı rafları tam dolu olup, dolabın dengede kalamadığı durumlarda kullanılmalıdır.
Kullanım için aşağıdaki talimatları uygulayınız:
1- Dolap sabitleme kitinde aşağıdaki parçaların olup olmadığını kontrol ediniz.
| Parça No | Tanım Miktar Kullanım | ||
| 4 Vida | M4 No:4 2 ad. | Braketi (Parça no: 2) ürüne sabitlemek için kullanılır. | |
| 3 | Plastik vidası No:3(Ø 3,5mm) | 2 ad. | Braketi (Parça no: 2) duvara sabitlemek için kullanılır. |
| 2 Sab | tleme bracketi 2 ad. | Ana sabitleme | parçasıdır. |
| 1 Dübel | 2 ad. | Plastik vidasını (Parça no: 3) duvara sabitlemek için kullanılır. |
2- Vidalari yerlerine sabitlemek için yıldız uçlu tornovidanızı hazırlayınız.
3- Duvara delik açmak için matkabınızı hazırlayınız.
4- Buzdolabınızı kullanacağını yere düzgün biçimde yerleştiriniz.
5- Braketi dolabın üzerinde daha önceden delinmiş deliklere hizzalayıp duvarda delinecek olan deliklerin yerlerini belirleyip işaretleyiniz.
6- Duvara çapı 6mm olan delik açınız.
7- Dubeli (parça no:1) deliğe yerleştiriniz.
8- Plastik vidasını (parça no:3) kullanarak braketi (parça no:2) duvara sabitleyiniz.
9- M4 vidası (parça no:4) ile braketi dolabınıza vidalayınız.
10- Dolabınız Tropikal sınıf ise M4 vidasını "T" deliğine vidalayınız;
Normal sınıf ise M4 vidasını "N" deliğine vidalayınız.
11- Aynı işlemleri 2. Braket için de uygulayınız.

text_image
Şekil -1 4 3 2 1 DELİK T N F
KolayKılavuz