KOMBI B 302 P - Other kitchen appliances AEG - Free user manual and instructions
Find the device manual for free KOMBI B 302 P AEG in PDF.
Frequently Asked Questions - KOMBI B 302 P AEG
Download the instructions for your Other kitchen appliances in PDF format for free! Find your manual KOMBI B 302 P - AEG and take your electronic device back in hand. On this page are published all the documents necessary for the use of your device. KOMBI B 302 P by AEG.
USER MANUAL KOMBI B 302 P AEG
www.aeg.com/webselfservice
7. PROBLEEMOPLossing

WAARSCHUWING!
Thank you for choosing this AEG product. We have created it to give you impeccable performance for many years, with innovative technologies that help make life simpler features you might not find on ordinary appliances. Please spend a few minutes reading to get the very best from it. Visit our website for:

Get usage advice, brochures, trouble shooter, service information: www.aeg.com/webselfservice

Register your product for better service: www.registeraeg.com
Buy Accessories, Consumables and Original spare parts for your appliance: www.aeg.com/shop
CUSTOMER CARE AND SERVICE
Always use original spare parts.
When contacting our Authorised Service Centre, ensure that you have the following data available: Model, PNC, Serial Number.
The information can be found on the rating plate.
Warning / Caution-Safety information
① General information and tips
Environmental information
Subject to change without notice.
1. SAFETY INFORMATION
Before the installation and use of the appliance, carefully read the supplied instructions. The manufacturer is not responsible for any injuries or damages that are the result of incorrect installation or usage. Always keep the instructions in a safe and accessible location for future reference.
1.1 Children and vulnerable people safety
- This appliance can be used by children aged from 8 years and above and persons with reduced physical, sensory or mental capabilities or lack of experience and knowledge if they have been given supervision or instruction concerning the use of the appliance in a safe way and understand the hazards involved.
- Do not let children play with the appliance.
- Keep all packaging away from children and dispose of it appropriately.
- Keep children and pets away from the appliance when it operates or when it cools down. Accessible parts are hot.
- If the appliance has a child safety device, this should be activated.
Children shall not carry out cleaning and user maintenance of the appliance without supervision.
Children aged 3 years and under must be kept away from this appliance when it is in operation at all times.
1.2 General Safety
- WARNING: The appliance and its accessible parts become hot during use. Care should be taken to avoid touching heating elements. Children less than 8 years of age shall be kept away unless continuously supervised.
-
Do not operate the appliance by means of an external timer or separate remote-control system.
-
WARNING: Unattended cooking on a hob with fat or oil can be dangerous and may result in fire.
- NEVER try to extinguish a fire with water, but switch off the appliance and then cover flame e.g. with a lid or a fire blanket.
- CAUTION: The cooking process has to be supervised. A short term cooking process has to be supervised continuously.
- WARNING: Danger of fire: Do not store items on the cooking surfaces.
- Metallic objects such as knives, forks, spoons and lids should not be placed on the hob surface since they can get hot.
- Do not use a steam cleaner to clean the appliance.
- If the glass ceramic surface / glass surface is cracked, switch off the appliance to avoid the possibility of electric shock.
- If the supply cord is damaged, it must be replaced by the manufacturer, an authorized Service or similarly qualified persons in order to avoid a hazard.
- WARNING: Use only hob guards designed by the manufacturer of the cooking appliance or indicated by the manufacturer of the appliance in the instructions for use as suitable or hob guards incorporated in the appliance. The use of inappropriate guards can cause accidents.
2. SAFETY INSTRUCTIONS
2.1 Installation

WARNING! Only a qualified person must install this appliance.
- Remove all the packaging.
- Do not install or use a damaged appliance.
- Follow the installation instruction supplied with the appliance.
- Keep the minimum distance from the other appliances and units.
Always take care when moving the appliance as it is heavy. Always use safety gloves and enclosed footwear.
- Seal the cut surfaces with a sealant to prevent moisture to cause swelling.
- Protect the bottom of the appliance from steam and moisture.
- Do not install the appliance adjacent to a door or under a window. This prevents hot cookware to fall from the appliance when the door or the window is opened.
- If the appliance is installed above drawers make sure that the space,
between the bottom of the appliance and the upper drawer, is sufficient for air circulation.
- The bottom of the appliance can get hot. Make sure to install a noncombustible separation panel under the appliance to prevent access to the bottom.
2.2 Electrical Connection

WARNING!
Risk of fire and electrical shock.
- All electrical connections should be made by a qualified electrician.
- The appliance must be earthed.
- Before carrying out any operation
make sure that the appliance is disconnected from the power supply.
Make sure that the electrical information on the rating plate agrees with the power supply. If not, contact an electrician.
- Make sure the appliance is installed correctly. Loose and incorrect electricity mains cable or plug (if applicable) can make the terminal become too hot.
- Use the correct electricity mains cable.
- Do not let the electricity mains cable tangle.
Make sure that a shock protection is installed.
- Use the strain relief clamp on the cable.
- Make sure the mains cable or plug (if applicable) does not touch the hot appliance or hot cookware, when you connect the appliance to the near sockets
- Do not use multi-plug adapters and extension cables.
- Make sure not to cause damage to the mains plug (if applicable) or to the mains cable. Contact our Authorised Service Centre or an electrician to change a damaged mains cable.
- The shock protection of live and insulated parts must be fastened in such a way that it cannot be removed without tools.
- Connect the mains plug to the mains socket only at the end of the
installation. Make sure that there is access to the mains plug after the installation.
- If the mains socket is loose, do not connect the mains plug.
- Do not pull the mains cable to disconnect the appliance. Always pull the mains plug.
- Use only correct isolation devices: line protecting cut-outs, fuses (screw type fuses removed from the holder), earth leakage trips and contactors.
- The electrical installation must have an isolation device which lets you disconnect the appliance from the mains at all poles. The isolation device must have a contact opening width of minimum 3 mm.
2.3 Use

WARNING!
Risk of injury, burns and electrical shock.
- Remove all the packaging, labelling and protective film (if applicable) before first use.
- Use this appliance in a household environment.
- Do not change the specification of this appliance.
Make sure that the ventilation openings are not blocked. - Do not let the appliance stay unattended during operation.
- Set the cooking zone to "off" after each use.
- Do not put cutlery or saucepan lids on the cooking zones. They can become hot.
- Do not operate the appliance with wet hands or when it has contact with water.
- Do not use the appliance as a work surface or as a storage surface.
- If the surface of the appliance is cracked, disconnect immediately the appliance from the power supply. This to prevent an electrical shock.
- When you place food into hot oil, it may splash.

WARNING!
Risk of fire and explosion
- Fats and oil when heated can release flammable vapours. Keep flames or heated objects away from fats and oils when you cook with them.
- The vapours that very hot oil releases can cause spontaneous combustion.
- Used oil, that can contain food remnants, can cause fire at a lower temperature than oil used for the first time.
- Do not put flammable products or items that are wet with flammable products in, near or on the appliance.

WARNING!
Risk of damage to the appliance.
- Do not keep hot cookware on the control panel.
- Do not put a hot pan cover on the glass surface of the hob.
- Do not let cookware to boil dry.
- Be careful not to let objects or cookware fall on the appliance. The surface can be damaged.
- Do not activate the cooking zones with empty cookware or without cookware.
- Do not put aluminium foil on the appliance.
Cookware made of cast iron, aluminium or with a damaged bottom can cause scratches on the glass / glass ceramic. Always lift these objects up when you have to move them on the cooking surface.
This appliance is for cooking purposes only. It must not be used for
other purposes, for example room heating.
2.4 Care and cleaning
- Clean regularly the appliance to prevent the deterioration of the surface material.
- Deactivate the appliance and let it cool down before you clean it.
- Disconnect the appliance from the electrical supply before maintenance.
- Do not use water spray and steam to clean the appliance.
- Clean the appliance with a moist soft cloth. Only use neutral detergents. Do not use any abrasive products, abrasive cleaning pads, solvents or metal objects.
2.5 Disposal

WARNING!
Risk of injury or suffocation.
- Contact your municipal authority for information on how to discard the appliance correctly.
- Disconnect the appliance from the mains supply.
- Cut off the mains electrical cable close to the appliance and dispose of it.
2.6 Service
To repair the appliance contact an Authorised Service Centre.
- Use original spare parts only.
3.PRODUCT DESCRIPTION
3.1 Cooking surface layout

1 Cooking zone
2 Control panel
3.2 Control panel layout

Use the sensor fields to operate the appliance. The displays, indicators and sounds tell which functions operate.
| Sensor field | Function Comment | |
| 1 | ① | ON / OFF To activate and deactivate the hob. |
| 2 | ② | Lock / The Child Safety De- To lock / unlock the control panel. device |
| 3 | || | STOP+GO To activate and deactivate the function. |
| 4 | ◎ | - To activate and deactivate the outer ring. |
| 5 | - | Heat setting display To show the heat setting. |
| 6 | - | Timer indicators of cooking To show for which zone you set the time. zones |
| 7 | - | Timer display To show the time in minutes. |
| 8 | ◎ | - To activate and deactivate the outer ring. |
| 9 | 1 | - To select the cooking zone. |
| 10 | +/- | - To increase or decrease the time. |
| 11 | ^/ | - To set a heat setting. |
3.3 Heat setting displays
| Display Description | |
| 0 | The cooking zone is deactivated. |
| 1-9-26 | The cooking zone operates. The dot means a change by half of a heating level. |
| u | STOP+GO function operates. |
| A | Automatic Heat Up function operates. |
| E+ digit | There is a malfunction. |
| H | A cooking zone is still hot (residual heat). |
| L | Lock / The Child Safety Device function operates. |
| - | Automatic Switch Off function operates. |
3.4 Residual heat indicator

WARNING!
There is a risk of burns from residual heat.
4. DAILY USE

WARNING!
Refer to Safety chapters.
4.1 Activating and deactivating
Touch for 1 second to activate or deactivate the hob.
4.2 Automatic Switch Off
The function deactivates the hob automatically if:
- all cooking zones are deactivated,
- you do not set the heat setting after you activate the hob,
- you spill something or put something on the control panel for more than 10 seconds (a pan, a cloth, etc.). An
acoustic signal sounds and the hob deactivates. Remove the object or clean the control panel.
- you do not deactivate a cooking zone or change the heat setting. After some time comes on and the hob deactivates.
The relation between the heat setting and the time after which the hob deactivates:
| Heat setting The hob deacti- vates after | |
| u, 1 - 2 | 6 hours |
| 3 - 4 5 hours | |
| 5 4 hours | |
| 6 - 9 1.5 hour | |
4.3 The heat setting
Touch to increase the heat setting. Touch to decrease the heat setting. Touch and at the same time to deactivate the cooking zone.
4.4 Activating and deactivating the outer rings
You can adjust the surface you cook to the dimension of the cookware.
Use sensor field:
To activate the outer ring: touch the sensor field. The indicator comes on.
To deactivate the outer ring: touch the sensor field until the indicator goes out.
4.5 Automatic Heat Up
If you activate this function you can get a necessary heat setting in a shorter time. The function sets the highest heat setting for some time and then decreases to the correct heat setting.

To activate the function the cooking zone must be cold.
To activate the function for a cooking zone: touch until comes on.
Immediately touch until the correct heat setting comes on. After 3 seconds R comes on.
To deactivate the function: touch
4.6 Timer
Count Down Timer
You can use this function to set how long the cooking zone should operate for a single cooking session.
First set the heat setting for the cooking zone then set the function.
To set the cooking zone: touch again and again until the indicator of a necessary cooking zone comes on.
To activate the function or change the
time: touch or of the timer to set the time (00 - 99 minutes). When the indicator of the cooking zone starts to flash slowly the time counts down.
To see the remaining time: set the cooking zone with ①. The indicator of the cooking zone starts to flash quickly. The display shows the remaining time.
To deactivate the function: set the cooking zone with and touch . The remaining time counts back to 00. The indicator of the cooking zone goes out.

When the time comes to an end, the sound operates and 00 flashes. The cooking zone deactivates.
To stop the sound: touch
Minute Minder
You can use this function as a Minute Minder when the hob is activated and the cooking zones do not operate. The heat setting display shows
To activate the function: touch
Touch of the timer to set the time. When the time comes to an end, the sound operates and 00 flashes.
To stop the sound: touch
i
The function has no effect on the operation of the cooking zones.
4.7 STOP+GO
This function sets all cooking zones that operate to the lowest heat setting.
When the function operates, you cannot change the heat setting.
The function does not stop the timer functions.
To activate the function: touch 11. comes on.
To deactivate the function: touch II. The previous heat setting comes on.
4.8 Lock
You can lock the control panel while cooking zones operate. It prevents an accidental change of the heat setting.
Set the heat setting first.
To activate the function: touch L comes on for 4 seconds. The Timer stays on.
To deactivate the function: touch The previous heat setting comes on.
5. HINTS AND TIPS

WARNING! Refer to Safety chapters.
5.1 Cookware
i
The bottom of the cookware must be as thick and flat as possible.
i
Cookware made of enamelled steel and with aluminium or copper bottoms can cause the colour change on the glassceramic surface.
i
When you deactivate the hob, you also deactivate this function.
4.9 The Child Safety Device
This function prevents an accidental operation of the hob.
To activate the function: activate the hob with ①. Do not set the heat setting. Touch for 4 seconds. comes on. Deactivate the hob with ①
To deactivate the function: activate the hob with ① Do not set the heat setting. Touch ② for 4 seconds. ③ comes on. Deactivate the hob with ④
To override the function for only one cooking time: activate the hob with ①. L comes on. Touch for 4 seconds. Set the heat setting in 10 seconds. You can operate the hob. When you deactivate the hob with ① the function operates again.
5.2 Examples of cooking applications
i
The data in the table is for guidance only.
| Heat setting Use to: Time | Hints(min) | ||
| ü-1 | Keep cooked food warm. as nec-essary | Put a lid on the cookware. | |
| 1 - 2. Hollandaise sauce, melt: but-ter, chocolate, gelatine. | 5 - 25 Mix from time to time. | ||
| 1 - 2. Solidify: fluffy omelettes, baked eggs. | 10 - 40 Cook with a lid on. | ||
| 2. - 3. Simmer rice and milkbased dishes, heating up ready-cooked meals. | 25 - 50 Add the minimum twice as much liquid as rice, mix milk dishes part procedure through. | ||
| 3. - 4. Steam vegetables, fish, meat. 20 - 45 Add some tablespoons of liq-uid. | |||
| 4. - 5. Steam potatoes. 20 - 60 Use max. ¼ l water for 750 g of potatoes. | |||
| 4. - 5. Cook larger quantities of food, stews and soups. | 60 - 150 Up to 3 l liquid plus ingredi-ents. | ||
| 5. - 7 Gentle fry: escalope, veal cor-don bleu, cutlets, rissoles, sausages, liver, roux, eggs, pancakes, doughnuts. | as nec-essary | Turn halfway through. | |
| 7 - 8 Heavy fry, hash browns, loin steaks, steaks. | 5 - 15 Turn halfway through. | ||
| 9 Boil water, cook pasta, sear meat (goulash, pot roast), deep-fry chips. | |||
6. CARE AND CLEANING

WARNING!
Refer to Safety chapters.
6.1 General information
- Clean the hob after each use.
Always use cookware with clean bottom. - Scratches or dark stains on the surface have no effect on how the hob operates.
- Use a special cleaner applicable for the surface of the hob.
- Use a special scraper for the glass.
6.2 Cleaning the hob
- Remove immediately: melted plastic, plastic foil, sugar and food with sugar. If not, the dirt can cause damage to the hob. Take care to avoid burns. Put the special scraper on the glass surface at an acute angle and move the blade on the surface.
- Remove when the hob is sufficiently cool: limescale rings, water rings, fat stains, shiny metallic discoloration. Clean the hob with a moist cloth and non-abrasive detergent. After cleaning, wipe the hob dry with a soft cloth.
- Remove shiny metallic discoloration: use a solution of water
with vinegar and clean the glass surface with a moist cloth.
7. TROUBLESHOOTING

WARNING!
Refer to Safety chapters.
7.1 What to do if...
| Problem Possible cause Remedy | ||
| You cannot activate or operate the hob. | The hob is not connected to an electrical supply or it is connected incorrectly. | Check if the hob is correctly connected to the electrical supply. Refer to the connection diagram. |
| The fuse is blown. Make sure that the fuse is | the cause of the malfunction. If the fuse is blown again and again, contact a qualified electrician. | |
| Activate the hob again and | set the heat setting in less than 10 seconds. | |
| You touched 2 or more sensors fields at the same time. | Touch only one sensor field. | |
| STOP+GO function operates. | Refer to "Daily use" chapter. | |
| There is water or fat stains on the control panel. | Clean the control panel. | |
| An acoustic signal sounds and the hob deactivates. An acoustic signal sounds when the hob is deactivated. | You put something on one or more sensor fields. | Remove the object from the sensor fields. |
| The hob deactivates. You put something on the sensor field. | Remove the object from the sensor field. | |
| Residual heat indicator does not come on. | The zone is not hot because it operated only for a short time. | If the zone operated sufficiently long to be hot, speak to an Authorised Service Centre. |
| Automatic Heat Up function does not operate. | The zone is hot. Let the zone become sufficiently cool. | |
| The highest heat setting is set. | The highest heat setting has the same power as the function. | |
| You decreased the heat setting to 0 | Start from 0 and only increase the heat setting. | |
| You cannot activate the outer ring. | Activate the inner ring first. | |
| There is a dark area on the multiple zone. | It is normal that there is a dark area on the multiple zone. | |
| The sensor fields become hot. | The cookware is too large or you put it too near to the controls. | Put large cookware on the rear zones if possible. |
| comes on. | Automatic Switch Off operates. | Deactivate the hob and activate it again. |
| comes on. | The Child Safety Device or the Lock function operates. | Refer to "Daily use" chapter. |
| and a number come on. | There is an error in the hob. | Disconnect the hob from the electrical supply for some time. Disconnect the fuse from the electrical system of the house. Connect it again. If comes on again, speak to an Authorised Service Centre. |
7.2 If you cannot find a solution...
If you cannot find a solution to the problem yourself, contact your dealer or an Authorised Service Centre. Give the data from the rating plate. Give also three digit letter code for the glass ceramic (it is in the corner of the glass
surface) and an error message that comes on. Make sure, you operated the hob correctly. If not the servicing by a service technician or dealer will not be free of charge, also during the warranty period. The instructions about the Service Centre and conditions of guarantee are in the guarantee booklet.
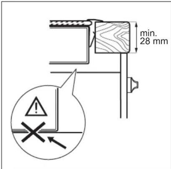
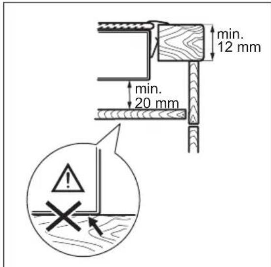
8. INSTALLATION

WARNING! Refer to Safety chapters.
8.1 Before the installation
Before you install the hob, write down the information bellow from the rating plate. The rating plate is on the bottom of the hob.
Serial number
8.2 Built-in hobs
Only use the built-in hobs after you assemble the hob into correct built-in units and work surfaces that align to the standards.
To replace the damaged mains cable use the following (or higher) mains cable type: H05V2V2-F T min 90^ Speak to your local Service Centre.
8.3 Connection cable
- The hob is supplied with a connection cable.
8.4 Assembly




8.5 Protection box

If you use a protection box (an additional accessory), the protective floor directly below the hob is not necessary. The protection box accessory may not be available in some countries. Please contact your local supplier.

You can not use the protection box if you install the hob above an oven.
9. TECHNICAL DATA
9.1 Rating plate
Model HK634060XB PNC 949 492 154 00
Typ 58 HAD 47 AO 220 - 240 V 50 - 60 Hz
Made in Romania
Ser.Nr. 7.0 kW
AEG

9.2 Cooking zones specification
| Cooking zone | Nominal Power (Max heat set-ting) [W] | Cooking zone diameter [mm] |
| Left front 750 / 2200 120 / 210 | ||
| Left rear 1200 145 | ||
| Right front 1200 145 | ||
| Right rear 1500 / 2400 170 / 265 | ||
For optimal cooking results use cookware not larger than the diameter of the cooking zone.
10. ENERGY EFFICIENCY
10.1 Product information according to EU 66/2014
Model identification HK634060XB
| Type of hob Built-In Hob | ||
| Number of cooking zones 4 | ||
| Heating technology Radiant Heater | ||
| Diameter of circular cook-ing zones (Ø) | Left front | 21.0 cm |
| Left rear | 14.5 cm | |
| Right front | 14.5 cm | |
| Lenght (L) and width (W) of non circular cooking zone | Right rear L 26.5 cm | W 17.0 cm |
| Energy consumption per cooking zone (EC electric cooking) | Left front | 191.4 Wh / kg |
| Left rear | 196.8 Wh / kg | |
| Right front | 196.8 Wh / kg | |
| Right rear | 182.6 Wh / kg | |
| Energy consumption of the hob (EC electric hob) | 191.9 Wh / kg | |
EN 60350-2 - Household electric cooking appliances - Part 2: Hobs - Methods for measuring performance
10.2 Energy saving
You can save energy during everyday cooking if you follow below hints.
- When you heat up water, use only the amount you need.
-
If it is possible, always put the lids on the cookware.
-
Before you activate the cooking zone, put the cookware on it.
- The cookware bottom should have the same diameter as the cooking zone.
- Put the smaller cookware on the smaller cooking zones.
- Put the cookware directly in the centre of the cooking zone.
- Use the residual heat to keep the food warm or to melt it.
11. ENVIRONMENTAL CONCERNS
Recycle the materials with the symbol. Put the packaging in applicable containers to recycle it. Help protect the environment and human health and to recycle waste of electrical and electronic appliances. Do not dispose appliances
marked with the symbol with the household waste. Return the product to your local recycling facility or contact your municipal office.
TABLE DES MATIÈRES
- INFORMATIONS DE SECURITE 34
- CONSIGNES DE SECURITE 36
3.DESCRIPTION DE L'APPAREIL 38 - UTILISATION QUOTIDIENNE 40
- CONSEILS 42
- ENTRETIEN ET NETTOYAGE 43
- EN CAS D'ANOMALIE DE FONCTIONNEMENT 44
- INSTALLATION 46
9.CARACTERISTIQUES TECHNIQUES 47 - RENDEMENT ÉNERGÉTIQUE 48
POUR DES RÉSULTATS PARFAITS
Sous reserve de modifications.
1. INFORMATIONS DE SECURITE
www.aeg.com/webselfservice
EasyManual