Galaxy - Toys EXIT - Free user manual and instructions
Find the device manual for free Galaxy EXIT in PDF.
Frequently Asked Questions - Galaxy EXIT
User questions about Galaxy EXIT
0 question about this device. Answer the ones you know or ask your own.
Ask a new question about this device
Download the instructions for your Toys in PDF format for free! Find your manual Galaxy - EXIT and take your electronic device back in hand. On this page are published all the documents necessary for the use of your device. Galaxy by EXIT.
USER MANUAL Galaxy EXIT
Inqround Basketball System
Owners Manual





C E

WARNING
CHOKING HAZARDS small parts
Adult assembly required retain for future reference

English4

Deutsch16
Nederlands28
Français40



52
1.0 Introduction
Congratulations on choosing a EXIT Galaxy basketball system!
Have fun, be active and play outdoors.....
That's what keeps driving us to develop innovative, quality toys for cool kids.
We do everything possible to develop safe products for children. As our products are classed as toys, we comply with the toughest consumer safety regulations. Before launching our products onto the market, we have independent tests carried out for certification. We also continuously test our production runs and periodically have independent tests performed again as a further check. Only products which live up to the highest EXIT Toys standard are marked with and recognized by the EXIT-brand.
"We want to thank you for your custom and your confidence in this product. We're sure your kids will have as much fun as we did during development. Being open-minded, we really appreciate all comments and ideas which will help us improve our products or develop new ones. You are invited to send your ideas to us at info@exittoys.com"
Please visit www.exittoys.com and discover more cool new products.
The EXIT Toys team

SAFETY INSTRUCTIONS

FAILURE TO FOLLOW THESE SAFETY INSTRUCTIONS MAY RESULT IN SERIOUS INJURY OR PROPERTY DAMAGE AND WILL VOID WARRANTY.
Owner must ensure that all players know and follow these rules for safe operation of the system.
To ensure safety, do not attempt to assemble this system without following the instructions carefully. check entire box and inside all packing material for parts and/or additional instruction material. Before beginning assembly, read the instructions and identify parts using the hardware identifier and parts list in this document. proper and complete assembly, use, and supervision are essential for proper operation and to reduce the risk of accident or injury. A high probability of serious injury exists if this system is not installed, maintained, and operated properly.
- If using a ladder during assembly, use extreme caution.
- Two (2) capable adults are recommended for this operation.
- Seat the pole sections properly (if applicable). Failure to do so could allow the pole sections to separate during play and/or transport of the system.
- Climate, corrosion, or misuse could result in system failure.
- Minimum operational height is 6^ 6^ (1.98 m) to the bottom of backboard.
- This equipment is intended for home recreational use only and NoT excessive competitive play.
- Read and understand the warning label affixed to pole.
- The life of your basketball pole depends on many conditions. The climate, placement of the pole, location of the pole, exposure to corrosives such as pesticides, herbicides, or salts are all important.
- If technical assistance is required, contact customer Service.
- Adult supervision is recommended when adjusting height.
DO NOT HANG ON RIM

Most injuries are caused by misuse and/or not following instructions. Use caution when using this system.
TOOLS REQUIRED

- Two (2) Capable Adults

- Step Ladder 8ft. (2.4 m)

- Tape Measure

- Sawhorse or Support Table

Large and Small Adjustable Wrenches

- Hammer

-
2 or #3 Phillips Screwdriver

- Safety Glasses

Concrete

General instructions for use
- Read the instructions before use and keep them throughout the lifetime of the product.
- Warning! Not suitable for children under 3 years due to small parts. Choking hazard.
Please note
- Regularly check the important parts of the product (backboard, rim, post, base, fastenings, etc) to make sure it is in a good state of repair. Without these regular checks, the product might topple over or present other risks to the user.
- We advise you to mount your backboard on the ground.
- This piece of equipment must not be misused.
- Not adhering to the safety instructions below may lead to seriously physical injury.
- For domestic use only.
- Product designed exclusively for novice basketball use.
When assembling
- It should be fitted by two adults only.
- Adhere to the assembly instructions (diagrams and text supplied)
- Position the product on a flat, stable surface at least 2 metres away from any structure of obstacle like a house, garage door, electrical wiring or cables, etc.
- Ground fastenings are not supplied.
- Before mounting the product, check with a professional builder that the screws are suitable for the support you intend to mount it on.
- When you adjust the height or move the system, keep you hands and fingers away from moving parts.
- Make sure that you fit the sections of the post together correctly, or they may come apart during play or when moving the system.
Storage
- If the product is stored outside, it must be placed far away from personal belongings and hanging cables and/or in a place protected from wind to prevent risks of toppling over.
Instructions for use in play
- Read the instructions below before using this product. Not adhering to these safety instructions may lead to serious physical injury and/or material damage.
Children using this product should be under the constant supervision of an adult. - Outdoor or indoor use (allow sufficient ceiling height to be able to play at a maximum height of 3.05m ).
- When adjusting the height, keep you hands and fingers away from moving parts.
- It is essential that you check the state of repair of the system before every use. Never play using faulty equipment.
- Check the system (ballast, loose screws, excessive wear and signs of corrosion) and that parts which fit together are firmly fastened (backboard, rim, post and base, net, stability of the whole system) before each use. If necessary, repair before use.
- DO NOT HANG ON THE RIM, the net or any other part of the system, including the backboard and the posts.
- Do not climb, jump, slide or play on the post or frame.
-
Do not shake the frame.
-
Risk of strangulation with the net.
- During play, especially when dunking, keep your face away from the backboard, rim and net. You risk serious injury if your theeth or face come into contact with the backboard, rim or net.
- Do not allow a child to move or adjust the system alone. It must be adjusted or moved by an adult only.
- Before play, remove your jewellery (rings, watches, necklaces, etc). These objects may get caught in the net.
- The ground surface under the base must be smooth, with no gravel or other sharp objects.
- Keep organic substances away from the base of the post. Grass and rubbish etc. may cause corrosion and/or damage the system.
- Check the state of repair of the system (signs of corrosion like rust, holes, flaking) and repaint with outdoor enamel paint. If rust has worn through the steel at any point, replace the post immediately.
- Do not use the system when there are high winds and/or storms; the system may topple over.
- When you move the system, be careful to prevent the mechanism from becoming unbalanced.
Safety Instructions:
NOT COMPLYING WITH THESE SAFETY INSTRUCTIONS MAY CAUSE SERIOUS PHYSICAL INJURY, MATERIAL DAMAGE AND/OR THE CANCELLATION OF THE WARRANTY.
- The owner must ensure that all players know and adhere to the instructions for using and assembling the system.
- Correctly and full assembly, use and supervision are essential for the system to work properly and to reduce the risks of accident or injury. Serious injuries are very likely if the system is not fitted, maintained and used correctly.
- If you use a ladder for assembly (solution not recommended for assembling this system), make sure you are extremely careful.
- Weather conditions, corrosion or misuse may damage the system.
- All EXIT Galaxy basketball systems, including those used for display, must be assembled, as per the instructions. If you do not adhere to these instructions you risk SERIOUS INJURIES.
- Do not design yourself and use a ballast system other than the one recommended. Most injuries are caused by misuse and/or not adhering to the instructions. Be careful when you use this system.
Care and Warranty
To ensure that your product lasts, we advise you to:
- Adhere to the usage and assembly procedures.
- Check the system before each use, loose screws, excessive wear and signs of corrosion) and if necessary make repairs.
- Regularly inspect and tighten screws and small parts to prevent slack and risks of injury.
- Do not use detergent products to care for the system. Wash with clear or soapy water.
Parts list #1

use the accompanying parts list drawings as from page 52
| Part.Nr. | Description # | |
| 1 Top Pole | 1 | |
| 2 Middle Pole | 1 | |
| 3 Bottom Pole | 1 | |
| 4 Adjustment Slider 1 | ||
| 5 Adjustment Knob 1 | ||
| 6 Bottom Arm 2 | ||
| 7 Upper Arm 2 | ||
| 8 Spring Arm 2 | ||
| 9 Upper Arm Connector 1 | ||
| 10 Backboard Bracket 1 | ||
| 11 Arm Bracket 4 | ||
| 12 Spring Pieces 2 | ||
| 13 Adjustment Arm | 1 | |
| 14 Rear Handle Piece | 1 | |
| 15 M10 Plastic Washer | 6 | |
| 16 M12 Washer | 12 | |
| 17 Small Plastic Spacer | 2 | |
| 18 Big Plastic Spacer | 4 | |
| 19 Backboard | 1 | |
| 20 Rim | 1 | |
| 48 Dunk Rim | ||
| 21 Net | 1 | |
Enclosed are the current specifications and product features available at time of printing, however, changes may be made in equipment, availability, specifications and features without notice.
Parts list #2

use the accompanying parts list drawings as from page 52
| Part.Nr. | Description # | |
| A22 M12X | 225 Bolt 6 | |
| A17 M10X | 135 Bolt 3 | |
| C4 M12 Locknut 6 | ||
| C3 M10 Locknut 12 | ||
| A11 M10X | 60 Bolt 2 | |
| C2 M8 Locknut 8 | ||
| C1 M6 Locknut 2 | ||
| A4 M8X40 | Bolt 4 | |
| A3 M6X11 | 0 Bolt 1 | |
| A14 M10X | 88 Bolt 1 | |
| A2 M6X95 | Bolt 1 | |
| D2 M8 Washer 4 | ||
| A8 M10X1 | 02 Bolt 6 | |
| A5 M8X50 | Bolt 4 | |
| D3 M10 Washer 6 | ||
| G1 M8 Spring Washer 6 | ||
| F2 M10 Arc Washer 6 | ||
| B1 M8X55 | Button Bolt 2 | |
| F1 M8 Arc | Washer | 2 |
| Hex Key | 1 | |
Enclosed are the current specifications and product features available at time of printing, however, changes may be made in equipment, availability, specifications and features without notice.
Parts list #3

Use the accompanying parts list as from page 52
| Part.Nr. Description | # | |
| 35 Anchor 1 | ||
| 36 Anchor connector | 1 |
| Part.Nr. Description | # | |
| A8 M10X102 Bolt 3 | ||
| A24 M10X90 Bolt 1 | ||
| A18 M12X40 Bolt 4 | ||
| C3 M10 Locknut 4 | ||
| D4 M12 Big Washer 4 | ||
| G2 M12 Spring Washer 4 | ||
| F2 M10 Arc Washer 3 |
Enclosed are the current specifications and product features available at time of printing, however, changes may be made in equipment, availability, specifications and features without notice.
1
Use the accompanying assembly drawings starting on page 56

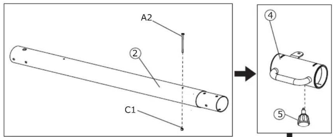
- Insert the M6X95mm bolts (A2) and M6 locknuts (C1) into the middle pole (2).
- Assemble the adjustment knob (5).
- Slide the handle slider onto the middle pole (2).
- Assemble another M6X110mm bolt (A3) and two small plastic spacers (17) and M6 locknut (C1).
2
- Attach the top pole (1) to the middle pole (2) with three M10X102mm bolts (A8), three M10 arc washers (F2) and three M10 locknut (C3).
- Assembled bottom pole (3) using three M10X102mm bolt (A8) and three M10 arc washers (F2) and three M10 locknut (C3) into the middle pole (2).
Do not tighten the bolt yet.
3
Attach the arm bracket (11) using two M8X40mm bolts (A4) and two M8 locknuts (C2) into the backboard (19). Repeat this step on the other side of the weight system.
4
Attach the backboard bracket (10) to the Ring (20) using four M8X50mm bolts (A5), four M8 spring washers (G1), four M8 washers (D2) and four M8 locknuts (C2), and attach this assembly to the backboard (19).
5
- Attach the upper arm (7) to the arm bracket (11) using an M10X60mm bolt (A11), two M10 plastic washers (15), and M10 locknut (C3). Repeat this step on the other side of the weight system.
- Attach the upper arm connector (9) to upper arm (7) using an M12X225mm bolt (A22), two M12 washers (16) and an M12 locknut (C4).
Do not tighten the bolt yet.
6
Attach SPRING arm (8) to backboard bracket (10) using an M10X135mm bolt (A17), two M10 washers (D3) and an M10 locknut (C3).
Do not tighten the bolt yet.
7
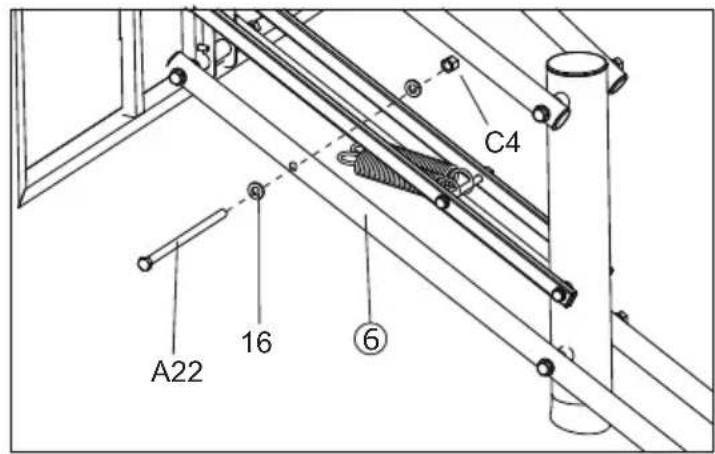
Attach the bottom arm (6) to backboard bracket (10) using an M12X225mm bolt (A22), two M12 washers (16), and an M12 locknut (C4).
Do not tighten the bolt yet.
8
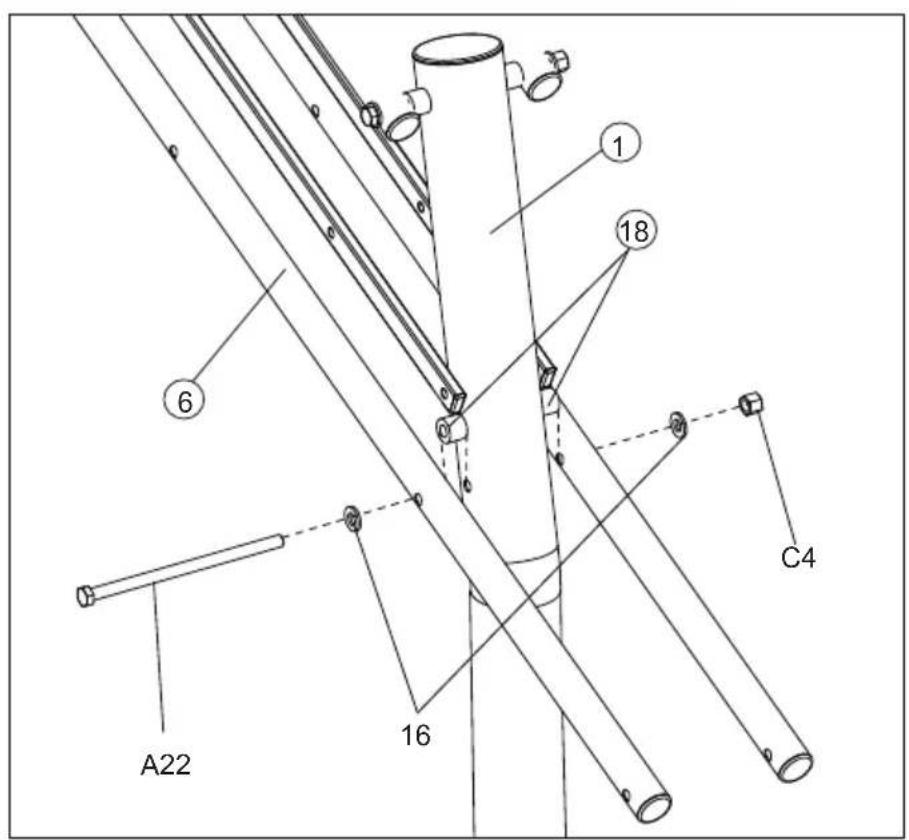
Install the upper arm (7) to the top pole (1) using an M12X225mm bolt (A22), two M12 washers (16), two big plastic spacers (18) and an M12 locknut (C4).
Do not tighten the bolt yet.
9
Install the bottom arm (6) to top pole (1) using an M12X225mm bolt (A22), two M12 washers (16), two big plastic spacers (18) and an M12 locknut (C4).
Do not tighten the bolt yet.
10
Install the spring arm (8) to top pole (1) using an M10X135mm bolt (A17), two M10 washers (D3), two M10 plastic washers (15) and an M10 locknut (C3).
Do not tighten the bolt yet.
11
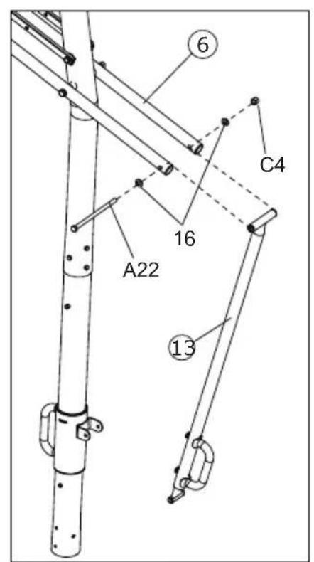
-
Assemble the rear handle (14). Attach the rear handle (14) to the adjustment arm (13) using two M8X55mm button bolts (B1), two M8 spring washers (G1), and two arc washers (F1).
-
Attach the adjustment arm (13) to the bottom arm (6) using an M12X225mm bolt (A22), two M12 washers (16), and an M12 locknut (C4). Do not tighten the bolt yet.
-
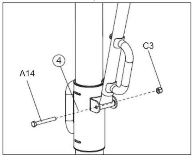
Then, attach the adjustment arm (13) to the adjustment slider (4) using an M10X88mm bolt (A14) and an M10 locknut (C3). Do not tighten the bolt yet.
12
- Assemble the spring (12). Attach the closed ends of the two springs (12) to the spring arm (8) using an M10X135mm bolt (A17), two M10 washers (D3), and an M10 locknut (C3).
- Then, attach the spring (12) to the bottom arm (6) using an M12X225mm bolt (A22), two M12 washers (16), and an M12 locknut (C4).
- Use a wrench to hang the spring (12) on the M12X225mm bolt (A22).
Note: Tighten all of the bolts in the steps.
12 Do not over tighten the locknuts on the pivot parts.
13
Install the anchor connector (36) to bottom pole (3) using three M10X102mm Bolts (A8), three M10 washers (F2), and three M10 locknuts (C3).
14
First, dig out a pit not smaller than 320350500mm in the earth, put the anchor into it and then pour it into concrete.
15
-
Attach the anchor (35) to the anchor connector (36) using an M10X90mm bolt (A24) and an M10 locknut (C3).
-
Then, attach the anchor (35) to the anchor connector (36) using four M12X40mm bolts (A18), four M12 spring washers (G2) and four M12 big washers (D4).
16
If you want to adjust the rim height, follow the steps below:
- Turn the knob to free the adjustment knob (5). See picture (1);
- Then grasp the slider handle and rear handle (14) to pull the frame up or down to a hole preferred by you and click the knob back. See picture (3);
- Tighten the adjustment knob (5). See picture (2).

Congratulations! Your EXIT Galaxy Basketball hoop is now fully assembled (put together).
Warranty
-
After the date of the purchase invoice, the owner of the EXIT Toys Galaxy System has a:
-
2-year warranty on the steel frame and ground anchor.
- 1 year warranty on the backboard and rim.
Parts subject to wear and tear (such as the net): no warranty.
- The warranty applies only to the material and construction defects with respect to this product or its components.
-
The warranty becomes defunct if:
-
This product is used incorrectly and/or carelessly and is used in such a way that it does not comply with its purpose.
- This product is not assembled and maintained according to the instruction booklet.
- Technical repairs to this product are not carried out professionally.
- Parts, which are mounted afterwards, do not comply with the technical specifications of the product concerned or are mounted incorrectly.
- Defects are a result of climatic influences such as corrosion, UV rays or normal disintegration.
-
The product is rented out or was made available to various unspecified persons in any other manner.
-
EXIT Toys will repair or replace according to its choice all material and construction defects that have been ascertained by EXIT Toys during the warranty period.
- The owner of the EXIT Toys Galaxy System is only entitled to the warranty by presenting the product for inspection at a EXIT Toys dealer. It should be handed to the EXIT Toys dealer, accompanied by the original purchase invoice.
- In case of material and construction defects that have been ascertained by EXIT Toys, the product or its components will be repaired or replaced - according to its choice - free of charge during the warranty period mentioned in Article 1.
- If the claim for warranty is not justifiable, all the costs are at the expense of the owner.
- This warranty cannot be transferred to third parties.
- The EXIT Toys Galaxy System is designed for personal use. It is not permitted to rent out or use the EXIT Toys Galaxy System in non-residential areas like schools, clubs or day-care centres. The guarantee and any other liabilities shall expire if the EXIT Toys Galaxy System is rented out or used in public areas.
- Warranties shall cover damage or failure that occurs during the course of NORMAL or INTENDED USE of the product. Normal or intended use shall be described as activity that is necessary for the participation in the sport for which the equipment is designed. NOT COVERED is damage caused by deliberate hanging, multiple player hanging, vandalism, non-basketball activities or any other activity that could be regarded as abusive.
Notes / Notizen / Notities / Notes
1.0 Einführung
Glickwunsch zur Wahl des EXIT Toys Galaxy Basketball Systems!
- Adjustment Slider 1pc

- Adjustment Knob 1pc

- Bottom arm 2pcs

-
Upper arm 2pcs
-
Spring arm 2pcs

- Adjustment arm 1pc

- Upper arm connector10. Backboard Bracket 1pc 1pc

- Arm Bracket 4pcs

- Spring 2pcs

- Rear handle 1pc

15 M10 Plastic Washer 6 pcs

16 M12 Washer 12 pcs

F2 M10 Arc Washer 6 pcs



17 Small Plastic Spacer 2 pcs

A22 M12X225 Bolt 6 pcs



A17 M10X135 Bolt 3 pcs
C4 M12 Locknut 6 pcs
C3 M10 Locknut 12 pcs

A11 M10X60 Bolt 2 pcs

C2 M8 Locknut 8 pcs

C1 M6 Locknut 2 pcs

A4 M8X40 Bolt 4 pcs

A3 M6X110 Bolt 1 pc

A14 M10X88 Bolt 1 pc

A2 M6X95 Bolt 1 pc

D2 M8 Washer 4 pcs

A8 M10X102 Bolt 6 pcs



18 Big Plastic Spacer 4 pcs
D3 M10 Washer 6 pcs

A5 M8X50 Bolt 4 pcs

G1 M8 Spring Washer 6 pcs

F1 M8 Arc Washer 2 pcs

B1 M8X55 Button Bolt 2 pcs

1 pc




19 Blackboard 1pc

48 Dunk-Rim 1pc

21 Net 1pc

35. Anchor 1pc

36. Anchor connector 1pc


A8 M10X102 Bolt 3 pcs

G2 M12 Spring Washer 4 pcs

A24 M10X90 Bolt 1 pc

D4 M12 Big Washer 4 pcs

A18 M12X40 Bolt 4 pcs

C3 M10 Locknut 4 pcs

F2 M10 Arc Washer 3 pcs

1



2



EN If the frame parts aren't installed in the right place, please use the hammer to hit it.
DE Verwenden Sieitte den Hammer, wenn die Rahmenteile nicht an der richtigen Stelle installiert sind.
NL Wonneer de framedelen nicht op de juiste positie zitten kunt u de hamer gebruiken om de delen aan te tikken.
FR Si les parties de cadre ne sont pas installés au bon endroit, se il vous plaît utiliser le marteau pour frapper.

3

4







5

6
7


8
9

10


11





12







13

14
WARNING!
Before digging, contact utility company to locate underground power cables, gas, and water lines.

EN: The longer the better the distance.
Congratulations! Your EXIT Galaxy Basketball hoop is now fully assembled (put together).
DE:
Inground Basketball System
Owners Manual
Contact:
Dutch Toys Group
Fabriekstraat 17^e
P.O. Box 369, 7000 AJ Doetinchem
info@exittoys.com
www.exittoys.com
EXIT is a registered trade mark of Dutch Toys Group
EasyManual