Smoke Vertical Propane Smoker - Barbecue Broil King - Free user manual and instructions
Find the device manual for free Smoke Vertical Propane Smoker Broil King in PDF.
User questions about Smoke Vertical Propane Smoker Broil King
0 question about this device. Answer the ones you know or ask your own.
Ask a new question about this device
Download the instructions for your Barbecue in PDF format for free! Find your manual Smoke Vertical Propane Smoker - Broil King and take your electronic device back in hand. On this page are published all the documents necessary for the use of your device. Smoke Vertical Propane Smoker by Broil King.
USER MANUAL Smoke Vertical Propane Smoker Broil King
TROUBLE SHOOTING....11
WARRANTY....12
MANUEL UTILISATEUR 13
MANUAL DEL USUARIO 25

natural_image
Line drawing of a portable gas stove with control panel and wheels (no text or symbols)PLEASE RECORD YOUR MODEL NUMBER, SERIAL NUMBER AND DATE OF PURCHASE HERE.
This information can be found on the black and silver OMC caution sticker on the back or side of your gas grill.
| Model Number | - |
| Serial Number | - |
| Date of Purchase | / | / | |
| dd | mm | yyyy |
This instruction manual contains important information necessary for the proper assembly and safe use of the appliance. Read and follow all warnings and instructions before assembling and using the appliance. Follow all warnings and instructions when using the appliance.
Keep this manual for future reference.
Your new Broil King gas smoker is a safe, convenient appliance when assembled and used properly. As with all gas-fired products, however, certain safeguards must be observed. Failure to follow these safeguards may result in serious injury or damage. If you have questions concerning assembly or operation, consult your dealer, gas appliance specialist, gas company or our direct customer service line at 1-800-265-2150. / info@omcbbq.com

DANGER
IF YOU SMELL GAS:
- SHUT OFF GAS TO THE APPLIANCE.
- EXTINGUISH ANY OPEN FLAME.
• OPEN SMOKER DOORS. - IF ODOR CONTINUES, KEEP AWAY FROM THE APPLIANCE AND IMMEDIATELY CALL YOUR FIRE DEPARTMENT.
FAILURE TO FOLLOW THESE INSTRUCTIONS COULD RESULT IN FIRE OR EXPLOSION WHICH COULD CAUSE PROPERTY DAMAGE, PERSONAL INJURY OR DEATH.

DANGER
• NEVER OPERATE THIS APPLIANCE UNATTENDED.
- NEVER OPERATE THIS APPLIANCE WITHIN 10FT (3M) OF ANY STRUCTURE, COMBUSTIBLE MATERIAL OR OTHER GAS CYLINDER.
- NEVER OPERATE THIS APPLIANCE WITH IN 25FT (7.5M) OF ANY FLAMMABLE LIQUID.
- IF FIRE SHOULD OCCUR, KEEP AWAY FROM THE APPLIANCE AND IMMEDIATELY CALL YOUR FIRE DEPARTMENT. DO NOT ATTEMPT TO EXTINGUISH AN OIL OR GREASE FIRE WITH WATER.
FAILURE TO FOLLOW THESE INSTRUCTIONS COULD RESULT IN FIRE, EXPLOSION OR BURN HAZARD, WHICH COULD CAUSE PROPERTY DAMAGE, PERSONAL INJURY OR DEATH
CAUTION
• FOR OUTDOOR USE ONLY.
- IF STORED INDOORS, DETACH AND LEAVE LP CYLINDER OUTDOORS.
- THIS APPLIANCE MUST NOT BE OPERATED UNATTENDED.
- SPECIAL CARE MUST BE TAKEN TO KEEP SMALL CHILDREN AND PETS WAY FROM HEATED SURFACES.
• DO NOT MOVE THE APPLIANCE WHEN IN USE.
Use caution when handling or transporting this product. Metal edges can be hazardous. Use appropriate gloves when lifting or handling. Before lifting, remove side shelves, grids and grates.
ELECTRICAL CAUTION
- If any accessory is used on this appliance that requires an external electrical power source, the accessory when installed must be electrically grounded in accordance with local codes. In the absence of local codes, the following standards apply:
(U.S.A.) ANSI/NFPA No. 70-Latest Edition and
(Canada) CSA C22.1 Canadian Electrical Code
- Do not cut or remove the grounding prong from the plug.
- Keep the electrical supply cord and fuel supply hose away from any heated surface.
PROPOSITION 65 WARNING
Handling the brass material on this product exposes you to lead, a chemical known to the state of California to cause cancer, birth defects or other reproductive harm. WASH YOUR HANDS AFTER HANDLING THIS PRODUCT.
WARNING
Fuels used in gas or oil fired appliances, and the products of combustion of such fuels, contain chemicals known to the State of California to cause cancer, birth defects or other reproductive harm. "This warning is issued pursuant to California Health and Safety Code Sec. 25249.6
- In the U.S.A., this appliance must be installed in accordance with the local code and the relevant national code:
ANSI Z223.1/NFPA 54, National Fuel Gas Code ANSI/NFPA 58, Storage and Handling of Liquefied Petroleum Gases
- In Canada, this appliance must be installed in accordance with the local code and the relevant CSA standards:
CSA-B149.1 Natural Gas and Propane installation Code CSA-B149.2 Propane Storage and Handling
- The appliance must be located away from combustible surfaces by at least 3m / 10feet from each side, and 3m / 10feet from the rear.

text_image
3 meter 10 feet 3 meter 10 feet- Do not operate this appliance under any overhead roof construction or foliage.
- This appliance is for OUTDOOR USE ONLY, DO NOT operate in garage, shed, balcony or other such enclosed areas.
- DO NOT restrict the flow of air to the appliance.
- Keep the area surrounding the appliance free of combustible materials, gasoline, and all flammable liquids and vapors.
- This appliance is not intended to be installed in, or on, recreational vehicles and/or boats.
- Keep the ventilation opening(s) of the cylinder enclosure free and clear from debris.
- Keep the fuel supply hose away from any heated surface(s)
- Not intended for commercial use.
The instructions below apply to LP models only. LP gas cylinders must be installed according to assembly instructions using retainer provided. Do not store a spare cylinder under or near this appliance. All cylinders used must be compatible with supplied means of cylinder retention.

text_image
20 in 51 cmQCC ^® -1 QUICK CLOSING COUPLING
- All models are designed to be used with an LP gas cylinder equipped with the QCC ^® -1 Quick Closing Coupling system.
- The QCC ^® -1 system incorporates new safety features required by the American National Standards Institute (ANSI) and the Canadian Standards Steering Committee.
• Gas will not flow until a positive connection has been made. - A thermal element will shut off the flow of gas between 240° and 300° F.
- When activated, a Flow Limiting Device will limit the flow of gas to 10 cubic feet per hour.

text_image
Nipple with Flow Limiting Device Heat Sensitive Hand Wheel Regulator Shut-Off Valve Cylinder Check Valve- The LP Gas Cylinder is not included with the Gas Grill. Be sure to purchase one with the QCC ^® valve. This valve is recognized by the external threads on the inlet port of the valve. QCC ^® equipped cylinders are available from your Gas Grill Dealer.
NOTE: Any attempt to connect the regulator, by use of adapters or any other means, to any other valve could result in damage, fire or injury and may negate the important safety features designed into the QCC ^® -1 system.
SPECIFICATION:
- All LP gas cylinders used with this appliance must be constructed and marked in accordance with the Specifications for LP Gas Cylinders of the U.S. Department of Transportation (D.O.T.) or the National Standard of Canada, CAN/CSA-B339, Cylinders, Spheres and Tubes for Transportation of Dangerous Goods; and Commission, as applicable
- The LP gas cylinder used for this appliance must not have a capacity larger than 20 lb.(9 kg). Approximately 18" (46cm) high, 12" (31cm) diameter
- All LP gas cylinders used with this appliance should be inspected at every filling and re qualified by a licensed service outlet at the expiry date (10 years), in accordance with the DOT (USA) and CTC (Canada) codes for LP Gas Cylinders.
- All LP gas cylinders used with this appliance must be provided with a shutoff valve terminating in a cylinder valve outlet No. 510, specified in the Standard for Compressed Gas Cylinder Valve Outlet and Inlet Connection (USA) ANSI/CGA-V-1-1977 (Canada) CSA B96.
- The cylinder supply system must be arranged for vapor withdrawal.
- The cylinder must include a collar to protect the cylinder valve.
- The cylinder must be installed as per assembly instructions.
- Never fill the cylinder beyond 80% full. A fire causing death or serious injury may occur.
- The cylinder valve must include a safety relief device having direct communication with the vapour space of the cylinder.
HANDLING:
- Government regulations prohibit shipping full LP gas cylinders. You must take your new cylinder to a LP gas dealer for filling.
- A filled LP gas cylinder is under very high pressure. Always handle carefully and transport in the upright position. Protect the valve from accidental damage.
- Do not tip the LP gas cylinder while connecting it to the regulator. Fasten the cylinder securely during transport, use and storage.
- If the cylinder is tipped after it is connected to the regulator, shut off the gas, disconnect the regulator and have it checked before using again.
STORAGE:
- Store the LP gas cylinder outdoors in a well ventilated place.
- Do not store the LP gas cylinder in direct sunlight, near a source of heat or combustion.
- If you intend to store the grill indoors, disconnect and remove the LP gas cylinder first. Disconnected cylinders must have a dust cap installed and must not be stored in a building, garage or any other enclosed area.
- Keep out of the reach of children.
- When the LP gas cylinder is connected to the gas grill, the gas grill and LP gas cylinder must be stored outside in a well ventilated place.
OPERATION:
- Never connect your gas grill to an LP gas cylinder without the regulator provided, and NEVER TO AN UNREGULATED LP GAS SUPPLY. The gas regulator supplied with the appliance must be used.
- Always leak test the LP gas cylinder to regulator connection when connecting the LP gas cylinder to the appliance. See "Leak Testing".
- Do not operate appliance if the smell of LP gas is present. Extinguish all flame and determine source of LP gas before proceeding. Do not ignite the appliance until the LP gas leak has been found and sealed.
- Always shut off LP gas cylinder valve when the appliance is not in use.
OVERFILL PREVENTION DEVICE
- The standard for outdoor gas appliances, ANSI Z21.58/CAN/CGA-1.6, requires that appliances are to be used with cylinders equipped with an Overfill Prevention Device (OPD).
- The OPD is designed to reduce the potential for the overfilling of propane cylinders, thus reducing the possibility of relief valve discharges of raw propane. The OPD causes a slower purge/fill operation. Some consumers have been advised by filling stations that these cylinders are "defective". This is not a defect. Some propane filling stations may not be aware of this device and its effect on the purge/fill operation.
- New OPDs coming onto the market have technology that allows for much greater BTU outputs which will decrease the amount of time it takes to purge a cylinder.
IDENTIFICATION
To identify these cylinders, the OPD handwheel has been standardized to the shape shown.

text_image
NEW OPD HANDWHEEL OPEN CLOSE LP-GAS OPD QCC1® FILLING STOPS AT 80% FULL OPD FLOAT- All models are equipped with a hose and regulator with a QCC ^® -1 Quick Closing Coupling.
- The QCC ^® coupling contains a magnetic Flow Limiting Device which will limit the flow of gas should there be a leak between the regulator and the appliance valve. This device will activate if the cylinder valve is opened while the appliance valves are open. Be sure the appliance valves are off before the cylinder valve is opened to prevent accidental activation.
- The QCC ^® coupling incorporates a heat sensitive hand wheel that will cause the back check module in the QCC ^® cylinder valve to close when exposed to temperatures between 240° and 300°F. Should this occur, do not attempt to reconnect the hand wheel. Remove hose/regulator assembly and replace with a new one.
- The pressure regulator is set at 11 inches WC (water column) and is for use with LP gas only. The hose and hose couplings comply with CGA Standard CAN 1.83. No modifications or substitutions should be attempted.
- Protect the hose from dripping grease and do not allow the hose to touch any hot surface, including the base casting of the barbecue.
- Inspect the seal in the QCC ^® cylinder valve when replacing the LP gas cylinder or once per year whichever is more frequent. Replace the seal if there is any indication of cracks, creases, or abrasion.
- Inspect the hose before each use of the barbecue. If the hose is cracked, cut, abraded or damaged in any way, the appliance must not be operated.
- For repair or replacement of the hose/regulator assembly, contact customer service at 1-800-265-2150 or info@omcbbq.com
CONNECTION
- Be sure cylinder valve and appliance valves are "off".
- Place full LP gas cylinder in LP tank well and secure base as per assembly instructions.
- Center the nipple in the cylinder valve and hold in place. Using other hand, turn the hand wheel clockwise until there is a positive stop. Do not use tools. Hand tighten only. When making the connection, hold the regulator in a straight line with the cylinder valve, so as not to cross thread the connection.
- Leak test connections. See "Leak Testing".
- Refer to lighting instructions. To avoid activating the Flow Limiting Device when lighting, open cylinder valve slowly with the appliance valves off. If the Flow Limiting Device is accidentally activated, turn off cylinder valve and appliance valves, wait 10 seconds to allow the device to reset, open cylinder valve slowly, then open the appliance valve.
DISCONNECTION
Always close LP cylinder valve and remove coupling nut before moving cylinder from specified operation position.
LEAK TESTING VENTURI TUBES
LEAK TESTING
All factory-made connections have been rigorously tested for gas leaks. However, shipping and handling may have loosened a gas fitting.
AS A SAFETY PRECAUTION:
• Test all fittings for leaks before using your gas smoker.
- Test the cylinder valve for leaks each time the cylinder is filled.
- Test for leaks every time you connect a gas fitting.
- Do not smoke at any time while testing.
• Never test for leaks with a lit match or open flame.
• Test for leaks outdoors.
TO TEST FOR LEAKS:
- Extinguish any open flame or cigarettes in the area.
- Be sure that cylinder valve and gas valves are "OFF."
- Connect LP gas cylinder. See "Hose and Regulator."
- Prepare a soap solution of one part water, one part liquid detergent.
- With a full gas cylinder, open cylinder slowly.
- Brush the soap solution on each connection.

natural_image
Technical line drawing of a mechanical assembly with directional arrows and component details (no text or symbols)- A leak is identified by a flow of bubbles from the area of the leak.
- If a leak is detected, close the gas cylinder "shut-off" valve, tighten the connection and retest.
- If the leak persists, contact your gas smoker dealer for assistance. Do not attempt to operate appliance if a leak is present.
VENTURI TUBES
Always keep venturi tubes clean. Blockages in the venture tubes caused by spiders, insects and nests can cause a flashback fire. In fact, although the smoker may still light, the backed up gas can ignite and cause a fire around the venture tubes at the control panel.

text_image
1. VENTURI TUBE 2. SPIDERWEB 3. BURNER 4. VENTURI CLEANING BRUSHIf a flashback fire occurs, turn off gas at the source immediately Inspect and clean the venturi tubes (main burner, side burner, rear burner) if any of the following symptoms occur:
- You smell gas.
- Your smoker does not reach temperature.
- Your gas smoker heats unevenly.
- The burners make popping noises.
INSPECTING & CLEANING VENTURI TUBES
- Turn off gas by closing the propane cylinder valve
- When the smoker is cool, remove the burner fasteners. Proceed to lift the burner from the burner housing.
- Clean the venturi tubes with a pipe cleaner or venture cleaning tool (Accessory #77310).
- Lower the burner into position in the burner housing, making sure that the venturi tubes are correctly aligned and fitted on the orifices.
- Secure burners with burner fasteners.

natural_image
Technical line drawing of a mechanical assembly with cross-sectional views (no text or symbols)
text_image
A. BURNER CONTROL B. IGNITOR C. CYLINDER VALVE D. REGULATOR E. DOOR F. HANDLELIGHTING INSTRUCTIONS
- The appliance must be assembled as per the assembly instructions.
- Ensure LP cylinder is full and properly connected to the regulator. See: "Hose and Regulator." (page 5)
- Ensure there are no gas leaks in the gas supply system. See: "Leak Testing." (page 6)
- Ensure that the venturi tubes are properly located over the gas valve orifice. (see Venturi diagram, page 6)
- Ensure that the Main Burner ignition wire is connected.
- Carefully review all instructions on the information plate attached to the smoker.
- WARNING: Always open the door before lighting and do not lean over the smoker while lighting.
- Set control knobs to "OFF" and turn on the gas supply.
LIGHTING THE BURNER
a. Open the smoker door and leave open until lit.
b. Check that the battery has been installed in the electronic ignition.
c. Push and turn one the main control knob to "HIGH."
d. Push and hold down the ignitor button or use match to light.
e. Burner should ignite within 5 seconds; turn off gas source immediately if ignition does not occur in this timeframe. To light burner with a match proceed below to step f
f. Attach match to the match light chain and light.
g. Lower lit match to the burner.
h. Push and turn right main burner control knob to "HIGH."
i. Burner should ignite within 5 seconds.
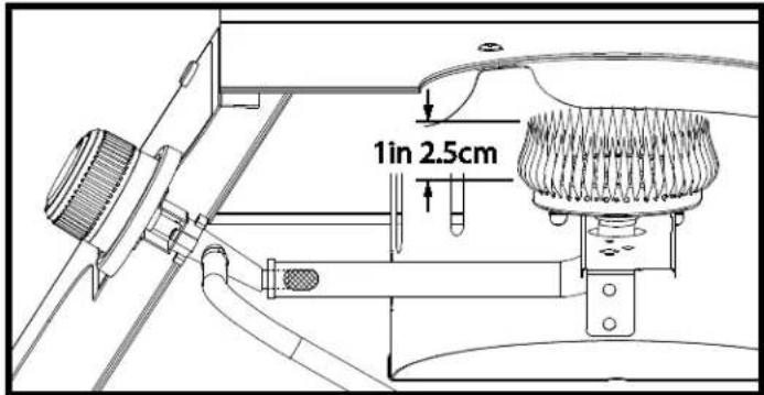
CAUTION - Check your gas grill after lighting. All burner ports should show a 1in / 2.5cm flame on "HIGH."

text_image
1in 2.5cmIf any of the following symptoms occur there is probably a blockage in the venturi tubes. Shut off gas at once and clean the venturi tubes. See "Venturi Tubes." (page 6)
- You smell gas.
- A flashback fire occurs.
- Your Smoker heats unevenly.
- The burner make popping noises.
IF BURNER DOES NOT IGNITE OR BURNER EXTINGUISHES:
- Push and turn control knob to "OFF." Wait 5 minutes then try again with control knob set at "MEDIUM."
- If the burner will not light, see "Troubleshooting" on page 11. If problems persist, do not attempt to operate the appliance; contact OMC, your dealer or an approved service center.
SHUTDOWN:
- Turn off cylinder valve.
- Turn control knobs to "OFF."

natural_image
Technical line drawing of a mechanical assembly with no visible text or symbolsMatch lighting the burner using the match light chain.
GETTING STARTED
Before cooking on your gas smoker for the first time, remove the grates, smoker pan, and water pan; wash thoroughly in warm, soapy water. Rinse completely and dry with a soft towel - don't air dry, and don't ever put in dishwasher.
Initial Burn-in - Before you start to cook on your Broil King® Smoke™ Vertical Propane Smoker you have to burn off the protective residues from manufacturing. Light your smoker, as outlined on page 7: "lighting your smoker", and leave the burner on high for a minimum of 30 minutes. This will burn off any of the protective coating from manufacturing and begin the process of smoke-curing the internal components of the smoker. The more you use your smoker, the better the seasoning will be.
SMOKING TECHNIQUES
Smoking - Less than 275°f
This classic form of barbecue involves cooking of larger cuts of meat at low temperatures (less than 275^ f ( 135^ c) for a relatively long time (often 4+ hours). Using wood chips infuses slow cooked meats and other items with smoky barbecue flavor and yields incredibly tender results.
Smoke roasting - 275°f - 400°f
Also known as indirect grilling, this is similar setup to smoking; smoke roasting is an accelerated version of the same principles. It works well for more conventional roasts, chickens and items that are frequently oven roasted. The combination of smoke and cooking time creates great flavor in a shorter time than true smoking
CONTROLING TEMPERATURE
The Broil King® Smoke™ Vertical Propane Smoker allows you to control cooking temperature by adjusting the control knob and exhaust dampers. Use barbecue mitts or hot pads to protect hands while cooking or adjusting the dampers.

text_image
Diagram showing two circular mechanical components with labeled parts and directional arrows indicating rotation or movement.WOOD CHIPS
Pre-soak wood chips for 30 minutes before adding to smoker. Add wood chips after the main burner is lit, but before adding meat to the smoker. Do not place wood chips in the grease pan. Smoke flavor accumulates best on cool items that have moisture on the outside. Once the exterior of the item dries out, it will no longer take on smoke flavor.
For best results, try to maintain a temperature of 200^ f to 300^ f for most smoked meats. Always cook to the specified internal temperature for a given meat. That is the only way to ensure food safety.

natural_image
Line drawing of a portable oven with a tray holding a dish, no text or symbols presentCONTROLING MOISTURE
Water pan: Your vertical charcoal smoker is equipped with a water pan to keep food from drying out. Use water, juice, and other herbs and spices to create another layer of flavor as you use your smoker.

natural_image
Technical line drawing of a mechanical device with a pouring funnel and control panel (no text or symbols)COOKING ACCESSORIES
Adjustable Racks: The rails for holding the cooking grids and trays are fully adjustable, allowing for most efficient use of your cabinet smoker.

natural_image
Two technical diagrams showing a mechanical component with mounting holes, no text or symbols present.Rib / Roast Rack: Your smoker includes a rib / roast rack that can be used in place of the stainless steel cooking grids. Maximize the space in your smoker by keeping ribs upright.
Stainless Steel Hooks: Leave the upper rack in place, and use the 16 hooks provided to hang sausage, chicken pieces, whole fish, and other items.

text_image
HANGER HOOKS RIB / ROAST RACKBBQ RUB
- 2 tablespoons brown sugar
- 1 teaspoon kosher salt
- 1 teaspoon freshly ground black pepper
- 1 tablespoon cumin
- 2 teaspoons dry mustard
- 2 teaspoons paprika
- 2 tablespoons chili powder
- 1 teaspoon onion salt
- 1 teaspoon celery salt
- 1 teaspoon garlic powder
- 1 tablespoon oregano
SMOKED CHICKEN
- Preheat smoker to 275°f (135°C)
- 1 whole chicken, separated, or chicken pieces – thighs, wings, drumsticks, up to 5 lbs.
- Rub chicken pieces with general purpose BBQ rub, let stand 30 minutes
- Add water pan to smoker
- Add handful of apple or other wood chips to smoker tray
- Arrange chicken on cooking grids
- Cook 2.5 – 4 hours
- Internal temperature must reach 165°f (74°C)
- Cover, let stand 10 minutes
- Serve and enjoy
RIBS
- Preheat smoker to 250°f (121°C)
- 4 racks pork ribs
- Peel membrane from ribs
- Season liberally with barbecue rub
- Add water pan with apple juice to smoker
- Add handful of apple or other wood chips to smoker tray
- Arrange ribs on cooking grids, or in the included rib rack
- Cook 3-4 hours
- If desired, apply barbecue sauce at this time and finish using your Broil King Gas Barbecue at 400°f for 10 – 20 minutes.
- Remove from smoker, cover and let stand 10 minutes
- Serve and enjoy
PULLED PORK
- Preheat smoker to 225°f (107°C)
- 4 – 15 lb. Pork Shoulder (Smaller cuts will often be labelled Boston Butt or picnic shoulder)
- Season liberally with barbecue rub
- Add water pan with apple juice to smoker, set pork shoulder above pan
- Add handful of wood chips to smoker tray
- Place pork shoulder on cooking grids
- Cook 4 + hours to an internal temperature of at least 185°f (85°C)
- Remove from smoker, wrap with foil, let stand 30 minutes
- Chop using Broil King® Super Flipper (#64011) or pull using Broil King® Meat Claws (#64070)
- Apply sauce as desired
- Serve and enjoy
REGULAR MAINTENANCE
The following components should be inspected and cleaned (as necessary) before every usage of your gas smoker to ensure optimal performance, safety and efficiency.
COOKING GRIDS
All OMC cooking grids are coated with a durable finish to protect the grids and reduce the tendency of food sticking to grids. With all OMC cooking grids instead of burning off your smoker after each usage, we recommend leaving food residue on grids and performing a Burn-Off (see below) before each use; this helps build up a protective layer of oil on the grids and will aid in preventing rust and deterioration.
SEASONING GRIDS
Cooking grids should be seasoned before every use by wiping or spraying them with vegetable or olive oil. Ensure that the whole surface of the grid is covered by a light layer of oil. This helps prevent rusting and deterioration. If rusting does occur, scrape it off gently with a scrub pad and season thoroughly. During longer periods of inactivity, grids should be seasoned, wiped dry then stored in a dry place. Before first usage and after periods of storage, grids should be washed dried with paper towel then wiped down thoroughly with vegetable or olive oil.
WATER PAN
After each cook, it will be necessary to empty the water pan. Wait for the smoker to completely cool. Carefully remove the water pan and dispose of cooking liquid and food residue. Wash the water pan with soap and water
SMOKER BOX
After each cook, it will be necessary to empty the smoker box. Wait for the smoker to completely cool. It is a good idea to douse wood chips with water to insure they are completely extinguished. Carefully remove the smoker box and dispose of spent wood chips residue. Wash the pan with soap and water
BURN-OFF
First make sure the water pan and smoker box has been emptied. Ignite the burners as per "Lighting" (page 7). Operate gas Smoker on HIGH with door closed for 10 min. or until smoking stops. Turn the gas source off then turn control knobs to OFF. When the smoker is completely cool. Clean the interior as necessary by scraping the sides and bottom of the cookbox and vacuuming or sweeping up debris.
ANNUAL MAINTENANCE
The following components should be inspected and cleaned at least once a year or after any period of storage over 30 days to ensure optimal performance, safety and efficiency.
BURNER
Remove burner and inspect for cracks and deterioration. Clean venturi tubes using a pipe cleaner or venturi brush to eliminate any blockages. See “Venturi Tubes.” (page 6) While the burner is removed, clean the interior of cookbox by scraping the sides and bottom of the cookbox and vacuuming.
HOSE
Inspect and replace if necessary. For propane see "Hose and Regulator." (page 5)
EXTERIOR FINISH
If white oxidation spots appear, wash the outside of the cookbox with a mild soap and water solution. Rinse the surfaces thoroughly then wipe them with a cloth dipped in cooking oil to restore the luster. For repair of paint scratches and scuffs, use a good quality HIGH temperature (600°F) spray paint for touch-up. Rusting is a natural oxidation process and may appear on cast-iron and steel parts. Rust will not affect short term performance of your smoker.
STAINLESS STEEL
Wash with soap and water. Use stainless steel cleaner to polish and remove stains or marks. Weathering and extreme heat can cause a stainless steel lid to turn a tan color. This is discoloration and is not considered a manufacturing defect.
RESIN COMPONENTS
Wash with soap and water.
REPLACEMENT PARTS
If a problem is found with the regulator, hose, burner, or control valves, do not attempt repair. See your dealer, approved service center, or contact the factory for repairs or replacement parts. To ensure optimum performance, use only original OMC replacement parts.
LEAK TEST
When reconnecting a gas cylinder on propane models, be sure to check for leaks. See "Leak Testing." (page 5)
COOKING GRIDS
To wash cooking grids, use a light detergent and water and then rinse and dry with paper towel; never air dry grids or use a dishwasher. For cast iron grids, thoroughly season (see left: "Cooking Grids") after washing.
Always keep your Broil King® Smoke™ Vertical Propane Smoker covered when not in use - use Broil King® Cover # 67240
| PROBLEM | POSSIBLE CAUSE | CORRECTIVE ACTION |
| SMELL OF GAS | SHUT OFF LP CYLINDER VALVE IMMEDIATELY DO NOT USE THE APPLIANCE UNTILL LEAK IS SEALED | |
| Leak detected at cylinder, regulator or other connection. | 1. Regulator fitting loose.2. Gas leak in hose/regulator or control valves. | 1. Tighten fitting and "Leak Test".2. See authorized service centre. |
| Flame beneath control panel.(Flashback Fire) | 1. Venturi blocked. | 1. Remove burner, clean venturi. See "Venturi Tubes". |
| Flickering burner flame or Low temperature on HIGH setting | 1. Excess flow safety device has been activated in connection between cylinder and barbeque. | 1. Turn LP cylinder valve off then turn all burners to OFF position. Disconnect the regulator from the cylinder. Wait two minutes. Re-attach regulator to the cylinder. Open the cylinder valve slowly. Wait one minute. Light grill as per "lighting" (page 7) |
| Burner will not light. | 1. Out of LP Gas.2. Ignitor wire(s) not connected.3. Ignitor electrode misaligned on burner.4. Ignitor malfunction.5. Regulator is not fully connected to the cylinder valve.6. Burner valve left open while cylinder valve was opened causing excess flow device to activate.7. A leak in the system causing the excess flow device to activate.8. Venturi blocked.9. Venturi not aligned with valve orifice.10. Orifice blocked.11. Hose is twisted. | 1. Refill LP Gas Cylinder.2. Connect both main burner and side burner electrode wires.3. Realign electrode.4. Use "Manual Lighting" Procedure.5. Tighten the regulator hand wheel.6. Close burner and cylinder valves. Open cylinder valve slowly, then open burner valve to light.7. Leak test connections to determine loose fitting. Tighten fitting. Leak test system.8. Remove burner, clean venturi. See "Venturi Tubes".9. Realign venturi to orifice. See "Venturi Tubes".10. Remove burner, clean orifice with a pin or fine wire. Do not attempt to drill orifice.11. Straighten hose. Keep away from bottom casting |
| Ignitor Not Working | 1. Ignitor battery is dead2. Ignitor wire not connected3. Electrode misaligned on burner4. Ignitor malfunction | 1. Replace battery2. Ensure electrode wire is connected3. Realign electrode and clear any surrounding debris from area4. Use "match lighting" procedure (page 7) |
| Decreasing heat, "popping sound". | 1. Out of LP Gas.2. Venturi blocked. | 1. Refill LP Gas Cylinder. |
| Regulator Humming Noise | 1. Cylinder valve opened too quickly | 1. Open cylinder valve slowly |
| Yellow flame | 1. Some yellow flame is normal. If it is excessive, the venture may be blocked2. Burner ports blocked | 1. Remove burner, clean venturi. See "Venturi Tubes".2. Remove burner & clean with soft bristle brush. |
| Inside of lid appears to be peeling | 1. This is a buildup of grease. The inside of the lid is not painted. | 1. Clean with stiff bristle brush or scraper. |
| If troubleshooting fails to solve any of these other issues, please visit www.omcbbq.com for more information including troubleshooting videos, tricks and tips or call customer service at 1-800-265-2150 | ||
WARRANTY & CUSTOMER SERVICE
The OMC Warranty is effective from date of purchase and is limited to the repair or replacement of parts at no charge which prove to be defective under normal domestic use.
In Canada and the United States replacement is FOB Factory.
In all other countries replacement is FOB OMC Distributor. (Consult your dealer for name of OMC Distributor.)
All other costs are the responsibility of the owner.
This warranty is extended only to the original purchaser as indicated on the warranty registration and applies only to products sold at retail and only when used in country where purchased.
WHAT IS COVERED:
| High Heat Coated Cook Box | 5 years |
| Remaining parts & paint | 2 years |
What is Not Covered:
- Any failures or operating difficulties due to accident, abuse, misuse, alteration, misapplication, vandalism, improper installation or improper maintenance or service, or failure to perform normal and routine maintenance as set out in the owner's manual.
- Deterioration or damage due to severe weather conditions such as hail, hurricanes, earthquakes or tornadoes, discoloration due exposure to chemicals either directly or in the atmosphere.
- Shipping or transportation costs.
- Removal or re-installation costs.
• Labor costs for installation and repair. - Cost of service calls.
- Liability for indirect or consequential damages.
Replacement Parts:
"Genuine OMC Replacement Parts" must always be used for replacement. Use of any other parts will automatically nullify the above warranty.
Warranty Claims
All warranty is handled directly by OMC. Parts must be returned to OMC Warranty Department, shipping charges prepaid, accompanied by model #, Serial #, and if your grill is not registered, proof of purchase (copy of sales slip or invoice). If inspection confirms the defect, OMC will repair or replace such part in accordance with the terms of the warranty. On receipt of letter or fax (not by phone) OMC may, at is option, not require part or parts to be returned.
Outside North America
The above warranty is administered by the OMC distributor in your country. Contact your dealer for the name of your OMC distributor.
GUIDE DE L'UTILISATEUR
POUR L'USAGE AVEC LE GAZ DE PÉTROLE LIQUÉFIÉ, AU CANADA, PROPANE


ANSI Z21.89 2013 / CSA 1.18-2013
CONTENUS
SÉCURITÉ....2
INSTALLATION 3
BOUTEILLE DE GPL....4
BOUTEILLE ÉQUIPÉE D'UN OPD....5
TUYAU ET RÉGULATEUR....5
ESSAI D'ÉTANCHÉITÉ 6
TUYAUX VENTURI 6
ALLUMAGE 7
UTILISATION 8
TECHNIQUES DE FUMAISON....9
ENTRETIEN 10
DÉPANNAGE.... 11
GARANTIE 12

natural_image
Line drawing of a TEUR portable gas stove with control panel and wheels (no text or symbols)natural_image
Technical line drawing of a mechanical device with directional arrows indicating motion or assembly (no text or symbols present)natural_image
Technical line drawing of a mechanical assembly with cross-sectional views (no text or symbols)
text_image
A. CADRAN DE COMMANDE DU BRÚLEUR B. ALLUMEUR C. VALVE DE LA BOUTEILLE D. REGULATEUR E. PORTE F. POIGNÉE C D A BDIRECTIVES D'ALLUMAGE
natural_image
Technical line drawing of a mechanical assembly with no visible text or symbolsnatural_image
Two circular diagrams showing wheel rim and wheel spokes, one with a rotation arrow (no text or symbols)COPEAUX DE BOIS
natural_image
Line drawing of an oven with a tray holding dried herbs, no text or symbols presentCONTRÔLE DE L'HUMIDITÉ
natural_image
Diagram of a mechanical device with a pouring funnel and wheels, no visible text or symbolsnatural_image
Pure mechanical component diagram without any text, numbers, or symbols
natural_image
Simple line drawing of a long rectangular object with rounded ends, no text or symbols presentnatural_image
Line drawing of a portable gas stove with control panel and wheels (no text or symbols)natural_image
Technical line drawing of a mechanical assembly with directional arrows indicating motion (no text or symbols)natural_image
Technical line drawing of a mechanical assembly with no visible text or symbols
natural_image
Technical line drawing of a mechanical assembly with no visible text or symbolsMatch lighting the burner using the match light chain.
INTRODUCCIÓN
natural_image
Two circular mechanical components with radial blades, one showing rotational motion and the other with shaded blades (no text or symbols)TROCITOS DE MADERA
natural_image
Line drawing of an oven with a tray holding dried herbs, no text or symbols presentCONTROL DE HUMEDAD
natural_image
Diagram of a kitchen interior showing a ladle pouring liquid into a rack with a basket and fan nearby (no text or symbols)natural_image
Pure mechanical component diagram without any text, numbers, or symbols
EasyManual