C 33 - Heating Jøtul - Free user manual and instructions
Find the device manual for free C 33 Jøtul in PDF.
User questions about C 33 Jøtul
0 question about this device. Answer the ones you know or ask your own.
Ask a new question about this device
Download the instructions for your Heating in PDF format for free! Find your manual C 33 - Jøtul and take your electronic device back in hand. On this page are published all the documents necessary for the use of your device. C 33 by Jøtul.
USER MANUAL C 33 Jøtul
GB-Installation and Operating Instructions 8
1.0 Relationship to the authorities
Installation of a fireplace must be according to local codes and regulations in each country.
All local regulations, including those that refer to national and European standards, shall be complied with when installing the product.
Instructions for mounting, installation and use are enclosed with the product. Prior to using the product the installation must be inspected by a qualified person.
A product data label in heat resistant material is located on the heat shield at the back of the product. This contains information about identification and documentation for the product.
2.0 Technical data
Material: Cast iron
Finish: Blue Black Enamel
Fuel: Wood
Log length, max.: 55 cm
Flue outlet: Top
Flue dimension: 150mm / 177cm cross section
Hot air distributor: 150
Approx. weight: 143kg
Options extras:
Dimensions, distances etc.: See fig.1
Technical data according to EN 13229
Nominal heat output: 8,o kW
Smoke gas mass flow: 6,4 g/s
Recommended chimney draught: 12 Pa
Efficiency: 73% *7,
CO emission (13% O): 0,20%
Flue gas temperature: 339°C
Operating mode: Intermittent
3.0 Safety precautions
3.1 Fire preventive measures
Any use of the fireplace may represent some danger. Therefore, respect the following instructions:
- Ensure that furniture and other flammable materials do not get too close to the fireplace.
- Let the fire die. Never put it out with water as this may damage the product.
- The fireplace gets warm when used and may cause burns if touched.
- Only remove the ashes when the stove is cold.
- Ash must be properly disposed of outdoors, or emptied where it does not entail a fire hazard.
3.2 Air supply
Warning! Please ensure that there is adequate air supply from the outdoors to the room in which the fireplace is to be installed.
An inadequate air supply could cause smoke gas to escape into the room. This is very dangerous! Symptoms of this include smoky smell, drowsiness, nausea and feeling ill.
Ensure that air vents in the room where the fireplace is located are not blocked.
Avoid using mechanical fan vents in a room with a fireplace. This may cause negative pressure and draw poisonous gasses into the room.
4.o Installation
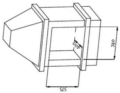
Jotul C 31/C 33 are cassettes designed to fit into existing fireplaces. The products would fit equally well into a new fireplace frame.
Jotul C 31/C 33 requires a front opening of 575 × 740 × 400 mm (HxWxD).
If the products should be mounted into a new fireplace frame:
4.1 Floor
Foundations
Ensure that the floor is strong enough for the fireplace. See «2.0 Technical data» for weights.
Wooden floor protection
The floor must be covered with a layer of min. 100 mm concrete.
We recommend that you contact the local Jotul dealer prior to the installation.
Requirement for protecting combustible flooring in front of fireplace
The front plate must be in accordance with national laws and regulations. Contact your local building authorities regarding restrictions and installation requirements.
4.2 Wall
Distance to walls made of combustible material- see fig. 1
Requirements for insulation
100 mm rock wool 120kg / m^3 foliated on one side with aluminium.
Distance from the stove to the insulation on the back panel: o mm.
Requirements for the stove surround
The stove surround must be made in an incombustible material. Note that the entire back panel within the surround must be covered by insulation.
If the stove cowling is bricked up to the ceiling and the ceiling is made of combustible material, on top of the warming chamber and the cowling vents an extra ceiling panel must be installed to avoid heating the ceiling.
For example use:
Rock wool 100mm thick on top of a steel plate min. 0,9 mm. Ensure airing out the top of the stove cowling - for example an opening towards the ceiling, or approx. 5cm^2 opening.
Note: Remember that it should be possible to sweep and to inspect the installation.
ENGLISH
4.3 Air supply
Air must circulate between the cassette and the brickwork. The convection chamber surrounding the cassette ensures that there is a minimum air circulation around the cassette. It would be an advantage to have several vents in the brickwork, in order to improve heat emission into the room.
Connect flexible channels directly from the warm air adapters on the top of the warming chamber and directly to the cowlings vents.
This is a safety measure to prevent a build up of heat in the surround, and also to ensure sufficient heat emission into the room.
Warm air channels in the fireplace must be of non-flammable material. The channels can be extremely hot, and it is very important that these are not in touch with burnable materials.
Using a fireplace requires a plentiful supply of fresh air to the room where the fireplace is installed. If the house is sealed, the room must be equipped with additional fresh air supply through vents, or through separate ducts directly to the fireplace. The fresh air ducts should be as straight as possible. Fresh air ducts in the fireplace must be of non-flammable material.
To prevent condensation in air duct that pass through heated spaces, the duct must be insulated with 30~mm of mineralwool covered with a moisture seel. It is important to seal carefully around the pipe where it passes through walls or floors. Use jointing compound.
4.4 Ceiling
Distance from warm air opening in the hood's top to a ceiling of combustible material: min 500 mm
4.5 Chimney
- The fireplace can be connected to a chimney and flue pipe approved for solid fuel fired fireplaces with flue gas temperatures specified in «2.0 Technical data».
- The chimney's cross-section must be at least as big as the flue pipe's cross-section. See «2.0 Technical data» when calculating the correct chimney cross-section.
- Several solid fuel fired fireplaces can be connected to the same chimney if the chimney's cross-section is sufficient.
- Connection to the chimney must be carried out in accordance with the installation instructions from the supplier of the chimney.
- Before making a hole in the chimney the fireplace should be test-mounted in order to correctly mark the position of the fireplace and the hole in the chimney. See fig. 1 for minimum dimensions.
- Ensure that the flue pipe is inclined all the way up to the chimney.
Be aware of the fact that connections must have a certain flexibility in order to prevent movement in the installation leading to cracks.
N.B. A correct and sealed connection is very important for the proper functioning of the product.
Warning! Weight from the fireplace must not be transferred to the chimney. The fireplace must not interfere with the ability of the chimney to move and it must not be fastened to the chimney.
Note: A guide is published by the British Flue and Chimney Manufacturers' Association which contains general information on chimneys and flues.
Recommended chimney draught, see «2.o Technical data». If the draught is too strong you can install and operate a flue damper to control the draught.
In case of chimney fire
- Close all hatches and vents.
- Keep the firebox door closed.
- Check the loft and cellar for smoke.
- Call the fire service.
- Before use after a fire an expert must check the fireplace in order to ensure that it is fully functional.
4.6 Preparation
Make sure the cassette is not damaged in any way before commencing the installation.
The product is heavy! Make sure you have assistance when erecting and installing the fireplace.
The Jøtul C 31/C 33 is delivered in one package and includes loose handle, ash pan and a bag of supplies, as well as adapters for the flue outlet and for the warm air distribution from the convection chamber (fig. 2 and 3).
After unpacking the cassette, remove the box with its contents and possibly also the baffle plate and burn plates to make the product lighter. The front frame may also be removed. See section about: «7.o Service».
4.7 Mounting
The cassette should be test assembled before connecting the flue pipe. The flue pipe should be installed according to the requirements of the individual case, depending on the size of the fireplace. Your Jøtul-dealer/installer will be able to give you advice and instructions.
- Make sure the bottom of the fireplace is even.
- Put cement around the edge of the flue outlet (fig. 4A).
- Set up the product. The product is heavy. Make sure you have assistance when erecting and positioning it.
- Make sure the flue outlet's centre line is aligned with the pre-installed flue pipe adapter/flue pipe. Also ensure that the front or front panels are aligned with the front of the framing.
If connecting the smoke outlet and flue pipe is difficult due to limited access, Jotul has a special adapter (optional equipment) available. This adapter may be used to pre-install the flue pipe inside the fireplace, prior to inserting the cassette. After inserting the cassette, the adapter can be put in the right position through the flue outlet.
- Make sure to leave a clearance of 2 - 3mm to the framing to compensate for possible heat expansion.
Replace all the parts that were removed in order to ease the handling of the fireplace.
Adjusting the front frame (fig 8)
Before installation
- Open the inspection hatch on the left-hand side of the cassette (fig. 8).
- Loosen the two large screws - 8 mm (A) and adjust with the three (6mm) screws (B) to position the frame correctly.
- Fasten the screws tightly again.
After installation
In order to adjust the front frame, it must be opened first. Loosen the two large screws -8mm and adjust with the three (6mm) screws. Fasten the screws tightly again.
4.8 Control of functions (fig. 5)
Always test the service functions when the insert has been set up. They should move easily and function satisfactorily.
Air vent (B)-Ignition vent (C)
Fully pushed in = closed
Pulled out = fully opened
Handle for the front frame Jøtul C 31 (A)
Open the front frame by pulling the knob straight out.
Jotul C 31
Open the front frame by pulling the frame out.
Door handle (5D)
To open the door, use the loose handle to undo the door handle.
5.0 Use
5.1 Choice of fuel
Always use quality firewood. This will give you optimal results, and will not cause any damage to the product.
5.2 Jøtul's definition of quality firewood
With good quality firewood we mean logs of, for example: Birch, beech and oak.
Good quality wood should be dried so that the water content is approx. 20% .
To achieve that, the wood should be cut during late winter or early spring, then cut and stacked to ensure proper airing and covered to prevent it from absorbing rainwater. The logs should be taken indoors in autumn for use during the winter season.
The amount of energy obtainable from 1kg of wood varies very little. On the other hand the specific weight of the different kinds of wood varies considerably. As an example, a certain volume of birch will provide less kWh than the same volume of oak, which has a higher specific weight.
The amount of energy produced by 1kg quality wood is about 3,8 kWh.1 kg of completely dry wood (0 % humidity) produces approximately 5 kWh, while wood with a humidity level of 60% produces only around 1,5 kWh/kg.
Consequences of using damp wood may include:
- Appearance of soot/tar on the glass, in the fireplace and in the chimney.
The fireplace emits little warmth. - Risk of chimney fire as a consequence of accumulation of soot in the fireplace, flue pipe and chimney.
The fire may die out.
Be especially careful never to lay a fire using any of the following materials:
Household waste, plastic bags, etc.
- Painted or impregnated wood (highly toxic).
- Chipboard or laminated boards.
Driftwood.
This may harm the product and pollute the atmosphere.
N.B. Never use combustible liquids such as petrol, kerosene, red spirit or similar to start the fire. This may cause harm to both yourself and the product.
5.3 Log length and amount
The maximum length of logs to be used is 55~cm . Nominal heat emission is 8,0 kWh. The requirement for nominal heat emission is 2,3 kg of quality firewood per hour.
An important factor for proper fuel consumption is that the logs are the correct size. The size of the logs should be:
Kindling:
Length: Approx 40 - 50 cm
Diameter: 2 - 5 cm
Amount per fire: 8-10 pieces
Firewood (split logs):
Recommended length: 50 cm
Diameter: Approx. 8 - 12 cm
Intervals for adding wood: Approximately every 50 minutes
Size of the fire: 1,8 kg
Amount per load: 2 stk.
ENGLISH
5.4 Initial lighting
Light the fire as described under «5.5 Daily use».
Light the fire for a couple of hours and ventilate any smoke and smell from the product.
- Repeat this a couple of times.
Note! Odors when using the stove for the first time.
Painted products: The fireplace may emit an irritating gas when used for the first time, and it may smell a little. The gas is not toxic, but the room should be thoroughly ventilated. Let the fire burn with a high draught until all traces of the gas have disappeared and no smoke or smells can be detected.
Enamelled products: Condensation may form on the surface of the fireplace the first few times it is used. This must be wiped off to prevent permanent stains forming when the surface heats up.
5.5 Daily use
The product is intended for intermittent combustion. By intermittent combustion one means normal use of a fireplace, meaning that each fire should burn down to embers before new firewood is added.
- Open both draught vents (fig. 5B and C). (Use a glove, for example, when the handle is warm.)
- Place two medium sized logs in/out on each side of the base.
- Crumple some newspaper (or birch bark) between these and add some kindling wood in a criss-cross pattern on top and light the newspaper. Increase the size of the logs gradually.
- Leave the door slightly open until the logs catch fire. Close the door and the ignition vent when the firewood has ignited and the fire is burning briskly.
- Then regulate the rate of combustion to the desired level of heating by adjusting the air vent (fig. 5B).
Nominal heat emission is achieved when the air vent is open approximately 70% .
5.6 Adding firewood
Each load should burn down to embers before new firewood is added. Open the door slightly and allow the negative pressure to level out prior to opening the door completely.
- Add the wood and make sure that the air vent is fully open for a few minutes until the wood has caught fire.
Regulate the air vent (fig. 5B) once the wood has properly ignited and is burning well.
N.B. Danger of overheating: the fireplace must never be used in a manner that causes overheating.
Overheating occurs when there is too much wood and/or air so that too much heat is developed. A sure sign of overheating is when parts of the fireplace glow red. If this happens, reduce the ventilation opening immediately.
Upon suspicion of excessive/poor draught in the chimney, seek professional help. See also «2.0 Technical data» and «4.5 Chimney» for information.
5.7 Using fireplace during the transition from winter to spring
During a transitional period with sudden fluctuations in temperature, negative smoke draught or under difficult wind conditions, disturbances in the chimney draught may occur so that the smoke gasses are not drawn out.
One should then use less firewood and have a larger opening in the air vents so that the wood burns fresher and faster. In this was the draught in the chimney will be maintained.
To avoid accumulated ash, it should be removed more often than usual. See «6.2 Ash removal».
6.o Maintenance
6.1 Cleaning the glass
Jotul C 31/33 is equipped with top draught (air wash). Through the air vent air is sucked in above the fireplace and washed down along the inside of the glass. This system has the advantage that it provides better combustion and reduces the buildup of soot deposits on the glass.
Still, some soot will always stick to the glass, but the quantity will depend on the local draught conditions and adjustment of the draught vent. Most of the soot layer will normally be burned off when the draught vent is opened all the way and a fire is burning briskly in the fireplace.
Good advice! For normal cleaning, moisten a paper towel with warm water and add some ash from the burn chamber. Rub it over the glass and then clean the glass with clean water. If it is necessary to clean the glass more thoroughly we recommend a glass cleaner (follow the instructions for use on the bottle).
6.2 Ash removal
- Only do this when the fireplace is cold.
- Use a drawer (or similar) and scrape the ashes out, but always allow some ash to remain as a protective layer in the bottom of the stove.
- Ash must be placed in a metal container with a sealed lid. Also see the description below about how to handle ash: «3.0 Safety precautions».
6.3 Cleaning and soot removal
Soot deposits may build up on the internal surfaces of the stove during use. Soot is a good insulator and will therefore reduce the stove's heat output. If soot deposits accumulate when using the product, they can be easily removed by using a soot remover.
An annual internal cleaning is necessary to get the best heating effect from the product. It is a good idea to do this in connection with the sweeping of the chimney and flue pipes.
6.4 Sweeping of flue pipes to the chimney
The flue must be swept through the cassette's door opening. The baffle plate must first be removed. See separate section under: 7.o Service
6.5 Control of the stove
Jotul recommends that you personally control your stove carefully after sweeping/cleaning. Check all visible surface areas for cracks.
Also check that all joints are sealed and that the gaskets are in the correct position. Any gaskets showing signs of wear or deformation must be replaced.
Thoroughly clean the gasket grooves, apply ceramic glue (available from your local Jotul dealer), and press the gasket well into place. The joint will dry quickly.
6.6 External maintenance
Painted products may change colour after several years usage. The surface should be cleaned and brushed free of any loose particles before new paint is applied.
Enamelled products must only be cleaned with a clean, dry cloth. Do not use water and soap. Any stains can be removed with cleaning liquids.
7.o Service
Warning! Any unauthorised change to the product is illegal. Only use original spare parts!
7.1 Changing the baffle plate (fig. 7)
Removing the baffle plate.
Lift the baffle plate (A) a little upwards and pull it forwards. Edge it out through the door. Be careful, this part is very heavy!
Installing the baffle plate.
Lift the baffle plate into the fireplace, place on top of the bosses (fig. 7A) and make sure it fits closely against the rear and the sides.
7.2 Changing the burn plates (fig. 7)
Remove the side burn plates (C) by lifting them up a little and then out. Use a screwdriver to tip them up if they are stuck. Subsequently remove the rear burn plate (D).
7.3 Removing/installing the door
- It is best to open the front frame in order to remove the door.
Jotul C 31: This can be done by pulling out the knob located on the right-hand side (fig. 5A).
Jotul C 33: Open the front frame by pulling the frame out.
- Remove the hinge pins and lift the door off its hinges.
Warning! The door is heavy.
ENGLISH
8.o Reasons for operational problems - troubleshooting
Poor draught
- Check the length of the chimney and that it complies with national laws and regulations. Make sure that the minimum cross section on the chimney is large enough. See also «2.0 Technical data» and «4.5 Chimney» for information.
- Make sure that there is not anything preventing the smoke gasses from escaping: Branches, trees, etc.
The fire extinguishes:
- Make sure that the firewood is sufficiently dry
Find out whether there is negative pressure in the house, close mechanical fans and open a window close to the stove. - Check that the air vent is open.
- Check that the flue outlet is not clogged by soot
Unusual amount of soot accumulates on the glass
Some soot will always stick to the glass, but the quantity depends on:
- Humidity of the fuel.
- The local draught conditions
- Regulating the air vent.
Most of the soot will normally burn off when the air vent is opened all the way and a fire is burning briskly in the fireplace.《6.1 Cleaning the glass - good advice》.
9.o Optional equipment
Special adapter (fig. 6) cat. no. 340856
If connecting the smoke outlet and flue pipe is difficult due to limited access, Jøtul has a special adapter (optional equipment) available.
Installation
- Attach the flue pipe to the special adapter.
Cut a wooden peg to size (145mm) and fasten it in the two grooves on the lowest part inside the adapter (fig. 6A). - Determine where in the fireplace the flue pipe and the adapter should be placed.
- Secure the adapter approx. 5-10 mm over the fireplace. Note: Make sure the centre is aligned with the centre of the flue outlet
After inserting the cassette put a hand up through the flue outlet, twist and pull down the adapter through the opening by using the wooden peg. - Twist again to lock the connection.
Note! It is important that the joints are completely sealed. Air leakage etc. may lead to malfunction.
Sommaire
Position tiree = ouvert
FRANCAIS
Durchmesser: 2 - 5cm
Brennholz (Scheite):
Emphelte Lange: 50 cm
Durchmesser: ca. 8 - 12cm

Min. mal gulvplate / measure floorplate X/Y=Acc.to national standards and regulations.


Min. maligru. Gruen ma vare i henhold til forskrifter. Min.measurements for hearth. Hearth must be built according to regulations

4-3838-Po4
Mälene gelder ubehandelde producerkter. Etter lakkering ell er emaljering kan mälene variere noe. Dimensions refer to untreated products. After painting or enamelling dimensions may have small divergences.

Min. maligrue.Gruen ma varei henhold til forskrifter Min.measurements for hearth.Hearth must be built a




| Fig.2 | Fig.6 |
| Fig.3 | Fig.7 |
| Fig.4 | Fig.8 |
| Fig.5 |
Checked
Utfort Kontrollpunkt Controlled item
Jotul hereby confirm that this product has been QC inspected and found to comply with our quality standards.
Jøtul pursue a policy of constant product development. Products supplied may therefore differ in specification, colour and type of accessories from those illustrated and described in the brochure.
Jotul AS has a quality system that conforms to NS-EN ISO 9001 for product development, manufacturing, and distribution of stoves and fireplaces. This policy gives our customers quality and safety piece of mind as a result of Jotul's vast experience dating back to when the company first started in 1853.
EasyManual