F 379 - Heating Jøtul - Free user manual and instructions
Find the device manual for free F 379 Jøtul in PDF.
User questions about F 379 Jøtul
0 question about this device. Answer the ones you know or ask your own.
Ask a new question about this device
Download the instructions for your Heating in PDF format for free! Find your manual F 379 - Jøtul and take your electronic device back in hand. On this page are published all the documents necessary for the use of your device. F 379 by Jøtul.
USER MANUAL F 379 Jøtul
GB - Installation and Operating Instructions 2
natural_image
Exterior view of a modern office building (no signage)Jøtul F 377

natural_image
Black outdoor fire extinguisher with visible flames and legs (no text or symbols)Jøtul F 379
ENGLISH
Table of contents
Installation manual with technical data
1.0 Relationship to the authorities ...... 2
2.0 Technical data 2
3.0 Safety
4.0 Installation 8
5.0 Daily use 18
6.0 Maintenance 18
7.0 Service 19
8.0 Operational problems - troubleshooting ....20
9.0 Optional Equipment 20
10.0 Warranty....21

text_image
Product Jahal Exem Haute: Final quality test1
2
3
4
5
6
7
8
9
10
11
12
13
14
15
16
17
18
19
20
21
22
23
24
25
26
27
28
29
30
31
32
33
34
35
36
37
38
39
40
41
42
43
44
45
46
47
48
49
50
51
52
53
54
55
56
57
58
59
60
61
62
63
64
65
66
67
68
69
70
71
72
73
74
75
76
77
78
79
80
81
82
83
84
85
86
87
88
89
90
91
92
93
94
95
96
97
98
99
### ### ### ### ### ### ### ### ### ### ### ### ### ### ### ### ### ### ### ### ### ### ### ### ### ### ### ### ### ### ### ### ### ### ### ### ### ### ### ### ### ### ### ### ### ### ### ### ### ### ### ### ### ### ### ### ### ### ### ### ### ### ### ### ### ### ### ### ### ### ### ### ### ### ### ### ### ### ### ### ### ### ### ### ### ### ### ##
On all our products there is a label indicating the serial number and year. Write this number in the place indicated in the installation instructions.
Always quote this serial number when contacting your retailer or Jøtul.
Serial no.
1.0 Relationship to the authorities
Installation of a fireplace must be according to local codes and regulations in each country.
All local regulations, including those which refer to national and European standards, must be observed when installing the product.
3
The installation can only be put into use after it has been checked by a qualified inspector. Contact your local building authorities before installing a new fireplace.
A product data plate of heat-resistant material is affixed to the product. This contains information about identification and documentation for the product.
2.0 Technical data
| Material: | Cast iron |
| Finish: | Black or grey varnish |
| Fuel: | Wood |
| Log length, max.: | 30 cm |
| Flue outlet: | Top, rear |
| Flue pipe dimension: | 150 mm/min. 177 cm ^2 cross section |
Approx. weight:
- with cast iron base: Approx. 163 kg
- with cast iron pedestal: Approx. 156 kg
- with cast iron leg: Approx. 154 kg
- with cast iron base and glass door: Approx. 165 kg
- with glass base: Approx. 158 kg
- Jøtul F 377 with soapstone: Approx. 220 kg
- Jøtul F 377 HT with soapstone: Approx. 270 kg
- Jøtul F 377 with heat storage
system and soapstone: Approx. 330 kg
- with three legs: Approx. 149 kg
Optional extras: Decoration plates, cover for side windows, rotating set (Jøtul 373), glass decoration
- top/sides/front, soap stone -
top, wood store, cast iron door
for base (Jøtul F 371), High
Top, Jøtul F 377 soapstone,
Jøtul F 377 HT soapstone,
convection kit, heat storage
system
See fig. 1
Dimensions, distances:
Technical data according to EN 13240
Nominal heat output: 5,5 kW
Flue gas mass flow: 5,9 g/s
Recommended chimney draught: 12 Pa
Efficiency: 73%@
CO emission (13% O _2 ): 0.12%
Flue gas temperature: 330°C
Operational type: Intermittent
Intermittent combustion in this context means normal use of the fireplace, i.e. fuel is added as soon as the fuel has burnt down to a suitable amount of embers.
Air supply
The outside air connection may be fitted directly to the Jøtul F 370 Series through:
• The base/pedestal/leg or
- through a flexible supply hose from the outside/chimney (only if the chimney has its own duct for external air) and to the product's outside air connector.
Through an outside wall

natural_image
Technical line drawing of a mechanical assembly with spring-loaded components (no text or symbols)Through the floor and ground plate

text_image
Technical diagram showing cross-sectional views of a mechanical or architectural component with labeled dimensions and features.Through the floor and basement

natural_image
Cross-sectional diagram of a ceiling structure with pipes and ventilation duct (no text or labels)Indirectly through an outside wall

natural_image
Technical line drawing of a mechanical assembly with spring-loaded components (no text or symbols)3.0 Safety
NB! To guarantee optimal performance and safety, Jøtul stoves must be fitted by a qualified installer.
Any modifications to the product by the distributor, installer or consumer may result in the product and safety features not functioning as intended. The same applies to the installation of accessories or optional extras not supplied by Jøtul. This may also be the case if parts that are essential to the functioning and safety of the fireplace have been disassembled or removed.
In all these cases, the manufacturer is not responsible or liable for the product and the right to make a complaint becomes null and void.
3.1 Fire Prevention Measures
There is a certain element of danger every time you use your fireplace. The following instructions must therefore be followed:
- The minimum safety distances when installing and using the fireplace are given in fig. 1.
- Ensure that furniture and other flammable materials are not too close to the fireplace. Flammable materials should not be placed within 1 metre of the fireplace.
- Allow the fire to burn out. Never extinguish the flames with water.
- The fireplace becomes hot when lit and may cause burns if touched.
- Only remove ash when the fireplace is cold. Ash can contain hot embers and should therefore be placed in a non-flammable container.
- Ash should be placed outdoors or be emptied in a place where it will not present a potential fire hazard.
In case of chimney fire:
- Close all hatches and vents.
- Keep the firebox door closed.
- Check the loft and cellar for smoke.
- Call the fire service.
- Before use after a fire an expert must check the fireplace and the chimney in order to ensure that it is fully functional.
3.2 Floor
Foundation
You need to make sure the foundation is suitable for a fireplace. See "2.0 Technical Data" for specified weight.
We recommend the removal of any flooring that is not attached to the foundation ("floating floors") beneath the installation.
Requirements for protection of wooden flooring beneath the fireplace
Jøtul F 370 Series (except from Jøtul F 374) has a heat shield underneath which protects the base from radiation. The product (except Jøtul from F 374 and Jøtul F 379) has an integrated floor protection and may therefore be placed directly on a wooden floor.
Any inflammable floor coverings, such as linoleum, carpets, etc. must be removed from under the product.
Jøtul F 370
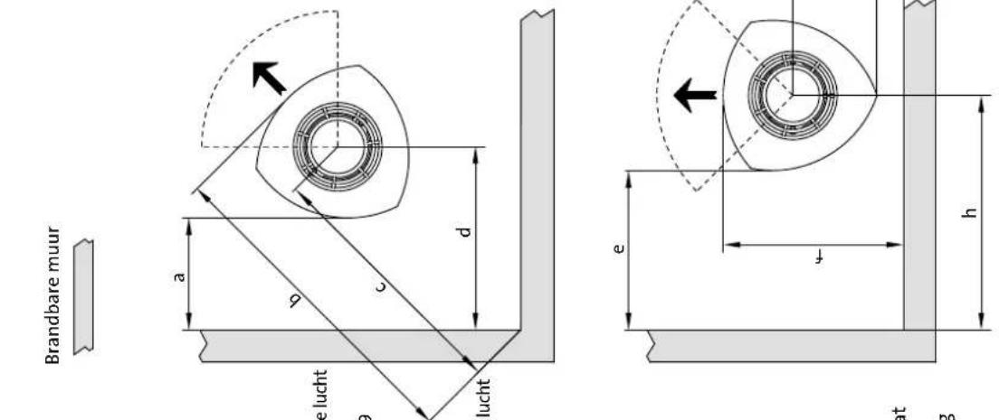
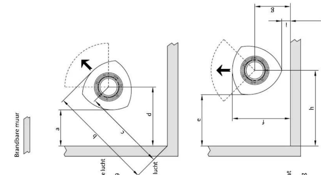
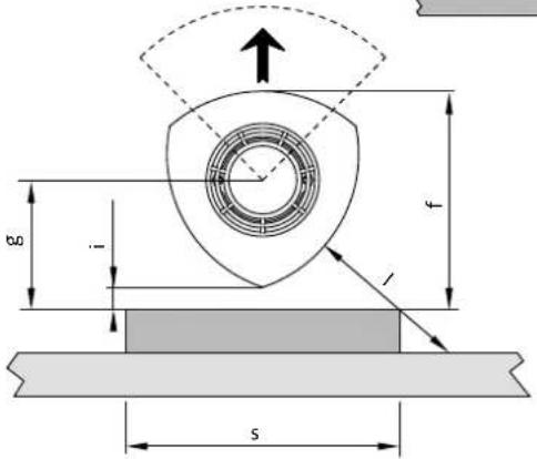
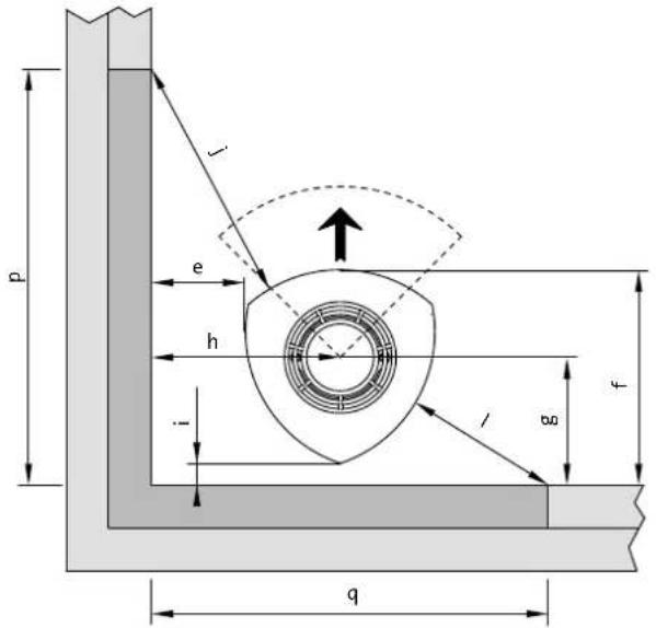
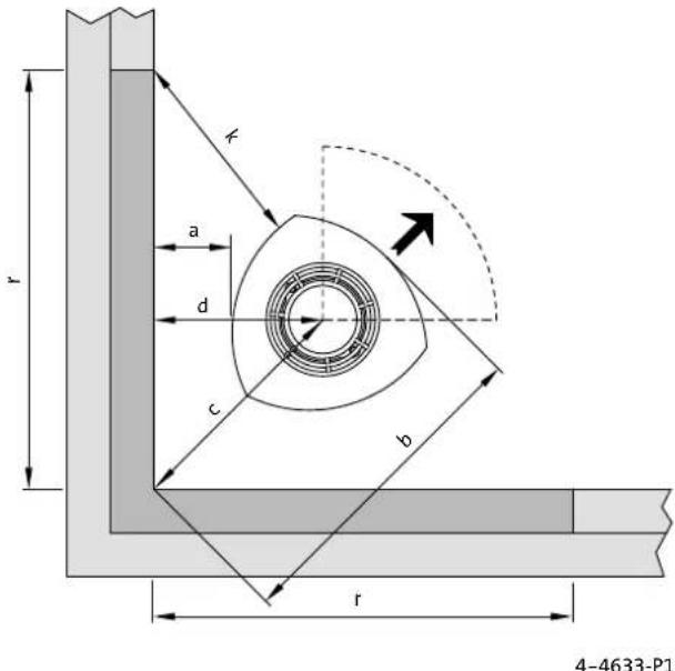
Min. distance to combustible wall by different configurations, fig. 1a
| Configuration\Measure | a | b | c | d | e | f | g | h | i |
| Basic model | 440 | 1125 | 920 | 650 | 480 | 612 | 407 | 701 | 160 |
| With side cover, plain | 340 | 982 | 777 | 550 | 380 | 612 | 407 | 601 | 160 |
| Med halvisolert skorstein / With half insulated steel chimney | 440 | 1125 | 920 | 650 | 480 | 552 | 347 | 701 | 100 |
| With decor glass sides | 190 | 771 | 566 | 400 | 280 | 558 | 353 | 501 | * 160 |
| Jøtul F 370 C (product with convection kit with side glasses and half insulated chimney) | 150 742 | 537 380 400 524 | 319 | 641 50 | |||||
| Jøtul F 377 (product with soap stone sides and top) | 250 915 | 710 502 400 539 | 334 | 647 | 50 |
* If a steal chimney is used the measure will be 100mm
Fig. 1a
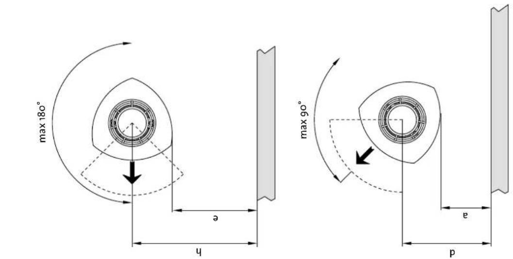
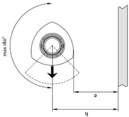
Distance to combustible wall with revolvable pedestal: See table above.
Min. distance to combustible wall: See table above.
Product:
Jøtul F 371 / F 373 / F 374 / F 375 / F 376 / F 377 / F 379 / F 370 C

text_image
1025
text_image
740 1150 410
text_image
740 1150 410
Combustible wall

text_image
a b c dHole in floor for outside air
∅100mm connection
Jøtul F 371, F 374, F 375, F 376, F 377, F 379
Hole in floor for outside air
Ø100mm connection
Jøtul F 373
Hole in floor for outside air
Ø100mm connection
Jøtul F 373
Hole in floor for outside air ∅100mm connection
Jøtul F 371, F 374, F 375, F 377, F 379
Hole in floor for outside air ∅100mm connection
Jøtul F 373
Hole in floor for outside air ∅100mm connection
Jøtul F 371, F 374, F 375, F 377, F 379
Hole in floor for outside air ∅100mm connection
Jøtul F 373

text_image
66 442 181 205 452 221
text_image
Jøtul F 370 C: 88 482 181 205 474 241
text_image
Jøtul F 377: 100 494 181 205 496 247Min. measure floorplate X/Y = Acc. to national standards and regulations.

natural_image
Technical drawing of a mechanical part with X and Y axis dimensions (no text or symbols)Jøtul F 370
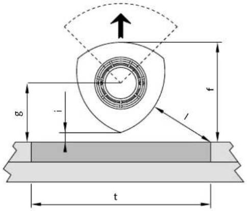
Min. distance to combustible wall protected by firewall in different configurations, fig. 1b
| Configuration\Measure | a | b | c | d | e | f | g | h | i | j | k | l | m | n | o | p | q | r | s | t |
| Basic model | 100 | 643 | 438 | 310 | 200 | 492 | 287 | 421 | 40 | 550 | 480 | 440 | 735 | 799 | 773 | 934 | 999 | 962 | 756 | 1156 |
| With side cover plain | 100 | 643 | 438 | 310 | 200 | 492 | 287 | 421 | 40 | 550 | 380 | 340 | 735 | 669 | 659 | 934 | 884 | 841 | 556 | 930 |
| Jøtul F 372, F 375, F 376, F 379 with ext. air through wall | 10064 | 3438310 | 20055234 | 7421100 | 550--795 | -994---- | ||||||||||||||
| Jøtul F 370 C (product with convection kit andhalf insulated chimney) | 100 | 67146 | 3302005 | 2431944 | 150550400 | 200888-807956-897 | - | - | ||||||||||||
| Jøtul F 377 (product with soap stone sides and top) | 10070 | 34983542 | 20053933 | 44475055 | 0400250 | 892-8859 | 61-960-- | |||||||||||||
* If a steal chimney is used the measure will be 100 mm
Fig. 1c
Minimum distance to wall for Jøtul F 375, F 376 and F 379 with external air supply through wall

text_image
min 100 min 347Fig. 1b
| Product:Jøtul F 371 / F 373 / F 374 / F 375 / F 376 / F 377 / F 379 / F 370 C | Min. distance to combustible wall protected by approved firewall: See table above. | ||
| External | Combustible wallFirewall | ||
![]() | ![]() | ![]() | |
| Integrated | |||
![]() | ![]() | ![]() | |
ENGLISH
Requirements for protection of inflammable floors in front of the fireplace
The front plate must comply with national laws and regulations. Contact your local building authorities regarding restrictions and installation requirements.
3.3 Walls
Distance from the wall of flammable material
The fireplace is authorised for use with an uninsulated flue with the distances to the wall of flammable material as shown in fig 1.
3.4 Ceiling
There must be a minimum distance of 1000 mm to a combustible ceiling above the fireplace.
4.0 Installation
N.B. Check that the fireplace is free of any damage prior to commencing installation.
The product is heavy! Make sure you have assistance when erecting and installing the fireplace.
4.1 Prior to installation
- Standard product supplied in two packages. One with the fireplace itself and one with optional base in cast-iron/concrete/glass or pedestal in cast-iron.
- When the product is unpacked, the burn plates, baffle plate, exhaust deflector, base plate, ash pan and riddling grate are removed. Also remove the small side burn plates and gasket for flue pipe which are in the ash pan.
Fig. 3

text_image
A B C- Lift off the top plate with the top grid (fig. 3 A) and bowl (fig. 3 B).
- Check that the operating handles work.
- If the rear flue pipe outlet is used, first drill holes (fig. 5 A) in the cut-out covers for the flue pipe before they are knocked out with the aid of e.g a ball-pane hammer.
- Place the wooden block (fig. 5 B) that holds the exhaust deflectors in position so that the side plates are supported when the cut-out covers are removed.
- Spread out the cardboard packaging on the floor. Lay the stove carefully on its side.
Fig. 4

text_image
Front B A B A C D E- If the glass décor set (optional extras) is to be used, the 4 recessed head screws on the bottom are removed (fig. 4B) with the aid of the key included with the glass décor set.
4.2 Assembly
Jøtul F 371 - cast-iron base
N.B. If the flexible hose is to be connected through a hole in the floor, the knock out covers are not knocked out/removed.
Fig. 5

text_image
A B C- If flexible hose, 100 mm diameter, for external air supply is to be connected to the outlet under the burn chamber (fig. 4 C), drill one hole (fig. 5 C) in each cut-out cover at the lower part of the base and knock them out. N.B. Make sure the rear plate (fig. 6 A) in the base is positioned, when the cut-out cover is being knocked out.
ENGLISH
Fig. 6

natural_image
Cross-sectional diagram of a cylindrical device with internal components, labeled A (no text or symbols on the device itself)- Remove rack and rear plate in the base. Check that the handle in the external air vent (fig. 4D) is in the foremost position.
- Assemble the base with the burn chamber with the aid of the 4 screws (M8x30 mm) from the screws bag (fig. 4 A).
- Get assistance and carefully lift the product up.
Fig. 7

text_image
A B C C C C- Adjust the product with the help of the 4 adjusting screws (fig. 7 C).
- Draw the flexible hose through the hole and fasten it to the outlet with the aid of a hose clip. N.B. Make sure that the hose is long enough to avoid any joints.
- The base area must be protected from heat radiation from the product with the aid of the accompanying heat shield (fig. 7 A). Fasten this with the 2 screws as shown in fig. 7 B.
- Reassemble the the rack and the rear plate in the base.
Important! If the rotating set is to be assembled, this must be done now before the pedestal is fastened to the hearth. See assembly instructions which accompany the rotating set.
Fig. 11

natural_image
Cross-sectional diagram of a mechanical assembly with labeled parts A and B (no text or symbols beyond labels)- Adjust the product with the help of the 3 adjusting screws (fig. 11 A).
- Assemble the pedestal to the hearth's bottom plate with the aid of the 4 screws from the bag of screws (fig. 4 A).
- If the external air supply via the external air vent is to be used, the flexible hose, 100 mm diameter, is connected to the vent on the product (fig. 4 C) now.
- Push the handle in the external air vent to the foremost position (fig. 4 D).
- Fasten the hose to the external air vent with the aid of a hose clip. N.B. Make sure that the hose is long enough to avoid any joints.
- If the external air is to be supplied through the floor, place the flexible gasket (fig. 11 B) around the hose, 100 mm diameter, that is drawn through the hole in the floor. Note! The hole is in the center of the pedestal/flue pipe.
- Push the handle in the external air vent to the rear position (fig. 4 E).
- Get assistance and carefully lift the product up and place it directly above the external air supply.
Important! Check that the handle in the external air vent is in the foremost position if the external air is not to go through the pedestal.
If external air supplied via the external air vent is to be used, connect a flexible hose, 100 mm, to the external air vent (fig. 4 C) on the product.
Installation with external air
- Push the lever on the external air vent to its forward position (fig. 4 D).
- Attach the hose to the external air vent using a hose clip. NBI Make sure the hose is long enough to avoid any joints being necessary.
Fig. 12

natural_image
3D rendering of a mechanical component with internal parts and no visible text or symbols- Move the cast iron leg towards the burn chamber as the external air hose is passed through the leg and, if appropriate, through the opening in its back (fig. 12).
Fig. 13

natural_image
Technical illustration of a mechanical assembly with cross-section view and labeled component 'A' (no text or symbols beyond labels)- Attach the base to the burn chamber using the 4 screws (M8 x 30 mm) from the bag of screws (fig. 13 A).
- With the help of another person, carefully raise the product and position it correctly over the external air supply.
ENGLISH
Fig. 14

natural_image
3D mechanical component diagram showing internal structure with labeled point A (no text or symbols beyond label)- Adjust the height of the product if necessary, using the adjustment screws beneath the leg (fig. 14 A).
Fig. 15

natural_image
Technical diagram of a mechanical component with labeled section A (no text or symbols beyond label)- Replace the cover for the external air supply (fig. 15 A).
Installation without external air
- Attach the base to the burn chamber using the 4 screws (M8 x 30 mm) from the bag of screws (fig. 13A).
- With the help of another person, carefully raise the product and position it correctly over the external air supply.
- Adjust the height of the product if necessary, using the adjustment screws beneath the leg (fig. 14A).
- Replace the cover (fig. 15 A).
Jøtul F 375 - Cast iron base with glass door
- Assemble the cast iron base as described under point "Jøtul F 371 - cast iron base".
Fig. 16

natural_image
Mechanical assembly diagram showing a vertical rod connected to a curved panel, with labeled points A and B (no text or symbols beyond labels)- Attach the hinge for the glass door to the base using the M6 x 20 mm screws, which are in the bag of screws for the glass door (fig. 16 A).
- Insert the spring between the threaded holes and the hinge before tightening the screws (fig. 16B).
Fig. 17

text_image
A C B- Screw the other end of the spring firmly in position (fig. 17 A).
- Attach the door damper to the inside of the glass door in the bottom right-hand corner (fig. 17 B).
NBI There must be an even gap between the door and the base to allow the door to hang straight. Adjust the door if necessary, by tightening or loosening the two screws (fig. 17 C).
NB! If connecting the flex hose through a hole in the floor, do not knock out the removable cover plates (Fig. 18 A).
Fig. 18

text_image
A B C D- Loosen the screws holding the upper glass clips on either side (Figs. 18 B and C). Check that the lever on the external air vent is in the forward position (Fig. 4D).
- If connecting a flex hose ( 100 mm) for external air supply to the external air vent/outlet (Fig. 4 C) beneath the burn chamber, first drill a hole (Fig. 18 A) in the removable cover plates before they are knocked out. NB! Leave the rear plate in the base (Fig. 18 D) in place when the cover plates are knocked out.
- Remove the rear plate (Fig. 18 D) in the base.
Fig. 19

text_image
B B A- Place the base in the correct position on the floor plate (if any). Level the product using the 4 adjustment screws (Fig. 19 A).
- Attach the base to the burn chamber using the 4 screws (M8 x 30 mm) from the bag of screws (Fig. 19 B).
- Carefully raise the product with the help of another person.
- Adjust the glass door, if necessary, with the screws as shown in Fig. 17 C. There must be an even gap between the door and the base to allow the door to hang straight.
Fig. 20

natural_image
Cross-sectional diagram of a mechanical device showing internal components and structural elements (no text or symbols)- Install the side glass panels by positioning them in the lower glass clips (Fig. 20 A). Lift up the upper clips and press them down onto the side glass. Make sure there is an even gap between the side glass and the side plate at both the front and back. Tighten the front screw for the side glass (Fig. 18 B). The back screw (Fig. 18 C) should be loosened just sufficiently to allow the glass clip to be raised without removing the screw (this makes it easier if replacing the glass later on).
- Pull the flex hose (if any) through a hole in the floor or rear of the base (Fig. 18 A) and attach it to the outlet using a hose clip. NBI Make sure the hose is long enough to make it unnecessary to have any joints.
- Replace the rear plate (Fig. 18 D).
- The base area must be protected from heat radiation from the product with the aid of the accompanying heat shield (fig. 7 A). Fasten this with the 2 screws as shown in fig. 7 B.
Jøtul F 377 - with soapstone
Se separate installation manual (cat. no. 10043560).
ENGLISH
Jøtul F 379 - with three legs
NB! If connecting the flex hose through a hole in the floor, do not knock out the removable cover plates (fig. 21 A).
Fig. 21

natural_image
Mechanical assembly diagram showing a tool interacting with a bracket and handle (no text or symbols)- If connecting a flex hose ( 100 mm) for external air supply to the external air vent (fig. 4 C) beneath the burn chamber, first drill a hole (fig. 21 A) in the removable cover plates before they are knocked out. NB! Place the parts on a suitable surface before the cover plates are knocked out.
Fig. 22

text_image
Fig. 22 F D G C C A B G E-
The accompanying heat shield (fig. 22 A) should be used to protect the base from the heat radiating from the product. Secure this first with a screw (fig. 22 B).
-
Secure the brace (fig. 22 C) loosely into place with a screw (fig. 22 D).
-
Attach the base to the burn chamber using the 4 screws (M8 x 30 mm) from the bag of screws (fig. 4 A).
-
Screw the legs together at the back edge using 2 screws that are in the screw holes (fig. 22 E).
-
Secure the brace (fig. 22 C) into place with a screw (fig. 22 F) and nut at both ends.
-
With the help of another person, carefully raise the product.
-
Level the product using the 4 adjustment screws (fig. 22 G).
-
If the legs are not properly aligned, loosen the screws (fig. 22 F) on each side. Adjust the legs and tighten the screws again.
-
Tighten the screw (fig. 22 D).
-
Pull the flex hose through the hole and attach it to the outlet using a hose clip. NBI Make sure the hose is long enough so that joints are not necessary.
Fig. 23

natural_image
Mechanical assembly diagram showing a component with labeled parts A, B, and directional arrows (no text or symbols beyond labels)- Place the cover (fig. 23 A) into place. Make sure that the pin (protrusion) B is facing down.
4.3 Chimneys and flue pipes
- The fireplace can be connected to a chimney and flue pipe approved for solid fuel fired appliances with flue gas temperatures specified in «2.0 Technical data».
- The chimney's cross-section must be at least as big as the flue pipe's cross-section. See «2.0 Technical data» when calculating the correct chimney cross-section.
- Several solid fuel fired appliances can be connected to the same chimney if the chimney's cross-section is sufficient.
- Connection to the chimney must be carried out in accordance with the installation instructions from the supplier of the chimney.
- Before making a hole in the chimney the fireplace should be test-mounted in order to correctly mark the position of the fireplace and the hole in the chimney. See fig. 1 for minimum dimensions.
- Ensure that the flue pipe is inclined all the way up to the chimney.
- Use a flue pipe bend with a sweeping hatch that allows it to be swept.
Be aware of the fact that it is particularly important that connections have a certain flexibility in order to prevent movement in the installation leading to cracks.
Chimney draught; See «2.0 Technical data». If the draught is too strong you can install and operate a flue damper to control the draught.
Assembly of flue pipe with top outlet
The product is supplied from the factory with the smoke outlet mounted for top outlet.
- Put the top plate (fig. 3 C) on the product.
- Obtain assistance in lifting the top grate (fig. 3 A) and holding it up while the flue is fastened.
- Thread the flue pipe through the grate of the top plate and place it on the smoke outlet of the top outlet.
- Tighten well with gasket.
Assembly of flue pipe with rear outlet
The product is supplied from the factory with the smoke outlet mounted for top outlet. If you want a rear outlet, do the following: 1. Place the product in correct position (fig. 1).
Fig. 24

natural_image
Cross-sectional diagram of a mechanical device showing internal components and a labeled section (A), no readable text or symbols present.
natural_image
3D rendering of a mechanical component with a labeled section B (no text or symbols on the part itself)- When changing to rear outlet, the smoke outlet (fig. 24 B) is unscrewed from the top outlet.
- Unscrew the cover for the rear outlet from the inside of the burn chamber (fig. 24 A).
Fig. 25

natural_image
3D mechanical assembly diagram showing a cylindrical component with labeled parts A and B, and a flange-like base (no text or symbols beyond labels)- Place the gasket on the end of the flue pipe (fig. 25 A).
- Mount the smoke outlet (fig. 25 B) on the end of the flue pipe that is fitted with the gasket.
- Mount the flue pipe and smoke outlet from the inside of the burn chamber and attach the smoke outlet using M8x30 mm screws. N.B. If the flue pipe is longer than 350 mm it has to be assembled into the smoke outlet from the outside of the product.
- Fasten the cover to the top outlet (fig. 24) with the screws that fastened the smoke outlet.
N.B. It is important that the joints/flue pipes are completely sealed. Air leaks can prevent the flue pipe from functioning properly.
4.4 Mounting of the product
Fig. 26

natural_image
Cross-sectional diagram of a mechanical device showing internal components and labeled part A (no text or symbols beyond label)- Place the baffle plate with the bar in the groove on the ribs (fig. 26 A).
- Move the base plate through the opening and place it on the bottom.
ENGLISH
Fig. 27

natural_image
3D technical illustration of a mechanical assembly with labeled component A (no text or symbols beyond label)- Place the riddling grate in position on the base plate. Check that the riddling grate's slot on the right side is entered into the riddling bar (fig. 27 A).
- Place the ash pan at the bottom of the product.
- Place the rear burn plate in the base plate's rear groove.
- Place the side burn plates on each side in the base plate's side grooves. Move the baffle plate in and place it so that it rests on the side and rear burn plates.
- Hold the baffle plate while the other side burn plate is mounted.
Fig 28

natural_image
3D cutaway view of a cylindrical device with internal components and a labeled component 'A' (no text or symbols beyond label)- Let the baffle plate rest on the burn plates.
- Place the small side burn plates (fig. 28 A) in the base plate's groove under the side glasses.
- Replace the top plate with the top grid and bowl.
- Place the product data plate which is in the ash pan, underneath the burn chamber.
4.5 Control of functions
When the product is set up, always check the control functions. These shall move easily and function satisfactorily.
Jøtul F 370 is equipped with the following controls:
Fig. 29

text_image
G H F E D A C BAir vent fig. 29 A
Pushed in: Closed
Pulled out: Open
Ignition vent, fig. 29 B
Pushed in: Closed
Pulled out: Open
Riddling grate (same handle as for the ignition vent) (Fig. 29 B) Right handle is pushed in and out.
Is opened by pulling handle out.
4.6 Use
- Open the air vent and the ignition vent by pulling it out all the way (fig. 29 A & B). If necessary, keep the door slightly open. (Use a glove, for example, as the handle can become hot.)
- Place two medium sized logs in/out on each side of the base. N.B. In order to avoid sooting on the glass, it is important that the log is not placed adjacent to the glass on the product.
- Crumple some newspaper (or birch bark) between these and add some kindling wood in a criss-cross pattern on top and light the newspaper. (Fig. 30)
- Gradually increase the size of the fire, but the wood should not be stacked higher than the horizontal holes on the back burn plate. See fig. 29 H.
• Finally, place a medium-sized log on the top of the pile. - Place 2 or 3 briquettes or kindling sticks under the top layer of kindling and light the fire.
- NB: The maximum height of the pile of the wood should be just below the horizontal holes. The holes must not be covered.
- Close the ignition vent (fig. 29 B) when the firewood has ignited and the fire is burning well.
- Check that the afterburning (secondary combustion) starts. This is best indicated by yellow, flickering flames under the baffle.
- Then regulate the rate of combustion to the desired level of heating by adjusting the air vent (fig. 29 A).
Fig. 30

natural_image
3D rendered mechanical component with layered structure (no text or symbols visible)Adding firewood
Stoke the stove frequently but only add small amounts of fuel at a time. If the stove is filled too full, the heat created may cause extreme stress in the chimney. Add fuel to the fire in moderation. Avoid smouldering fires as this produces the most pollution. The fire is best when it is burning well and the smoke from the chimney is almost invisible.
4.7 Danger of overheating
The fireplace must never be used in a manner that causes overheating
Overheating occurs when there is too much fuel and/or too much air so that too much heat develops. A sure sign of overheating is when parts of the fireplace glow red. If this happens, reduce the air vent opening immediately.
Seek professional advice if you suspect that the chimney is not drawing properly (too much/too little draught). For further information, see «4.0 Installation» (Chimney and flue pipe).
ENGLISH
4.8 Ash removal
Jøtul F 370 has an ash pan which makes it easy to remove the ashes.
- Only remove ashes when the fireplace is cold.
- Push/pull the handle for the ash grate/ignition vent out and in several times so that the ashes fall down into the ash pan. Use something like a glove to grab the handle on the ash pan.
- Make sure that the ash pan doesn't fill up so high that it keeps ash from coming through the grate into the pan.
5.0 Daily use
Odours when using the fireplace for the first time
When the fireplace is used for the first time, it may emit an irritating gas which may smell slightly. This happens because the paint dries. The gas is not toxic but the room should be thoroughly ventilated. Let the fire burn with a high draught until all traces of the gas have disappeared and no smoke or odours can be detected.
Heating advice
NB: Logs that have been stored outdoors or in a cold room should be brought indoors 24 hours before use to bring them up to room temperature.
There are various ways of heating the stove but it is always important to be careful about what you put in the stove. See the section on “Wood quality”.
Wood quality
By quality wood we mean most well-known types of wood such as birch, spruce and pine.
The logs should be dried so that the moisture content is no more than 20%.
To achieve this, the logs should be cut during the late winter. They should be split and stacked in a way that ensures good ventilation. The wood stacks should be covered to protect the logs from rain. The logs should be brought indoors during early autumn and stacked/stored for use in the coming winter.
Be especially careful never to use the following materials as fuel in your fireplace:
• Household rubbish, plastic bags, etc.
- Painted or impregnated timber (which is extremely toxic).
• Laminated wooden planks.
- Driftwood
These may harm the product and are also pollutants.
NB: Never use petrol, paraffin, methylated spirit or similar liquids to light the fire. You may cause serious injury to yourself and damage to the product.
Wood consumption
Jøtul F 370 has a nominal heat output of 5,5 kW. Use of wood, with nominal heat emission: Approx. 1,9 kg/h. Another important factor for proper fuel consumption is that the logs are the correct size. The size of the logs should be:
Kindling:
Length: 30 cm
Diameter: 2-5 cm
Amount per fire: 6-8 pieces
Firewood (split logs):
Length: Ca 20 - 30 cm
Diameter: Approx. 8 cm
Intervals for adding wood: Approximately every 45 minutes
Size of the fire: 1.4 kg
Amount per load: 2 pieces
Nominal heat emission is achieved when the air vent (fig. 29 A) is open approximately 100% and the handle for the ignition vent pulled out approximately 1-2 cm (fig. 29 B).
6.0 Maintenance
6.1 Cleaning the glass
The product is equipped with an air wash for the glass. Air is sucked in through the air vent on the top of the product and down along the inside of the glass.
However, some soot will always stick to the glass, but the quantity will depend on the local draught conditions and adjustment of the air vent. Most of the soot layer will normally be burned off when the air vent is opened all the way and a fire is burning briskly in the fireplace.
Good advice! For normal cleaning, moisten a paper towel with warm water and add some ash from the burn chamber. Rub it over the glass and then clean the glass with clean water. Dry well. If it is necessary to clean the glass more thoroughly we recommend using a glass cleaner (follow the instructions on the bottle).
6.2 Cleaning and soot removal
Soot deposits may build up on the internal surfaces of the fireplace during use. Soot is a good insulator and will therefore reduce the fireplace's heat output. If soot deposits accumulate when using the product, they can be easily removed by using a soot remover.
In order to prevent a water and tar layer from forming in the fireplace you should regularly allow the fire to burn hot in order to remove the layer. An annual internal cleaning is necessary to get the best heating effect from the product. It is a good idea to do this in connection with the sweeping of the chimney and flue pipes.
6.3 Sweeping of flue pipes to the chimney
On certain free-standing fireplaces the top plate can be lifted off and the pipe swept through the top.
Otherwise, flue pipes must be swept through the flue pipe sweeping hatch or through the product's door opening. Then, the baffle must be removed.
6.4 Inspection of the fireplace
Jøtul recommends that you personally inspect your fireplace carefully after sweeping/cleaning. Check all visible surfaces for cracks. Also check that all joints are sealed and that the gaskets are in the correct position. Any gaskets showing signs of wear or deformation must be replaced.
Thoroughly clean the gasket grooves, apply ceramic glue (available from your local Jøtul dealer), and press the gasket well into place. The joint will dry quickly.
6.5 Exterior maintenance
Painted products may change colour after several years usage. The surface should be cleaned and brushed free of any loose particles before new paint is applied.
7.0 Service
Warning! Any unauthorised change to the product is illegal. Only use original spare parts.
7.1 Replacing the baffle/exhaust deflector
(N.B. If you use tools, be aware that the vermiculite plates may be damaged by rough treatment).
-
Lift up the front edge of the baffle plate and tilt it out (fig. 29 G). Remove the side burn plates (fig. 29 F) and the rear burn plate (fig. 29 E).
-
The exhaust deflector, in cast-iron - that is located above the baffle plate, rests with the bar on the ribs at the rear flue outlet (fig. 26 A). Lift the exhaust deflector slightly up, pull it forward and tilt it out.
-
For reassembly follow the same procedure for installation, but in reverse.
7.2 Replacement of burn plates/base plate
(N.B. If you use tools, be aware that the vermiculite plates may be damaged by rough treatment).
-
Lift up the front edge of the baffle plate and tilt it out. Remove the side burn plates (fig. 29 F) and the rear burn plate (fig. 29 E).
-
Then lift up the grate and the base plate and take it out (fig. 29 D).
-
Follow the same procedure for installation, but in the opposite sequence.
-
When reassembling the grate and the base plate, make sure that the riddling bar (fig. 27 A) that moves the riddling grate is threaded into the slot on the right edge of the grate.
7.3 Replacing the inner/outer side glass
-
Lift up the front edge of the baffle plate and tilt it out Remove the side burn plates (fig. 29 F) and the rear burn plate (fig. 29 E).
-
The exhaust deflector, in cast-iron - that is located above the baffle plate, rests with the bar on the ribs at the rear flue outlet (fig. 26 A). Lift the exhaust deflector slightly up, pull it forward and tilt it out.
-
Remove riddling grate, base plate and ash pan (fig. 29 D).
Fig. 31

natural_image
Cross-sectional diagram of a mechanical device showing internal components and labeled part A (no text or symbols beyond label)Fig. 32

natural_image
Interior view of a mechanical device with labeled component A, showing internal components and mounting brackets (no text or symbols beyond label)-
Unscrew the upper and lower screws (fig. 31 A and 32 A), and tilt the glass holder with the glass carefully out through the door. N.B. The glass holder also keeps the outer glass in place
-
Remove the glass and possibly replace gaskets. If needed replace the external glass.
-
For reassembly follow the same procedure for installation, but in reverse.
ENGLISH
8.0 Operational problems - troubleshooting
Poor draught
- Check the length of the chimney and that it complies with national laws and regulations. (See also «2.0 Technical data» and «4.0 Installation» (Chimney and flue pipe) in the installation manual for information.)
- Make sure that the minimum cross section on the chimney is according to «2.0 Technical data» in the installation manual.
- Make sure that there is not anything preventing the smoke gasses from escaping: branches, trees, etc.
- Upon suspicion of excessive/poor draught in the chimney, seek professional help for measurement and adjustment.
The fire extinguishes after a while
- Make sure that the firewood is sufficiently dry.
- Find out whether there is negative pressure in the house, close mechanical fans and open a window close to the fireplace.
- Check that the air vent is open.
- Check that the flue outlet is not clogged by soot.
Unusual amount of soot accumulates on the glass
Some soot will always stick to the glass, but the quantity depends on:
- Moisture in the fuel.
- The local draught conditions.
- Air vent opening.
Most of the soot will normally burn off when the air vent is opened all the way and a fire is burning briskly in the fireplace. (See «6.1 Cleaning the glass».)
9.0 Optional equipment
9.1 Decoration plates
Decoration plates, cover for side windows (2 units), black paint - cat. no. 50037271 (350990). Decoration plates, cover for side windows (2 units), grey paint - cat. no. 50037272 (350991).
Soapstone, top 25 mm one-piece - cat. no. 50012988 (350992).
Soapstone, top 25 mm three-piece - cat. no. 50013013 (361011) (substitute for 50012988 (350992) installed with steel chimney).
9.2 Glass decoration, top, sides and front
(see separate installation manual)
Glass set for rear smoke outlet, black paint,
- cat. no. 51012250 (350993)
Glass set for rear smoke outlet, grey paint,
- cat. no. 51012251 (350994)
Glass set for top smoke outlet, black paint,
- cat. no. 51012252 (350995)
Glass set for top smoke outlet, grey paint,
- cat. no. 51012253 (350996)
9.3 Rotating kit
(See separate installation manual)
Rotating set for Jøtul F 373, - cat. no. 51012254 (350997)
9.4 Wood store
Black paint - cat. no. 50012995 (351160)
Grey paint - cat. no. 50013037 (351161)
9.5 Cast iron door for base (Jøtul F 371)
Black paint - cat. no. 51036917 (351115)
Grey paint - cat. no. 51036918 (351116)
9.6 High Top
Cat. no. 51012304
9.7 Heat storage system
Cat. no. 10026701
9.8 Soapstone
Jøtul F 377 soapstone kit, cat. no. 21043545
Jøtul F 377 HT soapstone kit, cat. no. 21043546
9.9 Convection kit
Jøtul F 370 C convection, sides, BP, cat. no. 50043647
Jøtul F 370 C, convection, top, BP, cat. no. 50043642
10.0 Warranty
Jøtul AS provides its customers with a ten-year warranty with the right to return external cast-iron items if they show defects as a result of faulty materials and/or manufacturing after the initial purchase/installation of the fireplace. The buyer is entitled to return the goods provided that the fireplace has been installed in compliance with current laws and regulations and in compliance with Jøtul's installation and operating instructions.
The warranty does not cover:
The installation of optional extras, for example, to rectify local draught conditions, air supply or other circumstances beyond Jøtul's control. The warranty does not cover consumables, such as burn plates, smoke baffles, fire grates, bottom grates, brick refractories, dampers and gaskets as they deteriorate over time due to normal wear and tear. The warranty does not cover damage caused as a result of using unsuitable fuel when lighting the fire, such as driftwood, impregnated and painted wood, plank offcuts, chipboard, etc. Overheating may easily occur if unsuitable fuel is used, i.e. the fireplace becomes red hot, which causes the paint to discolour and the cast iron parts to crack.
The warranty is not valid for damage caused while the product is in transit from the distributor to the delivery address. The warranty is not valid either for damage caused by the use of non-original parts.
FRANCAIS
Sommaire
natural_image
Architectural cross-section diagram showing structural components (no text or labels)natural_image
Architectural cross-section diagram showing structural layers and doorways (no text or labels)natural_image
Cross-sectional diagram of a ceiling structure with pipes and ventilation duct (no text or labels)natural_image
Technical line drawing of a mechanical assembly with no visible text or symbols3.0 Sécurité
natural_image
Cross-sectional diagram of a cylindrical device with internal components, labeled A (no text or symbols beyond labels)natural_image
Cross-sectional diagram of a mechanical assembly with labeled parts A and B (no text or symbols beyond labels)natural_image
3D rendering of a mechanical device with internal components and no visible text or symbolsnatural_image
Technical illustration of a train engine showing internal components and structural details (no text or symbols)natural_image
Technical illustration of a mechanical assembly with labeled component A (no text or symbols beyond label)natural_image
Mechanical component diagram showing a cylindrical assembly with a labeled section A (no text or symbols beyond label)natural_image
Mechanical assembly diagram showing a vertical rod connected to a curved panel, with labeled points A and B (no text or symbols beyond labels)natural_image
Cross-sectional diagram of a mechanical device showing internal components and structural elements (no text or symbols)natural_image
Mechanical assembly diagram showing a tool interacting with a bracket and handle (no text or symbols)text_image
Technical diagram showing a mechanical assembly with labeled components A and B, and directional arrows indicating motion or force vectors.natural_image
Cross-sectional diagram of a mechanical device showing internal components and a labeled section (A), no readable text or symbols present.
natural_image
3D rendering of a mechanical component with a labeled section B (no text or symbols on the part itself)natural_image
3D mechanical assembly diagram showing a cylindrical component with labeled parts A and B, and a flanged circular base (no text or symbols beyond labels)natural_image
Cross-sectional diagram of a mechanical device showing internal components and structural elements (no text or symbols)natural_image
3D technical illustration of a mechanical assembly with labeled component A (no text or symbols beyond label)natural_image
3D cutaway view of a cylindrical device with internal components and a labeled component 'A' (no text or symbols beyond label)text_image
G H F E D A C Bnatural_image
3D rendered mechanical component with layered cylindrical and rectangular sections (no text or symbols)Ajouter du bois
natural_image
Cross-sectional diagram of a mechanical device showing internal components and labeled part A (no text or symbols beyond label)Fig. 32

natural_image
Interior view of a mechanical device with labeled component A, showing internal components and mounting points (no text or symbols beyond label)9.9 Kit de convection
Jøtul F 370 C, kit de convection, latérale, BP, réf. cat. 50043647 Jøtul F 370 C, kit de convection, supérieure, BP, réf. cat. 5004364
10.0 Garantie
natural_image
Architectural cross-section diagram showing wall and floor components (no text or labels)text_image
Technical diagram showing cross-sectional views of a mechanical or structural assembly with labeled components and dimensions.natural_image
Cross-sectional diagram of a ceiling structure with pipes and ventilation duct (no text or labels)natural_image
Technical line drawing of a mechanical assembly with spring-loaded components (no text or symbols)3.0 Seguridad
natural_image
Geometric diagram of a teardrop-shaped ring with labeled X and Y axes (no text or symbols within the shape)
text_image
e f h g4-4633-P11
natural_image
Cross-sectional diagram of a cylindrical device with internal components, labeled A (no text or symbols on the device itself)natural_image
Cross-sectional diagram of a mechanical assembly with labeled parts A and B (no text or symbols beyond labels)natural_image
3D cutaway view of a mechanical pipe assembly showing internal components and structural details (no text or symbols)natural_image
Technical illustration of a mechanical assembly with labeled parts A, showing internal components and structural details (no text or symbols beyond labels)natural_image
Technical illustration of a mechanical component with labeled point A, showing internal structure and alignment lines (no text or symbols beyond label)natural_image
Technical diagram of a mechanical device with labeled component A (no text or symbols beyond label)natural_image
Diagram of a mechanical assembly with labeled components A and B, showing linkage between two vertical components (no text or symbols beyond labels)natural_image
Cross-sectional diagram of a mechanical device showing internal components and structural elements (no text or symbols)natural_image
Mechanical assembly diagram showing a tool interacting with a bracket and handle (no text or symbols)natural_image
Mechanical assembly diagram showing a component with labeled parts A and B, and directional arrows indicating motion (no text or symbols beyond labels)natural_image
Cross-sectional diagram of a mechanical device showing internal components and a labeled section (A), no text or symbols present.
natural_image
3D rendering of a mechanical component with a circular ring and flange, labeled 'B' (no text or symbols on the object itself)natural_image
3D mechanical assembly diagram showing a cylindrical component with labeled parts A and B, and a flange (no text or symbols beyond labels)natural_image
Cross-sectional diagram of a mechanical device showing internal components and structural elements (no text or symbols)natural_image
3D technical illustration of a mechanical housing or enclosure with internal components and labeled section A (no text or symbols beyond label)natural_image
3D cutaway view of a cylindrical device with internal components and a labeled component 'A' (no text or symbols beyond label)text_image
G H F E D A C BRespiradero fig. 29 A
natural_image
3D rendered mechanical component with layered structure (no text or symbols visible)Añadir madera
natural_image
Cross-sectional diagram of a mechanical device showing internal components and labeled part A (no text or symbols beyond label)Fig. 32

natural_image
Interior view of a mechanical device with labeled component A, showing internal components and mounting brackets (no text or symbols beyond label)natural_image
Architectural cross-section diagram showing wall and floor components (no text or labels)text_image
Technical cross-sectional diagram of a mechanical assembly with labeled dimensions and component annotationsnatural_image
Cross-sectional diagram of a pipe system with layered structure (no text or labels)natural_image
Technical line drawing of a mechanical assembly with no visible text or symbols3.0 Sicurezza
natural_image
Technical drawing of a mechanical part with a central bore and side view, labeled X and Y axes (no text or symbols beyond axis labels)4-4633-P11
natural_image
Cross-sectional diagram of a cylindrical device with internal components and labeled section A (no text or symbols beyond label)natural_image
Cross-sectional diagram of a mechanical assembly with labeled parts A and B (no text or symbols beyond labels)natural_image
3D rendering of a mechanical device with internal components and no visible text or symbolsnatural_image
Cross-sectional diagram of a mechanical component showing internal structure and labeled parts (A), no readable text or symbols present.natural_image
Technical illustration of a mechanical component with labeled point A, showing internal structure and alignment lines (no text or symbols beyond label)natural_image
Technical diagram of a mechanical component with labeled section A (no text or symbols beyond label)natural_image
Diagram of a mechanical assembly with labeled components A and B, showing linkage between two vertical components (no text or symbols beyond labels)natural_image
Cross-sectional diagram of a mechanical device showing internal components and directional arrows (no text or symbols)natural_image
3D mechanical assembly diagram showing a tool interacting with a bracket and handle (no text or symbols)text_image
Fig.22 F D G C C A B G Etext_image
Technical diagram showing a mechanical assembly with labeled components A and B, and directional arrows indicating motion or force vectors.natural_image
Cross-sectional diagram of a mechanical device showing internal components and labeled section A (no text or symbols beyond label)
natural_image
3D rendering of a mechanical component with a labeled section B (no text or symbols on the part itself)natural_image
3D mechanical assembly diagram showing a cylindrical component with labeled parts A and B, and a flange (no text or symbols beyond labels)natural_image
Cross-sectional diagram of a mechanical device showing internal components and labeled part A (no text or symbols present)natural_image
3D technical illustration of a mechanical housing or enclosure with internal components and labeled section A (no text or symbols beyond label)natural_image
3D cutaway view of a cylindrical device with internal components and a labeled component 'A' (no text or symbols beyond label)text_image
G H F E D A C Bnatural_image
3D rendered mechanical component with layered structure (no text or symbols visible)natural_image
Cross-sectional diagram of a mechanical device showing internal components and labeled part A (no text or symbols beyond label)Fig. 32

natural_image
Interior view of a mechanical device with labeled component A, showing internal components and mounting brackets (no text or symbols beyond label)natural_image
Architectural cross-section diagram showing structural components (no text or labels)text_image
Technical diagram showing a cross-sectional view of a mechanical or architectural component with labeled dimensions and features.natural_image
Cross-sectional diagram of a ceiling structure with pipes and ventilation duct (no text or labels)natural_image
Technical line drawing of a mechanical assembly with no visible text or symbols3.0 Veiligheid
natural_image
Technical drawing of a mechanical part with X and Y axis labels (no text or symbols within the diagram itself)
text_image
max 180° h e
text_image
max 90° d a4-4633-P11

text_image
h e
text_image
e f h g
text_image
1025
[Non-Text]
[Non-Text]
[Non-Text]
[Non-Text]
[Non-Text]
[Non-Text]
[Non-Text]
[Non-Text]
[Non-Text]
[Non-Text]
[Non-Text]
[Non-Text]

text_image
max 180° h e max 90° d a
text_image
Brandbare muur a b c d e lucht e lucht g at g h f e g
text_image
Brandbare muur a b c d e lucht e lucht g at g h
text_image
Brandbare muur a b c d e lucht e lucht g at g h
text_image
Brandbare muur a b c d e lucht e lucht g at g h
text_image
Brandbare muur a b c d e lucht e lucht g at g h
text_image
Brandbare muur a b c d e lucht e lucht 9 at g h
text_image
Brandbare muur a b c d e lucht e lucht g at g h f e g
text_image
Brandbare muur a b c d e lucht e lucht g at g h f e g
text_image
Brandbare muur a b c d e lucht e lucht g at g h f e g
text_image
Brandbare muur a b c d e lucht e lucht g at g h f e g
text_image
Brandbare muur a b c d e lucht e lucht g at g h f e g
text_image
Brandbare muur a b c d e lucht e lucht g at g h
text_image
Brandbare muur a b c d e lucht e lucht g at g h
text_image
Brandbare muur a b c d e lucht e lucht g at g h
text_image
Brandbare muur a b c d e lucht e lucht g at g h
text_image
Brandbare muur a b c d e lucht e lucht g at g h[Non-Text]
[Non-Text]
[Non-Text]
[Non-Text]
natural_image
Cross-sectional diagram of a cylindrical device with internal components, labeled A (no text or symbols beyond label)natural_image
Cross-sectional diagram of a mechanical assembly with labeled parts A and B (no text or symbols beyond labels)natural_image
3D rendering of a mechanical pipe assembly with internal components and no visible text or symbolsnatural_image
Cross-sectional diagram of a mechanical assembly showing internal components and labeled parts (A), no readable text or symbols present.natural_image
3D mechanical component diagram showing a curved structural frame with internal components and alignment lines (no text or symbols)natural_image
Technical diagram of a mechanical device with labeled component A (no text or symbols beyond label)natural_image
Mechanical assembly diagram showing a vertical rod connected to a curved panel, with labeled points A and B (no text or symbols beyond labels)text_image
Technical diagram of a cylindrical mechanical or electrical component with labeled parts A, B, and CJøtul F 376 – Glazen basis
natural_image
Cross-sectional diagram of a mechanical device showing internal components and structural layout (no text or symbols)natural_image
Mechanical assembly diagram showing a tool interacting with a bracket and handle (no text or symbols)text_image
F G C A B D C G Etext_image
Technical diagram showing a mechanical component with labeled parts A and B, and directional arrows indicating motion or force vectors.natural_image
Technical diagram of a mechanical component showing cross-sectional view A and top view with labeled parts B (no text or symbols beyond labels)natural_image
3D mechanical assembly diagram showing a cylindrical component with labeled parts A and B, and a flange (no text or symbols present)natural_image
Cross-sectional diagram of a mechanical device showing internal components and a labeled section (A), no text or symbols present.natural_image
3D technical illustration of a mechanical housing or enclosure with internal components and labeled section A (no text or symbols beyond label)natural_image
3D cutaway view of a cylindrical device with internal components and a labeled component 'A' (no text or symbols beyond label)text_image
G H F E D A C BStookopening, afb. 29 B
Ingeduwd: gesloten
Uitgetrokken: open
natural_image
3D rendered mechanical component with layered structure (no text or symbols visible)natural_image
Cross-sectional diagram of a mechanical device showing internal components and labeled section A (no text or symbols beyond label)Afb. 32

natural_image
Interior view of a mechanical device with labeled component A, showing internal components and housing (no text or symbols beyond label)Quality control of stoves and fireplaces
Jøtul pursue a policy of constant product development. Products supplied may therefore differ in specification, colour and type of accessories from those illustrated and described in the brochure.
Jøtul AS has a quality system that conforms to NS-EN ISO 9001 for product development, manufacturing, and distribution of stoves and fireplaces. This policy gives our customers quality and safety piece of mind as a result of Jøtul's vast experience dating back to when the company first started in 1853.
EasyManual 




