DANTE - Wood stove EXTRAFLAME - Free user manual and instructions
Find the device manual for free DANTE EXTRAFLAME in PDF.
User questions about DANTE EXTRAFLAME
0 question about this device. Answer the ones you know or ask your own.
Ask a new question about this device
Download the instructions for your Wood stove in PDF format for free! Find your manual DANTE - EXTRAFLAME and take your electronic device back in hand. On this page are published all the documents necessary for the use of your device. DANTE by EXTRAFLAME.
USER MANUAL DANTE EXTRAFLAME
WOODPRODUCTSUSERMANUAL
BENUTZERHANDBUCH HOLZPRODUKT
MANUEL UTILISATEUR PRODUITS À BOIS
MODULO DI ACCENSIONE. QUESTO MODULO DI ACCENSIONE SOSTITUISCE QUELLO DI CARTA O CARTONE.
During combustion, thermal energy is released that significantly increases the heat of surfaces, doors, handles, controls, glass, exhaust pipes, and even the front of the appliance. Avoid contact with those elements if not wearing protective clothing (protective gloves included). Make sure children are aware of the danger and keep them away from the stove during operation.
ENGLISH - CONTENTS
WARNING. 19
SAFETY. 19
GENERAL PRECAUTIONS 20
DECLARATION OF CONFORMITY OF THE MANUFACTURER 20
INSTALLATION REGULATIONS 20
FIRE SAFETY 22
IN A EMERGENCY 22
TECHNICAL DESCRIPTION 23
TECHNICAL DATA 24
FLUE 25
CHIMNEY POT. 25
CONNECTION TO THE CHIMNEY 25
VENTILATION AND AERATION OF THE INSTALLATION PREMISES. 26
CONNECTING A FIREPLACE OR OPEN HEARTH TO THE FLUE 26
ALLOWED / NOT ALLOWED FUELS 27
LIGHTING 28
LOW EMISSION FIRE LIGHTING 28
NORMAL OPERATION 29
OPERATION IN TRANSITION PERIODS 29
MAINTENANCE AND CARE 30
PERIODIC CLEANING UNDER USER'S RESPONSIBILITY 30
GLASS CLEANING. 30
CLEANING OUT THE ASHES 30
CLEANING THE FLUE 30
EPS CLEANING 31
MAJOLICAS (IF PRESENT) 31
PRODUCTS MADE OF NATURAL STONE (IF PRESENT) 31
VARNISHEDPRODUCTS(IFPRESENT) 31
ENAMELLEDPRODUCTS(IFPRESENT) 31
CHROMIUM-COMPONENTS (IF PRESENT) 31
SUMMER STOP 31
ROUTINE MAINTENANCE PERFORMED BY QUALIFIED TECHNICIANS 32
GASKETS 32
CONNECTION TO THE FLUE 32
CALCULATION OF THE THERMAL POWER 32
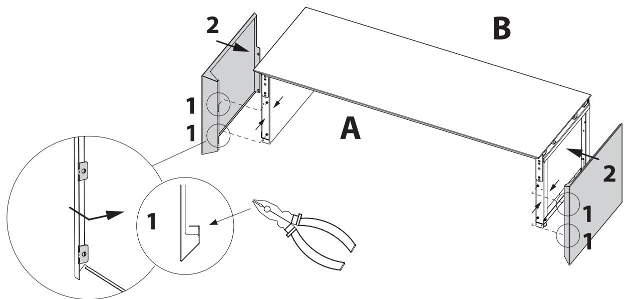
DANTE ASSEMBLY 83
DANTE WITH LOWER LOG HOLDER ASSEMBLY 85
DANTE WITH HORIZONTAL BENCH 87
DIMENSIONS SHEETS. 90
We thank you for having chosen our company; our product is a great heating solution developed from the most advanced technology with top quality machining and modern design, aimed at making you enjoy the fantastic sensation that the heat of a flame gives, in complete safety.
WARNING
THIS INSTRUCTIONS MANUAL IS AN INTEGRAL PART OF THE PRODUCT: MAKE SURE THAT IT ALWAYS ACCOMPANIES THE APPLIANCE, EVEN IF TRANSFERRED TO ANOTHER OWNER OR USER, OR IF TRANSFERRED TO ANOTHER PLACE. If it is damaged or lost, request another copy from the area technician. This product is intended for the use for which it has been expressly designed. The manufacturer is exempt from any liability, contractual and extracontractual, for injury/damage caused to persons/ animals and objects, due to installation, adjustment and maintenance errors and improper use.
INSTALLATION MUST BE PERFORMED BY QUALIFIED STAFF, WHICH ASSUMES COMPLETE RESPONSIBILITY FOR THE DEFINITIVE INSTALLATION AND CONSEQUENT GOOD FUNCTIONING OF THE PRODUCT INSTALLED. ONE MUST ALSO BEAR IN MIND ALL LAWS AND NATIONAL, REGIONAL, PROVINCIAL AND TOWN COUNCIL STANDARDS PRESENT IN THE COUNTRY IN WHICH THE APPLIANCE HAS BEEN INSTALLED, AS WELL AS THE INSTRUCTIONS CONTAINED IN THIS MANUAL.
THE MANUFACTURER CANNOT BE HELD RESPONSIBLE FOR THE FAILURE TO COMPLY WITH SUCH PRECAUTIONS.
After removing the packaging, ensure that the content is intact and complete. Otherwise, contact the dealer where the appliance was purchased.
All electric components that make up the product must be replaced with original spare parts exclusively by an authorised after-sales centre, thus guaranteeing correct functioning.
SAFETY
THE APPLIANCE MAY BE USED BY CHILDREN 8 YEARS OF AGE OR OLDER AND INDIVIDUALS WITH REDUCED PHYSICAL, SENSORY, OR MENTAL CAPACITIES OR WITHOUT EXPERIENCE OR THE NECESSARY KNOWLEDGE, PROVIDED THAT THEY ARE SUPERVISED OR HAVE RECEIVED INSTRUCTIONS ON SAFE USE OF THE APPLIANCE AND THAT THEY UNDERSTAND THE INHERENT DANGERS.
THE GENERATOR MUST NOT BE USED BY PERSONS (INCLUDING CHILDREN) WITH REDUCED PHYSICAL, SENSORY AND MENTAL CAPACITIES OR WHO ARE UNSKILLED PERSONS, UNLESS THEY ARE SUPERVISED AND TRAINED REGARDING USE OF THE APPLIANCE BY A PERSON RESPONSIBLE FOR THEIR SAFETY.
THE CLEANING AND MAINTENANCE REQUIRED BY THE USER MUST NOT BE PERFORMED BY CHILDREN WITHOUT SUPERVISION.
CHILDREN MUST BE CHECKED TO ENSURE THAT THEY DO NOT PLAY WITH THE APPLIANCE.
DO NOT TOUCH THE GENERATOR WHEN YOU ARE BAREFOOT OR WHEN PARTS OF THE BODY ARE WET OR DAMP.
THE SAFETY AND ADJUSTMENT DEVICES MUST NOT BE MODIFIED WITHOUT THE AUTHORISATION OR INDICATIONS OF THE MANUFACTURER.
DO NOT PULL, DISCONNECT, TWIST ELECTRIC CABLES LEAVING THE PRODUCT, EVEN IF DISCONNECTED FROM THE ELECTRIC POWER SUPPLY MAINS.
IT IS ADVISED TO POSITION THE POWER SUPPLY CABLE SO THAT IT DOES NOT COME INTO CONTACT WITH HOT PARTS OF THE APPLIANCE.
- DO NOT CLOSE OR REDUCE THE DIMENSIONS OF THE AIRING VENTS IN THE PLACE OF INSTALLATION. THE AIRING VENTS ARE ESSENTIAL FOR CORRECT COMBUSTION.
DO NOT LEAVE THE PACKAGING ELEMENTS WITHIN REACH OF CHILDREN OR UNASSISTED DISABLED PERSONS.
THE HEARTH DOOR MUST ALWAYS BE CLOSED DURING NORMAL FUNCTIONING OF THE PRODUCT.
WHEN THE APPLIANCE IS FUNCTIONING AND HOT TO THE TOUCH, ESPECIALLY ALL EXTERNAL SURFACES, ATTENTION MUST BE PAID
CHECK FOR THE PRESENCE OF ANY OBSTRUCTIONS BEFORE SWITCHING THE APPLIANCE ON FOLLOWING A PROLONGED PERIOD OF INACTIVITY.
THE GENERATOR HAS BEEN DESIGNED TO FUNCTION IN ANY CLIMATIC CONDITION. IN PARTICULARLY ADVERSE CONDITIONS (STRONG WIND, FREEZING) SAFETY SYSTEMS MAY INTERVENE THAT SWITCH THE GENERATOR OFF. IF THIS OCCURS, CONTACT THE TECHNICAL AFTER-SALES SERVICE AND ALWAYS DISABLE THE SAFETY SYSTEMS.
IN THE EVENT THE FLUE CATCHES FIRE, USE SUITABLE SYSTEMS FOR SUFFOCATING THE FLAMES OR REQUEST HELP FROM THE FIRE BRIGADE.
THIS APPLIANCE MUST NOT BE USED TO BURN WASTE
DO NOT USE ANY FLAMMABLE LIQUIDS FOR IGNITION
THE MAJOLICAS ARE TOP QUALITY ARTISAN PRODUCTS AND AS SUCH CAN HAVE MICRO-DOTS, CRACKLES AND CHROMATIC IMPERFECTIONS. THESE FEATURES HIGHLIGHT THEIR VALUABLE NATURE. DUE TO THEIR DIFFERENT DILATION COEFFICIENT, THEY PRODUCE CRACKLING, WHICH DEMONSTRATE THEIR EFFECTIVE AUTHENTICITY. TO CLEAN THE MAJOLICAS, IT IS RECOMMENDED TO USE A SOFT, DRY CLOTH. IF A DETERGENT OR LIQUID IS USED, THE LATTER COULD PENETRATE INSIDE THE CRACKLES, HIGHLIGHTING THEM.
GENERAL PRECAUTIONS
La NORDICA S.p.A. responsibility is limited to the supply of the appliance.
THE INSTALLATION MUST BE CARRIED OUT SCRUPULOUSLY ACCORDING TO THE INSTRUCTIONS PROVIDED IN THIS MANUAL AND THE RULES OF THE PROFESSION. INSTALLATION MUST ONLY BE CARRIED OUT BY A QUALIFIED TECHNICIAN WHO WORKS ON BEHALF OF COMPANIES SUITABLE TO ASSUME THE ENTIRE RESPONSIBILITY OF THE SYSTEM AS A WHOLE.
La NORDICA S.p.A. DECLINES ANY RESPONSIBILITY FOR THE PRODUCT THAT HAS BEEN MODIFIED WITHOUT WRITTEN AUTHORIZATION AS WELL AS FOR THE USE OF NON-ORIGINAL SPARE PARTS.
THIS APPLIANCE IS NOT SUITABLE FOR THE USE OF INEXPERIENCED PEOPLE (INCLUDED CHILDREN) OR WITH PHYSICAL, SENSORIAL AND MENTAL REDUCED CAPACITIES. THEY HAVE TO BE CONTROLLED AND EDUCATED IN THE USE OF THE APPLIANCE FROM A RESPONSIBLE PERSON FOR THEIR SECURITY. THE CHILDREN HAVE TO BE CONTROLLED TO BE SURE THAT THEY WOULD NOT PLAY WITH THE APPLIANCE. (EN 60335-2-102/7.12).
IT IS OBLIGATORY TO RESPECT THE NATIONAL AND EUROPEAN RULES, LOCAL REGULATIONS CONCERNING BUILDING MATTER AND ALSO FIREPROOF RULES.

NO MODIFICATIONS CAN BE CARRIED OUT TO THE APPLIANCE. La NORDICA S.p.A. cannot be held responsible for lack of respect for such precautions.
DECLARATION OF CONFORMITY OF THE MANUFACTURER
OBJECT: ABSENCE OF ASBESTOS AND CADMIUM
WE DECLARE THAT THE MATERIALS USED FOR THE ASSEMBLY OF ALL OUR APPLIANCES ARE WITHOUT ASBESTOS PARTS OR ASBESTOS DERIVATES AND THAT IN THE MATERIAL USED FOR WELDING, CADMIUM IS NOT PRESENT, AS PREScribed IN RELEVANT NORM.
OBJECT: CE N. 1935/2004 REGULATION.
WE DECLARE THAT IN ALL PRODUCTS WE PRODUCE, THE MATERIALS WHICH WILL GET IN TOUCH WITH FOOD ARE SUITABLE FOR ALIMENTARY USE, ACCORDING TO THE A.M. CE REGULATION.
INSTALLATION REGULATIONS
INSTALLATION OF THE PRODUCT AND AUXILIARY EQUIPMENT IN RELATION TO THE HEATING SYSTEM MUST COMPLY WITH ALL CURRENT STANDARDS AND REGULATIONS AND TO THOSE ENVIRONMENTED BY THE LAW.
THE INSTALLATION AND THE RELATING TO THE CONNECTIONS OF THE SYSTEM, THE COMMISSIONING AND THE CHECK OF THE CORRECT FUNCTIONING MUST BE CARRIED OUT IN COMPLIANCE WITH THE REGULATIONS IN FORCE BY AUTHORISED PROFESSIONAL PERSONNEL WITH THE REQUISITES REQUIRED BY THE LAW, BEING NATIONAL, REGIONAL, PROVINCIAL OR TOWN COUNCIL PRESENT IN THE COUNTRY WITHIN WHICH THE APPLIANCE IS INSTALLED, BESIDES THESE PRESENT INSTRUCTIONS.
INSTALLATION MUST BE CARRIED OUT BY AUTHORISED PERSONNEL WHO MUST PROVIDE THE BUYER WITH A SYSTEM DECLARATION OF CONFORMITY AND WILL ASSUME FULL RESPONSIBILITY FOR FINAL INSTALLATION AND AS A CONSEQUENCE THE CORRECT FUNCTIONING OF THE INSTALLED PRODUCT. Before installing the appliance, carry out the following checks:
- Verify if your structure can support the weight of the appliance. In case of insufficient carrying capacity it is necessary to adopt appropriate measures, La NORDICA responsibility is limited to the supply of the appliance (See chapter TECHNICAL DESCRIPTION).
- Make sure that the floor can support the weight of the appliance, and if it is made of flammable material, provide suitable insulation (DIMENSIONS ACCORDING TO REGIONAL REGULATIONS).
- Make sure that there is adequate ventilation in the room where the appliance is to be installed.
- DO NOT INSTALL THE APPLIANCE IN ROOMS CONTAINING COLLECTIVE VENTILATION DUCTS, HOODS WITH OR WITHOUT EXTRACTOR, TYPE B GAS APPLIANCES, HEAT PUMPS, OR OTHER APPLIANCES THAT, OPERATING AT THE SAME TIME, CAN PUT THE ROOM IN DEPRESSION (ref. UNI 10683 standard)
- Make sure that the flue and the pipes to which the appliance will be connected are suitable for its operation. It is NOT allowed the connection of various appliances to the same chimney.
- The diameter of the opening for connection to the chimney must at least correspond to the diameter of the flue gas pipe. The opening must be equipped with a wall connection for the insertion of the exhaust pipe and a rosette.
- Always leave the recommended air pocket between the appliance and the walls, rear and side min. (see DECLARATION OF PERFORMANCE).
- Establish the type of ventilation (natural or forced) see chapter VENTILATION HOOD OR ADJACENT LOCAL.
- By means of the adjustable feet and using a level make sure that the device is perfectly levelled to allow a correct sliding of the door.

AFTER TESTING THE PROPER WORKING OF THE APPLIANCE, SOME DAYS FROM THE INSTALLATION, IT IS POSSIBLE TO PROCEED WITH THE CONSTRUCTION OF ITS AESTHETIC COVERING.
WARNING - DURING THE SURROUND BUILDING OPERATIONS IT MUST KEPT IN MIND POSSIBLE AND SUBSEQUENT ELECTRICAL INSTALLED PARTS MAINTENANCE (FANS, TEMPERATURE PROBE, ETC) AND WITH HYDRAULIC SYSTEMS ALL PARTS CONNECTED TO THE PRODUCT.

WARNING - WHEN INSTALLING INSERTS, ACCESS MUST BE PREVENTED TO THE INTERNAL PARTS OF THE APPLIANCE AND IT MUST NOT BE POSSIBLE TO ACCESS LIVE PARTS DURING EXTRACTION OPERATIONS. ANY WIRING, FOR EXAMPLE THE POWER CABLE OR ROOM PROBE, MUST BE POSITIONED SO AS NOT TO BE DAMAGED DURING MOVEMENT OF THE INSERT AND MUST NOT COME INTO CONTACT WITH HOT PARTS.

La NORDICA S.p.A. DECLINES ALL RESPONSIBILITY FOR DAMAGE TO THINGS AND/OR PERSONS CAUSED BY THE SYSTEM. IN ADDITION, IT IS NOT RESPONSIBLE FOR ANY PRODUCT MODIFIED WITHOUT AUTHORISATION AND EVEN LESS FOR THE USE OF NON ORIGINAL SPARE PARTS.
YOUR REGULAR LOCAL CHIMNEY SWEEP MUST BE INFORMED ABOUT THE INSTALLATION OF THE APPLIANCE SO THAT HE CAN CHECK THE CORRECT CONNECTION TO THE CHIMNEY.
FIRE SAFETY
WHEN INSTALLING THE PRODUCT, THE FOLLOWING SAFETY MEASURES MUST BE OBSERVED:
a) In order to ensure sufficient thermal insulation, respect the minimum safety distance from objects or furnishing components flammable and sensitive to heat (furniture, wood sheathings, fabrics. etc.) and from materials with flammable structure (see Picture 4 - A). ALL THE MINIMUM SAFETY DISTANCES ARE SHOWN ON THE PRODUCT DATA PLATE AND LOWER VALUES MUST NOT BE USED (see DECLARATION OF PERFORMANCE ).
b) In front of the furnace door, in the radiation area there must be no flammable or heat-sensitive objects or material at a distance of less than Picture 4 - A. This distance can be reduced to 40~cm where a rear-ventilated, heat-resistant protection device is installed in front of the whole component to protect.
c) IF THE PRODUCT IS INSTALLED ON A NONTOTALLY REFRACTORY FLOOR, ONE MUST FORESEE A FIREPROOF BACKGROUND. THE FLOORS MADE OF INFLAMMABLE MATERIAL, such as moquette, parquet or cork etc., MUST BE COVERED BY A LAYER OF NO-INFLAMMABLE MATERIAL, for instance ceramic, stone, glass or steel etc. (size according to regional law). The base must extend at least 50 cm at the front and at least 30 cm at the sides, in addition to the opening of the loading door (see Picture 4 - B).
D) NO FLAMMABLE COMPONENTS (e.g. wall units) MUST BE PRESENT ABOVE THE PRODUCT.
THE PRODUCT MUST ALWAYS OPERATE EXCLUSIVELY WITH THE ASH DRAWER INSERTED. THE SOLID COMBUSTION RESIDUES (ASH) MUST BE COLLECTED IN A SEATED, FIRE RESISTANT CONTAINER. THE PRODUCT MUST NEVER BE ON IN THE PRESENCE OF GASEOUS EMISSIONS OR VAPOURS (FOR EXAMPLE GLUE FOR LINOLEUM, PETROL ETC.). NEVER DEPOSIT FLAMMABLE MATERIALS NEAR THE PRODUCT.

DURING COMBUSTION, THERMAL ENERGY IS RELEASED WHICH LEADS TO CONSIDERABLE HEATING OF THE SURFACES, DOORS, HANDLES, CONTROLS, GLASS PARTS, THE FLUE GAS PIPE AND POSSIBLY THE FRONT PART OF THE APPLIANCE. AVOID CONTACT WITH THESE ELEMENTS UNLESS USING SUITABLE PROTECTIVE CLOTHING OR ACCESSORIES (HEAT RESISTANT GLOVES, CONTROL DEVICES).
ENSURE CHILDREN ARE AWARE OF THESE DANGERS AND KEEP THEM AWAY FROM THE FURNACE WHEN IT IS ON.
WHEN USING THE WRONG FUEL OR ONE WHICH IS TOO DAMP, DUE TO DEPOSITS PRESENT IN THE FLUE, A FLUE FIRE IS POSSIBLE.
IN A EMERGENCY
IF THERE IS A FIRE IN THE FLUE CONNECTION :
a) Close the loading door and the ash drawer door
b) Close the comburent air registers
c) Use carbon dioxide ( CO2 powder ) extinguishers to put out the fire
d) Request the immediate intervention of the Fire Brigade

DO NOT PUT OUT THE FIRE WITH WATER.
WHEN THE FLUE STOPS BURNING, HAVE IT CHECKED BY A SPECIALIST TO IDENTIFY ANY CRACKS OR PERMEABLE POINTS.
TECHNICAL DESCRIPTION
The appliance La Nordica is suitable to heat living spaces for some periods.
AS FUEL, WOOD LOGS ARE USED. THE APPLIANCE WORKS AS AN INTERMITTENT OPERATING APPLIANCE.
The appliance is made up of a steel chamber completely soldered and hermetic.
The hearth is totally sheathed with single cast-iron sheets and refractory plates (NORDIKER). Its back is extractable. Thanks to calibrated holes, made on the same back, it is guaranteed a supply of pre-heated air inside the hearth, thus obtaining a post-combustion which increases the efficiency and reduces the emission of the unburnt gases. Inside it there is a turning and extractable grate. The inside smoke plate, reflects the fire radiation and increases the internal temperature of the combustion chamber. This process together with the exhaust gases flows, makes optimal the combustion and improves the efficiency (see Picture 11).
The hearth is equipped with a panoramic door with ceramic glass (resistant up to 700^ ). This allows a wonderful view on the burning flames.
Furthermore, it is thus avoided the output of sparks and smoke.
Below the hearth door will be found an extractable ash-drawer with a closing door.
THE HEATING OF THE ENVIRONMENT IS MADE BY IRRADIATION: through the panoramic glass and the external hot surfaces of the stove, the heat is radiated into the environment (See chapter CALCULATION OF THE THERMAL POWER).
| ACCESSORIES | POKER | GLOVE | HORIZONTAL BENCH |
| SERIES | SERIES | OPTIONAL |
THE OPENINGS FOR THE COMBUSTION AIR (PRIMARY AND SECONDARY) ARE MANAGED BY ONE SINGLE REGISTER.
SINGLE register PRIMARY air and SECONDARY air (Picture 6).
The lever to adjust the combustion air is located underneath the fire-door
With the air register located under the door of the hearth, it is possible to adjust the air flow through the ash drawer and the grating in direction of the fuel.
The air is necessary for the combustion process during the ignition. The ash drawer has to be emptied regularly, so that ash cannot hinder the intake of air for the combustion. The air is also necessary to keep fire live.
With the lever totally PULLED OUT the SECONDARY airflow is CLOSED and the PRIMARY airflow is OPEN; with the lever totally IN the PRIMARY airflow is CLOSED and the SECONDARY airflow is OPEN.
THE ADJUSTMENT OF THE REGISTERS NECESSARY TO REACH THE RATED CALORIFIC YIELD is the following one:
| Hourly wood consumption in kg/h | Combustion air | TERTIARY AIR | |
| DANTE | 2,39 | Picture 6 - B | PRE-ADJUSTED |
| DANTE con PORTALEGNA with lower log holder | 2,39 | Picture 6 - B | PRE-ADJUSTED |

It is possible to get the combustion air directly from outside through a flexible tube fireproof NOT furnished (see chapter VENTILATION AND AERATION OF THE INSTALLATION PREMISES).
TECHNICAL DATA
| TECHNICAL DATA | DANTE | DANTE con PORTALEGNA |
| Definition in accordance with EN | EN 13240 | EN 13240 |
| Constructive system | 1 | 1 |
| Nominal power in kW | 8,8 | 8,8 |
| Efficiency in % | 85,5 | 85,5 |
| Smoke outlet diameter in mm | 160 | 160 |
| Chimney height ≥ (m) - dimension (mm) | (*) 6 - 200x200 Ø200 | (*) 6 - 200x200 Ø200 |
| Chimney draught in Pa (mm H2O) | 11 (1,1 mm H2O) | 11 (1,1 mm H2O) |
| Hourly wood consumption in kg / h (wood with 20% humidity) | 2,39 | 2,39 |
| CO measured at 13% oxygen in % | 0,068 - 848 mg/m3 | 0,068 - 848 mg/m3 |
| Exhaust gas emission in g/s – wood | 7,6 | 7,6 |
| Exhaust gas temperature in °C – wood | 195 | 195 |
| Hearth opening size in mm (W x H) | 626 x 278 | 626 x 278 |
| Hearth size in mm (W x H x D) | 652 x 295 x 350 | 652 x 295 x 350 |
| Oven size in mm (W x H x D) | / | / |
| Type of grill | Flat | |
| Height in mm | 1055 | 1480 |
| Width in mm | 822 | 822 |
| Depth in mm | 550 | 553 |
| Weight in kg | 158 | 183 |
| Fire prevention safety distances | Chapter FIRE SAFETY | |
| heatable m3 (30 kcal/h x m3) | 252 (**) | 252 (**) |
() The proposed value are indicative. The installation must, in any case, be sized and verified according to the general calculation method in UNI EN13384-1 or by another method of proven efficiency.
() For those buildings in which the thermal insulation does not correspond to the instructions on heat protection, the heating volume of the product is: favourable type of building (30 kcal/h x m³); less favourable type of building (40 kcal/h x m³); unfavourable type of building (50 kcal/h x m³).
With thermal insulation in accordance with the regulations regarding energy saving, the heated volume is greater. With temporary heating, in the event of interruptions which last more than 8 hours, the heating capacity is reduced by about 25% .

THE DECLARED TECHNICAL DATA HAVE BEEN ACHIEVED BY BURNING BEECH WOOD CLASS "A1" ACCORDING TO THE REQUIREMENT UNI EN ISO 17225-5 AND WOOD MOISTURE CONTENT LESS THAN 20% . BY BURNING A DIFFERENT KIND OF WOOD THE EFFICIENCY OF THE PRODUCT ITSELF COULD CHANGE AND SOME SPECIFIC ADJUSTMENTS ON THE APPLIANCE COULD BE NEEDED.
FLUE
ESSENTIAL REQUIREMENTS FOR CORRECT APPLIANCE OPERATION:
- the internal section must preferably be circular;
- the appliance must be thermally insulated and impermeable and built with suitable materials which are resistant to heat, combustion products and any condensation;
- there must be no narrowing and vertical passages with deviations must not be greater than 45^ ;
- if already used, it must be clean;
- all the sections of the flue gas duct must be accessible to inspection;
- inspection openings must be provided for cleaning.
- the technical data from the instruction manual must be respected;
IF THE FLUES ARE OF A SQUARE OR RECTANGULAR SECTION, THE INTERNAL EDGES MUST BE ROUNDED WITH A RADIUS OF NOT LESS THAN 20 MM. FOR THE RECTANGULAR SECTION, THE MAXIMUM RATIO BETWEEN THE SIDES MUST BE ≤ 1.5 .
A section which is too small causes a reduction in draught. A minimum height of 4m is advisable.
The following materials are FORBIDDEN and compromise the good operation of the appliance: asbestos cement, galvanised steel, rough and porous internal surfaces. Picture 1 shows some example solutions.

FOR A CORRECT INSTALLATION PLEASE RESPECT THE SECTIONS/LENGTHS OF THE FLUE SHOWN IN THE TECHNICAL DATA TABLE. BY INSTALLATIONS WITH DIFFERENT DIMENSIONS THE FLUE MUST BE SUITABLY SIZED IN ACCORDANCE WITH EN13384-1.
THE DRAUGHT CREATED BY YOUR FLUE MUST BE SUFFICIENT BUT NOT EXCESSIVE.
A section of the flue which is too large can present a volume which is too large to heat and therefore cause operating difficulties for the appliance; to avoid this, it is necessary to intubate the appliance for its entire height. A section which is too small causes a reduction in draught.

ATTENTION: AS FAR AS CONCERN THE REALISATION OF THE FLUE CONNECTION AND FLAMMABLE MATERIALS PLEASE FOLLOW THE REQUIREMENTS PROVIDED BY UNI 10683 STANDARD. THE FLUE MUST BE AT A SUITABLY DISTANCE FROM FLAMMABLE OR COMBUSTIBLE MATERIAL USING SUITABLE INSULATION OR AN AIR SPACE.
IT IS FORBIDDEN TO PASS SYSTEM PIPING OR AIR DUCTS INSIDE THE FLUE. IT IS ALSO FORBIDDEN TO CREATE MOVEABLE OR FIXED OPENINGS ON THE FLUE ITSELF, FOR THE CONNECTION OF FURTHER DIFFERENT APPLIANCES (See Chapter CONNECTING A FIREPLACE OR OPEN HEARTH TO THE FLUE).
CHIMNEY POT
THE FLUE DRAUGHT DEPENDS ON THE SUITABILITY OF THE CHIMNEY POT.
IT IS THEREFORE ESSENTIAL THAT, IF BUILT IN A HANDCRAFTED WAY, THE EXIT SECTION IS MORE THAN TWICE THE INTERNAL SECTION OF THE FLUE (Picture 2).
As it must always go past the ridge of the roof, the chimney pot must ensure exhaust even in the presence of wind (Picture 3).
The chimney pot must meet the following requirements:
- Have an internal section equivalent to that of the chimney.
- Have a useful exit section of double the internal section of the flue.
- Be built so as to prevent rain, snow or any foreign body entering the flue.
- Be easy to inspect, for any maintenance and cleaning operations.
CONNECTION TO THE CHIMNEY
Products with automatic door closing (type 1) must operate, for safety reasons, with the furnace door closed (except during the fuel loading or ash removal phases).
Products with non-automatic door closing (type 2) must be connected to their own flue.
Operation with doors open is only allowed when supervised.
THE CONNECTION PIPE TO THE FLUE MUST BE AS SHORT AS POSSIBLE, STRAIGHT HORIZONTAL AND POSITIONED SLIGHTLY IN ASCENT, AND WATERTIGHT.
CONNECTION MUST BE CARRIED OUT WITH STABLE AND ROBUST PIPES, COMPLY WITH ALL CURRENT STANDARDS AND REGULATIONS AND TO THOSE ENVIRONMENTED BY THE LAW, AND BE HERMETICALLY SECURED TO THE FLUE.
The internal diameter of the connection pipe must correspond to the external diameter of the appliance flue gas exhaust stub pipe (DIN 1298).

ATTENTION: AS FAR AS CONCERN THE REALISATION OF THE FLUE CONNECTION AND FLAMMABLE MATERIALS PLEASE FOLLOW THE REQUIREMENTS PROVIDED BY UNI 10683 STANDARD. THE FLUE MUST BE PROPERLY SPACED FROM ANY FLAMMABLE MATERIALS OR FUELS THROUGH A PROPER INSULATION OR AN AIR CAVITY. MINIMUM DISTANCE SAFETY 25 CM.
The chimney pressure (DRAUGHT) must be at least - Pascal (see chap. TECHNICAL DATA SHEET). The measurement has always to be carried out with hot device (rated thermal performance).
When the depression exceeds 17 Pa (= 1.7mm of column of water), it is necessary to reduce the same by installing an additional draught
regulator (butterfly valve) on the exhaust pipe or in the chimney, according to the regulations in force.

FOR CORRECT APPLIANCE OPERATION, IT IS ESSENTIAL THAT SUFFICIENT AIR FOR COMBUSTION IS INTRODUCED INTO THE PLACE OF INSTALLATION (see paragraph VENTILATION AND AERATION OF THE INSTALLATION PREMISES).
CONNECTING A FIREPLACE OR OPEN HEARTH TO THE FLUE
The flue gas channel is the stretch of piping which connects the product to the flue. In the connection, these simple but extremely important principles must be respected:
- UNDER NO CIRCUMSTANCES USE A FLUE GAS CHANNEL WITH A DIAMETER LESS THAN THAT OF THE EXHAUST CLAMP WITH WHICH THE PRODUCT IS EQUIPPED;
- EACH METRE OF THE HORIZONTAL STRETCH OF THE FLUE GAS CHANNEL CAUSES A SLIGHT LOSS OF HEAD WHICH MUST BE COMPENSATED IF NECESSARY BY ELEVATING THE FLUE;
- THE HORIZONTAL STRETCH MUST NEVER EXCEED 2 METRES (UNI 10683);
- EACH BEND OF THE FLUE GAS CHANNEL SLIGHTLY REDUCES THE FLUE DRAUGHT WHICH MUST BE COMPENSATED IF NECESSARY BY ELEVATING IT SUITABLY;
- THE UNI 10683 - ITALY REGULATION REQUIRES THAT UNDER NO CIRCUMSTANCES MUST THERE BE MORE THAN 2 BENDS OR VARIATIONS IN DIRECTION INCLUDING THE INTAKE INTO THE FLUE.
If the user wishes to use the flue as a fireplace or open hearth, it is necessary to seal the hood below the entrance point of the flue gas channel pos. A Picture 5.
If the flue is then too big (e.g. 30 × 40 ~cm or 40 × 50 ~cm ), it is necessary to intubate it with a stainless steel tube with a diameter of at least 200 ~mm , pos. B, taking care to close the remaining spaces between the pipe and the flue immediately under the chimney pot pos. C.
VENTILATION AND AERATION OF THE INSTALLATION PREMISES
AS THE PRODUCT DRAW THEIR COMBUSTION AIR FROM THE PLACE OF INSTALLATION, IT IS MANDATORY THAT IN THE PLACE ITSELF, A SUFFICIENT QUANTITY OF AIR IS INTRODUCED. IF WINDOWS AND DOORS ARE AIRTIGHT (E.G. BUILT ACCORDING TO ENERGY SAVING CRITERIA), IT IS POSSIBLE THAT THE FRESH AIR INTAKE IS NO LONGER GUARANTEED AND THIS JEOPARDISES THE DRAUGHT OF THE APPLIANCE AND YOUR HEALTH AND SAFETY.
IMPORTANT: For a better comfort and corresponding oxygenation of environment, the combustion air can be directly withdrawn at the outside through a junction which is to be connected with a flexible pipe. The connection pipe (not furnished) must be flat with a minimum diameter of Picture 10, a maximum length of 3m and with no more than 3 bends. If there is a direct connection with the outside it must be endowed with a special windbreak.
THERE MANDATORY BE SUFFICIENT QUANTITY OF AIR FOR COMBUSTION AND RE-OXYGENATION OF THE ROOM TO ENSURE THE DEVICE WILL WORK PROPERLY. There should therefore be vents letting air in from outside the building and enabling circulation of air for combustion even when the doors and windows are closed.
The air inlets must meet the following requirements:
- THEY MUST BE PROTECTED WITH GRIDS, METAL MESH, ETC., BUT WITHOUT REDUCING THE NET USEFUL SECTION;
- THEY MUST BE MADE SO AS TO MAKE THE MAINTENANCE OPERATIONS POSSIBLE;
- POSITIONED SO THAT THEY CANNOT BE OBSTRUCTED;
- ANY EXTRACTOR HOODS IN THE ROOM WHERE THE DEVICE IS INSTALLED MUST NOT OPERATE AT THE SAME TIME as this could cause smoke to enter the room, even with the fireplace's door closed.
The clean and non-contaminated air flow can also be obtained from a room adjacent to that of installation (indirect aeration and ventilation), as long as the flow takes place freely through permanent openings communicating with the outside.
THE ADJACENT ROOM CANNOT BE USED AS A GARAGE, OR TO STORE COMBUSTIBLE MATERIAL OR FOR ANY OTHER ACTIVITY WITH A FIRE HAZARD, BATHROOM, BEDROOM OR COMMON ROOM OF THE BUILDING.
Ventilation is deemed sufficient when the room is equipped with air inlets according to the table:
| Appliance categories | Reference standard | Percentage of the net opening section with respect to the appliance fumes outlet section | Minimum net opening value of the ventilation duct |
| Fireplaces | UNI EN 13229 | 50% | 200 cm2 |
| Stoves | UNI EN 13240 | 50% | 100 cm2 |
| Cookers | UNI EN 12815 | 50% | 100 cm2 |

INSTALLATION IN PREMISES WITH FIRE HAZARDS IS FORBIDDEN. INSTALLATION IN RESIDENTIAL PREMISES IN WHICH, IN ANY CASE, THE DEPRESSION MEASURED DURING INSTALLATION BETWEEN THE INTERNAL AND EXTERNAL ENVIRONMENT IS GREATER THAN 4 PA - REFERENCE FOR ITALY ACCORDING TO STANDARD UNI10683.
ALL NATIONAL, REGIONAL, PROVINCIAL AND MUNICIPAL LAWS AND STANDARDS IN FORCE IN THE COUNTRY WHERE THE APPLIANCE IS INSTALLED MUST BE COMPLIED WITH.
ALLOWED / NOT ALLOWED FUELS
Allowed fuels are logs. Use exclusively dry logs (max. content of water 20% ). Maximum 3 logs should be loaded. The pieces of wood should have a length of ca. 20-30 cm and a maximum circumference of 30-35 cm.
COMPRESED NOT WORKED-OUT WOOD BRIQUETTES MUST BE USED CAREFULLY TO AVOID OVERHEATING THAT MAY DAMAGE THE DEVICE, SINCE THESE HAVE A VERY HIGH CALORIFIC VALUE.
The wood used as fuel must have a humidity content lower than the 20% and must be stored in a dry place. Humid wood tends to burn less easily, since it is necessary a greater quantity of energy to let the existing water evaporate. Moreover, humid content involves the disadvantage that, when temperature decreases, the water condensates earlier in the hearth and therefore in the stack causing a remarkable deposit of soot with following possible risk of fire of the same.
Fresh wood contains about 60% of H_2O_t therefore it is not suitable to be burnt.
It is necessary to place this wood in a dry and ventilated place (for example under a roofing) for at least two years before using it.
BESIDES OTHERS, IT IS NOT POSSIBLE TO BURN: CARBON, CUTTINGS, WASTE OF BARK AND PANELS, HUMID WOOD OR WOOD TREATED WITH PAINTS, PLASTIC MATERIALS; IN THIS CASE, THE WARRANTY ON THE DEVICE BECOMES VOID.
PAPER AND CARDBOARD MUST BE USED ONLY TO LIGHT THE FIRE.
THE COMBUSTION OF WASTE IS FORBIDDEN ANDWOULD EVEN DAMAGE THE APPLIANCE AND THE FLUE,CAUSING HEALTH DAMAGES ANDCLAIMS BY THE NEIGHBORHOOD OWING TO THE BAD SMELL.
The wood is not a fuel which allows a continuous operation of the appliance, as consequence the heating all over the night is not possible.
| Variety | kg/mc | kWh/kg moistness 20% |
| Beech | 750 | 4,0 |
| Oak | 900 | 4,2 |
| Elm | 640 | 4,1 |
| Poplar | 470 | 4,1 |
| Larch* | 660 | 4,4 |
| Spruce* | 450 | 4,5 |
| Scots pine * | 550 | 4,4 |
- RESINOUS WOOD NOT RECOMMENDED

ATTENTION : THE CONTINUOUS AND PROTRACTED USE OF AROMATIC WOOD (EUCALYPTUS, MYRTLE ETC.) QUICKLY DAMAGES THE CAST IRON PARTS (CLEAVAGE) OF THE PRODUCT.
The declared technical data have been achieved by burning beech wood class "A1" according to the requirement UNI EN ISO 17225-5 and wood moisture content less than 20% . By burning a different kind of wood the efficiency of the product itself could change and some specific adjustments on the appliance could be needed.
LIGHTING

WARNING: After the first ignition you can smell bad odours (owing to the drying of the glue used in the garnitures or of the paint) which disappear after a brief using of the appliance.
IT MUST BE EnsURED, IN ANY CASE, A GOOD VENTILATION OF THE ENVIRONMENT. UPON THE FIRST IGNITION WE SUGGEST LOADING A REDUCED QUANTITY OF FUEL AND SLIGHTLY INCREASING THE CALORIFIC VALUE OF THE EQUIPMENT.
IT IS FORBIDDEN TO USE ANY LIQUID SUBSTANCE AS FOR EX. ALCOHOL, GASOLINE, OIL AND SIMILAR.
NEVER SWITCH ON THE DEVICE WHEN THERE ARE COMBUSTIBLE GASES IN THE ROOM.
To perform a correct first lighting of the products treated with paints for high temperature, it is necessary to know the following information:
- The construction materials of the involved products are not homogeneous, in fact there are simultaneously parts in cast iron, steel, refractory material and majolica;
- The temperature to which the body of the product is subject is not homogeneous: from area to area, variable temperatures within the range of 300^ - 500^ are detected;
- During its life, the product is subject to alternated lighting and extinguishing cycles in the same day, as well as to cycles of intense use or of absolute standstill when season changes;
- The new appliance, before being considered seasoned has to be subject to many start cycles to allow all materials and paints to complete the various elastic stresses;
- In detail, initially it is possible to remark the emission of smells typical of metals subject to great thermal stress, as well as of wet paint.
Therefore, it is extremely relevant to take these easy steps during the lighting:
- Make sure that a strong air change is assured in the room where the appliance is installed.
- During the first starts, do not load excessively the combustion chamber (about half the quantity indicated in the instructions manual) and keep the product continuously ON for at least 6-10 hours with the registers less open than the value indicated in the instructions manual.
- Repeat this operation for at least 4-5 or more times, according to your possibilities.
- Then load more and more fuel (following in any case the provisions contained in the installation booklet concerning maximum load) and, if possible, keep the lighting periods long avoiding, at least in this initial phase, short ON/OFF cycles.
- DURING THE FIRST STARTS, NO OBJECT SHOULD BE LEANED ON THE APPLIANCE AND IN DETAIL ON ENAMELLED SURFACES. ENAMELLED SURFACES MUST NOT BE TOUCHED DURING HEATING.
- Once the «break-in» has been completed, it is possible to use the product as the motor of a car, avoiding abrupt heating with excessive loads.
To light the fire, it is suggested to use small wood pieces together with paper or other traded lighting means.
The openings for the combustion air (primary and secondary) are managed by one single register.
During the lighting phase place the register all in as shown in Picture 6 - B (secondary air completely open and primary air completely closed), you must open also the eventual butterfly valve on the smoke pipe.
When the wood starts burning, check the combustion by adjusting the register as indicated in Picture 7.
Later, wood loading is possible by slowly opening the door to avoid smoke exit. NEVER LEAVE THE APPLIANCE UNATTENDED during this phase!

NEVER OVERLOAD THE APPLIANCE (SEE CAP. TECHNICAL DESCRIPTION / HOURLY CONSUMPTION).太O MUCH FUEL AND TOOMUCH AIR FOR COMBUSTION CAN CAUSE OVERHEATING AND THEREFORE DAMAGE THE APPLIANCE. THE WARRANTY DOES NOT COVER THE DAMAGES DUE TO OVERHEATING OF THE EQUIPMENT.
LOW EMISSION FIRE LIGHTING
Smokeless combustion is a way of lighting a fire able to significantly reduce the emission of harmful substances. The wood burns gradually from the top downwards, so combustion is slower and more controlled. Burnt gases pass through the high temperatures of the flame and therefore burn almost completely.
Place the logs in the hearth a certain distance apart as shown in the Picture 7. Arrange the largest at the bottom and the smallest at the top, or vertically in the case of tall narrow combustion chambers. Place the fire starter module on top of the pile, arranging the first logs in the module at right angles to the pile of wood.
FIRE STARTER MODULE. THIS FIRE STARTER MODULE REPLACES A PAPER OR CARDBOARD STARTER.
Prepare four logs, 20 cm long with a cross section of 3 cm by 3 cm Picture 7. Cross the four logs and place them on top of the pile of wood at right angles, with the fire lighter (wax impregnated wood fibre for example) in the middle. The fire can be lit with a match. If you want, you can use thinner pieces of wood. In this case, you will need a larger quantity.
Keep the flue gas exhaust valve and combustion air regulator open.
After lighting the fire, leave the combustion air regulator open in the position shown below.
| FUEL | Register combustion Air | TERTIARY air |
| Wood | Picture 6 – B | PRE-ADJUSTED |
IMPORTANT:
do not add further wood between one complete load and the next;
do not suffocate the fire by closing the air intakes;
- regular cleaning by a chimney sweep reduces fine particle emissions.
These instructions are backed by ENERGIA Legno SVIZZERA www.energia-legno.ch
NORMAL OPERATION
After having positioned the registers correctly, insert the indicated hourly wood load avoiding overloads that cause anomalous stresses and deformations (according to the instructions on paragraph TECHNICAL DESCRIPTION). YOU SHOULD ALWAYS USE THE PRODUCT WITH THE DOOR CLOSED IN ORDER TO AVOID DAMAGES DUE TO OVERHEATING (FORGE EFFECT). THE INOBSERVANCE OF THIS RULE MAKES THE WARRANTY EXPIRE.
For safety reasons the door of the appliances with constructive system 1, must be opened only for the loading of the fuel or for removing the ashes, while during the operation and the rest, the door of the hearth must remain closed.
The appliances with constructive system 2 must be connected to their own flue. The operating with open door is allowed under supervision.

IMPORTANT: FOR SAFETY REASONS THE DOOR OF THE HEARTH CAN BE OPENED ONLY FOR THE LOADING OF THE FUEL. THE HEARTH DOOR MUST ALWAYS REMAIN CLOSED DURING OPERATION OR REST.
With the controls positioned on the front of the appliance it is possible to adjust the heat emission of the hearth. They have to be opened according to the calorific need. The best combustion (with minimum emissions) is reached when, by loading the wood, most part of the air for combustion flows through the secondary air register.
NEVER OVERLOAD THE APPLIANCE. TOO MUCH FUEL AND TOO MUCH AIR FOR THE COMBUSTION MAY CAUSE OVERHEATING AND THEN DAMAGE THE STOVE. YOU SHOULD ALWAYS USE THE APPLIANCE WITH THE DOOR CLOSED IN ORDER TO AVOID DAMAGES DUE TO OVERHEATING (FORGE EFFECT). THE INOBSERVANCE OF THIS RULE MAKES THE WARRANTY EXPIRE.
The adjustment of the registers necessary to reach the rated calorific yield with a depression at the stack of 12 Pa 1,2mm of column of water is the following one: see chapter TECHNICAL DESCRIPTION. THE APPLIANCE WORKS AS AN INTERMITTENT OPERATING APPLIANCE.
BESIDES THE ADJUSTMENT OF THE AIR FOR THE COMBUSTION, THE INTENSITY OF THE COMBUSTION AND CONSEQUENTLY THE THERMAL PERFORMANCE OF THE DEVICE IS INFLUENCED BY THE STACK. A GOOD DRAUGHT OF THE STACK REQUIRES A STRICTER ADJUSTMENT OF AIR FOR COMBUSTION, WHILE A POOR DRAUGHT REQUIRES A MORE PRECISE ADJUSTMENT OF AIR FOR COMBUSTION.
To verify the good combustion, check whether the smoke coming out from the stack is transparent.
If it is white, it means that the device is not properly adjusted or the wood is too wet; if instead the smoke is gray or black, it signals that the combustion is not complete (it is necessary a greater quantity of secondary air).

WARNING: WHEN FUEL IS ADDED ONTO THE EMBERS IN THE ABSENCE OF A FLAME, A CONSIDERABLE AMOUNT OF FUMES MAY DEVELOP. SHOULD THIS HAPPEN, AN EXPLOSIVE MIXTURE OF GAS AND AIR MAY FORM, AND IN EXTREME CASES AN EXPLOSION MAY OCCUR. FOR SAFETY REASONS IT IS ADVISIBLE TO PERFORM A NEW LIGHTING PROCEDURE WITH THE USE OF SMALL STRIPS.
OPERATION IN TRANSITION PERIODS
DURING TRANSITION PERIODS WHEN THE EXTERNAL TEMPERATURE ARE HIGHER, IF THERE IS A SUDDEN INCREASE OF TEMPERATURE IT CAN HAPPEN THAT THE COMBUSTION GASES INSIDE THE FLUE CANNOT BE COMPLETELY Sucked UP. THE EXHAUST GASES DO NOT COME OUT COMPLETELY (INTENSE SMELL OF GAS).
In this case, shake the grating more frequently and increase the air for the combustion. Then, load a reduced quantity of fuel in order to permit a rapid burning (growing up of the flames) and the stabilization of the draught.

THEN, CHECK THAT ALL OPENINGS FOR THE CLEANING AND THE CONNECTIONS TO THE STACK ARE AIR-TIGHT. IN CASE OF DOUBT,DO NOT OPERATE THE PRODUCT.
MAINTENANCE AND CARE
ALWAYS FOLLOW THE INSTRUCTIONS IN COMPLETE SAFETY!
MAKE SURE THAT THE POWER CORD IS UNPLUGGED (IF PRESENT).
THAT THE GENERATOR IS COLD ALL OVER.
THE ASHES ARE COMPLETELY COLD.
ENSURE EFFICIENT AIR EXCHANGE IN THE ROOM DURING THE PRODUCT CLEANING OPERATIONS.
- POOR CLEANING WILL COMPROMISE CORRECT OPERATION AND SAFETY!
PERIODIC CLEANING UNDER USER'S RESPONSIBILITY
The periodic cleaning operations, as indicated in this use and maintenance manual, must be performed with the utmost care after reading the instructions, procedures and frequency described in this use and maintenance manual.
CHECK THE EXTERNAL AIR INTAKE, BY CLEANING IT, AT LEAST ONCE A YEAR. THE STACK MUST BE REGULARLY SWEPT BY THE CHIMNEY SWEeper.
LET YOUR CHIMNEY SWEeper IN CHARGE OF YOUR AREA CHECK THE REGULAR INSTALLATION OF THE DEVICE, THE CONNECTION TO THE STACK AND THE AERATION.

IMPORTANT: THE MAINTENANCE AND CARE MUST BE CARRIED OUT ONLY AND EXCLUSIVELY WITH COLD DEVICE .
You should only use spare parts approved and supplied by La NORDICA S.p.A..
Please contact your specialized retailer if you require spare parts. YOU MUST NOT MAKE ANY CHANGES TO THE DEVICE!!
GLASS CLEANING
Thanks to a specific inlet of secondary air, the accumulation of dirty sediments on the glass-door is reduced with efficacy. Nevertheless this can never be avoided by using solid fuels ( particularly wet wood ) and it has not to be understood as a defect of the appliance.

IMPORTANT: THE CLEANING OF THE SIGHT GLASS MUST BE CARRIED OUT ONLY AND EXCLUSIVELY WITH COLD DEVICE TO AVOID THE EXPLOSION OF THE SAME.
For the cleaning, it is possible to use specific products or a wet newspaper paper ball passed in the ash to rub it.
DO NOT USE CLOTHS, ABRASIVE OR CHEMICALLY AGGRESSIVE PRODUCTS BY CLEANING THE HEARTH GLASS.
The correct lighting phase, the use of proper quantities and types of fuels, the correct position of the secondary air regulator, enough draught of the chimney-flue and the presence of combustion air are the essential elements for the optimal functioning of the appliance and for the cleaning of the glass

BREAK OF GLASSES: Given that the glass-ceramic glasses resist up to a heat shock of 750^ , they are not subject to thermal shocks. THEIR BREAK CAN BE CAUSED ONLY BY MECHANIC SHOCKS (bumps or violent closure of the door, etc.).
THEREFORE, THEIR REPLACEMENT IS NOT INCLUDED IN THE WARRANTY.
CLEANING OUT THE ASHES
All the devices are equipped with a hearth grating and an ash drawer for the collection of the ashes.
It is suggested to empty periodically the ash drawer and to avoid it fills completely in order not to overheat the grating. Moreover, it is suggested to leave always 3 - 4cm of ash in the hearth.

CAUTION: THE ASHES REMOVED FROM THE HEARTH HAVE TO BE STORED IN A CONTAINER MADE OF FIRE-RESISTANT
MATERIAL EQUIPPED WITH AN AIR-TIGHT COVER. THE CONTAINER HAS TO BE PLACED ON A FIRE-RESISTANT FLOOR,
FAR FROM FLAMMABLE MATERIALS UP TO THE SWITCHING OFF AND COMPLETE COOLING.
CLEANING THE FLUE
The correct lighting phase, the use of proper quantities and types of fuels, the correct position of the secondary air regulator, enough draught of the chimney-flue and the presence of combustion air are the essential elements for the optimal functioning of the appliance.
THE DEVICE SHOULD BE COMPLETELY CLEANED AT LEAST ONCE A YEAR OR EVERY TIME IT IS A NEEDED (in case of bad working and low yield). An excessive deposit of soot can cause problems in the discharge of smokes and fire in the flue.

THE CLEANING MUST BE CARRIED OUT EXCLUSIVELY WITH COLD EQUIPMENT. THIS OPERATION SHOULD BE CARRIED
OUT BY A CHIMNEY SWEEPER WHO CAN SIMULTANEOUSLY PERFORM AN AUDIT OF THE FLUE (CHECKING OF POSSIBLE
DEPOSITS).
During the cleaning, it is necessary to remove the ash drawer, the grating, and the smoke deflectors from the device in order to ease the fall of the soot. The deflectors can be easily extracted from their seats since they are not fastened using screws. Once the clearing has been carried out, place them back in their seats (Picture 11).

CAUTION: THE LACK OF THE DEFLECTORS CAUSES A STRONG DEPRESSION, WITH A TOO FAST COMBUSTION, AN
EXCESSIVE CONSUMPTION OF WOOD WITH RELATED OVERHEATING OF THE DEVICE.
EPS CLEANING
The EPS has to be cleaned whenever the cleaning of the SMOKE DUCT is necessary.
To carry out this operation correctly, the smoke duct has to be removed (Picture 12 - A) and the EPS (B) has to be cleaned.
THE QUANTITY AND THE QUALITY OF THE FUEL USED, DETERMINES HOW OFTEN THIS OPERATION IS NECESSARY.
MAJOLICAS (IF PRESENT)
La NORDICA S.p.A. has chosen majolica tiles, which are the result of high-quality artisan work. As they are completely carried out by hand, the majolica may present crackles, speckles, and shadings. These characteristics certify their precious origin.
Enamel and majolica, due to their different coefficient of dilatation, produce microcrackles, which show their authentic feature.

FOR THE CLEANING OF THE MAJOLICA WE SUGGEST YOU TO USE A SOFT AND DRY CLOTH;
IF YOU USE A DETERGENT OR LIQUID, THE LATTER MIGHT SOAK IN AND HIGHLIGHT THE CRACKLES PERMANENTLY.
PRODUCTS MADE OF NATURAL STONE (IF PRESENT)
NATURAL STONE HAS TO BE CLEANED WITH VERY THIN ABRASIVE PAPER OR WITH AN ABRASIVE Sponge. DO NOT USE ANY CLEANSER OR FLUID.
VARNISHED PRODUCTS (IF PRESENT)
After some years of product use a change in the varnished details colour is totally normal. This is due to the considerable temperature range the product is subject to whenever in use and to the varnish ageing of time passing by.

ATTENTION: BEFORE ANY POSSIBLE APPLICATION OF THE NEW VARNISH, DO CLEAN AND REMOVE ALL THE TRACES FROM
THE SURFACE WHICH HAS TO BE VARNISHED.
ENAMELLED PRODUCTS (IF PRESENT)
For the cleaning of enamelled surfaces use soap water or NOT AGGRESSIVE and NOT CHEMICALLY abrasive detergents.

AFTER THE CLEANING DO NOT LET SOAPY WATER OR ANY CLEANER DRY BUT REMOVE THEM IMMEDIATELY.
DO NOT USE SANDPAPER OR STEEL WOOL.
CHROMIUM-COMPONENTS (IF PRESENT)
If the components become bluish due to overheating, this can be solved with a suitable product for cleaning. DO NOT use abrasives or solvents.
SUMMER STOP
After cleaning the hearth, chimney and hood, totally eliminating the ash and other eventual residues, close all the doors of the hearth and the relevant registers; in case you disconnect the appliance from the chimney you must close its openings in order to let work others possible appliances connected to the same flue.
WE SUGGEST PERFORMING THE CLEANING OPERATION OF THE FLUE AT LEAST ONCE PER YEAR; VERIFYING IN THE MEANTIME THE ACTUAL STATUS OF THE ROPE SEALS, WHICH CANNOT ENSURE THE GOOD OPERATION OF THE EQUIPMENT IF THEY ARE NOT IN GOOD CONDITION AND ARE NOT MAKING A GOOD SEAL! IN THIS CASE THE SEALS MUST BE REPLACED.
IN PRESENCE OF DAMPNESS IN THE ROOM WHERE THE PRODUCT HAS BEEN PLACED, WE ADVISE YOU TO PUT ABSORBENT SALTS INTO THE HEARTH.

IF YOU WANT TO KEEP FOR LONG THE AESTHETIC LOOK OF THE COOKER IT IS IMPORTANT TO PROTECT ITS INTERNAL WALLS
IN ROW CAST IRON WITH NEUTRAL VASELINE.
ROUTINE MAINTENANCE PERFORMED BY QUALIFIED TECHNICIANS
ROUTINE MAINTENANCE MUST BE PERFORMED AT LEAST ONCE A YEAR.
USING WOOD AS SOLID FUEL, THE GENERATOR REQUIRES ANNUAL ROUTINE MAINTENANCE, WHICH MUST BE PERFORMED BY A QUALIFIED TECHNICIAN, USING ONLY ORIGINAL SPARE PARTS.
FAILURE TO COMPLY CAN JEOPARDISE THE SAFETY OF THE APPLIANCE AND MAKE THE WARRANTY NULL AND Void.
Respecting the frequencies of cleaning reserved for the user described in the use and maintenance manual, the generator is guaranteed correct combustion over time, preventing any anomalies and/or malfunctioning that could require more interventions of the technician. REQUESTS FOR ROUTINE MAINTENANCE ARE NOT CONTEMPLATED IN THE PRODUCT WARRANTY.
GASKETS
The gaskets guarantee the tightness of the product and its consequent good functioning.
THEY MUST BE CONTROLLED PERIODICALLY. THEY MUST BE REPLACED IMMEDIATELY IF THEY ARE WORN OR DAMAGED.
THESE OPERATIONS MUST BE CARRIED OUT BY A QUALIFIED TECHNICIAN.
CONNECTION TO THE FLUE
VACUUM AND CLEAN THE PIPE THAT LEADS TO THE FLUE YEARLY OR ANY TIME THAT IT IS NECESSARY. IF THERE ARE HORIZONTAL TRACTS, THE RESIDUE MUST BE REMOVED BEFORE IT CAN PREVENT THE PASSAGE OF THE FUMES.
CALCULATION OF THE THERMAL POWER
There is not an absolute rule for calculating the correct necessary power. This power is given according to the space to be heated, but it depends also largely on the insulation. On an average, the calorific value necessary for a properly insulated room is 30 kcal/h per m³ (for an external temperature of 0°C).
Given that 1 kW corresponds to 860 kcal/h, it is possible to adopt a value of 35W / m^3
Let's suppose one wishes to heat a room of 150m^3 ( 10 × 6 × 2.5m ) in an insulated apartment. In this case, it is necessary to have 150m^3 × 35W/m^3 = 5250W or 5,25kW . As main heating, a 8kW device is therefore sufficient.
| Approximate combustion value | Required quantity in relation to 1 kg of dry wood | |||
| Fuel | Unit | kcal/h | kW | |
| Dry wood (15% humidity) | kg | 3600 | 4.2 | 1,00 |
| Wet wood (50% humidity) | kg | 1850 | 2.2 | 1,95 |
| Wood briquettes | kg | 4000 | 5.0 | 0,84 |
| Brown coal briquettes | kg | 4800 | 5.6 | 0,75 |
| Normal anthracite | kg | 7700 | 8.9 | 0,47 |
| Coke | kg | 6780 | 7.9 | 0,53 |
| Natural gas | m3 | 7800 | 9.1 | 0,46 |
| Naphtha | L | 8500 | 9.9 | 0,42 |
| Electricity | kW/h | 860 | 1.0 | 4,19 |



ACHTUNG
INSTALLATIONSVORSCHRIFTEN 35
BRANDSCHUTZ 37
INSTALLATIONSVORSCHRIFTEN
KACHELN (WENN ANWESEND)
COMBUSTIBLES ADMIS / NON ADMIS 57
ALLUMAGE 58
ALLUMAGE A BASSES ÉMISSIONS. 58
FONCTIONNEMENT NORMAL 59
FONCTIONNEMENT PENDANT LES PÉRIODES DE TRANSITION 59
ENTRETIEN ET SOIN 60
NETTOYAGE PÉRIODIQUE À LA CHARGE DE L'UTILISATEUR 60
NETTOYAGE TIROIR DES CENDRES 60
NETTOYAGE DU TUYAU D'ÉVACUATION DE LA FUMEE 60
NETTOYAGE EPS 61
LES FAIENCES (OU PRESENT) 61
PRODUITS EN PIERRE NATURELLE (OU PRSENT) 61
PRODUITS VERNIS (OU PRESENT) 61
PRODUITS ÉMAILLES (OÛ PRSENT) 61
PIECES CHROMÉES (OU PRSENT) 61
ARRÉT PENDANT L'ÊTE. 61
ENTRETIEN ORDINAIRE EFFECTU PAR LES TECHNICIENS AUTORISÉS 62
JOINTS 62
RACCORDEMENT A LA CHEMINEE 62
DETERMINATION DE LA PUISSANCE THERMIQUE 62
MONTAGE DANTE 83
MONTAGE DANTE PORTE-BUCHES INFÉRIEUR 85
MONTAGE DANTE BANC HORIZONTAL 87
DIMENSIONS. 90
COMBUSTIBLES ADMIS / NON ADMIS
COMBUSTIBLES ADMITIDOS / NO ADMITIDOS
All the minimum safety distances (cm) are shown on the product data plate and lower values must not be used (See DECLARATION OF PERFORMANCE).

m = 311
0060510


2x
00060503

5055






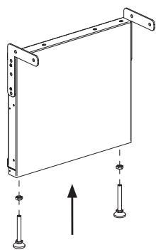
MONTAGGIO DANTE CON PANCA. DANTE WITH HORIZONTAL BENCH. DANTE MIT HORIZONTALEN BANK. MONTAGE DANTE BANC HORIZONTAL. MONTAJE DANTE CON EL BANCO HORIZONTAL.

NON FORNITO
NOT SUPPLIED
NICT IM LIEFERUMFANG
NE PAS FOURNIS

NO SUMINISTRADO

608712


















59
2x



0060510
1
A


B

2
4x


4x
0060514
9



2x





4x
9

3
4X

0060215
4x

0060503

650900


8x
0060510

4x
0060722


4
8x
00632


8x
0060510


5


B

6

7
7x

0060055


8
2x

0060055


9



ATTENZIONE:
DURANTE LA COMBUSTIONE VIENE SPRIGIONATA ENERGIA TERMICA CHE COMPORTA UN MARCATO RISCALDAMENTO DELLE SUPERFICI METALLICHE DEI FIANCI E DELLA PANCA. PER QUESTO MOTIVO è VIETATO SEDERSI O APPOGGIARS I DURANTE IL FUNZIONAMENTO, FATE IN MODO CHE I BABBINI SIANO CONSAPEVOLI DI QUESTO PERICOLO.
ATTENTION:
DURING COMBUSTION, THERMAL ENERGY IS RELEASED WHICH LEADS TO CONSIDERABLE HEATING OF THE METAL SURFACES, SIDES AND BENCH. FOR THIS REASON IT IS IMPORTANT NOT TO SIT DOWN OR LEAN ON DURING THE FUNCTIONING. ENSURE CHILDREN ARE AWARE OF THESE DANGERS.
VORSICHT:
DIMENSIONI. DIMENSIONS SHEETS. MASSE. DIMENSIONS. DIMENSIONES.



DAnte



THE MANUFACTURER RESERVES THE RIGHT TO VARY THE CHARACTERISTICS AND THE DATA REPORTED IN THIS PAMPHLET AT ANY MOMENT AND WITHOUT NOTICE, IN ORDER TO IMPROVE ITS PRODUCTS.
LE FABRICANT SE RÉSERVE LE DROIT DE MODIFIER LES CARACTERISTIQUES ET LES DONNÉES REPORTÉES DANS CE MANUEL À TOUT MOMENT ET SANS PREAVIS, DANS LE BUT D'AMéliORER SES PRODUITS.
EasyManual