MDS70V012e - Tumble drier FORTEX - Free user manual and instructions
Find the device manual for free MDS70V012e FORTEX in PDF.
Download the instructions for your Tumble drier in PDF format for free! Find your manual MDS70V012e - FORTEX and take your electronic device back in hand. On this page are published all the documents necessary for the use of your device. MDS70V012e by FORTEX.
USER MANUAL MDS70V012e FORTEX
Attention, surface chaude.
IMPORTANT SAFETY INSTRUCTIONS 27
ENERGY SAVING TIPS 28
DESCRIPTION 28
BEFORE INSTALLING THE APPLIANCE 30
INSTALLATION 30
NOTES ON LAUNDRY CARE 31
CLEANING AND MAINTENANCE 36
TROUBLESHOOTING 36
TECHNICAL DATA SHEET 38
DISPOSAL 40
WARNING

Read the instructions.
This appliance is intended for domestic household use only and should not be used for any other purpose or in any other application, such as for non-domestic use or in a commercial environment.
This appliance can be used by children aged from 8 years and above and persons with reduced physical, sensory or mental capabilities or lack of experience and knowledge if they have been given supervision or instruction concerning use of the appliance in a safe way and understand the hazards involved.
Children shall not play with the appliance. Cleaning and user maintenance shall not be made by children without supervision.
If the supply cord is damaged, it must be replaced by the manufacturer, its service agent or similarly qualified persons in order to avoid a hazard.
For the details concerning the method and frequency of cleaning, please see section "Cleaning and maintenance" on page 36.
The maximum mass of dry textile material in kilograms to be used in the appliance is 7 ~kg .
The tumble dryer is not to be used if industrial chemicals have been used for cleaning.
The lint trap has to be cleaned frequently. Lint must not be allowed to accumulate around the tumble dryer.
Adequate ventilation has to be provided to avoid the back flow of gases into the room from appliances burning other fuels, including open fires.

Caution: Hot Surface.
Do not dry unwashed items in the tumble-dryer.
Items that have been soiled with substances such as cooking oil, acetone, alcohol, petrol, kerosene, spot removers, turpentine, waxes and wax removers should be washed in hot water with an extra amount of detergent before being dried in the tumble dryer.
Items such as foam rubber (latex foam), shower caps, waterproof textiles, rubber backed articles and clothes or pillows fitted with foam rubber pads should not be dried in the tumble dryer.
Fabric softeners, or similar products, should be used as specified by the fabric softener instructions.
The final part of a tumble dryer cycle occurs without heat (cool down cycle) to ensure that the items are left at a temperature that ensures that the items will not be damaged.
Remove all objects from pockets such as lighters and matches.
WARNING: Never stop a tumble dryer before the end of the drying cycle unless all items are quickly removed and spread out so that the heat is dissipated.
Exhaust air must not be discharged into a flue which is used for exhausting fumes from appliances burning gas or other fuels.
This appliance must not be installed behind a lockable door, a sliding door or a door with hinges on the opposite side to that of the tumble dryer, in such a way that a full opening of the tumble dryer door is restricted.
IMPORTANT SAFETY INSTRUCTIONS
- Do not attempt to stack the tumble dryer on top of another appliance .
- Do not disconnect the plug from the mains socket by pulling the power supply cord. Always hold the plug when disconnecting.
- Do not attempt to disconnect the plug from the mains socket with wet hands.
- Do not use an extension cord or an adapter to connect the power cord.
- Keep the dryer away from cookers, naked flames, or any other inflammable objects.
- Do not install or store the dryer where it will be exposed to the weather.
- Do not place flammable items near the dryer.
- Do not put heavy objects, heating devices, or items containing water or liquid onto the dryer. They may all cause damage.
- Clothes that have been in contact with volatile liquids should not be machine dried. Any fluid should be fully removed from the item before it can be dried.
- Do not allow children or pets to play on or inside the dryer. Always check the drum before starting the appliance.
- Plastic articles such as shower caps should not be placed in a tumble dryer. They may cause spontaneous combustion leading to explosion and fire.
- Do not use the dryer without the filter in place or if the filter is damaged.
- The filter must be cleaned regularly.
ENERGY SAVING TIPS
To avoid unnecessarily long drying times and high consumption of energy:
- Make sure that your laundry is thoroughly spun before drying.
- Load according to the optimum amount of laundry recommended for the programme being used (see Programme chart).
- Make sure the room in which the dryer is located is well ventilated.
- Make sure the filter is clean before using the dryer.

DESCRIPTION
- Control panel
- Door
3.Drum - Vent tube
5.Filter

Control panel

On/Off button.

Start/Pause button.
Progr. Programme button
with indicator lights to show the programme selected.

Mix Mix

Cotton

Synth.
Synthetic

1 Hour

Drying level button
with indicator lights to show the drying level selected.

Max
Extra dry.

Med
Standard dry.

Min
Less dry.

Anti-crease button
with the indicator light illuminated when the anti-crease function is activated

Child lock indicator light
(illuminated when the child lock function is activated)
To activate or deactivate child lock function, simultaneously press Programme and Drying level buttons during a drying cycle.

BEFORE INSTALLING THE APPLIANCE
Before connecting your dryer to the power supply, check that the voltage stated on the rating label of your appliance corresponds to the voltage in your home. A different voltage could damage the appliance.
The plug is the only way to unplug the appliance and should therefore be accessible at all times. To turn off main power to the appliance, turn it off and then detach the plug from the outlet.
The appliance must be grounded. The manufacturer is not responsible for damages that may occur as a result of usage without grounding.
INSTALLATION
The dryer should not be located near a gas hob, cooker, heater or grill, as flames from the burners could damage the dryer.
When installing the appliance, make sure that the power cord is not trapped or twisted.
The appliance is best operated between -5^ C and 45^ C . Outside this temperature range, performances may be affected.
For better drying performance, keep the rear of the appliance away from the wall.

Leveling the appliance
The dryer must be perfectly level to ensure safe and proper operation. If the dryer is not properly level, adjust the levelling feet as necessary.
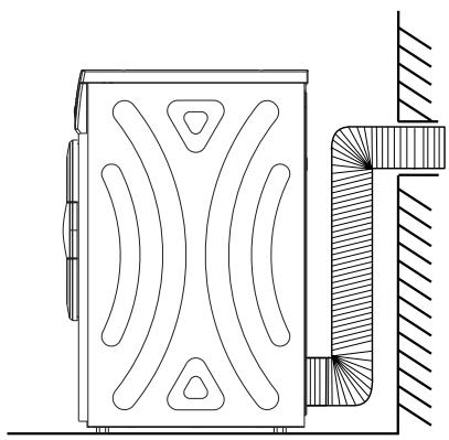
Installing the vent tube

Securely fasten the vent tube to the outlet at the rear of the dryer.


Place the other end of the tube against the wall and mark on the wall where you want to drill.
Drill a hole through the wall and then extend the tube beyond the outside wall. You can also take the end of the vent tube directly to the ledge of a window so that the damp air is discharged outside.
NOTES ON LAUNDRY CARE
Laundry care labels
Clothes have their own wash care labels, so drying according to the below wash care label is recommended.
| Dry | Tumble dry | Do not tumble dry | Do not dry |
| Line Dry / hang to dry | Drip dry | Dry flat | In the shade |
| Dry clean | Do not dry clean | A Dry clean, any solvent | F Dry clean, petroleum solvent only |
New dark coloured garments should be washed and dried separately from light coloured garments to avoid the danger of colours running and discolouring other garments or even plastic components in the dryer.
Dark coloured fibres can also settle on light coloured garments and vice versa.
Rubber and plastics
Do not dry any items made from or containing rubber or plastics such as:
a) aprons, bibs and chair covers
b)curtains and table clothes
c)bathmats
Baby clothes and night gowns
Always check the manufacturer's care labels.
Permanent press garments
Take out permanent press garments as soon as the dryer stops to reduce creases.
Loopknit garments
Some loopknit garments such as T-shirts and underwear tend to shrink depending on their quality. Do not over-dry these textiles.
OPERATING THE DRYER
1. Turn on the tumble dryer.
Press .The default drying level and programme indicator lights will illuminate.
2.Open the door.
3. Check the filter and drum are clean.
If not, clean them referring to the section of Cleaning and Maintenance.
4. Place laundry loosely into the drum after sorting.
-
The clothes should be sorted by the type of fibre and the drying level required. All the strings and belts of clothes should be well tied and fixed before being put into the drum.
-
Do not overload the drum (see the "Programme chart" for recommended loads for each programme).

CAUTION:
Do not dry unwashed clothes in the tumble dryer.
5.Close the door.
Before you close the door, check the laundry is right inside the drum so that it cannot get trapped or damaged.
6. Select a programme
- Repeatedly press Progr. until the indicator light of the desired programme illuminates. A drying level indicator light may also illuminate.
O☆Mix
Cot.
Synth.
1 1

Progr.
- Repeatedly press until the indicator light of the desired drying level illuminates.


Any one of the three drying levels can be selected for the cotton programme (Cot).
Any one of the standard (Med) and extra (Max) drying levels can be selected for the mix (Mix) and synthetic (Synth.) programmes. The drying level function is not available for the 1 hour (_1h) programme.
7. Select anti-crease additional function when needed.
The anti-crease function prevents creases from forming in the clothes. Press to select the function. The anti-crease indicator light will illuminate indicating the function is activated.
To deactivate the function, press the button again and its indicator light will go out.
8. Press ▷|.
The selected programme indicator light will flash and you will hear drum rotating.
9. After the cycle is finished, open the door and remove the laundry.
- The buzzer will sound to let you know the programme has finished. The programme indicator light will stop flashing and the anti-crease indicator light will flash. The drum will continue to rotate at intervals for 30 minutes and then all indicator lights will go out.
- If you have selected the anti-crease function, the drum will continue to rotate at intervals for two hours to prevent laundry from creasing.
Careful! The drum inside could still be hot.
Check that all items have been removed from the drum. If items are left in the dryer, they could be damaged by over drying when the dryer is next used.
10.Clean the filter.
11.Close the door.
Programme chart
Please follow the recommended laundry load when you use the assigned programme. The values in the table below are only for reference.
| Type of Laundry | Capacity (kg) | Programme | Drying Level |
| Cotton fabrics such as towels, T-shirts, underwear and bed linen. | 7 / 3.5 / 1 | Cot. Cotton | Max Extra |
| 7 / 3.5 / 1 | Med Standard | ||
| 7 / 3.5 | Min Less | ||
| Mixed fabrics made of cotton and synthetic fabrics such as dresses, trousers, skirts and table clothes. | 7 / 3.5 / 1 | Mix Mix | Max Extra |
| 7 / 3.5 / 1 | Med Standard | ||
| Synthetic fabrics such as shirts, blouses and lingerie | 3.5 / 1 | Synth. Synthetic | Max Extra |
| 3.5 / 1 | Med Standard | ||
| Small loads of cotton fabrics | 1 | 1 Hour | - |
NOTE: It is recommended to use 1 hour programme if the load is less than 0.5kg .
Adding or removing laundry after a programme has started
- Press .
- Open the door.
3.Add or remove items as required.
4.Close the door. - Press ▷I.
Changing the programme
You cannot change to another programme once a programme has started. You will need to cancel the current programme before you can select a new one.
- Press to cancel the programme.
- Press again.
- Select another programme and start it.
Child lock
This function is designed to prevent children from operating the tumble dryer. To activate child lock, press - and Progr. at the same time for about 3 seconds. The child lock indicator light will illuminate indicating the child lock function is activated.

All buttons except child lock and will be disabled.
To deactivate the function, press - and Progr.at the same time for about 3 seconds. The child lock indicator light will go out.
CLEANING AND MAINTENANCE
Turn off the dryer and unplug it from the mains socket before cleaning and maintenance.
Cleaning the filter
It is recommended to clean the filter after each use.
- Open the door.
2.Pull the filter out. -
Clean it under running water and dry it thoroughly.
4 REPLACE the filter. -
Push the filter all the way down to avoid interference with the door. If the filter is not positioned correctly, you will not be able to close the tumble dryer door.
5.Close the door.

CAUTION: Lint must not be allowed to accumulate in the dryer.
Cleaning the tumble dryer
Clean the outer surface of the dryer and the drum with a slightly damp cloth. Dry all parts with a soft cloth.
Never immerse the dryer in water.
Do not use any abrasive or chemical cleaning agents.


TROUBLESHOOTING
The following will help answer your questions before service call.
The dryer will not start or heat.
Check that
- The dryer is plugged in.
- You have pressed ll.
- A fuse is not blown or the circuit breaker has not tripped; if necessary, replace them.
- The overheating cut-out has not been triggered (see below).
The overheating cut-out will shut off the tumble dryer if the temperature is too high, e.g. because dust is clogging the filter.
This cut-out only operates if the air flow is severely restricted so before resetting, make sure the filter is clean and the air inlet and outlet are not blocked.
Also, allow the dryer to cool for at least 10 minutes. To reset, press the button at the rear of the dryer until a click is heard.

The drying process goes on too long.
Check that
- You have selected the correct programme for fabric type.
- Air inlet and outlet are not blocked.
- Clothes are not excessively wet.
- The dryer is not overloaded.
The clothes are creased.
Check that the laundry is not overloaded. Use the anti-crease function.
The garments have shrunk.
To avoid shrinkage, please follow the care and use instructions for your garment, as some fabrics shrink naturally when washed and other fabrics should not be placed in a dryer.
Error messages
| Error Indication | Error Description | Possible Cause | Possible Solution |
| The indicator light Min is flashing. | Over temperature | NTC or PCB fault | Stop the programme and contact a qualified service agent. |
| The indicator lights Min and Med are flashing. | Temperature sensor error | Temperature sensor is open or A/D reading under 10. | |
| The indicator light Max is flashing. | Temperature sensor is short or A/D reading over 1000. |
TECHNICAL DATA SHEET
Below is the sheet of household tumble dryer according to EU Regulations 392/2012 and 932/2012.
| Brand | FORTEX |
| Model | MDS70V012 |
| Type | Air-vented |
| Capacity | 7 kg |
| Energy efficiency class ① | C |
| Annual energy consumption ② | 520 kWh/annum |
| Automatic or non-automatic | Automatic |
| Standard drying programme ③ | Cotton + standard (Cot. + Med) |
| Power consumption of off-mode | 0.46W |
| Power consumption of left-on mode | 0.49W |
| Energy consumption of the standard cotton programme at full load | 4.49 kWh |
| Energy consumption of the standard cotton programme at partial load | 2.27 kWh |
| Duration of the ‘left-on mode’ | 10 minutes |
| Programme time of the ‘standard cotton programme at full load’ | 142 minutes/cycle |
| Programme time of the ‘standard cotton programme at partial load’ | 75 minutes |
| Sound power level for the standard cotton programme at full load | 69dB |
| Height | 840 mm |
| Width | 595 mm |
| Depth | 550 mm |
| Rated voltage/frequency | 220-240V~50Hz |
NOTE:
1 A ^+++ (highest efficiency) to D (lowest efficiency)
Energy consumption 510 ~kWh per year, based on 160 drying cycles of the standard cotton programme at full and partial load, and the consumption of the low-power modes. Actual energy consumption per cycle will depend on how the appliance is used.
The cotton + standard programme is the standard drying programme. It is suitable to dry normal wet cotton laundry and it is the most efficient programme in terms of energy consumption for drying wet cotton laundry.
Specifications
Rated power: 2000W
Motor input power: 200W
Heating power: 1800W
Grade of waterproof: IPX4
DISPOSAL


As a responsible retailer we care about the environment.
As such we urge you to follow the correct disposal procedure for the appliance and packaging materials. This will help conserve natural resources and ensure that it is recycled in a manner that protects health and the environment.
You must dispose of this appliance and its packaging according to local laws and regulations.
Because this appliance contains electronic components, the appliance and its accessories must be disposed of separately from household waste when the appliance reaches its end of life.
Contact your local authority to learn about disposal and recycling.
The appliance should be taken to your local collection point for recycling. Some collection points accept appliance free of charge.
ManualGo.com