CBNEF 5715 - CBNEF5735-21 - Combined refrigerator LIEBHERR - Free user manual and instructions
Find the device manual for free CBNEF 5715 - CBNEF5735-21 LIEBHERR in PDF.
User questions about CBNEF 5715 - CBNEF5735-21 LIEBHERR
0 question about this device. Answer the ones you know or ask your own.
Ask a new question about this device
Download the instructions for your Combined refrigerator in PDF format for free! Find your manual CBNEF 5715 - CBNEF5735-21 - LIEBHERR and take your electronic device back in hand. On this page are published all the documents necessary for the use of your device. CBNEF 5715 - CBNEF5735-21 by LIEBHERR.
USER MANUAL CBNEF 5715 - CBNEF5735-21 LIEBHERR
20190919 7086136 - 02
CB(ef)/ CBP(ef)/ CBN(ef/bs)/ KG
Contents
1 Appliance at a glance. 2
1.1 Description of appliance and equipment 2
1.2 Appliance range of use 3
1.3 Conformity 3
1.4 Product data.. 3
1.5 External dimensions of the appliance 3
1.6 Saving energy 3
1.7 Example of food arrangement 4
1.8 Smart device 4
2 General safety information. 4
3 Controls and displays. 5
3.1 Home screen 5
3.2 Operating structure.. 5
3.3 Navigation 6
3.4 Display symbols.. 6
3.5 Appliance options.. 6
4 Putting into operation. 7
4.1 Transporting the appliance.. 7
4.2 Installing the appliance.. 7
4.3 Reversing the door 8
4.4 Insertion into a row of kitchen units 13
4.5 Disposing of packaging 14
4.6 Connecting the appliance 14
4.7 Switching on the appliance 14
4.8 Inserting the FreshAir filter. 15
4.9 Setting the clean ventilation grid timer.. 15
5 Control. 15
5.1 Changing the temperature unit. 15
5.2 Childproofing 15
5.3 Sabbath Mode 15
5.4 Refrigerator compartment 16
5.5 BioFresh compartment 18
5.6 Freezer compartment 20
6 Maintenance 21
6.1 Change the FreshAir filter 21
6.2 Manual defrosting* 22
6.3 Defrosting with NoFrost* 22
6.4 Cleaning the ventilation grid 22
6.5 Cleaning the appliance 22
6.6 Customer service 23
7 Malfunctions 23
8 Messages. 24
9 Decommissioning 25
9.1 Switching the appliance off 25
9.2 Taking the appliance out of service 26
10 Disposing of the appliance. 26
The manufacturer works constantly on the further development of all the types and models. Therefore please understand that we have to reserve the right to make design, equipment and technical modifications.
To get to know all the benefits of your new appliance, please read the information contained in these instructions carefully.
The instructions apply to several models. Differences may occur. Text relating only to specific appliances is marked with an asterisk () .
Instructions for action are marked with a , the results of action are marked with a .
1 Appliance at a glance
1.1 Description of appliance and equipment

Fig. 1 Sample display
(1) Operating and control elements
(2) LED interior lighting
(3) Can rack
(4) Bottle shelf*
(5) Bottle rack
(6) Bottle shelf
(7) Humidity adjustment plate
(8) Freezer compartment
(9) Ventilation grid
(10) Adjusting feet
(11)Front transport handles, rear transport castors
(12) Model plate
(13) Variospace
(14) Biofresh compartment, Hydrosafe
(15) Biofresh compartment, Drysafe
(16) Adjustable bottle shelf
(17)Shelf
Note
Shelves, drawers and baskets are arranged for optimum energy efficiency on delivery.
1.2 Appliance range of use
Intended use
The appliance is only suitable for cooling food products in a domestic or household-like environment. This includes, for example, use:
- in staff kitchens, bed and breakfast establishments,
- by guests in country houses, hotels, motels and other accommodation,
- for catering and similar services in the wholesale trade.
All other types of use are not permitted.
Foreseeable misuse
The following applications are expressly forbidden:
- Storing and refrigerating medicines, blood plasma, laboratory preparations or similar substances and products based on the Medical Device Directive 2007/47/EC
- Use in areas at risk of explosions
- Use on moving substrates, such as ships, rail travel or aeroplanes
- Storing live animals
Misusing the appliance may lead to damage to the goods stored or they may spoil.
Climate classifications
Depending on the climate classification the appliance is designed to operate in restricted ambient temperatures. The climate classification applying to your appliance is printed on the rating plate.
Note
- Keep to the specified ambient temperatures in order to guarantee that the appliance works properly.
| Climate classi-fication | for ambient temperatures of |
| SN | 10 °C to 32 °C |
| N | 16 °C to 32 °C |
| ST | 16 °C to 38 °C |
| T | 16 °C to 43 °C |
1.3 Conformity
The refrigerant circuit has been tested for leaks. This appliance complies with the applicable safety stipulations and with directives 2014/35/EU, 2014/30/EU, 2009/125/EG, 2011/65/EU and 2010/30/EU.
The BioFresh compartment satisfies the requirements for a cold storage compartment in acc. with DIN EN 62552.
1.4 Product data
Product data is included with the appliance, as per Directive (EU) 2017/1369. The complete product data sheet is available on the Liebherr website under Downloads.
1.5 External dimensions of the appliance

Fig. 2
| Model | a [mm] | b [mm] | c [mm] | d [mm] | e [mm] | f [mm] | g [mm] | h [°] |
| CB(ef) 43.. | 600 | 1850 | 600x | 665x | 709x | 1185x | 871 | 115 |
| CB(ef) 48.. / CBN(e f/bs) 48.. / KG 2060 | 2010 | |||||||
| CBN(e f) 57.. | 700 | 1275x | 1015 |
^X If wall spacers are used, the dimensions increase by 15 mm (see 4.2).
Dimensions when the door is open apply to an opening angle of 115^ . Clearance dimensions vary according to the opening angle.
1.6 Saving energy
- Pay attention to good ventilation. Do not cover ventilation holes or grids.
-
Always keep the fan air slits clear.
-
Do not install the appliance in direct sunlight, next to an oven, radiator or similar.
- Energy consumption is dependent on the installation conditions, e.g. ambient temperature (see 1.2). If the ambient temperature deviates from the standard temperature of 25^ , the energy consumption may differ.
- Open the appliance for as short a time as possible.
- The lower the temperature is set the higher the energy consumption.
- Arrange the food in an organised way (see 1).
- Keep all food properly packed and covered. This prevents frost from forming.
- Only take food out for as long as necessary so that it doesn't warm up too much.
- Inserting warm food: allow to cool down to room temperature first.
- Thaw frozen food in the refrigerator.
- If there is a thick layer of frost in the appliance: defrost the appliance.*
- If you intend to be on holiday for a long time empty the refrigerator and switch it off.

1.7 Example of food arrangement
Fig. 3
1.8 Smart device
The appliance is ready for integration into a smart home and for extended services. Other options can be selected with a SmartDeviceBox. This is activated via the MyLiebherr customer portal.

You will find more information about availability and pre-requisites and the individual options on the website www.smartdevice.liebherr.com.
2 General safety information
Danger for the user:
- This device can be used by children and people with impaired physical, sensory or mental abilities or with a lack of experience and knowledge provided that they are supervised or have received instruction in the safe use of this device, and about the resulting hazards. Children must not play with this appliance. Cleaning and user maintenance work must not be carried out by children without adult supervision. Children aged between 3 and 8 are allowed to load and unload the appliance. Children below the age of 3 must be kept away from the appliance unless they are under continuous adult supervision.
- When disconnecting the appliance from the supply, always take hold of the plug. Do not pull the cable.
- In the event of a fault pull out the mains plug or deactivate the fuse.
- Do not damage the mains power cable. Do not operate the appliance with a defective mains power cable.
- Only customer service or other specially trained staff may repair or perform other operations on the appliance.
- Only assemble, connect and dispose of the appliance according to the instructions.
- Please keep these instructions in a safe place and pass them on to any subsequent owners.
- Special lights, such as LED lights on the appliance, are used to illuminate the interior of the appliance and are not suitable for room lighting.
Fire hazard:
-
The coolant used (information on the model plate) is eco-friendly but also flammable. Any leaking coolant may ignite.
-
Do not damage the refrigerant circuit pipes.
- Do not use an open flame or other source of ignition inside the appliance.
- Do not use electrical appliances inside the appliance (e.g. steam cleaners, heaters, ice cream makers, etc.).
-
If the refrigerant leaks: remove any naked flames or ignition sources from the vicinity of the leakage point. Properly air the room. Inform customer services.
-
Do not store explosives or sprays using combustible propellants such as butane, propane, pentane, etc. in the appliance. To identify these spray cans, look for the list of contents printed on the can, or a flame symbol. Gases possibly escaping may ignite due to electrical components.
-
Keep burning candles, lamps and other items with naked flames away from the appliance so that they do not set the appliance on fire.
- Please be sure to store alcoholic drinks or other packaging containing alcohol in tightly closed containers. Any alcohol that leaks out may be ignited by electrical components.
Danger of tipping and falling:
- Do not misuse the plinth, drawers, doors etc. as a step or for support. This applies particularly to children.
Danger of food poisoning:
- Do not consume food which has been stored too long.
Danger of frostbite, numbness and pain:
- Avoid lasting skin contact with cold surfaces or refrigerated/frozen food or take protective steps, e.g. wear gloves. Do not consume ice cream, water ice or ice cubes immediately and do not consume them too cold.
Danger of injury and damage:
- Hot steam can lead to injury. Do not use electrical heating or steam cleaning equipment, open flames or defrosting sprays to defrost.
- Do not use sharp implements to remove the ice.
Danger of crushing:
- Do not hold the hinge when opening and closing the door. Fingers may get caught.
Symbols on the appliance:
| The symbol can be located on the compressor. It refers to the oil in the compressor and indicates the following danger: Swallowing or inhaling can be fatal. This is only relevant for recycling. There is no danger in normal operation. | |
| This symbol is found on the compressor and indicates the danger of flammable materials. | |
| VIP/P-D | A sticker to this effect may be applied to the rear of the appliance. It refers to the foam-padded panels in the door and/or the housing. This is only relevant for recycling. Do not remove the sticker. |
Please observe the specific information in the other sections:
| ! | DANGER | identifies a situation involving direct danger which, if not obviated, may result in death or severe bodily injury. |
| ! | WARNING | identifies a dangerous situation which, if not obviated, may result in death or severe bodily injury. |
| CAUTION | identifies a dangerous situation which, if not obviated, may result in minor or medium bodily injury. |
| NOTICE | identifies a dangerous situation which, if not obviated, may result in damage to property. |
| Note | identifies useful information and tips. |
3 Controls and displays
3.1 Home screen

Fig. 4
(1) Fridge compartment field
(2) BioFresh field
(3) Freezer compartment field
(4) Menu field
(5) Screen
The home screen is the first screen the user sees. All settings can be made from there.
All functions can be called up by touching the screen and values can be changed.
3.2 Operating structure
Fridge compartment field

Fig. 5
(1) Fridge compartment symbol
(2) Fridge compartment temperature display
The fridge compartment temperature is displayed in the fridge compartment field.
The following settings can be entered:
- Temperature settings
- Switching the fridge compartment and the BioFresh compartment on and off
BioFresh field

Fig. 6
(1) BioFresh symbol
(2) BioFresh temperature display
Setting the Biofresh temperature (see 5.5).
Freezer compartment field

(1) Freezer compartment symbol
(2) Freezer compartment temperature display
The freezer compartment temperature is displayed in the freezer compartment field.
The following settings can be entered:
- Temperature settings
- Switch appliance on/off
The fridge and BioFresh compartment are also turned off when the freezer compartment is turned off.

Menu field
(1) Main menu
(2) Option selected
The menu field gives access to the appliance options and settings. Selected options are also displayed.
3.3 Navigation
Touch the menu to access the individual options. An audible signal sounds after confirming an option or a setting. The display switches to the home screen.
The appliance is operated using the following symbols:







Standby:
Switches the appliance or temperature zone on.
Menu:
Calls up options.
Minus / Plus:
Changing settings (e.g. adjusting temperatures).
Left/right navigation arrow:
Selects options and navigates through the menu.
You can scroll through the individual options using the navigation arrows. The first option is displayed again after the last one.
Back:
Cancelstheselection.
The display switches to the next higher level or to the home screen
OK:
Confirms the selection.
After confirmation the display switches to the home screen.

ON/OFF, START/STOP
Starts/ stops options.
STOP
After selecting or cancelling an option the display switches to the home screen.

RESET:
Resetstimer.

Access to customer service
Note
If no selection is made after 1 minute the display switches to the home screen.
3.4 Display symbols
Display symbols provide information on the current appliance status:

Up arrows:
The temperature increases.

Down arrows:
The temperature reduces.

Standby:
The appliance or temperature zone is switched off.

Messages:
There are active error messages and reminders.
3.5 Appliance options
You can select or set the following options; explanations and setting options, (see 5):
Symbol
Option
SuperCoolx

11:27h

SuperFrost


SabbathMode


Temperature unit


BioFresh


BioFresh
^X If the option is selected, the relevant symbol is displayed in the menu field.
If more than 6 selected options are selected only 4 options are displayed in the menu field. The other options are displayed by pressing the bottom navigation arrow. Pressing the navigation arrow repeatedly takes you back to the home screen.
The symbol disappears if the option ends or is disabled.
4 Putting into operation
4.1 Transporting the appliance

CAUTION
Risk of injury and danger of damage as a result of incorrect transport!
Transport the appliance in a packed condition.
Transport the appliance upright.
Do not transport the appliance without assistance.
4.2 Installing the appliance

WARNING
Fire hazard due to dampness!
If live parts or the mains lead become damp this may cause short circuits.
The appliance is designed for use in enclosed areas. Do not operate the appliance outdoors or in areas where it is exposed to splash water or damp conditions.

WARNING
Risk of fire due to short circuit!
If the mains cable/connector of the appliance or of another appliance touch the rear of the appliance, the mains cable/connector may be damaged by the appliance vibrations, leading to a short circuit.
Stand the appliance so that it is not touched by connectors or main cables.
- Do not plug the appliance or any others into sockets located near the rear of the appliance.

WARNING
Fire hazard due to refrigerant!
The coolant used is eco-friendly but also flammable. Any leaking coolant may ignite.
Do not damage the piping of the refrigeration circuit.

WARNING
Fire hazard and danger of damage!
- Do not place appliances emitting heat e.g. microwaves, toasters etc. on the appliance!

WARNING
Blocked ventilation openings pose a risk of fire and damage!
Always keep the ventilation openings clear. Always ensure that the appliance is properly ventilated!
NOTICE
Risk of damage due to condensate!
- Do not install the appliance directly alongside a further refrigerator/freezer.
Note
If you have several appliances next to one another, leave a gap of 70mm between appliances. Otherwise condensation will build up between the units.

Fig. 9
Before you connect the appliance, report any damage immediately to the delivery company.
The floor of the installation site must be horizontal and even.
- Do not install the appliance in direct sunlight, next to an oven, radiator or similar.
Install the appliance with the rear panel up against the wall and always use the supplied wall spacers (see below).
Only ever move the appliance when it is empty.
The surface supporting the appliance must be at the same level as the surrounding floor.
Do not install the appliance on your own.
The more coolant there is in the appliance, the larger the room in which the appliance is installed must be. If the room is too small, any leak may create a flammable mixture of gas and air. For each 8g of coolant the installation space must be at least 1m^3 . Information on the coolant is on the model plate inside the appliance.
Remove the protective film from the outside of the appliance.*
NOTICE
Risk of damage from stainless steel care products!
The stainless steel doors and stainless steel side panels are treated with a premium surface finish.

Stainless steel care products attack these surfaces.
- Only use a soft, clean cloth to wipe down finished door and side panel surfaces and painted door and side panel surfaces. To remove heavy dirt, use a little water or neutral detergent. Alternatively, you can use a micro-fibre cloth.
Remove the protective film from the decorative trims and drawer fronts.
Remove all transit supports.
Spacers must be used to achieve the declared energy consumption and to prevent condensation in the event of high surrounding humidity. This increases the appliance depth by about 15mm . The appliance will work perfectly well without the spacers but will have a slightly higher energy consumption.
If your appliance comes with wall spacers, mount these on the back of the appliance, bottom left and right.

Dispose of packaging material (see 4.5).
Align the appliance so that it stands firmly and on a level by applying the accompanying spanner to the adjustable-height feet (A) and using a spirit level.
Then support the door: Extend the adjustable foot at the turn hinge (B) until it rests on the floor and then make a further 90^ turn.

Note
Clean the appliance (see 6.5).
If the appliance is installed in a very damp environment, condensate may form on the outside of the appliance.
Always see to good ventilation at the installation site.
4.3 Reversing the door
If necessary, you can change the way the door opens:
Ensure that the following tools are available:
Torx® 25 (T25)
Torx ⑧ 15 (T15)
Slotted screwdriver
Open-ended wrench SW10
Spirit level
Open-ended wrench supplied with the T25 tool
□ If necessary, a cordless screwdriver
Get a stepladder if necessary
□ If necessary, a second person for assembly
Remove any food from the door racks before removing the door, so that no food falls out.

Fig. 10
Open the door.
NOTICE
Risk of damage!
If the door seal is damaged, the door may fail to close properly and the cooling will be inadequate.
Do not damage the door seal with the screwdriver!
Remove the outer cover. Fig. 10 (1)
Disengage and release the bearing bracket cover. Remove the bearing bracket cover. Fig. 10 (2)
Unlatch the panel with a slotted screwdriver and swivel it to one side. Fig. 10 (3)

Fig. 11

CAUTION
Risk of injury if the door tips!
Take good hold of the door.
Set down the door carefully.
Carefully remove the protective cover. Fig. 11 (1)
Undo the bolt a little with a T15 screwdriver. Fig. 11 (2)
Hold the door and remove the bolts with your fingers. Fig. 11 (3)
▶ Pull the bearing bush out of the guide. Insert from the other side and click into place. Fig. 11 (4)
Lift the door and set it aside.
- Carefully lift the plugs out of the door bearing bush with a slotted screwdriver and remove. Fig. 11 (5)
4.3.2 Removing the lower door

Fig. 12

CAUTION
Risk of injury if the door tips!
Take good hold of the door.
Set down the door carefully.
Pull out the bolts towards the top. Fig. 12 (1)
Swing the door out, pull it upwards and set it aside. Fig. 12 (2)
4.3.3 Moving the upper bearing parts to the other side

Fig. 13
Remove both screws with the T25 screwdriver.
Lift and remove the bearing bracket.

Fig. 14
Release the cover and remove from the side. Fig. 14 (1)
Rotate the cover 180^ and clip onto the other side from the right. Fig. 14 (2)
▶ Click the cover into place. Fig. 14 (3)
Position the screw with a T25 screwdriver. Fig. 14 (4)
Position the upper bearing bracket. Fig. 14 (5)
Place the pins in the provided screw holes.
▶ Tighten the screw. Fig. 14 (4)
Insert the screw with a T25 screwdriver and tighten. Fig. 14 (6)
4.3.4 Moving the central bearing parts to the other side

Fig. 15
Remove the washer. Fig. 15 (1)
Remove the screws with the T25 screwdriver. Fig. 15 (2)
Remove the cover carefully. Fig. 15 (3)
Screw the bearing bracket and the film rotated 180^ firmly onto the other side. Fig. 15 (4)
Attach the cover rotated 180^ onto the other side. Fig. 15 (5)
Push the washer in from the front. Fig. 15 (6)
4.3.5 Moving the lower bearing parts to the other side

Fig. 16
Lift the bearing pin completely upward and remove. Fig. 16(1)
Undo the screws with a T25 screwdriver and remove the bearing bracket Fig. 16 (2)

Fig. 17
Loosen the screw using a T25 screwdriver. Fig. 17(1)
Lift the door closure aid and turn it 90^ to the right in the hole. Fig. 17(2)
Tighten the screw using a T25 screwdriver. Fig. 17(3)


Fig. 18
Remove the cover and fix it on the other side. Fig. 18 (1)
Place the bearing bracket on the other side and screw in with the aid of a T25 screwdriver. Start with screw 2 at the bottom in the middle. Fig. 18 (2)
Screw in screws 3 and 4. Fig. 18 (3, 4)
Insert the bearing pin completely. Make sure that the catch mechanism is pointing to the rear. Fig. 18 (5)
4.3.6 Moving the door bearing parts to the other side
Bottom door
Fig. 19

Underside of door faces upwards: Turn the door.
Push the tab downwards with a slotted screwdriver. Fig. 19 (1)
▶ Pull the door latch out of the guide. Fig. 19 (2)
Push the door latch into the guide on the other side. Fig. 19 (3)
Upper side of door faces upwards: Turn the door.
Top door
Fig. 20

Underside of door faces upwards: Turn the door.
Push the tab downwards with a slotted screwdriver. Fig. 20(1)
▶ Pull the door latch out of the guide. Fig. 20 (2)
▶ Pull out the guide bush: Press the tab with a slotted screwdriver and, at the same time, insert the slotted screwdriver under the guide bush. Fig. 20 (3, 4)
▶ Slide the guide bush included in the scope of supply to the other side of the housing. Fig. 20 (5)
Push the door latch into the guide. Fig. 20 (6)
Upper side of door faces upwards: Turn the door.
4.3.7 Moving the handles to the other side
Fig. 21

▶ Pull off the cover. Fig. 21 (1)
Remove the screws with the T15 screwdriver. Fig. 21 (2)
Remove the handle. Fig. 21 (3)
Carefully lift up the side plugs with a slotted screwdriver and pull them out. Fig. 21 (4)
Insert the plugs again on the other side. Fig. 21 (5)
Fig. 22

Position the handle on the other side. Fig. 22 (1)
The screw holes must be exactly above each other.
Tighten the screws with the T15 screwdriver. Fig. 22 (2)
Position the covers on the side and push in. Fig. 22 (3)
Ensure that it clicks into place.
Carefully lift up the plugs with a slotted screwdriver and remove them. Fig. 23(1)
Insert the plugs again on the other side of the door. Fig. 23 (2)
Position the door from above onto the lower bearing pins. Fig. 23 (3)
Insert the centre bearing pin through the centre bearing bracket into the lower door. Make sure that the catch mechanism is pointing to the rear. Fig. 23 (4)
Place the door on the centre bearing pins.
Align the top of the door with opening in the bearing bracket. Fig. 24 (1)
Insert the bolt and tighten with a T15 screwdriver. Fig. 24 (2)
Fit the protective cover to protect the door: Insert the protective cover and check that it is attached to the door. If not, insert the bolt fully. Fig. 24 (3)
Insert the plugs. Fig. 24 (4)
4.3.10 Aligning the doors

WARNING
Risk of injury due to the door dropping out!
If the bearing parts are not screwed into place firmly enough, the door may drop out. This may lead to severe injuries. What is more, the door may not close and therefore the appliance may fail to cool properly.
Screw the turn hinges firmly into place with 4 Nm.
Check all of the screws and retighten if necessary.
Align the doors flush with the appliance housing using the two oblong holes in the lower bearing bracket and centre bearing bracket if needed. To do this undo the middle screw in the bottom bearing bracket with the T25 tool supplied. Undo the remaining screws a little with the T25 tool or with a T25 screwdriver and align using the slotted holes. Undo the screws in the middle bearing bracket with the T25 tool and align the middle bearing bracket using the slotted holes.
Support the door: Take off the adjustable foot on the bearing bracket using the open-ended wrench SW10 until it comes into contact with the floor, then turn an additional 90^ .
4.3.11 Fit the covers

Fig. 25 The door is open 90^
Position the bearing bracket and engage. If necessary push apart carefully. Fig. 25 (1)
Position the panel on the side and click into place. Fig. 25 (2)

Fig. 26
▶ Slide on the external cover. Fig. 26 (1)
Close the upper door. Fig. 26 (2)
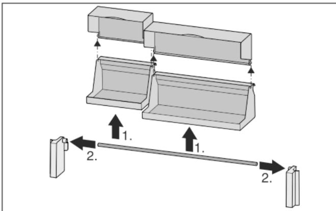
4.4 Insertion into a row of kitchen units

For 600 mm wide appliances:*
Fig. 27
| A [mm]* | B [mm]* | C [cm2]* | D [mm]* | E [mm]* |
| 665 x | 65 | Min. 300 | Min. 50 | Min. 46 |
For 700 mm wide appliances:*
| A [mm]* | B [mm]* | C [cm2]* | D [mm]* | E [mm]* |
| 665 x | 65 | min. 300 | min. 50 | min. 46 |
^X If wall spacers are used, the dimensions increase by 15 mm (see 4.2).
The dimensions apply for an opening angle of 90^ . Spacing angles will vary according to the opening angle.
The appliance can be built into kitchen units. A top cupboard Fig. 27 (2) can be added above the appliance in order to bring the appliance Fig. 27 (1) up to the height of the fitted kitchen units.
The appliance can be installed right next to the kitchen cabinet Fig. 27 (3). The appliance must stick out by the depth Fig. 27(B) from the front of the cabinet so that the doors can be opened fully. The appliance may protrude further depending on the depth of the kitchen cabinets and whether wall spacers are used.
NOTICE
Danger of overheating due to insufficient air ventilation!
The compressor may be damaged if there is insufficient air ventilation.
Take care to ensure adequate air ventilation.
Observe the ventilation requirements.
Ventilation requirements:
- Spacer ribs on the back of the appliance provide sufficient air ventilation. In the final appliance position, these must not be placed in recesses or cut-outs.
- There must be a ventilation shaft with the depth Fig. 27 (D) at the back of the top cupboard over the entire width of the cupboard.
- The ventilation shaft Fig. 27 (C) must be observed under the ceiling.
- the larger the ventilation space, the more energy-saving the appliance is in operation.
If the appliance is installed with the hinges next to a wall Fig. 27 (4) the distance Fig. 27 (E) between the appliance and the wall must be observed. This is how far the handle protrudes when the door is open.
4.5 Disposing of packaging

WARNING
Danger of suffocation due to packing material and plastic film!
Do not allow children to play with packing material.
The packaging is made of recyclable materials:
- corrugated board/cardboard
- expanded polystyrene parts
polythene bags and sheets
polypropylene straps - nailed wooden frame with polyethylene panel*
Take the packaging material to an official collecting point.

4.6 Connecting the appliance

WARNING
Failure to connect properly
Fire hazard.
Do not use an extension cable.
Do not use distributor blocks.
NOTICE
Failure to connect properly
Damage to the electronics.
Do not use a standalone inverter.
Do not use an energy saving plug.
Note
Only use the power connection lead supplied.
A longer power connection lead can be ordered from Customer Service.

Fig. 28
For 600 mm wide appliances:*
| a* | b* | c* | d* | G* |
| ~ 1800 mm | ~ 1400 mm | ~ 2100 mm | ~ 200 mm | Appliance plugs |
For 700 mm wide appliances:*
| a* | b* | c* | d* | G* |
| ~ 1750 mm | ~ 1350 mm | ~ 2100 mm | ~ 200 mm | Appliance plugs |
Ensure that the following conditions are met:
- The type of current and voltage at the installation site correspond to the information on the model plate (see 1).
- The socket is earthed according to the regulations and fused.
- The fuse tripping current is between 10 and 16 A.
- The socket is easily accessible.
- The socket is outside the back of the appliance area in the specified area Fig. 28 (a, b, c).
Check the electrical connection.
Insert the appliance plug Fig. 28 (G) into the back of the appliance. Ensure that it clicks into place.
Connect the power plug to the power supply.
The Liebherr logo appears on the screen.
The display switches to the standby symbol.
4.7 Switching on the appliance
Note
If the appliance is in demo mode, DEMO appears on the home-screen.
Disable demo mode (see 7).
Note
The manufacturer recommends:
- Store frozen produce at -18 °C or colder.
Connect and switch on appliance approx. 2 hours before loading for the first time.
4.7.1 Switch on appliance
If the standby symbol is displayed over the whole screen:
Press the standby symbol.
The appliance is switched on. The display switches to the home screen.
The appliance is set to the displayed temperatures. This is shown by down arrows.
If the standby symbol is displayed in the fridge compartment field, the BioFresh compartment field and the freezer compartment field:
Press the Standby symbol in the freezer compartment field or the fridge compartment field.
The appliance is switched on.
The appliance is set to the displayed temperatures. This is shown by down arrows.
If the screen is black:
Touch the screen.
The standby symbol appears on the whole screen.
Press the standby symbol.
The appliance is switched on. The display switches to the home screen.
The appliance is set to the displayed temperatures. This is shown by down arrows.
4.7.2 Switching the fridge and BioFresh compartments on
If the standby symbol is displayed in the fridge compartment and the BioFresh compartment fields
Press the standby symbol in the fridge compartment field.
The fridge and BioFresh compartments are switched on.
The fridge and BioFresh compartments are set to the displayed temperature. This is shown by down arrows.
4.8 Inserting the FreshAir filter.
The supplied FreshAir filter can be used for optimum air quality. The intake is located at the top of the appliance, (see 1)
Remove cover.


Fig. 29
FreshAir-Insert the filter in the cover and turn it clockwise.
Ensure that the filter clicks into place.
Replace the cover again.
Setting the timer
Press menu.
Press the navigation arrows until the FreshAir filter is displayed.
Press the FreshAir filter symbol.
Press ON.
The timer is set. After the interval has expired a message prompts you to change the FreshAir filter.
4.9 Setting the clean ventilation grid timer
The ventilation grid must be cleaned at least once a year for sufficient ventilation. The timer can be set as a reminder.
Press menu.
Press the navigation arrows until the ventilation grid is displayed.
Press the ventilation grid symbol.
Press ON.
The timer is set. After the interval has expired a message prompts you to clean the ventilation grid.
5 Control
5.1 Changing the temperature unit
The temperature display can be switched from ^ C to ^ F .
Press menu.
Press the navigation arrow until ^ C is displayed.
Press ^
The temperature is displayed in ^ F

Switch from ^ F to ^ C in the same way.
5.2 Child proofing
The child-proofing function enables you to make sure that the appliance is not inadvertently switched off by playing children.


5.2.1 Switching on the child safety device
Press menu.
Press the navigation arrows until the child safety device is displayed.
Press ON.
The child safety device is switched on.


5.2.2 Switching the child safety device off
Press menu.
Press the navigation arrows until the child safety device is displayed.
Press OFF.
The child safety device is switched off.

5.3 Sabbath Mode
This function meets the religious requirements on the Sabbath or Jewish feast days. When Sabbath mode is on some of the electronic control functions are switched off. After setting Sabbath mode you no longer need to worry about indicator lamps, figures, symbols, displays, alarm messages and fans. The thawing cycle only works for the specified time without taking account of fridge use. After a power cut the appliance automatically switches back to Sabbath mode.
There is a list of Star-K certified appliances at www star-k.org/ appliances.

WARNING
Danger of food poisoning.
If a power cut occurs when Sabbath mode is enabled, this message is not saved. Once the power is restored the appliance continues to work in Sabbath mode. When this mode is over no message about the power cut is displayed on the temperature display.
If a power cut occurred during Sabbath mode:
Check the food for quality. Do not eat the food if it has thawed.
- All functions are blocked until Sabbath mode is switched off.
- If functions such as SuperFrost, SuperCool, ventilation etc. are selected when Sabbath mode is switched on they remain switched on.
- No audible signals are emitted and the temperature display does not indicate any warnings or settings (such as a temperature alarm or door alarm).
- The internal light is off.
5.3.1 Switching SabbathMode on.
Press menu.
Press the navigation arrow until SabbathMode is displayed.
Press ON.
SabbathMode is switched on. Only the SabbathMode symbol appears on the screen.
SabbathMode switches off automatically after 120 hours if it has not already been switched off manually. The display switches to the home screen.
5.3.2 Switch off the SabbathMode
Touch the screen.
Press OFF.
SabbathMode is switched off.



5.4 Refrigerator compartment
The natural circulation of air in the refrigerator compartment results in zones differing in temperature. It is coldest directly above the plate separating off the BioFresh zone and at the rear wall. It is warmest at the top front of the compartment and in the door.
5.4.1 Food refrigeration
Note
The energy consumption increases and the cooling performance decreases if the ventilation is inadequate.
Always keep the air slits of the fan free.
Place butter and preserves in the upper area and in the door (see 1).
Use recyclable plastic, metal, aluminium and glass containers and cling film for wrapping.
Always store raw meat and fish in clean, sealed containers on the bottom shelf of the refrigerator, to prevent them coming into contact with or dripping onto other foods.
Always store liquids and food which is subject to odour or taste transfer in closed containers or cover them.
Use the front area of the refrigerator compartment floor only for briefly putting down cooled products, e.g. when rearranging and sorting. However do not leave cooled products there otherwise they may be pushed back or tipped over when the door is closed.
Do not store food too close together to enable good air circulation.
5.4.2 Setting the temperature
The temperature depends on the following factors:
- the frequency of opening the door
- how long the door is open for
- the room temperature of the installation location
- the type, temperature and quantity of the food
The temperature can be set from 9^ to 3^ .
Recommended temperature setting: 5^
Press the fridge compartment field.
The following screen is displayed:

Fig. 30
Setting a higher temperature:
Press plus.
Setting a lower temperature:
Press minus.
The minus symbol is greyed out when the coldest temperature is selected.
The plus symbol is greyed out if it is pressed again after selecting the hottest temperature. The standby symbol is displayed on the screen.
Confirm the required temperature with OK.
The display switches to the home screen.
The selected temperature is displayed.
Up or down arrows indicate the change in temperature. The arrows are greyed out when the target temperature is reached.
5.4.3 SuperCool
With SuperCool you switch to the highest cooling performance to reach lower cooling temperatures. Use SuperCool, to rapidly cool large amounts of food.


When SuperCool is activated, the fan* may run. The appliance operates with maximum cooling performance, which means that the noise of the refrigeration unit may be temporarily louder.
The SuperCool function uses slightly more energy.
Switching on SuperCool
Press menu.
Press the navigation arrow until SuperCool is displayed.
Press the SuperCool symbol.
The following screen is displayed:

Fig. 31
The running time can be set to four levels.
Setting the running time:
The minus symbol is greyed out when the lowest level is selected.
The plus symbol is greyed out when the highest level is selected.
Confirm the required running time with START.
The display switches to the home screen.
SuperCool is selected.
The remaining running time and the SuperCool symbol are displayed in the fridge compartment field.
The lowered temperature is shown by the down arrows.
After the remaining running time has elapsed the appliance returns to normal mode. The temperature is set to the preset value again. Up arrows show the temperature increase.
Switching SuperCool off ahead of schedule
Press menu.
Press the navigation arrow until SuperCool and the remaining running time are displayed.
Press on the remaining running time.
Press STOP.
SuperCool is switched off.
The temperature is set to the preset value again. Up arrows show the temperature increase.
5.4.4 Shelves
Moving or removing shelves
The shelves are prevented from being pulled out accidentally by pull out stops.

Fig. 32
Lift the shelf and pull forward a little.
Adjust the height of the shelf. To do this move the slots along the supports.
In order to remove the shelf fully, place it at a slant and pull out towards the front.
- Re-insert shelves at the required height. The stops must face downwards and lie behind the front shelves.
Dismantling shelves
The shelves can be dismantled for cleaning.

5.4.5 Using the sectioned shelf*

Fig. 33
Adjusting the height:
Pull the glass plates out forwards one by one.
Remove the support from the catch mechanism and click into place at the required height.
Using both shelves:
Lift the top glass plate and pull the bottom glass plate forwards.
The glass plate (1) with the pull out stops must be at the front so that the stops (3) point downward.
5.4.6 Using adjustable bottle shelf
At the base of the refrigerator compartment, the integrated bottle shelf or alternatively the glass shelf can be used:
Using the bottle shelf: remove glass shelf and store separately.
Place the bottles with the base pointing backwards facing the rear wall. If the bottles project beyond the bottle shelf:
set the lower door rack one position higher.

5.4.7 Door racks
Moving the storage rack

Fig. 34*

Fig. 35*
The boxes can be removed and placed on the table as a single unit.*

Either one or both the boxes can be used. If particularly tall bottles are to be stored, hang only a single box above the bottle rack.*
Re-positioning the boxes: Lift them for removal and re-position them as required.*

Dismantling door racks

Fig. 36*


Fig. 37*
Fig. 38*

The door racks can be dismantled for cleaning.
5.4.8 Using the bottle holder

To avoid the bottles tipping over, push the bottle holder along.

5.4.9 Egg tray*
You can take out and rotate the egg tray. You can use the two parts of the egg tray to mark different use-by dates, for example.

Use the top part to store e.g. chicken eggs.
Use the bottom part to store quails' eggs.
5.5 BioFresh compartment
In the BioFresh section, certain fresh foods can be kept fresh for longer compared to conventional cooling methods.
For food with an indicated best before date, the date specified on the packaging always applies.
If the temperature falls below 0^ , foodstuffs can freeze.
5.5.1 DrySafe
The DrySafe is suitable for storing dry or wrapped food (e.g. dairy products, meat, fish, sausages). A relatively dry storage climate is established here.
5.5.2 HydroSafe
The humidity in the compartment depends on the moisture content of the items being stored and the number of times the door is opened. You can set the humidity yourself.
On the high moisture setting, the HydroSafe is suitable for storing loose salad, vegetables and fruit with a high moisture content. A well-stocked drawer is stored in absolute freshness.
5.5.3 Setting the humidity in the HydroSafe

Low humidity: Move the control to the left.

High humidity:
Move the slide control to the right.

5.5.4 Storing food
Note
Do not put the following in the BioFresh section: cold-sensitive vegetables including cucumbers, aubergines, tomatoes, courgettes and any cold-sensitive tropical fruits.
To prevent food spoilage due to transfer of germs: Store unwrapped animal and vegetable products separate from one another in the drawers. This also applies to different sorts of meat.
If food has to be stored together due to lack of space:
wrap the food.
5.5.5 Storage times
| Guidelines for storage periods at low humidity 0 °C | |||
| Butter | up to | 90 | days |
| Hard cheese | up to | 110 | days |
| Milk | up to | 12 | days |
| Cold meats | up to | 9 | days |
| Poultry | up to | 6 | days |
| Pork | up to | 7 | days |
| Beef | up to | 7 | days |
| Game | up to | 7 | days |
Note
Please note that protein-rich food deteriorates faster, i.e. shellfish and crustaceans deteriorate faster than fish, fish faster than meat.
| Guidelines for storage periods at high humidity 0 °C | |||
| Vegetables, salads | |||
| Artichokes | up to | 14 | days |
| Celery | up to | 28 | days |
| Cauliflower | up to | 21 | days |
| Broccoli | up to | 13 | days |
| Chicory | up to | 27 | days |
| Leaf lettuce | up to | 19 | days |
| Peas | up to | 14 | days |
| Kale | up to | 14 | days |
| Carrots | up to | 80 | days |
| Garlic | up to | 160 | days |
| Cabbage | up to | 55 | days |
| Round lettuce | up to | 13 | days |
| Herbs | up to | 13 | days |
| Leeks | up to | 29 | days |
| Mushrooms | up to | 7 | days |
| Radishes | up to | 10 | days |
| Sprouts | up to | 20 | days |
| Asparagus | up to | 18 | days |
| Spinach | up to | 13 | days |
| Savoy cabbage | up to | 20 | days |
| Fruit | |||
| Apricots | up to | 13 | days |
| Apples | up to | 80 | days |
| Pears | up to | 55 | days |
| Blackberries | up to | 3 | days |
| Dates | up to | 180 | days |
| Strawberries | up to | 7 | days |
| Figs | up to | 7 | days |
| Blueberries | up to | 9 | days |
| Raspberries | up to | 3 | days |
| Guidelines for storage periods at high humidity 0 °C | |||
| Red currants | up to | 7 | days |
| Cherries, sweet | up to | 14 | days |
| Kiwis | up to | 80 | days |
| Peaches | up to | 13 | days |
| Plums | up to | 20 | days |
| Cranberries | up to | 60 | days |
| Rhubarb | up to | 13 | days |
| Gooseberries | up to | 13 | days |
| Grapes | up to | 29 | days |
5.5.6 Setting the temperature in the BioFresh compartment.
Recommended refrigerator setting: 5^ . The BioFresh temperature is controlled automatically and is between 0^ and 3^ . The temperature can be set slightly colder or slightly warmer. The temperature can be set from level 1 (lowest temperature) to level 9 (highest temperature). The default setting is level 5. With levels 1 - 4 the temperature can drop to below 0^ so that the food can freeze.
Press menu.
Press the navigation arrow until BioFresh is displayed.
+ Press
The following screen is displayed:
BioFresh


Fig. 39
Setting the level: Press plus or minus.
The minus symbol is greyed out when the lowest level is selected.
The plus symbol is greyed out when the highest level is selected.
Confirm the required level with OK.
The display switches to the home screen.
The BioFresh temperature is changed to the new value.

5.5.7 Drawers
Fig. 40
Pull out the drawer, lift it at the back and draw it forwards for removal.
Replace the racks.

Pull out the rails.
Attach the drawer to the rails and push it in until it engages audibly at the back.
5.5.8 Humidity control plate

Fig. 42
To remove the humidity control plate: Having removed the drawers, carefully draw the plate forwards and lower it for removal.
- Inserting the humidity control plate: Insert the plate from below into the front and back bracket and push back until it clicks into place.
5.6 Freezer compartment
You can store frozen food, make ice cubes and freeze fresh food in the freezer compartment.
5.6.1 Freezing food
The rating plate indicates the maximum quantity of fresh food you can freeze within 24 hours (see 1) under "Freezing capacity ... kg/24h".
Each drawer can hold a max. of 25kg of frozen food.
For 600 mm wide appliances:*
The shelves can each be loaded with 35kg of frozen food.*
For 700 mm wide appliances:*
The shelves can each be loaded with 55kg of frozen food.*
Closing the door creates a vacuum. After closing, wait for around 1 minute, then the door will be easier to open.

CAUTION
Risk of injury due to broken glass!
Bottles and cans containing drinks may burst when being frozen. This applies particularly to sparkling drinks.
Do not freeze bottles and cans containing drinks!
So that the food is rapidly frozen through to the core, do not exceed the following quantities per pack
- Fruit, vegetables up to 1 kg
Meat up to 2.5 kg
Pack the food in portions in freezer bags, reusable plastic, metal or aluminium containers
5.6.2 Storage life
| Standard values for the storage life of various types of food in the freezer compartment: |
| Ice-cream | 2 to 6 months |
| Sausage, ham | 2 to 6 months |
| Bread, bakery products | 2 to 6 months |
| Standard values for the storage life of various types of food in the freezer compartment: | |
| Game, pork | 6 to 10 months |
| Fatty fish | 2 to 6 months |
| Lean fish | 6 to 12 months |
| Cheese | 2 to 6 months |
| Poultry, beef | 6 to 12 months |
| Vegetables, fruit | 6 to 12 months |
The values indicated for storage life are standard ones.
5.6.3 Thawing food
- in the refrigerator compartment
- in a microwave oven
- in a conventional or fan oven
- at room temperature
- Remove only as much food as is required. Use thawed food as quickly as possible.
- Food once thawed should be re-frozen only in exceptional cases.
5.6.4 Setting the temperature
The temperature depends on the following factors:
- the amount of times the door is opened
- how long the door is open for
- the room temperature of the installation site
- the type, temperature and amount of food
The temperature can be set from -26^ to -16^ .
Recommended temperature setting: -18^
Press the freezer compartment field.
The following screen is displayed:

Fig. 43
Setting a higher temperature:
Press plus.
Setting a lower temperature:
Press minus.
The minus symbol is greyed out when the coldest temperature is selected.
The plus symbol is greyed out if it is pressed again after selecting the hottest temperature. The standby symbol is displayed on the screen.
Confirm the required temperature with OK.
The display switches to the home screen.
The selected temperature is displayed.
Up or down arrows indicate the change in temperature. The arrows are greyed out when the target temperature is reached.
5.6.5 SuperFrost
With this function you can freeze fresh food quickly through to the core. The appliance operates with maximum refrigeration. The noise of the refrigeration unit may be temporarily louder as a result.

In addition, frozen food already in storage is given a "cold reserve". The food stays frozen longer as a result when you defrost the appliance.*
You can freeze as many kilograms of fresh food within 24 hrs as is indicated on the type plate under "Freezing capacity ... kg/24hrs". This maximum freezing quantity can vary depending on model and climate class.
You have to activate SuperFrost in good time, depending on how much fresh food is to be frozen: about 6 hours before placing the food inside in case of small amounts and about 24 hours in advance in case of the maximum amount of food to be frozen.
Wrap produce and spread it out as far as possible. Do not allow produce to be frozen to touch produce that is already frozen to prevent the latter thawing.
You do not have to activate SuperFrost in the following cases:
- when placing frozen food in the freezer
- when freezing up to approx. 1 kg fresh food daily
Switching SuperFrost on.
Press menu.
Press the navigation arrow until SuperFrost is displayed.
Press ON.
SuperFrost is switched on.
The freezer temperature goes down and the appliance works at maximum cooling capacity. If there is a small amount of frozen food:
wait about 6 hours.
Appliance with NoFrost:*
Place packaged food in the top drawers.
Appliance without NoFrost:*
Place packaged food in the bottom drawers.
With the maximum amount of frozen food (see model plate):
▶ wait about 24 hours.
Appliance with NoFrost:*
Remove top drawers and place food directly on the upper shelves.*
Appliance without NoFrost:*
Remove bottom drawer and place the food into the appliance directly, so that it is in contact with the bottom or side walls.*
SuperFrost switches itself off automatically after about 65 hours.
The SuperFrost symbol is greyed out.
Put the food in the drawers and close them again.
The appliance works in normal mode again.
Switching off SuperFrost
Press menu.
Press the navigation arrow until SuperFrost is * displayed.
Press OFF.
SuperFrost is switched off.
5.6.6 Drawers
Note
The energy consumption increases and the cooling performance reduces if the air ventilation is insufficient.
Ensure that the air slits of the fan on the rear wall are always kept free!

To store frozen food directly on the shelves pull the drawer forward and lift it out.
5.6.7 Shelves
Moving shelves
To remove the shelf: lift up at the front and pull out.
To put the shelf back: simply push in as far as it will go.

5.6.8 VarioSpace
You can remove the shelves and drawers. This leaves more room for larger food items such as poultry, meat, large game and tall baked goods, which can be frozen whole before further preparation.

Each drawer can hold max. 25kg of frozen food.
For 600 mm wide appliances:*
The shelves can each be loaded with 35kg of frozen food.*
For 700 mm wide appliances:*
The shelves can each be loaded with 55kg of frozen food.*
6 Maintenance
6.1 Change the FreshAir filter.
The FreshAir filter guarantees optimum air quality. It should be changed every 12 months. When the timer is set a message on the display prompts you to change it. The FreshAir filter can be ordered from the specialist dealer.
Change FreshAir filter is displayed.
Press the change FreshAir filter symbol
The display switches to the home screen.
The message can be displayed again by pressing on the menu field until the filter has been changed and confirmed. (see 8).

Fig. 44
Remove cover.


Fig. 45
Remove the FreshAir filter.
Insert the new filter in the reverse order.
Ensure that the filter clicks into place.
Replace the cover again.
Confirming the filter change
Press menu.
Press the navigation arrows until the FreshAir filter is displayed.
Press the FreshAir filter symbol.
Press the navigation arrows until change FreshAir filter is displayed.
Press RESET.
The timer is reset. The change interval starts all over again.
Turning the timer off
If a new FreshAir filter is not inserted the timer can be turned off
Press the navigation arrows until the FreshAir filter is displayed.
Press menu.
Press the FreshAir filter symbol.
Press OFF.
The timer is turned off.
6.2 Manual defrosting*
Fridge compartment:
The refrigerator compartment is defrosted automatically. The defrost water evaporates as a result of the heat of the compressor. Drops of water on the rear wall are perfectly normal.
Freezer compartment:
A layer of frost or ice can build up in the freezer compartment after a long period of operation.
The layer of frost or ice builds up faster if the appliance is opened often or if the food is warm when placed inside. However, a thick layer of ice will increase the appliance's energy consumption. You should therefore defrost the appliance regularly.
Thawing process:

WARNING
Danger of injury and damage
- Do not use any mechanical aids or other means not recommended by the manufacturer in order to accelerate the defrosting process.
- Do not use electrical heating or steam cleaning equipment, open flames or defrosting sprays to defrost.
Do not use sharp implements to remove the ice.
Do not damage the pipework in the refrigerant circuit.
Switch on SuperFrost one day before defrosting.
The frozen goods are provided with a "cold reserve".
Switch off the appliance.
Pull out the power plug or switch off the fuse.
If possible, put the frozen goods in the freezer drawer, wrapped in newspaper or a blanket, and store in a cool place.
Place a pan with hot, not boiling water on a middle shelf.

Defrosting is speeded up.
Leave the door of the appliance open while defrosting.
Remove detached pieces of ice.
If necessary, pick up defrost water several times, using a sponge or cloth.
Clean the appliance (see 6.5).
6.3 Defrosting with NoFrost*
The NoFrost system automatically defrosts the appliance.
Refrigerator compartment:
The defrost water evaporates due to the compressor heat.
Freezer compartment:
The moisture condenses on the evaporator, is periodically defrosted and evaporates.
The appliance does not have to be manually defrosted.
6.4 Cleaning the ventilation grid
The ventilation grid ensures that the appliance works properly due to optimum aeration and ventilation.
Clean the ventilation grid regularly with a vacuum cleaner.
Remove stubborn stains with a soft cloth.
When the timer is set a message on the display prompts you to clean it. The clean ventilation grid symbol appears on the screen.
Press the clean ventilation grid symbol.
The display switches to the home screen.
The message can be displayed again by pressing the menu field until it has been cleaned and this has been confirmed. (see 8).
Confirming that the ventilation grid has been cleaned
Press menu.
Press the navigation arrows until the ventilation grid is displayed.
Press the ventilation grid symbol.
Press the navigation arrows until clean ventilation grid is displayed.
Press RESET.
The timer is reset. The cleaning interval starts all over again.

Turning the timer off
If the reminder function is to be switched off the timer can be turned off.
Press menu.
Press the navigation arrows until the ventilation grid is displayed.
Press the ventilation grid symbol.
Press OFF.
The timer is turned off.

6.5 Cleaning the appliance
Clean the appliance regularly.

WARNING
Risk of injury and damage as a result of hot steam! Hot steam can lead to burns and can damage the surfaces.
Do not use any steam cleaners!
NOTICE
Incorrect cleaning damages the appliance!
Do not use cleaning agents in concentrated form.
Do not use any scouring or abrasive sponges or steel wool.
Do not use any sharp or abrasive cleaning agents, nor any that contain sand, chloride or acid.
Do not use chemical solvents.
- Do not damage or remove the type plate on the inside of the appliance. It is important for the customer service.
Do not pull off, bend or damage cables or other components.
- Do not allow any cleaning water to enter the drain channel, ventilation grille or electrical parts.
Please use soft cleaning cloths and a universal pH-neutral cleaning agent.
Please use cleaning and care products suitable for contact with foodstuffs in the appliance interior.
Empty appliance.
Pull out the power plug.

Clean plastic outer and inner surfaces with lukewarm water and a little washing-up liquid.
Only use a soft clean cloth to wipe side walls with a paint finish. In the case of heavy soiling, use lukewarm water with neutral cleaning agent.*
NOTICE
Risk of damage from stainless steel care products!
The stainless steel doors and stainless steel side panels are treated with a premium surface finish.

Stainless steel care products attack these surfaces.
- Only use a soft, clean cloth to wipe down finished door and side panel surfaces and painted door and side panel surfaces. To remove heavy dirt, use a little water or neutral detergent. Alternatively, you can use a micro-fibre cloth.
Do not treat the lettering on the painted door surfaces with harsh, abrasive agents. Wipe off any dirt with a soft cloth and some water or neutral cleaner.*
Most of the parts can be dismantled for cleaning: see the relevant chapter.
Clean drawers by hand with lukewarm water and a little washing up liquid.
All the other fittings can be put in the dishwasher.
- Only use a damp cloth to clean the telescopic rails. The grease in the runners is for lubrication purposes and must not be removed.
After cleaning:
Wipe dry the appliance and items of equipment.
Connect the appliance and switch it on again.
Switch on SuperFrost (see 5.6.5).
When the temperature is sufficiently cold:
Put the food back inside.
6.6 Customer service
First of all check whether you can eliminate the fault yourself. (see 7) If you can't, contact Customer Services. You can find the address in the enclosed customer service list.

WARNING
Risk of injury if repair work is not carried out professionally!
Have any repairs and action - not expressly specified - on the appliance and mains cable carried out by service personnel only. (see 6)
Call up the appliance name (model and index), service no. (service), serial no. (s-no.) as well as the expanded functions on the screen:
Press menu.
Press the navigation arrows until the appliance information symbol is displayed.
Press the appliance information symbol.
The appliance information is displayed.
Note down the appliance information.
To return to the home screen press the Back symbol.


To access the customer menu, press it until the key symbol appears.

Enter the numerical code 151 to select the customer menu.
Customer menu
The following functions can be called up in the customer menu:
Self diagnostics
The device carries out self diagnostics and checks all electrical components.
- RESET
The appliance is reset to the factory settings.
- Manual defrosting
Manual defrosting is started.
Close the door.
Contact customer service and give them the required appliance information.
This will help us to provide you with a faster, more accurate service.
Follow any further instructions given by Customer Services.
Alternatively you can read off the appliance information from the model plate:
Read off the appliance name Fig. 46 (1), service no. Fig. 46 (2) and serial no. Fig. 46 (3) from the model plate. The model plate can be found on the inside of the appliance on the left.

Fig. 46
Licence agreements:
Licences used can be viewed at ©.
Press ©.
7 Malfunctions
Your appliance is designed and manufactured for a long life span and reliable operation. If a malfunction nonetheless occurs during operation, check whether it is due to a handling error. In this case you will have to be charged for the costs incurred, even during the warranty period. You may be able to rectify the following faults yourself:
Appliance does not work.
→ The appliance is not switched on.
Switch on the appliance.
The power plug is not properly inserted in the wall socket.
Check power plug.
The fuse of the wall socket is not in order.
Check fuse.
→ The appliance plug does not fit the appliance properly.
Check the appliance plug.
The compressor runs for a long time.
The compressor switches to a low speed when little cold is needed. Although the running time is increased as a result, energy is saved.
This is normal in energy-saving models.
SuperFrost is activated.
The compressor runs for longer in order to rapidly cool the food. This is normal.
SuperCool is activated.
The compressor runs for longer in order to rapidly cool the food. This is normal.
Excessive noise.
Due to the various speed steps, speed-regulated* compressors can generate different running noises.
The sound is normal.
A bubbling and gurgling noise.
This noise comes from the refrigerant flowing in the refrigeration circuit.
The sound is normal.
A quiet clicking noise.
The noise is produced whenever the refrigeration unit (motor) automatically switches on or off.
The sound is normal.
A hum. It is briefly a little louder when the refrigeration unit (the motor) switches on.
→ The refrigeration increases automatically when the SuperFrost, function is activated, fresh food has just been placed in the appliance or the door has been left open for a while.
The sound is normal.
→ The refrigeration increases automatically when the SuperCool function is activated, fresh food has just been placed in the appliance or the door has been left open for a while.
The sound is normal.
→ The ambient temperature is too high.
Solution: (see 1.2)
A low hum.
The sound is produced by air flow noise of the fan.
The sound is normal.
Vibration noises
The appliance is not standing firmly on the floor. As a result objects and adjacent units start to vibrate when the refrigerator is running.
Align the appliance using the adjustable feet.
- Keep bottles and jars apart.
The DEMO symbol appears on the screen. In addition some time elapses.
DEMO mode is activated.
OFF Press.
DEMO is displayed in the top right corner of the screen.
DEMO mode is activated.
Unplug the appliance.
Plug the appliance in again.
The DEMO symbol appears on the screen. In addition some time elapses.
OFF Press.
The outer surfaces of the appliance are warm*.
The heat of the refrigeration circuit is used to prevent condensate from forming.
This is normal.
The temperature is not cold enough.
The door of the appliance is not properly closed.
Close the door of the appliance.
Insufficient ventilation.
- Keep ventilation grille clear, and clean it.
The ambient temperature is too high.
Solution: (see 1.2).
The appliance was opened too frequently or for too long.
Wait to see whether the appliance reaches the required temperature by itself. If not, please contact the after sales service (see 6).
Too much fresh food was placed inside without SuperFrost.
Solution: (see 5.6.5)
The temperature is incorrectly set.
Set the temperature to a colder setting and check after 24 hours.
→ The appliance is too close to a source of heat (stove, heater etc).
Change the position of the appliance or the source of heat.
The internal light does not come on.
The appliance is not switched on.
Switch the appliance on.
The door was open for longer than 15 minutes.
The internal light switches itself off automatically after about 15 minutes if the door is open.
→ The LED illumination is faulty or the cover is damaged:

WARNING
Risk of injury due to electric shock!
Live parts are located under the cover.
- Have the LED interior light changed or repaired only by the customer service or by specialized personnel trained for the purpose.

WARNING
Danger of injury by LED lamp!
The light intensity of the LED lighting corresponds to risk group RG 2.
If the cover is defective:
Do not look into the illumination with optical lenses from the immediate proximity. This can cause injury to the eyes.
The door seal is defective or needs to be replaced for another reason.
The door seal can be replaced. It can be replaced without the need for special tools.
Contact Customer Service (see 6):
The unit has iced up or condensation has formed.
→ The door seal may have also slipped out of its groove.
- Check to ensure that the door seal is seated properly in the groove.
8 Messages
Error messages and reminders are displayed by an audible signal and a message on the screen. The audible signal gets louder and louder when error messages appear. It only stops when the message is confirmed. Highest priority messages are displayed first if several occur at the same time. Each message must be cleared separately.

The message stays in the menu field as long as it is active or the fault is not eliminated.
Note
Details on the message can be displayed again via the menu field.
Press menu.
Press the message symbol.
The display switches to the next message when you press one. After the last active message the display switches to the home screen.
Door alarm
An audible warning sounds if the door is open for longer than 60 seconds. The door alarm symbol appears on the display. The audible warning stops automatically when the door is closed.

The audible warning can be switched off when the door is open. The audible alarm is switched off while the door is open.
Press the door alarm symbol.
The door alarm stops.
The display switches to the home screen.
Close the door.
Temperature alarm
An audible signal sounds if the temperature is not cold enough. The temperature alarm symbol appears on the display.
The temperature had risen too high during the last few hours or days. When the fault is eliminated the appliance continues to work at the last temperature setting.

The reason for too high a temperature may be:
- hot, fresh food was inserted
- too much warm room air flowed in when rearranging and removing food
- the power was cut off for a while
- the appliance is faulty
Open the door.
Press the temperature alarm symbol.
The audible signal stops. The warmest temperature reached during the malfunction is displayed on the screen.
Press the screen or wait for 30 seconds.
The display switches to the home screen. Arrows and the temperature alarm symbol appear in the relevant temperature field . In addition the messages symbol is displayed in the menu field . - Check the food for quality. Do not consume spoiled food. Do not re-freeze defrosted food,
Close the door.
The symbols are greyed out when the target temperature is reached.
If the alarm status persists or the temperature cannot be reset independently:
(see 7).
Power cut
An audible warning sounds. The power cut symbol appears on the display.
The temperature had risen too high over the last few hours or days due to a power cut or power interruption. When the power is restored the appliance continues to work at the last temperature setting. Activated reminders are retained.
Open the door.
Press the power cut symbol.
The audible signal stops. The warmest temperature reached in the freezer compartment during the power cut is displayed on the screen.
Press the screen or wait for 30 seconds.

The display switches to the home screen. Arrows and the symbol temperature alarm appear in the relevant temperature field . The messages symbol is also shown in the menu field .
- Check the food for quality. Do not consume spoiled food. Do not re-freeze defrosted food,
Close the door.
The symbols are greyed out when the target temperature is reached.
Appliance faults
An audible warning sounds. The appliance fault symbol appears on the display with the relevant error code.

An appliance component indicates a fault.
Open the door.
Note down the fault code.
Press the appliance fault symbol.
The audible signal stops. The display switches to the home screen.
Close the door.
Contact Customer Services (see 6).
If the fault related to a specific temperature zone, the appliance fault symbol is displayed instead of the temperature in the zone's temperature field.
Other messages

FreshAirChange filter (see 6)

Clean the ventilation grille (see 6)
9 Decommissioning
9.1 Switching the appliance off
Note
If the appliance or the freezer or fridge compartment cannot be switched off the child safety device has been switched on.
Switch the child safety device off (see 5.2.2).
9.1.1 Switch off the appliance from the menu
The whole appliance is switched off. The screen goes black.
Press menu.
Press the navigation arrows until the standby symbol is displayed.
Press OK.
The standby symbol flashes on the whole screen. The whole appliance is switched off.
After 10 minutes the standby symbol goes out.
9.1.2 Switching the appliance off via the freezer compartment field.
The fridge and BioFresh compartments are automatically turned off when the freezer compartment is turned off. The screen remains on.
Press the freezer compartment field.
Press plus.
The plus symbol is greyed out if it is pressed again after selecting the hottest temperature. The standby symbol is displayed on the screen.
Press OK.
The standby symbol is displayed in all temperature fields.
The freezer, fridge and BioFresh compartments are switched off.
9.1.3 Switching off the fridge and BioFresh compartments
If necessary, the fridge and BioFresh compartments can be switched off separately.
Press the fridge compartment field.
Press plus.
The plus symbol is greyed out if it is pressed again after selecting the hottest temperature. The standby symbol is displayed on the screen.
Press OK.
The standby symbol is displayed on the fridge compartment and BioFresh compartment fields.
The fridge and BioFresh compartments are switched off.
9.2 Taking the appliance out of service
Empty the appliance.
Switch off the appliance (see 9).
Remove mains connector.
Remove appliance connector if required: Remove and move from left to right at the same time.
Clean the appliance (see 6.5).
Leave the door open to prevent odour.

10 Disposing of the appliance
The appliance contains some reusable materials and should be disposed of properly - not simply with unsorted household refuse. Appliances which are no longer needed must be disposed of in a professional and appropriate way, in accordance with the current local regulations and laws.

When disposing of the appliance, ensure that the refrigeration circuit is not damaged to prevent uncontrolled escape of the refrigerant it contains (data on type plate) and oil.
Disable the appliance.
Pull out the plug.
Cut through the connecting cable.


EasyManual