H6400 BM - Built-in oven MIELE - Free user manual and instructions
Find the device manual for free H6400 BM MIELE in PDF.
Questions des utilisateurs sur H6400 BM MIELE
0 question sur cet appareil. Repondez a celles que vous connaissez ou posez la votre.
Poser une nouvelle question sur cet appareil
Download the instructions for your Built-in oven in PDF format for free! Find your manual H6400 BM - MIELE and take your electronic device back in hand. On this page are published all the documents necessary for the use of your device. H6400 BM by MIELE.
USER MANUAL H6400 BM MIELE
Operating and installation instructions Oven

To prevent the risk of accidents or damage to the appliance, it is essential to read these instructions before it is installed and used for the first time.
Contents
Warning and Safety instructions 7
Caring for the environment 19
Oven overview 20
Oven controls 21
On/Off sensor ① 22
Sensors 22
Display 25
Symbols 26
Features 27
Model numbers 27
Data plate 27
Items supplied with delivery 27
Standard and optional accessories 27
Shelf runners 28
Baking tray, universal tray and rack with non-tip safety notches 28
FlexiClip telescopic runners HFC 72 29
Oven controls 33
Oven safety features 33
System lock 33
Sensor lock. 33
Safety switch-off 33
Cooling fan 34
Vented oven door 34
Door lock for Pyrolytic cleaning 34
PerfectClean treated surfaces 35
Pyrolytic accessories 35
Using for the first time 36
General settings 36
Heating up the oven for the first time and rinsing the steam injection system .... 38
Settings 40
Calling up the "Settings" menu 40
Changing and saving settings 40
Settings overview 41
Language 42
Time of day 42
Display 42
Clock format 42
Setting 42
Date 42
Lighting 43
Display brightness 43
Acoustic information 43
Melody 43
Solo tone 43
Keypad tone 44
Units 44
Weight 44
Temperature 44
Pyrolytic cleaning 45
Recommended temperatures 45
Safety 46
System lock 46
Sensor lock 46
Showroom programme 47
Demo mode 47
Factory default settings 47
Minute minder 48
Setting the minute minder 48
Changing the time set for the minute minder 49
Cancelling the time set for the minute minder 49
Overview of functions 50
Tips on saving energy 52
Operation 54
Basic operation 54
Cooling fan 54
Using the oven - further functions 55
Changing the oven function 55
Changing the temperature 56
Rapid Heat-up 57
Pre-heating the oven 58
Setting durations 59
Switching off automatically 59
Switching on and off automatically 60
Sequence of a programme that switches on and off automatically 60
Changing an entered cooking time 61
Cancelling cooking 61
Moisture Plus 62
Cooking with the Moisture Plus function 63
Setting the temperature 63
Set the number of bursts of steam 63
When to add the bursts of steam 63
Preparing and starting the water intake process 64
Changing the type of heating 65
Injecting bursts of steam 66
Automatic burst of steam 66
1, 2 or 3 bursts of steam 66
Evaporating residual moisture 67
Starting residual moisture evaporation immediately 68
Skipping residual moisture evaporation 68
Automatic programmes 69
List of food types 69
Using Automatic programmes 69
Notes on use 70
User programmes 71
Creating a User programme 71
Starting a User programme 73
Changing User programmes 74
Changing cooking stages 74
Changing the name 75
75
Baking 76
Notes on using the baking charts 77
Baking charts 78
Creamed mixture 78
Rubbed in mixture 80
Yeast mixtures and quark dough 82
Whisked mixture 84
Choux pastry, puff pastry, meringue 85
Roasting 86
Notes on using the roasting charts 87
Roasting charts 88
Beef,veal. 88
Pork 89
Lamb, game 90
Poultry, fish 91
Low temperature cooking 92
Grilling 94
Notes on the grilling chart 96
Fan Grill 97
Grill 99
Further applications 100
Further programmes 101
Gentle Bake. 101
Defrost 102
Drying 103
Reheat 104
Prove yeast dough 104
Pizza 105
Heat crockery 105
Bottling 106
Frozen food/Ready meals 107
Cleaning and care 108
Unsuitable cleaning agents 108
Useful tips 109
Normal soiling. 109
Stubborn soiling (excluding the FlexiClip telescopic runners) 110
Pyrolytic cleaning of the oven interior 111
Setting up for the Pyrolytic cleaning programme 111
Starting the Pyrolytic cleaning programme 112
At the end of the Pyrolytic cleaning programme 113
The Pyrolytic cleaning programme is cancelled 114
Removing the door 115
Dismantling the door 116
Fitting the door 120
Removing the shelf runners with FlexiClip telescopic runners 121
Lowering the top heat/grill element 122
Dscaling the steam injection system 123
Dscaling process sequence 123
Preparing the descending process 124
Starting the descending process 124
Problem solving guide 128
After sales service and warranty 133
Contents
Electrical connection 134
Oven 135
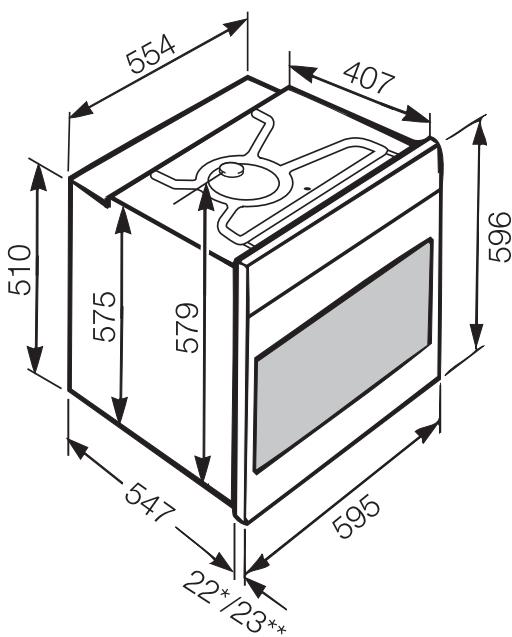
Building-in diagrams 136
Appliance dimensions and unit cut-out 136
Installation in a base unit 136
Installation in a tall unit 137
Front dimensions 138
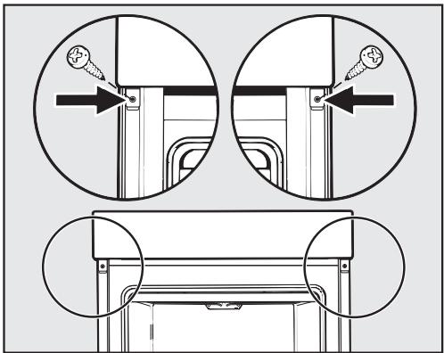
Installing the oven 139
This appliance conforms to current safety requirements. Inappropriate use can, however, lead to personal injury and damage to property.
To avoid the risk of accidents and damage to the appliance, please read these instructions carefully before using it for the first time. They contain important notes on installation, safety, use and maintenance. Miele cannot be held liable for non-compliance with these instructions. Keep these instructions in a safe place and ensure that new users are familiar with the contents. Pass them on to any future owner.
Correct application
This oven is designed for domestic use and for use in similar environments by guests in hotel or motel rooms, bed & breakfasts and other typical living quarters. This does not include common/ shared facilities or commercial facilities within hotels, motels or bed & breakfasts.
The oven is not suitable for outdoor use.
The oven is intended only to cook, bake, roast, grill, defrost, bottle, dry fruit etc.
Any other usage is at the owner's risk.
This oven is not intended for use by persons (including children) with reduced physical, sensory or mental capabilities, or lack of experience and knowledge, unless they are supervised whilst using it or have been given instruction concerning its use by a person responsible for their safety.
They must be able to recognise the dangers of misuse.
This oven is supplied with a special lamp to cope with particular conditions (e.g. temperature, moisture, chemical resistance, abrasion resistance and vibration). This special lamp must only be used for the purpose for which it is intended. It is not suitable for room lighting.
Safety with children
Young children must not be allowed to use this appliance.
Older children may only use the appliance when its operation has been clearly explained to them and they are able to use it safely, recognising the dangers of misuse.
Cleaning work may only be carried out by older children under the supervision of an adult.
Children should be supervised near the appliance. Ensure that they do not play with the appliance.
Danger of suffocation! Children may be able to wrap themselves in packing material or pull it over their head with the risk of suffocation. Keep children away from any packing material.
Danger of burning! Children's skin is far more sensitive to high temperatures than that of adults. Great care should be taken to ensure that children do not touch the appliance when it is being used. External parts of the oven such as the door glass, control panel and the vents become quite hot.
Danger of burning!
Children's skin is far more sensitive to high temperatures than that of adults. The oven becomes hotter during the Pyrolytic cleaning programme than it does in normal use. Do not let children touch the oven while the Pyrolytic cleaning programme is running.
Danger of injury! The maximum load capacity for the door is 15kg . Children can hurt themselves on an open door. Ensure that children do not sit on or swing on the door.
Technical safety
Repairs and other work by unqualified persons could be dangerous. Installation, maintenance work and repairs to electrical appliances must only be carried out by a Miele approved service technician.
A damaged appliance is dangerous. Check it for any visible damage. Never install or attempt to use a damaged appliance.
Reliable and safe operation of this oven can only be assured if it has been connected to the mains electricity supply.
The electrical safety of this appliance can only be guaranteed when continuity is complete between it and an effective earthing system. It is most important that this basic safety requirement is present and tested regularly and, where there is any doubt, the household wiring system should be inspected by a qualified electrician.
Before connecting the appliance to the mains supply, make sure that the rating on the data plate (voltage and frequency) corresponds to that of the household supply.
This data must correspond in order to avoid risk of damage to the appliance. Consult a qualified electrician if in any doubt.
Do not connect the appliance to the mains electricity supply by a multi-socket unit or an extension lead. These do not guarantee the required safety of the appliance (e.g. danger of overheating).
For safety reasons, this appliance may only be used when it has been built in.
This oven must not be installed and operated in mobile installations (e.g. on a ship).
Tampering with electrical connections or components and mechanical parts is highly dangerous to the user and can cause operational faults.
Do not open the outer casing of the appliance.
The manufacturer's warranty will be invalidated if the appliance is not repaired by a Miele approved service technician.
Faulty components must only be replaced by genuine Miele spare parts. The manufacturer can only guarantee the safety of the appliance when Miele replacement parts are used.
If the oven is delivered without a mains connection cable, or if the mains connection cable is damaged, it must only be replaced by a Miele approved service technician (see "Electrical connection") in order to avoid a hazard.
During installation, maintenance and repair work, the appliance must be disconnected from the mains electricity supply, e.g. if the oven lighting is faulty (see "Problem solving guide").It is only completely isolated from the electricity supply when:
- it is switched off at the mains circuit breaker, or
- it is switched off at the wall socket and the plug is withdrawn from the socket. Do not pull the mains connection cable but the mains plug to disconnect your appliance from the mains electricity supply.
For the oven to function correctly, it requires a sufficient intake of cool air. Ensure the intake of cool air to the oven is not impaired (e.g. due to the installation of insulation material inside the housing unit). Furthermore, the incoming cool air must not be excessively heated by other heat sources (e.g. fuel furnaces).
If the oven is installed behind a furniture door, do not close the door while the oven is in operation. Heat and moisture would build up behind a closed furniture door, potentially causing damage to the oven, the furniture unit and the flooring. Wait until the oven has cooled down completely before closing the furniture door.
Correct use
Danger of burning!
The oven becomes hot when in use.
Exercise care when handling food and trays so as not to burn yourself on heating elements, the walls of the oven, shelf runners, trays and hot food itself.
Use oven gloves when placing food in the oven, turning or removing it and when adjusting oven shelves etc. in a hot oven.
Do not use the oven to heat up the room.
Due to the high temperatures radiated, objects left near the appliance could catch fire.
- Never leave the appliance unattended when cooking with oil or fat. They can ignite if overheated.
Do not use water on grease fires. Turn off the oven immediately and suffocate the flames by keeping the oven door closed.
Make sure that you keep to the recommended grilling times when using grilling functions.
Excessively long grilling times can lead to food drying out and burning or could even cause the food to catch fire.
- Some foods dry out very quickly and can be ignited by high grilling temperatures.
Do not use grilling functions for crisping rolls or bread or to dry flowers or herbs. Instead use Fan Plus 2 or Conventional Heat 3 .
If using alcohol in your recipes, please be aware that high temperatures can cause the alcohol to vaporise and even to ignite on the hot heating elements.
- When residual heat is used to keep food warm, the high level of humidity and condensation can cause corrosion in the oven. The control panel, worktop or furniture unit may also be damaged. Do not switch the oven off completely while food is inside it, but select the lowest possible temperature for the oven function you are using. This will ensure the fan will automatically continue to run.
▶ Food which is stored in the oven or left in it to be kept warm can dry out and the moisture released can lead to corrosion damage in the oven.
Always cover food that is left in the oven to keep warm.
A build-up of heat can cause the enamel on the floor of the oven to crack or shatter.
Do not line the floor of the oven with anything, e.g. aluminium foil. If you wish to place dishes on the floor of the oven during cooking, or place crockery on the floor of the oven to heat it up, you can do so, but only with the Fan Plus 2 or Gentle Bake 小 function.
Rapid Heat-up must be switched off.
The enamelling on the oven floor can become damaged by items being pushed around on it.
If using the oven to store pots and pans, ensure that you avoid pushing them around on the oven floor.
Never pour cold water onto hot surfaces in a hot oven.
The steam created could cause serious burns or scalding and the sudden change in temperature can damage the enamel in the oven.
During cooking processes using moisture and during the residual moisture evaporation process steam is produced which can cause serious injury by scalding. Do not open the door whilst a burst of steam is being released or during the evaporation process.
It is important that the heat is allowed to spread evenly throughout the food being cooked.
This can be achieved by stirring or turning the food.
Plastic containers, which are not heat-resistant, melt and may ignite at high temperatures and can damage the oven.
Use only plastic containers that are indicated by the manufacturer as being suitable for use in ovens.
Do not use the appliance to heat up or bottle food in sealed jars and tins.
Pressure will build up inside them and they can explode causing damage to the appliance, as well as the risk of injury and scalding.
Do not leave the oven door open unnecessarily as someone may trip over it or be injured by it.
The oven door can support a maximum load of 15kg . Do not lean or sit on an open oven door, or place heavy items on it. Also make sure that nothing can get trapped between the door and the oven cavity. This could damage the oven.
Cleaning and care
Do not use a steam cleaning appliance to clean this oven.
Pressurised steam could reach the electrical components and cause a short circuit.
Scratches on the door glass can result in the glass breaking.
Do not use abrasive cleaners, hard sponges, brushes or sharp metal tools to clean the door glass.
The shelf runners can be removed for cleaning (see "Cleaning and care").
Ensure that they are replaced correctly and do not use the oven without them fitted.
Coarse soiling should be removed before running the Pyrolytic cleaning programme. If not removed, coarse soiling can smoke and cause the Pyrolytic cleaning programme to switch itself off.
In areas which may be subject to infestation by cockroaches or other vermin, pay particular attention to keeping the appliance and its surroundings clean at all times. Any damage caused by cockroaches or other vermin will not be covered by the warranty.
Accessories
Use only genuine original Miele spare parts. If spare parts or accessories from other manufacturers are used, the warranty will be invalidated, and Miele cannot accept liability.
If you have a Miele HUB 5000-M/HUB 5001-M/HUB 5000-XL/HUB 5001-XL (if available) oven dish, do not place it on shelf level 1. This would damage the floor of the oven. The very small gap between the bottom of the dish and the oven floor would cause a build-up of heat and could cause the enamel to crack or chip.
Do not place Miele oven dishes on the top rail of shelf level 1 as they will not be secured in this position by the anti-tip safety notches on the sides of the dishes.
Instead, use shelf level 2 for these oven dishes.
The high temperatures used during the Pyrolytic cleaning programme will damage accessories that are not designed for cleaning in the Pyrolytic programme. Please remove these accessories from the oven interior before starting the Pyrolytic cleaning programme. This also applies to non-pyrolytic accessories purchased separately to the oven (see "Cleaning and care").
Disposal of the packing material
The transport and protective packaging has been selected from materials which are environmentally friendly for disposal, and can normally be recycled.
Recycling the packaging reduces the use of raw materials in the manufacturing process and also reduces the amount of waste in landfill sites. Ensure that any plastic wrappings, bags etc. are disposed of safely and kept out of the reach of babies and young children. Danger of suffocation.
Disposing of your old appliance
Electrical and electronic appliances often contain valuable materials. They also contain specific materials, compounds and components, which were essential for their correct function and safety. These could be hazardous to human health and to the environment if disposed of with your domestic waste or if handled incorrectly. Please do not, therefore, dispose of your old appliance with your household waste.

Please dispose of it at your local community waste collection / recycling centre for electrical and electronic appliances. You are also responsible for deleting any personal data that may be stored on the appliance prior to disposal. Please ensure that your old appliance poses no risk to children while being stored prior to disposal.

① Oven controls
② Door lock for Pyrolytic cleaning
③ Top heat/grill element
④ Steam inlet openings
⑤ Water intake pipe for the steam injection system
⑥ Air inlet for the fan with ring heating element behind it
⑦ Shelf runners with 5 shelf levels
⑧ Oven floor with bottom heat element underneath it
⑨ Front frame with data plate
10 Door

(1) Recessed On/Off sensor (1) For switching the appliance on and off
② Sensor controls For selecting oven functions
③ Display Displays time of day and information for operation
④ sensor
To go back one step at a time
⑤ OK sensor For confirming settings and instructions
and sensors For setting values and scrolling through options
⑦ sensor For setting the minute minder
8 sensor For switching the oven interior lighting on and off
^9 '≡ sensor For accessing settings
10 sensor For switching Rapid Heat-up on and off
⑪ sensor For injecting bursts of steam
Optical interface (for service technician use only)
On/Off sensor ①
The On/Off sensor ① is recessed and reacts to touch.
It is used for switching the oven on and off.
Sensors
The sensors react to touch. Each touch is confirmed with a keypad tone. This keypad tone can be switched off (see "Settings - Keypad tone").
Oven functions
Fan Plus
Intensive Bake
Grill
Fan Grill
Conventional Heat
Moisture Plus
Auto Automatic programmes
User programmes
Further programmes
- Auto Roast
- Bottom Heat
- Gentle Bake
- Defrost
- Drying
- Reheat
- Heat crockery
- Prove yeast dough
- Pizza
- Descale
- Settings
Pyrolytic cleaning
| Sensor | Function | Notes |
| ∧ ∨ | For scrolling through lists and for changing values | Use the arrows for scrolling up or down through lists of options. Each option is highlighted as you scroll through them. The option you want must be highlighted before you can select it.Values which are highlighted can be increased or decreased using the arrow sensors. |
| OK | For calling up functions and saving settings | Functions highlighted in the display can be selected by touching OK. The selected function can then be changed Confirmation with OK to save changes.If information appears in the display, select OK to confirm the message. |
| ← | To go back a step | |
| ◇ | For setting the minute minder | If the time of day is visible, you can enter a minute minder duration at any time, e.g. when boiling eggs on the cooktop.If the display is dark, this sensor will not react until the oven is switched on. |
| ○ | For switching the oven interior lighting on and off | If the time of day display is visible, the oven interior lighting can be switched on and off by touching the ○ sensor. If the display is dark, this sensor will not react until the oven is switched on. The oven interior lighting switches off after 15 seconds during a cooking process or remains constantly switched on, depending on the setting selected. |
| '≡ | For calling up settings | Touching the '≡ sensor when the oven is switched on will bring up a list of settings. If the display is dark, this sensor will not react until the oven is switched on. During a cooking process you can alter the temperature or set a cooking duration after touching this sensor. |
| ↑ | For switching Rapid Heat-up on and off | When using Fan Plus □, Auto Roast □, Moisture Plus □□ and Conventional Heat □ the ○ sensor will light up. By touching ◆ you can switch the Rapid Heat-up function on or off (see "Further functions - Rapid Heat-up"). |
| ○ | For injecting the bursts of steam | If manual bursts of steam are selected for the Moisture Plus function □□, the bursts of steam are injected by touching the ○ sensor. The ○ sensor lights up when a burst of steam can be injected. ○ appears in the display when a burst of steam is being injected. |
Display
The display is used for showing the time of day or information about functions, temperatures, cooking durations, Automatic programmes, User programmes and settings.
Information or a list of options will appear in the display depending on the function selected and/or touching the ^ sensor.
After switching the oven on with the On/ Off ① sensor you will be prompted to Select function.
If the time of day is visible and you have not selected a function, when is touched a list with the following options will appear in the display:
Language
- Time
- Date
- Lighting
Display brightness
Acoustic tones
-Keypad tone
- Units
Cooling fan run-on
Pyrolytic
Recommended temperatures
Safety
Showroom programme
Factory default
After selecting a function (except for Auto), a list of options for that function will appear in the display when ^ is touched:
- Temperature
Duration - Finish at
- Start at (only if Duration/Finish at is set)
- Type of heating (only in Moisture Plus
To select an option, scroll through the list with the or arrow sensor until the option you want is highlighted.
Then confirm the selection with OK.
Symbols
The following symbols may appear in the display:
| Symbol | Meaning |
| △ | Minute minder |
| ^ | If two or three options are available, arrows will appear on the right-hand side of the display. Use these to scroll through the list. Available options are highlighted in white one after the other. |
| i | If more than three options are available, a bar will appear on the right-hand side of the display. Use this to scroll through the list. |
| ……… | The end of a list is indicated by a dotted line. By scrolling down further, you reach the beginning of the list again. |
| ……= | Some settings, e.g. display brightness and buzzer volume, are selected using a bar chart. |
| ✓ | A tick indicates the option which is currently selected. |
| i | This symbol indicates that there is additional information and advice about using the oven. Select OK to access the information. |
| △ | The system lock or sensor lock is active (see "Settings - Safety"). The oven cannot be used. |
| ⊗ | Bursts of steam |
| ⊗ | Descale |
Model numbers
A list of the ovens described in these operating instructions can be found on the back page.
Data plate
The data plate located on the front frame of the oven is visible when the door is open.
On the data plate are printed the model number, serial number and the connection data (voltage/frequency/ maximum rated load).
Have this information available if you need to contact Miele so that any issues can be rectified as quickly as possible.
Items supplied with delivery
The oven is supplied with:
- the operating and installation instructions for using the oven functions,
- a recipe booklet for Moisture Plus 0.15 and Automatic programmes,
- screws for fixing the oven to the housing unit,
- descending tablets and a plastic tube with suction cup for descending,
- various accessories.
Standard and optional accessories
Depending on model All ovens are supplied with shelf runners, a universal tray and baking and roasting rack (rack for short). Depending on the model, Miele ovens may be supplied with the accessories listed below.
All accessories and cleaning and care products in these instructions are designed to be used with Miele ovens.
These are available to order via the Miele Webshop or directly from Miele (see end of this booklet for contact details).
Please state the model number of your oven and that of any accessories you wish to purchase.
Shelf runners
Shelf runners for accessories (trays, racks, FlexiClip telescopic runners etc.) are fitted on either side of the oven cavity for shelf levels 5 .
The shelf level numbers are indicated on the front of the oven frame.
Each shelf level has two rails, one above the other:
The accessories (e.g. the rack) are pushed into the oven between the two rails.
FlexiClip telescopic runners (depending on model) are fitted on the lower rail.
The shelf runners can be removed for cleaning (see "Cleaning and care").
Baking tray, universal tray and rack with non-tip safety notches
Baking tray HBB 71:

Universal tray HUBB 71:

Rack HBBR 72:

Insert these accessories into the shelf runners between the two rails of a shelf level.
Always place the rack with the loading surface in the lower position and the non-tip safety notches towards the back.
Non-tip safety notches are located on accessories to prevent the trays being pulled out completely when you only wish to pull them out partially. They also prevent trays from tipping.
- The non-tip safety notches are located in the middle of the short sides of the baking tray and universal tray.
- The non-tip safety notches are located towards the back of the short sides of the rack.

If you are using the universal tray with the rack on top, insert the tray between the rails of a shelf runner and the rack will sit on top of it.
FlexiClip telescopic runners HFC 72

The FlexiClip telescopic runners can be attached to any shelf level.
Push the FlexiClip telescopic runners right into the oven before placing accessories on them.
The accessories will then automatically sit securely in between the stoppers at either end of each runner and be prevented from sliding off.


The FlexiClip runners can support a maximum load of 15kg .
Fitting and removing the FlexiClip telescopic runners
Danger of burning!
Make sure the oven heating elements are switched off and the oven interior is cool.
The FlexiClip telescopic runners are fitted in between the two rails that make up a shelf level.
The telescopic runner with the Miele logo must be fitted on the right.
When fitting or removing the telescopic runners, do not extend them.

- Hook the FlexiClip telescopic runner onto the bottom rail of a shelf level at the front (1.) and push it along the rail into the oven interior (2.).

- Then secure the telescopic runner to the bottom of the two rails as illustrated (3).
If the telescopic runners are difficult to pull out after fitting, you may need to pull firmly on them once to release them.
To remove a FlexiClip telescopic runner:
Push the FlexiClip telescopic runner all the way in.

Remove the FlexiClip telescopic runner by raising it at the front (1) then pulling it forwards along the rail and out (2).
Round baking tray HBF 27-1

The round baking tray is suitable for cooking pizzas, flat cakes made with yeast or whisked mixtures, sweet and savoury tarts, baked desserts, and can also be used for frozen cakes.
The surface has been treated with PerfectClean enamel.
Gourmet perforated baking tray HBBL 71

The Gourmet perforated baking tray has been specially developed for the preparation of baked goods made from yeast and quark/oil mixtures. The tiny perforations assist in browning the underside of baked goods. The tray can also be used for drying food.
The surface has been treated with PerfectClean enamel.
The round perforated baking tray HBFP 27-1 can be used for the same things.
Baking stone HBS 60

The baking stone is ideal for items which need a well-baked base such as pizza, quiche, bread, bread rolls and savoury snacks.
The baking stone is made from heat retaining fire brick and is glazed. Place it directly on the rack.
A paddle made of untreated wood is supplied with it for placing food on the baking stone and taking it off.
Grilling and roasting insert HGBB 71

The grilling and roasting insert should be placed in the universal tray when grilling or roasting.
The juices from the food being cooked collect under the insert. This prevents them from spitting and making the oven dirty. The juices can then be used for making gravy and sauces.
The surface has been treated with PerfectClean enamel.
HUB Gourmet oven dishes HBD Gourmet oven dish lids
Unlike other oven dishes, the Miele Gourmet oven dishes can be placed in the oven directly on the shelf runners. They have non-tip safety notches like the rack to prevent them being pulled out too far.
The surface of the oven dishes has a non-stick coating.
Gourmet oven dishes are available in two sizes. The width and the height are the same for both.
Suitable lids are available separately. Please quote the model number when ordering a lid.
Depth: 22 cm
HUB 5000-M
HUB 5001-M*
Depth: 35 cm
HUB 5000-XL
HUB 5001-XL*

HBD 60-22

HBD 60-35


- Suitable for use on induction cooktops
Handle HEG

The handle makes it easier to take the universal tray, baking tray and rack out of the oven, or to put them into it. The two prongs at the top go inside the tray or above the rack, and the U-shape supports underneath.
Descaling tablets, plastic tube with suction cup

These are required for descending the appliance.
Original Miele all purpose microfibre cloth
Light soiling and fingerprints can be easily removed with the microfibre cloth.
Original Miele oven cleaner
The Original Miele oven cleaner is suitable for removing very stubborn soiling. It is not necessary to pre-heat the oven beforehand.
Oven controls
The oven controls enable you to use the various cooking functions to bake, roast and grill.
They are also used for:
Time of day display
- Minute minder
- Switching cooking processes on and off automatically
- Moisture Plus cooking
- Automatic programmes
- the creation of User programmes,
- Settings that can be customised
Oven safety features
System lock
The system lock prevents the oven from being used unintentionally (see "Settings - System lock").
The system lock will remain activated even after an interruption to the power supply.
Sensor lock
The sensor lock prevents the oven being switched off by accident or settings being altered whilst food is cooking. Once activated, the sensor lock deactivates the sensors and fields in the display a few seconds after a programme has been started (see "Settings - Safety").
Safety switch-off
The oven switches itself off automatically if it is used for an exceedingly long period. The length of time depends on the oven function being used.
Cooling fan
The cooling fan comes on automatically when a cooking programme is started. The cooling fan mixes hot air from the oven cavity with cool room air before venting it out into the kitchen through vents located between the appliance door and the control panel.
The cooling fan will continue to run for a while after the oven has been switched off to prevent any humidity building up in the oven, on the control panel or in the oven housing unit.
This cooling fan will switch itself off automatically after a certain period of time.
Vented oven door
The door panes have a heat-reflective coating.
When the oven is operating, air is passed through the door to keep the outer pane cool.
The door can be removed and dismantled for cleaning (see "Cleaning and care").
Door lock for Pyrolytic cleaning
For safety reasons, the door is locked as soon as the Pyrolytic cleaning programme is started. After the Pyrolytic cleaning programme has finished, the door will remain locked until the temperature in the oven has fallen below 280^ .
PerfectClean treated surfaces
Surfaces treated with PerfectClean enamel are characterised by their exceptional non-stick properties and ease of cleaning.
Food can be taken off easily, and soiling from baking and roasting is simple to remove.
You can cut up food on surfaces treated with PerfectClean enamel.
However, do not use ceramic knives as these will scratch the PerfectClean surface.
Surfaces treated with PerfectClean enamel can be cleaned as you would clean glass.
Read the instructions in "Cleaning and care" so that the benefits of the non-stick properties and easy cleaning are retained.
The following have been treated with PerfectClean enamel:
Universal tray
- Baking tray
-Grilling and roasting insert
- Gourmet perforated baking tray
- Round baking tray
- Round perforated baking tray
Pyrolytic accessories
The following accessories can be left in the oven during the Pyrolytic cleaning programme:
- Shelf runners
- FlexiClip telescopic runners
- Rack
See "Cleaning and care" for more information.
General settings
The oven must be built into its housing unit before it can be used.
The oven will switch on automatically when it is connected to the electricity supply.
Welcome screen
The Welcome (Willkommen) greeting will appear in the display, and you will then be requested to select some basic settings which are needed before the appliance can be used.
Follow the instructions in the display.
Setting the language
- Scroll through the list until the language you want is highlighted.
Confirm with OK.
Selecting the country
- Scroll through the list until the country you want is highlighted.
Confirm with OK.
Setting the date
Set the date.
Confirm with OK.
Setting the time of day
Now set the time of day using the 24-hour clock.
Set the hours and the minutes.
Confirm with OK.
The time of day can be displayed in the 12-hour format (see "Settings - Time of day - Clock format").
Time of day display
You will then be asked when you want the time of day to appear in the display when the oven is switched off (see "Settings - Time of day - Display"):
- On
The time is always visible in the display.
-Off
The display appears dark to save energy. Some functions are limited.
Night dimming
The time only appears in the display between 5:00 and 23:00. It switches off at night to save energy.
- Scroll through the list until the option you want is highlighted.
Confirm with OK.
Some information about energy consumption will appear in the display.
Confirm with OK.
Set up successfully completed will appear.
Confirm with OK.
The oven is now ready to use.
If you have selected the wrong language by mistake, proceed as described in "Settings - Language".
Heating up the oven for the first time and rinsing the steam injection system
New ovens can give off an unpleasant smell on first use. Heating up the oven for at least one hour with nothing in it will get rid of this smell. It is a good idea to rinse the steam injection system at the same time.
Ensure that the kitchen is well ventilated while the appliance is being heated up for the first time. Close doors to other rooms to prevent the smell spreading throughout the house.
- Remove any protective wrapping and sticky labels from the oven.
Before heating the oven up, wipe the interior with a damp cloth to remove any dust or bits of packaging that may have accumulated in the oven cavity during storage and unpacking.
Fit the FlexiClip telescopic runners (available to order) to the shelf runners and insert all trays and the rack. - Fill a container with approx. 100 ml fresh tap water.
- Switch the oven on with the On/Off sensor ①.
Select the Moisture Plus _III function.
The recommended temperature of 160^ C will appear highlighted.
This temperature will be automatically accepted within a few seconds and the burst of steam selection will appear. Touch to go back to the temperature selection option.
Set the maximum possible temperature (250^)
Confirm with OK.
Automatic burst of steam will be highlighted.
Confirm with OK.
The prompt to draw in water then appears.
Open the door.
Pull the water intake pipe forwards (located below the control panel on the left).

- Immerse the end of the water intake pipe in the container with tap water.
Confirm with OK.
The water intake process will begin.
The amount of water actually drawn up into the oven may be less than the amount specified as required, leaving a small amount in the container.
- Remove the water container after the water intake process.
- Confirm the message telling you that the process is complete with OK.
Close the door.
The message will then disappear.
You will hear the pump briefly as the remaining water in the water intake pipe is drawn into the oven.
The oven heating will switch on.
After a short time, a burst of steam is injected automatically.

Risk of injury!
Steam can cause scalding.
Do not open the door during a burst of steam.
Heat up the oven for at least 1 hour.
After at least an hour:
- Switch the oven off with the On/Off sensor ①.
After heating up for the first time

Danger of burning! Allow the sun to cool down before cleaning hand.
- Switch the oven on with the On/Off sensor ①.
- Switch the oven lighting on with the sensor.
Take all accessories out of the oven and clean them by hand (see "Cleaning and care").
Clean the oven interior with a clean sponge and a solution of warm water and washing-up liquid or a damp microfibre cloth.
Dry all surfaces with a soft cloth. - Switch the interior lighting and the oven off.
Leave the oven door open until the oven interior is completely dry.
Calling up the "Settings" menu
Factory default settings can be changed in the Settings menu.
When the oven is switched on, this menu can be accessed by touching the ^ sensor. You can also access it as a sub-menu by selecting
Currently selected settings are indicated by a tick next to them.
Touch or to return to the menu above.
Settings cannot be altered while a cooking programme is in progress.
Changing and saving settings
Switch the oven on.
Select 三
A list of settings will appear in the display.
- Scroll through the list using the or arrow sensor until the option you want is highlighted.
Confirm with OK. - Scroll through the list using the or arrow sensor until the setting you want is highlighted. You can also use the arrow sensors to change settings with segment bars (e.g. volume).
Confirm with OK.
The setting is now saved.
Settings overview
| Menu option | Possible settings |
| Language | ... / deutsch / english / ...Country |
| Time | ShowOn / Off * / Night dimmingClock format24 h * / 12 hSet |
| Date | |
| Lighting | OnOn for 15 seconds * |
| Display brightness | - - - - - - - - - - - - - - - - - - - - - - - - - - - - - - - - - - - - - - - - - - - - - - - - - - - - - - - - - - - - - - - - - - - - - - - - - - - - - - - - - - - - - - - - - - - - - - - - - - - - - |
| Acoustic tones | MelodiesSolo tone |
| Keypad tone | - - - - - - - - - - - - - - - - - - - - - - - - - - - - - - - - - - - - - - - - - - - - - - - - - - - - - - - - - - - - - - - - - - - - - - - - - - - - - - - - - - - - - - - - - - - - - - - - - - |
| Units | Weightg * / lb / lb/ozTemperature°C * / °F |
| Cooling fan run-on | Temperature-controlled *Time-controlled |
| Pyrolytic | With reminderWithout reminder * |
| Recommendedtemperatures | |
| Safety | System lock Sensor lock |
| Showroom programme | Demo modeOn / Off * |
| Factory default | SettingsReset / Do not resetUser programmesDelete / Do not deleteRecommended temperaturesReset / Do not reset |
- Factory default
Language
You can set the language and the country you want.
After selecting and confirming your choice, the language you have selected will appear in the display.
Useful tip: If you have selected the wrong language by mistake, select the symbol to get back to the Language menu.
Time of day
Display
Select how you want the time of day to appear in the display when the oven is switched off:
- On
The time of day always appears in the display. You can switch the lighting on and off or use the minute minder by touching the relevant sensor.
-Off
The display is switched off to save energy. The oven has to be switched on before you can use it. This also applies to using the minute minder and the oven lighting .
Night dimming
To save energy, the time is only visible in the display between 5:00 and 23:00. The rest of the time it is not visible.
Clock format
You can select the clock format for the time of day:
-24h
The time of day is shown in the 24-hour format.
-12h
The time of day is shown in the 12-hour format.
Setting
Set the hours and the minutes.
If there is a power cut, the current time of day will reappear once power has been restored. The time is stored in memory for about 200 hours.
Date
Set the date.
Lighting
- On
The interior lighting is switched on during the entire cooking period. - On for 15 seconds
The oven lighting turns off 15 seconds after a programme starts. Touching switches it on for another 15 seconds.
Display brightness
The display brightness is represented by a bar with seven segments.
- Select Darker or Lighter to change the brightness of the display.
Acoustic information
Melody
At the end of a process, a melody will sound several times in intervals.
The volume of the melody is represented by a bar with seven segments.

Maximum volume is selected when all segments are filled. If none of the segments is filled, the tone is switched off.
- Select quieter or Louder to adjust the volume.
Solo tone
At the end of a process, a continuous tone will sound for a period of time.
The pitch of this tone is represented by a segment bar.
Maximum volume is selected when all segments are filled. If none of the segments is filled, the tone is switched off.
- Select Lower or Higher, to change the pitch.
Keypad tone
The keypad tone volume is represented by a bar with seven segments.

Maximum volume is selected when all segments are filled. If none of the segments is filled, the tone is switched off.
- Select quieter or Louder to adjust the volume.
Units
Weight
- g
Weight in Automatic programmes is set using grams.
-1b
Weight in Automatic programmes is set using pounds.
-b/oz
Weight in Automatic programmes is set using pounds and ounces.
Temperature
-°C
The temperature is displayed in degrees Celsius.
-°F
The temperature is displayed in degrees Fahrenheit.
Cooling fan run-on
The cooling fan will continue to run for a while after the oven has been switched off to prevent any humidity building up in the oven, on the control panel or in the oven housing unit.
- Temperature-controlled
The cooling fan is switched off when the oven compartment temperature drops below 70^ .
Time-controlled
The cooling fan switches off after a period of about 25 minutes.
Condensate can damage the oven housing unit, damage the worktop and lead to corrosion in the oven. If you leave food in the oven to keep it warm and have set the cooling fan to Time-controlled, moisture levels in the oven could increase, leading to condensation forming on the control panel and surrounding kitchen furniture and drops of moisture collecting under the worktop. Do not leave food in the oven to keep it warm if you have set the cooling fan to Time-controlled.
Pyrolytic cleaning
- With reminder
A reminder to run the Pyrolytic cleaning programme will appear in the display.
- Without reminder
You will not be reminded to run the Pyrolytic cleaning programme.
Recommended temperatures
If you frequently cook with different temperatures, it makes sense to change the recommended temperatures.
After selecting this option, a list of oven functions will appear in the display.
Select the function you want.
The recommended temperature will appear together with the range within which it can be changed.
Change the recommended temperature.
Confirm with OK.
Safety
System lock
The system lock prevents the oven being switched on by mistake.
The system lock will remain activated even after a power failure.
Select On to activate the system lock.
The minute minder can still be used when the system lock is active.
- On
The system lock is now active. If you want to use the oven, you need to touch and hold OK for at least 6 seconds.
-Off
The system lock is not active. You can use the oven as normal.
Sensor lock
The sensor lock prevents a cooking process being switched off or changed while it is running. Once activated, the sensors are locked a few seconds after a programme has started.
- On
The sensor lock is active. You need to touch and hold the OK sensor for at least 6 seconds to use the sensors again. The sensor lock is then deactivated for a short period.
-Off
The sensor lock is not active. All sensors react to touch as normal.
Showroom programme
This function enables the oven to be demonstrated in showrooms without heating up. It should not be set for domestic use.
Demo mode
If Demo mode is activated, Demo mode is switched on. The appliance will not heat up will appear when the oven is switched on.
- On
Touch OK for at least 4 seconds to activate Demo mode.
-Off
Touch OK for at least 4 seconds to deactivate Demo mode. The oven can then be used as normal.
Factory default settings
- Settings
Any settings that you have altered will be reset to the factory default setting.
-Userprogrammes
All User programmes will be deleted.
- Recommended temperatures
Recommended temperatures which have been changed will be reset to the factory default settings.
The minute minder can be used to time other activities in the kitchen, e.g. boiling eggs.
The minute minder can also be used at the same time as a cooking programme for which the start and finish times have been set, e.g. as a reminder to stir a dish or add seasoning etc.
A maximum minute minder duration of 9 hours, 59 minutes and 55 seconds can be set.
Useful tip: Use the minute minder in Moisture Plus to remind you to inject the bursts of steam manually at the desired time.
Setting the minute minder
If you want to use the minute minder and Time - Show - Off has been set, you will need to switch the oven on before you can set the minute minder. The minute minder can then be seen counting down in the display when the oven is switched off.
Example: You want to boil some eggs and set a minute minder time of 6 minutes and 20 seconds.
Select
"0:00:00" (h:min:sec) will appear. The hour block will be highlighted.
Confirm with OK.
The hours are saved and the minutes block will be highlighted.
Enter "06".
Confirm with OK.
The minutes are saved and the seconds block will be highlighted.
Enter "20".
Confirm with OK.
The minute minder duration is now saved.
The duration counts down in the display when the oven is switched off.
If a cooking programme is being run at the same time, the minute minder duration will appear at the bottom of the display.
At the end of the minute minder time
- flashes.
- The time will count upwards.
- A buzzer will sound if the buzzer is switched on (see "Settings - Acoustic information").
Select
The buzzer will stop and the symbols in the display will go out.
Changing the time set for the minute minder
Select
Minute minder appears and Change is highlighted.
Confirm with OK.
The minute minder time selected appears.
- Change the time set for the minute minder.
Confirm with OK.
The altered minute minder time is now saved.
Cancelling the time set for the minute minder
Select
Minute minder appears and Change is highlighted.
- Scroll through the list until Delete is highlighted.
Confirm with OK.
The minute minder is now cancelled.
Your oven has a range of functions for preparing a wide variety of recipes.
Some functions are selected directly from the control panel. Others only appear after selecting .
The following are selected directly from the control panel:
| Oven function | Recommended temperature | Temperature range |
| Fan Plus®This function is used for baking and roasting on different levels at the same time. A lower temperature can be selected than when using Conventional Heat®as the fan distributes the heat around the oven compartment straight away. | 160 °C | 30–250 °C |
| Intensive Bake®For baking cakes, tarts, pies, quiches and pizzas that require a crisper base or moist toppings. Intensive Bake is not suitable for baking thin biscuits or for roasting as the juices will become too dark. | 170 °C | 50–250 °C |
| Conventional Heat®For baking and roasting traditional recipes, preparing soufflés and cooking at low temperatures. If using an older recipe or cookbook, set the oven temperature for Conventional Heat 10 °C lower than that recommended. This won't change cooking times. | 180 °C | 30–280 °C |
| Grill®For grilling and toasting bread, open sandwiches etc. and browning baked dishes. The grill is ready for use when the entire top heat/grill element glows red. | 240 °C | 200–300 °C |
| Moisture Plus △S For baking and roasting with moisture injection. | 160 °C | 130-250 °C |
| Fan Grill □ For grilling thicker cuts of meat (e.g. chicken). Lower temperatures can be used than when using the Grill □ function as the fan distributes the heat around the oven compartment straight away. | 200 °C | 100-260 °C |
| Automatic programmes □ The list of Automatic programmes available will appear in the display. | - | - |
Options which can be selected in "Further programmes"
| Oven function | Recommended temperature | Temperature range |
| Auto Roast ☐This is used for roasting. The oven heats initially to a high temperature (230 °C) which seals the meat to keep it succulent and tasty. As soon as this temperature has been reached, the oven temperature automatically drops back down to the pre-selected temperature for continued roasting. | 160 °C | 100–230 °C |
| Bottom Heat ☐Use this function towards the end of cooking to reheat or brown the base of a cake, quiche or pizza. | 190 °C | 100–280 °C |
| Defrost ☐For the gentle defrosting of frozen food. | 25 °C | 25–50 °C |
| Gentle Bake ☐For small amounts e.g. of frozen pizza, bake-off rolls, cookies and for meat dishes and roasts. You can save up to 30% energy compared to cooking with a standard oven function as long as the door is kept shut during cooking. | 190 °C | 100–250 °C |
Cooking
- Remove any accessories from the oven that you do not require for cooking.
Pre-heat the oven only if instructed to do so in the recipe or the cooking chart. -
Avoid opening the door during cooking.
In general, if a range of temperatures is given, it is best to select the lower temperature and to check the food after the shortest given time.
It is best to use dark baking tins and containers with a matt finish made from non-reflective materials (enamelled steel, ovenproof glassware, non-stick coated cast aluminium). Shiny materials such as stainless steel or aluminium reflect heat, preventing it reaching the food efficiently. Do not cover the oven floor or the rack with heat-reflective aluminium foil.
Observe cooking durations to avoid energy wastage when cooking food. -
Wherever possible set the cooking duration, or use a food probe. Make use of the Automatic programmes if your oven has them.
Fan Plus can be used for cooking many types of food. Because the fan distributes the heat to food straight away, it allows you to use a lower temperature than you would with Conventional Heat. It also enables you to cook on several shelf levels at the same time.
Gentle Bake is an innovative function that makes optimum use of residual heat. You can save up to 30 % energy compared to cooking with a standard oven function as long as the door is kept shut during cooking.
■ Fan Grill can be used for a wide variety of food. With Fan Grill you can use lower temperatures than with other grill functions which use the maximum temperature setting. - Whenever possible you should cook several dishes at the same time. Place them next to each other in the oven or on different shelf levels.
Dishes which you are unable to prepare at the same time should, if possible, be cooked one after the other in order to make use of existing heat in the oven.
Using residual heat
The temperature in cooking programmes using temperatures above 140^ which take longer than 30 minutes can be turned down to the lowest possible temperature about 5 minutes before the end of cooking. The residual heat is sufficient to complete the cooking process. Do not switch the oven off (see "Warning and safety instructions").
If you have set a duration for a cooking programme, the oven heating elements will switch off automatically shortly before the end of cooking and Energy saving phase will appear in the display. The residual heat in the oven is sufficient to complete the cooking process.
If you wish to run the Pyrolytic cleaning programme, it is best to start it immediately after a cooking programme. The residual heat in the oven will help reduce the amount of energy required to run the programme. To avoid soiling baking on the door, ensure you remove any soiling from it before running the Pyrolytic cleaning programme.
Settings
- Switch the clock display off if you wish to reduce energy usage (see "Settings").
- Set the oven lighting so that it switches off automatically during a programme after 15 seconds. It can be switched on again at any time by touching .
Energy save mode
The oven will switch itself off automatically to save energy if a programme is not being run and controls have not been operated. The time of day will appear in the display or the display will remain dark (see "Settings").
Basic operation
Switch the oven on.
Place the food in the oven.
Select the function you want.
Oven function, recommended temperature and temperature range will appear.
The oven heating, lighting and cooling fan will switch on.
Change the recommended temperature if necessary.
Otherwise the recommended temperature will be accepted within a few seconds.
Confirm with OK.
The required and the actual temperature will appear.
You will see the temperature increasing. A buzzer will sound when the oven temperature is reached if this option is selected (see "Settings - Acoustic information").
After the cooking process:
Remove the food from the oven.
Switch the oven off.
Cooling fan
The cooling fan will continue to run for a while after the oven has been switched off to prevent any humidity building up in the oven, on the control panel or in the oven housing unit.
This cooling fan will switch itself off automatically after a certain period of time.
You can change this default setting if you wish (see "Settings - Cooling fan run-on").
You have placed the food in the oven, selected a function and set the temperature.
Select 三.
Further options will appear in the display which you can select or change for your programme:
- Temperature
Duration - Finish at
- Start at (only appears after a Duration or Finish at has been set.)
- Type of heating (this option only appears with Moisture Plus . You can combine bursts of steam with other functions.)
Changing the oven function
You can change the oven function during operation.
Select the function you want.
The new function will appear in the display together with its recommended temperature.
Change the temperature if necessary.
Confirm with OK.
Changing the temperature
As soon as a cooking function is selected, a recommended temperature will appear in the display together with its possible range (see "Overview of functions").
If the recommended temperature is suitable for your recipe, confirm with OK.
If it is not suitable for your recipe, you can change it for this particular cooking programme.
You can also permanently reset the recommended temperature to suit your personal cooking practices (See "Settings - Recommended temperatures").
Example: You have selected Fan Plus l and 170^ C and can see the temperature increasing.
You want to reduce the target temperature to 155^ .
Select 三
The required temperature is highlighted.
Confirm with OK.
Change the temperature.
The temperature changes in 5^ steps.
Confirm with OK.
The altered required temperature is saved.
- Select if you want to see the actual temperature and see it increasing in the display.
The altered required temperature appears.
Rapid Heat-up
Rapid Heat-up shortens the heating-up phase. The top and ring heating elements come on together with the fan to enable the oven to reach the required temperature as quickly as possible.
Rapid Heat-up switches on automatically if you set the temperature above 100^ for Fan Plus or Auto Roast, Conventional Heat and Moisture Plus. The sensor is lit up.
Do not use Rapid Heat-up to pre-heat the oven when baking pizzas or delicate mixtures (e.g. small baked goods with a high sugar content, choux pastries, sponges). These will get brown too quickly on the top.
Touch the ^ sensor during the heating-up phase to switch Rapid Heat-up on or off:
Touch the illuminated sensor to switch off Rapid Heat-up.
Rapid Heat-up is switched off. Heating-up appears in the display and the sensor light goes out.
Touch the unlit ^± sensor to switch on Rapid Heat-up.
Rapid Heat-up is switched on. Rapid Heat-up appears in the display and the sensor is lit up.
Using the oven - further functions
Pre-heating the oven
It is only necessary to pre-heat the oven in a few instances.
Most dishes can be placed in a cold oven. They will then make use of the heat produced during the heating-up phase.
Pre-heat the oven when cooking the following food with the following oven functions:
Fan Plus
- dark bread doughs
- beef sirloin joints and fillets
Conventional Heat
- cakes or biscuits with a short baking time (up to 30 minutes)
- delicate mixtures (e.g. sponges)
- dark bread doughs
-
beef sirloin joints and fillets
-
Select the required oven function and the temperature.
Rapid Heat-up should be switched off when baking pizza, biscuits and small cakes.
Wait for the heating-up phase to finish.
A buzzer will sound when the set temperature is reached as long as the buzzer is set (see "Settings - Acoustic information").
Place the food in the oven.
Setting durations
You have placed the food in the oven, selected a function and set the temperature.
By entering Duration, Finish at or Start at you can automatically switch the cooking programme off or on and off.
Duration
Enter the cooking duration you require. Once the duration set has elapsed, the heating will switch off automatically. The maximum duration which can be set is 12:00 hours.
- Finish at
Set the time at which you want cooking to finish. The oven will switch off automatically at the time you have set.
- Start at
This option will only appear if you have set a Duration or Finish at time. With Start at you have to specify when you want the programme to start. The oven will start heating up at that time.
Switching off automatically
Example: It is 11:45. The food takes 30 minutes to cook and should be ready at 12:15.
Select Duration and set 00:30 h or select Finish at and set the time to 12:15.
The oven will switch off automatically after this duration has elapsed or when the time set has been reached.
Setting the "Duration"
Select
- Scroll through the list until Duration is highlighted.
Confirm with OK.
Enter the cooking duration you require.
Confirm with OK.
Setting the "Finish at" time
Select
- Scroll through the list until Finish at is highlighted.
Confirm with OK.
Enter the time you want cooking to stop.
Confirm with OK.
Switching on and off automatically
We recommend using automatic switching on and off when roasting. However, do not delay the start for too long when baking as the cake mixture or dough will dry out, and the raising agents will lose their effectiveness.
To switch a cooking programme on and off automatically, you have a choice of how to enter the time parameters:
Duration and Finish at
Duration and Start at
- Finish at and Start at
Example: It is 11:30. The food takes 30 minutes to cook and should be ready at 12:30.
Select Duration and set 00:30.
Select Finish at and set 12:30.
The Start at time will be calculated automatically. Start at will appear in the display together with the calculated time.
The oven will switch on automatically when this time is reached.
Sequence of a programme that switches on and off automatically
Up until the start time the function, the selected temperature, Start at and the start time will appear in the display.
After the programme has started, you can follow the heating-up phase in the display until the required temperature has been reached.
Once this temperature is reached a buzzer will sound if this option has been switched on (see "Settings - Acoustic information").
After the heating-up phase, the time remaining will appear in the display.
You can follow the time counting down in the display. The last minute counts down in seconds.
At the end of the programme a buzzer will sound if this option has been switched on (see "Settings - Acoustic information").
The oven heating and lighting will switch off. Process finished will appear in the display and Save will be highlighted.
You have the option of saving your settings as a User programme (see "User programmes").
During the cooling down phase the cooling fan will continue to run for a while.
Changing an entered cooking time
Select
All options that can be changed will appear.
- Scroll through the list until the time you want is highlighted.
Confirm with OK.
The Change option is highlighted.
Confirm with OK.
Changing the set time
Confirm with OK.
These settings will all be deleted in the event of a power cut.
Cancelling cooking
Select
- When Cancel cooking? appears, select Yes.
The oven heating and lighting will switch off, and any set durations will be deleted.
Your oven is equipped with a steam injection system for cooking with moisture. Baking, roasting and cooking with Moisture Plus guarantees optimised steam and air conduction for excellent cooking and browning results.
After selecting Moisture Plus , you need to set the temperature and the number of bursts of steam.
You can select:
Automatic burst of steam
This requires enough water for one burst of steam. The burst of steam will be injected into the oven automatically after the heating-up phase.
- 1 burst of steam
2 bursts of steam
3 bursts of steam
You need to add the appropriate amount of water for the number of bursts of steam. You have to release the bursts of steam yourself.
Fresh tap water is taken into the steam system via the tube underneath the control panel on the left.
Liquids, other than water, can cause damage to the oven.
Only use tap water when cooking with the Moisture Plus function.
The water is injected as bursts of steam into the oven compartment during the cooking programme. The steam inlets are located at the rear left corner of the roof of the oven.
One burst of steam takes approx. 5-8 minutes. The number of bursts of steam and when they are injected will depend on the type of food being cooked:
- Yeast mixtures will rise better if steam is injected at the beginning of the programme.
- Bread and rolls also rise better if exposed to steam at the start. Injecting a burst of steam at the end of the programme will give the bread and rolls a glistening crust.
- When roasting meat with a high fat content, injecting steam at the beginning of roasting will help render the fat.
Additional moisture is not suitable for mixtures which already contain a lot of moisture, such as choux pastry and meringues, as the addition of steam does not allow them to dry out sufficiently.
Useful tip: See the recipe book for more information.
Cooking with the Moisture Plus S H function
It is quite normal for condensation to form on the inside of the door during steam injection. This will dissipate during the course of the cooking programme.
Prepare the food and place in the oven if no pre-heating is required.
Select the Moisture Plus _III function.
The recommended temperature of 160^ C will appear highlighted.
The oven heating, lighting and cooling fan will switch on.
Setting the temperature
Set the required temperature.
Confirm with OK.
Set the number of bursts of steam
If you would like a burst of steam to be automatically injected into the oven after the heating-up phase, select Automatic burst of steam and confirm with OK.
If you would like to inject one or more bursts of steam manually at specific times, select 1 burst of steam, 2 bursts of steam or 3 bursts of steam and confirm with OK.
When to add the bursts of steam
This option will only appear in the display after you have selected 1, 2 or 3 bursts of steam.
Useful tip: If you have selected more than one burst of steam, the second burst should be released at the earliest 10 minutes after starting the programme.
Manual bursts of steam
If you want to bake food such as bread or bread rolls in a pre-heated oven, it is best to release the steam manually. The first burst of steam should be released as soon as you have placed the food in the oven.
To inject the bursts of steam yourself, select Manual bursts of steam. Use the minute minder to remind yourself when to do this.
Confirm with OK.
Time-controlled bursts of steam
If you want to time when to release the bursts of steam, select Time-controlled bursts of steam.
- Set the time for each burst of steam. The oven will then release the steam at the specified times. The time counts down as soon as the programme is started.
Confirm with OK.
The prompt to draw in water then appears.
Preparing and starting the water intake process
- Fill a suitable container with the required amount of fresh tap water.
Open the door.
Pull the water intake pipe forwards (located below the control panel on the left).

- Immerse the end of the water intake pipe in the container with tap water.
Confirm with OK.
The water intake process will begin.
The amount of water actually drawn up into the oven may be less than the amount specified as required, leaving a small amount in the container.
The water intake process can be interrupted and restarted at any time with OK.
- Remove the water container after the water intake process.
- Confirm the message telling you that the process is complete with OK.
Close the door.
You will hear the pump briefly as the remaining water in the water intake pipe is drawn into the oven.
The oven heating and the cooling fan will switch on. The required and actual temperatures will appear in the display.
You will see the temperature increasing. A buzzer will sound when the oven temperature is reached if this option is selected (see "Settings - Acoustic information").
If you have selected Time-controlled bursts of steam, the time at which to release the next burst of steam will appear. If necessary, you can alter this time with the sensor.
Changing the type of heating
The Moisture Plus function 串串 uses a combination of Fan Plus together with the addition of moisture.
You can use moisture with one of the following other types of heating:
- Conventional Heat
- Intensive Bake
- Auto Roast
Select 三.
- Scroll through the list until Type of heating is highlighted.
Confirm with OK.
Select the function you want.
Confirm with OK.
Cooking will be carried out using the different type of heating selected.
Injecting bursts of steam
Steam can cause scalding.
Do not open the door during bursts of steam. Also, condensation on the sensors will cause them to have a slow reaction time.
Automatic burst of steam
Once the heating-up phase has been completed, the automatic burst of steam is injected.
The water will vaporise in the oven.
Whilst steam is being released, the symbol will be visible in the display.
After the burst of steam, will disappear.
Continue cooking until the end of the cooking duration.
1, 2 or 3 bursts of steam
Manual bursts of steam
If you have selected Manual bursts of steam, you can release the steam as soon as the sensor is lit up.
Please wait until the heating-up phase is completed to allow the steam to be distributed evenly by the warm air in the oven.
Useful tip: See the recipe book for tips on when to release the bursts of steam. Use the minute minder to remind you when to release them.
Select
The burst of steam will be released, the sensor light will go out and 必 will appear in the display.
■ Proceed as described to inject further bursts of steam.
will go out in the display after each burst of steam.
Continue cooking until the end of the cooking duration.
Time-controlled bursts of steam
The oven will release the steam after the specified amount of time.
Evaporating residual moisture
When cooking using the addition of moisture, the water will be equally distributed between the number of bursts of steam and used up as long as the programme is not interrupted.
However, if a programme using the addition of moisture is interrupted before all the bursts of steam have been injected, the water for these unused bursts of steam will remain in the system.
The next time Moisture Plus or an Automatic programme with moisture is used Evaporate res. moisture? will appear in the display with the options Skip and Yes.
It is best to start the evaporation of residual water straight away so that only fresh water is used during a cooking programme.
The residual moisture evaporation process
The oven will heat up and the residual water in the oven cavity will evaporate.
Depending on the amount of water, this can take up to approximately 30 minutes.
Steam can cause scalding.
Do not open the door while the residual water is being evaporated.
The moisture will condense on the door and in the oven compartment and needs to be wiped off after the oven has cooled down.
Starting residual moisture evaporation immediately
Steam can cause scalding.
Do not open the door while the residual water is being evaporated.
- Select the Moisture Plus 串串 function or an Automatic programme that uses moisture.
Evaporate res. moisture? appears and Yes is highlighted.
Confirm with OK.
Evaporate res. moisture and a time then appear in the display.
The evaporation process will begin. The duration will count down in the display.
The duration displayed depends on the amount of water in the system. During the evaporation process, this duration may change depending on how much water is present.
At the end of the residual water evaporation process Process finished appears.
Touch
A cooking process using the Moisture Plus function or an Automatic programme with moisture can now be carried out.
The moisture will condense on the door and in the oven compartment and needs to be wiped off after the oven has cooled down.
Skipping residual moisture evaporation
Skipping the residual moisture evaporation process can, in certain cases, cause water to overflow into the oven cavity. It is best not to cancel the evaporation process.
- Select the Moisture Plus 串串 function or an Automatic programme that uses moisture.
Evaporate res. moisture? appears in the display.
- Scroll through the list until Skip is highlighted.
Confirm with OK.
A cooking process using the Moisture Plus function or an Automatic programme with moisture can now be carried out.
Your oven has a wide range of Automatic programmes to enable you to achieve excellent results with ease. Simply select the appropriate programme for the type of food you are cooking and follow the instructions in the display.
List of food types
Automatic programmes are accessed via Auto.
- Cakes
- Cookies/Muffins
- Bread
Bread mixes
Bread rolls - Meat
- Game
- Poultry
-Fish - Dessert
Using Automatic programmes
Select Auto.
A list of food types will appear in the display.
- Scroll through the list until the food type you want is highlighted.
Confirm with OK.
The Automatic programmes available will then appear.
- Scroll through the list until the Automatic programme you want to use is highlighted.
Confirm with OK.
Each step you need to take before starting the Automatic programme will appear in the display.
Depending on the Automatic programme selected, tips will appear about the following:
- Roasting or baking dish
- Shelf level
- The amount of water required for Automatic programmes with Moisture Plus
- Duration
Follow the instructions in the display.
Useful tip: See the recipe book for a selection of Automatic programmes to try.
Notes on use
- When using the Automatic programmes, the recipes provided are designed as a guide only. You can use them for other similar recipes, including those using different quantities.
- The oven interior needs to be at room temperature before starting an Automatic programme.
- Some Automatic programmes require the addition of liquid during cooking. You will be prompted by a message in the display when this needs to be done (e.g. "Add liquid at ...").
- Some Automatic programmes require a pre-heating phase before food is placed in the oven. A prompt will appear to tell you when to add the food.
- The duration quoted for Automatic programmes is an estimate. It may increase or decrease depending on the programme. The duration, in particular with meat, will vary depending on the initial temperature of the food.
You can create and save up to 20 of your own programmes.
Each one can have up to 10 cooking stages. This enables you to save your most frequently used recipes very accurately. In each stage you need to select settings such as function, temperature and duration.
- You can specify the shelf level(s) for the food.
- You can enter the name of the programme for your recipe.
When you next select the programme, it will start automatically.
There are different ways of creating a User programme:
- At the end of an Automatic programme, save it as a User programme.
- After running a programme with a set duration, save it.
Then name the programme.
Creating a User programme
Select
The first time you create a User programme Create programme will appear in the display.
Confirm with OK.
If User programmes already exist, the programme names will appear with Edit programmes underneath them.
Scroll through the list until Edit programmes is highlighted.
Confirm with OK.
Create programme will be highlighted.
Confirm with OK.
You can now specify the settings for cooking stage 1. Follow the instructions in the display:
- Select and confirm the settings you want to change.
Useful tip: Depending on oven function selected, you can also select Rapid Heat-up via Further parameters.
Settings for the 1st cooking stage have now been set.
You can add more cooking stages, for example, if you want to add another cooking function to follow on from the first.
If additional cooking stages are required, select Add cooking stage and proceed as for the 1st cooking stage.
- When you have finished setting all the cooking stages, select Complete programme.
Finally set the shelf level(s) to be used.
- Select and confirm the required level(s).
A summary of your settings will appear in the display.
Check the settings and confirm with OK.
- Scroll through the list until Save is highlighted.
Confirm with OK.
Finally give the programme a name. The following symbols appear next to the alphabet:
| Symbol | Meaning |
| \(\sqcup\) | Space |
| ABC | Alphabet in upper case |
| abc | Alphabet in lower case |
| 123 | Numerals 0 to 9 and hyphen |
| ✓ | Confirm the programme name |
- Scroll through the list until the character you want is highlighted.
Confirm with OK.
The letter or number you have selected will appear in the top line of the display.
You can delete the characters one at a time with
A maximum of 10 characters can be used.
Select further characters.
Once you have entered the programme name, scroll through the list until is highlighted.
Confirm with OK.
A message will appear in the display confirming that the name has been saved.
Confirm with OK.
Starting a User programme
Place the food in the oven.
Select
The programme names will appear in the display with Edit programmes underneath.
- Scroll through the list until the programme you want is highlighted.
Confirm with OK.
A list will appear in the display.
- Start now
The programme will start straight away and the oven heating will switch on.
- Start at
You can specify when you want the programme to start. The oven heating will switch on automatically at the time you set.
- Finish at
You can specify when you want the programme to finish. The oven heating will switch off automatically at the time you set.
- Change cooking stages
This option is described in "Changing User programmes".
- Scroll through the list until the option you want is highlighted.
Confirm with OK. - Confirm the message regarding which shelf level to use with OK.
The programme selected will begin automatically straight away or at the time set.
Changing User programmes
Changing cooking stages
Cooking stages in an Automatic programme that you have renamed as a User programme cannot be changed.
Select
The programme names will appear in the display with Edit programmes underneath.
- Scroll through the list until the programme you want is highlighted.
Confirm with OK. - Scroll through the list until Change cooking stages is highlighted.
Confirm with OK.
Cooking stage 1 is highlighted. You can change the specified settings for one cooking stage or add cooking stages to the programme.
-
Scroll through the list until the cooking stage you want or Add cooking stage is highlighted in the display.
Confirm with OK. -
Change the programme as you wish (see "Creating a User programme").
Confirm with OK.
Check the settings and confirm with OK. - Scroll through the list until Save is highlighted.
Confirm with OK.
The changes to your programme will be saved.
- Change the name if necessary (see "Creating a User programme").
A message will appear in the display confirming that the name has been saved.
Confirm with OK.
Changing the name
Select
The programme names will appear in the display with Edit programmes underneath.
Confirm with OK.
- Scroll through the list until Change programme is highlighted.
Confirm with OK.
- Scroll through the list until the programme you want is highlighted.
Confirm with OK.
- Scroll through the list until Change name is highlighted.
Confirm with OK.
- Change the name (see "Creating a User programme").
After entering a new programme name, scroll through the list until is highlighted.
Confirm with OK.
A message will appear in the display confirming that the name has been saved.
Confirm with OK.
The new name for your programme will be saved.
Deleting User programmes
Select
The programme names will appear in the display with Edit programmes underneath.
Confirm with OK.
- Scroll through the list until Delete programme is highlighted.
Confirm with OK.
- Scroll through the list until the programme you want is highlighted.
Confirm with OK.
Delete? appears in the display.
- Scroll through the list until Yes is highlighted.
Confirm with OK.
The programme will be deleted.
You can delete all User programmes at once (see "Settings - Factory default -User programmes").
Eating food which has been cooked correctly is important for preventing food poisoning or other ailments. Only bake cakes, pizza, chips etc. until they are golden brown. Do not overcook them.
Oven functions
Depending on how the food is prepared, you can use Fan Plus 品 , Intensive Bake 品 , Moisture Plus 品 or Conventional Heat 品 .
Bakeware
The choice of bakeware depends on the oven function and how the food is prepared.
- Fan Plus , Intensive Bake , Moisture Plus :
Baking tray, universal tray, bakeware made from ovenproof material.
- Conventional Heat l Dark baking tins with a matt finish.
Avoid using bright, shiny metal tins as they give an uneven and poor browning result and in some cases cakes might not cook properly.
- Always place baking tins on the rack.
Position rectangular tins with the longer side across the width of the rack for optimum heat distribution and even baking results.
- When baking cakes with fresh fruit toppings and deep sponge cakes, place the tin on the universal tray to catch any spillages and keep the oven cleaner.
Baking paper, greasing
Miele accessories, e.g. the universal tray, are treated with PerfectClean enamel (see "Features").
Surfaces treated with PerfectClean enamel generally do not need to be greased or covered with baking paper.
Baking paper is only necessary when baking:
-
anything prepared using a lye containing sodium hydroxide (e.g. pretzels, bread sticks) because the lye can damage the PerfectClean surface.
-
meringues or sponges with a high egg white content.
These are more likely to stick.
- frozen food cooked on the rack.
Notes on using the baking charts
In the charts the data for the recommended function is printed in bold.
Unless otherwise stated, the times given are for an oven which has not been pre-heated. With a pre-heated oven, shorten times by up to 10 minutes.
Temperature
As a general rule, select the lower temperature given in the chart.
Baking at temperatures higher than those recommended may reduce the cooking time, but will lead to uneven browning, and unsatisfactory cooking results.
Baking duration
Check if the food is cooked at the end of the shortest time quoted. To check if a cake is ready, insert a wooden skewer into the centre. It is ready if the skewer comes out clean, without dough or crumbs sticking to it.
Shelf levels 5
The shelf level on which you place your food for baking depends on the oven function and number of trays being used.
- Fan Plus
1 tray: level 2
2 trays: levels 1 + 3 / 2 + 4
3 trays: levels 1 + 3 + 5
The universal tray should be placed underneath the baking tray if you are using a universal tray and a baking tray on several levels at the same time.
Bake moist biscuits and cakes on a maximum of two levels at the same time.
- Moisture Plus
1 tray: Shelf level 2
- Intensive Bake
1 tray: Shelf level 1 or 2
- Conventional Heat
1 tray: Shelf level 1 or 2
Baking charts
Creamed mixture
| Cakes/Biscuits | [°C] | 5 [°C] | 1 [min.] |
| Muffins (1 tray) | 140-1501) | 2 | 35-45 |
| 150-1601) | 2 | 30-40 | |
| Muffins (2 trays) | 140-1501) | 2+4 | 35-453) |
| Small cakes (1 tray)* | 1501) | 2 | 30-40 |
| 1601) 2) | 3 | 20-30 | |
| Small cakes (2 trays)* | 1501) 2) | 2+4 | 25-35 |
| Small cakes/Biscuits (1 tray) | 140-1501) | 2 | 25-35 |
| 150-1601) 2) | 3 | 15-25 | |
| Small cakes/Biscuits (2 trays) | 140-1501) | 2+4 | 25-353) |
| Sand cake | 150-1601) | 2 | 60-70 |
| 150-1601) 2) | 2 | 60-70 | |
| Ring cake | 150-160 | 2 | 50-60 |
| 170-180 | 2 | 55-65 |
Function / Fan Plus / Conventional Heat
Temperature / 5 Shelf level / Duration
- The settings also apply for testing in accordance with EN 60350-1.
1) Touch the illuminated ^ sensor during the heating-up phase to switch Rapid Heat-up on or off.
2) Pre-heat the oven.
3) Take the baking trays out of the oven early if the food is sufficiently browned before the specified time has elapsed.
Creamed mixture
| Cakes/Biscuits | [°C] | 5 [min.] | |
| Foam cake (tray) | 150-160 1) | 2 | 25-35 |
| 150-160 1) 2) | 2 | 25-35 | |
| Marble, nut cake (tin) | 150-160 | 2 | 60-80 |
| 150-160 | 2 | 55-75 | |
| Fresh fruit cake, with meringue topping (tray) | 150-160 1) | 2 | 40-50 |
| 170-180 1) | 2 | 45-55 | |
| Fresh fruit cake (tray) | 150-160 | 2 | 35-45 |
| 160-170 | 2 | 35-55 | |
| Fresh fruit cake (tin) | 150-160 | 2 | 55-65 |
| 170-180 1) 2) | 2 | 35-45 | |
| Flan base | 150-160 1) | 2 | 25-35 |
| 170-180 1) 2) | 2 | 15-25 | |
Function / Fan Plus / Conventional Heat
Temperature / Shelf level / Duration
1) Touch the illuminated sensor during the heating-up phase to switch Rapid Heat-up on or off.
2) Pre-heat the oven.
Rubbed in mixture
| Cakes/Biscuits | [°C] | 5 [min.] | [min.] | |
| Small cakes/Biscuits (1 tray) | 140-150 1) | 2 | 20-30 | |
| 160-170 1) 2) | 3 | 15-25 | ||
| Small cakes/Biscuits (2 trays) | 140-150 1) | 1+3 | 20-30 3) | |
| Drop cookies (1 tray) * | 140 1) | 2 | 30-40 | |
| 160 1) 2) | 3 | 20-30 | ||
| Drop cookies (2 trays) * | 140 1) | 1+3 | 35-45 3) | |
| Flan base | 150-160 | 2 | 35-45 | |
| 170-180 2) | 2 | 20-30 | ||
| Streusel cake | 150-160 | 2 | 45-55 | |
| 170-180 | 2 | 45-55 | ||
| Cheese cake | 150-160 1) | 2 | 80-95 | |
| 170-180 1) | 2 | 75-85 | ||
| 150-160 | 2 | 80-90 | ||
Function / Fan Plus / Conventional Heat / Intensive Bake
Temperature / 5 Shelf level / Duration
- The settings also apply for testing in accordance with EN 60350-1.
1) Touch the illuminated sensor during the heating-up phase to switch Rapid Heat-up on or off.
2) Pre-heat the oven.
3) Take the baking trays out of the oven early if the food is sufficiently browned before the specified time has elapsed.
Rubbed in mixture
| Cakes/Biscuits | [°C] | 5 [min.] | |
| Apple cake (baking tin ∅ 20 cm) * | 1601) | 2 | 90-100 |
| 1801) | 1 | 80-95 | |
| Apple pie | 160-1701) | 2 | 50-70 |
| 170-1801) 2) | 2 | 60-70 | |
| 160-170 | 2 | 50-70 | |
| Fresh fruit tart, glazed (tin) | 150-160 | 2 | 55-75 |
| 170-180 | 2 | 55-75 | |
| 150-160 | 2 | 55-65 | |
| Swiss apple pie (tray) | 220-2302) | 1 | 30-50 |
| 180-190 | 1 | 30-50 | |
Function / Fan Plus / Conventional Heat / Intensive Bake
Temperature / Shelf level / Duration
- The settings also apply for testing in accordance with EN 60350-1.
1) Touch the illuminated ^ sensor during the heating-up phase to switch Rapid Heat-up on or off.
2) Pre-heat the oven.
Yeast mixtures and quark dough
| Cakes/Biscuits | [°C] | 5 [min.] | [min.] | |
| Gugelhupf | 150-160 1) | 2 | 50-60 | |
| 160-170 1) | 2 | 50-60 | ||
| Stollen | 150-160 | 2 | 45-65 | |
| 160-170 | 2 | 45-60 | ||
| Streusel cake | 150-160 | 2 | 35-45 | |
| 170-180 | 3 | 35-45 | ||
| Fresh fruit cake (tray) | 160-170 | 2 | 45-55 | |
| 170-180 | 3 | 50-60 | ||
| Apple turnovers (1 tray) | 150-160 | 2 | 25-30 | |
| 160-170 | 2 2) | 25-30 | ||
| Apple turnovers (2 trays) | 150-160 | 1+3 | 25-30 3) | |
Function / Fan Plus / Conventional Heat
Temperature / _1^5 Shelf level / Duration
1) Touch the illuminated ^ sensor during the heating-up phase to switch Rapid Heat-up on or off.
2) For yeast dough. With quark dough use shelf level 3.
3) Take the baking trays out of the oven early if the food is sufficiently browned before the specified time has elapsed.
Yeast mixtures and quark dough
| Cakes/ Biscuits | □ | [°C] | 5 1 | [min.] |
| White bread | 2 | 180-190 | 2 | 35-45 |
| 2 | 190-200 | 2 | 30-40 | |
| Wholegrain bread | 2 | 180-190 | 2 | 55-65 |
| 2 | \(200-210^{1)}\) | 2 | 45-55 | |
| Pizza (tray) | 2 | 220-240 | 2 | 10-20 |
| 2 | \(220-240^{1)}\) | 2 2) | 10-25 | |
| 2 | 220-240 | 2 2) | 10-20 | |
| Onion tart | 2 | 170-180 | 2 | 30-40 |
| 2 | \(180-190^{1)}\) | 2 | 25-35 | |
| 2 | 170-180 | 2 | 30-40 | |
| Proving yeast dough | 2 | 35 | 3) | 15-30 |
| 2 | 35 | 3) | 15-30 |
Function / Fan Plus / Conventional Heat / Intensive Bake
Temperature / _1^5 Shelf level / Duration
1) Pre-heat the oven.
2) For yeast dough. With quark dough use shelf level 3.
3) The dish can be placed on the oven floor. Depending on the size of the dish, you may need to remove the shelf runners. If using Conventional Heat , please also place the rack on the oven floor.
Whisked mixture
| Cakes/ Biscuits | □ | [°C] | 5 1 | [min.] |
| Tart / flan base (2 eggs) | 160-170 1) | 2 | 20-30 | |
| 160-170 1) 2) | 2 | 15-25 | ||
| Sponge cake (4 to 6 eggs) | 170-180 1) | 2 | 20-35 | |
| 150-160 1) 2) | 2 | 30-45 | ||
| Whisked sponge cake * | 180 1) | 2 | 25-35 | |
| 150-170 1) 2) | 2 | 20-45 | ||
| Swiss roll | 170-180 1) 2) | 2 | 15-20 | |
| 180-190 1) 2) | 2 | 10-15 |
Function / Fan Plus / Conventional Heat
Temperature / Shelf level / Duration
- The settings also apply for testing in accordance with EN 60350-1.
1) Touch the illuminated ^ sensor during the heating-up phase to switch Rapid Heat-up on or off.
2) Pre-heat the oven.
Choux pastry, puff pastry, meringue
| Cakes/Biscuits | □ | [°C] | 5 1 | [min.] |
| Choux buns (1 tray) | 2 | 160-170 | 2 | 30-45 |
| 2 | 180-190 1) 2) | 3 | 25-35 | |
| Choux buns (2 trays) | 2 | 160-170 | 1+3 | 30-45 3) |
| Puff pastry (1 tray) | 2 | 170-180 | 2 | 20-30 |
| 2 | 190-200 | 3 | 20-30 | |
| Puff pastry (2 trays) | 2 | 170-180 | 1+3 | 20-30 3) |
| Macaroons (1 tray) | 2 | 120-130 | 2 | 25-50 |
| 2 | 120-130 1) 2) | 3 | 25-45 | |
| Macaroons (2 trays) | 2 | 120-130 | 1+3 | 25-50 3) |
Function / Fan Plus / Conventional Heat
Temperature / 5 Shelf level / Duration
1) Touch the illuminated sensor during the heating-up phase to switch Rapid Heat-up on or off.
2) Pre-heat the oven.
3) Take the baking trays out of the oven early if the food is sufficiently browned before the specified time has elapsed.
Oven functions
Depending on how the food is being cooked, you can use Fan Plus l Moisture Plus 串串 , Auto Roast Conventional Heat or an Automatic programme.
Cooking container
You can use any heat-resistant dishes:
Miele Gourmet oven dishes, roasting pans, ovenproof glass trays, roasting bags, dishes made from earthenware or cast iron, the universal tray, rack and/or grilling and roasting insert (if available) on top of the universal tray.
We recommend roasting in covered oven dishes as this ensures that sufficient stock remains for making gravy.
The oven also stays cleaner than with open roasting.
Useful tips
-
Browning: Browning only occurs towards the end of the roasting time. If cooking with a roasting dish, remove the lid about halfway through the roasting time if a more intensive browning result is desired.
-
Standing time: At the end of the programme, take the roast out of the oven, wrap in aluminium foil and leave to stand for about 10 minutes. This helps retain juices when the meat is carved.
-
Roasting poultry: For a crisp skin, baste the poultry 10 minutes before the end of the cooking time with slightly salted water.
Notes on using the roasting charts
In the charts the data for the recommended function is printed in bold.
Unless otherwise stated, the times given are for an oven which has not been pre-heated. With a pre-heated oven, shorten times by up to 10 minutes.
Temperature
As a general rule, select the lower temperature given in the chart. If higher temperatures are used, the meat will brown on the outside, but will not be properly cooked through.
When cooking with Fan Plus l Moisture Plus or Auto Roast, select a temperature approx. 20^ lower than for Conventional Heat
For cuts which weigh more than 3kg , select a temperature approx. 10^ lower than that given in the roasting chart. Roasting will take longer at the lower temperature, but will be more even.
When roasting on the rack, set a temperature approx. 10^ lower than if using an oven dish.
Pre-heating
Pre-heating is only required when roasting beef sirloin joints and fillets.
Roasting duration
The roasting time can be determined by multiplying the thickness of the roast [cm] with the time per cm [min./cm] stated below, depending on the type of meat:
- Beef/Venison: 15-18 min./cm
- Pork/Veal/Lamb: 12-15 min./cm
- Sirloin joints/Fillets: 8-10 min./cm
Roasting times are approx. 20 minutes longer per kilo for frozen meat. Frozen meat weighing less than approx. 1.5kg does not need to be defrosted before roasting.
Check if the meat is cooked after the shortest time quoted.
Shelf levels 5
As a general rule, use shelf level 2.
Roasting charts
Beef, veal
| Food | [°C] | 5 [°C] | [°C] | [°C] |
| Topside of beef, approx. 1 kg | 170-180 | 2 | 100-1305) | 85-95 |
| 190-200 | 2 | 110-1405) | ||
| Fillet of beef, approx. 1 kg1) | 150-1604) | 2 | 20-50 | 40-708) |
| 150-1604) | 2 | 20-50 | ||
| 180-1904) | 2 | 20-50 | ||
| Sirloin joint, approx. 1 kg1) | 150-1604) | 2 | 30-60 | 40-708) |
| 150-1604) | 2 | 30-60 | ||
| 180-1904) | 2 | 30-60 | ||
| Veal, approx. 1.5 kg | 190-200 | 2 | 70-905) | 70-80 |
| 190-200 | 2 | 70-906) | ||
| 200-210 | 2 | 70-905) |
Function / Temperature / Shelf level / Duration / Core temperature
Fan Plus / Auto Roast / Moisture Plus / Conventional Heat
1) Use the universal tray. First sear the meat all over on the cooktop to seal it.
2) If using Moisture Plus _MS , release a burst of steam at the beginning of the cooking programme.
3) If using Moisture Plus , once the heating-up phase has finished, manually release the bursts of steam at intervals throughout the programme.
4) Pre-heat the oven.
Touch the illuminated ^± sensor during the heating-up phase to switch Rapid Heat-up on or off.
5) Roast with the lid on first, then remove the lid halfway through roasting and add approx. 0.5 l liquid.
6) Add approx. 0.5 l liquid halfway through roasting.
7) If you have a separate food probe, you can use the core temperature shown.
8) Depending on required degree of doneness: rare: 55–60 °C, medium: 65–70 °C, well-done: 70–75 °C
Pork
| Food | □ | [°C] | 5 | [min.] | 3) [°C] |
| Pork roast/neck, approx. 1 kg | 2/□ | 160-170 | 2 | 100-1202) | 80-90 |
| △1) | 160-170 | 2 | 100-1202) | ||
| □ | 180-190 | 2 | 100-1302) | ||
| Pork joint with crackling, approx. 2 kg | 2/□ | 170-180 | 2 | 120-1602) | 80-90 |
| △1) | 180-190 | 2 | 120-1602) | ||
| □ | 190-200 | 2 | 130-1602) | ||
| Gammon joint, approx. 1 kg | 2/□ | 150-160 | 2 | 60-802) | 75-80 |
| △1) | 150-160 | 2 | 60-80 | ||
| □ | 170-180 | 2 | 80-1002) | ||
| Meat loaf, approx. 1 kg | 2/□ | 170-180 | 2 | 60-702) | 80-85 |
| □ | 200-210 | 2 | 70-802) |
Function / Temperature / Shelf level / Duration / Core temperature
Fan Plus / Auto Roast / Moisture Plus / Conventional Heat
1) If using Moisture Plus 11 , once the heating-up phase has finished, manually release the bursts of steam at intervals throughout the programme.
2) Add approx. 0.5 l liquid halfway through roasting.
3) If you have a separate food probe, you can use the core temperature shown.
Lamb, game
| Food | [°C] | 5 [min.] | 5 [°C] | |
| Leg of lamb, approx. 1.5 kg | 170-180 | 2 | 90-1103) | |
| 170-180 | 2 | 90-1104) | ||
| 180-190 | 2 | 90-1103) | ||
| Saddle of lamb, approx. 1.5 kg | 220-2302) | 2 | 40-604) | |
| 220-2302) | 2 | 40-60 | ||
| 230-2402) | 3 | 40-604) | ||
| Venison, approx. 1 kg | 200-210 | 2 | 80-1003) | |
| 200-210 | 2 | 80-1003) | ||
Function / Temperature / Shelf level / Duration / Core temperature
Fan Plus / Auto Roast / Moisture Plus / Conventional Heat
1) If using Moisture Plus , once the heating-up phase has finished, manually release the bursts of steam at intervals throughout the programme.
2) Pre-heat the oven.
3) Roast with the lid on first, then remove the lid halfway through roasting and add approx. 0.5 l liquid.
4) Add approx. 0.5 l liquid halfway through roasting.
5) If you have a separate food probe, you can use the core temperature shown.
Poultry, fish
| Food | ☐ | [°C] | 51 | [min.] | 3) [°C] |
| Poultry, 0.8-1 kg | 2/0 | 180-190 | 2 | 60-70 | 85-90 |
| 2 | 190-200 | 2 | 60-70 | ||
| Poultry, approx. 2 kg | 2/0 | 180-190 | 2 | 100-120 | 85-95 |
| 2 | 190-200 | 3 | 100-120 | ||
| Poultry, stuffed, approx. 2 kg | 2/0 | 180-190 | 2 | 110-130 | 85-95 |
| 2 | 190-200 | 3 | 110-130 | ||
| Poultry, approx. 4 kg | 2/0 | 160-170 | 2 | \(120-160^2)\) | 85-90 |
| 2 | 180-190 | 2 | \(120-160^2)\) | ||
| Fish, whole, approx. 1.5 kg | 2/0 | 160-170 | 2 | 45-55 | 75-80 |
| 2\(^{1)}\) | 160-170 | 2 | 45-55 | ||
| 2 | 180-190 | 2 | 45-55 |
Function / Temperature / Shelf level / Duration / Core temperature
Fan Plus / Auto Roast / Moisture Plus / Conventional Heat
1) If using Moisture Plus 11 , once the heating-up phase has finished, manually release the bursts of steam at intervals throughout the programme.
2) Add approx. 0.5 l liquid halfway through roasting.
3) If you have a separate food probe, you can use the core temperature shown.
This type of cooking is ideal for cooking beef, pork, veal or lamb when a tender result is required.
First briefly sear the meat all over at a high temperature on the cooktop in order to seal it.
Then place the meat in the pre-heated oven where the low temperature and long cooking duration will cook it to perfection and ensure it is very tender.
The meat will relax and the juices inside will start to circulate evenly throughout the meat to reach the outer layers. This will give very tender and succulent results.
Useful tips
- Use lean meat which has been correctly hung and trimmed. Bones should be removed before cooking.
- For searing, use a suitable cooking oil or fat that can withstand high temperatures (e.g. clarified butter).
- Do not cover meat during cooking.
The cooking duration is approx. 2-4 hours and depends on the weight and size of the meat, as well as the desired degree of doneness and browning.
Procedure
Use the universal tray with the rack placed on top of it.
Do not use the Rapid Heat-up function to pre-heat the oven.
- Place the rack together with the universal tray on shelf level 2.
■ Select Conventional Heat l and a temperature of 130^ .
Touch the illuminated sensor to switch off Rapid Heat-up.
Pre-heat the oven together with the universal tray and rack for approx. 15 minutes.
While the oven is pre-heating, sear the meat on all sides on the cooktop.
Danger of burning!
Wear oven gloves when placing food in the oven or removing it and when adjusting oven shelves etc. in a hot oven.
Place the seared meat on the rack.
Select 三.
Temperature will be highlighted.
- Confirm with OK and reduce the temperature to 100^ .
Continue cooking until the end of the cooking duration.
You can set the cooking programme to switch off automatically (see "Further functions - Setting the duration").
After cooking
- Meat can be carved straight from the oven. It does not need to rest.
- The cooking result will not be affected if the meat is left in the oven after the programme has finished. It can be kept warm until you serve it.
- The meat is an ideal temperature to eat straight away. Serve on pre-heated plates with very hot sauce or gravy to prevent it cooling down too quickly.
Cooking duration/Core temperatures
| Meat | [°C] | [°C] |
| Fillet of beef | 105–120 | 60–75 |
| Sirloin joint | ||
| - Rare | 60–90 | 55–60 |
| - Medium | 120–150 | 65–70 |
| - Well-done | 180–240 | 70–75 |
| Pork fillet | 120–150 | 65–80 |
| Gammon* | 150–210 | 75–80 |
| Veal fillet | 80–100 | 60–75 |
| Saddle of veal* | 180–210 | 65–75 |
| Saddle of lamb* | 90–120 | 65–75 |
Duration
Core temperature If you have a separate food probe, you can use the core temperature shown.
- Boned
Danger of burning!
Grill with the oven door closed. If you grill with the door open, hot air will escape from the oven instead of being cooled by the cooling fan. The controls will get hot.
Oven functions

For grilling and toasting bread, open sandwiches etc. and browning baked dishes.
The whole of the top heat/grill element will get hot and glow red.

For grilling thicker items, e.g. rolled meat, poultry pieces.
The top heat/grill element and fan are switched on alternately.

Cooking container

Use the universal tray with the rack or grilling and roasting insert (if available) on top. The juices from the food being cooked collect under the insert. This prevents them from spitting and making the oven dirty. The juices can be used for making gravy and sauces.
Do not use the baking tray.
Preparing food for grilling
Rinse meat under cold running water and then pat dry. Do not season meat with salt before grilling as this draws the juices out.
Add a little oil to lean meat if necessary. Do not use other types of fat as they can burn and cause smoke.
Clean fish in the normal way. To enhance the flavour, add a little salt or squeeze a little lemon juice over the fish.
Grilling
- Place the rack or the roasting and grilling insert (if available) in the universal tray.
Place the food on top. - Select the required oven function and the temperature.
Pre-heat the top heat/grill element for approx. 5 minutes with the door closed.
Danger of burning! Wear oven gloves when placing food in the oven or removing it and when adjusting oven shelves etc. in a hot oven.
Place the food on the appropriate shelf level (see Fan Grilling guide).
Close the door.
Turn the food halfway through grilling.
Notes on the grilling chart
Check the food after the shortest time quoted.
Take note of the temperature range, the shelf levels and the durations. These take the size of the meat and cooking practices into account.
Temperature
As a general rule, select the lower temperature given in the chart. If higher temperatures are used, the meat will brown on the outside, but will not be properly cooked through.
Pre-heating
Always pre-heat the top heat/grill element for approx. 5 minutes with the door closed.
Shelf levels 5
Select the shelf level according to the thickness of the food.
- Thin cuts: shelf level 3 or 4
- Thick cuts: shelf level 1 or 2
Grilling duration
- Flat pieces of fish and meat usually take 6-8 minutes per side. Thicker pieces require more time for each side. It is best to grill food of a similar thickness at the same time so that the grilling time for each item does not vary too greatly.
- Turn the food halfway through grilling.
Testing to see if cooked
One way of finding out how far through a piece of meat has been cooked is to press down on it with a spoon:
Rare: If there is very little resistance to the pressure of the spoon, it will still be red on the inside.
Medium: If there is some resistance, the inside will be pink
Well-done: If there is great resistance, it is cooked through.
Check if the meat is cooked after the shortest time quoted.
Useful tip: If the surface of thicker cuts of meat is cooked but the centre is still raw, continue grilling at a lower temperature setting or use a lower shelf level to allow the food to cook through to the centre.
Fan Grill
- Use the Fan Grill function for meat, fish, poultry and vegetables.
- Always pre-heat for at least 5 minutes before Fan Grilling.
- It is not necessary to turn food when Fan Grilling . Only one side of the food, however, will become brown.
- The door must be closed when using Fan Grill
- When using red meat, pat the meat dry before Fan Grilling as this encourages a richer colour.
All temperatures are approximations and must be varied according to the thickness and preparation of the meat. The chart below is a suggested guide only. Personal taste and size of serves will vary times and temperatures. We recommend you monitor cooking results for best outcomes.
| Food to be grilled | [°C] | 5 1 | [min.] |
| Lean thin sausages | 180 | 4 | 8-10 |
| Thick sausages | 180 | 4 | 15-20 |
| Lean beef fillet steak | 220 | 5 | 6-12 |
| Chicken breast fillet | 200 | 4 | 14-18 |
| Whole butterflied chicken | 200 | 3 | 30-35 |
| Thin white fish fillets | 220 | 5 | 6-10 |
| Thick fish fillets, cutlets or steaks | 200 | 4 | 10-15 |
| Oily fish | 200 | 4 | 8-12 |
| Lamb loin chops | 190 | 4 | 12-16 |
| Lamb back straps | 220 | 5 | 8-10 |
| Vegetables, capsicum, zucchini, sweet potato, eggplant | 200 | 5 | 12-15 |
| Potato wedges or small roast potatoes | 220 | 3 | 20-25 |
| Kebabs and satays (red meat) | 200 | 5 | 12-15 |
| Chicken satays | 200 | 4 | 12-15 |
Temperature / 5 Shelf level / Duration
Fan Grill can be used for small roasts but is only recommended for lean, tender cuts of meat, e.g. lamb racks, rump roasts, and beef fillet. Fan Grill the roast at 200^ on shelf level 3 for approximately 25 minutes, depending on thickness.
Grill
- Use Grill for thick toasts, muffins, cheese on toast, focaccia, bruschetta and bacon.
- Pre-heat the grill for at least 5 minutes at 200 - 220^
- Select the appropriate shelf level for the thickness of the food.
- The door must be closed when using the Grill function.
This is a suggested guide only. Personal taste and size of serves will vary times and temperatures.
Your oven has a number of Special applications in addition to the Automatic programmes. They are listed under Further programmes:
- Defrost
Gentle Bake - Drying
- Reheat (Reheating plated meals)
Prove yeast dough - Pizza
Heat crockery
This section also gives information on the following applications:
- Bottling
- Frozen food/Ready meals
Further programmes
Gentle Bake
Gentle Bake is suitable for small amounts, e.g. frozen pizza, bake-off rolls, biscuits and for meat dishes and roasts. The optimal use of residual heat enables savings of up to 30% energy to be made compared to cooking with a standard oven function with comparatively good cooking results.
This function is not suitable for larger amounts of food such as sponge cake, fresh fruit cake or small cakes where the cake mix needs to be thoroughly baked through, as no energy savings would be made.
The temperature can be set between 100 and 250^ .
Select
Select Gentle Bake and alter the recommended temperature if necessary.
Follow the instructions in the display.
For optimum energy savings, keep the door closed whilst baking.
Examples of use
| Food | [°C] | [°C] [min.] |
| Biscuits | 150 | 25–30 |
| Ratatouille | 180 | 40–60 |
| Fish fillet in foil, approx. 500 g | 200 | 25–30 |
| Frozen pizza, pre-cooked | 200 | 20–25 |
| Ham roast, approx. 1.5 kg | 160 | 130–160 |
| Braised beef, approx. 1.5 kg | 180 | 160–180 |
Temperature / Duration
- Use shelf level 1 or 2 depending on the height of the food.
- The durations given are for an oven which has not been pre-heated.
- Roast with the lid on first, then remove the lid three-quarters of the way through roasting and add approx. 0.5 l liquid.
- Check the food after the shortest duration quoted.
Defrost
Use the Defrost function to gently defrost frozen food.
The temperature can be set between 25 and 50^ .
Select
Select Defrost.
Alter the recommended temperature, if necessary, and then set the duration.
Follow the instructions in the display.
Air is circulated throughout the cabinet to gently defrost the food.
Danger of salmonella poisoning! It is particularly important to observe food hygiene rules when defrosting poultry. Do not use the liquid from the defrosted poultry. Pour it away, and wash the tray, the sink and your hands.
Useful tips
- Where possible, remove the packaging and put the food to be defrosted on the universal tray or into a suitable dish.
- When defrosting poultry, put it on the rack over the universal tray to catch the defrosted liquid so that the meat is not lying in this liquid.
- Meat and poultry need to be fully defrosted before cooking. Fish, on the other hand, can be partially defrosted before cooking. Defrost so that the surface is sufficiently soft to take herbs and seasoning.
Defrosting times
The time needed for defrosting depends on the type and weight of the food, and at what temperature it was deep frozen. The following chart is for guidance only. It is important to check that food is thoroughly defrosted.
| Frozen food | [g] | [min.] |
| Chicken | 800 | 90-120 |
| Meat | 500 | 60-90 |
| 1000 | 90-120 | |
| Sausages | 500 | 30-50 |
| Fish | 1000 | 60-90 |
| Strawberries | 300 | 30-40 |
| Yeast butter cake | 500 | 20-30 |
| Bread | 500 | 30-50 |
weight / defrosting duration
Drying
This programme is designed for traditional style drying of food to preserve it.
The temperature can be set between 80 and 100^ .
It is important that fruit and vegetables are ripe and not bruised before they are dried.
Prepare the food for drying.
- Peel and core apples, and cut into slices 0.5 ~cm thick.
- Stone plums, if necessary.
- Peel, core and cut pears into wedges.
- Peel and slice bananas.
- Clean mushrooms, then either halve or slice them.
- Remove parsley and dill from the stem.
- Distribute the food evenly over the universal tray.
You can also use the Gourmet perforated baking tray (if available).
Select
Select Drying.
Alter the recommended temperature, if necessary, and then set the duration.
Follow the instructions in the display.
| Food | ⊕ [min.] |
| Fruit | 120–480 |
| Vegetables | 180–480 |
| Herbs* | 50–60 |
Drying time
* Because this programme uses the fan, you should use Conventional Heat with a temperature of 80 - 100^ C for drying herbs.
- Reduce the temperature if condensation begins to form in the oven.
Danger of burning! Wear oven gloves when removing the dried food from the oven.
- Allow the dried fruit or vegetables to cool down after drying.
Dried fruit must be completely dry, but also soft and elastic. Juice must not escape when cut.
Store in sealed glass jars or tins.
Reheat
This programme uses moisture and is designed for reheating plated meals.
You can select:
- Roast with vegetables
- Roast with potatoes
- Roast with dumplings
- Roast with pasta
Fish with vegetables
Fish with potatoes
Vegetable bake - Pasta bake
- Pasta with sauce
- Pizza
Casserole
Use heat-resistant crockery.
Place the food to be reheated in its dish on the rack. Do not cover it.
Select
- Select Reheat and alter the recommended temperature if necessary.
Follow the instructions in the display.
Danger of burning!
Wear oven gloves when removing the dishes from the oven. Droplets of water may have accumulated underneath the dish.
Prove yeast dough
This programme is designed specifically for proving yeast dough without the addition of moisture.
The temperature can be set between 30 and 50^ .
Select
Select Prove yeast dough.
Alter the recommended temperature, if necessary, and then set the duration.
Follow the instructions in the display.
If you wish to prove dough with the addition of moisture, select the relevant Automatic programme.
Pizza
This programme is designed specifically for baking pizza.
The temperature can be set between 160 and 250^ .
Select
Select Pizza.
Alter the recommended temperature, if necessary, and then set the duration.
Follow the instructions in the display.
Heat crockery
This programme is designed to pre-heat your crockery.
The temperature can be set between 50 and 80^ .
Use heat-resistant crockery.
- Place the rack on shelf level 2 and place the crockery to be pre-heated on it. Depending on the size of the crockery, you can also place it on the oven floor and additionally take the shelf runners out to make more room.
Select
Select Heat crockery.
Alter the recommended temperature, if necessary, and then set the duration.
Follow the instructions in the display.
Danger of burning!
Wear oven gloves when removing dishes from the oven.
Bottling
Containers for bottling

Danger of injury!
Do not use the appliance to heat up or bottle food in sealed tins. Pressure will build up inside them and they can explode causing damage to the appliance, as well as the risk of injury and scalding.
Only use special jars for bottling:
- bottling jars
- jars with twist-off lids
Bottling fruit and vegetables
We recommend using Fan Plus
The instructions are for 6 jars with a capacity of 1 litre each.
Place the universal tray on shelf level 2 and place the jars on the tray.
■ Select Fan Plus and a temperature of 150 - 170^
Wait until bubbles evenly rise in the jars.
Reduce the temperature at the right time to avoid the produce boiling over.
Fruit/Cucumbers
- Select the lowest temperature as soon as bubbles are visible in the jars. Then leave the jars in the warm oven for a further 25-30 minutes.
Vegetables
- Reduce the temperature to 100^ C as soon as bubbles are visible in the jars.
| [min.] | |
| Carrots | 50-70 |
| Asparagus, peas, beans | 90-120 |
Bottling duration
After the bottling duration has finished, select the lowest temperature and leave the jars in the oven for a further 25-30 minutes.
After bottling
Danger of burning!
Wear oven gloves when removing the jars from the oven.
Take the jars out of the oven.
- Cover the jars with a towel and leave to set for approx. 24 hours.
Make sure all jars are closed properly when storing them.
Frozen food/Ready meals
Useful tips
Cakes, pizza, baguettes
- Large frozen items such as cakes, pizzas or baguettes cover an extensive area of the baking tray or universal tray. The temperature difference if large frozen items are cooked in these trays can cause the tray to distort in such a way that it cannot be removed from the oven when it is hot. Further use will make the distortion worse. Place this type of food on baking paper on the rack to prevent the risk of this happening.
- Use the lowest temperature recommended on the manufacturer's packaging.
Oven chips, croquettes or similar items
- Small items of frozen food such as oven chips can be cooked on the baking tray or universal tray. Place baking paper on the tray so that they cook gently.
- Use the lowest temperature recommended on the manufacturer's packaging.
- Turn several times during cooking.
Preparation
Eating food which has been cooked correctly is important for preventing food poisoning or other ailments. Only bake cakes, pizza, chips etc. until they are golden brown. Do not overcook them.
- Select the function and temperature recommended on the manufacturer's packaging.
Pre-heat the oven. - Place the food in the oven on the shelf level recommended on the packaging when the temperature indicator light goes out.
- Check the food at the end of the shortest time recommended on the packaging.
Danger of burning!
Make sure the oven heating elements are switched off and that the oven cavity is cool.
Danger of injury!
The steam from a steam cleaning appliance could reach electrical components and cause a short circuit.
Do not use a steam cleaner to clean the oven.
All surfaces can become discoloured or damaged if unsuitable cleaning agents are used. The front of the oven, in particular, will be damaged by oven cleaners and descaling agents.
All surfaces are susceptible to scratching. Scratches on glass surfaces may cause a breakage. Remove any cleaning agent residues immediately.
Unsuitable cleaning agents
To avoid damaging the surfaces of your appliance, do not use:
- cleaning agents containing soda, ammonia, acids or chlorides,
- cleaning agents containing descaling agents on the oven front,
- abrasive cleaning agents, e.g. powder cleaners and cream cleaners,
- solvent-based cleaning agents,
- stainless steel cleaning agents,
-dishwasher cleaner,
glass cleaning agents, - cleaning agents for ceramic cooktops,
- hard, abrasive brushes or sponges, e.g. pot scourers, brushes or sponges which have been previously used with abrasive cleaning agents,
-dirt erasers,
sharp metal tools, - steel wool or metal scourers,
- selective cleaning with mechanical cleaning agents,
- oven cleaner, *
-
stainless steel spiral pads. *
-
These can, however, be used to remove very heavy soiling from PerfectClean treated surfaces.
If soiling is left for a long time, it might become impossible to remove. Continued use without regular cleaning will make the oven much harder to clean.
Failure to maintain the oven in a clean condition could lead to deterioration of the surfaces that could adversely affect the life of the appliance and result in a hazardous situation.
Remove any soiling immediately.
The accessories are not dishwasherproof.
Useful tips
- Soiling caused by spilt juices and cake mixtures is best removed whilst the oven is still warm. Exercise caution and make sure the oven is not too hot - danger of burning.
- To make cleaning by hand easier, you can dismantle the oven door, remove the shelf runners and the FlexiClip telescopic runners (if present), and lower the top heat/grill element.
Normal soiling
The fibreglass seal around the front of the oven should be handled carefully. Do not rub and scour it. If possible, you should avoid trying to clean it.
It is best to remove normal soiling immediately using a clean sponge and a solution of hot water and washing-up liquid or with a clean, damp microfibre cloth.
After cleaning, make sure all residual cleaning agents are thoroughly removed with clean water. This is particularly important when cleaning surfaces treated with PerfectClean enamel as cleaning agent residues can impair the non-stick properties.
After cleaning, wipe the surfaces dry using a soft cloth.
Stubborn soiling (excluding the FlexiClip telescopic runners)
Spilt fruit and roasting juices may cause lasting discolouration or matt patches on enamelled surfaces. This discolouration is permanent but will not affect the efficiency of the finish. Do not use force to remove this discolouration! Clean these following the instructions given here.
Baked-on residues can be removed with a glass scraper or a non-abrasive stainless steel pad.
- Stubborn soiling on PerfectClean surfaces can be cleaned using Miele oven cleaner. This cleaner must only be applied to cold surfaces in accordance with the instructions on the packaging.
Non-Miele oven spray must only be used in a cold oven and for no longer than a maximum of 10 minutes.
If necessary, the scouring pad on the back of a non-scratching washing-up sponge can be used to remove the soiling.
After cleaning, remove all oven cleaning agent residues thoroughly with clean water, and dry with a soft cloth.
Pyrolytic cleaning of the oven interior
Instead of cleaning the oven by hand, you can run the Pyrolytic cleaning programme.
During the Pyrolytic cleaning programme the oven interior is heated up to over 400^ . Any residual soiling is broken down and reduced to ash by the high temperatures.
This oven has three levels of pyrolytic cleaning, each with a different duration. Select:
- Level 1 for light soiling
- Level 2 for heavier soiling
- Level 3 for very heavy soiling
The oven door locks automatically as soon as the Pyrolytic cleaning programme starts. It cannot be opened until after the programme has finished.
The timer can be used to delay the start time of the Pyrolytic cleaning programme, for instance to make use of cheaper electricity tariffs.
At the end of the Pyrolytic cleaning programme any residues such as ash from the pyrolytic process can be easily wiped away.
Setting up for the Pyrolytic cleaning programme
The high temperatures used during pyrolytic cleaning will damage accessories that are not designed for cleaning in the Pyrolytic cleaning programme.
Please remove these accessories from the oven interior before starting the Pyrolytic cleaning programme.
This also applies to non-pyrolytic accessories purchased separately to the oven.
The following accessories are suitable for cleaning in the Pyrolytic cleaning programme and can be left in the oven:
- Shelf runners
- FlexiClip telescopic runners HFC 72
Rack HBBR 72
Take all non-pyrolytic accessories out of the oven.
Place the rack on the top shelf level.
Coarse soiling in the oven compartment can cause an accumulation of smoke which can lead to the Pyrolytic cleaning programme switching off.
Burnt on residues can leave discolouration or matt areas on enamelled surfaces.
Before running the Pyrolytic cleaning programme, remove coarse soiling from the oven compartment and loosen any burnt on residues with a scraper suitable for use on glass.
Starting the Pyrolytic cleaning programme
Danger of burning!
The oven door gets much hotter during the Pyrolytic cleaning programme than during normal use.
Prevent children from touching the oven during the Pyrolytic cleaning programme.
Select Pyrolytic
You have a choice of cleaning levels for Pyrolytic cleaning. The currently selected option is highlighted.
- Select the required Pyrotytic cleaning level.
Confirm with OK.
Follow the instructions in the display.
Confirm with OK.
Starting the Pyrolytic cleaning programme immediately
Start now will be highlighted.
If you would like to start the Pyrolytic cleaning programme immediately, confirm with OK.
The Pyrolytic cleaning programme will now start.
The door locks automatically. The oven heating and the cooling fan will then switch on automatically. The oven lighting does not switch on during the Pyrolytic cleaning programme.
The time remaining for the Pyrolytic cleaning programme will appear in the display. You cannot alter the duration.
If you have set a minute minder at the same time as running the cleaning programme, the buzzer will sound, will flash and the time will count upwards at the end of the minute minder time. Visual and acoustic signals will switch off as soon as you select .
Delaying the start time of the Pyrolytic cleaning programme
If you want to delay the start of the Pyrolytic cleaning programme, scroll through the list of options until Start later is illuminated.
Confirm with OK.
Set the time at which you want the Pyrolytic cleaning programme to start.
Confirm with OK.
The door will lock automatically.
Start at and the start time set will appear in the display.
As soon as the start time is reached, the oven heating and the cooling fan will switch on automatically. The duration remaining will appear in the display.
At the end of the Pyrolytic cleaning programme
When the duration remaining reaches 0:00 h, a message will appear in the display to tell you that the door is unlocking.
When the door lock has been released:
- Process finished appears in the display.
- A buzzer will sound if the buzzer is switched on (see "Settings - Acoustic information").
Switch the oven off.
The visual and acoustic signals are switched off.
Danger of burning!
Wait until the oven has cooled down before removing residual soiling left in the oven compartment from the Pyrolytic cleaning programme.
Wipe any residues (e.g. ash) left behind after the Pyrolytic cleaning programme out of the oven compartment and wipe any residues off any pyrolytic accessories. The amount of ash will vary depending on how dirty the oven was.
Most soiling can be easily removed using a clean, damp microfibre cloth, or with warm water and a little washing-up liquid on a clean sponge.
Depending on how dirty the oven was before cleaning, there may be a visible layer of soiling across the inner glass pane on the door. This should be removed using the reverse of a nonscouring washing-up sponge, a glass scraper or with a stainless steel spiral pad and a little washing-up liquid.
- Extend and retract the FlexiClip telescopic runners several times after running the Pyrolytic cleaning programme.
Please note:
- The fibreglass seal around the front of the oven should be handled carefully. Do not rub and scour it. If possible, you should avoid trying to clean it.
- The FlexiClip telescopic runners may appear discoloured or a lighter colour in places after they have been cleaned. This will not affect the functioning of the runners in any way.
- Spilt fruit juices may cause lasting discolouration to enamelled surfaces. This discolouration is permanent but will not affect the efficiency of the enamel. Do not attempt to remove these marks.
The Pyrolytic cleaning programme is cancelled
If the Pyrolytic cleaning programme is cancelled, the oven door will remain locked until the temperature inside the oven drops to below 280^ .
The following will cause the Pyrolytic cleaning programme to stop:
- Switching the oven off.
- Selecting a different function.
- A power cut.
A message will appear in the display to tell you that the door is unlocking once the temperature in the oven has dropped below 280^ C .
When the door lock has been released:
- Process finished appears in the display.
- A buzzer will sound if the buzzer is switched on (see "Settings - Acoustic information").
The Pyrolytic cleaning programme can be restarted if wished (see "Starting the Pyrolytic cleaning programme") or the oven can be switched off.
Removing the door

The door is connected to each door hinge by retainers.
Before the door can be removed the locking clamps on both hinges must first be unlocked.
Open the door fully.

Release the locking clamps by turning them as far as they will go.
Do not attempt to take the door off the retainers when it is in the horizontal position as the retainers will spring back against the oven.
Do not use the handle to pull the door off the retainers as the handle could break.
Hold the door securely at both sides, and lift it upwards off the retainers. Make sure you take it off straight.
Dismantling the door
The oven door is an open system with 4 glass panes which have a heat-reflective coating on some of their surfaces.
When the oven is operating, air is directed through the door to keep the outer pane cool.
If soiling has worked its way in between the glass panes, the door can be dismantled in order to clean in between the panes.
Take particular care as scratches can damage the glass. When cleaning the glass panes, do not use abrasive cleaning agents, hard sponges or brushes, and do not use sharp metal tools or scrapers.
Please also read the general notes on cleaning the oven front before cleaning the glass panes.
The glass panes are coated in different ways with a heat-reflective coating on the sides facing into the oven cavity. The glass panes must be fitted the right way round after being cleaned.
Oven spray will damage the aluminium trims inside the door. These should only be cleaned using hot water and washing-up liquid applied with a clean sponge or a clean, damp microfibre cloth.
Be especially vigilant after dismantling the door that the glass panes do not break.
Danger of injury! Always remove the door before disassembling it.
- Place the door on a protective surface (e.g. on a table cloth) to prevent it getting scratched.
- The door handle should line up with the edge of the table. Make sure the glass lies flat and does not get broken during cleaning.

- Flip the two glass pane retainers outwards to open them.
You can now remove the inner pane and the two middle panes one after the other.

Gently lift the inner pane up and out of the plastic strip.

Remove the seal.

Gently lift the top of the two middle panes up and take it out.

Then lift the bottom of the two middle panes up carefully and take it out.
Clean the door panes and other individual parts with a clean sponge and a solution of hot water and washing-up liquid or a clean, damp microfibre cloth.
Dry all parts with a soft cloth.
Then reassemble the door carefully:
The two middle panes are identical. To help you put them back in correctly, the material number is printed on the panes.
- Refit the lower of the two middle panes in such a way that the material number is legible (i.e. not reversed).

- Flip both glass pane retainers inwards in such a way that they fit over the lower of the two middle panes.
- Then refit the upper of the middle two panes in such a way that the material number is legible (i.e. not reversed). The glass pane should lie on top of the retainers.

Refit the seal.

- Flip the two glass pane retainers inwards to close them.

Push the inner pane with the matt printed side facing downwards into the plastic strip and place it between the retainers.
The door is now reassembled and is ready to fit back on the oven.
Fitting the door

Hold the door securely on both sides and carefully fit it back into the hinge retainers.
Make sure that the door goes back on straight.
Open the door fully.
If the locking clamps are not locked, the door could work loose resulting in damage.
Ensure that the locking clamps are locked after refitting the door.

- Flip both locking clamps back up as far as they will go into a horizontal position.
Removing the shelf runners with FlexiClip telescopic runners
You can remove the shelf runners together with the FlexiClip telescopic runners (if present).
If you wish to remove the FlexiClip telescopic runners separately beforehand, please follow the instructions in "Features - Fitting and removing the FlexiClip telescopic runners".
Danger of burning!
Make sure the oven heating elements are switched off and the oven interior is cool.

Pull the runners out of the holder (1) at the front of the oven and then pull them out of the oven (2).
Refit in the reverse order.
- Ensure that all parts are correctly fitted.
Lowering the top heat/grill element
Danger of burning!
Make sure the oven heating elements are switched off and that the oven cavity is cool.
Remove the shelf runners.

Undo the wing nut.
Use caution not to damage the top heat/grill element.
Do not use force to lower the top heat/grill element as this can cause it to break.
- Carefully lower the top heat/grill element.
You can now clean the oven ceiling. - Raise the top heat/grill element and tighten the wing nut securely.
■ Refit the shelf runners.
Dscaling the steam injection system
When to run the descending process
The frequency of descending will depend on the water hardness level in your area.
The descending process can be run at any time.
However, to ensure that the oven functions correctly, you will be automatically prompted to run the descaling process after a certain number of programmes.
The oven will let you know when only 10 programmes can be run before you have to run the descending process. The programmes will count down to 0 in the display. You will then not be able to run any function or Automatic programme using moisture. They cannot be used until descending has been carried out.
All other functions and Automatic programmes without moisture can still be used.
Dscaling process sequence
Once the descending process has been started, it must be completed through to the end. It cannot be cancelled.
The descending cycle takes approx. 90 minutes and consists of several steps:
- Preparing the descaling process
- Drawing in the descending solution
- Activation phase
- Rinse 1
- Rinse 2
- Rinse 3
- Evaporating residual moisture
Preparing the descending process
You will need a container of approx. 1 litre capacity.
A plastic tube (with suction cup) is supplied with your oven so that you do not have to hold the container with the descending agent underneath the water intake pipe.
We recommend using the descending tablets supplied. They have been specially developed for Miele appliances for optimum cleaning results.
Other descending agents, which contain other acids besides citric acid and/or other undesirable substances, such as chlorides for example, could cause damage. Moreover, the descending effect required could not be guaranteed if the descending solution was not of the appropriate concentration.
Useful tip: Miele descaling tablets are available to order from the Miele webshop or directly from Miele.
- Completely dissolve one descaling tablet in approx. 600ml of cold mains tap water.
Starting the descending process
Select
- Scroll through the list until Descale is highlighted.
Confirm with OK.
If the Moisture Plus function and the Automatic programmes that use moisture are already locked, the descaling process can be started immediately by touching the OK sensor.
A message with advice about the activation phase will appear in the display.
Push the universal tray into the top shelf level as far as it will go to collect the descending solution after it has been used. Touch OK to confirm the message.

- Place the container with the descending solution on the floor of the oven.
- Attach the plastic tube to the end of the water intake pipe. Place the other end in the bottom of the descending solution container, and secure the plastic tube to the container with the suction cup.
Confirm with OK.
The intake process will begin. You can hear the pump while this is happening.
The water intake process can be interrupted and restarted at any time with OK.
The amount of solution specified can be more than the amount which is actually taken in. Some of the solution may therefore be left in the container at the end of descending.
A message will appear in the display when the intake process is finished.
Confirm with OK.
The Activation phase will begin. You can follow the duration as it counts down.
- Leave the container with the tube connected to the water intake pipe in the oven. Top the container up with approx. 300 ml of water, as the system will need to draw in some more liquid during the activation phase.
The system will take in more liquid at approximately 5 minute intervals. You will hear the noise of the pump for a moment or so.
A buzzer will sound at the end of the activation phase if the buzzer is switched on (see "Settings - Acoustic information").
At the end of the activation phase the steam injection system will need to be cleaned to remove all traces of descending solution.
Cleaning is carried out by flushing approx. 1 litre of fresh tap water through the system. The water is collected in the universal tray.
Take the universal tray out of the oven and empty it. Place the tray back in the oven again on the top shelf level.
- Remove the plastic tube from the container.
Remove the container, rinse and fill it with approx. 1 litre of fresh tap water.
- Place the container back in the oven, insert the plastic tube, secure it to the container and close the door.
Confirm with OK.
The intake process for the first rinse starts.
Water will be flushed through the steam injection system and will then collect in the universal tray.
Messages will appear in the display with advice about the second rinse.
Take the universal tray out of the oven and empty it. Place the tray back in the oven again on the top shelf level.
- Remove the plastic tube from the container. Fill it with approx. 1 litre of fresh tap water.
- Place the container back in the oven, insert the plastic tube, secure it to the container and close the door.
Confirm with OK.
Do the same for the third rinse.
Leave the universal tray (with the water which has collected in it) on the top oven shelf whilst the evaporation process takes place.
The Evaporate residual moisture process will begin after the third rinse.
- Remove the container and tube from the oven.
Close the door.
Confirm with OK.
Steam can cause scalding.
Do not open the door while the residual water is being evaporated.
The oven heating will switch on and the duration for the evaporation process will count down in the display.
During the evaporation process, the duration may be adjusted by the system according to how much water is currently present.
At the end of the evaporation process a message will appear in the display with advice on cleaning after running the descaling programme.
Confirm with OK.
A buzzer will sound if the buzzer is switched on (see "Settings - Buzzer tones"). Process finished will appear in the display.
Switch the oven off.
Danger of burning!
Allow the oven interior and accessories to cool down before cleaning them.
- Remove the universal tray and empty it. Clean the oven interior to remove any condensation and descaling agent residue.
Leave the oven door open until the oven interior is completely dry.
With the aid of the following guide, minor problems can be easily corrected without contacting Miele. If, after reading this guide, you can't remedy the problem yourself, please call Miele (see back cover for details).
Please note, however, that a call-out charge will be applied to unnecessary service visits where the problem could have been rectified as described in these operating instructions.
Danger of injury! Installation, maintenance and repairs must only be carried out by a suitably qualified and competent person. Repairs and other work by unqualified persons could be dangerous. Miele cannot be held liable for unauthorised work. Do not attempt to open the casing of the appliance yourself.
| Problem | Possible cause and remedy |
| The display is dark. | The time of day display is deactivated, so when the appliance is switched off, the time of day display is switched off. ■ As soon as the oven is switched on, the time of day will appear. If you want it to be displayed constantly, the setting to switch the time of day display back on must be changed (see "Settings – Time of day - Display"). |
| There is no power to the oven. ■ Check whether the mains fuse has tripped. If it has, contact a qualified electrician or Miele. | |
| System lock appears in the display when a function is selected. | The system lock has been switched on. ■ It can be deactivated for a programme to be run by touching the OK sensor for at least 6 seconds. ■ The system lock can be permanently deactivated (see "System lock"). |
| The oven does not heat up. | Demo mode has been activated. The oven can be operated but does not heat up. ■ You need to deactivate the Demo mode (see "Settings - Showroom programme"). |
| Power cut - process cancelled appears in the display. | There has been a power cut which has caused a current cooking process to stop. ■ Switch the oven off and then back on again. ■ Start the programme again. |
| 12:00 appears in the display. | The power supply was interrupted for longer than 200 hours. ■ Reset the time and date. |
| Maximum operating hours reached appears in the display. | The oven has been operating for an unusually long time and this has activated the safety switch-off function. ■ Confirm by touching OK. Touch ← to delete the message Process finished. The oven is now ready to use. |
| Fault 32 appears in the display. | The Pyrolytic cleaning programme door lock is not locking. ■ Turn the oven off and then back on again. Then restart the Pyrolytic cleaning programme. ■ If the fault code appears in the display again, call Miele. |
| Fault 33 appears in the display. | The door lock for the Pyrolytic cleaning programme is not being released. ■ Switch the oven off and then back on again. ■ If the door lock still does not deactivate itself, contact Miele. |
| Fault XX appears in the display. | There is a problem that you cannot resolve. ■ Call Miele. |
| This function is not available at the moment appears in the display after selecting Moisture Plus or the descaling function. | The steam injection system is faulty. ■ Call Miele. |
Problem solving guide
| Problem | Possible cause and remedy |
| Moisture control faulty - Automatic programmes will operate without moisture appears in the display after selecting an Automatic programme. | The steam injection system is faulty. ■ Call Miele. Automatic programmes can also be run without using moisture. |
| Programmes using moisture will not take in water. | Demo mode is activated. The oven can be operated but the pump for the steam injection system does not work. ■ You need to deactivate the Demo mode (see "Settings - Showroom programme"). |
| The pump for the steam injection system is faulty. ■ Call Miele. | |
| A noise can be heard after a cooking process. | The fan remains switched on after a cooking programme (see "Settings - Cooling fan run-on"). |
| The oven has switched itself off. | The oven will switch itself off automatically to save energy if no other action is taken within a certain time frame after switching it on or after the end of a cooking programme. ■ Switch the oven back on. |
| Cakes and biscuits are not baked properly after following the times given in the baking chart. | A different temperature from the one given in the recipe was used. ■ Select the temperature required for the recipe. |
| The ingredient quantities are different from those given in the recipe. ■ Check whether there has been a change to the recipe. The addition of more liquid or more eggs makes a moister mix which would take longer to cook. | |
| Browning is uneven. | The wrong temperature or shelf level was selected. ■ There will always be a slight unevenness. If the unevenness is pronounced, check whether the correct temperature and shelf level have been selected. |
| The material or colour of the baking tin is not suitable for the oven function. ■ With Conventional Heat □ light-coloured, shiny tins are less suitable. Use matt, dark-coloured tins. | |
| The oven lighting switches off after a short time. | The oven lighting is set to switch off after 15 seconds (default setting). You can change the default setting for this (see "Settings - Lighting"). |
| The top oven lighting does not switch on. | The halogen lamp needs replacing. ▲ Danger of burning! Make sure the oven heating elements are switched off and that the oven cavity is cool. |
| ■ Disconnect the appliance from the mains. Switch off at the wall and withdraw the plug from the socket, or switch off at the mains circuit breaker. ■ Turn the lamp cover a quarter turn anti-clockwise to release it and then pull it downwards together with its seal to take it out. ■ Replace it with a new halogen lamp (Osram 66725 AM/A, 230 V, 25 W, G9). ■ Refit the lamp cover together with its seal and turn clockwise to secure. ■ Reconnect the oven to the electricity supply. | |
| There is soiling in the oven after the Pyrolytic cleaning programme. | The Pyrolytic cleaning programme burns off soiling in the oven and leaves it as ash. ■ Remove the ash using warm water with a little washing-up liquid with a soft sponge or a clean, damp microfibre cloth. If coarse soiling remains, run the Pyrolytic cleaning programme again. Select a longer duration if necessary. |
Problem solving guide
| Problem | Possible cause and remedy |
| The rack and other accessories make a noise when being pushed into or pulled out of the oven. | The pyrolytic resistant surface of the shelf runners creates friction when accessories are being pushed into or pulled out of the oven. ■ To reduce the friction, add a few drops of heat resistant cooking oil to some paper towelling and use this to lubricate the shelf runners. Do this after every Pyrolytic cleaning programme. |
After sales service
In the event of any faults which you cannot easily remedy, please contact Miele.
See back of this booklet for contact details.
Please quote the model and serial number of your appliance when contacting Miele.
This information is given on the data plate, visible on the front frame of the oven, with the door fully open.
Warranty
The manufacturer's warranty for this appliance is 2 years.
For further information, please refer to your warranty booklet.
Danger of injury!
Installation, repairs and other work by unqualified persons could be dangerous. Miele cannot be held liable for unauthorised work.
Ensure power is not supplied to the appliance until after installation or repair work has been carried out.
All electrical work must be undertaken by a suitably qualified and competent person in strict accordance with current national and local safety and building code regulations.
Connection of this appliance must comply with national and local safety regulations.
Connection to a switched socket is recommended as this provides easier access in the case of a service call.
For extra safety, it is advisable to protect the appliance with a suitable residual current device (RCD) with a trip current of 30mA .
If the switch is not accessible after installation an additional means of disconnection must be provided for all poles. The means of disconnection must be incorporated in the fixed wiring in accordance with the wiring rules.
When switched off there must be an all-pole contact gap of 3mm in the isolator switch (including switch, fuses and relays).
Connection data
AC 230V, 50 Hz
The voltage and rated load are given on the data plate situated at the front of the oven frame visible with the oven door open. Please ensure the connection data matches the household supply.
- When contacting Miele, please quote the following:
- Model number
- Serial number
- Connection data (voltage/frequency/ maximum rated load).
If the mains connection cable is damaged, it must be replaced by a suitably qualified electrician with a specialist connection cable of type H 05 VV-F, available from Miele, in order to avoid a hazard.

WARNING - THIS APPLIANCE
MUST BE EARTHED
Oven
Ovens are supplied for connection with an approx. 1.7 m long 3-core cable for connection to a 230 V, 50 Hz supply.
The wires in the mains connection cable are coloured as follows:
Green/yellow = earth;
Blue = neutral;
Brown = live
Fuse rating is 16 A.
Connection should be made via a fused connection unit or suitable isolator which complies with national and local safety regulations. For extra safety it is advisable to protect the appliance with a suitable residual current device (RCD).
Maximum rated load: see data plate.
Appliance dimensions and unit cut-out
Dimensions are given in mm.
Installation in a base unit
If the appliance is to be installed under a cooktop, observe the instructions for installation of the cooktop, as well as the building-in depth of the cooktop.

- Ovens with glass front
** Ovens with metal front

Installation in a tall unit

Ovens with glass front
* Ovens with metal front
Front dimensions
Dimensions are given in mm.



A H63xx: 45 mm
H64xx: 42 mm
B Ovens with glass front: 2.2 ~mm
Ovens with metal front: 1.2 mm
The oven must be built into its housing unit before it can be used.
The oven must have an adequate supply of cool air for proper operation. The required air must not be heated excessively by other heat sources, e.g. wood burning stove.
Observe the following when installing:
Do not fit a back panel in the housing unit.
Make sure that the shelf that the oven sits on does not touch the wall.
Do not fit insulation to the side walls of the housing unit.
Before installation
Before connecting the appliance to the mains, you must disconnect the power supply to the isolator switch.
Installing the oven
- Connect the mains cable from the oven to the isolator.
Do not carry the oven by the door handle. The door can be damaged. Use the handles on each side of the casing to carry it.
It is advisable to remove the door before installing the appliance (see "Cleaning and Care - Removing the door") and remove accessories from the oven cavity. This will make it easier to install in its niche and you will not be tempted to use the handle to carry it.
Push the oven into the housing unit and align it.
- Open the door (if you have not removed it previously).

Use the screws supplied to secure the oven to the side walls of the housing unit through the holes in the oven trim.
- Refit the door, if necessary (see "Cleaning and care - Refitting the door").
Miele Experience Centre and
Head Office Melbourne:
1 Gilbert Park Drive
Knoxfield, VIC 3180
Miele Experience Centre South Melbourne:
206-210 Coventry Street
South Melbourne, VIC 3205
Miele Experience Centre and Office Sydney:
3 Skyline Place
Frenchs Forest, NSW 2086
Miele Experience Centre and Office Brisbane:
39 Harvey Street North
Eagle Farm, QLD 4009
Miele Experience Centre Gold Coast:
131 Ferry Road
Southport, QLD 4215
Miele Experience Centre and Office Adelaide:
83-85 Sir Donald Bradman Drive
Hilton, SA 5033
Miele Experience Centre and Office Perth:
205-207 Stirling Highway
Claremont, WA 6010

13004MIELE (1300464353)
Miele New Zealand Limited
IRD 98463631
Head Office:
Level 2, 10 College Hill
Freemans Bay, Auckland 1011
Miele Experience Centre
Auckland:
8 College Hill
Freemans Bay, Auckland 1011
Telephone:
0800 464 353 (0800 4 MIELE)
www.miele.co.nz
Miele Global Headquarters Germany
Miele & Cie. KG
Federal Republic of Germany
H6461BP
EasyManual