F-160 - Fax MURATEC - Free user manual and instructions
Find the device manual for free F-160 MURATEC in PDF.
User questions about F-160 MURATEC
0 question about this device. Answer the ones you know or ask your own.
Ask a new question about this device
Download the instructions for your Fax in PDF format for free! Find your manual F-160 - MURATEC and take your electronic device back in hand. On this page are published all the documents necessary for the use of your device. F-160 by MURATEC.
USER MANUAL F-160 MURATEC
Operating Instructions
For Muratec's F-160 plain-paper fax machines

QuadAccess™

MML item number: D85-90010-61
MAIorder number:OMF160

F-160 Quick Reference
| One-Touch Keys | ||||
| Press | To: | |||
| Program | A | 1 | Enter | Enter a one-touch key |
| “ | “ | 2 | Enter | Erase a one-touch key |
| “ | “ | 3 | Enter | Print a list of one-touch keys |
Speed-Dial Numbers
Program B 1
2
3
Enter Enter a speed dial number
Enter Erase a speed dial number
Enter Print a list of speed dial numbers
Programmable One-Touch Keys
Program C 1
2
3
Enter Enter a programmable key
Enter Erase a programmable key
Enter Print a list of programmable keys
Polling Documents
Program D 1
2
3
Enter Store a polling document
Enter Erase a polling document
Enter Print a polling document
Soft Key Features
Program E 1
2
Enter Set a Soft Key
Enter Print a list of Soft Keys
Delayed Commands
Program F 1
2
Enter Print a list of delayed commands
Enter Print a stored document
Activity Journal and Reports
Program G 1
2
3
4
Enter Turn the journal printout on or off
Enter Print activity journal
Enter Set the type of report
Enter Set the order for the reports
Print a List of Groups
Program H
Enter Print a list of groups
EasyStart Settings
Program I
Enter Enter EasyStart settings
User Settings
Program 0
0
“ 0
0
0
6 0
0 6
AD = AC = 1
“ 0
“ 0.
1
1
1
1 2
1. 1.
1.
1.
1
1
1
Enter Review/change your scan settings
Enter Review/change your print settings
Enter Review/change your copy settings
Enter Set paper size
Enter Set the dialing pause
Enter Set # of rings before auto answer
Enter Set the radial
Enter Select ECM mode
Enter Set a passcode
Enter Create a closed network
Enter Set security transmission
Enter Block junk fax
Enter Set the service mode
Enter Select memory transmission
Enter Select silent mode
Enter Protect passcode
Enter Set operation protection
Enter Set PIN mode
Press
Program J 19
20
“ 21
“ 22
23
To:
Enter Set DRD
Enter Set confirmation stamp
Enter Set Copy & Fax feature
Enter Set Quick Transmission
Enter Reset drum life
Cover Page
Program K 1
2
3
Enter Select the cover page option
Enter Enter cover page information
Enter Print cover page
Numbering Pages
Program L
Enter Set the number of pages
Department Codes
Program M 1
2
3
4
5
Enter Set the department protection
Enter Set the department code
Enter Turn department code setting on/off
Enter Print department time list
Enter Clear department time list
Batch Transmission
Program N 1
2
3
4
5
6
Enter Create or modify batch box
Enter Print list of batch boxes
Enter Print list of batch documents
Enter Print batch document
Enter Erase batch box
Enter Erase batch document
Security Operations
Program 0 1
2
Enter Set security reception
Enter Print security reception document
F-Code Feature
Program P 1
2
3
4
“ 5
6
0 1
Enter Set F-Code box
Enter Print list of F-Code boxes
Enter Print list of F-Code documents
Enter Print F-Code document
Enter Erase F-Code box
Enter Erase F-Code document
Enter Store F-Code document
Reset Printer Option
Program Q
Enter Reset printer option
(Printer function requires optional equipment.)
PC-to-Fax Operations
Program R 1
2
3
Enter Begin a PC-to-Fax scan
Enter Set RS-232C
Enter PC-Fax Initialization
(PC-to-fax functions require optional equipment.
See your authorized Muratec dealer for details.)
Muratec America, Inc.
6400 International Parkway
Suite 1500
Plano, Texas 75093
http://www.muratec.com

The Fax Specialists.
Welcome …
This manual and any updates to it can be found online at
www.muratec.com
Go to the "Products" section of this site, then click on "F-160".

As an ENERGY STAR partner, Muratec America, Inc.,
has determined that this product meets
the ENERGY STAR guidelines for energy efficiency.
Copyright © 1999 by Muratec America, Inc.; all rights reserved.
Muratec, the Muratec logo and all Muratec fax product names contained herein are trademarks of Muratec America, Inc.
ENERGY STAR is a registered mark of the United States Environmental Protection Agency.
Welcome to your Muratec fax machine!
These instructions are divided into three sections.
- “Getting started” (page 1.1) covers only what you have to know to use your machine immediately.
- "Beyond the basics" (page 2.1) provides more details. When you have time, look through it to learn more about your machine's many features.
- Finally, "Just in case ..." (page 3.1) helps you if you ever have a problem with your machine. It also tells you how to give your machine the kind of easy, sensible care that should keep troubles to a minimum.
Thanks for choosing Muratec.
Find your serial number and write it down
Please note that your machine's serial number is located on the bar code label as shown on the drawing at right. Use the blank at the bottom of this column to copy this down before you set up your machine.
Note: The IC label and ID label do not contain serial number information.

Close up, the bar code label looks something like this, but with a different set of numbers:

Please copy down your machine's serial number below for future reference, and note the machine's model number:
My machine's serial number:
My machine's model number: F-160
Table of Contents
Getting started
A quick introduction to fax 1.1
Packaging contents 1.2
Parts list 1.2
The keys and their functions 1.4
Operating tips 1.5
Setting up 1.6
Pick an installation spot 1.6
Power tips 1.6
Installing the printing supplies 1.6
Installing a new drum cartridge 1.7
Loading paper 1.7
Attaching the parts 1.8
Plug in and power up 1.8
Setting the paper size for the multipurpose tray 1.8
Adjusting the monitor speaker's volume 1.8
Attaching your telephone or answering machine 1.9
Attaching an optional handset 1.9
EasyStart 1.10
Getting started 1.10
Clearing stored settings 1.10
Entering initial settings 1.10
Sendingfaxes 1.13
Guidelines 1.13
Adjusting the machine for larger documents 1.14
Using memory transmission 1.14
Inserting a document 1.15
Sending a fax. 1.15
Sending a fax using monitor/call or a handset 1.16
Redialing 1.16
Review Commands, an introduction 1.17
Receivingfaxes 1.18
Reception modes 1.18
Answering calls manually 1.18
Answering fax calls using another phone 1.18
Tel Ready mode 1.18
Fax Ready mode 1.19
Fax/Tel Ready mode 1.19
Tel/Fax Ready mode 1.20
Ans/Fax Ready mode. 1.20
If the paper runs out 1.21
Making copies 1.22
Using your fax machine as a phone 1.23
Redial 1.23
Dialing with the monitor speaker 1.23
EasyDial directory dialing 1.23
Checking the fax reception mode 1.23
Dialing in the event of a power failure 1.23
Beyond the basics
Entering settings for your fax machine 2.1
Scan settings 2.1
Using code to enter characters 2.2
Print settings 2.2
Copy settings 2.3
Number of rings, settings 2.4
ECM, settings 2.4
Silent mode, settings 2.5
Transmission confirmation stamp, setting 2.6
Language settings 2.6
Printing your settings 2.6
Printing a program list 2.6
Autodialer 2.7
Autodialer basics 2.7
Special Dialing Characters. 2.7
Call groups 2.8
Using one-touch numbers 2.8
Using speed-dial numbers 2.11
Printing a call group directory 2.14
EasyDial directory dialing 2.15
Broadcasting 2.16
Broadcasting basics 2.16
Delayed broadcasting 2.16
Delayed transmission 2.17
Setting up a delayed transmission 2.17
Reviewing or cancelling delayed commands 2.18
Printing a delayed command list 2.19
Printing a stored document 2.19
Batch transmission 2.20
Creating or modifying a batch box 2.20
Printing a list of batch boxes 2.21
Storing a document for batch transmission 2.21
Printing a list of stored batch documents 2.21
Printing a document stored in a batch box 2.22
Erasing a document stored in a batch box 2.22
Erasing an empty batch box 2.23
Special features 2.24
Soft Keys. 2.24
Copy & Fax. 2.25
Cover page 2.26
Setting the activity journal 2.27
Setting the reports: TCRs and RCRs 2.28
Quick memory transmission 2.29
Polling 2.29
OneLine ^+ distinctive ring detection 2.31
Call request 2.32
Numbering pages 2.33
The power of QuadAccess 2.33
F-Code communication 2.34
Introduction 2.34
Creating or modifying an F-Code box 2.34
Printing a list of F-Code boxes 2.38
Printing a list of documents stored in F-Code boxes. 2.38
Using a bulletin box. 2.38
Using a security box. 2.40
Using a relay box 2.41
Erasing an empty F-Code box 2.41
F-Code transmission and polling 2.42
Programmable one-touch keys 2.44
Using the power of programmable one-touch keys 2.44
Programming a delayed transmission 2.44
Programming a broadcast / group 2.46
Programming regular polling 2.48
Programming a batch transmission 2.49
Programming an F-Code transmission 2.51
Programming F-Code polling 2.53
Programming printouts 2.54
Programming a document storage operation. 2.55
Fax dialing with programmable one-touch key 2.56
Printing lists using programmable one-touch 2.56
Storing fax documents with programmable one-touch 2.57
Erasing a programmable one-touch key 2.57
Printing a list of programmable one-touch keys 2.57
Security features 2.58
The passcode 2.58
Operation protection 2.58
Security reception 2.59
Masking the PIN 2.60
Setting security transmission 2.62
Setting for use with a closed network 2.63
Setting Block Junk Fax 2.63
Using department codes 2.65
Just in case ...
Clearing paper jams 3.1
Original document jams 3.1
Printout jams 3.1
Print quality problems 3.3
Troubleshooting 3.5
Alarm 3.5
LCD error messages 3.5
Errors 3.7
Caring for your fax machine 3.10
Cleaning tips 3.10
Cleaning air vents 3.10
Corrective cleaning 3.11
Common questions 3.12
We're online to help you! 3.12
General questions 3.12
Sendingfaxes 3.12
Reports 3.13
Receivingfaxes 3.14
Working with your answering machine 3.14
Polling 3.14
How your fax machine works 3.14
Glossary 3.15
Appendix and index
Specifications AI.1
Regulatory information 2
United States of America AI.2
Canada AI.2
Index AI.3
Limited warranty . 6
Safety information 17
Getting started

A quick trip
through the basics
of your Muratec fax machine
A quick introduction to fax 1.1
Packaging contents 1.2
Parts list 1.2
The keys and their functions 1.4
Setting up 1.6
EasyStart 1.10
Sendingfaxes 1.13
Receivingfaxes 1.18
Making copies 1.22
Using your fax machine as a phone 1.23
A quick introduction to fax
What's a fax document?
A fax document is anything a fax user wants to fax to someone else. It can be one or more pages, and it can be text, a drawing or even a copy of a photograph.
What's a fax number?
Because your fax operates on standard phone lines, a fax number is just a regular phone number. And because your fax is also a high-quality, full-featured telephone, your fax number can be your regular phone number.
What are resolution and grayscale?
Just as cars are measured by engine size, fax machines are measured by resolution and grayscale.
Resolution refers to the sharpness of a fax transmission. It's expressed in lines per inch (lpi). There are three levels of resolution:
Normal (203 horizontal × 98 vertical lpi)
- Fine (203 × 196 lpi)
Superfine (406× 392lpi)
Grayscale levels, or shades of gray — refers to the many shades of gray your fax machine sees on a document it's sending. It's likely most of your fax documents will be dark text on white paper. However, when you want to send photographs and other shaded items, you can set your fax machine to transmit in 256-level grayscale.
Why not always set your fax machine for superfine, or for grayscale?
Setting your fax machine for superfine resolution and grayscale mode makes your machine send more information, making transmissions last longer and driving up your phone bills on long-distance calls. You'll find that we've made it easy for you to set your fax machine for the most efficient and truest transmission for the types of documents you send.
Packaging contents

Included in your fax machine's packaging:
1 Fax machine
6 Telephone line cord
2 Document hopper
7 Toner cartridge
3 Paper hopper
8 Drum cartridge
4 Document tray
9 (This operating manual)
5 AC power cord
10 Autodialer labels
It's a good idea to save the packaging in case there's a need for reshipment.
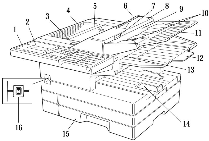
Parts list
Note: Any terms used here that are unclear to you right now will be explained in detail in the coming pages.

1 Control panel — The keys you use to operate your machine. (See page 1.4 for more details.)
2 Liquid crystal display (LCD) — Shows the machine's status and lets you see what you're programming into the machine. The display shows 2 lines, 20 characters per line. (If the LCD is blank, the machine is off.)
3 Printer cover release - Push this to open the printer cover.
4 Printer cover - Open to change the toner and drum cartridges or to fix printout jams.
5 Printed document exit - Where the printout emerges.
6 Paper hopper - Holds up the printout after it emerges.
7 Scanner cover release — Pull up on this to open the scanner cover.
8 Scanner cover - Open this by using the scanner cover release to remove original document paper jams.
9 Document feeder — Place your original document here for faxing or copying. It holds up to 50 sheets.
10 Document guides — Adjust these to fit the width of the original document so it will feed properly into the machine.
11 Document hopper - This supports original documents for feeding into the machine.
12 Document tray — Holds original documents after they've been scanned into the machine for faxing/copying.
13 Original document exit — Where the original document emerges once it's been scanned for faxing/copying.
14 Multipurpose tray — One of two locations where you put the recording paper. Holds up to 150 sheets, either letter- or legal-sized.
15 Paper cassette — One of two locations where you put the recording paper. Holds up to 500 letter-sized sheets.
16 AC power switch — Turns your fax machine on and off.

17 AC power jack - Where you plug in the AC power cord.
18 HANDSET jack - Where you plug in the optional handset.
19 EXT. TEL jack — If you connect a second telephone to your machine, this is where you plug in the cord.
20 LINE jack — Where you plug in the telephone line cord. (The other end of the cord plugs into a wall telephone jack.)
The keys and their functions

Important: Some of the functions mentioned here are covered in the "Beyond the basics" section.
1 ALARM light — Glows when a problem occurs during fax communication, printing or scanning. The light stays on until the machine prints a Check Message report.
2 COMMUNICATION light — Glows when the fax machine is communicating with another machine.
3 PRINTER ALARM light — Glows when your machine encounters a problem printing a fax or copy. Check the display or an error report for more information.
4 MEMORY RECEIVE light — Glows when the machine is receiving an incoming fax document into its electronic memory.
5 PAPER JAM light — Glows when a printout jams in your fax machine.
PC CONNECT light — Glows when your fax machine is ready to communicate using the optional RS-232C interface.
7 REPLACE PAPER light — Glows when either the multipurpose paper tray or paper cassette is empty. See page 1.7 for details on replacing paper.
8 AUTO ANSWER light — Glows when auto-answer mode is active. In this mode, the machine answers automatically as a fax machine.
9 REDIAL/PAUSE — Redials the last number you dialed. In certain operations, it also produces a special pause character which can be useful when dialing long-distance numbers.
10 SPEED DIAL/TEL INDEX - Starts a speed-dialing operation, which you finish by pushing three of the keys on the numeric keypad. Also displays one-touch and speed-dial entries sorted alphanumericly, as in a telephone directory.
11 MONITOR/CALL — Turns the monitor speaker off or on. When it's on, it allows you to hear the call you're making. When using this feature, you can only hear the communication taking place. You cannot be heard unless you use a handset (optional). When sending a fax, this key also activates the call request feature.
12 Numeric keypad — Just like the numeric keys on a regular tone-dialing phone. Use these to dial phone and fax numbers and to enter numbers when you're setting up the machine.
13 COM-OPTIONS — Press this to choose from among six fax options: delayed transmission, polling, batch transmission, continuous polling, F-code transmission or F-code polling.
14 GROUP DIAL — Press this to set up a fax transmission to a call group, a set of fax numbers which will receive the same document in one fax operation.
15 DIALING OPTIONS — Produces a special character when dialing, and also inserts special symbols into telephone numbers (see page 2.7).
16 AUTO ANSWER — Press this to select which mode your fax machine uses to handle incoming calls. Choose between auto-answer mode (your machine answers automatically as a fax machine) or manual-answer mode (the machine waits for the user to pick up an optional, connected handset).
17 Soft keys — Shortcut keys. Any function that can be turned on or off can be programmed into these four keys. If the light above one of these keys glows, this indicates the setting that's been programmed into it (see page 2.24) is turned on.
18 One-touch keys — Serve three functions: (1) the keys labeled 01-64 can be used for one-touch dialing, (2) the keys labeled 65-72 are for programmable functions: this lets you teach your machine a multi-step function just once, then recall the function at any time by pressing one of these keys, and (3) all these keys can be used to type letters and symbols for user settings.
19 START - Press to begin a fax transmission or reception.
20 copy - Press to make one or more copies of a document.
21 STOP — An all-purpose "Whoa!" key. Stops the current operation and ejects a document from the document feeder.
22 BROADCAST — Press to send a broadcast fax (sending the same document to more than one location).
23 REVIEW COMMANDS — Press to review pending fax commands or to view a brief description of delayed commands.
24 REPORT Press to turn the confirmation report feature on or off for the next fax transmission. If the REPORT light next to this key is glowing, your machine will print the confirmation report for the next fax transmission. If not, your machine will not print a confirmation report.
25 CANCEL — Press to delete characters on the LCD and cancel commands you have entered into the machine.
26 ENTER — Much as STOP is a “Whoa!” key, ENTER is a “Go!” key. It confirms user settings, begins operations and moves through command levels.
27 /PROGRAM — Any function can be started by first pressing this key and then entering the function number. Also, scrolls (moves) through features and command options as displayed on the LCD.
28 -Push to scroll through features and commands displayed on the LCD.
29 RESOLUTION — When a document is in the document feeder, press this key to toggle among the three resolution modes and the halftone (grayscale) mode.
30 CONTRAST — When a document is in the document feeder, press this key to toggle among normal, dark or light contrast settings.
Operating tips
To press: 0 (zero), 1, 2, 3, 4, 5, 6, 7, 8, 9, # or *
Use: The numeric keypad.
Tip: At no other time within this manual will we refer to the letters printed below the numeric keys and their uses (such as accessing abc by pressing the 2 key.) These letters are there only for your convenience in using your fax machine as a telephone.
To press: A, B, C, D or any other letter key
Use: The one-touch key labeled with that letter.
Tip: Please don't confuse the zero (0) with the letter o.
Here's an example. If we say "press /PROGRAM, 7, ENTER, 0, 8, ENTER" ...
... you'd press /PROGRAM
... then 7
... then ENTER
... then 0 (the numeric key zero)
... then 8
... and then ENTER
Important: Even though our example above includes commas, do not enter them into the fax machine. Those characters appear in our instructions to separate one number from the other. They do not need to be entered into your fax machine.
There is a function (broadcasting) which requires commas to be entered, but there is a special way to enter them. We'll explain this process later.
Setting up
Pick an installation spot
Where should you install your fax machine? The location should be:
- Clean — Dust buildup can damage your machine. (However, do not use a cover!)
- In the open — Allow at least 12 inches of clearance around your machine. Be sure that you never cover the machine. Its vents must be able to “breathe.”
- Away from direct sunlight — This helps avoid overheating.
- Dry — Avoid any location where splatters or sprays (such as from a water fountain) could reach your fax machine.
- Level, and vibration-free.
- Near a phone jack — Your fax machine uses a standard (modular) telephone jack, also known as an RJ-11.
- Near an AC power outlet — The AC power cord is about 5 feet long when stretched to its limit, and the power cord should never be stretched to its limit.
Power tips

- Use a standard three-pronged 120 VAC outlet.
- Make sure the outlet isn't controlled by a wall switch. If it is, you'll risk occasional shutoffs to the machine, causing you to lose fax messages.
-
Don't use an outlet which also is supplying power to a large appliance, such as a refrigerator or air conditioner. Such high-consumption appliances can cause "draw-downs" (temporary drops in the power available for other equipment on the circuit) which could damage your fax machine.
-
Use an electrical surge suppressor, preferably one which guards both telephone and electrical lines. This device helps to shield your fax machine from damaging high-voltage electrical surges.
Voltage requirements: 120VAC± 10% 50 - 60% Hz
Power consumption:
Standby Transmission Reception Copying Maximum*
17w
40w
440w
448w
650w
- ; simultaneous copying, communicating and scanning
Installing the printing supplies
Your fax machine prints incoming faxes and copies with a laser print engine. The engine requires two types of printing supplies (sometimes also called consumables):
- The drum cartridge — It yields 20,000 normal letter-sized printouts (see “Specifications,” page AI.1). By “normal,” we're referring to the amount of text and/or graphics on each page. This is based on an industry-standard test document.
- The toner cartridge — It yields 5,500 "normal", letter-sized printouts (see "Specifications," page AI.1).
Note: The toner cartridge included with your machine is a starter cartridge which yields 3,600 printouts (see "Specifications," page AI.1). Please purchase regular, full-yield toner cartridges from your authorized Muratec dealer.
To install these supplies:
1 Press the printer cover release and swing open the printer cover.

2 Unpack the drum cartridge from its box.
Important: Shield the drum cartridge from light, especially strong light. Later, if you have to remove the cartridge from the fax, immediately wrap it in a thick cloth to protect it from light.
3 Put the drum cartridge into the printer by aligning the cartridge's protrusions with the slits inside the printer frame.
Important: You must also reset the drum counter. See "Installing a new drum cartridge" (page 1.7).

4 Unpack the toner cartridge from its carton. Hold the toner cartridge with both hands, and shake it well as shown.

5 Install the toner cartridge in the printer, making sure that the cartridge's four pins (two at the front and two at the rear) fit in the slits inside the printer frame. The toner cartridge will click into place when inserted correctly.


6 Close the printer cover. Push down on the cover to lock it into position.
Note: The fax machine will not work if the cover isn't closed properly.
Note: If you encounter problems with printouts, see "Print Quality Problems" on page 3.3 for suggestions to correct them.

Installing a new drum cartridge
Your fax machine keeps track of how many pages go through the drum cartridge in order to let you know when the drum needs to be replaced. So whenever you install a new drum cartridge, you have to "notify" the machine by resetting the drum counter: (Before resetting it the very first time, you'll have to finish installing the machine and then turn it on [see page 1.8].) To reset the drum counter:
1 Press /PROGRAM, J, 2, 3. The LCD shows:
J23 Reset Drum Life Program/Enter
2 Press ENTER, ENTER to reset the drum counter.
Loading paper
Your machine holds up to 650 sheets at a time: 500 sheets in the paper cassette and 150 sheets in the multipurpose tray.
Loading the paper cassette
1 Pull forward on the paper cassette to slide it out.
2 Insert up to 500 letter-sized sheets into the cassette, placing the edges of the top sheet under the metal tabs on the left side of the cassette (viewed from the cassette's front, as shown).
Important: Load the cassette with letter-sized paper only.
3 Push the paper cassette closed. You'll feel a click when it's properly in place.

Loading the multipurpose tray
You may use either letter- or legal-sized paper in the multipurpose tray, but not both at the same time. Do not mix paper sizes in one tray.
1 Adjust the multipurpose tray for the length of paper you plan to load. Pull slightly upward on the paper-length guide in the tray, then slide the guide to the slot (either LTR or LGL) for the paper size you're loading.

Important: You must set your machine to recognize the size of paper you've loaded (see "Setting the paper size" on page 1.8 for details).
2 Slightly "fan" the paper you're loading, to help ensure smooth feeding.
3 Insert up to 150 sheets of paper into the tray. Make sure the paper-length guide and the paper-width guide now fit against the paper's edges.
Important: To avoid paper jams, do not refill this tray without first removing all of the paper in it.
Attaching the parts
1 Attach the document tray by inserting it into the appropriate holes, as shown.

2 Attach the paper hopper into the appropriate hole, as shown. Press gently until the hopper won't go in any farther.
3 Attach the document hopper by inserting its two pegs at a slightly upward angle into the appropriate holes, as shown.

Plug in and power up
1 Plug one end of the telephone line cord into the LINE jack on the back of the machine. Plug the other end of the cord into a standard telephone wall jack, just as you would plug in a phone.
Note: If you purchased an optional handset, don't confuse its curled handset cord with the uncurved telephone line cord.
2 Plug the non-pronged end of the AC power cord into the AC power cord jack on the left side of the machine.

3 Plug the pronged end of the AC power cord into a 120 VAC electrical outlet (use a surge suppressor, as mentioned on page 1.6).
4 Use the AC power switch on the front of the machine to turn it on. The markings are international standards: I means on, O means off.

Setting the paper size for the multipurpose tray
The multipurpose tray can hold either letter- or legal-sized paper for your machine. All you have to do is tell the machine which size the tray is holding.
Important: If you use a different size from the size you set here, the machine won't print. Be sure to change this setting whenever you load a different paper size.
Press /PROGRAM, J, 0, 4, ENTER. The LCD shows the tray's current setting:
Paper Size: Letter Program/Enter
Press or /PROGRAM until the paper size you want to load appears. In this example, we've chosen legal-sized paper.
Paper Size: Legal Program/Enter
3 Press ENTER to save the setting.
Adjusting the monitor speaker's volume
To adjust the volume of the monitor speaker:
1 Press MONITOR/CALL on the control panel. You should hear a dial tone, and the display shows:
Tel Mode
Important: If you don't hear a dial tone, make sure your fax machine is plugged into a working phone line.
2 Adjust the volume as needed: To turn the volume up, press /PROGRAM. To turn the volume down, press . The display, or LCD, indicates the volume. The possible settings are:
| ** Tel Mode ** Volume:■■■■ | = Loudest setting. |
| ** Tel Mode ** Volume:■■■ | = Medium setting. |
| ** Tel Mode ** Volume:■ | = Low setting. |
| ** Tel Mode ** Volume: | = Volume off. |
3 Press MONITOR/CALL again to hang up and save the setting that appears.
Attaching your telephone or answering machine
It's easy to attach a telephone or answering machine to your fax machine.
If you do this, only your fax machine connects to the phone outlet in the wall. The other device receives phone signals through your fax machine.
To attach a telephone or answering machine:
1 If your telephone or answering machine is already plugged into a phone jack in the wall, disconnect it from that jack. Hold onto the phone plug: you'll need it in step 2.
2 Plug the line you disconnected from the wall jack in Step 1 into the EXT. TEL jack on the back of your fax machine.
3 If you attach an answering machine to your fax machine, set the answering machine to answer calls after no more than two rings. (If necessary, consult your answering machine's instructions.)
For information on how to use either an answering machine or a telephone with your fax machine, see "Receiving faxes," beginning on page 1.18.
Attaching an optional handset
To attach the optional handset:
1 Use the screws included with the handset and a small Phillips-head screwdriver to attach the handset cradle to the side of your fax machine.

2 Plug one end of the curled handset cord into the HANDSET jack on the back of the fax machine.
3 Plug the other end of the curled handset cord into the jack on the handset. If connected to a phone line, your fax machine is now "off-hook," and you can hear a dial tone.
4 Place the telephone handset onto its cradle. The cradle will press the handset's small "flash" button, hanging it up.
Note: You can also press the "flash" button manually to hang up the call when holding the handset.
Important: Do not connect the handset directly to a telephone wall jack. Connect the handset only to your fax machine.
Installation complete!
Now, see how our EasyStart feature will have you up and running within minutes.
EasyStart
EasyStart software is already installed on your Muratec fax machine. It guides you through the process of entering your machine's settings. Remember that the settings you make here can always be changed later. We'll explain more in "Beyond the basics," beginning on page 2.1.
Getting started
Determine the following before you go any further:
1 The type of dialing your telephone system requires — Choose either tone or pulse (rotary) dialing.
2 The name and fax number you want to appear on your faxes — Every fax page you send arrives at the receiving machine with a single line of text at the very top of the page. This text lists a name and a fax number, which are called a Transmit Terminal Identifier (TTI). The TTI cannot be longer than 22 characters.
Clearing stored settings
Before using EasyStart, clear your machine's built-in user data memory. This ensures the memory will hold only your settings.
Important: After you use EasyStart, do not clear the memory again unless an authorized technician asks you to do so.
To clear the machine's memory:
1 Press /PROGRAM, *, 2. The LCD now asks if you want to clear the memory:
Clear User Settings Check Program/Enter
Note: If you don't want to clear the memory, just press /PROGRAM.
2 If you do want to clear the memory, press ENTER.
Entering initial settings
Important: If you press STOP during EasyStart, your fax machine returns to standby mode (its normal condition). But it will keep the settings you saved by pressing ENTER as described in these instructions.
1 Press /PROGRAM, I, ENTER.
The LCD shows the current calendar/clock setting, with a cursor appearing under the first digit.
Enter Time '01 01/01 00:00
2 Use the numeric keypad to enter the correct date and time, using a YYMMDD format for the date and 24-hour ("military") format for the time. For instance, to set 8:30 PM on September 11, 1999, press 9 9 0 9 1 1 2 0 3 0, which results in:
Enter Time '99 09/11 20:30
Note: Your fax machine automatically inserts the spaces and date-slash. All you have to do is enter the digits.
To change a digit, press to move the cursor left, or /PROGRAM to move it right. Then enter the correct digit.
3 Press ENTER to save the clock setting and continue EasyStart.
4 The LCD now asks if you want to set the calendar/clock to automatically recognize daylight saving time (DST).
Daylight Saving:Off Program/Enter
When the setting is On , your machine automatically recognizes DST at 2 AM on the appropriate switchover Sundays each year.
When the setting is Off, no automatic change will occur.
Press or /PROGRAM until the mode you want appears.
Here, we've changed the setting to On :
Daylight Saving:On Program/Enter
6 Press ENTER to save the setting and continue.
7 The LCD now asks you to enter your fax number as you want it to appear on other fax machines' displays or printouts. The fax industry term for this number is Subscribers.
Your Fax Number
8 Use the numeric keypad to enter the fax number. To insert a dash, as shown here, press DIALING OPTIONS once. The number may contain up to 20 characters (numbers and dashes).
Your Fax Number 972-555-5525
Note: If you make a mistake, press CANCEL to erase to the left.
To change just one number, press to move left, or /PROGRAM to move right. Press CANCEL to erase the number. Then re-enter the fax number correctly.
9 Press ENTER to save the number.
10 The LCD now asks you to enter the name you want to appear at the top of faxes you send. The name may be up to 22 characters in length.
Use the one-touch keys to enter letters and other non-numeric characters.
Your Name ;Upper
The word "Upper" means the machine will enter only upper-case letters. If you press R, the machine will see it as an R (not an t ).
To type a lower-case letter, press ALPHABET. The display changes to:
Your Name ;Lower
This means pressing one-touch keys will enter lower-case letters: pressing R will produce an r (not an R ) on the display.
To switch back for upper-case entries, press ALPHABET.
To enter spaces, punctuation and symbols, use the one-touch keys.
In "Beyond the Basics," we'll show you how to use the CODE function to enter even more characters (see page 2.2).
Note: If you make a mistake, press CANCEL to erase to the left.
To change just one character in the name, press to move left, or
/PROGRAM, to move right. Press CANCEL to erase the character. Then re-enter the character correctly.
Press ENTER to save the setting and continue.
The LCD now asks you to enter the type of dialing needed for the fax machine, either tone or pulse:
Phone Type: Tone Program/Enter
13 Press or /PROGRAM until the mode you want appears. Here, we've changed the setting to Pulse mode:
Phone Type: Pulse Program/Enter
14 Press ENTER to save the setting and continue.
15 The LCD now shows the machine's current reception mode.
Fax Ready Program/Enter
16 For now, press or /PROGRAM until the setting Fax Ready appears. (This setting can always be changed. We'll discuss reception modes further on pages 1.18-1.20.)
17 Press ENTER to save the setting.
18 The LCD now asks if you want to print a list of all of the machine's settings.
Print Setting List Enter/Stop
- If you want to print a list, make sure paper is loaded into your machine for printing, then press ENTER. Your fax machine will print a list of its settings.
- If you don't want to print a list, press STOP. Your machine will return to standby mode.
EasyStart is complete!
Year 2000 compliance
Muratec's entire current line, as well as every Muratec fax machine introduced in the last decade, is fully tested and Year 2000 ready.
Year 2000 compliance means that all programming or other actions needed to support the correct processing of date-related fields prior to, during and beyond the turn of the century are completed and have been tested and validated for the accurate and correct processing of date fields and related logic for Muratec products.
Sending taxes
Guidelines
Page sizes
While you'll probably send letter- and legal-sized documents most of the time, it's possible to fax a piece of paper as small as a notepad sheet or one nearly 3 feet long.
The acceptable dimensions (width × length) are:
SINGLE-SHEET TRANSMISSION
MULTIPLE-SHEET TRANSMISSION
Maximum: 11.0'' × 35.4''
Maximum: 10.1^ × 14.3^
Minimum: 5.8^ × 4.1^
Minimum: 5.8^ × 4.1^
Things not to put in your fax
To avoid paper jams and damage to your machine, don't insert:
- Folded, curled, torn, wrinkled or very thin pages
- Documents with staples, glue, tape, paper clips or still-wet correction fluid
- "Sticky notes" (or documents with "sticky notes" attached)
- Cardboard, newspaper or fabric
Pages with duplicating carbon on either side
Credit cards or any small, thick items
Resolution, grayscale and contrast
Reviewing resolution and grayscale:
- Normal resolution ("NORM" on the control panel) is suitable for most typed documents and simple drawings.
- Fine resolution ("FINE" on the control panel) is ideal for maps, moderately complicated drawings, floorplans or handwritten documents.
- Superfine resolution ("S-FINE" on the control panel, "S Fine" on the LCD) reproduces the detail of extremely complicated drawings or line art.
- Grayscale mode ("HALFTONE" on the control panel; "Gray" on the LCD) captures shades in photos and drawings.
Note: If you send a fax in superfine, certain fax models (especially older, non-Muratec models) receive it only in fine mode. However, you can send a fax in grayscale mode to virtually any fax machine currently in use.
Reviewing contrast:
You have three choices for the contrast setting:
Normal ("NORM" on the control panel) — Suited to most documents.
- Light — Lightens up overly dark, "muddy" original documents.
- Dark — Darkens weak, "washed-out" images.
Note: To avoid confusing the Light and Dark settings, just remember — "Light lightens" and "Dark darkens" — to keep it straight.
Entering a pause character when dialing
Some long-distance systems require dialing pauses, and pauses can also be useful when you're dialing through special telephone exchanges.
To insert a pause character, just press REDIAL/PAUSE after you've dialed at least one other character. -/ (the pause character) will appear on the display.
Each pause entered lasts for a factory-set two seconds (see "Changing the pause length," next page, for instructions to change this setting).
For example, if the pause is at the factory setting, pressing 9, REDIAL/PAUSE, 19725552009 dials 9 [2-second pause] 19725552009.
Important: Each pause uses two of the characters you're allowed in a number.
Changing the pause length
The pause is set by the factory to last two seconds, but you can set it to last as long as ten seconds if necessary. To change the pause length:
1 Press /PROGRAM, J, 0, 5, ENTER.
Set Dialing Pause Time (02-10): 02
2 Use the numeric keypad to enter the length you want for the dialing pause. Here, we've chosen nine seconds.
Set Dialing Pause Time (02-10): 09
Note: The length setting requires two digits. Always enter a leading zero for lengths less than 10 seconds.
3 Press ENTER to save the setting.
Potential problems with call-waiting and voice mail
Telephone call-waiting signals can stop fax transmission and reception. And any service — such as voice mail — which may intercept your calls can keep your fax machine from receiving fax calls.
If you use only one line for both phone and fax, consult your telephone company to see how you can temporarily disable call-waiting or voice mail while using the fax machine.
Adjusting the machine for larger documents
You can adjust the document hopper and the document tray to allow for large documents. Just flip the top up or down as needed.

Using memory transmission
Your fax machine has a great memory! Take advantage of it, and you could:
Save Time. By using your fax machine's memory, you won't have to wait for your machine while it completes the transmission. Simply scan your document into your fax machine's memory, and you can walk away with your original in hand.
Save Money. If you're transmitting to another memory-equipped fax machine, your machine will send the document directly into the other machine's memory and hang up. (The receiving machine then prints out your message from its memory after the call has ended.) This cuts your actual on-line time to a minimum.
Save Even More Money. Set up a delayed command (see pages 2.17-2.19) to send your document after hours, and you can save more money, because the line charges will be cheaper.
You can set your fax to transmit from memory as the default.
Note: Whether you decide to send your documents from memory or manually, you can override that choice one transmission at a time by pressing MEMORY TRANSMIT before you send your document. After completing the communication, your fax will return to the default setting.
Note: Some documents use up memory more quickly than others. They include documents with many pages and those with many dark areas. When the machine's memory is full, it can transmit only through the document feeder.
To make memory transmission the default:
1 Press /PROGRAM, J, 1, 4, ENTER.
Memory Tx: On Program/Enter
Press or /PROGRAM until the mode you want appears. In this example, we've chosen Off.
Memory Tx: Off Program/Enter
3 Press ENTER to save the setting. If the MEMORY TRANSMIT light glows, memory transmission is on. If the MEMORY TRANSMIT light doesn't glow, memory transmission is off.
Inserting a document
1 Adjust the document guides — by sliding either of them to the left or right — to fit the page(s) you're faxing. Your fax machine's automatic document feeder will hold up to 50 pages.
2 If you're sending a multi-page document, "fan" the pages slightly.
3 Insert the document face up. The fax machine "grabs" the first page of the document and positions it for faxing. (Readjust the document guides to fit the document, if needed.)
The LCD now shows the current scanning width setting (see "A4, B4, A3" in the Glossary that begins on page 3.15) and the amount of memory available:

Document Ready
A4 Memory100%
Sending a fax
To fax a document:
1 Insert the document.
When a document is in the feeder, the LCD shows the current scanning width (see "A4, B4, A3" in the Glossary beginning on page 3.15) and the amount of memory available:
Document Ready
A4 Memory100%
2 Adjust resolution and contrast if necessary. Press RESOLUTION to change the resolution. Press CONTRAST to change the contrast.
3 Adjust memory transmission if necessary. Press MEMORY TRANSMIT to toggle memory transmission on and off.
4 Enter the fax number.
Also, enter any access codes necessary just as you would for a regular phone call. (Example: Enter 9 to "dial out" from an office telephone system, or 1 for long-distance.)
Press Start 919725552009_
5 Press START.
By pressing START, you've just given your machine a command. In turn, your machine gives this action a command number as it scans the fax document.
This command number appears on the first line of the LCD for a few seconds:
You'll need this command number to cancel the transmission or to print a stored document (see pages 1.17).
6 Now, everything is up to the machines - yours and the one you're dialing.
- If the fax has been set for Quick Memory transmit, your machine scans the first page of your document into memory, then dials the other fax. When it makes contact, your machine transmits the stored document from memory while at the same time scanning the remaining pages of your document into memory. (To set Quick Memory transmission, see pages 2.29.)
- If the fax has been set for the normal memory transmit, your machine first scans the document into memory, then dials the other fax. When it makes contact, your machine transmits the entire stored document from memory.
- If the fax is set for non-memory transmission, your machine simply dials the other fax. When it makes contact, your machine feeds the document through, scanning and transmitting it as it goes.
Note: The more "stuff" (called black coverage) your machine "sees" on a page, the more slowly the page feeds through as the fax scans it. And even if the page is relatively clean, sending it in grayscale mode or at certain resolutions makes your machine "see" more "stuff." The same is true if you set the contrast to Dark.
Important: If you want to cancel a transmission while scanning the document, press the STOP key. If you want to cancel a transmission in progress, use the Review Commands function. See “Review Commands, an introduction” page 1.17.
7 At the end of the operation, your fax machine beeps and displays:
972-555-2009 ** Complete **
Important: Whenever you transmit a document, what actually appears on the top line of the display depends on information stored in the remote fax. The line may even be blank.
Note: If the call fails, see "Redialing," next column.
Sending a fax using monitor/call or a handset
You also can fax a document using either the monitor speaker or the optional handset to dial the call.
Note: Faxing this way disables "V.34" mode and sends the fax in normal ITU-T Group 3 fashion. See page 3.18 for more information.
1 Insert the document.
2 Adjust resolution and contrast if necessary. Press RESOLUTION to change the resolution. Press CONTRAST to change the contrast.
3 Obtain a dial tone, either by:
- Pressing MONITOR/CALL
...or... - Lifting the optional handset.
In either case, the LCD shows:
** Tel Mode **
4 Enter the fax number by using the numeric keypad. Also, enter access codes with the number, just as for a regular phone call.
Note: For information on entering one-touch and speed-dial numbers, see pages 2.7-2.15.
** Tel Mode 919725552009_
5 When you hear fax tones from the remote unit, press START.
Note: If a person answers the phone, use the optional handset to tell that person that you're trying to send a fax. When you hear fax tones, press START.
6 If you're using an optional handset, hang up after pressing START.
7 At the end of the operation, your fax machine beeps and displays:
972-555-2009 ** Complete **
Note: If the call fails and you used MONITOR/CALL to dial, press MONITOR/CALL to hang up. Or if you've pressed START to begin the fax transmission, press STOP to end it. Also see "Redialing manually," below, if the call fails.
Redialing
If your fax call fails, your machine automatically redials it. In this Auto Redial mode, your fax automatically redials the number every few minutes (see "Changing radial settings," next page) until one of the following happens:
- It reaches the remote fax machine.
- It has attempted the number of redials programmed and has still not connected (see "Changing radial settings," next page).
While in the Auto Redial mode, the machine can continue to receive faxes and can make as many as 99 fax transmissions.
Note: If you used either the speaker or a handset to dial the call, you must redial manually (see below).
Note: If the last radial attempt fails, your machine may print (and/or display) error messages. For more information, see pages 3.5-3.7.
Redialing manually
You can always redial calls manually. And you must redial manually if you used either the monitor speaker or an optional handset to dial the failed call.
To redial a fax call manually without using the monitor speaker or an optional handset:
1 Make sure the document is in the feeder and that the resolution and contrast are set.
2 Press REDIAL/PAUSE, START.
To redial a fax call manually with the monitor speaker or an optional handset:
1 Make sure the document is in the feeder and that the resolution and contrast are set.
2 Press MONITOR/CALL or lift the optional handset to get a dial tone.
3 Press REDIAL/PAUSE.
4 When you hear fax tones from the remote unit, press START.
Note: If a person answers the phone, use the optional handset to tell that person you're sending a fax. When you hear fax tones, press START.
To redial a voice call manually using the optional handset:
1 Lift the optional handset to get a dial tone.
2 Press REDIAL/PAUSE. When the other person answers, use the optional handset to speak to that person.
Changing radial settings
It's up to you how many times the fax redials a number and how long it waits between redials (that length of time between calls is the radial interval). To program the radial settings:
1 Press /PROGRAM, J, 0, 7, ENTER.
Set # Of Redials
(02-15): 02
2 Use the numeric keypad to enter the number of redials you want. Choose from 2 to 15 redials. In this example, we've entered 03.
Set # Of Redials
(02-15): 03
Important: Enter a leading zero when entering a quantity less than 10.
3 Press ENTER to save the setting.
4 The LCD now shows:
Set Redial Interval Inter. (1-5): 1
Use the numeric keypad to enter the length you want between radial attempts. Choose from 1 to 5 minutes. In this example, we've chosen 4.
Set Redial Interval Inter. (1-5): 4
6 Press ENTER to save the setting.
Review Commands, an introduction
Your fax machine can store many "jobs" in its memory. And it keeps track of each one by assigning it a command number, like "C01."
Delayed commands, radial attempts and current fax transmissions are all stored in your fax machine's memory and given a command number.
The Review Commands function gives you the power to check on each job (or command) in your machine's memory. It also lets you cancel a command if you decide not to send the document.
To cancel a command:
1 Press REVIEW COMMANDS.
The LCD shows the first command, indicated by its command number and the phone number it will dial. If a command is in progress, that will be the first command the LCD shows:
C01:5552009 Program/Cancel
2 Press or /PROGRAM until the command you want to cancel appears.
3 Press CANCEL. The LCD shows:
C01:5552009 Check Program/Cancel
4 If you want to cancel this command, press CANCEL again.
5 The LCD now shows the next command. If you want to cancel it, too, go back to step 4.
If you don't want to cancel this command but do want to review other commands, press /PROGRAM until the command you want appears. Then go back to step 4.
If you want to stop reviewing the stored commands, press STOP to return the machine to standby mode.
For more information on the Review Commands function, see page 2.18.
Receiving taxes
Answering calls manually
In any reception mode, you can always answer calls manually if you have an optional handset installed. Just pick it up, as you would if using a normal phone.

If you hear someone speaking to you, use your optional handset to speak back.
If you hear fax tones ("beep - beep -beep"), press START and hang up the optional handset. The fax machine will begin receiving a fax.
Note: Receiving this way disables "V.34" mode so that the machine receives the fax in normal ITU-T Group 3 fashion. (See page 3.18.)

Note: Don't try to answer a call by pressing MONITOR/CALL. The monitor function is for dialing only.
Answering fax calls using another phone, not the fax machine
If you have one phone line ringing to several phones in your office and you have an optional handset attached to your fax, there's no need to run to the fax machine to answer every call. If you happen to answer a fax call while you're at another extension, put the handset down, but don't hang up. Walk to the fax machine and pick up the optional handset. Then press START.
After you press START, hang up both the fax machine's handset and the second telephone's handset. Because remote fax machines will wait several seconds to hear reception tones from your unit, you have about 30 seconds to walk to your fax, pick up the handset, and press START.
Reception modes
Your fax machine has five different reception modes — Tel Ready, Fax Ready, Fax/Tel Ready, Tel/Fax Ready and Ans/Fax Ready. We'll explain each of these in this section.
Tel Ready mode
Use it if:
- You want to use the same line for both fax and phone calls and
- On that line, you're using at least one other phone which is not connected to your fax machine or
- You have an optional handset installed on your fax machine
In this mode: Your fax machine never answers calls automatically. You must answer each call as described in "Answering calls manually" (this page, left column).
To select Tel Ready:
1 If there's a document in the feeder, press STOP so it will feed out.
Press AUTO ANSWER until the Auto Answer light is off and the LCD shows:
Tel Ready Sep 11 1999 20:30
To toggle between Tel Ready and your default mode, press AUTO ANSWER. The Auto Answer light comes on again, and your default mode shows on the LCD.
Fax Ready mode
Use it if: Your fax machine uses its own phone line and doesn't share it with a phone or an answering machine.
In this mode: Your fax machine answers each call and attempts to receive a fax. To select Fax Ready:
1 If there's a document in the feeder, press STOP so it will feed out.
2 Press AUTO ANSWER until the Auto Answer light glows.
3 Press /PROGRAM, I, and then press ENTER six times. The LCD shows your current default reception mode:
Fax Ready Program/Enter
4 Press or /PROGRAM until the LCD shows:
Fax Ready Program/Enter
5 Press ENTER to save the setting.
6 Press STOP to return the machine to standby mode.
Fax/Tel Ready mode
The Fax/Tel Ready mode is a combination of the Fax Ready and Tel Ready modes.
Use it if: An optional handset is installed on your fax machine and You're using the machine as both a fax machine and a telephone
In this mode: Your fax machine answers each call without ringing. If you receive a voice call, it alerts you with a special ring.
To select Fax/Tel Ready:
1 If there's a document in the feeder, press STOP so it will feed out.
2 Press AUTO ANSWER until the light Auto Answer light glows.
3 Press /PROGRAM, I, and then press ENTER six times. The LCD shows your current default reception mode:
Fax Ready Program/Enter
4 Press or /PROGRAM until the LCD shows:
Fax/Tel Ready Program/Enter
5 Press ENTER to save the setting.
6 Press STOP to return the machine to standby mode.
Now your fax machine receives faxes silently but also alerts you when a regular voice call comes in. (Your fax machine also beeps once at the end of each reception.) If a voice call comes in, your fax machine detects it and sounds a special ring. If you hear it, answer using your optional handset.
Note: This Fax/Tel Ready mode won't turn off ringers on other telephones in your house or office. Other phones won't distinguish between fax and voice calls.
Tel/Fax Ready mode
The Tel/Fax Ready mode is a combination of the Tel Ready and Fax Ready modes.
Use it if: An optional handset is installed on your fax machine and
You're using the machine as both a telephone and a fax machine
In this mode: Your fax machine rings the number of times you've identified in the user settings. If you don't use the optional handset to answer the call, your fax machine answers the call. If a caller sends a fax, your machine begins receiving it. If a voice call comes in, your machine detects it and sounds a special ring, telling you to answer using the optional handset.
To select Tel/Fax Ready:
1 If there's a document in the feeder, press STOP so it will feed out.
2 Press AUTO ANSWER until the Auto Answer light glows.
3 Press /PROGRAM, I, and then press ENTER six times. The LCD shows your current default reception mode:
Fax Ready
Program/Enter
4 Press or /PROGRAM until the LCD shows:
Tel/Fax Ready
Program/Enter
5 Press ENTER to save the setting.
6 Press STOP to return the machine to standby mode.
Ans/Fax Ready mode
Use it if: You're using an answering machine that's connected directly to your fax machine.
In this mode: An answering machine connected to your fax machine answers each call. If a voice call comes in, the answering machine begins to record the incoming message. If your fax machine hears a fax tone, it begins receiving the fax message.
To select Ans/Fax Ready:
1 If there's a document in the feeder, press STOP so it will feed out.
2 Press AUTO ANSWER until the Auto Answer light glows.
3 Press /PROGRAM, I, and then press ENTER six times. The LCD shows your current default reception mode:
Fax Ready
Program/Enter
Press or /PROGRAM until the LCD shows:
Ans/Fax Ready
Program/Enter
5 Press ENTER to save the setting.
6 Press STOP to return the machine to standby mode.
Using an answering machine with your fax machine
To connect your answering machine to your fax machine:
1 Set the fax machine for Ans/Fax Ready, as described on page 1.20.
2 Set your answering machine to answer calls after no more than two rings. (See the answering machine's instructions if necessary.)
3 Create a new outgoing message on your answering machine. Here's a suggested message:
Hello! You've reached [your name or telephone number]. To leave a voice message, please wait for the beep. To send a fax, press START on your fax machine. Thanks for calling!
Important: Your answering machine's outgoing message must be no longer than 10 seconds.
Detection of "silent" fax machines
Some older fax machines don't send fax tones when transmitting, which can cause problems when using an answering machine with your fax.
But your fax machine can accommodate these "silent" machines without disrupting your answering machine operation. For more information, call your authorized Muratec dealer.
If the paper runs out
Getting the word from your machine
When your fax machine runs out of paper, the machine beeps, the REPLACE PAPER light glows and the LCD indicates which source has run out of paper, either the cassette or the multipurpose tray. In this example, the cassette is empty:
Fax Ready Check Cassette Paper
Your fax machine cannot print fax messages or copies without paper. But it can still receive documents into its memory, as described in the section below.
Receiving when out of paper
If your machine runs out of paper, it stores up to 250 fax receptions in its memory. This is called out-of-paper reception. Once you refill the paper supply, the fax machine prints the stored messages automatically.
Note: The number of pages (not receptions) your fax machine can store for out-of-paper reception will vary. It depends on:
- Your machine's memory capacity
- Types of documents being sent to your machine
- Resolution of documents being sent to your machine (See Specifications, page AI.1.)
Making copies
Your fax machine also doubles as a convenience copier.
To make copies with your fax machine:
1 Insert the document face up.
Remember:
- There are certain types of documents you should never insert into your fax machine. (Review "Things not to put in your fax," page 1.13.)
- The document can be up to 50 pages.
- If you're copying a multi-page document, "fan" the pages.
- Adjust the machine's document guides to fit the document.
2 Adjust the resolution and contrast, if necessary.
3 Press COPY. The LCD shows:

Of Pgs. To Copy 01 Copy/Stop
4 Use the numeric keypad to enter the number of copies you want to make for each page in the document. Choose from 1 to 99 copies. Here, we've chosen 03 copies.
Of Pgs. To Copy 03 Copy/Stop
Note: The setting requires two digits. Enter a leading zero for quantities less than 10.
5 Press copy to begin copying.
Note: Because your machine has Muratec's QuadAccess™, you can copy documents with your machine and also receive documents into memory at the same time. See page 2.33 for more information.
Using your fax machine as a phone
Your fax machine can also be used as a phone, if you have an optional handset installed. The following is a brief look at the machine's telephone features.
Redial
Press REDIAL/PAUSE to radial the last number dialed on your machine.
Dialing with the monitor speaker
Because your machine has a monitor speaker, you can dial without picking up the handset. For hands-free dialing:
1 Press MONITOR/CALL. You'll hear a dial tone (unless you have set your speaker volume to Off; see page 1.8-1.9), and the LCD shows:

2 Dial the number you want. Use either the numeric keypad, a one-touch key or a speed-dial number to dial.
Note: Remember, your fax machine's monitor speaker is not a speaker phone. If a person answers the call, pick up the handset to speak.
Note: If the call fails, press MONITOR/CALL to hang up.
EasyDial directory dialing
The EasyDial directory feature is available for regular phone calls as well as fax calls. Review the EasyDial instructions on page 2.17 for more information.
Checking the fax reception mode
While using an optional handset for your call, if you press , the LCD shows the current fax reception mode. Press again to return to the TEL mode.
Dialing in the event of a power failure
Your fax machine can receive telephone calls even in the event of a power failure if an optional handset is attached. But it cannot send or receive a fax document.
Beyond the basics

We’ve covered the “musts.”
Now, let's explore the goodies.
Entering settings for your fax machine 2.1
Autodialer 2.7
Broadcasting 2.16
Delayed transmission 2.17
Batch transmission 2.20
Special features 2.24
F-Code communication 2.34
Programmable one-touch keys 2.44
Security Features 2.58
Entering settings for your fax machine
The EasyStart feature guided you through the "just-gotta" settings on your machine. In the next few pages, we'll cover additional settings.
Scan settings
Three different settings tell your machine how to scan documents:
- Primary resolution mode — Sets the resolution for your documents. Choose either normal, fine, superfine ("S Fine" on the LCD) or grayscale mode ("Gray").
- Primary contrast mode — Sets how light or dark you want faxed documents to be when they arrive at their destinations.
- Scanning width — Sets how wide an area your machine scans for each page. To set these modes:
1 Press /PROGRAM, J, 0, 1, ENTER. The LCD asks you to select a resolution:
Primary: Normal Program/Enter
Press or /PROGRAM until the mode you want appears. In this example, we've chosen fine resolution.
Primary: Fine Program/Enter
3 Press ENTER to save the setting. The LCD asks you to select a contrast setting.
Contrast: Normal Program/Enter
Press or /PROGRAM until the mode you want appears. In this example, we've chosen light contrast.
Contrast: Light Program/Enter
5 Press ENTER to save the setting. The LCD asks you to select a scanning width.
Scan Width: B4 Program/Enter
For most uses, "A4" is the proper setting. It scans the central 8.2'' of each page. But for documents with an unusual width, you may want to use the "B4" setting, which scans the central 9.9'' of each page. (See "A4, B4" in the Glossary on page 3.15.)
6 Press or /PROGRAM until the mode you want appears. In this example, we've chosen "A4".
Scan Width: A4 Program/Enter
7 Press ENTER to save the setting.
By following the steps above, you've set your defaults for scanning. Before sending documents, you can "override" these default scan settings for that transmission.
To override the default resolution and contrast settings before sending a document:
- Press RESOLUTION to change the resolution.
- Press CONTRAST to change the contrast.
Once your document is transmitted, your machine returns to its default settings.
Using CODE to enter characters
Some settings give you a chance to enter an identifying name (see EasyStart, page 1.10). You can do this with the one-touch key, and you can also use the CODE key. To use the CODE key to enter characters:
1 When the machine prompts you to enter a name, press code. The display changes to:
Your Name ;Code
2 Find the character you want to enter in the chart below. First keypress
| Second keypress | 2 | 3 | 4 | 5 | 6 | 7 | A | B | C | D | E | F | |
| 0 | 0 | @ | P | ` | p | C | E | ↑ | α | p | |||
| 1 | ! | A | Q | a | q | ü | æ | 。 | ↓ | ä | q | ||
| 2 | " | 2 | B | R | b | r | é | AE | 厂 | á | β | θ | |
| 3 | # | 3 | C | S | c | s | ã | ô | 厂 | í | ε | ∞ | |
| 4 | S | 4 | D | T | d | t | ä | ö | 、 | ó | μ | Ω | |
| 5 | % | 5 | E | U | e | u | à | ò | · | ú | σ | ü | |
| 6 | & | 6 | F | V | f | v | á | ú | H | ñ | ρ | Σ | |
| 7 | ' | 7 | G | W | g | w | ç | ü | H | Ñ | 9 | π | |
| 8 | ( | 8 | H | X | h | x | ê | ý | \ | a | √ | x | |
| 9 | ) | 9 | I | Y | i | y | ê | Ö | " | ø | - | ' | |
| A | * | : | J | Z | j | z | è | Ü | Ø | ü | j | " | |
| B | + | ; | K | [ | k | { | ü | Φ | 0 | 厂 | x | - | |
| C | , | < | L | ¥ | l | | | i | f | Δ | - | Φ | ' | |
| D | - | = | M | ] | m | } | i | ¥ | > | i | t | ÷ | |
| E | . | > | N | ^ | n | → | Ä | Pt | " | « | ñ | - | |
| F | / | ? | O | - | o | ← | Å | f | ° | » | ii | ■ |
The legends in the black border indicate which key you press, and in which order, to get a given character. For example, to get a backlash () character, you'd press C, 8. (The blank areas for 2, 0 and C, 0 indicate spaces.)
3 To enter each character, press the key combination listed on the chart.
Important: Remember, there are three ways to enter characters:
Enter
Numbers
Letters/characters
Letters/characters/numbers
Using
Numeric keypad
One-touch keys
CODE chart for key combinations
Note: If you want to erase characters, press CANCEL to erase to the left. If you want to change just one character in the name, press to the cursor left, or /PROGRAM to move it right. Press CANCEL to e the character. Then re-enter the character correctly.
4 Press ENTER to save the name.
Print settings
You can set three parameters for printing received fax messages:
- Print reduction rate
Reduction margin - Half-page reception
You set all three in the same procedure, discussed on page 2.3. Following is a short explanation for each:
Print reduction rate
Print reduction lets you set the machine to reduce large incoming documents to a size which fits on the paper in your machine. There is also a copy reduction setting that does the same for copies you make on your machine (copy reduction rate is discussed on page 2.3).
Below are the options for both the print reduction and copy reduction settings:
| Setting | What it does |
| Auto | Automatically reduces printouts at variable rates down to a minimum of 50%. Tries to reduce printout to fit on one sheet of your selected paper size. If it can’t, prints the image at 100% size on two or more pages. |
| 100% | Does not reduce document. (Due to the sender’s TTI, this may print two pages when receiving a one-page fax document. See 97%, below.) |
| 97% | Reduces an original so that the final printout of a one-page-document (if the original isn’t larger than the paper in your machine) will only be one page long, even with the TTI. |
| 91% | Reduces documents slightly more. |
| 81% | Reduces documents even more. Helpful for some international stationery sizes, as well as special applications. |
| 75% | Turns legal-sized originals into letter-sized printed copies. |
For best results ...
Whenever possible, load the correct size of paper before receiving a fax (or making a copy) of that size. Although it's convenient, the reduction feature can't be used for every situation.
Reduction margin
Your fax machine's reduction margin is measured in millimeters (mm). We'll define reduction margin by explaining how it's used:
When a fax message enters your machine's electronic brain, the machine measures the message's length and compares it to (a) the length of your selected paper plus (b) the reduction margin you set. If the length of the incoming message is shorter than (a) and (b) put together, your machine prints the message on just one sheet. If it's longer, your machine prints the message on more than one sheet.
Note: An Auto reduction setting and a reduction margin setting of 40mm will print most incoming taxes as single pages. Try this combination first and then, only if you have problems with it, select different settings.
Half-page reception
Half-page reception can conserve paper if some of the faxes you receive are halfpage, "memo-sized" messages. When activated, this feature tells the machine to combine two of these half-page receptions onto a single sheet. Half-page reception only combines half-page messages sent back-to-back during the same transmission. It won't combine two half-page faxes from separate transmissions.
Adjusting the print settings
1 Press /PROGRAM, J, 0, 2, ENTER. The LCD shows the current print reduction rate:
Print Reduc Rate:Auto Program/Enter
Press or /PROGRAM until the reduction setting you want appears. In this example, we've chosen 91% .
Print Reduc Rate: 91% Program/Enter
3 Press ENTER to save the setting. The LCD shows the current reduction margin:
Prnt Reduc Rate: 91% Margin(00-85mm): 40
4 Use the numeric keypad to enter the reduction margin you want. If necessary, press or /PROGRAM to move the cursor. In this example, we've chosen 38mm .
Prnt Reduc Rate: 91 % Margin(00-85mm): 38
5 Press ENTER to save the setting. The LCD shows the current setting for half-page reception:
Half Page Recpt: Off Program/Enter
6 Press or /PROGRAM until the setting you want appears. In this example, we've chosen On .
Half Page Recpt: On Program/Enter
7 Press ENTER to save the setting.
Copy settings
You can set two parameters for copying:
- Copy reduction rate — Works the same way as the print reduction rate (see page 2.2 for more details).
- Reduction margin — Serves the same purpose as the reduction margin for printing (see "Reduction margin," left column).
You set both parameters in the same operation:
Note: The manufacturer suggests a reduction margin of 00 for your copy settings.
Press /PROGRAM, J, 0, 3, ENTER. The LCD shows the current copy reduction rate:
Copy Reduc Rate:100% Program/Enter
Press or /PROGRAM until the reduction setting you want appears. In this example, we've chosen 75% .
Copy Reduc Rate: 75 % Program/Enter
3 Press ENTER to save the setting. The LCD shows the current reduction margin:
Copy Reduc Rate: 75% Margin(00-85mm): 24
4 Use the numeric keypad to enter the reduction margin you want. If necessary, press or /PROGRAM to move the cursor. Here, we've chosen 00mm .
Copy Reduc Rate: 75%
Margin(00-85mm): 00
5 Press ENTER to save the setting.
Setting the number of rings
You can set how many times your fax machine will ring before answering a call. Choose from 1 to 9 rings.
1 Press /PROGRAM, J, 0, 6, ENTER. The LCD shows:
Set # Of Rings # (1-9): 2
2 Use the numeric keypad to enter the number of rings you want, from 1 to 9. Here, we've chosen 4 rings.
Set # Of Rings # (1-9): 4
Note: If you enter O (zero), the machine will beep briefly to warn you that it can't accept that setting.
3 Press ENTER to save the setting.
Setting ECM
"Line noise," or static on the line during a call, can easily disrupt the flow of data from one fax machine to another.
That's why your fax machine gives you the option of using Error Correction Mode (ECM). When two fax machines communicate while running in ECM, the sending machine automatically checks the data as it sends. If the receiving fax machine can't verify the transmission, the first machine will re-send it as necessary.
Note: ECM gives you a better chance of transmitting a fax document over a bad phone line, but it could also slow down the transmission time. And the worse the line is, the slower the transmission. That's why the machine lets you turn ECM on or off as needed.
Note: Not all fax machines have ECM. If you've activated ECM and then transmit to a fax machine not currently using ECM, there will be no change in the fax transmission from a usual, non-ECM transmission.
Press /PROGRAM, J, 0, 8, ENTER. The LCD shows the current ECM setting:
ECM Mode: On Program/Enter
Press or /PROGRAM until the mode you want appears. In this example, we've chosen Off.
ECM Mode: Off Program/Enter
3 Press ENTER to save the setting.
Setting silent mode
Silent mode allows you to mute the ringer, the alarm and the key tones.
- Ringer — Even if you turn the ringer off in silent mode, a special ring alerts you if you receive a voice call and a call request. This allows you to continue to use your fax as a phone, if necessary.
- Alarm — If you disable the alarm in silent mode, the sound your machine makes when an error occurs and the beep your machine makes after sending or receiving a fax or making a copy cannot be heard.
- Key tone — If you mute the key tone, your machine will not make a sound when you press the buttons on the control panel.
Note: Silent mode mutes the ringer as well as the beep and the key tones. If you're using your fax machine as both a fax and phone (with the optional handset), you may not want to use this feature.
Press /PROGRAM, J, 1, 5, ENTER. The LCD shows your fax's current setting:
Silent Mode: Off Program/Enter
Press or /PROGRAM until the mode you want appears. In this example, we've chosen On .
Silent Mode: On Program/Enter
Note: If silent mode is On, the machine will be quiet. If silent mode is Off, the machine will ring and beep as usual.
Note: If you chose Off in step 2, skip to step 10.
3 Press ENTER to save the setting. The LCD now asks if you want the ringer to be on or off:
Ringer Silent: Off Program/Enter
4 Press or /PROGRAM until the mode you want appears.
If you want to turn off the ringer, select "On" and the machine will be quiet. Otherwise, the machine will ring.
5 Press ENTER to save the setting. The LCD now asks if you want the alarm turned on or off:
Alarm Silent: Off Program/Enter
6 Press or /PROGRAM until the mode you want appears.
If you want to turn off the alarm, select "On" and the machine will be quiet. Otherwise, the machine will beep.
7 Press ENTER to save the setting. The LCD now asks if you want the key tones on or off:
Key Buz.Silent: Off Program/Enter
Press or /PROGRAM until the mode you want appears.
If you want to turn off the tones, select "On" and the machine will be quiet. Otherwise, the machine will beep when the keys are pressed.
9 Press ENTER to save the setting.
If you turned off the alarm or the key tones in the steps above, your machine gives you the option of setting the volume for the alarm and key tones. If this option appears, skip to step 10.
If you didn't turn any of these off, your fax machine returns to standby mode.
10 The LCD shows your fax's current setting:
Alarm&Key Vol.: Mid Program/Enter
11 Press or /PROGRAM until the mode you want appears. Below are the possible settings:
Alarm&Key Vol.: Max Program/Enter
= Loudest setting.
Alarm&Key Vol.: Mid Program/Enter
= Medium setting.
Alarm&Key Vol.: Min Program/Enter
= Low setting.
12 Press ENTER to save the setting.
Setting the confirmation stamp
You can set your fax machine so that it will automatically place a small stamp mark on the front of each original document that it successfully scans.
Important: Turn off this feature if you're sending documents you don't want the fax to stamp.
Press /PROGRAM, J, 2, 0, ENTER. The LCD shows your fax's current setting:
Stamp: Off Program/Enter
Press or /PROGRAM until the mode you want appears. In this example, we've chosen On .
Stamp: On Program/Enter
3 Press ENTER to save the setting.
Language settings
English is the language your machine initially displays on the LCD and uses to print reports. But you can set it to "speak" French, Spanish or German, too.
As you give the order for the machine to change languages, it "rolls" from English to French to Spanish to German, and then back to English.
To make the change from one language to the next, press /PROGRAM, #.
Checking the language
If, after making a language change, you're not sure which language is showing, press /PROGRAM once and decide based on what you see on the LCD:
A Num. Une-Touche Program./Val.
is French.
If the language you see is the one you want, press STOP to return to standby mode.
If you want to change languages, press STOP to return to standby mode.
Then press /PROGRAM, # again to go to the next language in the cycle.
Printing your settings
After you've programmed settings into your machine, print a settings list. We recommend this, particularly if you're sharing the machine with other users, who might change the settings.
With this list, you can quickly confirm that all of your settings are correct, without having to go back and check them on the machine. Or, if you do need to undo someone else's changes, this list guides you in returning the machine to your preferred settings.
Note: Please refer to the index at the end of these instructions to locate any settings you don't recognize or understand.
To print the settings list:
1 Press /PROGRAM, I, ENTER.
Enter Time '99 09/11 20:30
2 Press ENTER until the LCD shows:
Print Setting List Enter/Stop
3 Press ENTER to print the settings list.
Printing a program list
Your machine can also print a program list. This lists the functions available on your fax machine and the keystrokes needed to complete them.
Note: Please refer to the index at the end of these instructions to locate any settings you don't recognize or understand.
To print a program list, press /PROGRAM,*,8.
Note: If you have additional options installed on your machine, the list may be two pages long.
Autodialer
Your fax machine's autodialer stores your most frequently called phone and fax numbers for instant recall so you don't have to remember them. It's something like an electronic phone book.
Autodialer basics
How do you autodial?
There are two kinds of autodialer numbers. The difference between the two is how you dial them:
| Type | How to dial | Amount stored |
| One-touch | Press one of the keys, marked 01-64 on the right side of the control panel | 64 |
| Speed-dial | Press SPEED DIAL/TEL INDEX followed by a three-digit identifier, from 001 to 136 | 136 |
| Total amount of numbers stored | 200 | |
Autodialing fax and phone numbers
Your fax machine's autodialer will hold more than just fax numbers. You can store phone numbers, too.
This is because when you use the autodialer to dial a number, the fax checks to see if there's a document in its feeder. If there is, the machine dials as a fax machine. If there isn't, it dials as a phone.
Location IDs and the EasyDial directory
When you store numbers in your autodialer, you can give these numbers descriptive names, such as "Chicago office" or "Billing department". Your machine calls this name a Location ID.
Your machine's autodialer sorts these location IDs alphabetically. Using your EasyDial directory, you can look up these numbers by their descriptive names, just as if you were using a phone book.
We'll explain how to store the numbers and location ids in the next few pages. The EasyDial directory is discussed in detail on page 2.15.
Special Dialoging Characters
Your fax machine allows you to enter special dialing characters when programming the autodialer. These characters include hyphens and dashes, which make phone numbers easier to read, and special characters needed for international calls.
The chart below briefly describes each of these characters. It also tells you what keys to press on your fax machine to store those characters in your autodialer:
| Char. | What it does | Keystroke(s) |
| - | Makes long numbers easier to read.Doesn't change fax machine operation. | DIALING OPTIONS (once) |
| / | (Has no effect in the United States.) | DIALING OPTIONS (twice) |
| ! | Tells your fax machine to pause until it "hears" a dial tone. | DIALING OPTIONS (3 times) |
| - / | Enters a pause. Each pause lasts two seconds (or whatever length you set; see pages 1.13-1.14). Each pause uses two of the characters you can store in one phone number. | REDIAL/PAUSE [after you enter at least one other character] |
| - ! | If your fax machine is on a pulse (not tone-dialing) line, switches from pulse-dialing to tone ("DTMF")-dialing. Use after the actual phone number but before any characters (such as a long-distance carrier's access code) which must be in DTMF tone. Do not use on a tone line. | DIALING OPTIONS (once), then▶/PROGRAM (once), thenDIALING OPTIONS (3 times), then▶/PROGRAM (once) |
Call groups
As you set up your autodialer, you may also want to set up call groups. These are sets of phone numbers that make it easy to send the same fax to many different locations. For example, one call group may include all of your clients in one city, another group may include all of your employees and another may include all your vendors. Your fax machine can:
- Store as many as 200 numbers in up to 32 call groups
- Store one number in as many as 32 different groups
- Print a directory of your call groups (see page 2.14)
Using one-touch numbers
Your fax machine stores up to 64 one-touch numbers using the keys marked 01-64.
Entering or changing a one-touch number
Press /PROGRAM, A, 1, ENTER. The LCD shows the empty one-touch number.
Select One-Touch
01:No Number Stored
Note: If a one-touch number other than 01 appears on the LCD, it means that you have already entered a number for 01.
Press the one-touch key in which you want to store a number or change a previously stored number. Here, we've selected 02 and the LCD shows either:
Select One-Touch
02:No Number Stored
01
Select One-Touch
02:9-1-555-987-6543
3 If you want to select a different one-touch key, press that key now.
4 Press ENTER. Depending on whether you already have a number entered for this one-touch number, the LCD now shows either:
02:Fax Number
or
02:Fax Number
9-1-555-987-6543_
5 Use the numeric keypad to enter the number exactly as your machine should dial it, including whatever access codes your phone system requires. (You may want to review "Special dialing characters," page 2.7.) The number can be up to 40 characters in length:
02:Fax Number
9-1-5559292039_
Your display can show only 20 characters at a time. To view characters beyond those 20, press to scroll to the left or /PROGRAM to scroll to the right.
Note: If want to erase characters, press CANCEL to erase to the left.
If you want to change just one character in the number, press to move the cursor left, or /PROGRAM to move it right. Press CANCEL to erase the character. Then re-enter the character correctly.
6 When the number is as you want it, press ENTER to store it.
7 The LCD now displays either:
02:Alt. No.
01
02:Alt. No.
9-1-555-987-6553_
You now have the option to enter (or change) an alternate number. Your fax machine will dial this alternate number during a transmission or polling operation (see pages 2.29-2.31) after all radial attempts to the regular number fail (see pages 1.16-1.17). If the alternate number also fails, the fax alarm beeps to alert you to a problem.
Note: You can enter one alternate number for one speed-dial or one-touch number you entered. Your fax holds a maximum of 10 alternate numbers in all, that is, only 10 speed-dials or one-touch numbers can have the alternate number. After you have entered the alternate numbers for 10 speed-dials or one-touch numbers, the fax will no longer show this display.
If you want to enter (or change) an alternate number, enter it now.
The number can be up to 40 characters long.
If you do not want to enter or change an alternate number, go on to step 8.
8 Press ENTER.
9 The LCD now displays:
02:Name ;Upper or 02:Name ;Upper S.W. Region Office_
The machine is now prompting you for a name — a Location ID — so you'll be able to find it in the EasyDial directory (see page 2.15).
If you do not want to enter or change this Location ID, skip to step 11. If you do want to enter or change this Location ID, go on to step 10.
10 Enter the Location ID the same way you entered your fax name during EasyStart. A number's Location ID may be up to 24 characters in length.
Important: As in EasyStart, enter letters and other non-numeric characters by using the one-touch keys.
02:Name ;Upper
The word "Upper" means the machine is currently set for entering only uppercase letters. If you press R , the machine will see it as an R (not an r ).
To enter a lower-case letter, press ALPHABET. The display changes to:
02:Name ;Lower
This means pressing one-touch keys will enter lower-case letters: pressing R will produce an r (not an R ) on the display.
To switch back for upper-case entries, press ALPHABET.
To enter spaces, punctuation and symbols, use the one-touch keys.
You can also use the CODE function to enter characters. Please review the explanation on page 2.2.
Note: To erase characters, press CANCEL to erase to the left. To change just one character in the name, press to move the cursor left, or /PROGRAM to move it right. Press CANCEL to erase the character. Then re-enter it correctly.
11 Press ENTER to save the setting and continue.
12 The LCD now displays:
02:Group No.
or 02:Group No. 2,6_
You may now assign this number to up to 32 call groups. (If necessary, review "Call groups," page 2.8.)
If you do not want to change this number's call group, go to step 14. If you do want to change this number's call group, go on to step 13.
13 Use the numeric keypad to enter the call groups for this number. There are 32 possible call groups, numbered 1-32.
Here, we've entered 3 to assign this one-touch number to Call Group 3:
02:Group No. 3
If you want to assign the number to more than one call group, insert a comma after each number (except the last one) by pressing GROUP DIAL. For example, if you enter 3, GROUP DIAL, 1, 6, GROUP DIAL, 2, 7 to assign this one-touch number to Call Groups 3, 16 and 27, the LCD shows:
02:Group No. 3,16,27
Note: To assign this number to all 32 call groups, enter O (zero).
Note: To erase characters, press CANCEL to erase to the left. To change just one character in the setting, press to move the cursor left, or /PROGRAM to move it right. Press CANCEL to erase the character. Then re-enter it correctly.
14 Press ENTER. The LCD will display the next empty one-touch number. If you do want to enter this one-touch number, go back to step 4. If you do not want to enter any more one-touch numbers, press STOP to finish. If you do not want to enter the currently displayed one-touch number but do want to enter another one-touch number, go back to step 2.
Use the autodialer labels in your fax's packaging to write down the stored numbers for easy reference. You can also print out a directory of your call groups. See page 2.14.
One-touch fax dialing
To dial a fax call using a one-touch number:
1 Insert the document.
2 Adjust resolution and contrast if necessary.
3 Toggle between transmission from the feeder or from memory if necessary, by pressing MEMORY TRANSMIT.
4 Press the one-touch key in which you've stored the number.
What happens next depends on whether you specified transmission from memory or transmission from the feeder:
If you specified Quick Memory transmission:
- Your fax machine scans the first page of your document into memory, then dials the other fax machine.
While dialing, your machine scans the other documents into memory. - The LCD shows the Location ID and the document's width and resolution settings:
Katz's Cat Care A4 Normal
Note: If the entry doesn't have a Location ID, the number appears.
- When the other machine answers, your fax transmits the scanned document directly from memory. (To review Quick Memory transmission, see page 2.29.)
If you specified normal transmission from memory:
- Your fax machine scans your entire document into memory first, then dials the other fax machine.
- The LCD shows the Location ID and the document's width and resolution settings:
Katz's Cat Care A4 Normal
Note: If the entry doesn't have a Location ID, the number appears.
- When the other machine answers, your fax transmits the document directly from memory. (To review memory transmission, see pages 1.14-1.15.)
If you specified transmission from the feeder:
- Your fax machine dials the other fax machine.
- When the other machine answers, your fax feeds the document through its scanner, transmitting as it goes.
- The LCD shows the Location ID and the document's width and resolution settings:
Katz's Cat Care A4 Normal
Note: If the entry doesn't have a Location ID, the number appears.
One-touch phone dialing
To dial a phone call using a one-touch number, you must have an optional handset attached to your machine. (Contact your authorized Muratec dealer to order an optional handset.)
To make the call:
1 Obtain a dial tone by doing one of the following:
- Lift the handset
Press MONITOR/CALL to use the monitor speaker
2 Press the one-touch key in which you've stored the number. As the machine dials, it shows the number on the LCD:
** Tel Mode 9-555-2842_
Note: Remember that your fax machine's monitor speaker is not a speakerphone. If you dialed by using the monitor speaker, pick up the handset to speak to the person that answers.
Note: If the call fails, and you used MONITOR/CALL to dial, press MONITOR/CALL to hang up.
Erasing a one-touch number
Press /PROGRAM, A, 2, ENTER. The LCD shows the one-touch number you have already entered:
Select One-Touch 01:9-1-555-345-6789
Note: If the one-touch number that appears is other than 01, it means that 01 is empty.
2 Press the key for the one-touch number you want to erase. Here, we've selected 02:
Select One-Touch 02:9-1-555-987-6543
3 If you want to erase a number stored in a different one-touch key than what appears on the LCD, press that key now.
4 Press ENTER. The LCD shows:
Erase One-Touch Check Program/Enter
Important: If you want to quit without erasing the one-touch number you've selected, press /PROGRAM. The fax will return to step 2.
5 Press ENTER to erase the number.
Erase One-Touch ** Complete
To erase another one-touch number, repeat steps 2-5. Or press STOP to return to standby mode.
Printing a list of one-touch numbers
Forgot which number is stored in which one-touch key? Just print a list of your one-touch numbers. The list includes each key's number, the Location ID (if any), fax/telephone number and group number(s) you've stored in the key.
To print a list of one-touch numbers, press /PROGRAM, A, 3, ENTER.
Using speed-dial numbers
Your fax machine will store up to 136 speed-dial numbers, designated by three-digit identifier codes from 001 through 136.
Entering or changing a speed-dial number
Press /PROGRAM, B, 1, ENTER. The LCD shows an empty speed-dial number:
Enter Speed-Dial No. 001:No Number Stored
Note: If a speed-dial number other than 001 appears on the LCD, it means you have already entered a number for 001.
2 Use the numeric keypad to enter the desired speed-dial number's three-digit identifier code. Here, we've entered 005 and the LCD shows either:
Enter Speed-Dial No. 005:No Number Stored
or
Enter Speed-Dial No. 005:9-555-397-0123
3 If you want to select a different speed-dial number, press that number's three-digit identifier code now. That number appears on the LCD.
Important: When entering the identifier code for speed-dial numbers less than 100, you must enter leading zeroes to make three digits. For example, 001-099.
4 Press ENTER. Depending on whether you already have a number entered for this speed-dial number, the LCD now shows either:
005:Fax Number
005:Fax Number 9-555-397-0123
5 Use the numeric keypad to enter the speed-dial number exactly as your machine should dial it, including whatever access codes your phone system requires. (You may want to review "Special dialing characters," page 2.7.) The number can be up to 40 characters in length:
005:Fax Number 9-1-555-567-1234_
Your display can show only 20 characters at a time. To view characters beyond those 20, press to scroll to the left or /PROGRAM to scroll to the right.
Note: To erase characters, press CANCEL to erase to the left. To change one character in the number, press to move the cursor left, or /PROGRAM to move it right. Press CANCEL to erase the character. Then re-enter the number correctly.
6 When the number appears as you want it, press ENTER to store it.
The LCD now displays either:
005:Alt. No.
or
005:Alt. No.
9-1-555-789-3556_
You now have the option to enter (or change) an alternate number. Your fax machine will dial this alternate number during a transmission or polling operation (see pages 2.29-2.31) only after redials to the regular number have failed. If the alternate number also fails, the fax alarm beeps to alert you to a problem.
Note: You can enter one alternate number for one speed-dial or one-touch number you entered. Your fax holds a maximum of 10 alternate numbers in all, that is, only 10 speed-dials or one-touch numbers can have the alternate number. After you have entered the alternate numbers for 10 speed-dials or one-touch numbers, the fax will no longer show this display.
If you do not want to enter or change an alternate number, skip to step 8. If you do want to enter or change an alternate number, use the numeric keypad to do so the same way you did in step 5. This number can be up to 40 characters long
8 Press ENTER.
9 The LCD now displays:
005:Name
Upper
or
005:Name
Upper
West Coast Sales_
The machine is now prompting you for a name — a Location ID — so you'll be able to find it in the EasyDial directory (see page 2.15).
If you don't want to enter or change this number's Location ID, skip to step 11. If you do want to enter or change this number's Location ID, go on to step 10.
10 Enter the Location ID the same way you entered your fax name during EasyStart. A number's Location ID may be up to 24 characters in length.
Important: As in EasyStart, enter letters and other non-numeric characters by using the one-touch keys.
005:Name ;Upper
The word "Upper" means the machine is currently set for entering only uppercase letters. If you press R, the machine will see it as an R (not an r ).
To enter a lower-case letter, press ALPHABET. The display changes to:
005:Name
;Lower
This means pressing one-touch keys will enter lower-case letters: pressing R will produce an r (not an R ) on the display.
To switch back for upper-case entries, press ALPHABET.
Use the one-touch keypad to enter spaces, punctuation and symbols.
You can also use the CODE function to enter characters. Please review the explanation on page 2.2.
Note: To erase characters, press CANCEL to erase to the left.
To change one character in the name, press to move the cursor left, or /PROGRAM to move it right. Press CANCEL to erase the character. Then re-enter the name correctly.
11 Press ENTER to save the setting and continue.
12 The LCD now displays:
005:Group No.
一
or
005:Group No.
1,4,12_
You may now assign this number to up to 32 call groups. (If necessary, review "Call groups," page 2.8.)
If you do not want to change this number's call group, skip to step 14. If you do want to change this number's call group, go on to step 13.
13 Use the numeric keypad to enter the call groups for this number. There are 32 possible call groups, numbered 1-32.
Here, we've entered 6 to assign this speed-dial number to Call Group 6:
005:Group No.
6_
Note: You do not have to insert a leading zero for the call group number.
If you want to assign the number to more than one call group, insert a comma after each number (except the last one) by pressing GROUP DIAL.
Here, we've entered 6, GROUP DIAL, 1,7, GROUP DIAL, 3, 0 to assign this speed-dial number to Call Groups 6, 17 and 30:
005:Group No.
6,17,30_
Note: To assign this number to all 32 call groups, enter O (zero).
Note: To erase characters, press CANCEL to erase to the left.
To change just one character, press to move the cursor to the left, or
/PROGRAM to move it to the right. Press CANCEL to erase the character. Then re-enter the setting correctly.
14 Press ENTER.
The LCD will display the next empty speed-dial number.
If you want to enter this speed-dial number, go back to step 4.
If you do not want to enter any more speed-dial numbers, press STOP to finish.
If you do not want to enter the currently displayed speed-dial number but do want to enter another speed-dial number, go back to step 2.
Fax dialing via speed-dial
To dial a fax call using a speed-dial number:
1 Insert the document.
2 Adjust resolution and contrast if necessary.
3 Toggle between transmission from the feeder or from memory if necessary, by pressing MEMORY TRANSMIT.
4 Press SPEED DIAL/TEL INDEX. The LCD shows:
Enter Speed-Dial No. S_
5 Use the numeric keypad to enter the three-digit identifier (such as 018, in this example) for the speed-dial number you want to dial. The LCD shows:
Shipping & Receiving S018_
6 Press START.
What happens next depends on whether you specified transmission from memory or transmission from the feeder:
If you specified quick memory transmission:
- Your fax machine scans the first page of your document into memory, then dials the other fax machine.
While dialing, your machine scans the other documents into memory. - The LCD shows the Location ID and the document's width and resolution settings:
Shipping & Receiving A4 Normal
Note: If the entry doesn't have a Location ID, the number appears.
- When the other machine answers, your fax transmits the scanned document directly from memory. (To review quick memory transmission, see page 2.29.)
If you specified normal transmission from memory:
- Your fax machine scans your entire document into memory, then dials the other fax machine.
- The LCD shows the Location ID and the document's width and resolution settings:
Shipping & Receiving A4 Normal
Note: If the speed-dial entry doesn't have a Location ID, the number appears.
- When the other machine answers, your fax will transmit the document directly from memory. (To review memory transmission, see pages 1.14-1.15.)
If you specified transmission from the feeder:
- Your fax machine dials the other fax machine.
- When the other machine answers, your fax feeds the document through its scanner, transmitting as it goes.
- The LCD shows the Location ID and the document's width and resolution settings:
Shipping & Receiving A4 Normal
Note: If the speed-dial number doesn't have a Location ID, the number appears.
Phoning via speed-dial
To dial a phone call using a speed-dial number, you must have an optional handset attached to your machine. To make the call:
1 Obtain a dial tone by doing one of the following:
- Lift the handset
Press MONITOR/CALL to use the monitor speaker
2 Press SPEED DIAL/TEL INDEX. The LCD shows:
** Tel Mode ** S_
3 Use the numeric keypad to enter the three-digit identifier (such as 018, in this example) for the speed-dial number you want to dial. The LCD shows:
**TelMode **9-555-5783_
Note: Remember that your fax machine's monitor speaker is not a speaker phone. If you dialed using the monitor speaker, pick up the handset to speak to the person that answers!
Note: If the call fails, and you used MONITOR/CALL to dial, press MONITOR/CALL to hang up.
Erasing a speed-dial number
Press /PROGRAM, B, 2, ENTER. The LCD shows the speed-dial number you have already entered:
Enter Speed-Dial No. 001:9-555-584-6950
Note: If the speed-dial number that appears is other than 001, it means that 001 is empty.
2 Use the numeric keypad to enter the three-digit identifier for the speed-dial number you want to erase. Here, we've selected 005:
Enter Speed-Dial No. 005:9-1-555-987-6543
3 If you want to erase a different speed-dial number than the one that appears on the LCD, enter that number now.
4 Press ENTER. The LCD shows:
Erase Speed-Dial Check Program/Enter
Important: If you want to quit without erasing the speed-dial number you've selected, press /PROGRAM. The fax will return to step 2.
5 Press ENTER to erase the number.
Erase Speed-Dial ** Complete
To erase another speed-dial number, repeat steps 2-5. Or press STOP to return to standby mode.
Printing a list of speed-dial numbers
You can easily print a list of your speed-dial numbers. The list includes each number's three-digit identifier, the Location ID (if any), number and any group numbers you've stored for that speed-dial number.
To print a list of speed-dial numbers, press /PROGRAM, B, 3, ENTER.
Printing a call group directory
Your machine can also print a call group directory. (If necessary, review "Call groups," page 2.8.) This lists all your stored autodialer numbers by Location ID and lists the groups to which these numbers belong.
The directory divides the call groups into four banks, 01-09, 10-19, 20-29 and 30-32. If you specify call group O (which puts the number in all call groups), the directory shows 01-32.
For example, the directory might show:
| No. | Location | 00 | 10 | 20 | 30 |
| 001 | And Sew It G | 2 4 | |||
| 002 | KC Enterpris | 7 | 0 | 1 | |
| 003 | Katz Cat Car | 0 | 2 | ||
| 01 | Carson Co.,I | 4 | 0 4 | ||
| 02 | Tex. Ofc. of | 1 | |||
| 03 | e.e.gummings | 2 |
In this list, speed-dial number 001 is in call groups 2 and 4; speed-dial number 002 is in groups 7, 10 and 21; speed-dial number 003 is in groups 20 and 32; one-touch number 01 is in groups 4, 10 and 14; one-touch number 02 is in group 1; and one-touch number 03 is in group 2.
To print a call group directory, press /PROGRAM, H, ENTER.
EasyDial directory dialing
EasyDial directory dialing makes your autodialer even more like an electronic phone book. EasyDial sorts and displays numbers alphabetically according to their Location IDs, so you can find them and dial them easily.
To dial using EasyDial:
1 For a regular phone call: Make sure there's no document in the feeder; then skip to step 4.
For a fax call: Insert the document.
2 Adjust resolution and contrast if necessary.
3 If you want to toggle between transmission from memory and transmission from the feeder, press MEMORY TRANSMIT.
4 Press SPEED DIAL/TEL INDEX twice. The LCD shows the first listing in your fax machine's EasyDial directory:
Telephone Index [A]
ABC Company :01
The EasyDial directory sorts entries alphabetically in the following order:
(1) by alphabet, (2) by number and (3) by symbol.
If the listing that appears is the one you want to dial, skip to step 6.
5 Scroll through the listings to find the one you want. You do this by pressing the following keys on the numeric keypad:
- 2 or 8 to select the character set — alphabet, number or symbol — for the first character of the Location ID.
- 4 or 6 to check different listings within that character set.
Note: The scrolling is "open-ended." For example, when you run out of listings beginning with alphabet "A", pressing 4 or 6 automatically moves you into listings beginning with other characters.
6 When the LCD displays the name you want to dial, press START.
- If there is a document in the feeder, your machine will dial a fax call.
- If there isn't a document in the feeder, your machine will activate the monitor speaker and dial a regular phone call. At this point, you may either: — Lift the handset now or
- Listen to the monitor speaker until you hear the other person answer, and then lift the handset.
To make a regular phone call from your machine, you must have an optional handset attached.
If an EasyDial call fails
If an EasyDial call fails, what happens next depends upon the kind of call it was.
If it was a fax call ...
... Your fax machine automatically redials the number according to the radial interval you've set (see page 1.17). It keeps trying until either of the following occurs:
- It successfully reaches the other number
- It has attempted the number of redials programmed and has still not connected (see "Changing radial settings," next page).
If it was a regular phone call ...
... You'll have to redial manually:
1 Obtain a dial tone by either lifting the handset or pressing MONITOR/CALL.
2 Press REDIAL/PAUSE.
Note: If the call fails and you used MONITOR/CALL to dial, press MONITOR/CALL to hang up. Or if you've pressed START to begin the transmission, press STOP to end it.
Broadcasting
Broadcasting basics
The fastest way to fax one document to many recipients is to broadcast it.
In an ordinary broadcast, you send the fax as you normally would, except you just add more fax numbers. You can enter up to 230 numbers:
30 manually-dialed numbers AND
- 200 autodialer numbers OR 1 call group with all 200 autodialer numbers
You can broadcast using any function that requires a fax number to be entered. That means you can send a delayed broadcast, program a polling broadcast and even broadcast to "hub" units for F-Code relay broadcast initiation. All of these are explained in this chapter.
To send a broadcast fax:
1 Insert the document and make any necessary adjustments as you would for a regular fax transmission.
2 Press BROADCAST.
3 Enter the first fax number, as usual. Use either a one-touch number, a speed-dial number, a call group or a regular number dialed from the numeric keypad.
4 To add more fax numbers, press BROADCAST between each one to insert a comma. Then enter the number as described in step 3 (GROUP DIAL inserts its own comma). You can send to up to 230 numbers for a broadcast.
Press Start [03],s098,[10],9-555
Important: Do not insert a comma after the last fax number.
Note: If you enter characters by mistake, press CANCEL to erase them.
5 Press START. Your fax machine scans the document into memory and then sends it to each number or call group you've entered.
Delayed broadcasting
What if you want the broadcast to take place later? That's the purpose of setting up a delayed broadcast.
Note: Delayed commands are discussed in detail later. You may want to read "Delayed transmission" on page 2.17 before proceeding.
1 Follow steps 1-4 of "Broadcasting basics" (left column).
2 Press COM-OPTIONS, ENTER.
3 Use the numeric keypad to enter the day of the month and time (in 24-hour format) when you want the broadcast to occur. Here, we've scheduled it for 10:15 PM on the 30th.
Delayed Enter Time: 30/22:15
When finished, press ENTER to save the setting.
4 Press START. Your machine will return to standby mode, while showing this on the LCD:
** Reserved **
Sep 29 1999 17:17
This means your fax machine is "reserved" for the delayed broadcast you just programmed, but it can still be used to send and receive faxes if your broadcast document is stored in memory.
Making changes to broadcasts
If you need to make changes in a broadcast after setting it up, use the REVIEW COMMANDS function. See "Reviewing or cancelling parts of a broadcast," page 2.18.
Delayed transmission
Take advantage of lower evening and weekend long-distance rates with delayed transmission. Your fax machine can store up to 99 delayed commands, each of which you can program up to 31 days in advance.
Important: If you program all 99 delayed transmission commands, no further memory transmission is possible until one or more of the commands is completed. (To review memory transmission, see pages 1.14-1.15.) However, if all 99 delayed commands are programmed, you can always transmit manually using monitor/speaker dialing or an optional handset (see page 1.16).
Setting up a delayed transmission
Important: Your machine only remembers the day of the month that it's supposed to send a delayed transmission. It does not remember the month itself. So if you want to send a transmission at 5:05 PM on June 26, don't program the transmission sooner than 5:06 PM on May 26.
To set up a delayed transmission:
1 Insert the document and make any necessary adjustments.
2 Press COM-OPTIONS. The LCD shows:
1.Delayed Program/Enter
3 Press ENTER. The LCD shows the current day of the month, followed by the current time (in 24-hour format):
Delayed Enter Time: 06/17:16
Use the numeric keypad to enter the day of the month and the time when you want the fax to send the delayed transmission.
Note: Press to move the cursor left, or /PROGRAM to move it right. Here, we've set the transmission to occur on the 11th at 11:05 PM:
Delayed Enter Time: 11/23:05
5 When the date and time are entered, press ENTER to save the delayed transmission. The LCD shows:
Enter Fax Number
6 Enter the fax number for the delayed transmission document. You can either press a one-touch key, enter a speed-dial number or use the numeric keypad to enter the fax number.
Note: If you want to erase characters, press CANCEL to erase to the left. If you want to change just one character in the number, press to move the cursor left, or /PROGRAM to move it right. Press CANCEL to erase it. Then re-enter the number correctly.
7 Press START. Your machine returns to standby mode, while showing this on the LCD:
** Reserved **
Sep 29 1999 17:17
This means your fax machine is "reserved" for the delayed transmission you just programmed.
- If you set the machine for memory transmission, it will scan the document into memory, after which you can use the machine normally.
- If you set the machine for manual transmission, the machine can receive faxes but can't transmit until your delayed command has been performed.
Important: If you've stored too much information in your machine's memory, a "Memory Overflow" message may appear on the LCD. This appears because (1) too many pages have been stored in the memory, or (2) the pages that are stored have too much information on them for your fax machine to remember. If this message appears, press START to tell your fax to keep as many pages in memory as possible, or press CANCEL to delete from memory all pages stored during the current operation (but not previous operations).
Reviewing or canceling delayed commands
If you've stored a delayed command in your fax machine, it will hold it in memory until it either completes the command successfully or reaches its maximum number of radial attempts (see pages 1.16-1.17). Your machine can store up to 99 delayed commands. It identifies each by a two-digit command number ranging from 01 to 99. To see your machine's stored commands or to cancel them:
1 Press REVIEW COMMANDS.
- If there are no stored commands in your machine — It beeps briefly and displays "No Command" on the LCD. It then returns to standby mode.
- If there are commands in your machine's memory, the LCD shows:
C01:9-5552311 Program/Cancel
Here, you see command 01, followed by the number it's set to dial. If the command is to send a broadcast, "Broadcast" appears instead of the phone number. (See "Broadcasting," page 2.16.)
If the command is to send a batch transmission, the LCD shows its batch box number (such as "B01") rather than the command number. (See "Batch transmission," pages 2.20-2.23.)
If the command is for a continuous polling operation, the LCD shows its continuous polling operation number (such as "P01") rather than the command number. (See "Polling," on pages 2.29-2.31.)
Note: If your machine is attempting to perform a command now, it appears on the display.
Press /PROGRAM or to scroll through currently stored commands.
3 If you want to cancel the command shown, press CANCEL. The LCD shows:
C01:9-5552311 Check Program/Cancel
4 To keep this command but to continue reviewing stored commands, press /PROGRAM. Go back to step 2.
To keep this command and stop reviewing commands, press STOP to return your machine to standby mode.
To go ahead with cancelling the command, press CANCEL again. Go back to step 2 to view other delayed commands.
Note: See also "Reviewing or cancelling parts of a broadcast," next column.
Reviewing or cancelling parts of a broadcast
You also can review or cancel certain numbers within a broadcast:
1 Press REVIEW COMMANDS.
Press /PROGRAM or to scroll through currently stored commands.
Note: Stop this operation at any time by pressing STOP.
3 If you want to cancel the command shown, press CANCEL, CANCEL. If you want to review individual numbers within this broadcast, go on to step 4 without pressing CANCEL.
4 To review individual numbers within this broadcast, press BROADCAST to see the first number. The LCD shows:
9-5550388 Program/Cancel
Press /PROGRAM or until you find the number you want to cancel.
6 Press CANCEL, CANCEL. The next number will appear. If you want to cancel this number, also, repeat this step. If you want to cancel a different number, go back to step 5. If you don't want to cancel any more numbers, press STOP. The machine returns to standby mode.
Printing a delayed command list
Your machine can print a command list which tells you:
The command's identification number
- The phone number, or "remote location"
- The start time (this appears in a DD, HH:MM format)
- A "note" telling if the command is a polling or F -Code operation (see pages 2.29-2.31 for more on polling and 2.34-2.43 for more on F -Code communication). To print a delayed command list, press /PROGRAM, F, 1, ENTER.
Printing a stored document
Your fax machine can print out each document stored for delayed transmission. To print a stored document, you'll need to know the document's command number, which you can get by either reviewing the commands (see page 2.18) or printing a delayed command list (see above).
Press /PROGRAM, F, 2, ENTER. The LCD shows:
Print Stored Doc. Command No.:
2 Use the numeric keypad to enter the command's identification number, 01-99. For example, we could enter the following for the very first command, 01:
Print Stored Doc. Command No.: 01_
3 Press ENTER. Your fax machine will print a copy of the stored document.
Batch transmission
Batch transmission allows you to store multiple documents in an electronic "basket" throughout the day and then fax that entire basket to one location.
To do this, just tell the machine when and where the transmission should go. When that date and time arrives, your machine will transmit each document in the batch box to the remote fax machine. You can store up to 40 documents (each document can include one page or many pages) into your machine's five electronic batch boxes.
Creating or modifying a batch box
Before sending a batch transmission, you have to create batch boxes in your fax machine. The steps below also let you modify existing batch boxes.
To create or modify a batch box:
Press /PROGRAM, N, 1, ENTER. Depending on whether you already have a number entered for batch box 1, the LCD shows:
Select Batch Box 1:No Number Stored
01
Select Batch Box 1:9-1-555-345-6789
2 Use the numeric keypad to enter the number (1-5) of the batch box you want to create or modify. Here, we've pressed 3 and see either:
Select Batch Box 3:No Number Stored
01
Select Batch Box 3:9-555-2110
3 If you want to select a different batch box than the one displayed on the LCD, use the numeric keypad to enter the batch box number now.
4 Press ENTER. The LCD now shows either:
3:Fax Number
01
3:Fax Number 9-555-2110_
5 Use the numeric keypad to enter the fax number exactly as your machine should dial it, including whatever access codes your phone system requires. (You may want to review "Special dialing characters," page 2.7.) The number can be up to 40 characters in length:
3:Fax Number 9-1-555-871-9052_
Your display can show only 20 characters at a time. To view characters beyond those 20, press to scroll to the left or /PROGRAM to scroll to the right.
Note: To erase characters, press CANCEL to erase to the left.
To change just one number, press to move the cursor left, or
/PROGRAM to move it right. Press CANCEL to erase it. Then re-enter the number correctly.
6 When the number appears as you want it, press ENTER. The LCD now displays:
3:Transmit Time Enter Time: 26/14:00
7 Instruct your fax to send from this batch box in one of the following ways:
Option 1: Once at a certain time on a certain day of the month (For example: "Do this at 5:05 PM on the 30th.") - Use the numeric keypad to enter the date and time (24-hour format) the machine should send the documents from the batch box:
3:Transmit Time Enter Time: 30/17:05
Option 2: At a certain time each day you press the key (For example: "Do this at 5:05 PM today.") — Use the numeric keypad to enter 0, 0 (00), and then the time when the fax should send the documents from the batch box:
3:Transmit Time Enter Time:00/17:05
Note: To change a digit in the date or the time, press to move the cursor left or /PROGRAM to move it right. Then enter the correct number.
8 When the date and time are set, press ENTER.
9 The LCD now displays:
3:Name
Upper
0
3:Name ;Upper Bookkeeping
The machine now asks you to name this batch box.
If you do not want to enter or change this batch box's name, skip to step 11.
10 Enter the name the same way you entered your fax name during EasyStart. A batch box's name may be up to 24 characters in length.
Important: As in EasyStart, enter letters and other non-numeric characters by using the one-touch keys.
3:Name ;Upper
The word "Upper" means the machine is currently set for entering only uppercase letters. If you press R , the machine will see it as an R (not an r ).
To enter a lower-case letter, press ALPHABET. The display will change to:
3:Name ;Lower
This means pressing one-touch keys will enter lower-case letters: pressing R will produce an r (not an R ) on the display.
To switch back for upper-case entries, press ALPHABET.
Use the one-touch keypad to enter spaces, punctuation and symbols.
You can also use the CODE function to enter characters. Please review the explanation on page 2.2, if necessary.
Note: To erase characters, press CANCEL to erase to the left.
To change just one character in the name, press to move the cursor left, or /PROGRAM to move it right. Press CANCEL to erase it. Then re-enter the name correctly.
11 Press ENTER to save the batch box information.
To create or modify another batch box, repeat steps 2-11. To finish, press STOP.
Printing a list of batch boxes
You can easily print a list of your batch boxes. The list includes each box's identifier number, the Location ID, fax number and date/time the transmission should start. To print the list, press /PROGRAM, N, 2, ENTER.
Storing a document for batch transmission
Your fax machine can store up to 40 documents (each document can include one page or many pages) in each batch box until the date and time you designate the batch transmission to take place. Once the batch documents are transmitted, they are automatically erased from the machine's memory.
Note: For this operation to work, two things must be true:
- The batch box must exist on your fax machine.
- You must know the batch box's one-digit number (1-5).
To store a document in a batch box for batch transmission:
1 Insert the document and make any necessary adjustments.
2 Press COM-OPTIONS three times and then press ENTER. The LCD shows:
Batch Tx Enter Box No.
3 Use the numeric keypad to enter the one-digit number for the batch box you want to use. Here, we've entered 5 to indicate batch box 5.
Batch Tx Enter Box No. 5
Note: Tx is a common abbreviation for transmission.
4 Press ENTER. The LCD shows:
Press Start Box: 5 File: 01
Important: Your machine gives each document in a batch box a file number, shown as 01 above. You will need to know this file number to erase or print the stored document. Each batch box holds up to 40 files (01-40).
5 Press START. The machine displays "Reserved" on the top line of the LCD. This means the document is stored in memory.
Printing a list of stored batch documents
You can print a list of the documents stored in your machine's batch boxes. This list provides you with the documents' file numbers so you can erase or print them as needed.
To print the list, press /PROGRAM, N, 3, ENTER.
Printing a document stored in a batch box
To print a document stored in a batch box:
1 Press /PROGRAM, N, 4, ENTER. The LCD shows:
Print Batch Doc. Enter Box No.
2 Use the numeric keypad to enter the number (1-5) of the batch box storing the document you want to print.
3 Press ENTER. The LCD shows:
Print Batch Doc. Enter File No.
4 Use the numeric keypad to enter the document's two-digit file number (01-40). If the file number is 01-09, be sure to enter the leading zero.
5 Press ENTER.
Your fax machine prints the document, then returns to standby mode.
Erasing a document stored in a batch box
To erase a document stored in a batch box on your fax machine:
1 Press /PROGRAM, N, 6, ENTER. The LCD shows:
Erase Batch Doc. Enter Box No.
2 Use the numeric keypad to enter the number (1-5) of the batch box storing the document you want to erase.
3 Press ENTER. The LCD shows:
Erase Batch Doc. Enter File No.
4 Use the numeric keypad to enter the document's two-digit file number (01-40). If the file number is 01-09, be sure to enter the leading zero.
5 Press ENTER. The fax machine now gives you one last chance to change your mind before erasing the document.
Erase Batch Doc. Check Stop/Enter
Important: To quit the operation without erasing this or any document, press STOP. The machine returns to standby mode.
6 Press ENTER. The fax machine erases the document you've chosen, then returns to standby mode.
Erasing an empty batch box
Batch boxes must be empty to be erased. If a box has documents stored in it, then you first have to erase those documents. See page 2.22.
To erase an empty batch box:
1 Press /PROGRAM, N, 5, ENTER. The LCD shows:
Select Batch Box 1:No Number Stored
or
Select Batch Box 1:9-5551023
2 Use the numeric keypad to enter the number (1-5) of the batch box you want to erase. Here, we've pressed 2 and see:
Select Batch Box 2:9-1-972-5559900
3 If you want to erase a different batch box than what appears on the LCD, enter that batch box's number now.
4 Press ENTER. If the batch box is empty, the LCD shows:
Erase Batch Box Check Program/Enter
Important: If you select a batch box which is not empty, the machine beeps and briefly displays:
Select Batch Box Document Stored
Erase any documents stored in the batch box (see page 2.22), then go back to step 3.
Important: If you want to quit without erasing the batch box you've selected, press /PROGRAM. The fax will return to step 2.
Important: If you want to quit without erasing any batch box, press STOP. The machine returns to standby mode.
5 Press ENTER to erase the batch box.
Erase Batch Box ** Complete **
To erase another batch box, repeat steps 2-5. To finish, press STOP.
Special features
Your fax machine has numerous special features to make your communications easier. We'll cover them here.
Soft Keys
Soft Keys are shortcut keys. You can program the soft keys on the control panel to turn on or off any function with just the touch of a button. Your machine has four Soft Keys. If the light above any one of these keys glows, that means the setting programmed into that key is active.
These keys are programmed at the factory to turn the following functions on or off:
Memory transmission (see pages 1.14-1.15)
- Confirmation stamp (see page 2.6)
Cover page (see page 2.26)
- Copy & Fax feature (see page 2.25)
Note: The keys that are programmed at the factory turn the functions above them on and off, but only for the next transmission that you send from your fax machine. Once that transmission is complete, your machine returns to its default setting.
But instead of using the Soft Keys to control the functions above, you can program them to turn other functions on or off. These functions are:
Activity journal printouts (see page 2.27)
- Half-page reception (see page 2.3)
- ECM (see page 2.4)
- Closed network (see page 2.63)
Security transmission (see page 2.62)
Operation protection (see page 2.58)
- Quick memory transmission (see page 2.29)
Department protection (see page 2.66)
Department code (see page 2.65)
Note: And instead of just turning the function on or off for the next transmission, as the factory-set keys do, changing the Soft Key settings actually sets the default for your fax machine. (These default settings can be changed, if necessary. They are not permanent.)
Setting the Soft Key
1 Press /PROGRAM, E, 1, ENTER. The LCD shows:
Select Soft Key No.
1:Memory Tx
... or indicates another function you've stored into this key.
Press or /PROGRAM until the Soft Key (1-4) you want to change appears. In this example, we've chosen 3.
3 Press ENTER. The LCD shows:
3:Cover Page Program/Enter
Press or /PROGRAM until the function appears that you want to program into the key. In this example, we've chosen Quick Tx.
3:Quick Tx Program/Enter
5 Press ENTER to save the setting. The LCD will display the next Soft Key. If you do want to set this Soft Key, go back step 3.
If you do not want to set the currently displayed Soft Key but do want to set another Soft Key, go back to step 2.
If you do not want to set any more Soft Keys, press STOP to finish.
Now you can use the labels included in your machine's original packaging to label the Soft Key function you just set. You can also print out a list of the Soft Keys (see below).
Printing a list of Soft Keys
A list of your Soft Keys includes each key's number and the function you've assigned to it.
To print the list, press /PROGRAM, E, 2, ENTER.
Copy & Fax
With the Copy & Fax feature turned on, your machine asks if you want to make a copy of a document each time it transmits that document from memory.
Note: The Copy & Fax function cannot be used for manual transmissions (memory transmission is off).
Note: Quick Memory transmission and the Copy & Fax function cannot be used at the same time. If both are turned on, Quick Memory will not work.
Note: The Copy & Fax feature will use the same resolution you set for the transmission for the copy's scanning resolution.
Setting the Copy & Fax feature
1 Press /PROGRAM, J, 2, 1, ENTER. The LCD shows:
Copy&Fax: Off Program/Enter
2 Press or /PROGRAM until the mode you want appears. Here, we've chosen on.
Copy&Fax: On Program/Enter
3 Press ENTER to save the setting.
Using the Copy & Fax function
1 Insert the document and make any necessary adjustments. Note: Make sure that the memory transmission is on.
2 If you're storing the document for polling, follow the steps for that operation (see page 2.29 for polling and page 2.42 for F-Code polling). Then skip to step 5. If you're faxing the document, go on to step 3.
3 Enter the fax number. Either press a one-touch key, enter a speed-dial number or use the numeric keypad to enter the fax number.
Note: To erase characters, press CANCEL to erase to the left.
To change just one character in the number, press to move the cursor left, or /PROGRAM to move it right. Press CANCEL to erase it. Then re-enter the character correctly.
If you entered the fax number using a one-touch key, skip to step 5. Otherwise, go on to step 4.
4 Press START.
5 The LCD asks the number of copies you want to make:
Of Pgs. To Copy 01 Start/Cancel
6 Use the numeric keypad to enter the number of copies you want for each page in the document. Choose from 01 to 99 copies. Here, we've chosen 03 copies.
Of Pgs. To Copy 03 Start/Cancel
Important: If you do not want to copy the document, press CANCEL. The LCD shows:
Canceled Copying Start/Stop
Press START to transmit or store the document. If you want to quit without transmitting (or storing) and copying the document, press STOP. The fax returns to standby mode.
7 Press START to begin the transmission (or storing) and copying process.
Note: If you chose an immediate transmission, your fax machine will begin dialing. If you chose a delayed command or batch transmission, the machine will display "Reserved" on the top line of the display, indicating that the machine has stored the command in memory and will send the transmission later.
Cover page
Your fax machine can store a cover page to send at the beginning of each outgoing fax. This page includes the current date and time, your Location ID and your fax number (as stored in the TTI) and a message of up to 40 characters in length. The information appears in a box similar to this:
Fax Message From:
Sep 19 1999 14:00
Name: And Sew It Goes Co.
Fax Number: 972-555-2009
We appreciate your business. Thank you!
Turning the cover page on
1 Press /PROGRAM, K, 1, ENTER. The LCD shows:
Cover Page: Off Program/Enter
2 To tell the fax machine it should send a cover page before each document you transmit, press or /PROGRAM until "On" appears on the LCD.
Cover Page: On Program/Enter
Note: To tell the machine not to send a cover page, press or /PROGRAM until "Off" appears on the LCD and press STOP.
3 Press ENTER to save the setting.
Now the cover page feature is working but your message line (shown in the example as "We appreciate your business. Thank you!") is blank. To enter that message, see "Entering the cover page message," next.
Entering the cover page message
1 Press /PROGRAM, K, 2, ENTER.
2 Use the one-touch keypad to enter a message for the cover page. Enter the message the same way you entered your fax name during EasyStart. The message can be up to 40 characters in length.
Important: As in EasyStart, enter letters and other non-numeric characters by using the one-touch keys.
Cover Page ;Upper
The word "Upper" means the machine is currently set for entering only uppercase letters. If you press R , the machine will see it as an R (not an r ).
To enter a lower-case letter, press ALPHABET. The display will change to:
Cover Page ;Lower
This means pressing one-touch keys will enter lower-case letters: pressing R will produce an r (not an R ) on the display.
To switch back for upper-case entries, press ALPHABET.
Use the one-touch keypad to enter spaces, punctuation and symbols.
You can also use the code function to enter characters. Please review the explanation on page 2.2.
Note: To erase characters, press CANCEL to erase to the left. To change just one character in the message, press to move the cursor left, or /PROGRAM to move it right. Press CANCEL to erase it. Then re-enter the message correctly.
3 When the message appears as you want it, press ENTER to save it.
Printing the cover page
To confirm that the cover page is set correctly, print a sample cover page from your fax machine. Press /PROGRAM, K, 3, ENTER.
Setting the activity journal
Just as a checkbook records your daily financial transactions, your fax machine keeps an activity journal which records its 100 most recent fax transactions. The activity journal lists the following information for each transaction:
- Assigned number; starting each day at 001
- Remote location called
- Resolution mode
Starting date and time
Duration, in minutes and seconds
Length, in number of pages
Department code (see pages 2.65-2.66) - Result of the call — If preceded by an asterisk (^*) , this signifies an ECM communication (see page 2.4)
- Any special operations — For example, a fax call made using an optional handset will appear as "Manual"
Your fax machine will print the activity journal automatically after 100 transactions. To toggle this automatic printing on or off:
1 Press /PROGRAM, G, 1, ENTER. The LCD shows:
Auto Print: Off Program/Enter
Press or /PROGRAM until the mode you want appears. Here, we've chosen On .
Auto Print: On Program/Enter
3 Press ENTER to save the setting.
Printing an activity journal manually
To print an activity journal immediately without waiting for 100 transmissions to be completed, press /PROGRAM, G, 2, ENTER.
Setting the printing order of the activity journal
Your fax machine prints the activity journal for every fax transaction. For example, if your machine has to redial a call, it will list those redials on the journal.
If you want to list those activities in the order of their assigned numbers, you can change the printing order of the activity journal. To change the printing order:
1 Press /PROGRAM, G, 4, ENTER. The LCD shows:
Line Up: Off Program/Enter
Press or /PROGRAM until the mode you want appears.
If you want the activity journal to print in the order of assigned number, choose "On".
Otherwise, the machine will list every fax transaction of the same command and same location.
Here, we've chosen On .
Line Up: On Program/Enter
3 Press ENTER to save the setting.
Setting the reports: TCRs and RCRs
Your fax machine can print reports of transmissions and receptions.
There are two different reports: a transmit confirmation report (TCR) and a receive confirmation report (RCR). You can receive a TCR after sending a fax to any Group 3 fax machine, but the RCR function works only when you send a fax to a compatible Muratec machine. (Consult your authorized Muratec dealer with any questions about such compatibility.) Choose the type of report you want, based on the fax machines to which you're transmitting.
What the reports tell you
TCR
The TCR lists the following information for each communication:
- Date and time of the TCR's printout
Remote location called
Resolution mode
Starting date and time
Duration, in minutes and seconds
Length, in number of pages
Result of the call - Any special operations — For example, a fax call made using an optional handset will appear as "Manual"
- Sample of the document — An image of the first page of the document If an error occurs, the TCR tells you the remote location which was called, the error code and error message (see pages 3.5–3.8).
RCR
The RCR lists the following information for each communication:
Date and time
Remote location called
- Assigned number; starting each day at 001
Resolution mode
Duration, in minutes and seconds
Length, in number of pages
Result of the call — Either "ok" or an error code (see pages 3.5-3.8)
To set the printing of one or both of these reports:
1 Press /PROGRAM, G, 3, ENTER. The LCD shows:
TCR Selected Program/Enter
2 Press or /PROGRAM until the setting you want appears. Here, we've chosen RCR .
RCR Selected Program/Enter
3 Press ENTER to save the setting. The LCD shows:
Auto Print: Off Program/Enter
Your machine is asking if it should print the selected report automatically after every fax you send.
Press or /PROGRAM until the setting you want appears. Here, we've chosen On .
Auto Print: On Program/Enter
5 Press ENTER to save the setting.
To turn the confirmation report feature on or off for only the next fax transmission, press REPORT.
What happens next depends on the setting you chose:
- If the light next to the REPORT key glows, the fax machine will print the confirmation report automatically.
- If the light next to the REPORT key doesn't glow, the fax machine will not print a confirmation report.
After you send this transmission, your machine returns to the setting you chose in step 2, above.
Quick Memory transmission
Using Quick Memory transmission can save you time over standard memory transmissions.
For a normal memory transmission, your fax: (1) scans your entire document into memory, (2) dials the other fax machine, then (3) transmits the document.
But with Quick Memory transmission, your machine doesn't wait to scan all pages into memory before dialing. After it scans the first page of your document, your machine dials the call. While dialing, connecting and transmitting, your fax machine continues to scan in the remaining pages of the document.
You can set your fax to always use Quick Memory transmission as the default.
Important: Your fax machine's memory transmission feature must be turned on to use Quick Memory transmission (see pages 1.14-1.15).
To make Quick Memory transmission the default:
1 Press /PROGRAM, J, 2, 2, ENTER. The LCD shows:
Quick Tx: On Program/Enter
Press or /PROGRAM until the mode you want appears. Here, we've chosen Off.
Quick Tx: Off Program/Enter
3 Press ENTER to save the setting.
Polling
Polling allows someone to fax a document to you without having to make the call or pay for it. There are several kinds of polling:
- Regular polling — Your fax retrieves a document from a remote fax machine.
- F-Code polling — Your fax retrieves a document stored as a file in the remote fax machine. To do this, you must be communicating with another F-code-compatible fax machine. For more information on F-Code polling, see “F-Code communication,” pages 2.34–2.43.
- Continuous polling — Your fax continuously retrieves a document from any remote fax machine at a designated time. For example, a hospital pharmacy can use this to check on orders waiting in fax machines throughout the hospital.
For polling to work, the remote machine must also be set up to be polled. See the remote machine's operating instructions, if necessary.
Regular polling
To set up your machine for regular polling:
1 Make sure the document is inserted in the remote fax machine.
2 Press COM-OPTIONS twice and then press ENTER. The LCD shows:
Enter Fax Number
3 Enter the remote fax machine's number by either pressing a one-touch key, entering a speed-dial number or using the numeric keypad.
4 To perform the regular polling now, skip to step 8. To perform delayed regular polling, go on to step 5.
5 Press COM-OPTIONS, ENTER. The LCD shows:
Delayed Enter Time: 15/17:05
6 Use the numeric keypad to enter the date and time (use the 24-hour format) when your machine should perform the delayed regular polling.
7 Press ENTER.
8 Press START.
When your machine polls for documents, it dials the number and, upon making contact with the other machine, begins receiving the document as if the other machine had placed the call.
Continuous polling
To set up your machine for continuous polling:
1 Press COM-OPTIONS four times and then press ENTER. The LCD shows the current time:
Cont Polling Start Time: 18:30
2 Use the numeric keypad to enter the time your machine should begin the continuous polling. (Use the 24-hour format.) Here, we've set it for 7:00 AM.
Cont Polling Start Time: 07:00
Note: Press to move the cursor left, or /PROGRAM to move it right.
3 When the start time is set, press ENTER to save it. The LCD shows:
Cont Polling End Time: 07:00
4 Use the numeric keypad to enter the time when your machine should finish the continuous polling. (Use the 24-hour format.) Here, we've set it for 3:00PM .
Cont Polling End Time: 15:00
Note: If you set the end time earlier than the start time, the polling operation will continue until the selected end time tomorrow.
Note: Press to move the cursor left, or /PROGRAM to move it right.
5 When the end time is set, press ENTER to save it. The LCD shows:
Enter Fax Number
6 Enter the remote fax machine's number by either pressing a one-touch key, entering a speed-dial number or using the numeric keypad.
If you are entering only one number for continuous polling, skip to step 8. To add additional fax numbers for this operation, go on to step 7.
7 To add additional fax numbers, press BROADCAST between each one to insert a comma then enter the number as in step 6. You can specify up to 30 numbers (and/or call groups) for continuous polling.
Press Start [03], 9-5551204, s118,
Important: Do not insert a comma after the last fax number.
Note: If you enter characters by mistake, press CANCEL to clear them.
8 Press START.
When your machine polls for documents, it dials each number and, upon making contact with the other machine, begins receiving the document as if the other machine had placed the call. It will continue the process throughout the time period you selected in steps 2-5.
Note: When you want to end a continuous polling operation, you must delete it using the Review Commands feature (see page 2.18).
Being polled
Not only can you poll, but you can also be polled. To set up a document for regular polling:
1 If your fax machine is set for Tel Ready reception, press AUTO ANSWER to change it to the Auto Answer mode. The Auto Answer light will glow.
Important: Your machine can't be polled if it's in Tel Ready mode.
2 Insert the document.
3 Adjust resolution and contrast if necessary. (Your fax machine will be transmitting to the machine doing the polling.)
4 Press /PROGRAM, D, 1, ENTER. Your fax will scan the document into memory and return to standby mode.
Note: If you want to return to the "Tel Ready" mode after the remote machine has polled your document, press AUTO ANSWER. The Auto Answer light on the control panel will turn off. But do this only after you're sure the remote machine has polled your document.
Once the remote fax machine polls the document you stored, your fax machine automatically erases the document from memory.
Printing a stored polling document
To print a document you've stored for regular polling without erasing it, press /PROGRAM, D, 3, ENTER.
Erasing a stored polling document
To erase a document you've stored for regular polling from your machine's memory, press /PROGRAM, D, 2, ENTER.
Limiting polling access to your fax machine
Your machine's closed network setting (see page 2.63) works for polling, also. If a calling fax doesn't "present" the proper passcode, it cannot poll from your fax.
Note: If you're using the Block Junk Fax feature (see pages 2.63-2.64), even incoming calls which meet the passcode test must come from phone numbers you've approved.
OneLine + distinctive ring detection
Many phone companies now offer their customers a special service which makes it possible for one phone line to do the work of two.
With this service, you physically still have one phone line, but, electronically, you have two phone numbers. Your phone recognizes these different numbers and rings differently for each one.
For example, this makes it easy for you to have both a business number and a home number on one phone line, so you can answer one with "Jane Doe Consulting," and the other with "Hello." This works because you can tell the difference between the distinctive patterns of the two rings.
Your fax machine is also smart enough to tell the difference between two different numbers that are ringing it. All you have to do is set up your machine for the OneLine + distinctive ring detection (DRD) feature.
In order to use OneLine + DRD, your phone company must set up your distinctive ring service. When it does, it will assign a ring pattern. For example, the standard telephone ring is 2 seconds "on" (ringing) and 4 seconds "off" (silent), after which it repeats itself.
Your fax has eight possible distinctive ring patterns for use with OneLine + DRD. One of them should work with your phone company's DRD service. This chart lists the patterns:
| Pattern | One complete ring pattern (seconds) |
| A | 0.8 on, 0.4 off, 0.8 on, 4.0 off |
| B | 0.4 on, 0.2 off, 0.4 on, 0.2 off, 0.8 on, 4.0 off |
| C | 0.3 on, 0.2 off, 1.0 on, 0.2 off, 0.3 on, 4.0 off |
| D | 1.0 on, 0.5 off, 1.0 on, 3.5 off |
| E | 0.5 on, 0.5 off, 0.5 on, 0.5 off, 1.0 on, 3.0 off |
| F | 0.5 on, 0.5 off, 1.0 on, 0.5 off, 0.5 on, 3.0 off |
| G | 0.4 on, 0.6 off, 0.4 on, 4.6 off |
| H | 1.5 on, 0.5 off, 0.5 on, 3.5 off |
For example: pattern c is 0.3 seconds ringing, 0.2 seconds silent, 1 second ringing, 0.2 seconds silent, 0.3 seconds ringing and 4 seconds silent. Then it goes back to the first 0.3-second ring and starts over.
To use DRD on your fax machine:
1 Contact your phone company to make sure it has set up DRD service for you. If possible, also find out which distinctive ring pattern the phone company has assigned you.
Press /PROGRAM, J, 1, 9, ENTER. The LCD shows:
DRD:
Off
Program/Enter
Press or /PROGRAM until the mode you want appears. Here, we've chosen On .
DRD:
On
Program/Enter
4 Press ENTER.
Ring
A
Program/Enter
Press or / PROGRAM until the pattern you want appears. Here, we've chosen "c".
Ring
Pattern:
C
Program/Enter
6 Press ENTER to set your machine to the displayed ring pattern.
Important: If your telephone company gives you only very general ring pattern specifications, or if you encounter a problem while using your machine's DRD feature, please try ALL of the listed ring patterns. If you still have a problem after trying all of the patterns, please call the Muratec Customer Support Center. (From the United States, call 972-364-3350. For the number to call from Canada, check the documentation found inside your fax machine's box).
Important: With your machine set for using DRD, it won't respond to any ring pattern other than the one you selected above. To reset the fax so it will respond once again to normal rings, repeat steps 2-4, above — except, in step 3, toggle it to "Off." Your fax will now respond normally.
Call request
You can send or receive a fax message and have a regular phone conversation on the same call (although, not at the same time). This is called a call request. It doesn't matter whether you're sending the fax or receiving it. You may fax first and then talk, or talk first and then fax.
Important: For this feature to work, the remote fax machine must have a similar call-request capability. Your machine must also have an optional handset attached.
Note: Communicating this way disables "V.34" mode, causing the fax machine to handle the call in normal ITU-T Group 3 fashion. See page 3.18 for more information.
Faxing/receiving first, then talking
To send or receive a fax first and then talk:
1 While your fax machine is sending or receiving the fax, press MONITOR/CALL.
2 At the remote fax machine, the ringer will sound after that machine receives each page.
3 If someone answers at the remote fax machine, your fax machine will ring several times. If so, pick up the optional handset. In a few seconds, the line will open and you can begin your conversation.
Talking first, then sending a fax
To talk first and then send a fax:
1 When you've finished your phone conversation, don't hang up.
2 Insert the document you want to fax.
3 Adjust the resolution and contrast if necessary.
4 Tell the person at the other fax machine to press START and to hang up his/her handset. Don't hang up your handset yet!
5 When you hear fax tones, press START and hang up your fax machine's optional handset. Your fax machine will send the document.
Talking first, then receiving a fax
To talk first and then receive a fax:
1 When you've finished your phone conversation, don't hang up.
2 Tell the person at the other fax machine to press START and to hang up his/her handset. Don't hang up your handset yet!
3 When you hear fax tones, press START and hang up your machine's optional handset. Your machine will receive the document and print it out.
Responding to a call request
If someone requests a call from you during a fax communication, you'll hear a long ring after the receiving machine has received each page. To answer the call request:
1 Lift your machine's optional handset, and listen for a few seconds. You may hear a brief series of fax tones.
2 Shortly, the line will open and the person at the other end of the line will answer. You and the other person now can have a normal phone conversation.
Numbering pages
Just before sending a fax, you can set your fax machine to number each page. This will help the person receiving the fax to keep track of all the pages.
To set up page numbering:
1 Count the number of pages in your document.
2 Insert the document.
3 Adjust the resolution and contrast, if necessary.
4 If you want to toggle between a manual transmission or memory transmission, press MEMORY TRANSMIT.
Press /PROGRAM, L, ENTER. The LCD shows:
Enter # Of Pages (01-50):01
6 Use the numeric keypad to enter the number of pages in your document. If there are fewer than 10 pages, enter a leading zero and then the number (For example: 04 for four pages).
7 Press ENTER.
Enter Fax Number
一
From here, continue sending the document using whatever type of transmission you need (broadcast, group dial, etc.). When the remote fax machine prints the document, a note on the right side of your TTI will indicate the number of the page — such as “p.02” for page two.
The power of QuadAccess™
Your fax machine's QuadAccess feature sharply reduces the time you might spend waiting for the machine to finish its work. QuadAccess is a more powerful version of what already is a pretty powerful feature, called dual access. While a fax with normal dual access allows you to do two things at once, QuadAccess allows you to do four operations at once. For example, even if the machine is (1) printing a copy, (2) transmitting from memory and (3) scanning documents for a different memory transmission, you can still (4) program the machine.
F-Code communication
F-Code: an introduction
The ITU-T, part of the United Nations agency that standardizes international telecommunications, has created a fax industry standard for using sub-addressing and password-based communications. One name for this standard is F-Code, and that's what we'll call it in these instructions and on your machine's display.
How sub-addressing works
To help understand sub-addressing, think about how someone in a large company receives mail. For example, mail for the Accounting department is first delivered to the company's main mailroom. Then the mailroom routes the mail to Accounting. That's the idea behind sub-addressing. Your fax and another F-Code-compatible fax exchange special signals to indicate just where the fax really should go. It's as if the sending fax is saying, "Deliver this to room 48," and the receiving fax does just that. Your machine has up to 50 mailboxes for these special deliveries. When someone sends an F-Code fax to you, your machine receives it into one of those 50 mailboxes — whichever box the sender chooses.
Sending F-Code securely
For greater security, you can set up a password with each F-Code sub-address, which lets you use secure transmission, polling and relay broadcasting when communicating with any other F-Code compatible fax machine.
Guidelines for using F-Code
(1) To use ITU-T sub-addressing, you must create F-Code boxes in your machine
(2) Your machine holds up to 50 of these boxes
(3) Your machine stores up to 30 documents into each F-Code box (each document can include one or more pages)
Creating or modifying an F-Code box
Choosing the F-Code box type
Before you set up an F-Code box, first decide how your callers will use it — as a bulletin box, a security box or a relay box.
- Bulletin box — Stores documents that people in remote locations retrieve by polling the box. For example, your sales branches could call in at any time to get a printout of your latest prices that you've stored in a bulletin box.
A bulletin box stores both scanned and retrieved documents, and it holds its contents indefinitely (as long as the unit has AC power). - Security box - Receives and stores F-Code secure communications.
- Relay box — Receives documents, then relays them to other machines. The machine that relays the document is called a "hub". Your fax machine can either send to a hub or it can be a hub.
4 elements of an F-Code box
Each F-Code box has the following four elements:
(1) F-Code box number (01-50)
(2) F-Code box name (up to 16 characters)
(3) F-Code sub-address (up to 20 characters - can include numbers and the * and # characters only)
(4) I.D. Code (4 digits)
You will choose the information for each of these elements, and enter it into your machine. The following steps will walk you through entering and changing that information.
To create or modify an F-Code box:
1 Keep pen and paper with you as you follow these steps. As you decide on a sub-address and enter it into your machine, write it down. Remember to: (1) write down which box goes with which sub-address, (2) write down any passwords or I.D. codes you enter, (3) keep these printed records in a safe place.
Press /PROGRAM, P, 1, ENTER. Depending on whether you already have a name entered for F-Code box 01, the LCD shows:
Select F-Code Box 01:No Number Stored
or
Select F-Code Box 01:NY Branch Office
3 Use the numeric keypad to enter the two-digit number (01-50) of the F-Code box you want to create or modify. Here, we've entered 0, 3 and see either:
Select F-Code Box 03:No Number Stored
or
Select F-Code Box 03: Muratec America
4 If want to select a different F-Code box than the one that appears on the LCD, use the numeric keypad to enter the two-digit F-Code box number now.
5 Press ENTER. What you do next depends on whether you're creating or modifying the F-Code box:
If creating - skip to step 7.
If modifying — the LCD asks you to enter the proper I.D. code. The LCD shows:
03:Set F-Code Box Enter I.D. Code:****
6 Use the numeric keypad to enter the 4-digit I.D. code (not the ITU-T sub-address and not the ITU-T password) and then press ENTER.
Note: If you enter an invalid I.D. code, the fax machine rejects the attempt and aborts this operation.
7 The machine is now asking you to name this F-Code box. The LCD shows:
03:Box Name;Upper
or
03:Box Name;Upper Muratec America_
If you do not want to enter or change this F-Code box's name, skip to step 9. If you do want to enter or change this F-Code box's name, go on to step 8.
8 Enter the name the same way you entered your fax name during EasyStart. An F-Code box's name can be up to 16 characters in length.
Important: As in EasyStart, enter letters and other non-numeric characters through the one-touch keys.
03:Box Name;Upper
The word "Upper" means the machine is currently set for entering only uppercase letters. If you press R, the machine will see it as an R (not an r ).
To enter a lower-case letter, press ALPHABET. The display changes to:
03:Box Name;Lower
This means pressing one-touch keys will enter lower-case letters. For example, pressing R, will produce an r (not an R ) on the display.
To switch back for upper-case entries, press ALPHABET.
Use the one-touch keypad to enter spaces, punctuation and symbols.
You can also use the CODE function to enter characters. Please review the explanation on page 2.2.
Note: To erase characters, press CANCEL to erase to the left. To change just one character in the name, press to move the cursor left, or /PROGRAM to move it right. Press CANCEL to erase the character. Then re-enter the name correctly.
9 Press ENTER to save the box's name and continue. The LCD shows:
03:Sub-Address No.
or
03:Sub-Address No. 123456_
The fax machine now asks for this F-Code box's sub-address. This is the numerical identifier you must enter in order to communicate with any remote F-Code compatible fax.
If you do not want to change an existing sub-address, skip to step 11.
10 Use the numeric keypad to enter the sub-address to identify this F-Code box. The sub-address can be up to 20 characters in length and include any combination of numbers and the * and # characters (but no other non-numeric characters).
03:Sub-Address No. 654321_
Note: No other F-Code box in this machine can have the same sub-address as the one you enter here.
Note: To erase characters, press CANCEL to erase to the left.
To change just one number, press to move the cursor left, or
/PROGRAM to move it right. Press CANCEL to erase the character.
Then re-enter the number correctly.
11 Press ENTER to save the sub-address.
Note: If you entered a sub-address already being used by another F-Code box, the machine beeps and briefly displays:
03:Enter Sub-Address
Sub-Address In Use
The machine now returns you to step 10. Please enter a different number for your F-Code box's sub-address.
12 Next, the machine asks for your F-Code box's password. This is the password for ITU-T-compatible F-Code fax transactions. The LCD shows:
03:Password
or
03:Password
123456789*
Note: You don't need to have a password for the F-Code box. However, using a password will make your F-Code communication much more secure.
If you do not want to enter or change this box's password, skip to step 14.
13 Use the numeric keypad to enter this box's ITU-T-compatible password. This password can be up to 20 characters in length and include any combination of numbers and the * and # characters (but no other non-numerical characters). Here, we've entered 135^*7#9 .
03:Password
135*7#9_
Note: To erase characters, press CANCEL to erase to the left. To change just one character in the password, press to move the cursor left, or /PROGRAM to move it right. Press CANCEL to erase the character. Then re-enter the password correctly.
Note: You cannot change the type of an existing F-Code box. If you're modifying an existing F-Code box and want to change the box type, you first must erase the old box, then create a new one.
14 Press ENTER to save the password. The LCD now shows:
Box Type: Bulletin
Program/Enter
The fax machine is asking which box type you want to assign to this box — bulletin, security or relay.
Press or /PROGRAM until the type of box you want appears.
15 Press ENTER.
If you chose Bulletin, go on to step 16.
If you chose Security, skip to step 17.
If you chose Relay, skip to step 20.
If you chose Bulletin:
16 The bulletin box has four additional settings:
- Reception protection ("Rx Protect" on the LCD)
Automatic printing of received documents ("Auto Print")
Overwriting documents ("Overwrite Doc.")
Erasure of transmitted documents ("Erase Tx Doc.")
Rx Protect — Reception protection tells this box if it's okay to receive documents from remote locations. Callers can then poll these documents.
Rx Protect: Off
Program/Enter
On: Open this box to receive documents from callers.
Off: Do not open this box to receive documents from callers.
Press or /PROGRAM until the mode you want appears.
Then press ENTER to save the setting and go on to the next one.
Auto Print — Automatic printing of received documents tells the fax machine if it should print a document automatically upon receiving it into this box.
Note: This setting is available only when the reception protection setting is set to off(see above).
Auto Print: Off
Program/Enter
On: Print the document automatically when the box receives it.
Off: Print the document manually, when you want to print it.
Press or /PROGRAM until the mode you want appears.
Then press ENTER to save the setting and go on to the next one.
Overwrite Doc - Overwriting documents tells your machine if it should overwrite (erase) existing documents when it receives a new one.
Note: This setting is available only when the reception protection setting is set to off (see Rx Protect on page 2.36).
Overwrite Doc.: Off Program/Enter
On: When your machine receives a new document into this box, it will erase any documents currently stored in it.
Off: When your machine receives a new document into this box, it will not erase the documents stored in it. Your machine can store up to 30 documents (each document can include one or more pages) in each box.
Press or /PROGRAM until the mode you want appears. Then press ENTER to save the setting and go on to the nex
Erase Tx Doc — Erasure of transmitted documents tells your machine if it should erase a document from the box after a caller retrieves (polls) the document.
Erase Tx Doc.: Off Program/Enter
On: Your machine erases the document from the box as soon as it sends it. If you choose "On", this box can be polled only once per document.
Off: Your machine does not erase a document from the box when it's polled. As long as your machine holds AC power and you do not erase the document from the box, the document is available indefinitely for polling.
Press or /PROGRAM until the mode you want appears. Press ENTER to save the setting. Then skip to step 24.
If you chose Security:
17 The machine asks how long you want to keep a document stored in your machine's F-Code box. The LCD shows:
F-Code Doc Hold Time Hold Time(00-31): 00
18 Use the numeric keypad to enter a two-digit number indicating how many days (00-31), you want your fax machine to keep received documents in this F-Code box. Here, we've entered 09, for nine days:
F-Code Doc Hold Time Hold Time(00-31) :09
Note: Your fax machine can store incoming documents in F-Code boxes (up to 30 documents) as long as 31 days, after which it automatically erases the documents. But if your machine has plenty of memory, you may want to override the 31-day limit in order to keep the documents indefinitely. If so, enter 00. If you choose this, you will have to delete documents manually. (You may want to contact your authorized Muratec dealer regarding optional memory expansion.)
19 Press ENTER to save the settings. Skip to step 24.
If you chose Relay:
20 The machine asks for the fax number for the remote "hub" unit. The LCD shows:
Enter Relay Number
21 Enter the fax number using a one-touch key, a speed-dial number or a call group number. You cannot use the numeric keypad to enter these numbers.
To add each fax number, press BROADCAST between each one to insert a comma, then enter the number. You can specify up to 200 numbers for a remote "hub" unit.
Enter Relay Number S001,G12_
22 Press ENTER to save the settings. The LCD shows:
Select TTI: Sender Program/Enter
The machine asks for the type of TTI you want to appear on the faxes that are relayed to other callers.
- Sender — Relay the document with hub unit's TTI (don't send your TTI).
- Both — Relay the document with both the hub unit's TTI and your TTI.
- Yours — Relay the document with your TTI instead of the hub unit's.
Press or /PROGRAM until the mode you want appears.
23 Press ENTER to save the settings. The LCD shows:
Auto Print: Off Program/Enter
On: Print the document automatically when it's received.
Off: The machine does not print it, but only relays it to the other machine.
Press or /PROGRAM until the mode you want appears.
Then press ENTER to save the settings and go on to step 24.
24 The machine asks for your F-Code box's four-digit security I.D. code. This is the I.D. code for the box's security, which you use to (1) print a document any remote F-Code-compatible fax sends to this F-Code box or (2) you enter before you can make any changes to this F-Code box.
03:Set F-Code Box Enter I.D. Code:0000
If you do not want to change the I.D. code, skip to step 27.
25 Decide on a four-digit I.D. code (0001-9999) for this F-Code box. Write it down, and put it in a safe place.
Important: Do not use 0000 as an I.D. code.
26 Use the numeric keypad to enter the four-digit I.D. code for this F-Code box.
Important: After completing this step, you must know this code to print documents sent to this F-Code box. Be sure to write it down.
27 Press ENTER to save the F-Code box information.
To create or modify another F-Code box, repeat steps 3-27. To finish, press STOP.
Printing a list of F-Code boxes
The list of F-Code boxes includes:
(1) Each box's identifier number
(2) Box name (if any)
(3) Sub-address
(4) Password
(5) Box type
(6) Each box's settings
To print a list of your F-Code boxes, press /PROGRAM, P, 2, ENTER.
Printing a list of documents stored in your F-Code boxes
The list of documents stored in your machine's F-Code boxes includes:
(1) Each box's identifier number
(2) Box name (if any)
(3) Box type
(4) Each file number (or document number) that is stored
To print a list of documents stored in F-Code boxes, press /PROGRAM, P, 3, ENTER.
Using a bulletin box
Storing a document
Your fax machine can store up to 30 documents in each bulletin box.
Note: For this operation to work, two things must be true:
- The bulletin box must exist on your fax machine.
- You must know the bulletin box's two-digit number (01-50) and four-digit I.D. code. (See "Creating or Modifying an F-Code box", if necessary.)
To store a document in a bulletin box for polling.
1 Insert the document and make any necessary adjustments.
Press /PROGRAM, P, 7, ENTER The LCD shows:
Select F-Code Box 01:No Number Stored
or
Select F-Code Box 01:Murata Machinery
3 Use the numeric keypad to enter the two-digit identifier number (01-50) of the F-Code box where you want to store the document. Here, we've entered 0, 3:
Select F-Code Box 03:Muratec America
4 If you want to use a different F-Code box than the one that appears on the LCD, enter the box number now.
5 Press ENTER. The LCD shows:
03:Set F-Code Doc. Enter I.D. Code:****
6 Use the numeric keypad to enter the four-digit I.D. code. Here, we've entered 2345:
03:Set F-Code Doc. Enter I.D. Code:2345
7 Press ENTER. If you've entered an incorrect I.D. code, your fax machine rejects the attempt and returns to standby mode. If you've entered the correct I.D. code, the display shows:
Overwrite Doc.: Off Program/Enter
If you choose:
On: Your bulletin box erases the currently stored document when a new document is stored in it
Off: Your bulletin box keeps both the currently stored document and the new document, up to 30 documents in each box.
Press or /PROGRAM until the mode you want appears.
9 Press ENTER to save the setting. Your machine starts scanning the document into the selected bulletin box:
F-Code Doc. File:1
A4 Memory100%
Important: The file number (shown above as 1) tells you how many documents are in this bulletin box. Your machine numbers files 1-30. You need to know the file's number to erase or print it.
Printing a document stored in a bulletin box
You can print a document stored in your machine's F-Code bulletin boxes without erasing the document from memory.
To print a stored document:
1 Press /PROGRAM, P, 4, ENTER The LCD shows:
Select F-Code Box 01:Murata Machinery
2 Use the numeric keypad to enter the two-digit number (01-50) of the F-Code bulletin box that stores the document you want to print. We've entered 03:
Select F-Code Box 03:Muratec America
3 Press ENTER. The LCD shows:
03:Print F-Code Doc. Enter I.D. Code:****
4 Use the numeric keypad to enter your F-Code box's four-digit I.D. code. Here we've entered 2345:
03:Print F-Code Doc. Enter I.D. Code:2345
5 Press ENTER. If you've entered an incorrect I.D. code, your fax machine rejects the attempt and aborts this operation. If you've entered the correct I.D. code, the display shows:
03:Print F-Code Doc. File No.
6 Use the numeric keypad to enter the file number (1-30) of the document you want to print. Here we've entered 3.
03:Print F-Code Doc. File No. 3_
Note: If you want to print all documents stored in the bulletin box, simply enter O (zero).
7 Press ENTER. Your fax machine prints the chosen document(s), then returns to standby mode.
Note: If the F-Code box is not storing any documents, the machine briefly displays the following before returning to standby mode:
03:Print F-Code Doc. No Document Stored
Erasing a document stored in a bulletin box
To erase a stored document:
Press /PROGRAM, P, 6, ENTER The LCD shows:
Select F-Code Box 01:Murata Machinery
2 Use the numeric keypad to enter the two-digit number (01-50) of the F-Code bulletin box that stores the document you want to erase. We've entered 03:
Select F-Code Box 03: Muratec America
3 Press ENTER. The LCD shows:
03: Erase F-Code Doc. Enter I.D. Code:****
Note: If the F-Code box is not storing any documents, the machine briefly displays the following before returning to step 2:
Select F-Code Box No Document Stored
4 Use the numeric keypad to enter your F-Code box's four-digit I.D. code. Here we've entered 2345:
03: Erase F-Code Doc. Enter I.D. Code: 2345
5 Press ENTER. If you've entered an incorrect I.D. code, your fax machine rejects the attempt and aborts this operation. If you've entered the correct I.D. code, the display shows:
03:Erase F-Code Doc. File No.
6 Use the numeric keypad to enter the file number (1-30) of the document you want to erase. Here we've entered 3.
03: Erase F-Code Doc.
File No. 3_
Note: If you want to erase all documents stored in the bulletin box, enter 0 (zero).
7 Press ENTER. The LCD shows:
03: Erase F-Code Doc. Check Stop/Enter
Note: If you want to quit without erasing any document in the bulletin box, press STOP. The machine will return to standby mode.
Note: If the F-Code box is not storing any documents, the machine briefly displays the following and then returns to standby mode:
03:Erase F-Code Doc.
No Document Stored
Press ENTER to erase the document(s) and to return to standby mode.
03: Erase F-Code Doc.
** Complete **
Using a security box
Printing a document you receive
When your fax machine receives a document via ITU-T sub-addressing to an F-Code security box, your machine prints a message to let you know. The message lists: (1) the F-Code box number that received the document, (2) the Box name, (3) the remote machine's TTI (if any), and (4) the file numbers stored in the F-Code box. You then have a certain number of days (see page 2.30) in which to print out the document before your machine automatically erases it.
Note: For this operation to work, two things must be true:
- You must know the F-Code security box's two-digit number.
- You must know the F-Code security box's four-digit I.D. code.
To print a received message:
1 Press /PROGRAM, P, 4, ENTER The LCD shows:
Select F-Code Box 01:Murata Machinery
2 Use the numeric keypad to enter the two-digit number (01 - 50) of the F-Code security box that holds the documents you want to print. We've entered 03:
Select F-Code Box 03:Muratec America
3 Press ENTER. The LCD shows:
03:Print F-Code Doc. Enter I.D. Code:****
4 Use the numeric keypad to enter your F-Code box's four-digit I.D. code. Here we've entered 2345:
03:Print F-Code Doc. Enter I.D. Code:2345
5 Press ENTER.
- If you've entered the correct I.D. code, your fax machine prints all documents in the F-Code security box and then erases them.
- If you've entered an incorrect I.D. code, your fax machine aborts the operation and returns to standby mode.
Note: If the F-Code security box is not storing any documents, the machine briefly displays the following before returning to standby mode:
03:Print F-Code Doc. No Document Stored
Using a relay box
Once your fax machine receives a document via ITU-T sub-addressing to one of its F-Code relay boxes, it sends it to the other fax machines that you've set up on your relay box. (See "Creating or Modifying an F-Code box", page 2.35)
If you set the Auto print mode to on when you created the relay box, your machine will print the received document, then relay it to the other machine. Otherwise, your machine will only relay it to the other machines, not print it. See page 2.36 for more details on this setting.
Also, you can send (relay broadcast initiation) the document to another hub machine's F-Code box and get that machine to relay it to others. See "F-Code transmission" on page 2.42 for more detail.
The hub performs a relay broadcast, and the machine which sends the original document to the hub has performed a relay broadcast initiation.
Erasing an empty F-Code box
An F-Code box must be empty in order to erase it. (If you select an F-Code box in these steps which is not empty, the machine beeps. If this happens, print all documents in that box before erasing it.)
To erase an empty F-Code box:
1 Press /PROGRAM, P, 5, ENTER. The LCD shows:
Select F-Code Box 01:No Number Stored
or
Select F-Code Box 01:Murata Machinery
2 Use the numeric keypad to enter the two-digit identifier number (01-50) of the F-Code box you want to erase. Here, we've entered 0, 3 and see:
Select F-Code Box 03:Muratec America
3 If you want to erase a different F-Code box than the one that appears on the LCD, enter the box number now.
4 Press ENTER. If the F-Code box is empty, the LCD shows:
03:Erase F-Code Box Enter I.D. Code:***
Important: If you select an F-Code box which is not empty, the machine beeps and, before returning to step 3, briefly displays:
Select F-Code Box Box In Use
Print any documents received in the F-Code box, then repeat this procedure from the beginning to erase the box. Otherwise, select another F-Code box.
5 Use the numeric keypad to enter the four-digit I.D. code. Here, we've entered 2345:
03:Erase F-Code Box Enter I.D. Code:2345
6 Press ENTER.
If you've entered an incorrect I.D. code, your fax machine rejects the attempt and returns to standby mode.
If you've entered the correct I.D. code, the display shows:
03:Erase F-Code Box Check Program/Enter
Note: If you want to quit without erasing the F-Code box you've selected, press /PROGRAM. The fax will return to step 2.
Note: If you want to quit without erasing any F-Code box, press STOP. The machine returns to standby mode.
7 Press ENTER to erase the F-Code box.
03:Erase F-Code Box ** Complete **
To erase another F-Code box, repeat steps 2-7. To finish, press STOP.
F-Code transmission and polling
With F-Code, your machine can send secure transmissions, perform relay broadcast initiations and even poll from other ITU-T-equipped machines, regardless of manufacturer.
You can do this two ways:
- Using the programmable one-touch key (see pages 2.44-2.57)
- Entering the ITU-T sub-address and password directly, which is what we'll describe here.
Note: For F-Code communication to work, three things must be true:
- The remote fax machine must support ITU-T sub-addressing
- The remote fax must have a mailbox with an ITU-T sub-address created on it
- You must know the ITU-T sub-address and password (if any) for the remote machine's mailbox
F-Code transmission
1 Insert the document.
2 Adjust the resolution and contrast if necessary.
3 If you want to toggle between manual transmission and memory transmission, press MEMORY TRANSMIT.
4 Press COM-OPTIONS five times and then press ENTER.
Enter Sub-Address
Use the numeric keypad to enter the appropriate sub-address in the remote machine. In this example, we've entered 123456.
Enter Sub-Address 123456_
Note: If you make a mistake, press CANCEL to erase the character, then enter the correct number.
6 Press ENTER. The LCD shows:
Enter Password
Note: If this sub-address does not have a password, skip to step 8.
7 Use the numeric keypad to enter the password. In this example, we've entered 654321.
Enter Password 654321_
8 Press ENTER. The LCD shows:
Enter Fax Number
9 Enter the fax number either by pressing a one-touch key, entering a speed-dial number or dialing from the numeric keypad. Do not press START.
10 What you do now depends on when you want the transmission to begin.
To have it begin now, skip to step 13.
To delay it, go on to step 11.
11 Press COM-OPTIONS, ENTER. The LCD shows:
Delayed Enter Time: 15/17:05
12 Use the numeric keypad to enter the day and time when the transmission should begin, then press ENTER.
13 Press START.
If in step 10 you chose an immediate transmission, your fax machine begins dialing. If you chose a delayed command, the machine shows "Reserved" on the LCD, indicating that it has stored the command in memory and will complete it later.
F-Code polling
1 Press COM-OPTIONS six times and then press ENTER.
Enter Sub-Address
2 Use the numeric keypad to enter the appropriate sub-address. In this example, we've entered 123456.
Enter Sub-Address 123456_
Note: If you make a mistake, press CANCEL to erase the character, then enter the correct number.
3 Press ENTER. The LCD shows:
Enter Password
Note: If this sub-address does not have a password, skip to step 5.
4 Use the numeric keypad to enter the password. In this example, we've entered 654321.
Enter Password 654321_
5 Press ENTER. The LCD shows:
Enter Fax Number
6 Enter the fax number either by pressing a one-touch key, entering a speed-dial number or dialing from the numeric keypad. Do not press START.
7 What you do now depends upon when you want the polling to begin.
- To have it begin now, skip to step 10.
To delay it, go on to step 8.
Press COM-OPTIONS, ENTER. The LCD shows:
Delayed Enter Time: 15/17:05
9 Use the numeric keypad to enter the day and time when the polling should begin, then press ENTER.
10 Press START.
If in step 7 you chose an immediate polling, your fax machine begins dialing. If you chose a delayed command, the machine shows "Reserved" on the LCD, indicating that it has stored the command in memory and will complete it later.
Programmable one-touch keys
Using the power of programmable one-touch keys
In order to complete some operations on your machine, you may have to follow several steps and press several different buttons. But programming your machine's one-touch keys (65-72) can reduce those many steps to a simple press of a key. You can "teach" the one-touch keys to carry out any of the following operations:
Communications functions:
- Delayed transmission (explained on pages 2.17-2.19)
- Broadcasting (pages 2.16)
- Regular polling (not continuous) (pages 2.29-2.31)
- Batch transmission (pages 2.20-2.23)
F-Code transmission (pages 2.42-2.43)
F-Code polling (page 2.43)
Printouts:
One-touch numbers list(pages 2.11)
- Speed-dial numbers list (pages 2.14)
- Programmable one-touch numbers list (pages 2.57)
- Soft Keys list (pages 2.24)
- Delayed commands list (pages 2.19)
Activity journal (pages 2.27)
- Call group directory (pages 2.14)
- Settings list (pages 2.6)
- Blocked numbers list (pages 2.64)
Sample cover page (pages 2.26)
Department time list (pages 2.66)
- Batch box list (pages 2.21)
- List of stored batch documents (pages 2.21)
- List of F-Code boxes (pages 2.38)
- List of documents stored in F-Code boxes (pages 2.38)
Document storage:
- Regular polling documents (pages 2.29)
F-Code polling documents (pages 2.43)
To "teach" these keys, you tell the machine four simple things:
- How — The key you're programming
Who - The number(s) the machine should dial - What - The operation it should perform
- When — The date(s) and time(s) when you want it to perform the operation
Programming a delayed transmission
To program a delayed transmission into a programmable one-touch key:
1 Press /PROGRAM, C, 1, ENTER. The LCD shows the first empty programmable one-touch number available:
Select Program No. 65:No Number Stored
Note: If a programmable one-touch number other than 65 appears on the LCD, it means that you have already entered a number for 65.
Note: To erase a programmable one-touch key, see page 2.57.
2 Press the key that you want to program or change. Here, we've selected 68.
Select Program No. 68:No Number Stored
Note: If you're changing a previously stored command: If your previous command for this key was a for a delayed operation, and you want to keep this key programmed for a delayed operation, use these instructions to make changes. But if you want to assign this key to a completely different operation (to Broadcast, for example), then you must first erase the stored command before programming the new one.
3 If you want to select a different programmable one-touch key than what appears on the LCD, press that key now.
4 Press ENTER. The LCD asks for the type of operation you want to program into the programmable one-touch:
68: Type: Comm. Program/Enter
Note: If you're changing a previously stored command, skip to step 7.
Press /PROGRAM repeatedly until "Comm." appears.
68: Type: Comm. Program/Enter
6 Press ENTER. The LCD now shows either:
68:Fax#/Com-Options
or 68:Fax#/Com-Options 9-5558743
7 Use the numeric keypad to enter the number exactly as your machine should dial it, including whatever codes your phone system requires. The number can be up to 40 characters in length:
68:Fax#/Com-Options 9-5550629_
Your display can show only 20 characters at a time. To view characters beyond those 20, press to scroll to the left or /PROGRAM to scroll to the right.
Important: Do not press ENTER.
Note: To erase characters, press CANCEL to erase to the left. If you want to change just one character in the number, press to move the cursor left, or /PROGRAM to move it right. Press CANCEL to erase it. Then re-enter the number correctly.
8 Now, while you can still see the fax number on the LCD, press COM-OPTIONS, ENTER. The LCD shows:
Delayed Enter Time: 11/20:30
9 Next, tell your fax to carry out this delayed command one of these ways:
Option 1: Perform the command once at a certain time on a certain day of the month. (For example, "Do this at 5:05 PM on the 30th.") To select this option, use the numeric keypad to enter the date and time when the fax should perform the command:
Delayed Enter Time: 30/17:05
Option 2: Perform the command at a certain time each day you press the key. (For example, "Do this at 5:05 PM today.") To select this option, use the numeric keypad to enter 0, 0 and then the time the fax should perform the command:
Delayed Enter Time: 00/17:05
10 Press ENTER, ENTER. The LCD asks if you want to make additional settings for this programmable one-touch number.
68: Option: Off Program/Enter
If you do not want to make additional settings, press ENTER. Skip to step 26. If you do want to make additional settings, press /PROGRAM and ENTER.
11 The LCD asks which resolution you want to use for this programmable one-touch number.
68: Primary: --- Program/Enter
12 Press /PROGRAM until the mode you want appears.
Note: For any of the following settings, choosing "---" tells the machine to use its default setting for this programmable one-touch key.
13 Press ENTER. The LCD asks you to select a contrast mode for each programmable one-touch number.
68: Contrast: --- Program/Enter
14 Press /PROGRAM until the mode you want appears.
15 Press ENTER. The LCD asks if you want the confirmation stamp on or off when using this programmable one-touch number.
68: Stamp: --- Program/Enter
16 Press /PROGRAM until the mode you want appears.
17 Press ENTER. The LCD asks if you want the memory transmission on or off when using this programmable one-touch number.
68:Memory Tx:- Program/Enter
18 Press /PROGRAM until the mode you want appears.
19 Press ENTER. The LCD asks you for the type of confirmation report you want to set for this programmable one-touch number.
68: Conf.Report: --- Program/Enter
20 Press /PROGRAM until the mode you want appears.
21 Press ENTER. The LCD asks if you want to send a cover page for this programmable one-touch number.
68: Cover Page: --- Program/Enter
22 Press /PROGRAM until the mode you want appears.
23 Press ENTER. The LCD asks if you want to turn the Copy & Fax feature on or off for this programmable one-touch number.
68: Copy&Fax: --- Program/Enter
24 Press /PROGRAM until the mode you want appears.
25 Press ENTER.
26 The LCD now displays the next programmable one-touch key. If you do not want to enter or change any other key's programming, press STOP. Your machine returns to standby mode. If you do want to enter or change this key's programming, go back to step 4. If you want to enter or change another key's programming, go back to step 2.
Programming a broadcast / group
Programming a broadcast is very similar to programming a delayed transmission. But instead of sending to just one phone number, you set up multiple numbers for the transmission.
To program a broadcast / group into a programmable one-touch key:
1 Press /PROGRAM, C, 1, ENTER. The LCD shows the first empty programmable one-touch number available:
Select Program No. 65:No Number Stored
Note: If a programmable one-touch number other than 65 appears on the LCD, it means that you have already entered a number for 65.
Note: To erase a programmable one-touch key, see page 2.57.
2 Press the key you want to program or change. Here, we've selected 66.
Select Program No. 66:No Number Stored
Note: If your previous command for this key was for a broadcast / group transmission and you want to keep this key programmed for a broadcast / group transmission, use these instructions to make changes. But if you want to assign this key to a completely different operation (for a delayed transmission, for example), then you first must erase the stored command before programming the new one.
3 If you want to select a different programmable one-touch key than the one that appears on the LCD, press that key now.
4 Press ENTER. The LCD asks for the type of operation you want to program into the one-touch:
66: Type: Comm. Program/Enter
Note: If changing a previously stored command, skip to step 7.
Press /PROGRAM until "Comm." appears.
66: Type: Comm. Program/Enter
6 Press ENTER. The LCD now shows either
66:Fax#/Com-Options
66:Fax#/Com-Options 9-5558743_
7 Use the numeric keypad to enter up to 230 fax numbers — you can use any combination of call groups, one-touch keys, speed-dial numbers and manually-dialed numbers.
Important: Do not press ENTER.
Press BROADCAST to enter a comma between each number or call group.
Important: Do not insert a comma after the last number.
To enter a speed-dial number, press SPEED DIAL/TEL INDEX and the number's three-digit identifier.
To enter a call group, press GROUP DIAL and the group's identifier number.
66:Fax#/Com-Options G5,G7,[01],S006,9-55
Your display can show only 20 characters at a time. To view characters beyond those 20, press to scroll to the left or /PROGRAM to scroll to the right.
Note: To erase characters, press CANCEL to erase to the left.
To change just one character in the number, press to move the cursor left, or /PROGRAM to move it right. Press CANCEL to erase it.
Then re-enter until the number correctly.
8 If you want the broadcast to begin immediately every time you press the key, press ENTER and skip to step 11. If you want to delay the broadcast, press COM-OPTIONS, ENTER.
9 Next, tell your fax to carry out this delayed command one of these ways:
Option 1: Perform the command once at a certain time on a certain day of the month. (For example, "Do this at 5:05 PM on the 30th.") To select this option, use the numeric keypad to enter the date and time when the fax should perform the command:
Delayed Enter Time: 30/17:05
Option 2: Perform the command at a certain time each day you press the key. (For example, "Do this at 5:05 PM today.") To select this option, use the numeric keypad to enter 0, 0 and then the time the fax should perform the command:
Delayed Enter Time: 00/17:05
10 Press ENTER, ENTER.
11 The LCD asks if you want to program additional settings for this one-touch.
68: Option: Off Program/Enter
If you do not want to program additional settings, press ENTER. Then skip to step 25.
If you do want to program additional settings, press /PROGRAM and ENTER.
12 The LCD asks which resolution you want to set for this one-touch number.
68: Primary: --- Program/Enter
13 Press /PROGRAM until the mode you want appears.
Note: For any of the following settings, choosing "---" tells the machine to use its default setting for this one-touch key.
14 Press ENTER. The LCD asks you to select a contrast mode for this programmable one-touch number.
68: Contrast: --- Program/Enter
15 Press /PROGRAM until the mode you want appears.
16 Press ENTER. The LCD asks is you want the confirmation stamp on or off for this programmable one-touch number.
68: Stamp: --- Program/Enter
17 Press /PROGRAM until the mode you want appears.
18 Press ENTER. The LCD asks you for the type of confirmation report you want to set for this programmable one-touch number.
68: Conf.Report: --- Program/Enter
19 Press /PROGRAM until the mode you want appears.
20 Press ENTER. The LCD asks if you want to send a cover page for this programmable one-touch number.
68: Cover Page: --- Program/Enter
21 Press /PROGRAM until the mode you want appears.
22 Press ENTER. The LCD asks if you want to turn the Copy & Fax feature on or off for this programmable one-touch number.
68: Copy&Fax: --- Program/Enter
23 Press /PROGRAM until the mode you want appears.
24 Press ENTER.
25 The LCD now displays the next programmable one-touch key. If you do not want to enter or change any other key's programming, press STOP. Your machine returns to standby mode. If you do want to enter or change this key's programming, go back to step 4. If you want to enter or change another key's programming, go back to step 2.
Programming regular polling
Note: You cannot program continuous polling into a programmable one-touch key. For more information on continuous polling, see page 2.30.
To program a regular polling operation into a programmable one-touch key:
Press /PROGRAM, C, 1, ENTER. The LCD shows an empty programmable one-touch number:
Select Program No. 65:No Number Stored
Note: If a programmable one-touch number other than 65 appears on the LCD, it means that you have already entered a number for 65.
Note: To erase a programmable one-touch key, see page 2.57.
2 Press the key that you want to program or change. Here, we've selected 72.
Select Program No. 72:No Number Stored
Note: If your previous command for this key was for a polling transmission and you want to keep this key programmed for a polling transmission, use these instructions to make changes. But if you want to assign this key to a completely different operation (for a delayed transmission, for example), then you first must erase the stored command before programming the new one.
3 If you want to select a different programmable one-touch key than the one that appears on the LCD, press that key now.
4 Press ENTER. The LCD asks for the type of operation you want to program into the programmable one-touch:
72: Type: Comm. Program/Enter
Note: If changing a previously stored command, skip to step 7.
5 Press /PROGRAM until "Comm." appears.
72: Type: Comm. Program/Enter
6 Press ENTER. The LCD now shows either:
72:Fax#/Com-Options
72:Fax#/Com-Options 9-5558743_
7 Use the numeric keypad to enter the number exactly as your machine should dial it, including whatever codes your phone system requires. The number can be up to 40 characters in length:
72:Fax#/Com-Options 9-5550696_
Your display shows only 20 characters at a time. To view characters beyond those 20, press to scroll to the left or /PROGRAM to scroll to the right.
Important: Do not press ENTER.
Note: To erase characters, press CANCEL to erase to the left.
To change just one character in the number, press to move the cursor left, or /PROGRAM to move it right. Press CANCEL to erase it.
Then re-enter the number correctly.
8 Next, while you can still see the fax number on the LCD, press COM-OPTIONS twice and then press ENTER.
9 If you want the polling to begin immediately every time you press the key, press ENTER and skip to step 12.
If you want to delay the polling, press COM-OPTIONS, ENTER.
10 Next, tell your fax to carry out this delayed command one of these ways:
Option 1: Perform the command once at a certain time on a certain day of the month. (For example, "Do this at 5:05 PM on the 30th.") To select this option, use the numeric keypad to enter the date and time when the fax should perform the command:
Delayed
Enter Time: 30/17:05
Option 2: Perform the command at a certain time each day you press the key. (For example, "Do this at 5:05 PM today.")
To select this option, use the numeric keypad to enter 0, 0 and then the time the fax should perform the command:
Delayed
Enter Time: 00/17:05
11 Press ENTER, ENTER.
12 The LCD now displays the next programmable one-touch key. If you do not want to enter or change any other key's programming, press STOP. Your machine returns to standby mode.
If you do want to enter or change this key's programming, go back to step 4. If you want to enter or change another key's programming, go back to step 2
Programming a batch transmission
For this operation to work, two things must be true:
- The batch box you're using must exist on your fax machine.
- You must know the batch box's identifier number (1-5).
To program a batch transmission into a programmable one-touch key:
1 Press /PROGRAM, C, 1, ENTER. The LCD shows the first empty programmable one-touch number available:
Select Program No.
65:No Number Stored
Note: If a programmable one-touch number other than 65 appears on the LCD, it means that you have already entered a number for 65.
Note: To erase a programmable one-touch key, refer to page 2.57.
2 Press the key that you want to program or change. Here, we've selected 67.
Select Program No.
67:No Number Stored
Note: If your previous command for this key was for a batch transmission and you want to keep this key programmed for a batch transmission, use these instructions to make changes. But if you want to assign this key to a completely different operation (for a delayed transmission, for example), then you first must erase the stored command before programming the new one.
3 If you want to select a different programmable one-touch key than the one that appears on the LCD, press that key now.
4 Press ENTER. The LCD asks for the type of operation you want to program into the programmable one-touch:
67: Type: Comm. Program/Enter
Note: If changing a previously stored command, skip to step 7.
Press /PROGRAM until "Comm." appears.
67: Type: Comm. Program/Enter
6 Press ENTER. The LCD now shows either
67:Fax#/Com-Options
or
67:Fax#/Com-Options 9-5558743_
Note: Do not enter any characters here. If you do, you can't program a batch transmission into this key. If you accidentally enter characters here, press CANCEL as many times as needed to erase all of them before you go on to step 7.
Note: If this key already holds a batch transmission, skip to step 8.
7 Press COM-OPTIONS three times and then press ENTER. The LCD shows:
Batch Tx Enter Box No.
8 Use the numeric keypad to enter the one-digit identifier for the batch box you want to assign to this one-touch key. Here, we've entered 5:
Batch Tx Enter Box No. 5_
Note: To change an identifier already entered, press CANCEL to erase it. Then re-enter the correct identifier.
9 Press ENTER.
10 The LCD asks if you want to program additional settings for this programmable one-touch number.
67: Option: Off Program/Enter
If you do not want to program additional settings, press ENTER and then skip to step 22.
If you do want to program additional settings, press /PROGRAM and ENTER.
11 The LCD asks which resolution you want to set for this programmable one-touch number.
67: Primary: --- Program/Enter
12 Press /PROGRAM until the mode you want appears.
Note: For any of the following settings, choosing “---” tells the machine to use its default setting for this one-touch key.
13 Press ENTER. The LCD asks which contrast mode you want when using this programmable one-touch number.
67: Contrast: --- Program/Enter
14 Press /PROGRAM until the mode you want appears.
15 Press ENTER. The LCD asks if you want the confirmation stamp on or off when using this programmable one-touch number.
67: Stamp: --- Program/Enter
16 Press /PROGRAM until the mode you want appears.
17 Press ENTER. The LCD asks if you want to send a cover page when using this programmable one-touch number.
67: Cover Page: --- Program/Enter
18 Press /PROGRAM until the mode you want appears.
19 Press ENTER. The LCD asks if you want the Copy & Fax feature on or off when using this programmable one-touch number.
67: Copy&Fax: --- Program/Enter
20 Press /PROGRAM until the mode you want appears.
21 Press ENTER.
22 The LCD now displays the next programmable one-touch key. If you do not want to enter or change any other key's programming, press STOP to return your machine to standby mode. If you do want to enter or change this key's programming, go back to step 4. If you want to enter or change another key's programming, go back to step 2.
Programming an F-Code transmission
For this operation to work, two things must be true:
- You must know how the remote fax is using each F-Code box to which you're transmitting — for example, as a security box or a relay box. Different fax manufacturers may use slightly different terms, but the concepts are the same.
- You must know the remote fax's ITU-T sub-address and password for each box to which you want to transmit.
To program an F-Code transmission into a programmable one-touch key:
1 Press /PROGRAM, C, 1, ENTER. The LCD shows the first empty programmable one-touch number available:
Select Program No. 65:No Number Stored
Note: If a programmable one-touch number other than 65 appears on the LCD, it means that you have already entered a number for 65.
Note: To erase a programmable one-touch key, see page 2.57.
2 Press the key you want to program or change. Here, we've selected 70.
Select Program No. 70:No Number Stored
Note: If your previous command for this key was for an F-Code transmission and you want to keep this key programmed for an F-Code transmission, use these instructions to make changes. But if you want to assign this key to a completely different operation (for a delayed transmission, for example), then you first must erase the stored command before programming the new one.
3 If you want to select a different programmable one-touch key than the one that appears on the LCD, press that key now.
4 Press ENTER. The LCD asks for the type of operation you want to program into the one-touch:
70: Type: Comm. Program/Enter
Note: If changing a previously stored command, skip to step 7.
Press /PROGRAM until "Comm." appears.
70: Type: Comm. Program/Enter
6 Press ENTER. The LCD now shows either:
70:Fax#/Com-Options
or 70:Fax#/Com-Options 9-5558743_
7 Use the numeric keypad to enter the number exactly as your machine should dial it, including whatever codes your phone system requires. The number can be up to 40 characters in length:
70:Fax#/Com-Options 9-5558422_
Your display shows only 20 characters at a time. To view characters beyond those 20, press to scroll to the left or /PROGRAM to scroll to the right.
Important: Do not press ENTER.
Note: To erase characters, press CANCEL to erase to the left. To change just one number, press to move the cursor left, or /PROGRAM to move it right. Press CANCEL to erase it. Then re-enter the number correctly.
8 Now, while you still can see the fax number on the LCD, press COM-OPTIONS three times and then press ENTER. The LCD shows:
Enter Sub-Address
9 Use the numeric keypad to enter the ITU-T sub-address for the box to which you want to send the document. Here, we've entered 123456:
Enter Sub-Address 123456_
10 Press ENTER. The LCD shows:
Enter Password
Note: If there isn't a password for this box, press ENTER, then skip to step 12.
11 Use the numeric keypad to enter the appropriate ITU-T password for the box. Here, we've entered 654321:
Enter Password 654321_
When finished, press ENTER.
12 If you want the transmission to begin immediately every time you press the key, press ENTER and skip to step 15.
If you want to delay the transmission, press COM-OPTIONS, ENTER.
13 Next, tell your fax to carry out this delayed command one of these ways:
Option 1: Perform the command once at a certain time on a certain day of the month. (For example, "Do this at 5:05 PM on the 30th.")
To select this option, use the numeric keypad to enter the date and time when the fax should perform the command:
Delayed
Enter Time: 30/17:05
Option 2: Perform the command at a certain time each day you press the key. (For example, "Do this at 5:05 PM today.")
To select this option, use the numeric keypad to enter 0, 0 and then the time when the fax should perform the command:
Delayed
Enter Time: 00/17:05
14 Press ENTER, ENTER.
15 The LCD asks if you want to program additional settings for this programmable one-touch number:
70: Option: Off Program/Enter
If you do not want to program additional settings, press ENTER. Then skip to step 30.
If you do want to program additional settings, press /PROGRAM and ENTER.
16 The LCD asks which resolution you want when using this programmable one-touch number.
70: Primary: --- Program/Enter
17 Press /PROGRAM until the mode you want appears.
Note: For any of the following settings, choosing "---" tells the machine to use its default setting for this one-touch key.
18 Press ENTER. The LCD asks which contrast mode you want when using this programmable one-touch number.
70: Contrast: --- Program/Enter
19 Press /PROGRAM until the mode you want appears.
20 Press ENTER. The LCD asks if you want the confirmation stamp on or off when using this programmable one-touch number.
70: Stamp: --- Program/Enter
21 Press /PROGRAM until the mode you want appears.
22 Press ENTER. The LCD asks if you want the memory transmission on or off when using this programmable one-touch number.
70:Memory Tx:- Program/Enter
23 Press /PROGRAM until the mode you want appears.
24 Press ENTER. The LCD asks which confirmation report you want to receive each time you use this programmable one-touch number.
70: Conf.Report: --- Program/Enter
24 Press /PROGRAM until the mode you want appears.
25 Press ENTER. The LCD asks if you want to send a cover page each time you use this programmable one-touch number.
70: Cover Page: --- Program/Enter
26 Press /PROGRAM until the mode you want appears.
27 Press ENTER. The LCD asks if you want the Copy & Fax feature on or off each time you use this programmable one-touch number.
70: Copy&Fax: --- Program/Enter
28 Press /PROGRAM until the mode you want appears.
29 Press ENTER.
30 The LCD now displays the next programmable one-touch key. If you do not want to enter or change any other key's programming, press STOP to return your machine to standby mode. If you do want to enter or change this key's programming, go back to step 4. If you want to enter or change another key's programming, go back to step 2.
Programming F-Code polling
For this operation to work, three things must be true:
- The document which you're polling must exist in the remote fax's F-Code box (ITU-T standard sub-addressing/password box).
- You must know the remote fax's ITU-T sub-address and password (if any) for each box you want to poll.
To program an F-Code polling operating into a programmable one-touch key:
1 Press /PROGRAM, C, 1, ENTER. The LCD shows the first empty programmable one-touch number available:
Select Program No. 65:No Number Stored
Note: If a programmable one-touch number other than 65 appears on the LCD, it means that you have already entered a number for 65.
Note: To erase a programmable one-touch key, refer to page 2.57.
2 Press the key you want to program or change. Here, we've selected 71.
Select Program No. 71:No Number Stored
Note: If your previous command for this key was for an F-Code polling operation and you want to keep this key programmed for an F-Code polling operation, use these instructions to make changes. But if you want to assign this key to a completely different operation (for a delayed transmission, for example), then you first must erase the stored command before programming the new one.
3 To select a different programmable one-touch key than the one that appears on the LCD, press that key now.
4 Press ENTER. The LCD asks for the type of operation you want to program into the programmable one-touch: 71: Type: Comm. Program/Enter
Note: If changing a previously stored command, skip to step 7.
Press /PROGRAM until "Comm." appears.
71: Type: Comm. Program/Enter
6 Press ENTER. The LCD now shows either:
71:Fax#/Com-Options
or 71:Fax#/Com-Options 9-5558743
7 Use the numeric keypad to enter the number exactly as your machine should dial it, including whatever codes your phone system requires. The number can be up to 40 characters in length:
71:Fax#/Com-Options 9-5558422_
Your display shows only 20 characters at a time. To view characters beyond those 20, press to scroll to the left or /PROGRAM to scroll to the right.
Important: Do not press ENTER.
Note: To erase characters, press CANCEL to erase to the left.
To change just one character in the number, press to move the cursor left, or /PROGRAM to move it right. Press CANCEL to erase it.
Then re-enter the number correctly.
8 Now, while you can still see the fax number on the LCD, press COM-OPTIONS four times and then press ENTER. The LCD shows:
Enter Sub-Address
9 Use the numeric keypad to enter the ITU-T sub-address for the box you want to poll. Here, we've entered 123456:
Enter Sub-Address 123456_
10 Press ENTER. The LCD shows:
Enter Password
Note: If this box doesn't have a password, press ENTER. Then skip to step 12.
11 Use the numeric keypad to enter the ITU-T password for the box. Here, we've entered 654321:
Enter Password
654321_
When finished, press ENTER.
12 If you want the transmission to begin immediately every time you press the key, press ENTER and skip to step 15.
If you want to delay the transmission (perhaps to take advantage of lower phone rates), press COM-OPTIONS, ENTER.
13 Next, tell your fax to carry out this delayed command one of these ways:
Option 1: Perform the command once at a certain time on a certain day of the month. (For example, "Do this at 5:05 PM on the 30th.") To select this option, use the numeric keypad to enter the date and time when the fax should perform the command:
Delayed
Enter Time: 30/17:05
Option 2: Perform the command at a certain time each day you press the key. (For example, "Do this at 5:05 PM today.")
To select this option, use the numeric keypad to enter 0, 0 and then the time when the fax could perform the command:
Delayed
Enter Time: 00/17:05
14 Press ENTER, ENTER.
15 The LCD now displays the next programmable one-touch key.
If you do not want to enter or change any other key's programming, press STOP to return your machine to its usual standby mode.
If you do want to enter or change this key's programming, go back to step 4. If you want to enter or change another key's programming, go back to step 2
Programming printouts
To program a programmable one-touch key to print a list:
1 Press /PROGRAM, C, 1, ENTER. The LCD shows the first empty programmable one-touch number available:
Select Program No.
65:No Number Stored
Note: If a programmable one-touch number other than 65 appears on the LCD, it means that you have already entered a number for 65.
Note: To erase a programmable one-touch key, refer to page 2.57.
2 Press the key you want to program or change. Here, we've selected 68.
Select Program No.
68:No Number Stored
Note: If your previous command for this key was for printing a list and you want to keep this key programmed for printing a list, use these instructions to make changes. But if you want to assign this key to a completely different operation (for a delayed transmission, for example), then you first must erase the stored command before programming the new one.
3 To select a different programmable one-touch key than the one that appears on the LCD, press that key now.
4 Press ENTER. The LCD asks which operation you want to program into the programmable one-touch:
68:
Type: Comm.
Program/Enter
Note: If changing a previously stored command, skip to step 7.
Press /PROGRAM until "List." appears.
68:
Type: List
Program/Enter
6 Press ENTER. The LCD asks which list you want to program into the programmable one-touch:
68:Print One-Touch
Program/Enter
7 Press /PROGRAM until the list you want appears.
8 Press ENTER.
The LCD now displays the next programmable one-touch key.
If you do not want to enter or change any other key's programming, press STOP to return your machine to standby mode.
If you do want to enter or change this key's programming, go back to step 4.
If you want to enter or change another key's programming, go back to step 2.
Programming a document storage operation
To program a programmable one-touch key to store an F-Code polling document, two things must be true:
- The F-Code bulletin box must exist on your fax machine.
- You must know the F-Code bulletin box's two-digit number (01-50) and name.
To program your programmable one-touch to store a regular polling document or F-Code polling document:
1 Press /PROGRAM, C, 1, ENTER. The LCD shows the first empty programmable one-touch number available:
Select Program No.
65:No Number Stored
Note: If a programmable one-touch number other than 65 appears on the LCD, it means that you have already entered a number for 65.
Note: To erase a programmable one-touch key, see page 2.57.
2 Press the key you want to program or change. Here, we've selected 69.
Select Program No.
69:No Number Stored
Note: If your previous command for this key was to store a document and you want to keep this key programmed to store a document, use these instructions to make changes. But if you want to assign this key to a completely different operation (for a delayed transmission, for example), then you first must erase the stored command before programming the new one.
3 To select a different programmable one-touch key than the one that appears on the LCD, press that key now.
4 Press ENTER. The LCD asks what kind of operation you want to program into the programmable one-touch:
69:
Type: Comm.
Program/Enter
Note: If changing a previously stored command, skip to step 7.
Press /PROGRAM until "Store" appears.
69:
Type: Store
Program/Enter
6 Press ENTER. The LCD asks which storing menu you want to program into the programmable one-touch:
69:Store Polling Doc
Program/Enter
7 Press /PROGRAM until the mode you want appears.
Press ENTER.
If you select the "Store Polling Doc" operation, skip to step 14.
If you select the "Store F-Code Doc" operation, go on to step 9.
9 The LCD asks which F-Code bulletin box you want to use.
Select F-Code Box
01:Murata Machinery
10 Use the numeric keypad to enter the two-digit identifier number (01-50) of the F-Code box in which you want to store the document. Here, we've entered 0, 3:
Select F-Code Box
03:Muratec America
11 To select a different F-Code box than the one that appears on the LCD, enter that box number now.
12 Press ENTER. The LCD asks if you want the box to overwrite (erase) any documents it is currently storing whenever it stores a new document.
Overwrite Doc.: Off Program/Enter
On: When your machine stores a new document into this box, it will overwrite documents stored in it.
Off: When your machine stores a new document into this box, it won't erase (overwrite) any documents stored in it. Your machine can store up to 30 documents in each box (each document can include one or more pages).
13 Press /PROGRAM until the mode you want appears. Then press ENTER to save the setting.
14 The LCD asks if you want to program additional settings for this one-touch.
69: Option: Off Program/Enter
If you do not want to program additional settings, press ENTER. Go to step 22. If you do want to program additional settings, press /PROGRAM and ENTER, then go on to step 15.
15 The LCD asks which resolution you want each time you use this programmable one-touch number.
69: Primary: --- Program/Enter
16 Press /PROGRAM until the mode you want appears.
Note: For any of the following settings, choosing “---” tells the machine to use its default setting for this programmable one-touch key.
17 Press ENTER. The LCD asks which contrast mode you want each time you use this programmable one-touch number.
69: Contrast: --- Program/Enter
18 Press /PROGRAM until the mode you want appears.
19 Press ENTER. The LCD asks if you want the Copy & Fax feature on or off each time you use this programmable one-touch number.
69: Copy&Fax: --- Program/Enter
20 Press /PROGRAM until the mode you want appears.
21 Press ENTER.
22 The LCD now displays the next programmable one-touch key. If you do not want to enter or change any other key's programming, press STOP to return your machine to standby mode. If you do want to enter or change this key's programming, go back to step 4. If you want to enter or change another key's programming, go back to step 2.
Fax dialing with programmable one-touch
To dial a fax call using a programmable one-touch number:
1 Insert the document.
2 Make any necessary adjustments as usual.
3 Press the programmable one-touch key in which you've stored the fax communication command.
Your fax will perform the operation now, or at whatever time you programmed.
Note: To review the details of each operation, review the instructions for that operation. See page 2.44 for a list of each operation and where to find it.
If you programmed this key to delay its operation, the LCD shows:
** Reserved ** A4 Memory 95%
If you programmed this key to perform the operation immediately after you press it, the LCD shows the number:
9-1-972-555-4335 A4 Normal
Printing lists using programmable one-touch
To print a list using a programmable one-touch number:
Press the programmable one-touch key in which you've stored the list operation you want to print.
Storing fax documents with programmable one-touch
To store a fax document for either polling or F-Code polling using a programmable one-touch number:
1 Insert the document.
2 Make any necessary adjustments as usual.
3 Press the programmable one-touch key which is programmed for the storing operation you want to use.
Erasing a programmable one-touch key
1 Press /PROGRAM, C, 2, ENTER. The LCD shows the first programmable one-touch number that has been programmed:
Select Program No. 65:Delayed
Note: If a one-touch number other than 65 appears, it means 65 is empty.
2 Press the programmable one-touch key you want to erase. Here, we've selected 67:
Select Program No. 67: Polling
3 To erase a different programmable one-touch key than the one that appears on the LCD, press that key now.
4 Press ENTER. The LCD shows:
Erase P One-Touch Check Program/Enter
Important: If you want to quit without erasing the programmable one-touch key you've selected, press /PROGRAM. The fax will return to step 2.
5 Press ENTER to erase the number.
Erase P One-Touch ** Complete **
To erase another programmable one-touch key, repeat steps 2-5. Or press STOP to return to standby mode.
Printing a list of your programmable one-touch keys
Your fax machine can print a list of the commands you've stored in your programmable one-touch keys.
For a communications operation, the list includes:
(1) each key's one-touch number
(2) the fax/telephone number
(3) when the command should start
(4) which command you've selected
(5) if applicable, the selected call group(s) or F-Code box(es) you've stored in the key
(6) the individual settings for each key
For a list printout operation, the list includes:
(1) each key's one-touch number
(2) name of the list the key is programmed to print
For a storage operation, the list includes:
(1) each key's one-touch number
(2) which command you've selected
(3) if you selected an F-Code polling document, the selected F-Code bulletin box name and which overwrite setting you've selected
(4) the individual settings for each key.
To print a list of programmable one-touch keys, press /PROGRAM, C, 3, ENTER.
Security features
Your machine has a number of security features to keep your private fax documents private, avoid unwanted outside communication and even protect against unauthorized use of your machine.
These security features include: (1) operation protection, (2) security reception, (3) PIN mask, (4) security transmission, (5) closed network, (6) block junk fax, and (7) department codes.
The passcode
Your machine has a passcode protection system which must be turned on in order to use the security features listed above.
To set your machine's passcode:
1 Decide on the four-digit passcode (0001-9999) you want to use. Write it down, and put it in a safe place.
Important: Do not use 0000. This turns off passcode protection.
2 Press /PROGRAM, J, 1, 6, ENTER. The LCD shows:
Protect Passcode Old Passcode: ***
3 If you are creating a passcode, use the numeric keypad to enter 0000. If you are changing an existing passcode, enter the existing passcode.
4 Press ENTER.
5 Enter the new four-digit passcode. Here, we've entered 6296:
Protect Passcode New Passcode: 6296
6 Press ENTER to save the passcode.
Note: Any time you want to turn off the passcode, change the passcode back to 0000 by repeating steps 2-6 and entering 0000 in step 5.
Operation protection
Important: For this feature to work, you must have activated the passcode protection, as described in the left column.
When your machine's operation protection is activated, only users who enter the correct passcode can send faxes from it or change the machine's settings.
Activating operation protection
1 Press /PROGRAM, J, 1, 7, ENTER. The LCD shows:
Set Opr. Protect Enter Passcode: ****
2 Use the numeric keypad to enter the passcode created in "The Passcode," left column. Here, we've entered 6296:
Set Opr. Protect Enter Passcode: 6296
3 Press ENTER. The LCD shows:
Opr.Proct: Off Program/Enter
Press or /PROGRAM until the setting you want appears. Here, we've chosen "On."
Opr.Proct: On Program/Enter
5 Press ENTER to save the setting.
Using your fax machine during operation protection
1 When you press any key on your machine, the LCD shows:
Operation Protected Enter Passcode: ***
2 Use the numeric keypad to enter the four-digit passcode set in "The Passcode," page 2.58.
Operation Protected Enter Passcode: 6296
When you enter correct passcode, the machine will let you go on to the next step in your fax operation.
Note: If you start another operation while the first is still underway, the machine will require the passcode from you one more time before it continues with your new request. However, the first operation will not be affected, even if you fail to enter the correct passcode for the second entry.
Security reception
Security reception tells your machine to keep all received faxes in memory (but not print them). Then you can print them out later, at your convenience. For example, you could use this if you're concerned about workers reading documents intended for your eyes only.
Important: For this feature to work, you must have activated the passcode protection as described on page 2.58. You must also know the passcode.
Note: In the following instructions, your machine's LCD shortens the word Transmission to Tx and the word Receive to Rx.
Activating security reception
1 Press /PROGRAM, 0 [the letter O , not a zero], 1, ENTER. The LCD shows:
Set Security Rx Enter Passcode: ***
2 Use the numeric keypad to enter the protection passcode. Here, we've entered 6296:
Set Security Rx Enter Passcode: 6296
3 Press ENTER. The LCD shows:
Security Rx: Off Program/Enter
Press or /PROGRAM until the setting you want appears. Here, we've chosen "On."
Security Rx: On Program/Enter
5 Press ENTER. The LCD shows the machine's current clock setting:
Set Security Rx Enter Time: 15:42
6 If you want security reception to begin now (and at this same time every day), skip to step 9. Otherwise, go on to step 7.
7 Use the numeric keypad to enter the time (use a 24-hour format) when security reception should begin every day. "Type over" the numbers displayed. Here, we've entered 17:35:
Set Security Rx Enter Time: 17:35
To change a digit, press to move to the left, or /PROGRAM to move right. Then enter the correct digit.
9 Press ENTER to save the setting.
Printing from security reception / Turning off security reception When security reception is on, an incoming fax goes directly into your machine's memory and the MEMORY RECEIVE light comes on. But the fax is not printed. To retrieve the faxes received during this security reception (and to return your machine to normal reception until the next time):
1 Press /PROGRAM, O [the letter O, not a zero], 2, ENTER. The LCD shows:
Print Mem Rx Doc. Enter Passcode: ***
2 Use the numeric keypad to enter the passcode. Here, we've entered 6296:
Print Mem Rx Doc. Enter Passcode: 6296
3 Press ENTER.
- If you've entered the correct passcode, your fax machine will print all documents in its memory and then erase them. Then it will turn security reception off until the next time you've scheduled security reception.
- If you've entered an incorrect code, your fax machine will refuse to print, and security reception remains on.
Masking the PIN
To prevent unauthorized long-distance calls, some office telephone systems require you to enter a personal identification number (PIN) whenever you dial long distance.
Your fax's PIN mask feature helps you keep that PIN number private. With the PIN mask activated, you can dial a fax number plus a PIN, but the PIN will not appear in a journal, error message printout, delayed command list or a TCR. The PIN may be up to eight characters in length. It also can include the *or # symbols, and it can be entered from the numeric keypad.
There are three possible settings for the PIN mask:
- Off — Turns off the PIN mask feature. Any PIN you enter will appear on any display or printout which shows the number you dial.
Mode 1 - Each remote fax unit has a departmental PIN access code.
Mode 2 - Each fax user has a departmental PIN access code.
Note: If you select Mode 1 and you will use a one-touch or speed-dial number, you must store the remote unit's PIN access code within that number. However, if you select Mode 2, this isn't necessary. (See "Autodialing while using the PIN mask," this page, right column for further details.)
Note: If you select either Mode 1 or Mode 2 and will be using batch transmission (see pages 2.20 - 2.23), you must store the PIN access code for the remote unit within the appropriate batch box.
Activating the PIN mask
Important: For this feature to work, you must have activated the passcode protection as described on page 2.58. You must also know the passcode.
1 Press /PROGRAM, J, 1, 8, ENTER. The LCD shows:
Set PIN Mode Enter Passcode: ***
2 Use the numeric keypad to enter the four-digit passcode. Here, we've entered 6296.
Set PIN Mode Enter Passcode: 6296
Note: If you enter an invalid passcode, the machine's security feature rejects the attempt and returns to standby mode.
3 Press ENTER.
PIN Mode: Off Program/Enter
Press or /PROGRAM until the mode you want appears. In this example, we've chosen "Mode1."
PIN Mode: Model Program/Enter
5 Press ENTER.
Autodialing while using the PIN mask
Note: The following instructions presume you understand how to set and use your machine's autodialer. If you need to review, see pages 2.7-2.15.
If you chose "Mode 1"—the PIN goes in
In Mode 1, before autodialing a number for the first time, you must add the PIN to the stored one-touch key or speed-dial number. Here's how:
1 Begin by creating or changing an entry in the autodialer. See pages 2.7-2.15 if necessary. While you're setting this up, the machine asks you to enter the PIN. The LCD shows:
Set PIN Number Enter Passcode: ***
2 Use the numeric keypad to enter the four-digit passcode. Here, we'll use our sample passcode again.
Set PIN Number Enter Passcode: 6296
3 Press ENTER. In our example, we're setting speed-dial number 001:
001:PIN Number
Use the numeric keypad to enter the desired PIN, up to eight characters in length.
001:PIN Number
1057_
5 Press ENTER to save the PIN.
Note: If you press ENTER without entering the PIN, the fax machine beeps, indicates "Invalid Number" on the LCD and then returns to step 4.
Now you may autodial the number as usual.
Important: While in PIN Mode 1, any autodialer numbers you use must include the PIN. This also applies to autodialer numbers used with batch transmission (see pages 2.20-2.23) or programmable one-touch keys (see pages 2.44-2.57).
Note: If you select either Mode 1 or Mode 2 and will be using batch transmission, you must store the PIN access code for the remote unit within the appropriate batch box.
If you chose "Mode 2" — as you autodial, load the code
In this mode, you don't have to add the PIN to the autodialer setting. Instead, you enter the PIN manually each time you autodial:
1 Dial the number as you normally would, using the autodialer. Here, we've pushed one-touch key A. The machine now asks for the PIN:
Enter PIN Number
2 Use the numeric keypad to enter the PIN.
Enter PIN Number 1057_
3 Press START. Your machine dials the number.
Note: If you select either Mode 1 or Mode 2 and will be using batch transmission (see pages 2.20-2.23), you must store the PIN access code for the remote unit within the appropriate batch box.
Dialing from the numeric keypad while using the PIN mask
If you've specified Mode 1 - use "star" power
1 Enter the phone number, then press the * ("star") key and enter the PIN. The PIN always goes last. For example, to dial 19725550911 with a PIN of "123456", enter 19725550911*123456:
Press Start
19725550911*123456
2 Press START. The PIN disappears from the display, and your machine dials the desired phone number.
If you've specified Mode 2 - the machine guides you
1 Enter the phone number as usual.
Press Start
19725550911
2 Press START. The LCD shows:
Enter PIN Number
一
3 Use the numeric keypad to enter the PIN.
Enter PIN Number
123456_
4 Press START. Your machine dials the number.
Performing batch transmission while using the PIN mask
Note: The following instructions presume you are familiar with how to set and use both your machine's autodialer and its batch transmission feature. If you need to review, see pages 2.7-2.15 for more on the autodialer and/or pages 2.20-2.23 for more on batch transmission.
If you've specified Mode 1 or Mode 2
Important: Any autodialer number you use with batch transmission must include the PIN. (To review how to include this information in an autodialer number, review the Mode 1 instructions under "Autodialing while using the PIN mask," page 2.60.)
Before sending a batch transmission the first time, you must store the PIN within its batch box. Here's how:
1 Follow the steps for creating or modifying a batch box (page 2.20). The LCD asks for the fax number (here, we're working with batch box 1):
1:Fax Number
2 Enter an autodialer number, or use the numeric keypad to enter the fax number, to which the batch transmission should go.
Important: If you're entering a number from the numeric keypad, enter the fax number, followed by the * ("star") key and then the PIN.
3 Press ENTER to save the setting.
Note: If you press ENTER without entering the PIN, the fax machine beeps, indicates "No PIN Number" on the LCD and then returns you to step 2.
4 Continue with the steps for creating or modifying a batch box (page 2.20).
Now you can perform batch transmission to this box while the PIN mask is activated.
Setting security transmission
Your fax's security transmission feature provides extra assurance that your documents go where you're sending them. When this feature is activated and your machine sends a fax, the machine compares the last four digits of the dialed number to the other unit's Subscriber ID (the phone number at the top of that unit's transmissions; see page 1.10). If these digits match, your call goes through. If they don't, your machine disconnects the call and prints an error message telling you to check the condition of the remote unit. Before you activate this feature, consider:
- Not all fax machine owners enter their phone numbers in their Subscriber IDs. — Indeed, some machines don't even have a Subscriber ID. So, with security transmission activated, your machine would disconnect its calls to such machines.
- Access codes can cause confusion. — If an autodialer entry ends with a long-distance or other access codes, activating this feature prevents calls to that fax.
Note: In the following instructions, your fax's LCD abbreviates Transmission as Tx.
1 Press /PROGRAM, J, 1, 1, ENTER. The LCD shows the current setting:
Security Tx: Off Program/Enter
Press or /PROGRAM until the mode you want appears. In this example, we've chosen On.
Security Tx: On Program/Enter
3 Press ENTER to save the setting.
Setting for use with a closed network
For maximum communications security, use a closed network. This limits your machine to only communicating with other Muratec fax machines which can "present" the proper passcode.
Important: The passcode you use for closed network operation is not the same as the protection passcode.
Once your machine is set up for a closed network, your machine will disconnect calls coming in from fax machines other than Muratec fax machines.
To set your fax machine's closed network password:
1 Decide on the four-digit closed network passcode (0001-9999) you want to use. Write it down, and put it in a safe place.
Press /PROGRAM, J, 0, 9, ENTER. The LCD shows the current code:
Set Passcode
Passcode: 0000
3 Use the numeric keypad to enter the desired four-digit closed network passcode.
Set Passcode
Passcode: 5627
4 Press ENTER to save the setting.
Note: To turn off the closed network passcode and return to normal fax reception, change the code to 0000 by repeating steps 1-4 and entering 0000 in step 3.
To set your fax machine to operate in a closed network:
Press /PROGRAM, J, 1, 0, ENTER. The LCD shows your fax's current setting:
Closed Net.: Off Program/Enter
2 Press or / PROGRAM until the mode you want appears. Here, we've chosen O n .
Closed Net.: On Program/Enter
3 Press ENTER to save the setting.
Setting Block Junk Fax
Your fax machine's Block Junk Fax feature lets you bar the gates against unauthorized incoming faxes ("junk fax"). But before you block junk fax, first understand how this feature works, to determine if it's right for you. There are four possible settings for Block Junk Fax:
- Off—The feature isn't activated.
- Mode1 — Your fax machine checks whether the last four digits of any phone number in your autodialer matches the last four digits of the remote fax's subscriber ID (the phone number part of the TTI). If it doesn't find a match, your machine disconnects the call.
- Mode2 — This mode rejects any call from a number whose last eight digits match any number in the blocked numbers list (explained later). Your machine can hold up to 30 blocked numbers.
- Mode3—This rejects numbers that are not in the autodialer and also rejects numbers that are in the blocked numbers list. This lets you keep a number on your autodialer for transmission to it, while still blocking its incoming calls by putting it in the blocked numbers list.
But before you activate the Block Junk Fax feature, please consider:
- Not all fax machine owners enter their phone numbers in their Subscriber IDs. — With Block Junk Fax activated, your machine would reject faxes from these machines.
- Access codes can cause confusion. — If an autodialer entry ends with extra codes, such as long-distance codes, Block Junk Fax will block out calls from those faxes. To set Block Junk Fax:
Press /PROGRAM, J, 1, 2, ENTER. The LCD shows your fax's current setting:
Block Junk Fax:Off Program/Enter
Press or /PROGRAM until the mode you want appears. Here, we've chosen Mode2.
Block Junk Fax:Mode2 Program/Enter
3 Press ENTER to save the setting. What you do next depends on what you selected in step 1:
- If you selected Off for Mode1, your machine returns to standby mode.
- If you selected either Mode2 or Mode3, go on to step 4.
4 The LCD now asks if you want to enter a number:
Set BlockJunk Dial Program/Enter
If you want to enter or modify a number, press ENTER and go on to step 5. Otherwise, press /PROGRAM and skip to step 10.
5 Depending on if you have already entered at least one number into the blocked numbers list, the display shows one of the following:
Enter Fax Number 01:
or
Select BlockJunk No. 01:555-2971
6 If you want to modify an existing entry in the blocked numbers list, press or /PROGRAM until you see the number you want to modify.
...or...
If you want to enter a new number in an already-started blocked numbers list, press or /PROGRAM until you find an empty position in the list.
Then press ENTER to enter or modify the blocked number.
Note: To clear a number from the list, see "Clearing a number from the blocked numbers list," right column.
7 Use the numeric keypad to enter the last eight characters of a fax number you want to block. For example, if you want to block a fax from someone with a Subscriber ID of 972-555-3038, you should enter 5, 5, 5, -, 3, 0, 3, 8:
Enter Fax Number 01:555-3038
To change a specific digit, press to move left or /PROGRAM to move right until the cursor is under the digit, then use the numeric keypad to enter the correct number.
Press ENTER to save the setting. The display shows the next "slot" in the blocked numbers list.
If you do not want to enter or change a number for this slot, go on to step 9. If you do want to enter or change a number for this slot, repeat steps 5-8.
9 Press STOP. The display now asks if you want to print the list.
Print BlockJunk Dial Enter/Stop
10 If you do want to print the list, press ENTER and your machine will print it. If you don't want to print it, press STOP and your machine will return to standby mode.
Clearing a number from the blocked numbers list
To clear a number from the list:
1 Press /PROGRAM, J, 1, 2, ENTER.
If your Block Junk Fax setting is either Mode2 or Mode3, skip to step 3.
Block Junk Fax:Off Program/Enter
Press or /PROGRAM until you see your preference, Mode2 or Mode3.
Block Junk Fax:Mode2 Program/Enter
3 Press ENTER, ENTER. The display shows:
Select BlockJunk No. 01:555-2971
Press or /PROGRAM until you see the number you want to clear.
5 Press CANCEL to clear the number. To clear another number from the blocked numbers list, repeat steps 4-5. Otherwise, go on to step 6.
6 Press stop. The display now asks if you want to print the blocked numbers list.
Print BlockJunk Dial Enter/Stop
If you do want to print the list, press ENTER and your machine will print it. Otherwise, press STOP to return your machine to standby mode.
Using department codes
You can keep track of how your machine is used through its department code feature. When the department code setting is activated, the machine reminds each user to enter the department code before sending or polling a document. The Activity Journal then keeps track of fax transactions by department.
After you turn on this setting, assign specific code numbers to your office's fax users and tell them to enter these department codes before sending faxes.
Note: Please note that using this setting may block access to the fax machine.
Entering a department code
Your machine can hold up to 100 separate department codes.
To enter a department code:
1 Press /PROGRAM, M, 2, ENTER. Depending upon whether you've already entered a department code, the LCD shows:
Enter Dept. Code 001:
r
Select Department No 001:1555
Note: If department code operation is protected (see page 2.66), the fax beeps briefly and then returns to standby mode. You will have to turn off the protection first, then repeat this step.
2 If you have not entered any codes in your fax, skip to step 4. Otherwise, go on to step 3.
3 To enter a new code in a department code list that's already been started, press ENTER. The fax will skip to the next empty position in the list.
Note: If you want to modify an existing entry in the department code, you first clear a department code you want to modify and then enter a new code (see “Clearing a department code,” right column).
4 Use the numeric keypad to enter the four-digit department code, 0000-9999. Here, we've entered 1555:
Enter Dept. Code 001:1555
To change one digit, press to move left or /PROGRAM to move right until the cursor is under the digit, then use the numeric keypad to enter the correct number.
5 Press ENTER to save the setting. To enter another department code, repeat steps 4-5. To stop entering department codes, press STOP to return to standby mode.
Clearing a department code
1 Press /PROGRAM, M, 2, ENTER. The LCD shows:
Select Department No 001:1555
Note: If department code operation is protected (see below), the fax beeps briefly and then returns to standby mode. You will have to turn off the protection first, then repeat this step.
Press or /PROGRAM until you see the code you want to clear. Here, we've selected "3111".
3 Press CANCEL.
3111: Erase Dpt. Code Check Program/Enter
Important: If you want to quit without clearing the department code you've selected, press /PROGRAM. The fax returns to step 2.
4 Press ENTER to clear the department code.
To clear another department code, repeat steps 2-4.
If you don't want to clear another department code, press STOP to return to standby mode.
Turning the department code setting on and off
Press /PROGRAM, M, 3, ENTER. The LCD shows:
Dept. On/Off: Off Program/Enter
Note: If department code operation is protected (see next item), the fax beeps briefly and then returns to standby mode. You will have to turn off the protection first, then repeat this step.
Press or /PROGRAM until you see the setting you want.
Dept. On/Off: On Program/Enter
3 Press ENTER.
Turning department code protection on and off
Important: This feature will work only if you've activated the passcode protection (see page 2.58).
1 Press /PROGRAM, M, 1, ENTER. The LCD shows:
Set Dept. Protect Enter Passcode: ***
2 Use the numeric keypad to enter the four-digit passcode:
Set. Dept. Protect Enter Passcode: 6596
To change one digit, press to move left or /PROGRAM to move right until the cursor is under the digit, then use the numeric keypad to enter the correct number.
3 Press ENTER.
Dept. Protect: Off Program/Enter
4 Press or /PROGRAM until the setting you want appears.
Dept. Protect: On Program/Enter
5 Press ENTER to save the setting.
Sending a fax using a department code
For this operation to work, two things must be true:
- The four-digit department code must exist on your fax machine.
- You must know the department code.
1 Insert the document.
2 Adjust resolution and contrast if necessary.
3 Enter the fax number by either pressing a one-touch key, entering a speed-dial number or dialing from the numeric keypad.
If you enter the fax number using a one-touch key, skip to step 6. Otherwise, go on to step 4.
4 Press START.
Enter Dept. Code
5 Use the numeric keypad to enter the appropriate four-digit department code. In this example, we've entered 1234:
Enter Dept. Code 1234_
6 Press START again.
Printing the department time list
The department time list includes the following information for each department code:
Time period covered by the department time list
Each department code
- Total communication time (in hours, minutes and seconds; HH:MM:SS) — Counts the communication time up to 999:59:59 (999 hours:59 minutes:59 seconds). If the fax exceeds the maximum time, it does not count further.
- Total printed pages — Counts the pages up to 65535 pages. If the fax exceeds the maximum number of pages, it counts the total pages from 0 (zero).
Note: If you want to clear the total counts of each department code, see "Clearing the current department time list", below.
To print the list, press /PROGRAM,M,4,ENTER.
Note: If department code operation is protected (see left column), the fax beeps briefly and then returns to standby mode. You will have to turn off the protection first, then repeat the above.
Clearing the department time list
To clear the current total counts of each department code:
Press /PROGRAM, M, 5, ENTER.
The total communication time and total printed pages for each department code are cleared. The department code will not be erased.
This page intentionally blank.
Just in case …

Tips on caring for your machine What to do if problems occur Glossary
Clearing paper jams 3.1
Print quality problems 3.3
Troubleshooting 3.5
Caring for your fax machine 3.10
Common questions 3.12
Glossary 3.15
Clearing paper jams
If an original document jams
1 Press the scanner cover release and open the scanner cover.
Important: Hold the cover open. It won't stay open by itself.

2 Lift the original document from your fax machine.

3 Gently close the scanner cover, making sure both sides are snapped down securely. Then re-try the transmission.
Note: If the original document is wrinkled or torn, don't re-send it.
If a printout jams
To clear a printout jammed inside your fax machine:
1 Press the printer cover release button to open your fax machine's printer cover.

2 Gently pull the jammed printout up and out. The printout may be jammed either within the fax (left, below), or in the output tray (right, below).


3 Gently close the printer cover, pressing firmly on both sides of the printer cover until you hear it click.

To clear a printout jammed at the paper cassette:
1 Pull forward on the paper cassette to open it.
2 Carefully remove the jammed paper(s) from the machine's rollers, as shown.
3 Push the paper cassette closed.

4 Press the printer cover release button and open your fax machine's printer cover.

Gently close the printer cover, pressing firmly on both sides of the printer cover until you hear it click.

To clear a printout jammed at the multipurpose tray:
1 Remove the paper stack from the tray.
2 Carefully remove the jammed paper from the machine, as shown.
3 Reload the paper stack into the tray. Note: Do not reload sheets that are wrinkled or torn.

Press the printer cover release button and open your fax machine's printer cover.

5 Gently close the printer cover, pressing firmly on both sides of the printer cover until you hear it click.

Print quality problems
If your machine's printouts develop quality problems, try to find the example below that matches your printout problem. When you find one which is like yours, try the suggested solutions. If they don't work, contact your authorized Muratec dealer.

Pages are blank
- The drum cartridge or toner cartridge may not be installed correctly. Install each cartridge correctly.
- The toner cartridge may be out of toner, or the toner may be very low. Remove the toner cartridge and shake it a few times to redistribute the toner inside. If the problem persists, replace the toner cartridge.
- The toner cartridge may be defective. Remove the toner cartridge and check it for damage. If the problem persists, replace the toner cartridge.

Pages are black
- The toner cartridge may be defective. Remove the toner cartridge and check it for damage. If the problem persists, replace the toner cartridge.
- Your fax machine's printer may be due for a service check. Call your dealer.

Printouts are too light
- The toner cartridge may be out of toner, or the toner may be very low. Remove the toner cartridge and shake it a few times to redistribute the toner inside. If the problem persists, replace the toner cartridge.
- The toner cartridge may be defective. Remove the toner cartridge and check it for damage. If the problem persists, replace the toner cartridge.

Printouts are too dark
- The toner cartridge may be defective. Remove the toner cartridge and check it for damage. If the problem persists, replace the toner cartridge.

Printouts have a blurred background
- The toner cartridge may be defective. Remove the toner cartridge and check it for damage. If the problem persists, replace the toner cartridge.

Printouts are of uneven density
- The toner may be unevenly distributed inside the toner cartridge. Remove the toner cartridge and shake it a few times to redistribute the toner inside.
- The drum cartridge may be defective. Remove the drum cartridge and check it for damage. If the problem persists, replace the drum cartridge.

ABCDE ABCI S ARCLE A SCDE A BCDE
Printouts have irregularities
- The paper you're using may have absorbed moisture, perhaps due either to high humidity or water having been spilled on the paper supply. Toner will not adhere well to wet paper. Replace the paper with dry paper and try printing again.

Printouts have white and/or black lines
- The toner cartridge or drum cartridge may be defective. Remove the cartridges and check them for damage. If the problem persists, replace either or both of the cartridges as indicated.
- The charger may be dirty. Your machine normally cleans the charger automatically. If other solutions fail, please contact your authorized Muratec dealer.
Printouts have black lines or multiple streaks
- The toner cartridge may have been stored improperly. Try printing test pages to clear up the problem:
1 Press /PROGRAM, one-touch 40. The fax will print one page of a checkered test pattern.
2 After printing the page, the machine asks if you want to print another test page. The LCD shows:
Printer Test Start/Stop
3 If the printing problem persists, press START to print another test page. OR
4 Press STOP to cancel printing and return to standby mode.
ABCDE ABCDE ABCDE ABCDE ABCDE
Printouts have toner smudges
- The toner may be unevenly distributed inside the toner cartridge. Remove the toner cartridge and shake it a few times to redistribute the toner inside. If the problem persists, replace the cartridge.
- The toner cartridge or drum cartridge may be defective. Remove the cartridges and check them for damage. If the problem persists, replace either or both of the cartridges as indicated.
- If you find smudges on the back of the printouts, the transport roller may be dirty. Your machine normally cleans the transport roller automatically. If other solutions fail, please contact your authorized Muratec dealer.
ABCDE ABCDE ABCDE ABCDE ABCDE
Printouts have white spots
- The charger may be dirty. Your machine normally cleans the charger automatically. If other solutions fail, please contact your authorized Muratec dealer.
Troubleshooting
Occasionally, your fax machine encounters some trouble transmitting or receiving documents. When it does, it alerts you with an alarm. You can identify the problem with LCD messages and printed check messages and error reports, explained in the following pages.
Alarm
Your fax machine sounds an alarm tone — a series of short beeps — if either of these two problems occur:
- Trouble transmitting or receiving
The machine is out of paper
LCD error messages
What you see on the LCD
What it means/What to do
All Commands In Use
Your fax machine has all of its 99 possible delayed commands (automatic redialing counts as one) stored in memory and cannot accept another. Delete an existing command by using REVIEW COMMANDS, or wait until your fax has completed one of the delayed commands.
Already Stored
You tried to enter a blocked number or department code which is already entered in the blocked numbers list for your fax machine. Enter a different blocked number or department code.
Box In Use
You tried to erase an F-Code box which has received at least one document. Print the document(s), then try again.
Call For Service
The scanner lamp is dim or inoperable. Make repeated copies to help evaporate any internal moisture. If that doesn't solve the problem, call your authorized Muratec dealer or Muratec Customer Support.
What you see on the LCD
What it means/ What to do
Check Cassette Paper
The paper cassette is out of paper. Add paper to the cassette.
...or...
The paper cassette is open. Close it.
Check Paper Size
The paper size setting for the multipurpose tray (see page 1.8) isn't the same as the paper actually in the tray. Either change the setting or change the paper so that they are the same.
Check Rx Paper
Both the multipurpose tray and paper cassette are out of paper. Add paper to the tray and/or the cassette.
Check Tray Paper
The multipurpose tray is out of paper. Add paper to the tray.
Check # Of Pages
You placed fewer pages into the document feeder than you indicated in your page-numbering setting (see page 2.33). To clear the error message, press STOP. Carefully recount the pages in your document, then re-try the transmission, being sure to enter the correct number of pages if you use the page-numbering function.
Close Scanner Cover
The scanner cover is open. Close it.
Close Top Cover
The printer cover is open. Close it.
Communication Error
A communication error disrupted the reception or transmission. If you were transmitting, press STOP to clear the error message and then re-try the transmission. If you were receiving a fax, try to contact the other person and have that person re-try the transmission.
Document Full
You tried to store a document into an F-Code box or batch box, but your box has reached its capacity. Delete an existing document in the F-Code box or batch box.
| What you see on the LCD | What it means/ What to do | What you see on the LCD | What it means/ What to do |
| Document Stored | You tried to erase a batch box which contains at least one document. Erase the document(s), then try again. | Invalid I.D. Code | The F-Code box I.D. code you entered isn't valid. Try re-entering your F-Code box I.D. code. |
| Enter No. (00-32) | You tried to enter a call group number greater than 32. Your machine can maintain 32 call groups, numbered 1-32 (call group 0 covers all the groups). Determine the correct call group and re-enter its identifier number. | Invalid Number | You pressed a key which has no function for the current operation. |
| Invalid Passcode | The protection passcode you entered isn't valid. Repeat the operation, entering the correct protection passcode. | ||
| Enter No. (01-99) | You tried to request "0" copies from your fax, which can create 1-99 copies of a document. Re-enter the correct quantity. | Line Busy | You tried to erase or print a document which someone is polling from your machine. ...or... You tried to print a document during transmission. |
| Feeder In Use | The command you tried to enter requires the use of the feeder, which is in use. Wait for the fax to finish using the feeder, then try again. | Memory Over Flow | During transmission (or copying), you tried to enter more pages into memory than your fax could store. Press START (or COPY) to tell your fax to keep as many pages in memory as possible, or press CANCEL to delete from memory all pages stored during this operation (but not previous operations). |
| Hang Up Phone | The optional handset is off the hook. Hang it up, making sure the upper part of the handset presses down on the "flash" button. | ||
| In Relay Box | You tried to store or erase a document for polling in or from an F-Code box which is set to be a relay box. Select an F-Code box which is set to be a bulletin box, then try again. | No Command | You pressed REVIEW COMMANDS to review upcoming commands or you requested a delayed command list, but your fax machine had none stored. |
| You tried to print a document stored in an F-Code box, but it is set to be a relay box. Select an F-Code box which is set to be a bulletin or secure box. | No Dept. Code | You tried to turn on the department code setting but there are no department codes stored in your fax machine. Store at least one department code, then try again. | |
| In Secure Box | You tried to store or erase a document for polling in or from an F-Code box which is set to be a security box. Select an F-Code box which is set to be a bulletin box, then try again. | No Document Stored | You tried to print a document from memory, but your fax machine doesn't have any stored. |
| In Use In P OneTouch | You tried to erase an F-Code box which is entered in a programmable one-touch key. Erase the programmable one-touch key in which this F-Code box is entered, then try again. | No Number Stored | You selected an autodialer number for which there is no phone number programmed. Either choose another autodialer number or dial a phone number directly from the numeric keypad. |
| Insert Document | There was no document in the document feeder when you tried to send a fax or make a copy. Place a document in the feeder and try again. | No Passcode | You tried to protect an operation or department code but there's no protection passcode stored in your fax machine. Store a protection passcode in your machine, then try protecting the operation or department code again. |
| What you see on the LCD | What it means/ What to do |
| No PIN Number | You selected “Mode1” in the PIN mask feature and tried to call using an autodialer number in which no PIN has been entered. Enter a PIN, then try again. |
| No Report | You requested an activity journal or confirmation report, but your machine has no record of any fax jobs that have occurred. |
| Please Call Service | The printer unit of your machine is inoperable. Call your authorized Muratec dealer. |
| Please Remove Paper | A paper jam occurred. Remove the jammed paper (review pages 3.1-3.2 if necessary). |
| Please Replace Drum | Your drum cartridge doesn’t work. Replace it, being sure to reset the drum counter: (see page 1.7). |
| Please Supply Toner | The toner cartridge is empty. Replace it. |
| Please Wait | Wait until the fax machine warms up. |
| Polling In Use | You tried to store a polling document in your fax where one has already been stored. Wait for the fax to complete the polling operation, then try again. |
| Printer In Use | The command you tried to enter requires the printer, which is already in use. Wait for the fax to finish printing, then try again. |
| Protect Doc. Stored | A received document is in your fax’s memory when you tried to turn off security reception or erase the protection passcode. Print the received document from your fax’s memory, then re-try the operation. |
| Reset Document | Your document wasn’t inserted correctly, or the fax to which you’re sending can’t handle the document’s page length. Reset the page and try again. |
| Scanner In Use | The command you tried to enter requires the scanner, which is already in use. Wait for the fax to complete the scan, then try again. |
| Sub-Address In Use | You tried to enter a sub-address identical to one already being used in another F-Code box. Enter a different sub-address. |
| What you see on the LCD | What it means/ What to do |
| Too Many Characters | You tried to enter too many numbers or other characters in the current operation. Press CANCEL to delete the extra characters, then try again. You may want to review the operation's instructions. |
| Too Many Locations | You tried to enter too many numbers for a broadcast transmission. Press CANCEL to delete the extra numbers and try again. |
Errors
When sending faxes, your machine occasionally runs into communications errors. These can be caused by anything from lightning to telephone line interference. (These same factors cause the static, or line noise, you sometimes hear on phone calls.) They also can be caused by problems with the fax machine at the other end of the line.
Often, simply trying your call again is all that's necessary. However, if the problem persists regularly, call your local telephone company for help. If that doesn't help and the problem persists regularly, call your authorized Muratec dealer.
Error reports
When an error occurs, your fax machine prints an error report. Each fax error report lists an error message which includes:
A possible solution to the problem
- The sending location (if the remote fax stores a Location ID of its own)
- The result — which is a special error code.
A sample of the document's first page.
Kinds of error codes
The error code listed in the "Result" column of the error report indicates the specific problem encountered:
- "d" codes — Occur while dialing
- “ ” codes — Occur during reception
- "T" codes - Occur during transmission
Specific errors
Following are some error codes you may see on an error report:
Dialing errors
D.0.3, The remote unit didn't respond, the call couldn't be completed or STOP was
d.0.8 pressed during dialing. Re-try the call. If your machine repeats the message, call the remote fax unit's operator and verify that unit is operating properly.
d.0.2 The remote unit is busy. Try the call again.
D.0.6, Either the remote unit didn't respond, the call somehow didn't go through or
D.0.7 STOP was pressed during dialing. Try the call again.
Reception errors
R.1.1 The calling fax machine didn't respond to your fax machine. This can happen if someone dials a wrong number or if the remote machine restricts access through use of a passcode.
R.1.2 The two fax machines were incompatible. Your fax machine sends and receives only ITU-T Group 3 (see Glossary, page 3.15) fax communication, the industry standard since the early 1980s.
R.1.4 Someone pressed STOP at the receiving fax machine.
R.1.5 The fax machine didn't detect the silence at the end of the call for receiving an RCR.
R.2.3 Poor phone line conditions made fax communication impossible. Call someone at the remote machine's location.
R.3.1 The sending fax machine detected too many errors from the receiving fax machine.
R.3.3 The sending fax machine is incompatible or had a document feeder problem during transmission.
R.3.4 Poor phone line conditions may have prevented your fax machine from properly printing some or all of the pages it received.
R.4.2 Either the line disconnected before transmission or the transmitting fax machine needs maintenance.
R.4.4 The fax machine has reached its memory capacity.
R.5.1, ECM reception failed (perhaps due to line noise).
R.5.2
R.8.1 A compatibility error occurred.
R.8.10 Line noise or other problems prevented line probing.
R.8.11 The fax machine timed out while waiting for the retrain signal.
Transmission errors
T.1.1 The remote fax machine didn't respond to your machine. Call someone at the remote machine's location.
T.1.2 Your fax machine's page counter detected a possible document feeder error. Carefully put the document back into the feeder and try the call again.
T.2.1 Either the phone line disconnected during transmission or fax communication became impossible due to bad phone line conditions. Try the call again.
T.2.2 The two fax machines were incompatible. Your fax machine sends and receives only ITU-T Group 3 (see "Glossary," page 3.15) fax communication, the industry standard since the early 1980s.
T.2.3 Bad phone line conditions made fax communication impossible. Conditions can change rapidly, so try the call again later.
T.3.1 The page counter in your fax machine detected a document feeder error during transmission. Carefully re-insert the document into the feeder and re-try the call.
T.3.2 The fax machine didn't detect the silence indicating the call had ended.
T.4.1 The telephone line disconnected during transmission because of excessive modem errors or because remote unit ran out of paper. Try the call again.
T.4.2 After transmission began, poor line conditions developed. Try the call again.
T.4.4 Poor line conditions prevented transmission. Try the call again.
T.5.1, ECM transmission failed (perhaps due to line noise). Conditions can change
T.5.2, rapidly, so try the call again later.
T.5.3
T.8.1 A compatibility error occurred.
T.8.10 Line noise or other problems prevented line probing.
T.8.11 The remote fax machine didn't complete the equalizer training phase.
"Check Message" printouts
When there's a problem with a fax call and your machine detects an error, it produces an error printout headed by the words "Check Message." This printout lists the following information about the transmission:
The resulting error code
- A communications error message (see "What error messages can mean," below)
- The phone number (or TTI, if programmed) of the fax machine with which your machine had attempted to communicate.
What error messages can mean
The error messages on Check Message printouts can mean a variety of things. Here's a brief summary:
| Error message | Possible meanings |
| Check condition of remote fax. | ·Remote machine malfunctioned ·No “handshake” signals from remote fax ·Wrong phone number reached |
| Repeat transmission. | ·Poor phone line conditions ·No “handshake” signals from remote fax ·Document misfeed or miscount ·Unable to reach remote machine after attempting specified number of radial tries |
| Line is busy. | ·Remote machine's line was busy ·Remote machine's line didn't answer |
| Check received documents. | ·Remote confirmation signal not received from remote fax ·Poor line conditions caused a poor image |
| Memory full. | ·Remote fax's memory is full |
| Dialing number is not set. | ·Stored phone number failed to dial properly |
| Stopped. | ·Someone pressed STOP at the remote fax in the middle of the “handshake” |
Caring for your fax machine
With proper installation and a little maintenance, your fax machine should give you dependable service for years to come.
Although it requires little day-to-day care, you can take these simple precautions to keep it in top form:
- Always make sure your fax machine is installed according to our specifications, including using an electrical surge suppressor. (If necessary, review "Pick an installation spot," page 1.6.)
- Always use good, copier-quality paper.
- Always clean your fax machine as needed (see "Cleaning tips," below).
- Never install your fax machine where it can overheat, gather dust or get splashed by any liquids (even water).
Cleaning tips
Some things to keep in mind about cleaning your fax machine:
- Do clean it! Dust and dirt, especially around the fax machine's air vents can shorten your machine's life.
- Always unplug the fax machine before you clean it.
- Never spray any cleaner DIRECTLY onto your fax machine. The drifting spray could damage components inside.
- Never try to clean SEALED areas inside your fax machine. They're sealed to protect your safety and the machine.
- For cleaning external surfaces, such as the cover and handset: use a mild cleaning solution sprayed onto a lint-free towel or cloth.
- Always use a lint-free cloth (or swabs) moistened with alcohol to gently wipe components inside your machine.
- In areas you can't reach with swabs, always use dry, dust-free compressed air to gently blow away dust and other material.
Keep the air vents clean
You should never cover your machine or it may overheat. However, dust can build up and become a sort of "cover."
So be sure to clean your machine's air vents periodically. When you do, use a vacuum cleaner or brush. Do not wipe the air vents with a damp cloth.
When looking at the machine from the front, the air vents are located on the left side of the machine (The drawing below is a view from the machine's left rear):

Corrective cleaning
Below are some simple cleaning tips for keeping your fax machine operating smoothly.
Curing frequent jams in the document feeder
If you're having trouble getting your original documents to feed properly, try this:
1 Turn off your fax machine.
2 Get two soft, lint-free cloths and moisten them as follows:
- One with a cleaner suitable for use on platen/rubber rollers
- The other with isopropyl alcohol
3 Press the scanner cover release and open the scanner cover.
Important: You must hold the cover open. It won't stay open by itself.

4 Use the cloth with the rollers cleaner to clean the face of the rollers. Rotate the rollers by hand to clean the entire roller surface.
5 Use the cloth with the isopropyl alcohol to clean the contact glass.
Gently close the scanner cover, making sure both sides are snapped down securely.

If you have unsatisfactory printout quality
Your machine automatically cleans its charger and transport roller, two items which are very important to printout quality. If you notice poor printout quality, it may mean that your machine requires service. Review "Print quality problems" (pages 3.3-3.4), and see if any of the proposed solutions helps your machine. If these don't help, please call your authorized Muratec dealer.
Common questions
We're here to help you!
The Muratec Information System is available to you 24 hours a day, 7 days a week. You can use your fax machine to call this "fax-on-demand" system and receive printouts of information, such as the most common questions asked about your machine. Often, this is the fastest way to find out the answer to any question you may have. And it's a free call!
To use the Muratec Information System:
1 On your fax machine, press MONITOR/CALL to get a dial tone, or lift your optional handset.
2 Call 1-800-215-1698.
3 Follow the voice instructions you'll receive from the system.
General questions
Q: Where do I add ink or toner to make my fax machine's printouts darker?
A: You can't adjust the darkness of an incoming fax printout, but you can adjust the darkness of a copy or of a transmission. Insert a document and press CONTRAST to adjust the contrast setting. "Dark" prints at the darkest setting. The machine will reset automatically to normal contrast after you finish copying or sending the fax.
Q: When I unplug my machine or if the power goes off, will I lose the information I've stored — such as my TTI, autodialer entries, the time and date, etc. — and have to re-enter them?
A: No. There's a special battery built into your fax machine which protects user settings for several days if power fails or if you decide to move your machine. However, we do advise you to restore power to the machine as soon as possible.
Q: Can I use a dust cover on my fax machine?
A: No! A dust cover blocks air circulation, which could cause your machine to overheat.
Sending faxes
Q: Sometimes, I try to send a fax while using either the optional handset or the MONITOR/CALL feature. But, when the other side answers, I hear a horrible screeching sound, so I hang up. What's happening?
A: That was the other fax machine trying to say "Hello" to your machine! You'll hear sounds like that any time you call a fax machine which is set to answer automatically (as when you set your machine to Auto Answer mode). It's by using these tones that fax machines are able to send faxes over ordinary phone lines. So, next time you hear the tones, press START (and, if you're using an optional handset, hang up) to send a fax.
Q: I just sent a fax. However, the number that appeared in my machine's display during the transmission wasn't the number I dialed. Why?
A: That number you saw is programmed into the remote fax machine by the user. Some users prefer different numbers to appear than the ones they're really using. And some people don't know how to change the number once it's set.
Q: Can I transmit and receive at the same time?
A: No. Use the call request feature (see page 2.32) to ask the person at the remote fax machine if he or she wants to transmit or receive after your fax communication is complete.
Q: Do I have to dial a 1 for a long-distance call?
A: Yes. Dialing a fax number is just like dialing any other phone number, so be sure to include any special long-distance codes or dialing pauses when dialing. Also, remember to include them when you set your autodialer numbers.
Q: How do I send a fax to an overseas telephone number?
A: Dialing requirements for international calls may vary depending on your local telephone company's requirements. For most international calls, call 011, then dial the appropriate country code, city code and phone number. (You may find country and city codes in the front section of your telephone directory.)
Q: Can I transmit if my fax machine runs out of paper?
A: Yes, but confirmation reports (see page 2.28) aren't available when you transmit without recording paper in your fax machine.
Q: Can I transmit a document that's extra long?
A: Yes, if the receiving fax machine is equipped to handle long documents. Many machines have a special setting which allows them to receive documents that exceed the normal length.
Q: Can I transmit a page from a newspaper?
A: No. A newspaper page can jam in your document feeder. First, use a copy machine to make an appropriately sized copy of the newspaper page, then transmit the copy.
Q: Can I transmit a page with correction fluid on it?
A: Yes, but only if the fluid is completely dry before you begin transmission.
Q: How can I be sure my fax was received?
A: Set your machine to print a confirmation report after each transmission (see pages 2.28).
Q: I don't want to install a dedicated phone line for my fax machine, so I've connected the machine to a PBX phone system. When I get a fax call, all the phones ring. How do I prevent this?
A: Call your PBX manufacturer or telephone company for assistance. They may be able to convert one of the PBX lines for use only by your fax machine.
Q: Sometimes when I dial a fax call by using either the optional handset or MONITOR/CALL, I don't hear the fax receiving tones from the other machine. Am I doing something wrong?
A: When this happens, try pressing START (and then hanging up the optional handset if you're using it), as usual. It's possible you're calling an older, non-standard fax machine that doesn't emit answering tones. Even a few Group 3 faxes (see "Glossary," page 3.15) on the market sound a sending tone but don't sound a receiving tone. After you transmit, call the person at the other fax machine's location to see if that person got your document.
Q: I inserted a document in the feeder and dialed a fax number, but my machine didn't transmit the document. Instead, " Auto Redial " now appears on my LCD. What does this mean?
A: The remote fax machine was busy, so your machine will try the call again, automatically. As long as it hasn't stored more than 99 delayed commands (counting automatic redials), your machine should still accept commands from you. If it has exceeded this quantity and will accept no more commands, try cancelling one of the delayed commands (see pages 2.18). If the machine still won't cooperate, keep cancelling commands until it does.
Q: The specifications (page A1.1) list an average per-page transmission time, but when I transmit a page it can take much longer. Why?
A: We base this specification on transmission of an industry-standard test document called ITU-T Test Document 1 (sometimes also called the "Slerexe letter"). Fax manufacturers use this method to test transmission speeds. However:
- The pages you send may be darker, or otherwise contain more information, than ITU-T Test Document 1.
- The transmission time measured for test documents doesn't include handshake time — the time during which two fax machines "introduce" themselves to each other and "agree on" the parameters of the call.
- The specification time is based on the use of normal resolution mode. You may be using fine, superfine or grayscale transmission, each of which takes longer than normal mode.
Q: What's a default?
A: A default is a setting that your machine will always refer to if nothing else is programmed. For example, you can set the default for this machine to send a fax by using its memory. If you set this action as the default, that's how your machine will always send a fax, until you tell it to do differently.
Reports
Q: I called the number 011-555-555-1212, but not all of the digits appear on my transmit confirmation report (TCR). Why didn't the whole number appear? How can I be sure my document went to the right location?
A: The numbers you enter using the fax keypad are temporarily stored in a memory "buffer", and it's only the last part of the phone number that the buffer "remembers." An easy way to avoid getting incomplete telephone numbers on your printouts is to store your most frequently used numbers as one-touch keys or speed-dial numbers. These autodialer numbers will appear in their entirety on your TCR.
Receiving taxes
Q: My fax never answers. What's wrong?
A: Check to make sure your fax machine is properly connected to a working AC power outlet and phone jack (see pages 1.6-1.8). If you're using a second phone with your machine, make sure it's connected properly (page 1.9).
Q: Sometimes when I answer my machine with the optional handset, I hear a beeping sound that repeats every few seconds. Is this a fax?
A: Yes. When you hear these fax tones, someone is trying to send you a fax. Next time, press START and hang up the handset. Your fax will receive the message.
Q: Does my fax machine have to be plugged in to the AC power jack to receive a message?
A: Yes. Your phone will ring if the phone line is connected, but you can't receive a fax unless your fax machine is plugged into both the phone jack and the AC power jack. Make sure your fax machine is always plugged in so you never miss an important fax message.
Q: Can I receive a fax if I'm using the phone on my machine?
A: You can receive a fax from the person to whom you're talking. When that person has a document ready in his/her machine's feeder, press START.
Working with your answering machine
Q: People have complained that they call my fax machine and hear my answering machine's message, but are cut off before they can send a fax. What happened?
A: Any remote fax machine attempting to send a fax must "hear" responding fax tones within 40 seconds after the person at that machine presses the start key. That 40 seconds includes getting the dial tone, dialing the number, "listening" to the pause before the ringing starts and the remote fax machine answering the ring. Only after that time does your message play.
That's why we urge you to create a short outgoing message. The shorter the waiting period, the more likely it is that the remote fax machine will proceed with the transmission. Please create an outgoing message on your answering machine that's no longer than 10 seconds (see page 1.21 for a suggestion).
Polling
Q: What's the purpose of polling?
A: Polling lets you automatically "pull" a document which is set in another fax machine. You can poll whenever you need to retrieve information and don't want the source to pay for the phone call. With polling, you pay for the call and get the information you need.
How your fax machine works
How a fax machine works is simple:
You put a page into your fax machine's feeder and call a fax number. Your machine makes a satisfactory connection with the other machine, and then ...
- Your machine takes the document.
An image scanner in your fax machine examines the information on the page. - Your machine wraps the document.
Your fax machine translates the scanned information into a numeric code and compresses the code for the fastest possible transmission speed. - Your machine sends the document.
Finally, your fax machine sends the compressed code.
On the other end of the line ...
- The remote fax machine receives the code.
- Your machine unwraps the document.
The remote fax machine uncompresses and deciphers the code, turning it into a representation of the scan your machine made.
- The remote fax machine prints the representation.
The only difference between a regular telephone call and a fax call is the content of the transmission:
- On a regular call, your telephone sends your voice.
- On a fax call, your fax machine sends a coded image.
The way fax machines work is regulated closely by the International Telecommunications Union (ITU), an agency of the United Nations. The standards the ITU applies ensure the compatibility of your fax machine with millions of other machines worldwide. However, they also limit the way you can use your machine with other devices, such as telephones and answering machines.
Glossary
This glossary contains terms you may encounter when discussing or reading about fax machines. Please use these definitions for reference only. A list of definitions can also be found on the Muratec website at www.muratec.com.
24-hour format — Also called military format. A format for keeping time that does not use a.m. or p.m. to distinguish between morning and afternoon. In the 24-hour format, one o'clock in the morning marks 1:00, noon marks 12:00 and midnight marks 24:00. To calculate the 24-hour format, add 12 hours to all times after noon.
For example, 1:30 p.m. would be 13:30 in the 24-hour format; 10:45 p.m. would be 22:45 in the 24-hour format. And 11:15 a.m. would be 11:15 in the 24-hour format.
A3, A4, B4 — Standard stationery sizes defined by the International Standards Organization, an agency of the United Nations. See also Paper sizes.
ADF - Automatic document feeder. See document feeder.
Alternate number — The number your machine dials after all attempts to the regular number fail. The user programs this alternate number, if so desired.
Answering machine - See TAD.
Autodialing — Enables user to store preprogrammed telephone numbers in the unit's memory. Storage capability varies from unit to unit.
Automatic fallback — The ability of a fax machine to slow down ("fall back"), when communicating with another fax which is communicating at a slower rate.
Automatic reduction — Many Muratec fax machines will automatically reduce the size of documents being transmitted to accommodate the effective printing width of the receiving unit. For example, this allows a fax machine with a 10^ scanning width to send an image 10^ wide to a unit with an 8.5^ print width. The receiving fax machine will receive a reduced-size printout of the complete image.
Bit — The smallest unit of information in a computer. Some Muratec fax machines, which are actually computers "dedicated" to telecommunications, allow users to change bits of information to provide or cancel features through software settings.
Bits per second - See bps.
Black density — Also called black coverage. The amount of non-white area on a page. For example, most regular office correspondence has a black density well under 10% , due to the presence of margins, spaces between words, spaces between lines and paragraphs and even spaces within letters. However, drawings and photographs have a much higher black density, sometimes approaching 100% . The higher a page's black density, the more slowly a fax machine sends it.
Broadcast — A fax transmission in which a single document is sent to more than one location.
bps — Bits per second. Used to express the speed of transmission of data. Because fax transmission treats a document as a graphic image rather than as a series of alphabetic and numeric characters, bps does not correspond to the number of characters transmitted per second.
Byte — A group of digital elements, usually sent as eight bits to the byte.
Call reserve — Also called call request. An ITU-T standard fax feature which allows a user to request voice communication prior to, during or after transmission.
Call-waiting service — An optional telephone company service that alerts you to another incoming call when the phone is already in use. Call-waiting signals often cause interruption of fax transmission or reception.
Caller in - Optional service provided by your local telephone company that allows you to see a display of the number (phone or fax) that is calling.
CCITT-See ITU-T.
ccD, CIS — Charged coupled device, contact image sensor. Two types of scanning mechanisms used in some Muratec fax machines. The CCD "reads" fluorescent light bouncing off a document. The CIS uses a flat bar of light-emitting diodes (LEDS).
Command queue — The "list" your machine keeps of all its pending commands.
Command number — The number your machine gives to each "job" it is programmed to complete. You must know the command number in order to cancel or change any of the machine's jobs that it stores.
Compatibility — The term "compatible" describes the ability of separate things to function together. Your Muratec fax machine features ITU-T Group 3 compatibility, the modern standard for worldwide communication.
Confidential transmission - See SecureMail.
Confirmation report - See RCR and TCR.
Continuous polling - See Polling
Copy mode - Allows your fax machine to be used as a convenience copier.
Cover page (automatic) — A small, user-created message; can be the first page of every transmission.
Database polling - See Polling.
Data compression - Used in digital fax machines to speed transmission. See also Digital fax, MH and MSE, SMSE.
Default — The setting your machine will always refer to if no other action has been programmed. For example, you can set the default for this machine to send a fax by using its memory. If you set this action as the default, that's how your machine will always send a fax, until you tell it to do differently.
Delayed command — Transmission or polling operation set by the user to occur later, automatically, at a predetermined time. Great for reducing costs by making fax calls during times when telephone costs are lowest, such as late at night or on weekends.
Digital — Using the binary system (which uses a combination of 0s or 1s ) to describe everything, so that 0 means off and 1 means on; digital fax machines convert the graphic image of your document into a series of zeros and ones by using the binary system of transmission to encode black and white occurrences. This increases transmission speed by passing over white spaces. See also White-line skip.
Digital fax — Unlike analog systems that scan every portion of a document, digital fax machines survey a document's overall picture content. Digital fax machines scan a line and convert the information into a binary code of zeros and ones. The fax machine takes this information and compresses it, providing high transmission speeds. Many Muratec units offer proprietary methods for faster transmissions between Muratec-manufactured units (see also MSE, SMSE).
DIP switches — Dual in-line package switch; a two-position on/off switch. Many Muratec fax machines include DIP switches to control optional settings or features.
Document feeder — The adjustable slot into which users place documents for faxing or copying.
Effective printing width - The widest image that can be printed on a fax.
Effective scan width - The maximum width the scanner in a fax can scan during transmission.
F-Code — A fax-industry standard created by the ITU-T for sub-addressing/password-based communications. Because F-Code is an industry standard, Muratec fax machines as well as all ITU-T equipped fax machines from other manufacturers can communicate with each other using sub-addressing.
Facsimile (or fax) — A form of communication involving the scanning and decoding of a document into electrical signals and transmitting of the document, over telephone lines to another device. This device then reconstructs the signals to produce an exact duplicate of the document. Also, a machine that performs such communication.
Failback — Group 3 fax machines operate at the highest transmission speed possible on a given telephone line. Muratec systems offer automatic fallback; if line quality drops during transmission, the fax machine will reduce speed to the fastest possible level.
File number — A number the machine gives to each document it stores for a batch, F-Code or polling operation.
Fine resolution — 203H × 196V lpi. Also shown as G3F ("Group 3 fine") on some fax units.
Grayscale — Not a level of resolution, but a method of scanning and transmitting halftone images. Fax machines with grayscale abilities interpret photographs in levels of gray between white and black. The transmitting fax machine must have grayscale ability to send a photographic image accurately, but the receiving machine does not need it to print the image.
Group 3 - Refers to fax machines that use digital encoding. These units transmit one page in less than one minute and produce resolution of 203 × 98 , 203 × 196 , or 406 × 392 lpi.
Halftone - See Grayscale.
Handshaking — An exchange of data between telecommunications and/or computer equipment that "introduces" two systems to each other. For example, faxes use a handshaking protocol to identify the ITU-T group of each unit and to begin fax communication. Hub — See Relay broadcasting.
Hz (or Hertz) — A measure of frequency equal to one cycle per second. Used in the specifications for a fax machine, it identifies the AC power the unit requires.
ITU-T — International Telecommunications Union – Telecommunications Sector. (Formerly known as CCITT, for Consultative Committee for International Telegraph and Telephone.) A telecommunications forum for member countries of the United Nations whose Study Group xiv established the primary groups for fax equipment, covering communication protocol and transmission. Muratec Group 3 fax machines offer the fastest transmissions allowed by the ITU-T when communicating with other Group 3 units.
ITU-T Test Document 1 — Also called the Slerexe ("slehr-rehks") letter; An ITU-T standard document with a known black density which fax makers often use to test transmission speeds of their fax machines. Published transmission speeds are also based on this document.
ITU-T v.29 and v.27 ter. — A standard set of communication procedures allowing fax machines to talk to all other units adhering to those standards.
JBIG — Joint Bi-level Image experts Group, the new ITU-T standard image data compression method. As JBIG compresses the data more efficiently than MMR, it is especially effective when transmitting halftone (grayscale) image document.
(Of course, the compression ratio may vary with the image data.)
Laser printing — A plain-paper printing system. Toner is attached to a charged drum and an image is transferred onto plain paper through electrical currents, then fused with heat and pressure to produce a dry, permanent printout.
LCD — Liquid crystal display. Used on some Muratec units for status displays.
Leased line - See Private line.
Load number — A number assigned to telecommunications equipment used in Canada; designed to help prevent overloading on a telephone circuit. See also Ringer equivalence number.
Location ID - See Station ID.
lpi — Lines per inch. The way fax image resolution is measured. (For example, see Normal resolution.)
Memory — Internal document storage. In Muratec fax machines, random access memory in the form of computer chips is used to store and hold documents for transmission and to hold some documents that have been received.
Memory overflow — A message that appears on the machine's LCD when the current operation requires more of the machine's electronic memory than what is available. MH — Modified Huffman, the standard ITU-T Group 3 data compression method. A one-dimensional coding scheme that compresses data in a horizontal direction only. A feature of all Muratec fax machines, MH assures transmissions faster than one page per minute when communicating with other Group 3 units, regardless of manufacturer. See also MR, MMR, MSE, SMSE.
Military format - See 24-hour format.
Modem — Modulator-demodulator. A device that converts digital data, like information from a fax machine, into an analog signal for transmission over ordinary telephone lines. A modem is included in a fax machine and allows it to be connected directly to a PSTN telephone line.
MR - Modified Read, an ITU-T Group 3 standard data compression method. A two-dimensional coding scheme that compresses data in both horizontal and vertical directions and allows for faster transmission when communicating with other Group 3 units, regardless of manufacturer. See also MH, MMR, MSE, SMSE.
MMR — Modified Modified Read, an ITU-T Group 3 standard data compression method. A two-dimensional coding scheme that compresses data in both horizontal and vertical directions and allows for faster transmission when communicating with other Group 3 units, regardless of manufacturer. See also MH, MR, MSE, SMSE.
Monitor — A speaker in most Muratec fax machines which allows the user to hear the dialing process. This is not a speakerphone, because it has no microphone for speaking to the person being called. For regular two-way voice communication, users must use the optional handset. See also On-hook dialing.
MSE, SMSE — Muratec's proprietary data compression methods, allowing a Muratec-manufactured fax machine to transmit more quickly when communicating with another Muratec-manufactured unit. MSE and SMSE are features on many Muratec fax machines. See also MH, MR, MMR.
Normal resolution — Shown as "norm"; 203H × 98V lpi. The default resolution mode for all Muratec fax machines.
One-touch dialing - Allows the fax user to store frequently used fax numbers for dialing with the touch of one key. See also Autodialing and Speed-dialing.
On-hook dialing — Dialing numbers by using the keypad on the fax unit without lifting a handset. On most Muratec fax models, the user can do this either silently or by using the monitor. See also Monitor.
Original document size — The largest (or smallest) document that can be fed safely through a fax machine.
Override - To change existing settings.
Paper sizes - All are width × length:
Letter-sized = 8.5^ × 11.0^ Legal-sized = 8.5^ × 14.0^
$$ A 5 = 5. 8 ^ {\prime \prime} \times 8. 3 ^ {\prime \prime} \quad A 4 = 8. 3 ^ {\prime \prime} \times 1 1. 7 ^ {\prime \prime} \quad A 3 = 1 1. 7 ^ {\prime \prime} \times 1 6. 5 ^ {\prime \prime} $$
$$ \mathrm {B} 5 = 7. 2 ^ {\prime \prime} \times 1 0. 1 ^ {\prime \prime} \quad \mathrm {B} 4 = 1 0. 1 ^ {\prime \prime} \times 1 4. 3 ^ {\prime \prime} \quad \mathrm {B} 3 = 1 4. 3 ^ {\prime \prime} \times 2 0. 3 ^ {\prime \prime} $$
Passcode — A four-digit code-number. On your fax machine, the protection passcode lets the user limit access to fax operations, as well as certain settings and even documents readied for polling (in the case of polling, only calling machines whose users enter the proper passcode will be able to poll the document.)
PBX (or PABX) — Private branch exchange; privately-owned telephone equipment serving a particular building, business or area. Many PBX systems use digital transmission lines which, unlike more common PSTN lines, are not compatible with fax machine use. The user should not connect a fax unit to a PBX without first checking with the system manufacturer or service representative.
PCL — Page Control Language. An industry standard for printer control. Some Muratec fax machines include or offer PCL-compatible printing for Windows-based personal computers.
Platen — A traditional copier-style top to a fax machine or digital copier. Some Muratec fax machines and multifunctional products include a platen top, allowing you to fax from books and other awkward sources.
Polling — Automatic transmission to a calling remote fax, or reception of a document from a remote fax set for this operation. Polling is convenient whenever a central unit must receive information from one or several remote faxes. The caller bears all telephone charges and prevents several remote units from calling at the same time. See also Secure polling.
Private line — (Or leased line.) A service offered by many telephone systems; provides an exclusive phone circuit between two geographic points. A Muratec fax does not require a private line. See also PSTN.
Proprietary - Non-standard. In fax, refers to a fax feature which works only in communications between fax machines that are the same brand.
PSTN — Public switched telephone network; the most common type of telephone lines and service in use, in contrast to private or leased lines. A Muratec fax provides fast, reliable data transmission over a PSTN line, and does not need a special or dedicated telephone line. See also Private line.
QuadAccess — Muratec's QuadAccess allows your Muratec fax machine to perform four or more tasks simultaneously without slowing.
RCR — Receive confirmation report. An RCR is your assurance that the document you transmitted was received. The RCR prints after your transmission, identifying the receiving unit and recording the date, time, transmission mode, number of pages sent and the result. The RCR is an exclusive feature of Muratec fax machines and is available only when transmitting to other, compatible Muratec fax machines. See also TCR.
Receiver ID - See Station ID.
Redialing — The dialing again, either manually or automatically controlled, of the most recently dialed fax or phone number. Automatic redialing follows an unsuccessful dialing attempt and can be done manually or automatically.
Relay broadcasting — Lets some Muratec fax machines store a document in internal memory, transmit the document to the memory of a remote "hub" fax and then instruct that unit to relay (re-transmit) the document to each fax in a call group in the "hub" unit. This feature speeds extremely high-volume fax communication and allows a single command to initiate document transmission to hundreds of preprogrammed fax locations. It also saves phone charges for the originating machine. Your machine can initiate a relay broadcast.
Remote fax machine - The machine on the other "end" of a fax communication.
REN - See Ringer equivalence number.
Resolution — The resolution of documents transmitted or copied by fax machines is measured by the number of horizontal (H) and vertical (v) lines per inch (lpi) the unit can print. A Muratec unit may offer one or more of these resolution levels:
Normal 203H× 98V lpi
Fine 203H× 196V lpi
Superfine 203H× 392V lpi
Some Muratec units also offer grayscale transmission (see also Grayscale) for accurate reproduction of photographs and other shaded originals.
Ringer equivalence number — Also called REN . A number assigned to telecommunications equipment used in the United States; designed to prevent overloading on a telephone circuit. See also Load number.
Scanning width - See Effective scanning width.
SecureMail — Allows a Muratec fax user to send a document to or receive one into (usually something confidential) an "electronic mail box." The transmission is protected at the receiving Muratec fax by an access code; the receiving fax prints the document only when an authorized user enters the code.
Secure polling — Polling in which preset passcodes are checked between two machines before polling is allowed to take place.
Speed-dialing - Allows the fax user to store frequently used fax numbers for dialing with the touch of three keys — an identifier key (either * or #) and then a three-digit code — for each number. See also Autodialing and One-touch dialing.
Station ID — (Also called Location ID or Receiver ID.) An autodialer feature which lets the fax user enter a descriptive name to correspond with the number in an autodialer entry. For example, rather than entering only 1-972-555-3465, the user can enter that number and a name, such as Dallas Branch Office. (Many Muratec models with this feature allow entry of both upper-case and lower-case letters, for greater ease of reading.)
Subaddressing — An ITU-T standard allowing fax machines to specify special delivery characteristics of a transmission. For example, subaddressing allows fax machines from different manufacturers to send and receive messages into confidential memory mailboxes, or to retrieve specific files from polling memory.
Subscriber ID — A fax machine's telephone number, as identified by a user setting. See TTI.
Super Group 3 — An extension of Group 3 fax technology standards, allowing the use of high-speed v.34 bis modems for 33.6 Kbps transmission and high-speed protocols for rapid handshaking.
Superfine resolution — 203H × 392V lpi. Your Muratec fax machine's superfine transmission mode is Group-3-compatible, not the more limited proprietary version.
TAD — Telephone answering device, or answering machine. Records incoming voice messages for playback. You can connect a TAD to a Muratec fax machine and use the two on one phone line.
TCR — Transmit confirmation report; this provides proof that your Muratec fax did send the document you set for transmission. Printed after transmission, the TCR also identifies the telephone number to which the fax sent the document, plus the actual time of transmission and how many pages the unit transmitted. See also RCR.
Thermal (paper) printing — A thermal head heats chemically treated, thermally sensitive paper in patterns conforming to the image the machine has scanned, creating a printed image. Thermal paper's tendency to discolor and fade, in addition to its curliness and the usual difficulty in writing on it, have made this method considerably less popular than plain-paper fax printing — particularly as plain-paper fax machines have dropped sharply in price.
TriAccess — Muratec's TriAccess allows a Muratec fax machine to perform three or more tasks simultaneously without slowing.
TTI — Transmit terminal identifier. A user-programmable line of information sent automatically with every page a fax machine sends; it appears at the top of each page printed by the receiving unit.
Transmission speed — How fast a fax machine is sending a fax document. This speed depends upon the modem speed of each unit, the resolution setting, the content of the document, the encoding technique and the condition of the phone line (clean, noisy, etc.) Any change in any one of these five conditions will affect the speed, sometimes significantly.
v.29 and v.27 ter — A standard set of communication procedures allowing fax machines to talk to other units using those standards. Specifically, these standards cover fax transmission at 9600 bps or slower.
v.34 — An international standard for fax modems — and other modems — with transmission speeds of up to 28.8 Kbps. The v.34 protocol is sometimes referred to as "v.Fast", because it represented a significant increase in possible transmission speed compared to the transmission protocol it replaced.
v.34 bis — A faster version of the v.34 standard, and sometimes referred to as “v.34 Plus” or “v.34 +”. The v.34 bis protocol allows transmission at up to 33.6 Kbps, and represents the current maximum standard transmission speed possible under ITU-T Group 3. (The term “bis” is French, and designates the “second” version of the protocol.)
White-line skip — A technique used to speed up fax transmission by bypassing redundant areas, such as white space.
This page intentionally blank.
Appendix and index

Specifications
Type: High-speed facsimile transmitter and receiver for home and office use.
Phone line: Normal Public Switched Telephone Line (PSTN) or equivalent.
Modem:
33,600, 31,200, 28,800, 26,400, 24,000, 21,600, 19,200, 16,800, 14,400, 12,000, 9,600, 7,200, 4,800 and 2,400 bps per ITU-T, V.34.
14,400 bps with fallback to 12,000, 9,600, 7,200, 4,800 and 2,400 bps per ITU-T, v.17, v.29 and v.27 ter.
Compatibility: ITU-T Super Group 3, Group 3.
Data compression method: ITU-T-standard JBIG, MMR and MR, Murata-proprietary MSE.
Transmission speed: 2 seconds per page.*
Document feeder capacity: 50 pages (20-pound bond paper).
Resolution (in lpi, horizontal × vertical):
Transmission: Copy:
Normal 203× 98 lpi 306× 196 lpi
Fine 203× 196 lpi 306× 293 lpi
Superfine 406× 392 lpi** 406× 392 lpi
Grayscale 203× 196 lpi (Memory Tx) 306× 293 lpi
406× 392lpit^** (Feeder Tx)
Grayscale: 256-level, in feeder Tx or copy; 64-level, in memory Tx.
Printing width: 8.2"
Scanning width: 9.9'' or 8.2'' ; user-selectable.
Scanning method: Flatbed ccd.
Printing method: Dry, electrophotographic (laser) process.
Consumables yield: Drum cartridge, 20,000 pages; regular toner cartridge, 5,500 pages; starter toner cartridge, 3,600 pages.***
Recording paper capacity: Paper cassette, 500 letter-sized sheets; multipurpose tray, 150 letter- or legal-sized sheets.
Acceptable document size (width × height):
Single sheet -11.0^ × 35.4^ maximum, 5.8^ × 4.1^ minimum.
Two or more sheets - 10.1^ × 14.3^ maximum, 5.8^ × 4.1^ minimum.
Weight: 40.3 pounds (18.3 Kg)
Dimensions (width × depth × height): 19.2^ × 20.9^ × 14.6^ .
Power: 120V ± 10% , 50-60 Hz.
- Based on transmission of ITU-T Test Document 1 to a Muratec fax machine. Your transmission times will vary, but your Muratec fax machine always will provide the fastest transmission speeds possible under ITU-T guidelines and phone-line conditions.
In the case that the remote fax has the ability of "406 × 392". If not, the superfine resolution is "203 × 392", and the grayscale resolution in feeder transmission is "203 × 196".
* Based on letter-sized sheets, 4% document coverage and continuous printing.
Regulatory information
United States of America
Federal Communications Commission (FCC) information
Ringer Equivalence Number (RENS): AC REN, 2.4B; DC REN, 0.3.
This facsimile machine has been tested and found to comply with the limits for a Class A digital device, pursuant to Part 15 of the FCC rules. These limits are designed to provide reasonable protection against such interference in a residential installation.
This equipment generates, uses and can radiate radio frequency energy and, if not installed and used in accordance with the instructions, may cause harmful interference to radio communications. However, there is no guarantee that interference will not occur in a particular installation.
If this equipment causes interference in radio or television reception (which can be determined by turning the equipment off and on), the user is encouraged to try to correct the interference by one or more of the following measures:
- Reorient or relocate the receiving antenna.
- Increase the separation between the equipment and receiver.
- Connect the equipment into an outlet on a circuit different from that to which the receiver is connected.
- Consult the dealer or an experienced radio/TV technician for help.
This equipment complies with Part 68 of the FCC rules. On the bottom of this equipment is a label that contains, among other information, the FCC registration number and REN for this equipment. If so requested, you must provide this information to the telephone company.
An FCC-compliant telephone cord and modular plug are provided with this equipment. This equipment is designed to be connected to the telephone network or premises wiring using a compatible modular jack which is Part-68-compliant.
Telephone company procedures
The goal of the telephone company is to provide you with the best service it can. In order to do this, it may occasionally have to make changes in its equipment, operations or procedures. If these changes might affect your service or the operation of your equipment, the telephone company will give you notice, in writing, to allow you to make any changes necessary to maintain uninterrupted service.
If you have any questions about your telephone line, such as how many pieces of equipment you can connect to it, the telephone company will provide this information upon request.
In certain circumstances, it may be necessary for the telephone company to request information from you about the equipment which you have connected to your telephone line. Upon request of the telephone company, provide the FCC registration number and the Ringer Equivalence Number (REN) of the equipment which is connected to your line. Both of these numbers are listed on the equipment label attached to your fax machine.
The sum of all RENS on your telephone line should be fewer than five (5) in order to assure proper service from the telephone company. Sometimes, a sum of five (5) may not be usable on a given telephone line.
Note: This equipment is hearing-aid-compatible (HAC).
Notice: The Telephone Consumer Protection Act of 1991 makes it unlawful for any person to use a computer or other electronic device to send any message via a telephone fax machine unless such message clearly contains, either in a margin at the top or bottom of each transmitted page or on the first page of the transmission, the date and time it was sent and an identification of the business or other identity, or other individual sending the message and the telephone number of the sending machine or such business, entity or individual. For instructions on programming this information (the "TTI") into your fax machine, see pages 1.10-1.12.
Type of service
Your fax is designed for use on standard-device telephone lines. The fax connects to the telephone line with a standard line called the USOC RJ-11. Connection to telephone-company-provided coin service (central-office-implemented systems). Connection to party line service is subject to State tariffs.
If problems arise
If any of your telephone equipment is not operating properly, you should immediately remove it from your telephone line, as it may cause harm to the telephone network. If the telephone company notes a problem, they may temporarily stop service. When practical, they will notify you before this disconnection. If advance notice is not feasible, you will be notified as soon as possible. When you are notified, you will be given the opportunity to correct the problem and will be informed of your right to file a complaint with the FCC.
In the event repairs are ever needed on your fax machine, they should be done by Muratec America, Inc., or an authorized representative of Muratec America, Inc. For information, contact the Muratec Customer Support Center at 972-364-3350 (from the U. S. only).
Canada
Industry Canada (ic) regulations
IC Ringer Equivalence Number (REN): 0.9.
This digital apparatus does not exceed the Class A limits for radio noise emissions from digital apparatus as set out in the interference-causing equipment standard entitled "Digital Apparatus," ICES-003 of the Department of Communications.
Notice: The Canadian Department of Communications label identifies certified equipment. This certification means the equipment meets certain telecommunications network protective, operational and safety requirements. The Department does not guarantee the equipment will operate to the user's satisfaction.
Before installing this equipment, users should ensure that it is permissible to be connected to the facilities of the local telecommunications company. The equipment must also be installed using an acceptable method of connection. Sometimes, the company's inside wiring associated with a single-line individual service may be extended with a certified connector assembly (telephone extension cord). The customer should be aware that compliance with these conditions may not prevent degradation of service in some situations.
Repairs to certified equipment should be made by an authorized Canadian maintenance facility designated by the supplier. Any equipment malfunction, or repairs or alterations made by the user to this equipment, may give the telecommunications company cause to request the user to disconnect the equipment.
Users should ensure for their own protection that the electrical ground connections of the power utility, telephone lines and internal metallic water pipe system, if present, are connected. This precaution may be particularly important in rural areas.
Caution: Users should not attempt to make such connections themselves, but should contact the appropriate electric inspection authority or electrician.
The Ringer Equivalence Number (REN) assigned to each terminal device provides an indication of the maximum number of terminals allowed to be connected to a telephone interface. The termination on an interface may consist of any combination of devices subject only to the requirement that the sum of the RENS of all the devices does not exceed 5. The IC REN for the F-160 is 0.9.
Index
A
Activity journal 2.27
Alphanumeric directory. See EasyDial
Ans/Fax Ready mode 1.20
Answering machine (not included with fax machine), attaching 1.9
Answering, setting number of rings 2.4
Attaching (your) second phone 1.9
Autodialer 2.7-2.15
B
Batch transmission 2.20-2.23, 2.49-2.50
BlockJunkFax 2.63-2.64
Broadcasting 2.16, 2.46-2.48
C
Call groups 2.8, 2.14
Call request 2.32
Call-waiting, possible trouble with 1.14
Cancelling commands 1.17, 2.18
Cleaning your fax machine 3.10-3.11
Clearing jams Document, original 3.1 Printout . 3.1-3.2
Clearing settings before using EasyStart 1.10
Closed network 2.63
CODE key, using 2.2
Communications problems 3.5-3.9
Alarm 3.5
"Check Message" printouts 3.9
Errors, Error codes, printouts 3.7-3.8
LCD error messages 3.5-3.7
Confidential communication 2.58-2.66
Confirmation reports 2.28
Confirmation stamp 2.6
Continuous polling . See Polling
Contrast 1.13
Control panel 1.2, 1.4-1.5
Copying 1.22
Copy & Fax 2.25
Copy and print reduction 2.2-2.4
Cover page 2.26
D
Date and time, setting 1.10-1.11
Delayed transmission 2.17-2.19
Department code 2.65-2.66
Department code protection 2.66
Department time list 2.66
Dialing upon the power failure 1.23
Directory dialing . See EasyDial
Distinctive ring detection (DRD) 2.31-2.32
Document guidelines 1.13
Document, inserting 1.15
Drum cartridge, installing 1.7
Drum counter, resetting 1.7
Dual access See QuadAccess
E
EasyDial 1.23, 2.15
EasyStart 1.10-1.12
Electrical requirements 1.6, AI.1
Electrical surge suppressor 1.6
Error Correction Mode (ECM) 2.4
Errors See Communications problems
Extension telephone (yours; not included with fax machine) Connecting 1.9
Fax reception while using 1.18
F
F-Code communication
Create F-Code box 2.34-2.38
Erase an emply F-Code box 2.41-2.42
F-Code transmission and polling 2.42-2.43
Print a list of document stored in F-Code box 2.38
Print a list of F-Code boxes 2.38
Using a bulletin box 2.38-2.40
Using a relay box 2.41
Using a security box 2.40-2.41
Fax Ready mode 1.19
Fax/Tel Ready mode 1.19
Fine resolution 1.1, 1.13, 2.1, AI.1
G
Grayscale 1.1, 1.13, 2.1, AI.1
H
Handset (optional), summary of installation 1.9
I
Inserting pages (for faxing or copying) 1.15, 1.22
Installation
AC power line connection 1.8
Answering machine (yours) 1.9
Drum cartridge 1.6
Fax machine, location of 1.6
Handset and handset cradle (optional) 1.9
Phone line connection 1.8
Power line connection 1.8
Paper for printouts 1.7
Paper-handling parts 1.8
Telephone (yours) 1.9
Toner cartridge 1.6-1.7
J
Jammed paper, removing 3.1-3.2
Journal 2.27
"Junk fax," blocking 2.63-2.64
L
Language, setting 2.6
Larger documents, adjusting machine for 1.14
Light contrast 1.13, 2.1
Limited warranty . 6
Line connections. See Installation
Location ID 2.7, 2.9-2.14, 2.15
M
Making copies 1.22
Memory overflow error message 3.6, 3.7-3.8
Memory transmission 1.14
Monitor speaker, setting volume of 1.8-1.9
Multipurpose tray 1.7, 1.8
N
Normal resolution 1.1, 1.13, 2.1, AI.1
Numbering pages 2.33
0
OneLine + distinctive ring detection (DRD) 2.31-2.32
One-touch numbers 2.7, 2.8-2.11
See also Programmable one-touch keys
Operation protection 2.58-2.59
Outgoing message for (your) connected answering machine 1.21
Out-of-paper reception 1.21
P
Page numbering 2.33
Paper cassette 1.7
Paper for printouts 1.7
Passcode protection 2.58
Pause character, entering 1.13-1.14, 2.7
PBX, using with 3.13
Phone and electrical requirements 1.6
PIN mask 2.60-2.62
Polling 2.29-2.31, 2.48-2.49
Being polled 2.30
Continuous 2.30
Passcode protection for 2.31
Power consumption 1.6, AI.1
Printing machine settings 1.10-1.12, 2.6
Printing a program list 2.6
Print and copy reduction 2.2-2.4
Print quality problems 3.3-3.4
Program list, printing 2.6
Programmable one-touch keys 2.44-2.57
Q
QuadAccessTM 2.33
Quick memory transmission 2.29
R
RCRS (receive confirmation reports) 2.28
Receivingfaxes(basic instructions) 1.18-1.21
Redialing 1.16-1.17
Reduction, print and copy 2.2-2.4
Regulatory information 1A.2
Relay broadcasting (ITU-T) 2.34-2.41
Reports, confirmation (TCR and RCR) 2.28
Requirements, phone and electrical 1.6, AI.1
Resolution 1.1, 1.13, 2.1, AI.1
Review Commands 1.17, 2.18-2.19
Rings, setting number on which to answer 2.4
S
Security reception 2.59-2.60
Security transmission 2.62
Sendingfaxes(basic instructions) 1.13-1.17
Settings list, printing 1.10-1.12, 2.6
"Silent" fax machine, detection of 1.21
Silent mode 2.5
Soft key 2.24
Speaker, monitor, setting volume of 1.8-1.9
Special dialing characters 2.7
Special features 2.24-2.33
Specifications AI.1
Speed-dial numbers 2.7, 2.11-2.14
Stamp, transmission confirmation 2.6
Subscriber ID 1.10-1.12
Superfine resolution 1.1, 1.13, 2.1, AI.1
Surge suppressor 1.6
T
TCRS (transmit confirmation reports) 2.28
Telephone features 1.23
Time and date, setting 1.10-1.12
Toner cartridge, installing 1.6-1.7
Transmission See Sending taxes
Troubleshooting 3.5-3.9
Transmit Terminal Identifier (TTI) 1.10-1.12
U
Unpacking 1.2
User settings 1.10-1.12, 2.1-2.6
V
Verification stamp .See confirmation stamp
Voice mail, possible trouble with 1.14
Volume setting for monitor speaker 1.8-1.9
Voltage requirements and power consumption 1.6
W
Warranty, limited 1A.6
Limited warranty
This warranty is made by Muratec America, Inc. (hereafter referred to as "Muratec"). This warranty is valid only on Muratec products purchased and used in the United States of America. This warranty applies to the product only while owned and used by the original purchaser ("Customer"). If ownership of the product is transferred, this warranty terminates. This warranty does not apply to any product in use for rental purposes.
This Muratec product is warranted against defects in material and workmanship for ninety (90) days commencing the date of original Customer purchase. If the product is defective in material and/or workmanship (normal wear and tear excepted) during the warranty period, Muratec or its authorized representative will, during Muratec's established service availability hours, make necessary adjustments and repairs, including, at Muratec's option, installation of replacement parts. Muratec's service availability hours are 8:30 AM to 5:00 PM (Central time) Monday through Friday, excluding Muratec-recognized holidays. Muratec will complete the necessary adjustments and repairs within a reasonable time period, as dictated by the nature of the problem and by Muratec's service schedule. Replacement parts may have been used and/or reconditioned. Parts that have been replaced will remain the property of Muratec. This warranty is subject to the OBLIGATIONS and EXCLUSIONS set forth.
Obligations
- This warranty will be honored only on presentation of the original dated authorized Muratec bill of sale or Muratec dealer bill of sale or sales slip to an authorized Muratec service representative or service center. For the name of your authorized service center, contact Muratec (from the United States, call 1-972-364-3350; from Canada, check your in-box materials for the number to call).
- During the warranty period, the Customer must notify Muratec by telephone of any defective product material and/or workmanship.
- Transportation (including prepayment of freight and insurance charges) of the product to and from an authorized service center, designated by Muratec, is the responsibility of the Customer.
- If Muratec provides maintenance or responds to a call which is outside the scope of this warranty, such maintenance shall be billed to the Customer at Muratec's then-current rates for maintenance and parts and shall be due and payable in full upon receipt of invoice.
Exclusions
- This warranty shall not cover a product with missing or altered original identification marks.
- This warranty applies only to products that the purchaser has properly installed, adjusted and operated in accordance with the instructions set forth in or provided with product literature. This warranty does not apply to any product which has been subjected to tampering, alteration, misuse, abuse, neglect, improper installation or transportation damage. Nor does it apply to costs for any service requested for demonstration or to confirm proper operation of this product.
- The warranty shall not apply to adjustments, repairs or replacements necessitated by any cause beyond the control of Muratec (whether foreseeable or not) including, but not limited to, any malfunction, defects or failure caused by or resulting from any of the following: improper unpacking or installation, unauthorized service or parts, or improper maintenance or cleaning, modification or repair by the Customer, accident (including, without limitation, unavoidable accidents), fire, flood or other Acts of God, improper telephone or electrical power or surges thereof, interconnection with or use of non-compatible equipment or supplies (including paper), or placement of the product in an area which does not conform to Muratec space, electrical and/or environmental requirements.
- Muratec will not be required to make adjustments, repairs or replacements if the product is installed or used at a location deemed by Muratec to be hazardous to health or safety, or if Muratec is not provided with free and reasonable access to the product and a telephone during service availability hours, or if the product location is not accessible by an authorized Muratec service vehicle.
EXCEPT AS EXPRESSLY SET FORTH ABOVE, AND EXCEPT TO THE EXTENT PROHIBITED BY APPLICABLE LAW, MURATEC MAKES NO OTHER WARRANTY, EXPRESS OR IMPLIED (INCLUDING, BUT NOT LIMITED TO, ANY IMPLIED WARRANTY OF MERCHANTIBILITY OR FITNESS FOR A PARTICULAR PURPOSE, AND ANY WARRANTY ARISING FROM COURSE OF DEALING OR USAGE OF TRADE), AND MURATEC EXPRESSLY DISCLAIMS ALL WARRANTY NOT STATED HEREIN. IN THE EVENT THE PRODUCT IS NOT FREE FROM DEFECTS AS WARRANTED ABOVE, THE CUSTOMER'S SOLE REMEDY SHALL BE REPAIR OR REPLACEMENT AS PROVIDED ABOVE. UNDER NO CIRCUMSTANCES SHALL MURATEC BE LIABLE TO THE CUSTOMER, OR TO ANY USER, FOR ANY DAMAGES, INCLUDING ANY INCIDENTAL OR CONSEQUENTIAL DAMAGES, EXPENSES, LOST PROFITS, LOST SAVINGS OR ANY OTHER DAMAGES ASING OUT OF THE USE OR INABILITY TO USE THE MURATEC PRODUCT, EVEN IF MURATEC OR ITS REPRESENTATIVES HAVE BEEN ADVISED OF THE POSSIBILITY OF SUCH DAMAGES. Some States do not allow the exclusion or limitation of incidental or consequential damages, and some States do not allow limitations on how long an implied warranty lasts, so the above limitations or exclusions may not apply to you. This warranty gives you specific legal rights, and you may also have other rights which vary from State to State.
Safety information
Laser safety
This fax machine contains a page printer which operates by means of a laser. There is no possibility of danger from the laser, provided the fax machine is operated according to the instructions provided in this manual.
Since radiation emitted by the laser is completely confined with a protective housing, the laser beam cannot escape from the machine during any phase of user operation.
Internal laser radiation information
For all users
Maximum radiation power: 5.0 × 10^-4 (w) Wavelength: 770-810 (nm)
This is a Class IIIb laser diode assembly that has an invisible laser beam. The printer head unit is NOT A FIELD SERVICE ITEM. Therefore, the printer head unit should not be opened under any circumstances.
For United States users
Laser safety
This fax is certified as a Class 1 laser product under the U. S. Department of Health and Human Services (DHHS) Radiation Performance Standard according to the Food, Drug and Cosmetic Act of 1990. This means that the fax machine does not produce hazardous laser radiation.
CDRH regulations
The Center for Devices and Radiological Health (CDRH) of the U. S. Food and Drug Administration implemented regulations for laser products on August 2, 1976. Compliance is mandatory for products marketed in the United States. The labels shown in the graphic (see right column) indicates compliance with the CDRH regulations and must be attached to laser products marketed in the United States.
Warning: Use of controls, adjustments or performance of procedures other than those specified in this manual may result in hazardous radiation exposure.
Warning labels

This page intentionally blank.
This page intentionally blank.
This page intentionally blank.
EasyManual