AB456W - Electric oven ACEC - Free user manual and instructions
Find the device manual for free AB456W ACEC in PDF.
User questions about AB456W ACEC
0 question about this device. Answer the ones you know or ask your own.
Ask a new question about this device
Download the instructions for your Electric oven in PDF format for free! Find your manual AB456W - ACEC and take your electronic device back in hand. On this page are published all the documents necessary for the use of your device. AB456W by ACEC.
USER MANUAL AB456W ACEC
Important Safety Information
These warnings are provided in the interest of safety. You must read them carefully before installing or using the appliance.
During use
- This appliance has been designed for cooking edible foodstuff only and MUST NOT be used for any other purposes.
- Ensure that all control knobs are in the OFF position when not in use.
- Should you connect any electrical tool to a plug near this cooking appliance, ensure that electric cables are not in contact with it and keep them far enough from the heated parts of this appliance.
- If the appliance is out of order, disconnect it from the electric supply.
- Do not leave untensils containing foodstuffs, e. g. fat or oil in or on the appliance. This could cause damage in case the appliance is inadvertently switched on.
- Always place the dripping pan in position to collect fat when using the grill or when cooking meat. Pour a little water into the dripping pan to avoid smoke and unpleasant smells.
Always use oven gloves to remove pans from the oven. - For hygiene and safety reasons, this appliance should be kept clean at all times. A build-up of fats or other foodstuff could result in a fire.
- Disconnect the appliance from the electrical supply, before carrying out any cleaning or maintenance work.
- Some parts of the appliance are covered by a shockproof plastic film. Remove this film before using the oven.
- This appliance is meant to operate with a single-phased connection to 230V electrical supply. An eventual 400V poliphasic connection without earth wire will destroy the oven and the hob, if fitted.
- The manufacturer disclaims any responsibility should all the safety measures not be carried out.
Child Safety
- This appliance has been designed to be operated by adults and children under supervision. Young children must not be allowed to tamper with the controls or play near or with the oven.
- Accessible parts of this appliance may become hot when it is in use. Children should be KEPT AWAY until it has cooled.
Installation
- It is mandatory that all operations required for the installation are carried out by a qualified or competent person, in accordance with existing rules and regulations.
It is dangerous to alter the specification in any way. - Once you removed all packaging from the appliance, ensure that it is not damaged and the electric cable is in perfect conditions. Otherwise, contact your dealer before proceeding with the installation.
Service
- Under no circumstances should you attempt to repair the appliance yourself. Repairs carried out by unexperienced persons may cause injury or serious malfunctioning. Refer to your local Service Centre. Always insist on genuine spare parts.

Environmental Information
After installation, please dispose of the packaging with due regard to safety and the environment.
- When disposing of an old appliance, make it unusable, by cutting off the cable.
It is most important that this instruction book should be retained with the appliance for future reference. Should the appliance be sold or transferred, always ensure that the book is left with the appliance in order that the new owner can get to know the functions of the appliance and the relevant warnings.
Contents
For the User
Warnings and important advice 35
Control panel 37
Using the oven 37
When the oven is first installed 38
Cooking with the multifunction oven 39
Cooking tables 40
Cleaning and Maintenance 41
If something goes wrong 42
Assistance and spare parts 42
Guarantee conditions 45
For the Installer
Technical data 43
Installation 43
Electrical connection 44
CE This appliance complies with the following E.E.C.Directives:
- 73/23 - 90/683 (Low Voltage Directive);
- 89/336 (Electromagnetical Compatibility Directive);
93/68 (General Directives) and subsequent modifications.
MANUFACTURER:
ELECTROLUX ZANUSSI S.p.A.
VialeBologna,298
47100 FORLI (Italie)
Guide to Use the instructions
The following symbols will be found in the text to guide you throughout the Instructions:

Safety Instructions

Step by step instructions for an operation

Hints and Tips

Environmental information
OVENDOOR PROTECTION DEVICE
(MOD.AB 456 X)
All our appliances comply with the European Safety Standards. Nevertheless, in order to ensure the highest safety level, and avoid little children to be exposed to the heat when the appliance is operated, it is possible to fit a special protection device to the oven door. This device can be purchased in our Service Force Centres, specifying the relevant code (35791) and the Product No. shown on the rating plate. Fitting instructions are provided with the kit package.
Control Panel

Using the Oven
Oven function control knob (Fig. 1)

Oven light - The oven light will be on without any cooking function

Conventional cooking - The heat comes from both the top and bottom element, ensuring even heating inside the oven.

Fan cooking - This allows you to roast or roast and bake simultaneously using any shelf, without flavour interference.

Inner grill element only - can be used for grilling small quantities.
Thermostat control knob (Fig. 2)
Turn the thermostat control knob clockwise to select temperatures between 50^ and 250^ (MAX).
Thermostat control light
Once the oven temperature has been selected, the temperature light will come on and remain on until the oven has reached the correct setting; after that, it will go on and off with the thermostat, showing how the temperature is being maintained.
Oven control light
It will come on every time an heating element is set on operation.


Minute minder (Fig. 3)
The minute minder will mark the end of a timed period with an acoustic alarm. The maximum timing is 60 minutes.
Turn the Minute minder knob clockwise to the maximum time position, then turn it back to the required time. When cooking time is over, an acoustic alarm will sound. The minute minder will not affect in any way the oven operation.
The Safety Thermostat
This oven is provided with a safety thermostat. In case of malfunctioning of the main thermostat, and consequent over-heating, the safety device will stop the power supply to the appliance. If this happens, call your local Service Centre. Under no circumstances should you attempt to repair the appliance yourself.
Cooling fan
The purpose of the fan is to cool the control panel, the knobs and the oven door handle. The air stream flows out between the control panel and the oven door handle.
To ensure proper cooling, the fan will continue to operate even after the oven is turned off, until normal temperature levels have been reached.

Fig.3 FO 2456

All cookings must be carried out with the oven door closed
When the oven is first installed
Once the oven has been installed:

a) set the thermostat knob to MAX;
b) switch the oven function control knob to
conventional cooking (O);
c) allow the oven to run empty for approximately 45 minutes;
d) open a window for ventilation.
During this time, an unpleasant odour may be emitted.
This is absolutely normal, and is caused by residues of manufacturing.
Once this operation is carried out, let the oven cool down, then clean the oven cavity with a soft cloth soaked in warm soapy water.
Before cooking for the first time, carefully wash the shelf and the dripping pan.

To open the oven door, always catch the handle in its central part (Fig. 4).

Fig. 4
Cooking with the multifunction oven
Conventional cooking
Turn the oven function control knob to the relevant symbol
and set the thermostat knob on the required temperature.
If your dish need more heat from the top or from the bottom adjust the shelf level as required (see Fig. 6).
The Fan Oven
Turn the oven function control knob to the relevant symbol
and set the thermostat knob on the required temperature.
The fan situated behind the back panel circulates heated air into the oven.
If you need to cook more than one dish in the fan oven at the same time, place the shelves on the first and third position from the bottom (See Fig. 5).
If you are cooking only one dish in the fan oven, use the lower positions, as this will give you better results.
Defrosting
Turn the oven function control knob to the relevant symbol
( and set the thermostat knob on the OFF position (symbol : ●).
The oven fan operates without heat and circulates the air, at room temperature, inside the oven. This increases the rate at which defrosting takes place.
Grilling
Turn the oven function control knob to the relevant symbol
and set the thermostat knob on the required temperature.
Place the oven shelf as shown in Fig. 6.

Fig.5
Hints and Tips on Cooking Fish and Meat
You can place meat in oven proof dishes, or directly on the oven shelf. In this case, remember to place the dripping pan in the first position from the bottom with some water in it. The dripping pan will avoid the falling of melted fat on the oven base.
White meat, poultry and fish in general, need a medium temperature cooking (between 150 and 175^ ). If you need to cook red meat (slightly browned on the outside and more gently cooked in the inside), a higher temperature (between 200 and 250^ ) for a short time is recommended.
Hints and Tips on baking
Cakes usually need a medium temperature cooking, between 150 and 200^ .
A short oven pre-heating (about 10 minutes) is recommended when cooking cakes or baking. Once the cooking has been started, keep the oven door closed during all the cooking time, and check the cooking results through the oven door glass.
Hints and Tips on grilling
If you need to grill meat or fish, place them directly on the shelf after spreading a little oil on them.
In the grill function, heat comes only from the top element. Therefore, you need to adjust the cooking level depending on meat or fish's thickness.
Always remember to place the dripping pan in the lower position with some water in it.

Fig. 6
Cooking Tables
Traditional cooking and fan ducted cooking
| WEIGHT (GR.) | TYPE OF DISH | Traditional Cooking | Fan Oven | Cooking time minutes | NOTES | ||
| Level 4321 | temp. °C | Level 4321 | temp. °C | ||||
| 1000500500250 | Cakes | ||||||
| Whipped up kneading | 2 | 180 | 2 (1 and 3)* | 160 | 45 ~ 60 | ||
| Leavened kneading | 2 | 180 | 2 (1 and 3)* | 160 | 20 ~ 35 | ||
| Shortbread dough | 2 | 180 | 2 (1 and 3)* | 160 | 20 ~ 30 | ||
| Butter-milk cheese cake | 1 | 175 | 2 | 150 | 60 ~ 80 | ||
| Apple cake | 1 | 180 | 2 (1 and 3)* | 160 | 40 ~ 60 | ||
| Strudel | 2 | 175 | 2 (1 and 3)* | 150 | 60 ~ 80 | ||
| Jam-tart | 2 | 180 | 2 (1 and 3)* | 160 | 45 ~ 60 | ||
| Small cakes | 2 | 180 | 2 (1 and 3)* | 160 | 15 ~ 25 | ||
| Biscuits | 2 | 180 | 2 (1 and 3)* | 160 | 10 ~ 20 | ||
| Meringues | 2 | 100 | 2 (1 and 3)* | 100 | 90 ~ 120 | ||
| Bread and Pizza | |||||||
| White bread | 1 | 200 | 2 | 175 | 45 ~ 60 | 1 piece | |
| Rye bread | 2 | 200 | 2 | 175 | 30 ~ 45 | In bread pan | |
| Bread rolls | 2 | 200 | 2 (1 and 3)* | 175 | 20 ~ 35 | 8 rolls | |
| Pizza | 1 | 220 | 2 (1 and 3)* | 200 | 20 ~ 35 | In baking pan | |
| Flans | |||||||
| Pasta flan | 2 | 200 | 2 (1 and 3)* | 175 | 40 ~ 50 | ||
| Vegetable flan | 2 | 200 | 2 (1 and 3)* | 175 | 45 ~ 60 | ||
| Quiches | 2 | 200 | 2 (1 and 3)* | 175 | 35 ~ 45 | ||
| Lasagne | 2 | 200 | 2 | 175 | 45 ~ 60 | ||
| Meat | |||||||
| Beef | 2 | 200 | 2 | 175 | 50 ~ 70 | On grid | |
| Pork | 2 | 200 | 2 | 175 | 100 ~ 130 | On grid | |
| Veal | 2 | 200 | 2 | 175 | 90 ~ 120 | On grid | |
| English roast beef | 2 | 220 | 2 | 200 | 50 ~ 70 | On grid | |
| Lamb | 2 | 200 | 2 | 175 | 110 ~ 130 | Leg | |
| Chicken | 2 | 200 | 2 | 175 | 60 ~ 80 | Whole | |
| Turkey | 2 | 200 | 2 | 175 | 210 ~ 240 | Whole | |
| Duck | 2 | 175 | 2 | 160 | 120 ~ 150 | Whole | |
| Goose | 2 | 175 | 2 | 160 | 150 ~ 200 | Whole | |
| Hare | 2 | 200 | 2 | 175 | 60 ~ 80 | Cut in pieces | |
| Fish | |||||||
| Whole | 2 | 200 | 2 (1 and 3)* | 175 | 40 ~ 60 | 2 fishes | |
| Filletts | 2 | 200 | 2 (1 and 3)* | 175 | 30 ~ 40 | 4 fillets | |
NOTE:
Cooking times do not include pre-heating time. We reccomend a short oven pre-heating (about 10 minutes) before baking or cooking pizza.
(*) If you need to cook more than one dish at the same time, we recommend you to place them on the levels quoted between brackets.
Grilling
| TYPE OF DISH | Quantity | Grilling | Cooking time (minutes) | |||
| PIECES | WEIGHT | Level | temp. °C | Upper side | Lower side | |
| Steaks | 4 | 800 | 4 | max | 10 | 8 |
| Chops | 4 | 600 | 4 | max | 12 | 8 |
| Sausages | 8 | 500 | 4 | max | 10 | 6 |
| Chicken (cut in pieces) | 6 | 800 | 3 | max | 30 | 20 |
| Kebabs | 4 | 700 | 4 | max | 12 | 10 |
| Chicken (breast) | 4 | 400 | 4 | max | 13 | 10 |
| Tomatoes | 8 | 500 | 4 | max | 12 | - |
| Fish (fillets) | 4 | 400 | 4 | max | 8 | 6 |
| Sandwiches | 4 | - | 4 | max | 8 | - |
| Toast | 4 | - | 4 | max | 2~3 | 1 |
Cleaning and Maintenance
General Cleaning
- Before cleaning, always allow the oven to cool down.
- When using spray cleaning products, be careful not to spread them on the heating elements or on the thermostat sensor.
- Never use harsh abrasives, steel wool or cleaners with bleach, as they could damage the enamel and the oven door glass.
The Oven Cavity
The enamelled oven cavity is best cleaned whilst the oven is still warm. It is advisable to wipe the oven over with a soft cloth soaked in warm soapy water after each use. However, from time to time, it will be necessary to do a more complete cleaning, using a proper oven cleaner. In case of particularly tough stains, you can use stainless steel cleaning products or some warm vinegar.
- If cooking fruits, some over-heated natural acids can squeeze and settle on the oven enamel, causing stains quite difficult to remove. This could affect the enamel brightness, but it will have no consequence on the oven performances. To avoid these stains to be burnt out during the next cooking, carefully clean the oven cavity after all fruits cookings.
The Oven Door and its gasket
Before cleaning the oven door, we recommend you to remove it from the oven.
Proceed as follows:

a) open the oven door completely;
b) find the hinges linking the door to the oven (fig 7);
c) unlock and turn the small levers located on the two hinges (fig. 7);
d) handle the door by its left- and right-hand sides, then slowly turn it towards the oven until it is half-closed;
e) gently pull the oven door off its site (fig. 7);
f) place it on a steady plan;
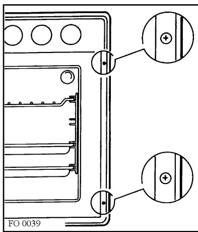
g) unscrew the two screws marked withlett.A fig.8;
h) pull up the oven door glass and take it away from the oven door.
Clean the oven door glass with warm water and a softh cloth only.
Once the cleaning is carried out, refit the oven door, following the procedure in reverse.
The correct operation of the oven is ensured by a gasket placed round the edge of the oven cavity.
- Periodically check the condition of this gasket. If necessary, clean it without using abrasive cleaning products.
- If the gasket shows to be damaged, call you local Service Centre. Do not use the oven until it has been repaired.

Fig. 7

Fig. 8

Replacing the Oven Light
- Ensure the electricity supply is switched off before carrying out this operation.
The oven bulb has to comply to these features:
a) resistant to temperatures of 300^ ;
b) electric rate: 230V - 50Hz ;
c) electric power rate: 15 W.;
d) connection type: E 14.
To replace the bulb, proceed as follows (Fig. 9):
a) push in and turn the glass lid anticlockwise;
b) remove tha faulty bulb;
c) replace it with a new one;
d) refit the glass lid;
e) switch on the electricity supply.
What happens if something goes wrong
If the appliance is not working correctly, please carry out the following checks, before contacting your local Service Centre.
| SYMPTOM | SOLUTION |
| ■ The oven does not come on | ◆Check the oven is in manual operation and that both a cooking function and a temperature have been selected or ◆Check the appliance is wired in properly, and the socket switch or the switch from the mains supply to the oven are ON. |
| ■ The oven temperature light does not come on | ◆Turn the thermostat knob on a temperature or ◆Turn the oven function control knob on a function. |
| ■ The oven light does not come on | ◆Turn the oven function control knob on a function or ◆Buy a new oven light bulb, asking for it to your local Service Centre and replace it by following the instruction provided in this booklet. |
| ■ It takes too much time to finish the dishes, or they are cooked too fast. | ◆Refer to the contents of this booklet, especially to the chapter "Using the Oven". |
| ■ Steam and condensation settle on the food and the oven cavity. | ◆Leave dishes inside the oven no longer than 15-20 minutes after the cooking is completed. |
Technical Assistance
If after the checks listed in the previous chapter, the appliance still does not work correctly, contact your local Service Centre, specifying the type of malfunctioning, the appliance model (Mod.), the product number (Prod. No.) and the serial number (Ser. No.) marked on the identification plate.
This plate is placed on the front external edge of the oven cavity.

Original spareparts, certified by the product manufacturer and carrying this symbol are only available at our Service Centre and authorized spare parts shops.

Technical Data
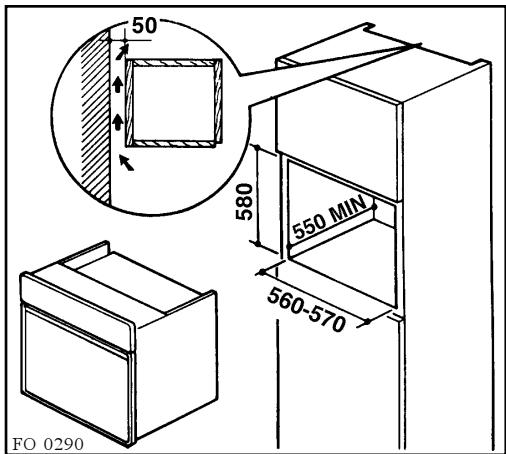
| RECESS DIMENSIONS | Height | 59,1 cm |
| Width | 56,0 cm | |
| Depth | 55,0 cm | |
| OVEN CAVITY DIMENSIONS | Height | 32,5 cm |
| Width | 42,0 cm | |
| Depth | 39,0 cm | |
| Volume | 53 l |
Installation
The following instructions are meant to a qualified technician, in order to allow him carry out the installation in compliance with the rules in force.
The building-in and the electrical connection for the appliance must be carried out by a qualified and authorized technician only.
Building In
It is important that the dimensions and materials of the surround or cabinet into which the oven will be built are correct and will withstand a temperature increase.
A correct installation will have to ensure a proper protection against contact with electric parts or merely functionally isolated parts.
All the units meant to ensure protection have to be fitted not to be taken away without using any tool.
We recommend not to install the appliance near refrigerators or freezer, since the heat could affect the performance of these appliances.
Overall dimensions of the oven (Fig. 10)
In-Column Recess Dimensions
The recess must have the dimensions shown in Fig. 11.
Undertop Recess Dimensions
The recess must have the dimensions shown in Fig. 12.
| Heating elements ratings | |
| Bottom heating element | 1000 W |
| Top heating element | 800 W |
| Full Oven (Top+Bottom)(1000 + 800) | 1800 W |
| Grill heating element | 1750 W |
| Convection fan | 30 W |
| Cooling fan | 25 W |
| Oven lamp | 15 W |
| Maximum power rating (230V - 50Hz) | 1870 W |
| Voltage tension (50 Hz) | 230 V |

Fig. 10

Fig. 11

Fig. 12
Securing the Oven to the Cabinet
Fit the appliance into the cabinet recess.
Open teh oven door and secure the oven to the kitchen cabinet with four wood screws, which fit the holes provided in the oven frame (Fig.13).
When installing an electric plate hob over the oven, the hob's electrical connection and the oven's one have to be carried out separately, for security reasons and to let the oven be taken off the unit easier, if necessary.
Electrical Connection
Before the appliance is connected:
1) check that the main fuse and the domestic installation can support the load;
2) check that the power supply is properly earthed in compliance with the current rules;
3) check the socket or the double pole switch used for the electrical connection can be easily reached with the appliance built in the forniture unit.
This appliance is delivered without an electric supply cable, therefore, you will have to fit to it a supply cable with standard plug, suitable for the total electric load shown on the rating plate. The plug is to be inserted into a suitable wall socket.
If connecting the appliance directly to the electric system, a double pole switch must be installed between the appliance and the electricity supply, with a minimum gap of 3mm between the switch contacts and of a type suitable for the required load in compliance with the current rules. The earth wire must not be interrupted by the double switch pole.
The connection cable has to be placed in order that, in each part, it cannot reach a temperature 50^ higher than the room temperature.
After the connection is carried out, test the heating elements for about 3 minutes.
Suitable power supply cables are the following types, considering the respective necessary section of cable.
H07 RN-F
H05 RN-F
H05 RR-F
H05VV-F
Terminal block
The oven has an easily accessible terminal block, which is meant to work with an electric single-phase rate of 230V .
The manufacturer disclaims any responsibility should all the safety measures not be carried out.

Fig. 13

Fig. 14
When calling for repairs during the period of guarantee of the appliance, the original invoice or receipt must be shown or sent together with the appliance to be repaired.
General conditions of guarantee
1 The manufacturer guarantees the appliance indicated on the relative invoice for a period of one year from the date of purchase. In case of a fault during this period if caused by a defect in materials and/or construction, the client is entitled to repair free of charge.
1a Concerning vacuum cleaners for domestic use, the total periodof guarantee is two years. Accessories are subject to a direct usage, consequently these articles are excluded from the guarantee.
2 The manufacturer guarantees technical assistance and repairs for one year. Spare parts fitted during repair are also covered by a one year guarantee from the date of repair. In case of fault during this period, as a direct result of the repair work carried out or caused by the new parts fitted on such occasion, the client is entitled to repair free of charge. The execution of repairs does not prolong the total period of guarantee covering the appliance.
3 Technical Assistance at domicile will be provided only for large apparatus which are difficult to transport such as: washing machines, spin-driers, dishwashers, refrigerators, freezers (vertical or horizontal), ovens, cookers and built-in appliances.
3a The above-mentioned conditions are also valid for refrigerators for caravens on condition that they are situated within the national boundaries and are accessible by roads open to traffic. Furthermore, at the time of the intervention the appliance and its owner, or the person so authorized, must be present at the place agreed upon for the intervention.
4 If, in the opinion of the manufacturer, the appliance as described in point 3 must be transported to a Technical Assistance laboratory, the transportation will be carried out as established by the manufacturer, at his expense and under his responsibility.
5 All appliances not mentioned under points 3 and 3a, including appliances having the same functional characteristics but whose transport is easy, must be sent to the Technical Assistance or taken to them. Throughout the period of guarantee the cost of return transportation will be taken care by the manufacturer.
6 If during the period of guarantee a disfunction occurs due to a defect which cannot be repaired, the appliance will be replaced free of charge.
Extension of the guarantee
7 For motorcompressors of refrigerators/ freezers (excluding the starting device and thermal interrupter) a decreasing guarantee of 20% per year for a period of five years from the date of purchase of the appliance indicated on the relative invoice with repairs free of charge throughout the entire period under guarantee. On completion of the total period of guarantee the cost of travel, workmanship and eventual spare parts will be at the expense of the client.
Exclusion from guarantee
8 The free execution of work for the repair and/or substitution as set out above will not apply if:
- The purchase invoice or receipt indicating the date of purchase and the identification of the appliance cannot be presented or was not sent with the appliance to be repaired;
- The appliance is used for purposes other than those of the domestic nature for which it was made;
- The appliance was not installed, handled or used in conformity with the indications in the instruction manual or in the modalities for use;
- The appliance has been repaired or modified incorrectly by unqualified personnel.
8a If the appliance has been built-in, underinserted, suspended or installed in such a way that the time required to move it and put it back in position exceeds thirty minutes in total, the extra expenditures occurred will be billed to the owner of the appliance.
8b In case of deterioration due to an irregular installation carried out in agreement with the owner of the appliance, the manufacturer and the technical assistance decline all responsibility.
8c Damage such as scratches, knocks or breakage of movable or dismountable units which were not notified to the manufacturer at the time of delivery are not covered by the guarantee.
Important notice
This appliance has been made to be safe. Inadequate repairs can nonetheless compromise this safety. To avoid such problems and to prevent any eventual damage we advise you to have repairs carried out exclusively by qualified personnel. We advise you to have repairs or maintenance carried out by the retailer or the Elgroep Service and to request only original spare parts.
Belgium

ELGROEP SERVICE
Electric Household Appliances
Bergensesteenweg 719
B-1520 Halle (Lembeek)
Repairing to customer's house:
Tel.: 02-3630444
Fax.: 02-3630400
Spare parts:
Tel.: 02-3630555
Fax.: 02-3630500
Telex: 22915 eluxbe

DISTRIPARTS
EasyManual