9, 9, 9-4, 9-5, 9.2, 9.3 - Wood stoves ADURO - Free user manual and instructions
Find the device manual for free 9, 9, 9-4, 9-5, 9.2, 9.3 ADURO in PDF.
User questions about 9, 9, 9-4, 9-5, 9.2, 9.3 ADURO
0 question about this device. Answer the ones you know or ask your own.
Ask a new question about this device
Download the instructions for your Wood stoves in PDF format for free! Find your manual 9, 9, 9-4, 9-5, 9.2, 9.3 - ADURO and take your electronic device back in hand. On this page are published all the documents necessary for the use of your device. 9, 9, 9-4, 9-5, 9.2, 9.3 by ADURO.
USER MANUAL 9, 9, 9-4, 9-5, 9.2, 9.3 ADURO
Congratulations with your new wood burning stove!
In order to get the best possible pleasure and benefit from your new Aduro wood burning stove, it is important that you read this User Manual thoroughly before you install your wood burning stove and start to use it.
1.0 General
1.1 Compliance
Aduro 9-4 complies with the EN 13240 European standards, as well as the NS 3058 Norwegian standard and is thereby approved for installation and use in Europe. At the same time, the manufacturing process is subject to external quality control. The product documentation for Norway has Sintef number 110-0332 and can be downloaded from our website at www.aduro.no or from www.nbl.sintef.no. Aduro 9-4 also carries the Nordic Swan Eco-label, which guarantees that the wood burning stove complies with the most stringent environmental requirements and has been manufactured in an environmentally correct manner. DoP (Declaration of Performance) can be seen on www.aduro.dk.
1.2 Technical data
| Nominal power | 6 kW |
| Flue outlet, diameter | Ø150 mm top/rear |
| Measurements (HxBxD) | 752 x 500 x 460 mm |
| Distance from centre of exhaust branch to rear edge of fireplace | 208 mm |
| Weight | 88 kg |
| Material | Steel |
| Fuel | Wood and woodbriquettes |
| Max wood lenght | 39 cm |
| Convection stove | ✓ |
| Primary-, sekundary- og tertiary air supply | ✓ |
| Air-wash system | ✓ |
| Ashpan | ✓ |
| Energy efficiency | 81,3% |
| Chimney draught | 12 Pa |
| Maximum combustion amount per hour: - Wood approx. | ca. 3.1 kg |
| Heat rating in buildings with - Optimum insulation | 150 m² |
| - Average insulation | 100 m² |
| - Inadequate insulation | 60 m² |
1.3 IMPORTANT: PRODUCTION NUMBER
The fireplace insert has a production number at the bottom of the rating plate on the back of the fireplace. We recommend that you note down this number before mounting the fireplace insert. For the purposes of the guarantee and for other enquiries, it is important that you are able to quote this number.
P/Nr.
1.4 Transportation
When taking your wood burning stove home, please ensure that it travels in an upright position. If you wish to lay it flat, it is important that you remove all loose parts from the combustion chamber (cast iron grate and loose fireproof tiles) and remove the ash drawer. Alternatively you could also fill the combustion chamber with excess packaging so the parts are kept in place.
2.0 Installation of the wood burning stove
You are welcome to install your wood burning stove yourself – but we strongly recommend that you consult your chimney sweep before you begin the installation. Your dealer can also provide you with installation advice. It is important to ensure that all local rules and regulations, including ones relating to national and European standards, are complied with when installing this device.
Please note: You may not begin to use the wood burning stove until it has been inspected and approved by your local chimney sweep.
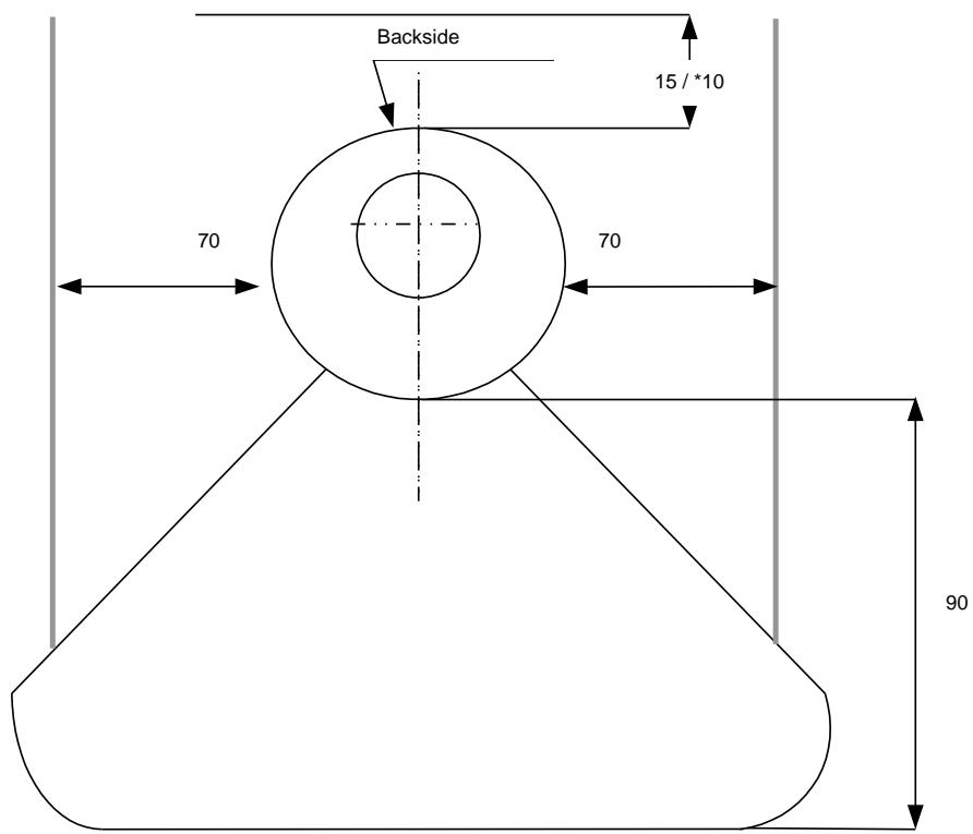
2.1 Position of the stove/distance requirements
The new wood burning stove must be installed in a suitable and physically possible position. You need to be sure that the position complies with local regulations. Distance requirements will only apply if the wood burning stove is to be placed close to flammable materials. See below.
If the stove is positioned against a brick wall or other non-flammable material, there is no minimum distance requirement. To facilitate cleaning and for the best use of the convection air, we recommend that you leave a distance of approximately 5–10 cm to the wall. The Aduro 9-4 is built as a convection stove. This means that air from the room circulates between the inner stove and the outer covering. As a result, the heated air is distributed evenly throughout the room.
Distance to flammable material
| Behind the stove | Behind stove with insulated flue pipe | To the sides of the stove | To furniture |
| 15 cm | 10 cm | 70 cm | 90 cm |

*with insulated pipe
Please note: Attachment / hanging of the stove
The stove is being delivered with wall fittings. The fittings must be properly fastened to the wall before the stove can be mounted / hung up. You may consult your normal supplier of building materials about suitable attachment materials such as screws / bolts / anchors for the stove / wall before the erection. ONLY USE FIXING MATERIALS, WHICH CAN NOT MELT. The stove weighs 90 kg. If you have any doubts about the requirements, then please consult your chimney sweep (who will inspect the stove). Please note: The lower edge of the stove must be minimum 28 cm above the floor.
If the wood burning stove is to be placed close to flammable material, such as a wooden floor or carpet, it must be placed on a non-flammable base. The floor plate should extend for at least 30~cm in front of the wood burning stove, and 15~cm on each side.
2.2 Pipe connection
Aduro 9-4 leaves the factory with the flue outlet mounted on the top. If you require the flue outlet on the back, remove the round circle from the rear cover at the upper rear of the stove and then exchange the exhaust connector (located on the top outlet above the stove) with the cover plate (that covers the rear outlet). The top outlet is finished with the plate that lies in the ash drawer. A flue pipe with an internal diameter of 150mm should be used for Aduro stoves.
2.3 Connection to a brick chimney
If the stove is being connected to a brick chimney, a curved flue pipe should be used via the top outlet. After measurement, a hole is made in the chimney in which the pipe sleeve is placed and fireplace mortar is used to seal it in place. The stove is placed in position and the flue pipe is put in place. A thin gasket is placed between the flue pipe and the pipe sleeve to seal the joints. The flue pipe should protrude 5–10 cm into the pipe sleeve, but must not block the opening in the chimney (see the illustration below).


When the wall fittings are mounted and correctly fastened; the stove may be pushed into place. Thereafter the stove must be fastened to the wall fittings with a screw under the bottom. The stove may also be adjusted at the top of the wall fittings as shown in the illustration here below.

The wood burning stove can be connected to a chimney to which other heat sources are connected.
3.0 Lighting a fire in the wood burning stove
3.1 Important safety information
- The wood burning stove will become warm during use and therefore it should be treated with all necessary caution.
- Never keep easily combustible fluids such as petrol in the vicinity of the wood burning stove – and never use easily combustible fluids to light the fire in the wood burning stove.
- Never empty the ash drawer when the wood burning stove is warm. Embers may still be found in the ash drawer for up to 24 hours after the fire has gone out. Please wait to empty the ash drawer until you are sure that there are no embers in the ash.
- The door should be kept closed while the wood burning stove is in use. While lighting the fire, the door can stand ajar for the first few minutes.
- In the event of a chimney fire: Close all the dampers on the wood burning stove and call the fire-fighting service.
3.2 Recommended fuels?
Wood and woodbriquettes. We recommend the use of split hardwood that has been stored outdoors under cover for at least 1 year. Wood that has been stored indoors has a tendency to become too dry and will burn too quickly. The wood should preferably be felled in the winter, when a lot of the moisture in the wood will have been drawn down into the roots. In order to achieve optimum combustion, the wood's moisture level should not exceed 18% , which roughly corresponds to storing the wood under cover outdoors for one year. The moisture level of the wood can be measured using a moisture meter or by applying washing up liquid to one end of the
log and blowing air in the other end. If the wood is dry enough, soap bubbles will appear. The wood should be chopped into logs with a diameter of approx. 10 cm and a log length of max. 39 cm.
Correct firing provides optimal heat output and maximum economy. At the same time, correct firing prevents environmental damage in the form of smoke and malodorous fumes and also reduces the risk of chimney fires. Well seasoned wood fuel is essential for correct use. Make sure your fuel is kept dry. If the fuel is wet, a large proportion of the heat will be used to vaporize the water, and this energy will disappear up the chimney. It is clearly not only uneconomical to fire with wet fuel but also, as mentioned above, increases the risk of producing soot, smoke and other environmentally damaging by-products.
Burning varnished wood, impregnated wood, chipboard, paper and other waste is strictly forbidden. Burning these materials will damage the environment, the wood burning stove and your own health. Fossil fuels must not be used.
3.3 How do I light a fire in the wood burning stove?
The fire lighting method is very important for starting combustion quickly and efficiently.
1) Open the primary air intake/damper under the door and open the secondary air intake behind the door. The primary damper is used at the start to get the fire going, while the secondary air intake keeps the fire burning evenly. The secondary air intake is closed when the damper is pushed all the way to the left and open when the damper is pushed to the right. To open the primary air intake the damper should be pulled out. The illustration below shows the stove seen from the front with the dampers indicated.
2) Place a log of wood crosswise in the combustion chamber and put 2 firelighters close to the log. Light the firelighters and quickly put a new log close to the firelighters and several small logs at an angle above it. Air must be able to reach the firelighters, but the logs should be touching to "warm" each other.
3) Keep the door approx. 1 cm ajar, until the glass is too hot to touch. Then close the door. When there are distinct, visible flames and the fire has taken hold, close the primary air intake/damper.

Important: The control handle will get warm when the wood burning stove is being used. Please use the glove provided when you operate the wood burning stove.
3.4 The first time a fire is lit
The wood burning stove is packed in recycling packaging (wood and plastic). This must be disposed according to national rules regarding disposal of waste. The wood from the packaging can be sawed into smaller pieces and used the first time a fire is lit.
The first few times the wood burning stove is used, there may be some smoke and unpleasant odours from the wood burning stove, which is fairly normal. This is caused by the heat-resistant paint hardening. Make sure there is sufficient ventilation during this stage. It is also important not to let the fire burn too fiercely the first 2-3 times, so that the wood burning stove has time to expand slowly. You should also be aware that the stove may make clicking sounds as it heats up and cools down – rather like pouring boiling water into a sink. These are caused by the great differences in temperature to which the materials are being exposed.
During the first firing, which should be carried out using approximately 1kg of wood, the stoking door must be left slightly open and must not be closed until the stove is cold. This is to prevent the sealing rope sticking to the stove.
3.5 How should I use my wood burning stove?
The wood burning stove is intended for intermittent combustion. This means that each stoking should burn down to embers before new logs are added.
In order to obtain the best possible combustion, you should regulate the effect/heat output with the fuel. Burning small logs provides more powerful combustion than burning large logs as the surface area is greater and more gas is released. The amount of wood in the combustion chamber is another factor that affects combustion. In normal circumstances, you should not place more than two logs in the stove. If you want an enhanced effect, you can add more logs. The nominal heat output is reached by burning approx. 2.2kg per hour.
3.6 Secondary damper
The secondary damper behind the door should always be open while the wood burning stove is in use. This damper allows you to adjust the wood burning stove to the chimney draft and the heat output you require. In normal circumstances, the wood burning stove should be working with this damper open between 60% and 100% . You should never close the air intake so far that the flames are extinguished. There should always be visible flames in order to achieve clean and efficient combustion. A too low supply of air can lead to bad combustion, high emissions and a bad efficiency. The air-wash system, that minimizes soot collecting on the front glass pane, is also adjusted by this damper.
3.6.1 Secondary damper side glass
The secondary damper over the side glass allows you to adjust the wood burning stove to the chimney draft and the heat output you require. It also helps to keep the side glass clean when opened.
Aduro Key: provides easier control of the secondary damper. The key is fitted onto the control handle, so you can more easily adjust the airflow from side to side. Turning to the left decreases the airflow, and turning to the right increases the airflow.

3.7 Primary damper
When you add a new log, the primary air intake/damper should be opened until the fire is burning properly. In order to utilize the fuel to the fullest extent, the embers should have burnt for so long that it is necessary to open the primary air intake for approx. 2 minutes to get the new log to burn.
In order to reduce the risk of ash falling from the stove when the door is opened to add more fuel, it is a good idea to open the primary air intake/damper for approx. 1 minute before the door is opened. This increases the draught through the stove and reduces the risk that ash will drop on the floor.
Please note: if you overload the wood burning stove and burn more than approx. 3.1 kg wood/hour, there is a risk that the lacquered surface of the stove will become discoloured and eventually fall off. The stove can be resurfaced, but this is not covered by the manufacturer's guarantee. In the same way, any other damage to the stove caused by overloading will not be covered by the guarantee.
3.8 Aduro-tronic
The patent-APplied Aduro-tronic is designed to operate the stove for you. All you have to do is put dry wood in the stove, and activate the control system - Aduro-tronic does the rest, leaving you to enjoy the flames and the benefits of efficient combustion. Aduro-tronic is a patent-applied mechanical solution, which works without the use of electricity.
Please note: Use of dry wood of the right size is important to achieve optimum combustion.

3.8.1 How to operate Aduro-tronic
When lighting
When lighting a fire in the wood burning stove for the first time, the maximum amount of primary air will be needed to light the fire. For that reason, the primary damper can be kept "forcibly open". This is done by pulling the primary damper forward as far as possible and then fixing it with the Aduro Key (see illustration). When the stove is warm and a layer of embers has been created on the bottom of the combustion chamber, the Aduro-tronic can be set to the automatic position, i.e. the Aduro Key can be removed.
Alternatively, you can leave the door ajar the first minutes during lighting the fire (without the key).
When stoking
Each time fresh wood is put in the stove, a precise amount of primary air will be allowed in for the first few minutes. What's more important is that the primary air is not allowed in for too long. This is to ensure optimum combustion. The Aduro-tronic control will ensure intake of primary air at the right tempo. The automatic is activated by pulling the primary damper out each time fresh wood is put in the stove. The automatic closes then the primary air gradually.

Regulation of the Aduro-tronic control
The control is pre-set to allow primary air intake for the first 5 minutes. This setting has been used during testing at the Danish Technological Institute using 'standard' sized logs and with optimum moisture content of 17% . Standard size logs are approx. 30~cm long and 10 × 10~cm in thickness. A standard chimney was also used for testing. In practice, such circumstances can differ, which is why the Aduro-tronic control can be adjusted to your circumstances. If you want a slower intake of primary air: (e.g. for a slower flue draught, larger sized wood or for longer intervals between stoking) Adjust the screw on the front of the control level using a small allen key to slow closure rate. If the screw is turned to the right closing time is increased and if turned to the left closing time is reduced. The Aduro-tronic must be closed within 6 minutes.
3.9 Ventilation/fresh air supply
In order for the wood burning stove to function at optimum efficiency, air is needed for the combustion process. There must be sufficient fresh air coming into the room containing the wood burning stove. In very well-insulated houses, or houses with powerful cooker hoods and/or air conditioning systems, a vacuum can be created around the wood burning stove, leading to smoke leakage and poor combustion. In these circumstances, it might be necessary to open a window to provide air for combustion and to equalize the vacuum. Alternatively, you could fit an air vent in the room containing the wood burning stove. The amount of air needed for combustion is 25m^3 /h
4.0 The chimney
Data for chimney calculation:
| Wood | |
| Flue temperature at [20 °C] | 245 |
| Chimney draught at testing power [mbar]/[Pa] | 0.12/12 |
| Flue gas mass flow [g/s] | 5,7 |
The optimum combustion is achieved at a constant chimney draught of 0.10 to 0.14 mbar measured in the flue pipe above the stove. There are many factors that affect the chimney draught, including the outside temperature, wind strength and surrounding buildings. If it is impossible to establish a sufficiently natural chimney draught, the chimney can be fitted with a smoke extractor. If the chimney draught is too strong, a damper can be fitted to regulate the chimney draught. Contact your local chimney sweep for more advice.
There are no requirements with respect to specific chimney heights, but a chimney must be tall enough to provide a good draught – above 12 Pa. If the recommended chimney draught is not achieved, there may be problems with smoke out of the door by firing.
4.1 Inadequate draught in the chimney
If the chimney is too short, leaks or is inadequately insulated, there may be problems with the chimney draught (let the chimney sweep assess this). The draught should be approx. 0.10-0.14 mbar in order to provide satisfactory combustion and prevent smoke leakage.
If the chimney sweep judges the draught to be satisfactory, but you still have problems lighting a fire, try extending the fire lighting phase/using more thin pieces of kindling, so that the chimney gets thoroughly warm. The chimney will not draw at optimum effect until it is warm. The fire lighting phase can be prolonged by using a lot of kindling and 1-2 firefighters. When a layer of embers has been formed, add 2-3 dry logs.
5.0 Maintaining and cleaning your wood burning stove
Gaskets
With time, the gaskets will wear, and, in order to avoid wild combustion, they must be replaced as required.
Glass
If the wood you burn is too moist, you will get soot stains on the glass pane. They can be easily removed using a damp cloth that you dip in cold ash and rub on the sooty glass. Special cleaning agents are also available to remove soot from glass, i.e. the Aduro Easy Clean pad.
Combustion chamber
The yellow tiles in the combustion chamber eventually wear out and they should be replaced when the cracks are more than 0.5cm . The durability of the tiles will depend on how often and how intensively the stove is used. You can change the tiles yourself. They are available as a ready-to-use set. You can also buy one-piece tiles that you can cut to the size of the worn plates yourself. Please consult your dealer.
Ash
Empty the ash drawer before it becomes completely full. Always leave a layer of ash on the bottom of the stove, as this insulates the combustion chamber and makes lighting a fire easier.
Cleaning the wood burning stove
The stove's surface is treated with a heat-resistant Senotherm® paint, which will stay at its best just by being vacuumed with a small, soft mouthpiece or dusted with a soft, dry cloth. Do not use water, spirit or other solvents which will remove the paint.
The inside of the wood burning stove and the flue pipe can be cleaned via the door and the cleaning aperture in the flue pipe/chimney. The upper fireproof tile (the exhaust deflector) can be removed. To allow free access to the top of the wood burning stove and the flue pipe, remove the exhaust deflector in steel (mounted with two screws). Cleaning of the inside of the wood burning stove and the flue pipe should be undertaken at least once a year, or more frequently if necessary, depending on how often the wood burning stove is used. This work can also be carried out by the chimney sweep.
Repairing the surface
If the surface of your wood burning stove gets scratched or worn, it can easily be refaced/renewed using the original Senotherm® paint in an aerosol can. It is available in black or grey from your local dealer.
Please note: All maintenance and cleaning of the wood burning stove should be carried out when it is cold.
Spare parts and unauthorized alterations
You may only use original spare parts in the wood burning stove. Consult your dealer for advice and when purchasing spare parts. All forms of unauthorized alterations to the wood burning stove are strictly forbidden, as the wood burning stove will no longer comply with the approved specifications.
6.0 Accessories
There is a wide product range of accessories for Aduro stoves:
- Companion sets
Firebaskets in felt, PET and bonded leather
Firewood buckets - Briquette bucket and ashbucket
Glass and steel floor plates - Flue pipes
-
Aduro Fire Starter
-
Aduro Easy Clean pad
7.0 Product liability and warranty
In accordance with the Danish Sale of Goods Act, product liability will exist for two years from the date of purchase of the wood burning stove. The dated receipt will be sufficient proof. Product liability will not cover damage caused by incorrect installation and use of the wood burning stove. Likewise, product liability will not cover loose parts and wear parts (fireproof tiles, glass, gaskets, rails, cast iron grate and control), as they are worn by ordinary use. These parts can be purchased as spare parts.
7.1 Free online warranty registration
Aduro will give you the opportunity to extend the above warranty on your wood burning stove from two to five years. All you need to do is to access our website at www.aduro.dk and register your new wood burning stove in our warranty database. The warranty will only come into force once you have entered the required information in all the data fields. The deadline for registering your wood burning stove is one month from the date of purchase.
8.0 FAQ
If you need more information, please go to www.aduro.dk.
Enjoy your stove!
EasyManual