XT195H46YT - Lawn tractor POULAN - Free user manual and instructions
Find the device manual for free XT195H46YT POULAN in PDF.
Download the instructions for your Lawn tractor in PDF format for free! Find your manual XT195H46YT - POULAN and take your electronic device back in hand. On this page are published all the documents necessary for the use of your device. XT195H46YT by POULAN.
USER MANUAL XT195H46YT POULAN
Read this Manual and follow allWarnings and Safety Instructions. Failure to do so can result in serious injury.
ALWAYS WEAR EYE PROTECTION DURING OPERATION
Visit our website: www.poulan-pro.com
DANGER: THIS CUTTING MACHINE IS CAPABLE OF AMPUTATING HANDS AND FEET AND THROWING OBJECTS. FAILURE TO OBSERVE THE FOLLOWING SAFETY INSTRUCTIONS COULD RESULT IN SERIOUS INJURY OR DEATH.

WARNING: In order to prevent accidental starting when setting up, transporting, adjusting or making repairs, always disconnect spark plug wire and place wire where it cannot contact spark plug.

WARNING: Do not coast down a hill in neutral, you may lose control of the tractor.

WARNING: Tow only the attachments that are recommended by and comply with specifications of the manufacturer of your tractor. Use common sense when towing. Operate only at the lowest possible speed when on a slope. Too heavy of a load, while on a slope, is dangerous. Tires can lose traction with the ground and cause you to lose control of your tractor.

WARNING

Engine exhaust, some of its constituents, and certain vehicle components contain or emit chemicals known to the State of California to cause cancer and birth defects or other reproductive harm.

WARNING

Battery posts, terminals and related accessories contain lead and lead compounds, chemicals known to the State of California to cause cancer and birth defects or other reproductive harm. Wash hands after handling.
I. GENERAL OPERATION
- Read, understand, and follow all instructions on the machine and in the manual before starting.
- Do not put hands or feet near rotating parts or under the machine. Keep clear of the discharge opening at all times.
- Only allow responsible adults, who are familiar with the instructions, to operate the machine.
- Clear the area of objects such as rocks, toys, wire, etc., which could be picked up and thrown by the blades.
- Be sure the area is clear of bystanders before operating. Stop machine if anyone enters the area.
- Never carry passengers.
- Do not mow in reverse unless absolutely necessary. Always look down and behind before and while backing.
-
Never direct discharged material toward anyone. Avoid discharging material against a wall or obstruction. Material may ricochet back toward the operator. Stop the blades when crossing gravel surfaces.
-
Do not operate machine without the entire grass catcher, discharge guard, or other safety devices in place and working.
Slow down before turning. - Never leave a running machine unattended. Always turn off blades, set parking brake, stop engine, and remove keys before dismounting.
- Disengage blades when not mowing. Shut off engine and wait for all parts to come to a complete stop before cleaning the machine, removing the grass catcher, or unclogging the discharge guard.
- Operate machine only in daylight or good artificial light.
- Do not operate the machine while under the influence of alcohol or drugs.
- Watch for traffic when operating near or crossing roadways.
Use extra care when loading or unloading the machine into a trailer or truck.
Always wear eye protection when operating machine. - Data indicates that operators, age 60 years and above, are involved in a large percentage of riding mower-related injuries. These operators should evaluate their ability to operate the riding mower safely enough to protect themselves and others from serious injury.
- Follow the manufacturer's recommendation for wheel weights or counterweights.
- Keep machine free of grass, leaves or other debris build-up which can touch hot exhaust / engine parts and burn. Do not allow the mower deck to plow leaves or other debris which can cause build-up to occur. Clean any oil or fuel spillage before operating or storing the machine. Allow machine to cool before storage.
II. SLOPE OPERATION
Slopes are a major factor related to loss of control and tip-over accidents, which can result in severe injury or death. Operation on all slopes requires extra caution. If you cannot back up the slope or if you feel uneasy on it, do not mow it.
Mow up and down slopes, not across.
- Watch for holes, ruts, bumps, rocks, or other hidden objects. Uneven terrain could overturn the machine. Tall grass can hide obstacles.
- Choose a low ground speed so that you will not have to stop or shift while on the slope.
- Do not mow on wet grass. Tires may lose traction. Always keep the machine in gear when going down slopes. Do not shift to neutral and coast downhill.
- Avoid starting, stopping, or turning on a slope. If the tires lose traction, disengage the blades and proceed slowly straight down the slope.
- Keep all movement on the slopes slow and gradual. Do not make sudden changes in speed or direction, which could cause the machine to roll over.
- Use extra care while operating machine with grass catchers or other attachments; they can affect the stability of the machine. Do no use on steep slopes.
- Do not try to stabilize the machine by putting your foot on the ground.
- Do not mow near drop-offs, ditches, or embankments. The machine could suddenly roll over if a wheel is over the edge or if the edge caves in.
III. CHILDREN
Tragic accidents can occur if the operator is not alert to the presence of children. Children are often attracted to the machine and the mowing activity. Never assume that children will remain where you last saw them.
- Keep children out of the mowing area and in the watchful care of a responsible adult other than the operator.
- Be alert and turn machine off if a child enters the area.
Before and while backing, look behind and down for small children. - Never carry children, even with the blades shut off. They may fall off and be seriously injured or interfere with safe machine operation. Children who have been given rides in the past may suddenly appear in the mowing area for another ride and be run over or backed over by the machine.
- Never allow children to operate the machine.
- Use extra care when approaching blind corners, shrubs, trees, or other objects that may block your view of a child.
IV. TOWING
- Tow only with a machine that has a hitch designed for towing. Do not attach towed equipment except at the hitch point.
- Follow the manufacturer's recommendation for weight limits for towed equipment and towing on slopes.
- Never allow children or others in or on towed equipment.
- On slopes, the weight of the towed equipment may cause loss of traction and loss of control.
Travel slowly and allow extra distance to stop.
V. SERVICE
SAFE HANDLING OF GASOLINE
To avoid personal injury or property damage, use extreme care in handling gasoline. Gasoline is extremely flammable and the vapors are explosive.
- Extinguish all cigarettes, cigars, pipes, and other sources of ignition.
Use only approved gasoline container. - Never remove gas cap or add fuel with the engine running. Allow engine to cool before refueling.
- Never fuel the machine indoors.
- Never store the machine or fuel container where there is an open flame, spark, or pilot light such as on a water heater or other appliances.
- Never fill containers inside a vehicle or on a truck or trailer bed with plastic liner. Always place containers on the ground away from your vehicle when filling.
- Remove gas-powered equipment from the truck or trailer and refuel it on the ground. If this is not possible, then refuel such equipment with a portable container, rather than from a gasoline dispenser nozzle.
- Keep the nozzle in contact with the rim of the fuel tank or container opening at all times until fueling is complete. Do not use a nozzle lock-open device.
If fuel is spilled on clothing, change clothing immediately. - Never overfill fuel tank. Replace gas cap and tighten securely.
GENERAL SERVICE
- Never operate machine in a closed area.
- Keep all nuts and bolts tight to be sure the equipment is in safe working condition.
- Never tamper with safety devices. Check their proper operation regularly.
- Keep machine free of grass, leaves, or other debris build-up. Clean oil or fuel spillage and remove any fuel-soaked debris. Allow machine to cool before storing.
If you strike a foreign object, stop and inspect the machine. Repair, if necessary, before restarting. - Never make any adjustments or repairs with the engine running.
- Check grass catcher components and the discharge guard frequently and replace with manufacturer's recommended parts, when necessary.
- Mower blades are sharp. Wrap the blade or wear gloves, and use extra caution when servicing them.
- Check brake operation frequently. Adjust and service as required.
- Maintain or replace safety and instruction labels, as necessary.





- Be sure the area is clear of bystanders before operating. Stop machine if anyone enters the area.
- Never carry passengers.
- Do not mow in reverse unless absolutely necessary. Always look down and behind before and while backing.
- Never carry children, even with the blades shut off. They may fall off and be seriously injured or interfere with safe machine operation. Children who have been given rides in the past may suddenly appear in the mowing area for another ride and be run over or backed over by the machine.
- Keep children out of the mowing area and in the watchful care of a responsible adult other than the operator.
- Be alert and turn machine off if a child enters the area.
- Before and while backing, look behind and down for small children.
Mow up and down slopes (15° Max), not across. - Choose a low ground speed so that you will not have to stop or shift while on the slope.
- Avoid starting, stopping, or turning on a slope. If the tires lose traction, disengage the blades and proceed slowly straight down the slope.
- If machine stops while going uphill, disengage blades, shift into reverse and back down slowly.
- Do not turn on slopes unless necessary, and then, turn slowly and gradually downhill, if possible.
PRODUCT SPECIFICATIONS
| Gasoline Capacity and type: | 2.50 Gallons Unleaded Regular |
| Oil Type (API-SG-SL): | SAE 10W30 (above 32°F) SAE 5W-30 (below 32°F) |
| Oil Capacity: | W/ Filter: 56 oz. W/O Filter: 48 oz. |
| Spark Plug: | Champion RC12YC (Gap: .030") |
| Ground Speed (MPH): | Forward: 0 – 5.5 Reverse: 0 – 2.4 |
| Charging System: | 3 Amps Battery 5 Amps Headlights |
| Battery: | AMP/HR: 28 MIN. CCA: 230 Case Size: U1R |
| Blade Bolt Torque: | 45-55 ft. lbs. |
CONGRATULATIONS on your purchase of a new tractor. It has been designed, engineered and manufactured to give you the best possible dependability and performance.
Should you experience any problem you cannot easily remedy, please contact your nearest authorized servicecenter/department We have competent, well-trained technicians and the proper tools to service or repair this tractor.
Please read and retain this manual. The instructions will enable you to assemble and maintain your tractor properly. Always observe the "SAFETY RULES".
CUSTOMER RESPONSIBILITIES
- Read and observe the safety rules.
- Follow a regular schedule in maintaining, caring for and using your tractor.
- Follow the instructions under "Maintenance" and "Storage" sections of this owner's manual.
WARNING: This tractor is equipped with an internal combustion engine and should not be used on or near any unimproved forest-covered, brush-covered or grass-covered land unless the engine's exhaust system is equipped with a spark arrester meeting applicable local or state laws (if any). If a spark arrester is used, it should be maintained in effective working order by the operator.
In the state of California the above is required by law (Section 4442 of the California Public Resources Code). Other states may have similar laws. Federal laws apply on federal lands.
A spark arrester for the muffler is available through your nearest authorized service center/department (See REPAIR PARTS section of this manual).
TABLE OF CONTENTS
SAFETY RULES 2
PRODUCT SPECIFICATIONS 4
CUSTOMER RESPONSIBILITIES 4
ASSEMBLY 5
OPERATION 7
MAINTENANCE SCHEDULE 14
MAINTENANCE 14
SERVICE AND ADJUSTMENTS 18
STORAGE 24
TROUBLESHOOTING 25
WARRANTY 30
UNASSEMBLED PARTS

(2) Keys


Slope Sheet
ASSEMBLY
Your new tractor has been assembled at the factory with the exception of those parts left unassembled for shipping purposes.
When right or left hand is mentioned in this manual, it means when you are in the operating position (seated behind the steering wheel).
TO REMOVE TRACTOR FROM CARTON
UNPACK CARTON
- Remove all accessible loose parts and parts cartons from carton.
- Cut along dashed lines on all four panels of carton. Remove end panels and lay side panels flat.
- Check for any additional loose parts or cartons and remove.
CHECK BATTERY (See Fig.1)
- Lift seat pan to raised position.
- If this battery is put into service after month and year indicated on label (label located between terminals) charge battery for minimum of one hour at 6-10 amps. (See "BATTERY" in the Maintenance section of this manual for charging instructions).

FIG. 1
ADJUST SEAT (See Fig. 2)
- Sit in seat.
- Lift up adjustment lever (A) and slide seat until a comfortable position is reached which allows you to press clutch/brake pedal all the way down.
- Release lever to lock seat in position.

FIG. 2
NOTE: You may now roll your tractor off the skid. Follow the appropriate instruction below to remove the tractor from the skid.
WARNING: Before starting, read, understand and follow all instructions in the Operation section of this manual. Be sure tractor is in a well-ventilated area. Be sure the area in front of tractor is clear of other people and objects.
TO ROLL TRACTOR OFF SKID (See Operation section for location and function of controls)
- Raise attachment lift lever to its highest position.
- Release parking brake by depressing brake pedal.
- Place freewheel control in disengaged position to disengage transmission (See "TO TRANSPORT" in the Operation section of this manual).
- Roll tractor forward off skid.
- Remove banding holding the deflector shield up against tractor.
CHECK TIRE PRESSURE
The tires on your tractor were overinflated at the factory for shipping purposes. Correct tire pressure is important for best cutting performance.
- Reduce tire pressure to PSI shown on tires.
CHECK DECK LEVELNESS
For best cutting results, mower housing should be properly leveled. See "TO LEVEL MOWER HOUSING" in the Service and Adjustments section of this manual.
CHECK FOR PROPER POSITION OF ALL BELTS
See the figures that are shown for replacing motion and mower blade drive belts in the Service and Adjustments section of this manual. Verify that the belts are routed correctly.
CHECK BRAKE SYSTEM
After you learn how to operate your tractor, check to see that the brake is operating properly. See "TO CHECK BRAKE" in the Service and Adjustments section of this manual.
√CHECKLIST
BEFORE YOU OPERATE YOUR NEW TRACTOR, WE WISH TO ASSURE THAT YOU RECEIVE THE BEST PERFORMANCE AND SATISFACTION FROM THIS QUALITY PRODUCT.
PLEASE REVIEW THE FOLLOWING CHECKLIST:
√ All assembly instructions have been completed.
No remaining loose parts in carton.
Battery is properly prepared and charged.
Seat is adjusted comfortably and tightened securely.
✓ All tires are properly inflated. (For shipping purposes, the tires were overinflated at the factory).
- Be sure mower deck is properly leveled side-to-side/ front-to-rear for best cutting results. (Tires must be properly inflated for leveling).
✓ Check mower and drive belts. Be sure they are routed properly around pulleys and inside all belt keepers.
✓ Check wiring. See that all connections are still secure and wires are properly clamped.
Before driving tractor, be sure freewheel control is in "transmission engaged" position (see "TO TRANSPORT" in the Operation section of this manual).
WHILE LEARNING HOW TO USE YOUR TRACTOR, PAY EXTRA ATTENTION TO THE FOLLOWING IMPORTANT ITEMS:
✓ Engine oil is at proper level.
✓ Fuel tank is filled with fresh, clean, regular unleaded gasoline.
Become familiar with all controls, their location and function. Operate them before you start the engine.
Be sure brake system is in safe operating condition.
Be sure Operator Presence System and Reverse Operation System (ROS) are working properly (See the Operation and Maintenance sections in this manual).
It is important to purge the transmission before operating your tractor for the first time. Follow proper starting and transmission purging instructions (See "TO START ENGINE" and "PURGE TRANSMISSION" in the Operation section of this manual).
These symbols may appear on your tractor or in literature supplied with the product. Learn and understand their meaning.

REVERSE

NEUTRAL

ENGINE OFF

DANGER, KEEP HANDS AND FEET AWAY





KEEP AREA CLEAR
SLOPE HAZARDS
(SEE SAFETY RULES SECTION)

FREE WHEEL (Automatic Models only)


Failure to follow instructions could result in serious injury or death. The safety alert symbol is used to identify safety information about hazards which can result in death, serious injury and/or property damage.

DANGER indicates a hazard which, if not avoided, will result in death or serious injury.

WARNING indicates a hazard which, if not avoided, could result in death or serious injury.

CAUTION indicates a hazard which, if not avoided, might result in minor or moderate injury.
CAUTION when used without the alert symbol, indicates a situation that could result in damage to the tractor and/or engine.

1
HOT SURFACES indicates a hazard which, if not avoided, could result in death, serious injury and/or property damage.

FIRE indicates a hazard which, if not avoided, could result in death, serious injury and/or property damage.
OPERATION
KNOW YOUR TRACTOR
READ THIS OWNER'S MANUAL AND SAFETY RULES BEFORE OPERATING YOUR TRACTOR
Compare the illustrations with your tractor to familiarize yourself with the locations of various controls and adjustments. Save this manual for future reference.

FIG. 3
Our tractors conform to the applicable safety standards of the American National Standards Institute.
(A) ATTACHMENT LIFT LEVER – Used to raise and lower the mower or other attachments mounted to your tractor.
(B) CLUTCH/BRAKE PEDAL – Used for braking the tractor and starting the engine.
(C) PARKING BRAKE – Locks clutch/brake pedal into the brake position.
(D) THROTTLE/CHOKE CONTROL – Used for starting and controlling engine speed.
(E) ATTACHMENT CLUTCH LEVER – Used to engage the mower blades, or other attachments mounted to your tractor.
(F) IGNITION SWITCH – Used for starting and stopping the engine.
(G) REVERSE OPERATION SYSTEM (ROS) "ON" POSITION - Allows operation of mower or other powered attachment while in reverse.
(H) LIGHT SWITCH - Turns the headlights on and off.
(J) CRUISE CONTROL LEVER - Used to set forward movement of tractor at desired speed without holding the forward drive pedal.
(K) FORWARD DRIVE PEDAL - Used for forward movement of tractor.
(L) REVERSE DRIVE PEDAL- Used for reverse movement of tractor.
OPERATION

The operation of any tractor can result in foreign objects thrown into the eyes, which can result in severe eye damage. Always wear safety glasses or eye shields while operating your tractor or performing any adjustments or repairs. We recommend standard safety glasses or a wide vision safety mask worn over spectacles.
HOW TO USE YOUR TRACTOR
TO SET PARKING BRAKE(See Fig. 4)
Your tractor is equipped with an operator presence sensing switch. When engine is running, any attempt by the operator to leave the seat without first setting the parking brake will shut off the engine.
- Depress brake pedal (B) all the way down and hold.
- Pull parking brake lever (C) up and hold, release pressure from brake pedal (B), then release parking brake lever. Pedal should remain in brake position. Make sure parking brake will hold tractor secure.

FIG. 4
STOPPING (See Fig. 5)
MOWER BLADES -
- To stop mower blades, move attachment clutch lever to "DISENGAGED" position.

FIG. 5

Attachment Clutch
Engage Position

Disengaged Position
GROUND DRIVE -
- To stop ground drive, depress brake pedal into full "BRAKE" position.
IMPORTANT: FORWARD AND REVERSE DRIVE PEDALS RETURN TO NEUTRAL POSITION WHEN NOT DEPRESSED.
ENGINE -
- Move throttle control between half and full speed (fast) position.
NOTE: Failure to move throttle control between half and full speed (fast) position, before stopping may cause engine to "backfire".
- Turn ignition key to "STOP" position and remove key. Always remove key when leaving tractor to prevent unauthorized use.
- Never use choke to stop engine.
IMPORTANT: LEAVING THE IGNITION SWITCH IN ANY POSITION OTHER THAN "STOP" WILL CAUSE THE BATTERY TO BE DISCHARGED, (DEAD).
NOTE: Under certain conditions when tractor is standing idle with the engine running, hot engine exhaust gases may cause "browning" of grass. To eliminate this possibility, always stop engine when stopping tractor on grass areas.

CAUTION: Always stop tractor completely, as described above, before leaving the operator's position; to empty grass catcher, etc.

FIG. 6
TO USE THROTTLE CONTROL (D) (See Fig. 6)
Always operate engine at full speed (fast).
- Operating engine at less than full speed (fast) reduces engines operating efficiency.
Full speed (fast) offers the best bagging and mower performance.
TO MOVE FORWARD AND BACKWARD (See Fig. 7)
The direction and speed of movement is controlled by the forward and reverse drive pedals.
- Start tractor and release parking brake.
- Slowly depress forward (K) or reverse (L) drive pedal to begin movement. Ground speed increases the further down the pedal is depressed.
OPERATION
TO USE CRUISE CONTROL (J) (See Fig. 7)
The cruise control feature can be used for forward travel only.

FIG. 7
SYSTEM CHARACTERISTICS
The cruise control should only be used while mowing or transporting on relatively smooth, straight surfaces. Other conditions such as trimming at slow speeds may cause the cruise control to disengage. Do not use the cruise control on slopes, rough terrier or while trimming or turning.
- With forward drive pedal depressed to desired speed, pull cruise control lever (J) up and hold while lifting your foot off the pedal, then release the lever.
To disengage the cruise control, depress the brake pedal or tap on forward drive pedal.
TO ADJUST MOWER CUTTING HEIGHT (See Fig. 8)
The position of the attachment lift lever (A) determines the cutting height.

FIG. 8
- Put attachment lift lever in desired cutting height slot.
The cutting height range is approximately 1'' to 4'' . The heights are measured from the ground to the blade tip with the engine not running. These heights are approximate and may vary depending upon soil conditions, height of grass and types of grass being mowed.
- The average lawn should be cut to approximately 2-1/2 inches during the cool season and to over 3 inches during hot months. For healthier and better looking lawns, mow often and after moderate growth.
- For best cutting performance, grass over 6 inches in height should be mowed twice. Make the first cut relatively high; the second to desired height.
TO ADJUST GAUGE WHEELS (See Fig. 9)
Gauge wheels are properly adjusted when they are slightly off the ground when mower is at the desired cutting height in operating position. Gauge wheels then keep the deck in proper position to help prevent scalping in most terrain conditions.
NOTE: Adjust gauge wheels with tractor on a flat level surface.
- Adjust mower to desired cutting height (See "TO ADJUST MOWER CUTTING HEIGHT" in this section of manual).
- With mower in desired height of cut position, gauge wheels should be assembled so they are slightly off the ground. Install gauge wheel in appropriate hole. Tighten securely.
- Repeat for all, installing gauge wheel in same adjustment hole.

FIG. 9
TO OPERATE MOWER
Your tractor is equipped with an operator presence sensing switch. Any attempt by the operator to leave the seat with the engine running and the attachment clutch engaged will shut off the engine. You must remain fully and centrally positioned in the seat to prevent the engine from hesitating or cutting off when operating your equipment on rough, rolling terrain or hills.
- Select desired height of cut with attachment lift lever.
- Start mower blades by engaging attachment clutch control.
TO STOP MOWER BLADES -
disengage attachment clutch control.

CAUTION: Do not operate the mower without either the entire grass catcher, on mowers so equipped, or the deflector shield (S) in place (See Fig. 10).

FIG. 10
Your tractor is equipped with a Reverse Operation System (ROS). Any attempt by the operator to travel in the reverse direction with the attachment clutch engaged will shut off the engine unless ignition key is placed in the ROS "ON" position.
WARNING: Backing up with the attachment clutch engaged while mowing is strongly discouraged. Turning the ROS "ON", to allow reverse operation with the attachment clutch engaged, should only be done when the operator decides it is necessary to reposition the machine with the attachment engaged. Do not mow in reverse unless absolutely necessary.
Only use if you are certain no children or other bystanders will enter the mowing area.
- Depress brake pedal all the way down.
- With engine running, turn ignition key counterclockwise to ROS "ON" position.
- Look down and behind before and while backing.
- Slowly depress reverse drive pedal to start movement.
- When use of the ROS is no longer needed, turn the ignition key clockwise to engine "ON" position.

ROS "ON" POSITION

ENGINE "ON" POSITION (NORMAL OPERATING)
TO OPERATE ON HILLS

CAUTION: Do not drive up or down hills with slopes greater than 15^ and do not drive across any slope.
- Choose the slowest speed before starting up or down hills.
- Avoid stopping or changing speed on hills.
- If stopping is absolutely necessary, push brake pedal quickly to brake position and engage parking brake.
- To restart movement, slowly release parking brake and brake pedal.
- Slowly depress appropriate drive pedal to slowest setting.
Make all turns slowly.
TO TRANSPORT (See Figs. 3 and 11)
When pushing or towing your tractor, be sure to disengage transmission by placing freewheel control in freewheeling position. Free wheel control is located at the rear drawbar of tractor.
- Raise attachment lift to highest position with attachment lift control.
Pull freewheel control out and down into the slot and release so it is held in the disengaged position. - Do not push or tow tractor at more than two (2) MPH.
To reengage transmission, reverse above procedure.
NOTE: To protect hood from damage when transporting your tractor on a truck or a trailer, be sure hood is closed and secured to tractor. Use an appropriate means of tying hood to tractor (rope, cord, etc.).
Transmission Engaged


Transmission Disengaged
FIG. 11
TOWING CARTS AND OTHER ATTACHMENTS
Tow only the attachments that are recommended by and comply with specifications of the manufacturer of your tractor. Use common sense when towing. Too heavy of a load, while on a slope, is dangerous. Tires can lose traction with the ground and cause you to lose control of your tractor.
BEFORE STARTING THE ENGINE
CHECK ENGINE OIL LEVEL
The engine in your tractor has been shipped, from the factory, already filled with summer weight oil.
- Check engine oil with tractor on level ground.
Pull up and remove oil fill cap/dipstick; wipe oil off. Reinsert the dipstick into the tube and push down firmly into place. Remove and read oil level. If necessary, add oil until "FULL" mark on dipstick is reached. Do not overfill. - For cold weather operation you should change oil for easier starting (See "OIL VISCOSITY CHART" in the Maintenance section of this manual).
- To change engine oil, see the Maintenance section in this manual.
OPERATION
ADD GASOLINE
- Fill fuel tank to bottom of filler neck. Do not overfill. Use fresh, clean, regular unleaded gasoline with a minimum of 87 octane. (Use of leaded gasoline will increase carbon and lead oxide deposits and reduce valve life). Do not mix oil with gasoline. Purchase fuel in quantities that can be used within 30 days to assure fuel freshness.

CAUTION: Wipe off any spilled oil or fuel. Do not store, spill or use gasoline near an open flame.
IMPORTANT: WHEN OPERATING IN TEMPERATURES BELOW 32^(0^) , USE FRESH, CLEAN WINTER GRADE GASOLINE TO HELP INSURE GOOD COLD WEATHER STARTING.
CAUTION: Alcohol blended fuels (called gasohol or using ethanol or methanol) can attract moisture which leads to separation and formation of acids during storage. Acidic gas can damage the fuel system of an engine while in storage. To avoid engine problems, the fuel system should be emptied before storage of 30 days or longer. Drain the gas tank, start the engine and let it run until the fuel lines and carburetor are empty. Use fresh fuel next season. See Storage Instructions for additional information. Never use engine or carburetor cleaner products in the fuel tank or permanent damage may occur.
TO START ENGINE (See Fig. 3)
When starting the engine for the first time or if the engine has run out of fuel, it will take extra cranking time to move fuel from the tank to the engine.
- Be sure freewheel control is in the transmission engaged position.
- Sit on seat in operating position, depress brake pedal and set parking brake.
- Move attachment clutch to "DISENGAGED" position.
- Move throttle control to choke position.
NOTE: Before starting, read the warm and cold starting procedures below.
- Insert key into ignition and turn key clockwise to "START" position and release key as soon as engine starts. Do not run starter continuously for more than fifteen seconds per minute. If the engine does not start after several attempts, move throttle control to fast position, wait a few minutes and try again. If engine still does not start, move the throttle control back to the choke position and retry.
WARM WEATHER STARTING (50° F and above)
- When engine starts, move the throttle control to the fast position.
- The attachments and ground drive can now be used. If the engine does not accept the load, restart the engine and allow it to warm up for one minute using the choke as described above.
COLD WEATHER STARTING (50° F and below)
- When engine starts, allow engine to run with the throttle control in the choke position until the engine runs roughly, then move throttle control to fast position. This may require an engine warm-up period from several seconds to several minutes, depending on the temperature.
AUTOMATIC TRANSMISSION WARM UP
-
Before driving the unit in cold weather, the transmission should be warmed up as follows:
-
Be sure the tractor is on level ground.
- Release the parking brake and let the brake slowly return to operating position.
-
Allow one minute for transmission to warm up. This can be done during the engine warm up period.
-
The attachments can also be used during the engine warm-up period after the transmission has been warmed up.
NOTE: If at a high altitude (above 3000 feet) or in cold temperatures (below 32 F) the carburetor fuel mixture may need to be adjusted for best engine performance. See "TO ADJUST CARBURETOR" in the Service and Adjustments section of this manual.
PURGE TRANSMISSION

CAUTION: Never engage or disengage freewheel lever while the engine is running.
To ensure proper operation and performance, it is recommended that the transmission be purged before operating tractor for the first time. This procedure will remove any trapped air inside the transmission which may have developed during shipping of your tractor.
IMPORTANT: SHOULD YOUR TRANSMISSION REQUIRE REMOVAL FOR SERVICE OR REPLACEMENT, IT SHOULD BE PURGED AFTER REINSTALLATION BEFORE OPERATING THE TRACTOR.
- Place tractor safely on a level surface - that is clear and open - with engine off and parking brake set.
- Disengage transmission by placing freewheel control in freewheeling position (See "TO TRANSPORT" in this section of manual).
- Sitting in the tractor seat, start engine. After the engine is running, move throttle control to slow position. Disengage parking brake

CAUTION: At any time, during step 4, there may be movement of the drive wheels.
- Depress forward drive pedal to full forward position, hold for five (5) seconds and release pedal. Depress reverse drive pedal to full reverse position, hold for five (5) seconds and release pedal. Repeat this procedure three (3) times.
- Shut-off engine and set parking brake.
- Engage transmission by placing freewheel control in engaged position (See "TO TRANSPORT" in this section of manual).
OPERATION
- Sitting in the tractor seat, start engine. After the engine is running, move throttle control to half (1/2) speed. Disengage parking brake.
-
Drive tractor forward for approximately five feet then backwards for five feet. Repeat this driving procedure three times.
-
Your transmission is now purged and now ready for normal operation.
MOWING TIPS
- Mower should be properly leveled for best mowing performance. See "TO LEVEL MOWER HOUSING" in the Service and Adjustments section of this manual.
- The left hand side of mower should be used for trimming.
- Drive so that clippings are discharged onto the area that has been cut. Have the cut area to the right of the machine. This will result in a more even distribution of clippings and more uniform cutting.
- When mowing large areas, start by turning to the right so that clippings will discharge away from shrubs, fences, driveways, etc. After one or two rounds, mow in the opposite direction making left hand turns until finished (See Fig. 12).

FIG. 12
- If grass is extremely tall, it should be mowed twice to reduce load and possible fire hazard from dried clippings. Make first cut relatively high; the second to the desired height.
- Do not mow grass when it is wet. Wet grass will plug mower and leave undesirable clumps. Allow grass to dry before mowing.
Always operate engine at full throttle when mowing to assure better mowing performance and proper discharge of material. Regulate ground speed by selecting a low enough gear to give the mower cutting performance as well as the quality of cut desired. - When operating attachments, select a ground speed that will suit the terrain and give best performance of the attachment being used.
| MAINTENANCE SCHEDULE | BEFORE EACH USE | EVERY 8 HOURS | EVERY 25 HOURS | EVERY 50 HOURS | EVERY 100 HOURS | EVERY SEASON | BEFORE STORAGE | |
| TRACTOR | Check Brake Operation | ✓ | ✓ | |||||
| Check Tire Pressure | ✓ | ✓ | ||||||
| Check Operator Presence & ROS Systems | ✓ | |||||||
| Check for Loose Fasteners | ✓ | ✓ | ✓ | |||||
| Check/Replace Mower Blades | ✓3 | |||||||
| Lubrication Chart | ✓ | ✓ | ||||||
| Check Battery Level | ✓4 | |||||||
| Clean Battery and Terminals | ✓ | ✓ | ||||||
| Check Transaxle Cooling | ✓ | |||||||
| Check Mower Levelness | ✓ | |||||||
| Check V-Belts | ✓ | |||||||
| ENGINE | Check Engine Oil Level | ✓ | ✓ | |||||
| Change Engine Oil (with oil filter) | ✓1,2 | ✓ | ||||||
| Change Engine Oil (without oil filter) | ✓1,2 | ✓ | ||||||
| Clean Air Filter | ✓2 | |||||||
| Clean Air Screen | ✓2 | |||||||
| Inspect Muffler/Spark Arrester | ✓ | |||||||
| Replace Oil Filter (If equipped) | ✓1,2 | |||||||
| Clean Engine Cooling Fins | ✓2 | |||||||
| Replace Spark Plug | ✓ | ✓ | ||||||
| Replace Air Filter Paper Cartridge | ✓2 | |||||||
| Replace Fuel Filter | ✓ | |||||||
1 - Change more often when operating under a heavy load or in high ambient temperatures.
2 - Service more often when operating in dirty or dusty conditions.
3 - Replace blades more often when mowing in sandy soil.
4 - Not required if equipped with maintenance-free battery.
GENERAL RECOMMENDATIONS
The warranty on this tractor does not cover items that have been subjected to operator abuse or negligence. To receive full value from the warranty, operator must maintain tractor as instructed in this manual.
Some adjustments will need to be made periodically to properly maintain your tractor.
At least once a season, check to see if you should make any of the adjustments described in the Service and Adjustments section of this manual.
- At least once a year you should replace the spark plug, clean or replace air filter, and check blades and belts for wear. A new spark plug and clean air filter assure proper air-fuel mixture and help your engine run better and last longer.
BEFORE EACH USE
- Check engine oil level.
- Check brake operation.
- Check tire pressure.
- Check operator presence and ROS systems for proper operation.
- Check for loose fasteners.

① General Purpose Grease
② Refer to Maintenance "ENGINE" Section
IMPORTANT: DO NOT OIL OR GREASE THE PIVOT POINTS WHICH HAVE SPECIAL NYLON BEARINGS. VISCOUS LUBRICANTS WILL ATTRACT DUST AND DIRT THAT WILL SHORTEN THE LIFE OF THE SELF-LUBRICATING BEARINGS. IF YOU FEEL THEY MUST BE LUBRICATED, USE ONLY A DRY, POWDERED GRAPHITE TYPE LUBRICANT SPARINGLY.
MAINTENANCE
TRACTOR
Always observe safety rules when performing any maintenance.
BRAKE OPERATION
If tractor requires more than five (5) feet to stop at highest speed in highest gear on a level, dry concrete or paved surface, then brake must be serviced. (See "TO CHECK BRAKE" in the Service and Adjustments section of this manual).
TIBES
- Maintain proper air pressure in all tires (See PSI on tires).
- Keep tires free of gasoline, oil, or insect control chemicals which can harm rubber.
- Avoid stumps, stones, deep ruts, sharp objects and other hazards that may cause tire damage.
NOTE: To seal tire punctures and prevent flat tires due to slow leaks, tire sealant may be purchased from your local parts dealer. Tire sealant also prevents tire dry rot and corrosion.
Be sure operator presence and reverse operation systems are working properly. If your tractor does not function as described, repair the problem immediately.
- The engine should not start unless the brake pedal is fully depressed, and the attachment clutch control is in the disengaged position.
CHECK OPERATOR PRESENCE SYSTEM
- When the engine is running, any attempt by the operator to leave the seat without first setting the parking brake should shut off the engine.
- When the engine is running and the attachment clutch is engaged, any attempt by the operator to leave the seat should shut off the engine.
- The attachment clutch should never operate unless the operator is in the seat.

ROS "ON" Position

Engine "ON" Position (Normal Operating)
-
When the engine is running with the ignition switch in the engine "ON" position and the attachment clutch engaged, any attempt by the operator to shift into reverse should shut off the engine.
-
When the engine is running with the ignition switch in the ROS "ON" position and the attachment clutch engaged, any attempt by the operator to shift into reverse should NOT shut off the engine.
BLADE CARE
For best results mower blades must be sharp. Replace worn, bent or damaged blades.

CAUTION: Use only a replacement blade approved by the manufacturer of your tractor. Using a blade not approved by the manufacturer of your tractor is hazardous, could damage your tractor and void your warranty.
BLADE REMOVAL (See Fig. 13)
- Raise mower to highest position to allow access to blades.
NOTE: Protect your hands with gloves and/or wrap blade with heavy cloth.
- Remove blade bolt by turning counterclockwise.
- Install new blade with stamped "GRASS SIDE" facing the ground.
IMPORTANT: To ensure proper assembly, center hole in blade must align with star on mandrel assembly.
Install and tighten blade bolt securely (45-55 Ft. Lbs. torque).
IMPORTANT: Special blade bolt is heat treated.

FIG. 13
BATTERY
Your tractor has a battery charging system which is sufficient for normal use. However, periodic charging of the battery with an automotive charger will extend its life.
- Keep battery and terminals clean.
- Keep battery bolts tight.
- Keep small vent holes open.
- Recharge at 6-10 amperes for 1 hour.
NOTE: The original equipment battery on your tractor is maintenance free. Do not attempt to open or remove caps or covers. Adding or checking level of electrolyte is not necessary.
TO CLEAN BATTERY AND TERMINALS
Corrosion and dirt on the battery and terminals can cause the battery to "leak" power.
- Remove terminal guard.
- Disconnect BLACK battery cable first then RED battery cable and remove battery from tractor.
- Rinse the battery with plain water and dry.
- Clean terminals and battery cable ends with wire brush until bright.
- Coat terminals with grease or petroleum jelly.
- Reinstall battery (See "REPLACING BATTERY" in the SERVICE AND ADJUSTMENTS section of this manual).
V-BELTS
Check V-belts for deterioration and wear after 100 hours of operation and replace if necessary. The belts are not adjustable. Replace belts if they begin to slip from wear.
TRANSAXLE COOLING
The transmission fan and cooling fins should be kept clean to assure proper cooling.
Do not attempt to clean fan or transmission while engine is running or while the transmission is hot. To prevent possible damage to seals, do not use high pressure water or steam to clean transaxle.
- Inspect cooling fan to be sure fan blades are intact and clean.
- Inspect cooling fins for dirt, grass clippings and other materials. To prevent damage to seals, do not use compressed air or high pressure sprayer to clean cooling fins.
TRANSAXLE PUMP FLUID
The transaxle was sealed at the factory and fluid maintenance is not required for the life of the transaxle. Should the transaxle ever leak or require servicing, contact your nearest authorized service center/department.
ENGINE
LUBRICATION
Only use high quality detergent oil rated with API service classification SG-SL. Select the oil's SAE viscosity grade according to your expected operating temperature.

FIG. 14
Change the oil after every 50 hours of operation or at least once a year if the tractor is not used for 50 hours in one year.
Check the crankcase oil level before starting the engine and after each eight (8) hours of operation.
TO CHANGE ENGINE OIL (See Figs. 14 and 15)
Determine temperature range expected before oil change. All oil must meet API service classification C.
- Be sure tractor is on level surface.
Oil will drain more freely when warm.
Catch oil in a suitable container. - Remove oil fill cap/dipstick. Be careful not to allow dirt to enter the engine when changing oil.
- Remove yellow cap from end of drain valve and install the drain tube onto the fitting.

FIG. 15
- Unlock drain valve by pushing inward and turning counterclockwise.
To open, pull out on the drain valve.
After oil has drained completely, close and lock the drain valve by pushing inward and turning clockwise until the pin is in the locked position as shown. - Remove the drain tube and replace the cap onto the bottom fitting of the drain valve.
- Refill engine with oil through oil fill dipstick tube. Pour slowly. Do not overfill. For approximate capacity see "PRODUCT SPECIFICATIONS" section of this manual.
- Use gauge on oil fill cap/dipstick for checking level. For accurate reading, insert dipstick into the tube and push down firmly into place before removing. Keep oil up to, but not over, the "FULL" line on dipstick. Push dipstick down firmly into the tube when finished.
CLEAN AIR SCREEN
Air screen must be kept free of dirt and chaff to prevent engine damage from overheating. Clean with a wire brush or compressed air to remove dirt and stubborn dried gum fibers.
MAINTENANCE
AIR FILTER
Your engine will not run properly using a dirty air filter. Service air cleaner more often under dusty conditions. See Engine Manual.
ENGINE OIL FILTER
Replace the engine oil filter every season or every other oil change if the tractor is used more than 100 hours in one year.
MUFFLER
Inspect and replace corroded muffler and spark arrester (if equipped) as it could create a fire hazard and/or damage.
SPARK PLUGS
Replace spark plugs at the beginning of each mowing season or after every 100 hours of operation, whichever occurs first. Spark plug type and gap setting are shown in "PRODUCT SPECIFICATIONS" section of this manual.
IN-LINE FUEL FILTER (See Fig. 16)
The fuel filter should be replaced once each season. If fuel filter becomes clogged, obstructing fuel flow to carburetor, replacement is required.
- With engine cool, remove filter and plug fuel line sections.
- Place new fuel filter in position in fuel line with arrow pointing towards carburetor.
- Be sure there are no fuel line leaks and clamps are properly positioned.
- Immediately wipe up any spilled gasoline.

FIG. 16
CLEANING
- Clean engine, battery, seat, finish, etc. of all foreign matter.
- Keep finished surfaces and wheels free of all gasoline, oil, etc.
- Protect painted surfaces with automotive type wax.
We do not recommend using a garden hose or pressure washer to clean your tractor unless the engine and transmission are covered to keep water out. Water in engine or transmission will shorten the useful life of your tractor. Use compressed air or a leaf blower to remove grass, leaves and trash from tractor and mower.

WARNING: TO AVOID SERIOUS INJURY, BEFORE PERFORMING ANY SERVICE OR ADJUSTMENTS:
- Depress brake pedal fully and set parking brake.
- Place attachment clutch in "DISENGAGED" position.
- Turn ignition key to "STOP" and remove key.
- Make sure the blades and all moving parts have completely stopped.
- Disconnect spark plug wire from spark plug and place wire where it cannot come in contact with plug.
TO REMOVE MOWER (See Fig. 17)
- Place attachment clutch in "DISENGAGED" position.
Lower attachment lift lever to its lowest position.
Roll belt off engine pulley (M) and belt keepers (G). - Remove retainer spring (K), slide collar (L) off and push housing guide (P) out of bracket.
- Remove clutch cable spring (Q) from idler arm (R).
- Disconnect front link (E) from mower - remove retainer spring and washer.
- Go to either side of mower and disconnect mower suspension arm (A) from chassis pin (B) and rear lift link (C) from rear mower bracket (D) - remove retainer springs and washers.

CAUTION: AFTER REAR LIFT LINKS ARE DISCONNECTED, THE ATTACHMENT LIFT LEVER WILL BE SPRING LOADED. HAVE A TIGHT GRIP ON LIFT LEVER WHEN CHANGING POSITION OF THE LEVER.
- Slide mower out from under right side of tractor.
IMPORTANT: IF AN ATTACHMENT OTHER THAN THE MOWER IS TO BE MOUNTED ON THE TRACTOR, REMOVE THE FRONT LINK (E) AND REAR LIFT LIKS (C) FROM TRACTOR AND HOOK THE CLUTCH SPRING (Q) INTO THE CABLE GUIDE ON FRONT EDGE OF LOWER DASH.
TO INSTALL MOWER (See Fig.17-21)
Be sure tractor is on level surface and engage parking brake.
- Lower attachment lift lever to its lowest position.

CAUTION: LIFT LEVER IS SPRING LOADED. HAVE A TIGHT GRIP ON LIFT LEVER, LOWER IT SLOWLY AND ENGAGE IN LOWEST POSITION.
NOTE: Be sure mower side suspension arms (A) are pointing forward before sliding mower under tractor.
- Slide mower under tractor until it is centered under tractor.
ATTACH MOWER SIDE SUSPENSION ARMS (A) TO CHASSIS - Position hole in arm over pin (B) on outside of tractor chassis and secure with retainer spring.
Repeat on opposite side of tractor.

FIG. 18

FIG. 17
SERVICE AND ADJUSTMENTS
- ATTACH REAR LIFT LINKS (C) - Lift rear corner of mower and position slot in link assembly over pin (D) on rear mower bracket and secure with washer and retainer spring.

FIG.19
- ATTACH FRONT LINK (E) - Work from left side of tractor. Insert rod end of link assembly through front hole in tractor front suspension bracket (F).
- Insert end of link (E) into hole in front mower bracket and secure with washer and retainer spring (J).

FIG. 20
- Hook end of clutch cable spring (Q) into hole in idler arm (R).
- Push clutch cable housing guide (P) into bracket, slide collar (L) onto guide and secure with retainer spring (K).
Install belt on engine pulley (M), in belt keepers (G).
IMPORTANT: CHECK BELT FOR PROPER ROUTING IN ALL MOWER PULLEY GROOVES.
- Raise attachment lift lever to highest position.
- If necessary, adjust gauge wheels before operating mower as shown in the Operation section of this manual.

FIG. 21
SERVICE AND ADJUSTMENTS
TO LEVEL MOWER
Make sure tires are properly inflated to the PSI shown on tires. If tires are over or under inflated, it may affect the appearance of your lawn and lead you to think the mower is not adjusted properly.
VISUAL SIDE-TO-SIDE ADJUSTMENT (See Fig. 22)
- With all tires properly inflated and if your lawn appears unevenly cut, determine which side of mower is cutting lower.
- With a 3/4'' or adjustable wrench, turn lift link adjustment nut (A) to the left to lower LH side of mower, or, to the right to raise LH side of mower.

FIG. 22
NOTE: Each full turn of adjustment nut will change mower height about 3/16" .
- Test your adjustment by mowing some uncut grass and visually checking the appearance. Readjust, if necessary, until you are satisfied with the results.
PRECISION SIDE-TO-SIDE ADJUSTMENT
(See Fig. 23)
- With all tires properly inflated, park tractor on level ground or driveway.

CAUTION: Blades are sharp. Protect your hands with gloves and/or wrap blade with heavy cloth.
- Raise mower to its highest position.
- At both sides of mower, position blade at side and measure the distance (A) from bottom edge of blade to the ground. The distance should be the same on both sides.

FIG. 23
- If adjustment is necessary, see step in Visual Adjustment instructions above.
- Recheck measurements, adjust if necessary until both sides are equal.
FRONT-TO-BACK ADJUSTMENT (See Figs. 24 and 25)
IMPORTANT: Deck must be level side-to-side.
To obtain the best cutting results, the mower blades should be adjusted so the front tip is 1/8'' to 1/2'' lower than the rear tip when the mower is in its highest position.

CAUTION: Blades are sharp. Protect your hands with gloves and/or wrap blade with heavy cloth.
- Raise mower to highest position.
- Position any blade so the tip is pointing straight forward. Measure distance (B) to the ground at front and rear tip of the blade.

FIG. 24
If front tip of blade is not 1 / 8'' to 1 / 2'' lower than the rear tip, go to the front of tractor.
- With an 11 / 16'' or adjustable wrench, loosen jam nut A several turns to clear adjustment nut B.
- With a 3/4'' or adjustable wrench, turn front link adjustment nut (B) clockwise (tighten) to raise the front of mower, or, counterclockwise (loosen) to lower the front mower.

FIG. 25
NOTE: Each full turn of the adjustment nut will change mower height about 1/8" .
- Recheck measurements, adjust if necessary until front tip of blade is 1/8'' to 1/2'' lower than the rear tip.
- Hold adjustment nut in position with wrench and tighten jam nut securely against adjustment nut.
SERVICE AND ADJUSTMENTS
TO REPLACE MOWER DRIVE BELT (See Fig. 26)
MOWER DRIVE BELT REMOVAL
- Park tractor on a level surface. Engage parking brake.
- Lower attachment lift lever to its lowest position.
- Remove any dirt or grass clippings which may have accumulated around mandrels and entire upper deck surface.
- Remove belt from electric clutch pulley (M), both mandrel pulleys (R) and all idler pulleys (S).
MOWER DRIVE BELT INSTALLATION
Install belt around all mandrel pulleys (R) and around idler pulleys (S) as shown.
Install belt onto electric clutch pulley (M).
IMPORTANT: Check belt for proper routing in all mower pulley grooves.
- Raise attachment lift lever to highest position.

FIG. 26
TO CHECK BRAKE
If tractor requires more than five (5) feet to stop at highest speed in highest gear on a level, dry concrete or paved surface, then brake must be serviced.
You may also check brake by:
- Park tractor on a level, dry concrete or paved surface, depress brake pedal all the way down and engage parking brake.
- Disengage transmission by placing freewheel control in "transmission disengaged" position. Pull freewheel control out and into the slot and release so it is held in the disengaged position.
The rear wheels must lock and skid when you try to manually push the tractor forward. If the rear wheels rotate, then the brake needs to be serviced. Contact a qualified service center.
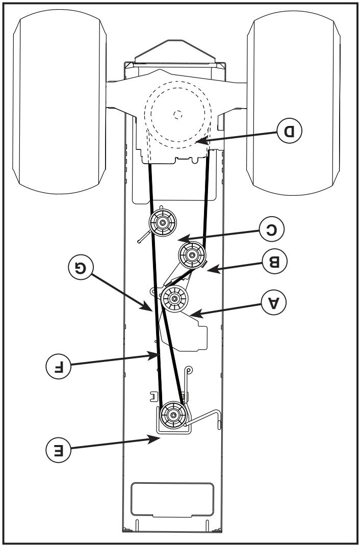
TO REPLACE MOTION DRIVE BELT (See Fig. 27)
Park the tractor on level surface. Engage parking brake. For assistance, there is a belt installation guide decal on bottom side of left footrest.
BELT REMOVAL -
- Remove mower (See "TO REMOVE MOWER" in this section of manual).
NOTE: Observe entire motion drive belt and position of all belt guides and keepers.
- Remove belt from stationary idler (A) and clutching idler (B).
- Remove belt from centerspan idler (C).
- Pull belt slack toward rear of tractor. Carefully remove belt upwards from transmission input pulley and over cooling fan blades (D).
- Remove belt downward from engine pulley (E).
- Slide belt toward rear of tractor, off the steering plate (F) and remove from tractor.

FIG. 27
SERVICE AND ADJUSTMENTS
BELT INSTALLATION -
- Install new belt from tractor rear to front, over the steering plate (F) and above clutch brake pedal shaft (G).
- Pull belt toward front of tractor and roll belt onto engine pulley (E).
- Pull belt toward rear of tractor. Carefully work belt down around transmission cooling fan and onto the input pulley (D). Be sure belt is inside the belt keeper.
- Install belt on centerspan idler (C).
- Install belt through stationary idler (A) and clutching idler (B).
- Make sure belt is in all pulley grooves and inside all belt guides and keepers.
- Install mower (See "TO INSTALL MOWER" in this section of manual).
FRONT WHEEL TOE-IN/CAMBER
Your new tractor front wheel toe-in and camber is set at the factory and is normal. The front wheel toe-in and camber are not adjustable. If damage has occurred to affect the factory set front wheel toe-in or camber, contact a qualified service center.
TO REMOVE WHEEL FOR REPAIRS (See Fig. 28)
- Block up axle securely.
- Remove axle cover, retaining ring and washers to allow wheel removal (rear wheel contains a square key - Do not lose).
Repair tire and reassemble. - On rear wheels only: align grooves in rear wheel hub and axle. Insert square key.
- Replace washers and snap retaining ring securely in axle groove.
- Replace axle cover.
NOTE: To seal tire punctures and prevent flat tires due to slow leaks, tire sealant may be purchased from your local parts dealer. Tire sealant also prevents tire dry rot and corrosion.

FIG. 28
TO START ENGINE WITH A WEAK BATTERY (See Fig. 29)

WARNING: Lead-acid batteries generate explosive gases. Keep sparks, flame and smoking materials away from batteries. Always wear eye protection when around batteries.
If your battery is too weak to start the engine, it should be recharged. (See "BATTERY" in the MAINTENANCE section of this manual).
If "jumper cables" are used for emergency starting, follow this procedure:
IMPORTANT: YOUR TRACTOR IS EQUIPPED WITH A 12 VOLT SYSTEM. THE OTHER VEHICLE MUST ALSO BE A 12 VOLT SYSTEM. DO NOT USE YOUR TRACTOR BATTERY TO START OTHER VEHICLES.
TO ATTACH JUMPER CABLES -
- Connect one end of the RED cable to the POSITIVE (+) terminal of each battery(A-B), taking care not to short against tractor chassis.
- Connect one end of the BLACK cable to the NEGATIVE (-) terminal (C) of fully charged battery.
- Connect the other end of the BLACK cable (D) to good chassis ground, away from fuel tank and battery.
TO REMOVE CABLES, REVERSE ORDER -
- BLACK cable first from chassis and then from the fully charged battery.
- RED cable last from both batteries.

FIG. 29
SERVICE AND ADJUSTMENTS
REPLACING BATTERY (See Fig. 30)

WARNING: Do not short battery terminals by allowing a wrench or any other object to contact both terminals at the same time. Before connecting battery, remove metal bracelets, wristwatch bands, rings, etc. Positive terminal must be connected first to prevent sparking from accidental grounding.
- Lift seat pan to raised position.
- Disconnect BLACK battery cable first then RED battery cable and carefully remove battery from tractor.
Install new battery with terminals in same position as old battery. - First connect RED battery cable to positive (+) terminal with hex bolt and keps nut as shown. Tighten securely. Slide terminal cover over terminal.
- Connect BLACK grounding cable to negative (-) terminal with remaining hex bolt and keps nut. Tighten securely.

FIG. 30
TO REPLACE HEADLIGHT BULB
- Raise hood.
Pull bulb holder out of the hole in the backside of the grill. - Replace bulb in holder and push bulb holder securely back into the hole in the backside of the grill.
- Close hood.
INTERLOCKS AND RELAYS
Loose or damaged wiring may cause your tractor to run poorly, stop running, or prevent it from starting.
- Check wiring. See electrical wiring diagram in the Repair Parts section.
TO REPLACE FUSE
Replace with 20 amp automotive-type plug-in fuse. The fuse holder is located behind the dash.
TO REMOVE HOOD AND GRILL ASSEMBLY (See Fig. 31)
- Raise hood.
Unsnap headlight wire connector. - Stand in front of tractor. Grasp hood at sides, tilt toward engine and lift off of tractor.
To replace, reverse above procedure.

FIG. 31
ENGINE
TO ADJUST THROTTLE CONTROL CABLE
The throttle control has been preset at the factory and adjustment should not be necessary. If adjustment is necessary, see engine manual.
TO ADJUST CHoke Control
The choke control has been preset at the factory and adjustment should not be necessary. If adjustment is necessary, see engine manual.
TO ADJUST CARBURETOR
Your carburetor is not adjustable. If your engine does not operate properly due to suspected carburetor problems, take your tractor to an authorized service center for repair and/or adjustment.
STORAGE
Immediately prepare your tractor for storage at the end of the season or if the tractor will not be used for 30 days or more.

WARNING: Never store the tractor with gasoline in the tank inside a building where fumes may reach an open flame or spark. Allow the engine to cool before storing in any enclosure.
TRACTOR
Remove mower from tractor for winter storage. When mower is to be stored for a period of time, clean it thoroughly, remove all dirt, grease, leaves, etc. Store in a clean, dry area.
- Clean entire tractor (See "CLEANING" in the Maintenance section of this manual).
- Inspect and replace belts, if necessary (See belt replacement instructions in the Service and Adjustments section of this manual).
- Lubricate as shown in the Maintenance section of this manual.
- Be sure that all nuts, bolts and screws are securely fastened. Inspect moving parts for damage, breakage and wear. Replace if necessary.
- Touch up all rusted or chipped paint surfaces; sand lightly before painting.
BATTERY
Fully charge the battery for storage.
After a period of time in storage, battery may require recharging.
- To help prevent corrosion and power leakage during long periods of storage, battery cables should be disconnected and battery cleaned thoroughly (see "TO CLEAN BATTERY AND TERMINALS" in the Maintenance section of this manual).
After cleaning, leave cables disconnected and place cables where they cannot come in contact with battery terminals.
- If battery is removed from tractor for storage, do not store battery directly on concrete or damp surfaces.
ENGINE
FUEL SYSTEM
IMPORTANT: IT IS IMPORTANT TO PREVENT GUM DEPOSITS FROM FORMING IN ESSENTIAL FUEL SYSTEM PARTS SUCH AS CARBURETOR, FUEL FILTER, FUEL HOSE, OR TANK DURING STORAGE. ALSO, EXPERIENCE INDICATES THAT ALCOHOL BLENDED FUELS (CALLLED GASOHOL OR USING ETHANOL OR METHANOL) CAN ATTRACT MOISTUREWHICH LEADST TO SEPARATION AND FORMATION OF ACIDS DURING STORAGE. ACIDIC GAS CAN DAMAGE THE FUEL SYSTEM OF AN ENGINE WHILE IN STORAGE.
- Empty the fuel tank by starting the engine and let it run until the fuel lines and carburetor are empty.
- Never use engine or carburetor cleaner products in the fuel tank or permanent damage may occur.
Use fresh fuel next season.
NOTE: Fuel stabilizer is an acceptable alternative in minimizing the formation of fuel gum deposits during storage. Add stabilizer to gasoline in fuel tank or storage container. Always follow the mix ratio found on stabilizer container. Run engine at least 10 minutes after adding stabilizer to allow the stabilizer to reach the carburetor. Do not empty the gas tank and carburetor if using fuel stabilizer.
ENGINE OIL
Drain oil (with engine warm) and replace with clean engine oil. (See "ENGINE" in the Maintenance section of this manual).
CYLINDER(S)
- Remove spark plug(s).
- Pour one ounce of oil through spark plug hole(s) into cylinder(s).
- Turn ignition key to "START" position for a few seconds to distribute oil.
- Replace with new spark plug(s).
OTHER
- Do not store gasoline from one season to another.
- Replace your gasoline can if your can starts to rust. Rust and/or dirt in your gasoline will cause problems.
- If possible, store your tractor indoors and cover it to give protection from dust and dirt.
- Cover your tractor with a suitable protective cover that does not retain moisture. Do not use plastic. Plastic cannot breathe which allows condensation to form and will cause your tractor to rust.
IMPORTANT: NEVER COVER TRACTOR WHILE ENGINE AND EXHAUST AREAS ARE STILL WARM.
TROUBLESHOOTING POINTS
| PROBLEM | CAUSE | CORRECTION |
| Will not start | 1. Out of fuel. 2. Engine not "CHoked" properly. 3. Engine flooded. 4. Bad spark plug. 5. Weak or dead battery. 6. Dirty air filter. 7. Dirty fuel filter. 8. Water in fuel. 9. Loose or damaged wiring. 10. Carburetor out of adjustment. 11. Engine valves out of adjustment. | 1. Fill fuel tank. 2. See "TO START ENGINE" in Operation section. 3. Wait several minutes before attempting to start. 4. Replace spark plug. 5. Recharge or replace battery. 6. Clean/replace air filter. 7. Replace fuel filter. 8. Empty fuel tank and carburetor, refill tank with fresh gasoline and replace fuel filter. 9. Check all wiring. 10. See "To Adjust Carburetor" in Service Adjustments section. 11. Contact an authorized service center/department. |
| Hard to start | 1. Dirty air filter. 2. Bad spark plug. 3. Weak or dead battery. 4. Dirty fuel filter. 5. Stale or dirty fuel. 6. Loose or damaged wiring. 7. Carburetor out of adjustment. 8. Engine valves out of adjustment. | 1. Clean/replace air filter. 2. Replace spark plug. 3. Recharge or replace battery. 4. Replace fuel filter. 5. Empty fuel tank and refill tank with fresh, clean gasoline. 6. Check all wiring. 7. See "To Adjust Carburetor" in Service Adjustments section. 8. Contact an authorized service center/department. |
| Engine will not turn over | 1. Brake pedal not depressed. 2. Attachment clutch is engaged. 3. Weak or dead battery. 4. Blown fuse. 5. Corroded battery terminals. 6. Loose or damaged wiring. 7. Faulty ignition switch. 8. Faulty solenoid or starter. 9. Faulty operator presence switch(es). | 1. Depress brake pedal. 2. Disengage attachment clutch. 3. Recharge or replace battery. 4. Replace fuse. 5. Clean battery terminals. 6. Check all wiring. 7. Check/replace ignition switch. 8. Check/replace solenoid or starter. 9. Contact an authorized service center/department. |
| Engine clicks but will not start | 1. Weak or dead battery. 2. Corroded battery terminals. 3. Loose or damaged wiring. 4. Faulty solenoid or starter. | 1. Recharge or replace battery. 2. Clean battery terminals. 3. Check all wiring. 4. Check/replace solenoid or starter. |
| Loss of power | 1. Cutting too much grass/too fast. 2. Throttle in "CHoke" position. 3. Build-up of grass, leaves and trash under mower. 4. Dirty air filter. 5. Low oil level/dirty oil. 6. Faulty spark plug. 7. Dirty fuel filter. 8. Stale or dirty fuel. 9. Water in fuel. 10. Spark plug wire loose. 11. Dirty engine air screen/fins. 12. Dirty/clogged muffler. 13. Loose or damaged wiring. 14. Carburetor out of adjustment. 15. Engine valves out of adjustment. | 1. Raise cutting height/reduce speed. 2. Adjust throttle control. 3. Clean underside of mower housing. 4. Clean/replace air filter. 5. Check oil level/change oil. 6. Clean and regap or change spark plug. 7. Replace fuel filter. 8. Empty fuel tank and refill tank with fresh, clean gasoline. 9. Empty fuel tank and carburetor, refill tank with fresh gasoline and replace fuel filter. 10. Connect and tighten spark plug wire. 11. Clean engine air screen/fins. 12. Clean/replace muffler. 13. Check all wiring. 14. See "To Adjust Carburetor" in Service Adjustments section. 15. Contact an authorized service center/department. |
| Excessive vibration | 1. Worn, bent or loose blade. 2. Bent blade mandrel. 3. Loose/damaged part(s). | 1. Replace blade. Tighten blade bolt. 2. Replace blade mandrel. 3. Tighten loose part(s). Replace damaged parts. |
TROUBLESHOOTING POINTS
| PROBLEM | CAUSE | CORRECTION |
| Engine dies when tractor is shifted into reverse | 1. Reverse operation system (ROS) is not "ON" while mower or other attachment is engaged. | 1. Turn ignition key to ROS "ON" position. See Operation section. |
| Engine continues to run when operator leaves seat with attachment clutch engaged | 1. Faulty operator-safety presence control system. | 1. Check wiring, switches and connections. If not corrected, contact an authorized service center/department. |
| Poor cut - uneven | 1. Worn, bent or loose blade.2. Mower deck not level.3. Buildup of grass, leaves, and trash under mower.4. Bent blade mandrel.5. Clogged mower deck vent holes from buildup of grass, leaves, and trash around mandrels. | 1. Replace blade. Tighten blade bolt.2. Level mower deck.3. Clean underside of mower housing.4. Replace blade mandrel.5. Clean around mandrels to open vent holes. |
| Mower blades will not rotate | 1. Obstruction in clutch mechanism.2. Worn/damaged mower drive belt.3. Frozen idler pulley.4. Frozen blade mandrel. | 1. Remove obstruction.2. Replace mower drive belt.3. Replace idler pulley.4. Replace blade mandrel. |
| Poor grass discharge | 1. Engine speed too slow.2. Travel speed too fast.3. Wet grass.4. Mower deck not level.5. Low/uneven tire air pressure.6. Worn, bent or loose blade.7. Buildup of grass, leaves and trash under mower.8. Mower drive belt worn.9. Blades improperly installed.10. Improper blades used.11. Clogged mower deck vent holes from buildup of grass, leaves, and trash around mandrels. | 1. Place throttle control in "FAST" position.2. Shift to slower speed.3. Allow grass to dry before mowing.4. Level mower deck.5. Check tires for proper air pressure.6. Replace blade. Tighten blade bolt.7. Clean underside of mower housing.8. Replace mower drive belt.9. Reinstall blades sharp edge down.10. Replace with blades listed in this manual.11. Clean around mandrels to open vent holes. |
| Headlight(s) not working (if so equipped) | 1. Light switch is "OFF".2. Bulb(s) or lamp(s) burned out.3. Faulty light switch.4. Loose or damaged wiring.5. Blown fuse. | 1. Turn light switch "ON".2. Replace bulb(s) or lamp(s).3. Check/replace light switch.4. Check wiring and connections.5. Replace fuse. |
| Battery will not charge | 1. Bad battery cell(s).2. Poor cable connections.3. Faulty regulator (if so equipped).4. Faulty alternator. | 1. Replace battery.2. Check/clean all connections.3. Replace regulator.4. Replace alternator. |
| Loss of drive | 1. Freewheel control in "disengaged" position.2. Motion drive belt worn, damaged, or broken.3. Air trapped in transmission during shipment or servicing. | 1. Place freewheel control in "engaged" position.2. Replace motion drive belt.3. Purge transmission. |
| Engine "backfires" when turning engine "OFF" | 1. Engine throttle control not set between half and full speed (fast) position before stopping engine. | 1. Move throttle control between half and full speed (fast) position before stopping engine. |
LIMITED WARRANTY
The Manufacturer warrants to the original consumer purchaser that this product as manufactured is free from defects in materials and workmanship. For a period of two (2) years from date of purchase by the original consumer purchaser, we will repair or replace, at our option, without charge for parts or labor incurred in replacing parts, any part which we find to be defective due to materials or workmanship. This Warranty is subject to the following limitations and exclusions.
- This warranty does not apply to the engine, transaxle/transmission components, battery (except as noted below) or components parts thereof. Please refer to the applicable manufacturer's warranty on these items.
- Transportation charges for the movement of any power equipment unit or attachment are the responsibility of the purchaser. Transportation charges for any parts submitted for replacement under this warranty must be paid by the purchaser unless such return is requested by the manufacturer.
- Battery Warranty: On products equipped with a Battery, we will replace, without charge to you, any battery which we find to be defective in manufacture, during the first ninety (90) days of ownership. After ninety (90) days, we will exchange the Battery, charging you 1/12 of the price of a new Battery for each full month from the date of the original sale. Battery must be maintained in accordance with the instructions furnished.
- The Warranty period for any products used for rental or commercial purposes is limited to 90 days from the date of original purchase.
- This Warranty applies only to products which have been properly assembled, adjusted, operated, and maintained in accordance with the instructions furnished. This Warranty does not apply to any product which has been subjected to alteration, misuse, abuse, improper assembly or installation, delivery damage, or to normal wear of the product.
- Exclusions: Excluded from this Warranty are belts, blades, blade adapters, normal wear, normal adjustments, standard hardware and normal maintenance.
- In the event you have a claim under this Warranty, you must return the product to an authorized service dealer.
Should you have any unanswered questions concerning this Warranty, please contact:
Poulan Pro
HOP
1030 Stevens Creek Road
Augusta, GA 30907 USA
In Canada contact:
Poulan Pro
5855 Terry Fox Way
Mississauga, Ontario
L5V 3E4
giving the model number, serial number and date of purchase of your product and the name and address of the authorized dealer from whom it was purchased.
THIS WARRANTY DOES NOT APPLY TO INCIDENTAL OR CONSEQUENTIAL DAMAGES AND ANY IMPLIED WARRANTY ARE LIMITED TO THE SAME TIME PERIODS STATED HEREIN FOR OUR EXPRESSED WARRANTY. Some areas do not allow the limitation of consequential damages or limitations of how long an implied Warranty may last, so the above limitations or exclusions may not apply to you. This Warranty gives you specific legal rights, and you may have other rights which vary from locale to locale.
This is a limited Warranty within the meaning of that term as defined in the Magnuson-Moss Act of 1975.
1111111111111111111111111111111 1

NOI⊥∀RrE ∃S FERSEFTS 5NI⊥HIS SFRSEFTS
Poulan PRO
PARTS AND SERVICE
This product has been expertly engineered and carefully manufactured to rigid quality standards. As with all mechanical products, some adjustments or part replacement may be necessary during the life of your unit.
For Parts and service, contact our authorized distributor: call 1-800-849-1297
- For replacement parts, have available the following information:
a. Model Number/Manufacturer's I.D. Number
b. Description of part.
For Technical Assistance: call 1-800-829-5886
For a Parts Manual, go to our website: www.poulan-pro.com/support.asp
NOTE:
HOP provides parts and service through its authorized distributors and dealers; therefore, all requests for parts and service should be directed to your local dealer(s). The philosophy of HOP is to continually improve all of its products. If the operating characteristics or the appearance of your product differs from those described in this Manual, please contact your local dealer for updated information and assistance.
EVAENNNNNEAENNNNNEAENNNNNEAENNNNNEAENNNNNEAENNNNNEAENNNNNEAENNNNNEAENNNNNEAENNNNNEAENNNNNEAENNNNNEAENNNNNEAENNNNNEAENNNNNEAENNNNNEAENNNNNEAENNNNNEAENNNNNEAENNNNNEAENNNNNE
eBnepnneon ene nee zedewer H e nnnn nnndnnpesennbpeaed (LHs) aBnepnnpnepnnpnepnnpnepnnpnepnnpnepnnpnepnnpnepnnpnepnnpnepnnpnepnnpnepnnpnepnnpnepnnpnepnnpnepnnpnepnnpnepnnpnepnnpnepnnpnepnnpnepnnpnepnnpnepnnpnepnnpnepnppp
(S)
sreeneeepesepereeepeepnepd eeppeeppeeppeeppeeppeeppeeppeeppeeppeeppeeppeeppeeppeeppeeppeeppeeppeeppeeppeeppeeppeeppeeppeeppeeppeeppeeppeeppeeppeeppeeppeeppeeppeeppeeppeeppeeppeeppeeppeeppeeppeeppeeppeeppeeppeeppeeppeeppeeppeeppeep
eeppe eeppepepepepepepepepepepepepepepepepepepepepepepepepepepepepepepepepepepepepepepepepepepepepepepepepepepepepepepepepepepepepepepepepepe pe
enennnne ene ene ene ene ene ene ene ene ene ene ene ene ene ene ene ene ene ene ene ene ene ene ene ene ene ene ene ene ene ene ene ene ene ene ene ene ene ene ene ene ene ene ene ene ene ene ene ene ene ene enee ne nnnnne nne nne nne nne nne nne nne nne nne nne nne nne nne nne nne nne nne nne nne nne nne nne nne nne nne nne nne nne nne nne nne nne nne nne nne nne nne nne nne nne nne nne nne nne nne nne nne nne nne nne nnnee ne ne ne ne ne ne ne ne ne ne ne ne ne ne ne ne ne ne ne ne ne ne ne ne ne ne ne ne ne ne ne ne ne ne ne ne ne ne ne ne ne ne ne ne ne ne ne ne ne ne ne ne
eeppeeppeeppeeppeeppeeppeeppeeppeeppeeppeeppeeppeeppeeppeeppeeppeeppeeppeeppeeppeeppeeppe
oe 0e ae ene
(1E·6HrO)
VETTETTETTETTETTETTETTETTETTET
Prrnne nnnnne nee eaeene ennee nee nee nee nee nee nee nee nee nee nee nee nee nee nee nee nee nee nee nee nee nee nee nee nee nee nee nee nee nee nee nee nee nee nee nee nee nee nee nee nee nee nee nee nee nee nee nee nee nee nee ne
(ennnnnnpnneepneneepee eaepee PENNEPNOE NOLOVHETNNNNSNINHOOe 100000000000000000000000000000000000000000000000
ssssssssssssssssssssssssssssssssssssssssssssssssssssssssssssssssssssssssssssssssssssss
(5) 66eAaepeeppeeppeeppeeppeeppeeppeeppeeppeeppeeppeeppeeppeeppeeppeeppeeppeeppeeppeeppeeppeeppeeppeeppeeppeeppeeppeeppeeppeeppeeppeeppeeppe

L
P P P P P P P P P P P P P P P P P P P P P P P P P P P P P P P P P P P P P P P P P P P P P P P P P P P P P P P P P P P P P P P P P P P P P P P P P P P P P P P P P P P P P P P P P P P P P P P P P P P P P
LNEENNANNNNNEHNNEE NNNNNNNNNNN
(S) ouisue,ep sienod sei sienot e (H)suiuupwsepe noid xnepseI (W)inoeonmepeI enoennonee
sne nns xne eepnns ene snpnnnne
essssnndionsonsdes e aeeenee enereae eeessss
nennnnne nnnnnnne nnnnne nnnnne
zauauauauauauauauauauauauauauauauauauauauauauauauauauauauauauauauauauauauauauauauauauauauauauauau
ENNO
V7DNEHNINNINNNININININININININININININININININININININ
(9266)
n nnnn nn enn n nnnn nnnn nnnn nnnn nnnn nnnn nnnn nnnn nnnn nnnn nnnn nnnn nnnn nnnn nnnn nnnn nnnn nnnn nnnn nnnn nnnn nnnn nnnn nnnn nnnn nnnn nnnn nnnn nnnn nnnn nnnn nnnn nnnn nnnn nn
EeONNEENNNNNEENNNNEEN

61
H
enennn ene eepnnnnnnnnnnnnnnnnnnnnnnnnnnnnnnnnnnnnnnnnnnnnnnnnnnnnnnnnnnnnnnnnnnnnnnnnnnnnnnnnnnnnnnnnnnnnnnnnnnnnnnnnnnnnnnnnnnnnnnnnnnnnnnnnnnnnnnnnnnnnnnnnnnnnnnn nn nannn nn nannn nn nannn nn nannn nn nannn nn nannn nn nannn nn nannn nn nannn nn nannn nn nannn nn nannn nn nannn nn nannn nn nannn nn nannn nn nannn nn nannn nn nannn nn nannn nn nannn nn nannn nn nannn nn nannn nn nannn nn nennn nn nannn nn nannn nn nannn nn nannn nn nannn nn nannn nn nannn nn nannn nn nannn nn nannn nn nannn nn nannn nn nannn nn nannn nn nannn nn nannn nn nannn nn nannn nn nannn nn nannn nn nannn nn nannn nn nannn nn nannn nn n ann
esnepnepnepnepnepnepnepnepnepnepnepnepnepnepnepnepnepnepnepnepnepnepnepnepnepnepnepnepnepnepnepnepnepnepnepnepnepnepnepnepnepnepnepnepnepnepnepnepnepnepn
(5) eononop
seep6e (W) enonnnepe enonnne enonnnn enonnnn enonnnn enonnnn enonnnn enonnnn enonnnn enonnnn enonnnn enonnnn enonnnn enonnnn enonnnn enonnnn enonnnn enonnnn enonnnn enonnnn enonnnn enonnnn enonnnn enonnnn enonnnn enonnnn enonnnn enonnn n nee (1) 000000000000000000000000000000000000000000000000000000000000000000000000000000000000000000000

02 H
Dn nnnnne nnnnne nnnnne nnnnne nnnnne nnnnne nnnnne nnnnne nnnnne nnnnne nnnnne nnnnne nnnnne nnnnne nnnnne nnnnne nnnnne nnnnne nnnnne nnnnne nnnnne nnnnne nnnnne nnnnne nnnnne nnnnnee nnnnne nnnnne nnnnne nnnnne nnnnne nnnnne nnnnne nnnnne nnnnne nnnnne nnnnne nnnnne nnnnne nnnnne nnnnne nnnnne nnnnne nnnnne nnnnne nnnnne nnnnne nnnnne nannnee

61
e (3) nenepepepepepepepepepepepepepepepepepepepepepepepepepepepepepepepepepepepepepepepepepepepepepepepepepepepepepepepepepepepepepepepepepepepepepepepepepepepepepepepepepepepepepepepepepepepepe pe
esnepnepnepnepnepnepnepnepnepnepnepnepnepnepnepnepnepnepnepnepnepnepnepnepnepnepnepnepnepnepnepnepnepnepnepnepnepnepnepnepnepnep
nep np snossop np esnpn e|zess
esneppepepepepepepepepepepepepepepepepepepepepepepepepepepepepepepepepepepepepepepepepepepepepepepepepepepepepepepepepepepepepepepepepepepepepepepepepepepepepepepepepepepepepepepepepepepepepepepepepepepe pe
'odds np roe eneewoeoep (d) eepnbe zessnod 1000ezeabepe (k)eneneepeeosses
(5) eonooep
seep68e( W) e6eAenrnnnnepepepepepepepepepepepepepepepepepepepepepepepepepepepepepepepepepepepepepepepepepepepepepepepepepepepepepepepepepepepepepepepepepepepepepepepepepepepepepepepepepepepepepepepepe
essssnnd nnnnsod e e e e e e e eeeeee
94
-NE3SI, nnsod e e aeepeep
(∠L·6HJIO)
Ee
eJnJz6aen snPunb enoe
sEHNBOBSEETTREHREHREHREHREHREHREHREHREH
( eeppeeppeeppeeppeeppeeppeeppeeppeeppeeppeeppeeppeeppeeppeeppeeppeeppeeppeeppeeppeeppeeppeeppeeppe
nnpnn npee eeppeeppeeppeeppeeppeeppeeppeeppeeppeeppeeppeeppeeppeeppeeppeeppeeppeeppeeppeeppeeppeeppeeppeeppe
oeeppepepepepepepepepepepepepepepepepepepepepepepepepepepepepepepepepepepepepepepepepepepepepepepepepepepepepepepepepepepepepepepepepepepepepepepepepepepepepepepepepepepepe pe
SRES

(ETNNOONNOOENNOONNOON

NO HNS SOH
nondnwnbnpoued sennssne nnsnnne nne
eepoeepoeepoeepoeepoeepoeepoeepoeepoeepoeepoeepoeepoeepoeepoeepoeepoeepoeepoeepoeepoeepoeepoeepoeepoeepoeepoeepoeepoeepoeepoeepoeepoeepoeepoeepoeepoeepoeepoeepoeepoeepoeepoeepoe
G
Pn Pn Pn Pn Pn Pn Pn Pn Pn Pn Pn Pn Pn Pn Pn Pn Pn Pn Pn Pn Pn Pn Pn Pn Pn Pn Pn Pn Pn Pn Pn Pn Pn Pn Pn Pn Pn Pn Pn Pn Pn Pn Pn Pn Pn Pn Pn Pn Pn Pn Pn

Rnrrnnrnnn nnnn nn nnnn nnnn nnnn nnnn nnnn nnnn nnnn nnnn nnnn nnnn nnnn nnnn nnnn nnnn nnnn nnnn nnnn nnnn nnnn nnnn nnnn nnnn nnnn nnnn nnnn nnnn nnnn nnnn nnnn nnnn nnnn nnnn nnnn nnnn nnne
oeeppeeppeeppeeppeeppeeppeeppeeppeeppeeppeeppeeppeeppeeppeeppeeppeeppeeppeeppeeppeeppeeppeeppeeppeeppeeppeeppeeppeeppeeppeeppeeppeeppeeppeeppe
· (yduuZ) y / wx z^ a p s n d e p
essssseun ene nepeon eonne zessno no zenbnoeN
eaebeueesep unisod
nbsn! nne nee nee epepepepepepepepepepepepepepepepepepepepepepepepepepepepepepepepepepepepepepepepepepepepepepepepepepepepepepepepepepepepepepepepepepepepepepepepepepepepepepepepepepepepepepepepepepepepepepe pe
eeppeep
(ene) eeppeeppeeppeeppeeppeeppeeppeeppeeppeeppeeppeeppeeppeeppeeppeeppeeppe
-
SNSSESDVzANddVaN
SNOW IS DOWNNIOO PVAE NNNNEA EREERAE
EeNnNnNnNnNnNnNnNnNnNnNnNnNnNnNnNnNnNnNnNnNnNnNnNnNnNnNnNnNnNnNnNnNnNnNnNnNnNnNnNnNnNnNnNnNnNnNnNnNnNnN
nunnsod e n
eAeAAeAAeAAeAAeAAeAAeAAeAAeAAeAAeAAeAAeAAeAAeAAeAAeAAeAAeAAeAAeAAeAAeAAeAAeAAeAAeAAeAAeAAeAAeAAeAAeAAeAAeAAeAAeAAeAAeAAeAAeAAeAAeAAeAAeAAeAAeAAeAAeAAeAAe
831A3T
seepnsspepepepepepepepepepepepepepepepepepepepepepepepepepepepepepepepepepepepepepepepepepepepepepepepepepepepepepepepepepepepepepepepepepepepepepepepepepepepepepepepepepepepe pe

eeppepepepepepepepepepepepepepepepepepepepepepepepepepepepepepepepepepepepepepepepepepepepepepepepepepepepepepepepepepepepepepepepepepepepepepepepepepepepepepepepepepepepepepepepepepepepepepepepepepe pe
| ·(JENN) | e |
| ·(JENN) | e |
| ·(JENN) | e |
| ·(JENN) | e |
| ·(JENN) | e |
| ·(JENN) | e |
| ·(JENN) | e |
| ·(JENN) | e |
| ·(JENN) | e |
| ·(JENN) | e |
EeNNEENNNNEENNEENNEENNEENNEEN
eepnnsne nnnnne epepepepepepepepepepepepepepepepepepepepepepepepepepepepepepepepepepepepepepepepepepepepepepepepepepepepepepepepepepepepepepepepepepepepepepepepepepepepepepepepepepepepepepepepepe pe
sennnne nnnnne nnnnne nnnnne nnnnne nnnnne nnnnne nnnnne nnnnne nnnnne nnnnne nnnnne nnnnne nnnnne nnnnne nnnnne nnnnne nnnnne nnnnne nnnnne nnnnne nnnnne nnnnne nnnnne nnnnne nnnnne nannne nannne nannne nannne nannne nannne nannne nannne nannne nannne nannne nannne nannne nannne nannne nannne nannne nannne nannne
ManualGo.com