ZERIUS 202 - Speaker TRIANGLE - Free user manual and instructions
Find the device manual for free ZERIUS 202 TRIANGLE in PDF.
Questions des utilisateurs sur ZERIUS 202 TRIANGLE
0 question sur cet appareil. Repondez a celles que vous connaissez ou posez la votre.
Poser une nouvelle question sur cet appareil
Download the instructions for your Speaker in PDF format for free! Find your manual ZERIUS 202 - TRIANGLE and take your electronic device back in hand. On this page are published all the documents necessary for the use of your device. ZERIUS 202 by TRIANGLE.
USER MANUAL ZERIUS 202 TRIANGLE
MANUFACTURE ELECTROACOUSTIQUE
202
MANUFACTURE ELECTROACOUTIQUE
MANUFACTURE ELECTROACOUSTIQUE
MANUFACTURE ELECTROACOUSTIQUE
Thank you for choosing TRIANGLE loudspeakers. We all wish you many years of enjoyable listening.
To fully take advantage of your TRIANGLE loudspeakers, we suggest that during installation you pay attention to the following instructions.
RECOMMENDATIONS FOR USE
Connections :
For best sound reproduction we suggest you choose a loudspeaker cable of sufficient quality to be connected between your amplifier and TRIANGLE loudspeakers. High definition TRIANGLE OFC cable will provide the best results.
Use cables of the same length for the left and right channels.
Make sure to respect the + and - polarities for each channel.
PRECAUTIONS:
If one of the speakers is placed next to a television, the colours on the screen may be affected by the speaker's magnetism. Keep a minimum distance of 1m . This precaution is not necessary for central speakers: they are shielded (limitation of the radiated magnetic field).
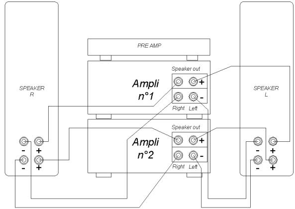
Bi-wiring and bi-amplification
For those wishing to improve their listening system further, it is possible to use bi-wiring or bi-amplification. All loudspeakers in the 202 range can be bi-wired or biamplified.
With bi-amplification, interference between the woofers and other drivers is totally eliminated, as each one is driven by its amplifier. It is obligatory to use identical amplifiers to conserve the uniformity of the loudspeaker.
To do this, remove the terminal connection straps and use two stereo amplifiers. On the speakers, the upper terminals are the signal inputs for the midrange treble band, and the lower terminals are the signal inputs for the bass.
Use one amplifier to feed the bass, and the second for the midrange and treble (see the diagram below).

Bi-amplification of your main speakers
Instead of two amplifiers, you can use a single amplifier if it is equipped with two sets of speakers A and B. Both sets should be selected. This is biwiring and not bi-amplification.

Biwiring of your main speaker
TRIANGLE
MANUFACTURE ELECTROACOUSTIQUE
Positioning for the stereo:
When positioning your loudspeakers, follow the rules below:
- Avoid rooms with too much reverberation, such as tiled rooms with no carpets or curtains.
-
Your listening zone should not be too close to the loud speakers: minimum 2m
The distance between the speakers should be a minimum of 2 m for a good stereo effect. -
If possible, place the speakers so that they "diffuse" along the length of the room.
-
Avoid placing them in the corners, this excites the rooms own resonance, leave at least 40~cm between the wall and the speaker. Position the speakers carefully in relation to the back wall. Generally, a position close to the back wall improves the response in low frequencies (to the detriment of the image) and inversely, a position far from the wall helps reproduction of a wide and deep sound image (carry out several tests to find the best compromise in your room).

Positioning for Home Cinema:
A typical home cinema installation includes:
- Two main left and right speakers
- A central speaker
- One or several subwoofoers
- Several surround speakers (signal 5:1: 2 rear speakers, signal 6:1: 3 rear speakers, signal 7:1: 4 rear speakers).
To place the main speakers in the best position, follow the same rules as for a stereo installation (see paragraph on stereo positioning).
- The center speaker should be placed on the same line formed by the two main speakers.
- A subwoofer is particularly recommended in home cinema to reproduce the special effects channel in the very low register on supports such as audio or video DVD. The positioning of the subwoofer is not critical if you select a connection frequency with the main speakers below 80Hz . Below this frequency, it is better to move the subwoofer close to the main speakers, the best position being between them. Ensure that it is not placed in the corner of the room to avoid creating unpleasant resonance.
- It is recommended to place the rear speakers at between 1.5 and 2 m in height. They are used to give atmosphere.

You will find further instructions for configuring your installation in your A/V amplifier owner's manual.
Choosing the Amplifier;
Use a good quality amplifier (the result will be better) and of a sufficient power. It is preferable to use a powerful amplifier, with less risk of distortion, than "boosting" a less powerful amplifier which will clip and seriously risk damaging your loudspeakers.
Finally, remember that a volume button in the middle position does not mean that the amplifier is at "middle" power. It depends firstly on the sensitivity of the inputs and the level of output of the source used.
For any further information concerning your system, please consult our website: www .triangle-fr.com
NOTE ON THE WARRANTY
Your TRIANGLE loudspeaker is warranted for 5 years. This warranty takes effect from the date of purchase and covers any manufacturing defect or damage your loudspeaker could suffer as a result of these very same defects. This warranty is granted solely to the first user of the product, and is not transmittable in the case of resale. For prompt after sales service, please fill out the enclosed coupon and mail it to TRIANGLE authorized distributor in your country, together with proof of purchase (copy of invoice). Please note, this warranty is voided if any fault arises from ill-treatment or careless handling of the product.
The following is not warranted :
- A burned voice coil due to overload
- A pierced or torn-off membrane
- A crushed cone or dome
- A torn out suspension
- Any fault resulting from a mechanical shock
- Any fault arising from storage in high humidity environments
- Any fault arising from the intervention of a person not authorized by TRIANGLE
- Any fault arising from professional usage (sound reinforcement, public-address, etc.)
RECYCLING

- Your product contains valuable materials which can be recovered or recycled.
- Leave it at local point.
CHARACTERISTIQUES / SPECIFICATIONS
| SPECIFICATIONS TECHNIQUES | ANTAL 202 | ZERIUS 202 |
| Type | Bass reflex | Bass reflex |
| Ways | 3 | 2 |
| Sensitivity (dB/W/m) | 91 | 91 |
| Bandwidth (+/-3dB Hz-KHz) | 50-20 | 50-20 |
| Power Handling (W Rms) | 120 | 100 |
| Minimum Impedance (ohms) | 4,5 | 4 |
| Cabinet Dimensions (mm) | 1080 x 220 x 297 | 970x220x295 |
| Net Weight (Kg) | 20 | 15 |
| SPECIFICATIONS TECHNIQUES | COMETE 202 | SEXTAN 202 |
| Type | Bass reflex | Bass reflex |
| Ways | 2 | 2 |
| Sensitivity (dB/W/m) | 91 | 91 |
| Bandwidth (+/-3dB Hz-KHz) | 55-20 | 60-20 |
| Power Handling (W Rms) | 80 | 80 |
| Minimum Impedance (ohms) | 4 | 4 |
| Cabinet Dimensions (mm) | 400x220x297 | 200x500x314 |
| Net Weight (Kg) | 7,5 | 9,5 |
EasyManual