DELTA BOOSTER - Steam generator NILFISK - Free user manual and instructions
Find the device manual for free DELTA BOOSTER NILFISK in PDF.
User questions about DELTA BOOSTER NILFISK
0 question about this device. Answer the ones you know or ask your own.
Ask a new question about this device
Download the instructions for your Steam generator in PDF format for free! Find your manual DELTA BOOSTER - NILFISK and take your electronic device back in hand. On this page are published all the documents necessary for the use of your device. DELTA BOOSTER by NILFISK.
USER MANUAL DELTA BOOSTER NILFISK
1.1 Model survey and main functions 6
1.2 Selection of system 8
1.3 Technical data 9
1.3.0 Switchboard 10
1.3.1 Water tank 10
1.3.2 C3K pumps 10
1.3.3 Dimensions, weight and total performance for systems 11
1.4 Location: surroundings -frost, safety and service margins 12
1.5 Installation requirements for water connection 13
1.6 Installation requirements for mains power connection 14
1.7 Pipe system 15
1.7.1 Location of pipe lines/general instructions 15
1.7.2 Types of pipes, standards 15
1.7.3 Fittings, standards 16
1.7.4 Dimensioning of pipe systems, pressure drop graph 21
1.7.5 Examples 23
1.7.6 Mounting requirements and hints 26
1.8 Outlet points and accessories 29
1.9 Spray lance system 31
2 Instructions for assembly 32
2.1 Location of the DELTABOOSTER 32
2.2 Mounting base and tip over safety device 33
2.3 Connection of inlet water 34
2.3.1 Control of filter in water tank 34
2.4 Connection of power between the DELTABOOSTER and the supply network (Settings on the plant, see section 3.5) 35
2.5 Starting up / running in 36
2.5.1 Oil control 36
2.5.2 Start 36
2.5.3 Venting of pumps 36
2.5.4 Venting of pipe system 37
2.5.5 Adjustment of line pressure 37
DELTABOOSTER manual
3 How to use the DELTABOOSTER 38
3.1 Safety 38
3.2 Model survey 39
3.3 Functional diagram 40
3.4 Instrument panel 41
3.4.1 Main / emergency switch 41
3.4.2 Control switch / starting switch and stopping switch 41
3.4.3 Control panel 42
3.5 Setting and reading of DELTABOOSTER 43
3.5.1 Setting of water temperature 44
3.5.2 Connection and disconnection of C3K pumps 45
3.5.3 Reading of hour meters 46
3.6 Starting up / operation 47
3.7 Multipressure spray lance system 49
3.8 Operation after starting up - outlet points and equipment 50
3.8.1 High-pressure cock with Multipressure spray lance, Outlet point A.....50
3.8.2 Outlet point with foam injector and foam lance, Outlet point B 51
3.8.3 Outlet point with detergent trolley and foam lance, Outlet point D.....52
3.8.4 General guidelines for the dosage of detergents 52
3.9 Maintenance 53
3.9.1 Service intervals / oil change 53
3.9.2 Water filter 53
3.9.3 Couplings 53
3.10Trouble-shooting and correction 54
NOTE
Users are urgently requested to study section "3.1 Safety" before operating the system.
Only instructed staff should operate the system.
1. Product Description Layout of system
The DELTABOOSTER is a flexible pump station capable of supplying several simultaneous users with pressurized cold / hot water through a pipeline. The DELTABOOSTER has been pre-adjusted for a certain line pressure which is also the maximum working pressure.
For the DELTABOOSTER a system of nine different spray lances has been developed. From a diagram the user can choose the lance giving the exact pressure and water volume required for his cleaning job.
As standard the DELTABOOSTER system is available with capacities from 2 - 6 users and pre-adjusted at a line pressure of 160 bar (other pressures are available according to wishes of the customer).
A plant with a capacity for 3 users can be upgraded to 4, 5, or 6 users at any time, and more DELTABOOSTER plants can be connected up on the same pipeline.
With the DELTABOOSTER users no longer have to bother about the pros and cons of high or low pressure. From now on all choices are united in one system, and the solution with the optimal effect on the job to be done may always be found.
In more technical terms the plant operates in the following way:
Water from a COLD and a HOT connecting valve is mixed in a water tank of the type A airgap. From here water of the required temperature is drawn into the high pressure pumps of the DELTABOOSTER which pressurize the water and supply it to a pipeline.
When one or more outlet points are being used, the number of pumps required to maintain the pressure will automatically start up.
When the cleaning stops successively, one of the excess pumps will cease operation each 15 sec. If all cleaning is stopped then controls will ensure that the requisite pressure for re-starting is maintained. If a leakage is caused to the pipe system then the pump station will be totally switched off after some 2 minutes. In the case of an internal hose leakage in the system, faulty water supplies, excess temperature of inlet water, excess motor temperature or excess power consumption the system will be switched off.
When starting and stopping the individual pumps, controls will ensure an even distribution of operation time on the pumps by switching between all the pumps in the system.



1.1 Model survey and main functions
The DELTABOOSTER comprises 4 different modules:
- A switchboard
- A water tank
- KEW Technology C3K pumps
- Cabinet / frame


The DELTABOOSTER is made of stainless materials through and through.
DELTABOOSTER switchboard
The switchboard comprises:
- main (emergency) switch, to which the supply cable is connected
- control switch 24V AC
- push-button switch for starting up
- maximum current breaker (short circuit and overload) for each pump
- contactors for connection of 3 or 6 pumps.
The switchboard also incorporates an electronic control that monitors the operation of the system; i.e. a) selection at any time of required pump capacity; b) even distribution of load on individual pumps; c) mixing of desired temperature of water drawn from a cold water and a hot water supply and d) the indication of status/fault on a control panel.
It also incorporates hour meters to show hours of operation of each individual pump.
The switchboard has been prepared for
connection of 6-pumps: (4, 5, and 6 pump plants)
or for connection of 3-pumps: (2 and 3 pump plants)
The switchboard which on delivery controls 3 pumps may later be expanded to control 6-pumps.
The DELTABOOSTER is available for the following voltages:
3 × 230V
50 and 60Hz+ earth (PE)
3 × 346 - 400V
50 and 60Hz+ earth (PE)
3 × 415 - 440V
50 and 60Hz + earth (PE)
Water tank
The water tank of the DELTABOOSTER has been constructed in accordance with BS 6281 part 1 (type A air gap). As standard the water tank is mounted for water connection in the left side (seen from in front) but the water tank is also available with prepared water connection in the right side.
The water tank of the DELTABOOSTER incorporates the following:
- two solenoid valves for water inlet, cold and hot water respectively
- various control valves
- temperature sensor and level switches in the float tank
- overflow
- connection of up to 6 pumps
- filters in in-lets
C3K pumps
The C3K pumps are designed for the very demanding environments in which they are used. Their durability has been achieved by the use of ceramic pistons *) and valves of stainless steel.
Each of the pumps are connected by individual non-return valves to a central manifold. Thus it is ensured that a defective pump will not cause a malfunction or an unintentional by-pass situation.
^* The C in the pump designation C3K stands for "Ceramic".

1.2 Selection of system
The great degree of flexibility, an important characteristic of the DELTABOOSTER, means that each individual customer may select the system which suits his cleaning needs.
The following solutions are offered:
NUMBER OF PUMPS
Choose from 2 to 6 pumps depending on the capacity required at the same time. In other words, the number of pumps should be decided on the basis of the number of places that are to use the system at one and the same time.
LINE PRESSURE
The line pressure is the maximum working pressure for the individual user and is of importance to the dimensioning of the pipeline, of course.
As a standard the system is adjusted to a line pressure of either 120 bar or 160 bar, but it may be adjusted to a line pressure within the area 90 to 160 bar. This adjustment should only be done by a specialized Nilfisk-ALTO customer engineer.
SELECTION OF SPRAY LANCE
For each of the line pressures (120 and 160 bar) there are nine different spray lances developed especially for the DELTABOOSTER. Each of the nine spray lances represents a combination of pressure and water volume. Users may therefore always select the job-right combination of pressure and water volume.
1.3 Technical data
Identification of model
The model identification appears from the identification plate on the cabinet.
The model plate provides the following data:
- Model
- Nilfisk-ALTO No.
- Nozzle
- Pump pressure
- Max. pressure
- Water volume
- Max. temperature of inlet water
- Voltage / frequency / nominal input
-
Power consumption
-
Approval
-
Serial number / Production week and year

1.3.0 Control system
| Country | Model | Electric Data | Power absorption | Max. capacity | Classification of tightness |
| B,E,I,N | DELTABOOSTER-3P | 230V 3~+ EARTH, 50Hz 20,6-63 A | 6,7-20,4kW | 3x6,7kW | IP55 |
| DELTABOOSTER-6P | 230V 3~+ EARTH, 50Hz 20,6-125 A | 6,7-40,5kW | 6x6,7kW | IP55 | |
| DK,S,N, SF,D,B, NL,A,E, CH,I,GR | DELTABOOSTER-3P | 400V 3~+ EARTH, 50Hz 12-36,7 A | 6,7-20,4kW | 3x6,7kW | IP55 |
| DELTABOOSTER-6P | 400V 3~+ EARTH, 50Hz 12-72,7 A | 6,7-40,5kW | 6x6,7kW | IP55 | |
| GB,AUS, SGP,U, USA,SKB | DELTABOOSTER-3P | 415-440V 3~+ EARTH, 50/60Hz 10,7-32,7 A | 6,7-20,4kW | 3x6,7kW | IP55 |
| DELTABOOSTER-6P | 415-440V 3~+ EARTH, 50/60Hz 10,7-64,8 A | 6,7-40,5kW | 6x6,7kW | IP55 |
1.3.1 Water tank
| Tank capacity | 1 | 80 |
| Water inlet C + H | 1" | |
| Fittings | stainless steel | |
| Control current max. | V | 24V AC |
1.3.2 C3K pump
| Cleaning power | kW | 4.4 |
| Water volume | l/min | 17 |
| Electric motor, power consumption | kW | 6.7 |
| Current consumption 3x400v/230v | A | 12/20,6 |
| Classification of tightness | - | IP45 |
Ceramic pistons, stainless steel valves, and closed oil system with special gaskets in pumps.
1.3.3 Dimensions, weight and total performance per system

a

b
1 - water inlet for hot water
2 - water inlet for cold water
3 - water outlet, 22 mm
| No. of pumps Model | 2 44C3 | 3 44C3 | 4 44C3 | 5 44C3 | 6 44C3 | |
| Cleaning power | kW | 8,8 | 13,2 | 17,6 | 22,0 | 26,4 |
| Pressure | bar | 160 | 160 | 160 | 160 | 160 |
| Water volume | l/min | 34 | 51 | 68 | 85 | 102 |
| Current cons. | A | 21,41)41,22) /243) | 32,11)/61,82) /363) | 42,81)/82,42) /483) | 53,51)/1032) /603) | 64,21)/123,62) /723) |
| Dimensions: | ||||||
| A | mm | 780 | 780 | 780 | 780 | 780 |
| B | mm | 790 | 790 | 790 | 790 | 790 |
| C | mm | 1800 | 1800 | 1800 | 1800 | 1800 |
| Weight 4) | kg | 250 | 300 | 350 | 400 | 450 |
1) 415-440V, 3~, 50/60Hz
2) 230V, 3, 50Hz
3) 400V, 3\~, 50Hz
4) Ready for service
1.4 Location of the DELTABOOSTER
The DELTABOOSTER is fitted with vibration absorbing rubber supports, so it may be placed straight on an even surface (see section 2.2).
The plant must be placed in frost-free premises where the maximum temperature does not exceed 40^ .
LOCATION SKETCH
(dimensions in millimetres)


1.5 Installation requirements for water connection
The water tank is fitted with two water inlets, one for cold water (BLUE marking) and one for hot water (RED marking). This allows the operator to control the temperature of the water being used. If no temperature control is desired both water inlets may be attached to the cold pipeline.
At least 1 cold water inlet should always be connected and the hot inlet water should never exceed 80^ .
Each pipeline should be capable of supplying the system with at least the water volume that answers to the capacity of the system ( no. of pumps - l/min, cf. 1.3.3) and at min. 2 bar. The water pressure must not exceed 10 bar. If water is being drawn from the lines at other points, the line capacity should be equally bigger.
In order to achieve optimal temperature control the shut-off valves on both the hot and the cold pipeline should be adjusted so that the water volume of each line comes as close to the required water volume as possible.
Water should be connected at the inlet sockets with two 1" flexible hose connections (included in the MK-Mountig Kit). The two water inlet hoses are 1m long and fitted with a 1" external taper pipe thread. Shut-off valves should be fitted right next to the connections on the supply lines, but no extra non-return valve is required as the system is fitted with an airgap type water tank.
If the water holds running sand or other impurities external filters should be fitted in addition to the internal filters.
The high-pressure connection to the pipe system should be by means of the 3/4'' high-pressure hose supplied with the system. The hose is fitted with an 22 plain branch for connecting to cutting ring hose connection.

1.6 Installation requirements for mains power connection
The power system of the DELTABOOSTER is designed in conformity with the common European standard:
EN 60204-1 (October 1992): Electrical equipment of machines, Part 1: General requirements.
Power should be connected through a flexible rubber cable holding copper conductors for 3 phases and earth (PE). The minimum dimensions of the cable are determined by the power consumption of the current system (cf. data sheet), but common to all systems is the following:
Max pre-fuse:
125A
Max core section of cable:
35 mm
In consideration of a future extension of the plant we recommend you to use a cable with a min. core section of cable of 25 mm.
Earth wire protection is required and the connection of the DELTABOOSTER to the mains power supply MUST be carried out by an authorized electrician in conformity with local regulations. To ensure maximum protection of persons, the installation should be protected by a Residual Current Device (RCD).

SUPPLY NETWORK
DELTABOOSTER control system
1.7 Pipe system
1.7.1 Location of pipelines/general instructions
- The pump station and outlet points should be placed so that the lines become as short as possible.
- The line should be arranged with as few bends as possible.
- Sometimes it may pay to split the line close to the pump station so the lengths conducting large volumes of water become as short as possible. A centre location of the pump station in relation to the outlet points would also lead to smaller pipe dimensions.
- Pipe lines should be placed on walls of tile or concrete, otherwise great care should be taken (reinforcement plates etc.)
- Pipe lines should be placed so that damage is prevented (collision, frost, extreme attacks of corrosion, etc.)
- Pipe lines should be fitted in a visual location everywhere or so that they may easily be inspected. Lines should not be incorporated in walls or floors. When leading through walls be careful not to enclosed. (Special lead-in bushes are available)
- The outlet points should be placed as close to the operation point as possible and so that a hose length preferably of 20m is used.
1.7.2 Types of pipes - standards
Seamless pipes of precision steel are used for the pipe system according to DIN 2391/C of St. 35.4 material quality, normalized, bright annealed and electro galvanized
or welded steel pipes, stainless, calibrated and glowed according to DIN 2463 - 1.401 d3-- (DIN 17457 cl. 1).
Alternatively, seamless pipes of precision steel in dimensions according to DIN 2391 and stainless material quality e.g. Werkstoff no. 1.4301, 1.4436 or 1.4571. Comparable qualities to Swedish standards are SIS 2333 or SIS 2343.
Pipe dimensions:
The following sizes are used with electro galvanized precision steel pipes:
-015x2
- 022x2.5
-030x4
The following sizes are used with stainless precision steel pipes:
-015x1.5
-022x2
-030x3
In connection with branches close to the pump station it should be possible to avoid the 30 dimension for most 44C3 systems. For 160 bar systems fittings with a permissible working pressure of min. ND 160 bar are to be used.
Please note that the pipe dimension 30 according to DIN 2353 is used together with a stronger type of fitting (S-series) and pipe systems with this dimension therefore become more expensive than e.g. an 22 line - particularly in multi-pump systems.
Rørledningskomponenter - Piping Components - Rohrleitungskomponenten - Elements De Tuyauterie
| BETEGNELSE DESCRIPTION | BEZEICHUNG DESIGNATION | DIMENSION | G | R | Cu | |
| Ror Pipe | Rohr Tuyau | G Ø15 x 2 mm R Ø15 x 1,5 mm | X | X | X | |
| Ror Pipe | Rohr Tuyau | G Ø22 x 2,5 mm R Ø22 x 2,0 mm | X | X | ||
| Ror Pipe | Rohr Tuyau | G Ø30 x 4,0 mm R Ø30 x 3,0 mm | X | * | ||
| Tiltsluntingslange Connecting hose | Anschlußschlauch Tuyau de raccordement | 3/4" | X | X | ||
| Rørsamler Pipe coupling | Verschraubung Raccord | Ø15 | X | X | ||
| Rørsamler Pipe coupling | Verschraubung Raccord | Ø22 | X | X | * | |
| Rørsamler Pipe coupling | Verschraubung Raccord | Ø30 | X | * | ||
| T-stykke T-Connection | T-Stück Raccord en Té | Ø15 x Ø15 x Ø15 | X | X | * | |
| T-stykke T-Connection | T-Stück Raccord en Té | Ø22 x Ø22 x Ø22 | X | X | ||
| T-stykke T-Connection | T-Stück Raccord en Té | Ø30 x Ø30 x Ø30 | X | * | ||
| T-Stykke T-Connection | T-Stück Raccord en Té | Ø15 x 3/8RG x Ø15 | X | |||
Not in stock (Ask for
(leveringstid optyses)
Rørledningskomponenter - Piping Components - Rohrleitungskomponenten - Elements De Tuyauterie
| BETEGNELSE DESCRIPTION | BEZEICHNUNG DESIGNATION | DIMENSION | G | R | Cu | |
| Vinkel Elbow | Winkel Coude | Ø15 x Ø15 | X | X | * | |
| Vinkel Elbow | Winkel Coude | Ø22 x Ø22 | X | X | ||
| Vinkel Elbow | Winkel Coude | Ø30 x Ø30 | X | * | ||
| Stilbar L-forskruning Adj. Elbow coupl. | Verschraubung Raccord reg. | Ø15 | X | X | ||
| Stilbar L-forskruning Adj. Elbow coupl. | Verschraubung Raccord reg. | Ø22 | X | X | ||
| Vinkel Elbow | Winkel Coude | Ø15 x 3/8" RG | X | |||
| Vinkel Elbow | Winkel Coude | Ø22 x Ø15 | X | |||
| Vægbeslag f. rørholder Bracket f. pipe hangs | Wandbeschlag Fixation mural | Ø15 | X | X | ||
| Vægbeslag f. rørholder Bracket f. pipe hangs | Wandbeschlag Fixation mural | Ø22 | X | X | ||
| Vægbeslag f. rørholder Bracket f. pipe hangs | Wandbeschlag Fixation mural | Ø30 | X | X | ||
Not in stock (Ask for
time of delivery)
Lagerfores nikke
(leveringstid oplyses )
| Rørledningskomponenter - Piping Components - Rohrleitungskomponenten - Elements De Tuyauterie | ||||||
| BETEGNELSE DESCRIPTION | BEZEICHNUNG DESIGNATION | DIMENSION | G | R | Cu | |
| Rørhol der Pipe holder | Rohrhalterung Support tuyau | Ø15 | X | X | ||
| Rørhol der Pipe holder | Rohrhalterung Support tuyau | Ø22 | X | X | ||
| Rørholder Pipe holder | Rohrhalterung Support tuyau | Ø30 | X | X | ||
| Slange f. temp. kompens. Hose temp. compensated | Schlauch - Tempkomp. Tuyau temp. compenser | ½" Ø15/Ø22 | X | X | ||
| Slange f. temp. kompens. Hose temp. compensated | Schlauch - Tempkomp. Tuyau temp. compenser | 3/4" Ø22/Ø30 | X | X | ||
| Tætningskive Tightening washer | Dichtungsscheibe Rondelle d'etanche | 3/8RG Ø17 mm | X | X | ||
| Stiknippel Quick coupling | Schnellkupplungsnap. Raccord rapide male | 3/8RG | X | X | ||
| Murgennemføring Lead-in bush | Durchführung RÉalisable | Ø15 | X | |||
| Murgennemføring Lead-in bush | Durchführung RÉalisable | Ø22 | X | |||
| Murgennemføring Lead-in bush | Durchführung RÉalisable | Ø30 | X | |||
1.7.4 Dimensioning of pipe systems
The below diagram shows the current pressure drop graphs meant for the dimensioning of pipe systems used in connection with the DELTABOOSTER plant.
The diagram illustrates two vertical divisions for
II) electro galvanized steel pipes 15x2 mm - 22x2.5 mm - 30x4 mm
I) stainless steel pipes 15x1.5 mm - 22x2 mm - 30x3 mm
The pressure drop per metre of pipe at a given water volume may be read from the following pressure drop graph.

Water volume [l/min]
When dimensioning the system be careful that the maximum pressure drop at the remotest outlet point does not exceed 15 bar at full load.
The pressure drop in elbows and branches is of minor importance in relation to the pressure drop in the pipes.

1.7.5 Examples
The following examples have been worked out on the basis of stainless steel pipes and a 160 bar system, and the dimension requirements are max.15 bar pressure drop from the machine
to the outlet points.

Example 1

Two different conditions may be used when dimensioning the pipe system:
A. Based upon a fixed type of spray lance (capacity l/min)
B. Based upon max. capacity, i.e. all spray lances may be used anywhere
A:
If standard lances (17 l/min) are selected for outlet points a, b and c the maximum load on line b-c = 17 l/min.
According to the diagram the use of a 50m 15mm pipe will result in a pressure drop of:
In the diagram you follow the 50m division vertically upwards to the curve symbolizing 17 l/min through an 15 mm pipe. From here proceed horizontally and a pressure drop of 2.3 bar is had.
Maximum load on pipe line a-b = 35 l/min.
Use of 40m 15mm pipe will result in a pressure drop of:
Maximum load on pipe line M-a = 51 l/min.
Use of 70m 22mm pipe will result in a pressure drop of:
Total pressure drop
PRESSURE
DROP
2.3 bar
7.4 bar
3.3 bar
13.0 bar
The aggregate pressure drop on the three lines is less than 15 bar and the dimension requirements have therefore been met.
B:
If, on the other hand, a green spray lance is selected = 33l / min + a standard spray lance = 17 l/min the maximum load on the line b - c = 33~l / min
Use of 50m 15mm pipe will result in a pressure drop of:
Maximum load on line a - b = 50l / min
Use of 40m 22mm pipe will result in a pressure drop of:
Maximum load on line M-a = 50 l/min.
Use of 70m 22mm pipe will result in a pressure drop of:
Total pressure drop

The aggregate pressure drop on the three lines is less than 15 bar and the dimension requirements have therefore been met.

Example 2
Branched system
Selection of spray lance: 2 green spray lances each of 33l / min
2 blue spray lances each of 17 l/min
Maximum load in each branch is 33 l/min
Use of 15 mm pipe on e.g. the a-a2 line
(20m) will result in a pressure drop of:
Maximum load on line b - c = 66l / min
Use of 30m 22mm pipe will result in a pressure drop of:
Maximum load on line a - b + M - a = 101l / min
Use of 40m 22mm pipe will result in a pressure drop of:
Total pressure drop

The aggregate pressure drop on the three lines is less than 15 bar and the dimension requirements have therefore been met.
Example 3

Ring system
Selection of spray lance: 2 green spray lances each of 33l / min
2 blue spray lances each of 17 l/min
If the maximum load is distributed evenly and symmetrically the maximum load on line b1 - c1 = 33l / min
If 15mm pipe is selected 35m pipes will result in a pressure drop of:
Maximum load on line M-a1 + a1-b1 = 50 l/min. If 90 m Ø22 mm pipe is used the resulting pressure drop will be:
Total pressure drop
PRESSURE DROP 6 bar
4 bar
10 bar
This means that 22 mm pipe is to be used from the pumps to outlet points b1 and b2 and 15 mm for the rest.
The examples show different ways of installing the pipe system. What to prefer in each individual case highly depends on the building where it is to be located and special requirements, if any. Due regard should be paid to the fact that big pipe dimensions and units are considerably more expensive, and the financial costs of each solution should therefore always be compared to one another.
1.7.6 Mounting requirements and hints
Temperature compensation
When hot water (max. 75^ ) is used in the system due regard should be paid to thermal expansion of the pipes when mounting the system. When raising the temperature from 10^ to 75^ the system will expand some 0.7mm / m . In order to allow for this expansion long straight lines should be fitted with compensators in the form of U-bends or hose connections. The pipe system should not be fixed too close to any corners and close to Tee connectors at outlet points.
U-bends/hose connections
At a max. temperature on the system of 75^ a compensator should be fitted at 20m intervals if there are no elbows on the line. If the pipe may expand at one end compensators may be left out if the pipe is not fixed at the Tee connectors at the same time. Compensation for 15 and 22 should be in the form of hose connections or as U-bends on the pipe. Use hose connections for 30 .
COMPENSATION

| Pipe | Hose no. | Hose no. stainless | L (mm) | L min (mm) | R min (mm) |
| ∅15 | 6300453 | 6301191 | 350 | 450 | 40 |
| ∅22 | 6300453/6300454* | 6301191/6202161* | 350/480 | 550 | 55 |
| ∅30 | 6300454 | 6202161 | 480 |
- If the pipe line carries more than the water volume from 3 pumps 6300454 respectively 6202161 hoses should be fitted.



Standard distance between pipe brackets is some 2m
MOUNTING OF PIPE LINES/GENERAL INSTRUCTIONS
- Shorten the pipes by sawing off and take off burrs.
- When bending the pipe bending radii should not be smaller than those stated in the chart under "U-bends/hose connections" and the bending should always be completed in a bending tool with rolling matrixes in order to prevent deformation of the pipe.
- Union nut and cutting ring should be greased with oil and the cutting ring should be pre-fitted to the pipe in the screw joint or the annealed pre-mounting socket before fitting the pipe.
- Place the pipe brackets at a maximum interval of 2m
- Use 6 hexagon-headed screw with expansion joint for wall or concrete walls when mounting wall fittings, alternatively use a knock-type anchor for concrete walls, e.g. HILTI type HPS 8/30.
- In systems meant for hot water, care should be taken to place the pipe brackets on a straight line in order to prevent the lengthwise expansion of the pipe.
Mounting in Connection Socket

- Saw the pipe rectangularly through and take off burrs.

2.
It will be most easy for you to saw the pipe rectangularly through by means of the pipe sawing mechanism shown. NAME:BAV 6/42 pipes of 6- 42 mm
NOTE: Do not use pipe cutter!
The pipe will be cut over slantingly and there will be burrs inside as well as outside the pipe end.

3.
Lubricate thread as well as cutting- and key ring with oil (not grease). Now push the pipe nut and the ring over the pipe end as shown on the drawing.
If the cutting- and key ring cannot or can only just be pushed over the end of the pipe, do not entlarge it, but file the pipe end.
- At first screw up the compression nut by hand until it has got contact with the cutting- and key ring. Then press the pipe wholly up to the inner conus and give the compression nut a turn of app. 3/4.
A marking thread on the compression nut will make it easier for you to observe the turns prescribed.

- (NOTE: The pipe must nut turn at the same time).
The cutting- and key ring will get hold of the pipe, and now it is unnecessary to press the pipe further. For the final feed, give the compression nut another turn of approximately 3/4. By doing so, the ring will cut into the pipe and reveal an apparent belt.
- Pipes of a large outer diameter and all connections in free pipings are mounted in a vice of practical reasons while you are fastening the connection socket. The screw spanner must have a length approximately 15 times as long as the width of it. (Lengthen it by means of a pipe, if necessary). Proceed according to point 4.
When using series connection sockets, be aware that the pipe ends go into the same inner conus as the one in which the mounting in the vice was carried out. The final tightening will be simplified by loosening the compression nut a little, so that the wearing surfaces may be supplied with a little oil.


7.
After the final feeding, loosen compression nut and check that there is an apparent belt before the cutting. If not -wring the cutting- and key ring a little extra.
Apparent belt

- It does not matter if the cutting- and key ring can be turned on the pipe end.
9. REMOUNTING
After each loosening of the connection, the tightening of the compression nut may be done without any lengthening with a pipe and without any violent effort.

10.
The straight pipe end, which goes into the screwed connection, must have a length of at least 2 lengths of the compression nut (H).
If the pipings are longer or more weighted, you will have to mount a pipe fitting.
1.8 Outlet points and accessories
Outlet point A is a high-pressure cock meant for permanent mounting. The high-pressure cock should be fitted straight on the pipe line by means of an 15 mm cutting ring connection.
If a DELTABOOSTER spray lance is wanted the quick-coupling for the high- pressure hose should be fitted straight on to outlet point A.
If equipment for the application of detergents is wanted a foam injector should be fitted between outlet point A and the quick-coupling on the high-pressure hose.
When using the detergent trolley the high-pressure hose may be fitted straight on to the outlet point A.
| A | OUTLET STATION High-pressure cock To be used for connection of detergent trolley, single foam injector or single DELTABOOSTER spray lance. |
| B | Foam injector To be fitted on high-pressure cock. To be used in conjunction with foam lance when detergents and disinfectants are to be applied. Dosage from 1-5%. |
| C | Wall rack Used in conjunction with outlet station A and detachable foam injector. Capacity to take lance, two 25 l cans and 10 m high-pressure hose. |
| D | Detergent trolley May be connected to high-pressure cock. Capacity to take high-pressure cock with detachable foam injector (A+B+C) and floor washer. |
| ACCESSORIES Detachable foam injector, to be used in conjunction with outlet station A. | |
| Pressure-relieved spray handle with 10 m hose. | |
| Hose coil with 20 m hose | |
| Single spray lance for DELTABOOSTER plant described in section 1.9 | |
| Foam lance To be used in conjunction with detachable foam injector and detergent trolley. |
1.9 Multipressure spray lance system
Spray lances with colour coding are used as standard equipment. The colour code indicates the water volume and pressure supplied by the specific lance.
The different water volumes and pressures depend on the high-pressure nozzle, pre-nozzle and spray lance fitted.
The spray lances for 120 and 160 bar respectively differ in that the spray lances for 120 bar are fitted with a GREY nozzle protection, whereas the spray lances for 160 bar are fitted with a BLACK nozzle protection.
Multipressure spray lances are available in 3 different lengths: 50~mm - 570~mm - 930~mm .
| 160 bar (black nozzle protection) | ||||||||
| No. | Colour | High-pressure nozzle | Pre-nozzle diameter | C3K pumps | Reactive power*) | No. of pumps in oper. | ||
| Pressure bar | Water vol. l/min | N | kp | |||||
| 1 | White | 1515 | Ø1.56 | 27 | 17 | 19 | 2.0 | 1 |
| 2 | Black | 1530 | Ø2.27 | 27 | 35 | 41 | 4.2 | 2 |
| 3 | Brown | 1511 | Ø1.73 | 50 | 17 | 26 | 2.6 | 1 |
| 4 | Green | 1520 | Ø2.35 | 53 | 33 | 56 | 5.7 | 2 |
| 5 | Blue | 1508 | Ø1.80 | 80 | 17 | 35 | 3.6 | 1 |
| 6 | Red | 1513 | Ø2.27 | 80 | 27 | 57 | 5.8 | 1.5 |
| 7 | Orange | 15075 | Ø2.08 | 107 | 17 | 38 | 3.9 | 1 |
| 8 | Yellow | 1511 | Ø2.50 | 107 | 26 | 60 | 6.2 | 1.5 |
| 9 | Steel | 1506 | none | 152 | 17 | 46 | 4.7 | 1 |
| 120 bar (grey nozzle protection) | ||||||||
| No. | Colour | High-pressure nozzle | Pre-nozzle diameter | C3K pumps | Reactive power*) | No. of pumps in oper. | ||
| Pressure bar | Water vol. l/min | N | kp | |||||
| 1 | White | 15165 | Ø1.68 | 20 | 17 | 18 | 1.8 | 1 |
| 2 | Black | 1531 | Ø2.32 | 20 | 32 | 33 | 3.4 | 2 |
| 3 | Brown | 1511 | Ø1.73 | 40 | 16 | 23 | 2.3 | 1 |
| 4 | Green | 1522 | Ø2.43 | 40 | 32 | 48 | 4.9 | 2 |
| 5 | Blue | 1509 | Ø1.88 | 60 | 16 | 28 | 2.8 | 1 |
| 6 | Red | 1515 | Ø2.43 | 60 | 26 | 45 | 4.6 | 1.5 |
| 7 | Orange | 1508 | Ø2.15 | 80 | 17 | 35 | 3.6 | 1 |
| 8 | Yellow | 1513 | Ø2.74 | 80 | 27 | 56 | 5.7 | 1.5 |
| 9 | Steel | 15075 | none | 114 | 17 | 40 | 4.1 | 1 |
- As the reactive power describes an angle together with the spray lance the pistol handle is also affected by a torque power.
Alternative lances should only be mounted under the guidance of Nilfisk-ALTO staff.
2. Instructions for assembly of DELTABOOSTER
2.1 Location of the DELTABOOSTER
The DELTABOOSTER is fitted with vibration absorbing rubber supports, so it may be placed straight on an even surface.
The plant must be placed in frost-free premises where the maximum temperature does not exceed 40^ .
LOCATION SKETCH
(dimensions in millimetres)


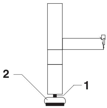
2.2 Mounting base
If the base is uneven height adjustments may be made by adjusting the counter nut (1) on the machine foot (2) as shown on Fig. 1.
It is important that the plant is adjusted to horizontal position. Otherwise it may be a problem opening the cabinet door.

Fig. 1
It is advisable to fix the module frame of the system to both the bulk-head and bottom when mounting the system in ships.
The tip over safety devices (3) (which are available as an accessory) should be placed diagonally on the plant and mounted between the machine feet and the floor stands as shown on Fig. 2. Fasten the fittings securely to the floor with 4 pcs. 8 mm hexagon-headed screws complete with expansion bushes or with 4 anchors of the impact type.

Fig. 2

2.3 Connection of inlet water
The water tank is provided with two 1" water inlets:
Inlet 1 for cold water (BLUE marking)
Inlet 2 for hot water (RED marking)

Fig. 3
Water is connected at the inlet sockets of the system by means of two 1" flexible hose connectors.
Shut-off cocks should be mounted right next to the sockets on the supply lines.
If the water contains running sand or other impurities external filters should be mounted in addition to the internal filters.
2.3.1 Control of filter in water tank
Check that the filter in the water tank has been correctly mounted.

Fig. 4
2.4 Mains power connection between the DELTABOOSTER and the supply network (cf. Fig. 5)
All measurements and connections described below should be carried out by authorized specialists!
1) The DELTABOOSTER should be connected to a three-phase mains supply at the rated voltage, cf. the model plate. Max. 125 Amp pre-fuses.
2) The connection should be established through a flexible rubber cable with 3 phase cores and one earth conductor to be led through the sealing connection (2) and into the bottom of the switchboard through the open angle flange (3). The angle flange is opened by loosening two nuts. The cable should be connected direct at the main switch S1 and the main earth terminal (4). When the cable has been properly mounted in the main switch S1, the angle flange should be closed around the sealing connection (2) and the cable placed in the two cable reliefs (1).
The cable should be rated to the existing current consumption which has been stamped on the DELTABOOSTER model plate. It is advisable to apply a cable with a conductor cross section of minimum 25 in preparation for a later expansion.
3) It is also advisable to take additional precautionary measures to protect the user by installing a Residual Current Device (RCD) / Ground fault circuit interruptor (GFCI) in the DELTA-BOOSTER supply line.
4) Finally, check that fuses F1 - F2 and F3 (cf. wiring diagram) have been mounted in the retainers and that the overload cut-out Q1-Q? has been connected and set correctly (cf. C3K model plate).
5) With an appropriate measuring equipment the connection of earth cables from the outlet of the fixed installation to a metallic part on the high pressure outlet of the machine should be checked. The phase conductors of the supply cable should be subjected to a high voltage test with the main switch in off position.
At Nilfisk-ALTO the DELTABOOSTER has been tested on the above-mentioned items as a separate machine.
6) The door to the switchboard should be closed and locked. The system is now ready for running in and function testing.

2.5 Starting up/running in
Prior to starting up the customer engineer should be fully confident with sections 3.4 - 3.6 of the Operation Manual describing the instrument panel, settings and starting up/operation.
If any faults appear during the starting up and running in, sect. 3.10 on trouble-shooting may help you.
2.5.1 Oil control
Check the oil level in the oil gas (cf. Fig. 6).

Fig. 6
If the oil level gets too low, the machine will automatically shut down. will light up.
In the case of repeated low oil level (oil waste) please contact a Nilfisk-ALTO service technician.
2.5.2 Start
Turn the main switch to position -I-.
Turn the operation switch to position - I -.
The water tank will now be filled up. Press the starting switch when the system has been made ready for venting of the pumps.
2.5.3 Venting of pumps
Venting should be carried out on each pump individually (cf. sect. 3.5.2) as power is only connected to the water tank module and the relevant pump during the venting process.
The pump should be vented in the following way:
- Make sure that only the pump to be vented is switched on (cf. Fig. 3.5.2).
- Open the cabinet.
- Loosen the venting screw of the pump (cf. Fig. 7).
- Fit a hose to the end of the venting screw and lead it to waste (jar or the like).
- Start the pump and let it run until all the air has been removed.
- Tighten the venting screw.
- Repeat the procedure until all pumps of the DELTABOOSTER have been vented.

Fig. 7
2.5.4 Venting of pipe system
When each pump has been vented the system is started up, and all high- pressure cocks on the pipeline are opened one at a time until all air has been removed. Begin with the remotest high pressure cock.
Please note that the cock should be closed for a short time before opening it again. The latter is done in order to prevent the leakage stop from being activated when venting long pipelines.
2.5.5 Adjustment of line pressure
Adjustment of line pressure should only be carried out by an authorized Nilfisk-ALTO service technician.
As a standard the DELTABOOSTER is adjusted to a line pressure of 160 bar, but it may be adjusted to any line pressure within the area 90 to 160 bar.
It will always be expedient to choose a line pressure corresponding to the highest working pressure / nozzle pressure which you know will be required for your cleaning jobs.
A Nilfisk-ALTO service technician can adjust the high pressure switch (1) and the overflow valve (2) to the required line pressure. The pressure can be read from the pressure gauge (3).

Fig. 8
3 How to use the DELTABOOSTER
Users are urgently requested to study these instructions before operating the DELTABOOSTER.
The individual user is personally responsible for handling and using the cleaning system properly and safely. It is therefore urgent that all users are instructed in detail of how to use the system and they should all have a copy of Appendix A on "Operation and Safety Instructions".
3.1 Safety
Your Nilfisk-ALTO DELTABOOSTER is designed and made in accordance with the latest rules on safety at work. In order to prevent injuries to yourself and other persons, the following regulations should always
be observed when operating the plant.


- WARNING! Never direct the water jet towards people, pets, electric wiring, or the DELTABOOSTER.
- WARNING! Never try to clean clothes or footwear on yourself or other persons.
- We recommend you to wear ear defenders, goggles and protective clothing during operation.
- Never work barefoot or with sandals.
- Operator and anyone in immediate vicinity of the site of cleaning should take action to protect himself from being struck by debris dislodged during operation.
- Spray handle and lance are affected by a thrust during operation - therefore always hold the spray handle and lance firmly with both hands.
- Only activate the trigger by hand. Never tie it up or fix it in any other way.
- At intervals during operation, the machine should be stopped and the spray handle secured against inadvertent use by turning safety knob to position O.
- WARNING! High pressure hoses, nozzles and connections are important for safety when operating the plant. Only use the high pressure hoses, nozzles and connections prescribed by Nilfisk-ALTO.
- Avoid damage to the high pressure hose such as running over by a car, squeezing, pulling, knotting/kinking etc. and keep it away from oil and sharp or hot objects, as such may cause the hose to burst.
- Never use the water for other purposes than cleaning. Detergents etc. may have been added.
- Never detach the high pressure hose from an outlet point until the high pressure cock at the outlet has been properly closed and the high pressure hose relieved of pressure.
- Only let instructed personnel operate the plant.
- Never let children operate the plant. Denmark: Persons under the age of 18 must not operate the plant if the working pressure exceeds 70 bar.
- When using detergents the instructions should always be strictly observed.
- Persons under the influence of alcohol, drugs and medicine should not operate the machine.
- Don't use the machine if important parts of the equipment are damaged - i.e. safety devices, high pressure hoses, pipeline, spray handle.
Save these instructions for later
The high-pressure pumps of a DELTABOOSTER are fitted with a safety valve each.
The safety valve has been set and sealed from the works.
DO NOT INTERFERE WITH THIS SETTING!
The motors in a DELTABOOSTER are protected against overload as thermal circuit breakers have been incorporated in the stator windings, and the motor is guarded.
If the motor is subjected to an overload the thermal switches will cut off the system so it stops. After such a stop the DELTABOOSTER can be restarted without interfering in the electrical system as the failing motor will automatically be disconnected. After cooling or re-connection of the motor protection, the previously disconnected motor can be taken into operation again when re-starting the plant as described in section 3.4.2.
The motor protection disconnects the system if the motor consumes too much power.
Frost protection
The system should be installed in frost-free premises. Pipelines and outlet stations should also be in a frost-free location. When outlet stations are situated outdoors remember to provide for the cutting off and draining of that part of the line which is exposed to frost.
If the temperature of the inlet water is above 80^ or below 2^ the plant will be disconnected.
3.2 Model survey

- Switchboard
- Main switch
- Operation switch
- Starting button
- Switchboard
- Water tank
- Motor pump units
- Water connection
-
Oil control
-
Pressure gauge
- Outlet socket
- Machine feet with vibration absorber
- Identification plate
- Water filters
- Lock
- Handle / lock for cabinet door

3.3 Functional diagram

- Water filter
- Water tank
- Overflow pipe
- Level sensor (lack of water)
- (start inlet of water)
- (stop inlet of water)
- Relief valve
- Flow switch (flow back to tank)
- Excess-pressure valve (overflow valve)
- Pressure switch (low pressure)
- Pressure switch (high pressure)
- Solenoid relief valve
-
Pressure gauge
-
Diffuse filter, return
- Non-return valve
- Accumulator
- Motor pump unit
- High pressure hose, machine outlet
- Temperature sensor
- Drain cock for cleaning of water filter
- Water inlet for hot water
- Water inlet for cold water
- Solenoid valve, hot water
- Solenoid valve, cold water
- Pipeline, high pressure
- Oil glas with level sensor
3.4 Instrument panel
The instrument panel is situated on the switchboard of the DELTABOOSTER.
- Main / emergency switch (circuit breaker)
- Operation switch - stopping switch
- Starting switch
- Switchboard
- Locks for the door of the switchboard

3.4.1 Main / emergency switch
The main switch (1) connects the DELTABOOSTER to the supply network when the switch is turned from pos. 0 to pos. 1. At pos. 0 there is no connection between the DELTABOOSTER and the supply network and the capacity of the switch is sufficient to use it as an emergency device. The main switch may be locked in 0 position by means of an ordinary padlock. The switch should always be locked during service checks of the system.
PLEASE NOTE: The switchboard can only be opened by means of a key and only when the main switch (1) is in pos. 0.
3.4.2 Control switch / starting switch and stopping switch
The control switch (2) supplies 24VAC control voltage to the DELTABOOSTER when turned to position I (provided the main switch is in pos. I).
The plant is started up by pressing the starting switch (3).
The plant will now be in operation / stand-by mode until the operation switch is turned back to pos. 0.
Stop of plants in operation should always be effected on the operation switch and thus only use the main / emergency switch for power cut off and emergencies.
3.4.3 The control panel
The control panel (5) is based upon a schematic drawing of the system where a number of control lamps will show the status of the system and possible faults.
The control lamps have been divided into three categories:
Green indicating a coupled unit (valve, C3K)
Yellow indicating an activated sensor (pressure switch, flow, level)
Red indicating a serious fault (leakage, over heating, etc.)
In normal conditions only the green and the yellow control lamps will glow.
If a serious fault arises the relevant red control lamp will start flashing and at the same time the system will stop operating completely. Status from the other lamps is retained so the condition at the moment of the fault is visible.
If a red control lamp flashes the system can usually not be re-started until the fault has been corrected unless a motor pump unit is disengaged because of a too high temperature or a too high power consumption. The plant can be restarted by following the procedure described in section 3.4.2 as the steering will disconnect the defective motor. Thus the actual control lamp will glow contantly (cf. the section on "3.10 Trouble-shooting and correction").
The meaning of the control panel and the individual control lamps appears from Fig. 2 below.

Fig. 2
3.5 Setting and reading of DELTABOOSTER
In the DELTABOOSTER the user will only need to make the following settings and readings:
- Setting of water temperature
- Setting of number of C3K pumps in operation
- Reading of hour meters
In all three cases the switchboard (Fig. 3) will have to be opened by means of the enclosed special key.
Prior to opening the door the main switch should be turned to pos. 0.

Fig. 3
3.5.1 Setting of water temperature
The knob for adjusting the water temperature is placed on the steering A1 in the switchboard and may either be put in the OFF position (click function - vertically) or set on the desired mixing temperature. The yellow diode below the control knob indicates the starting point of the temperature adjustment.
OFF


In this position the system will allow the parallel inlet of water from the two water connections into the water tank. This is an advantage if the pressure of the inlet water is low and you can do without the function of temperature regulation.
No adjustment of temperature is provided for, but the water temperature at the two connections may be selected freely (lower than 75^ ).
The yellow indicator symbol on the control panel (section 3.6, Fig. 5, symbol 4) is not lit.

In this position water from the two connections will be mixed to the desired mixing temperature (e.g. 50^ ).
The yellow indicator symbol on the control panel (section 3.6, Fig. 5, symbol 4) will glow constantly as an indication that the temperature adjustment has been activated.
The indicator lamp may start to flash while the system is in operation. This means that the temperature adjustment has been cancelled by the controls. This will happen if the water supply from either the cold or the hot connection is so sparse (closed tap, low water pressure) that the system is about to enter to a fault situation: "Lack of water".
Both connections will then be opened in parallel until a high water level has been achieved. The attempt at mixing to the desired temperature will then be repeated.
The indicator lamp will continue to flash even though the water supply returns to OK and the temperature adjustment is repeated.
Please note: The flashing can only be removed by restarting the system.
3.5.2 Connection and disconnection of C3K pumps
The desired configuration of the DELTABOOSTER will determine this setting.
As the system may have 2 to 6 C3K pumps connected, each module location has a specific figure connected to it.:

The current configuration is set on the 8-poled transformer (cf. Fig. 3); below is a setting for a configuration of 4 C3Kpumps:

3.5.3 Reading of hour meters
On the hour meters you can read for how many hours each of the motor pump units has been running. Reading as follows:

Example: 4 hours + 50/100 hour = 4 12 hours
3.6 Starting up/running in (cf. Fig. 4)
Once the desired settings have been made the cover of the switchboard should be closed and both locks activated.
Make sure the water supply has been connected.
Turn the main switch (1) to position I.
Turn the control switch (2), to position I and keep an eye on the control panel (3) to make sure that water is drawn in and the relief valve closed.
(Are there any red indicator lamps flashing on the control panel? cf. sect. "3.10 Trouble-shooting and corrections")
Press the starting switch (4) and 1 pump will then start running if the line pressure is on working pressure or even higher. If the pressure is lower, 2 pumps will start and an additional pump will start every other second until a working pressure has been achieved.

Fig. 4
The system is now in operation and water may be drawn off under high pressure at the individual outlets. If consumption exceeds the capacity of the pumps connected a pump will immediately be started up and an additional pump will follow every other second until capacity meets consumption.
If consumption drops at the outlets so that the pump capacity becomes excessive, one pump will stop every 15 seconds, until capacity meets consumption.
The controls determine a rotation between the individual C3K pumps so that all units -time-wise are subjected to the same load.
If consumption at the outlets is cut off completely all pumps will stop 1 every 15 seconds. The system will then be on STAND BY with a working pressure on the line and one or more pumps will start operating again as soon as the pressure in the line drops below 25 bar or if the outlets are re-activated.
The operation of the system may be controlled on the control panel. (cf. sect. 3.4.4, Fig. 2)
From the above figure it appears which pumps and water supplies have been connected at the moment (green), and the status of the pressure, water flow and water level (yellow).
Below is an example of the indications on the control panel in a given situation.

Fig. 5
1 The water level in the water tank is low - water is being
2 filled from the cold connection and
3 from the hot connection.
4 Temperature adjustment is active (set. 50^ )
5 Pumps no. 1, 3, 4 and 5 have been connected
6 Consumption is lower than the capacity from the connected number of pumps. Water is therefore being recirculated (the first connected pump will stop after 15 sec.)
7 The line pressure is on working pressure, H (= high pressure) and consequently also >25 bar, L (= low pressure)
3.7 Multipressure spray lance system
For each line pressure of 120 and 160 bar a kit of nine different spray lances is available, which have been especially developed for the Multipressure spray lance system. Each of the nine spray lances represents a combination of pressure and water volume. Users may therefore always select the job-right combination of pressure and water volume.
The spray lances for 120 and 160 bar respectively differ in that the spray lances for 120 bar are fitted with a GREY nozzle protection, and the spray lances for 160 bar are fitted with a BLACK nozzle protection.
The nine spray lances are marked with each their colour and on the spray lance chart on the DELTABOOSTER pressure, water volume and number of pumps may be read for the nine types of spray lance.
The different water volumes and pressures depend on which high-pressure nozzle and which pre-nozzle the spray lance is fitted with.
For further details on reactive power and nozzle sizes please refer to the Product Description in sect. 1.9.
Alternative nozzles or spray lances should only be fitted in consultation with your Nilfisk-ALTO specialists.

3.8 Operation after starting up - outlet points and equipment
3.8.1 High pressure cock with Multipressure spray lance, Outlet point A
- Open/close handle on high-pressure cock
- Quick-coupling
- Trigger on spray handle
- Safety lock
- Quick-coupling for spray lance
- Multipressure spray lance

Operation after starting up
- Carefully connect the high-pressure hose to the quick-coupling of the high-pressure cock (2). Any impurities should be removed prior to coupling.
- Fit the spray lance (6) in the quick-coupling of the spray pistol (5).
- Slowly turn the handle of the high-pressure cock (1) to open position and start your cleaning work.
- After use close the high pressure cock by turning the handle (1) to closed position, relieve the hose of its pressure by opening the pistol until the hose is void of pressure.
3.8.2 Outlet point with foam injector and foam lance, Outlet point B
- Open/close handle on high-pressure cock
- Quick-coupling
- Trigger on spray handle
- Safety lock
- Quick-coupling for spray lance
-
Foam lance
-
Dosage scale
-
Dosage valve
- Detergent containers
- Wall rack for detergent containers

Operation after starting up
- Carefully connect the high-pressure hose to the quick-coupling of high-pressure cock (2). Any impurities should be removed prior to coupling.
- Fit the spray lance (6) in the quick-coupling of the spray pistol (5).
- Slowly turn the handle of the high-pressure cock (1) to open position and start your cleaning work.
Admixture of detergents
- Set the dosage valve on the foam injector to a concentration of 1 - 5% .
When adjusting the dosage valve please note that maximum admixture of detergent is 5% when the dosage valve is fully opened.
(Percentages apply to detergents and disinfectants in aqueous solutions. These values will be modified if other viscosity rates are used).
- Apply the desired detergent or disinfectant by means of the foam lance (7).
- Fit the DELTABOOSTER spray lance (6) (low pressure) in the quick-coupling (5) of the spray pistol and after-rinse.
- If the injector is only used at long intervals make sure to rinse it in clean water every time it has been used. This may be done by putting the suction hose of the injector in a container with clean water and letting the injector suck clean water for 1 to 2 minutes with a fully opened dosage valve.
After use
- Close the high-pressure cock by turning the handle (1) to closed position and relieving the hose of its pressure by activating the spray handle until the hose is void of pressure.
Please refer to section "3.8.4 General guidelines for the dosage of detergents".
3.8.3 Outlet point with detergent trolley and foam lance, Outlet point D
- Open/close handle on high-pressure cock
- Quick-coupling
- Trigger on spray handle
- Safety lock
- Quick-coupling for spray lance
- Foam lance
- Dosage scale
- Dosage valve
- Detergent containers
Outlet point with detergent trolley should be operated in the same way as outlet point A with foam injector - cf. section 3.8.2.

3.8.4 General guidelines for the dosage of detergents
The Nilfisk-ALTO detergent equipment may be used for all disinfectants and detergents suitable for use in high-pressure cleaning according to Nilfisk-ALTO instructions. (The pH value should lie between 4 and 14). Acids and lyes should not be used undiluted.
The supplier's instructions and guidelines should be followed very closely, this also applies to rules on protective garments and drainage.
Detergents which have not specifically been specified for use in high- pressure cleaning should only be used after prior permission from Nilfisk-ALTO and possibly the supplier.
By using Nilfisk-ALTO detergents users are sure to have machinery, accessories and detergents which are compatible and which are a pre- requisite for optimal solutions to the cleaning tasks.
Nilfisk-ALTO can offer a wide range of effective substances for professional cleaning and disinfection. The products are composed of substances which unite effectiveness with environmental considerations.
3.9 Maintenance
The DELTABOOSTER is designed to ensure a minimum of maintenance. The following points should however, be observed in order to secure trouble-free operation.
3.9.1 Service intervals/oil change
"Frequency of system servicing is dependent upon several factors including water temperature and water quality. We, therefore, recommend that you contact your local service agent for advice."
Change the oil in the pump at each service interval. The pump is supplied with zinc-free hydraulic oil - "KEW Pump Oil 100". When replenishing use this or an oil specified to
ISO NO. 100
Viscosity index (VI) min 130
Congelation point lower than -30^ C
URGENT: PROTECT NATURE
Waste oil and oil sludge should be removed or destroyed in accordance with local rules and regulations.
3.9.2 Water filter
There are two filters on the water inlets in order to prevent impurities from entering the high-pressure pumps and thus causing damage. The filters should be cleaned regularly. The frequency depends on the purity of the inlet water, but daily cleaning would often be required.
Cleaning is accomplished by leaving both inlets open and opening the outlet cocks on filters (14). The inlet water will then flush away impurities from the filters.
3.9.3 Couplings
In order to prevent leakages and destruction of quick-couplings on hoses, spray handle, outlet points and spray lances it is urgent to clean them regularly and grease with a little oil or fat.
3.10 Trouble-shooting and possible correction
| Problem | Possible cause | Correction | |
| System will not start or stops in mid-operation (no indication of fault) | 1) Mains power supply cut off | Connect mains power supply | |
| 2) Fuses have blown | Check that fuses correspond to power consumption (model plate). Renew fuses | ||
| 3) Control voltage fuses in DELTA BOOSTER have blown | Call customer engineer | ||
| System does not start or stops in mid-operation with the following fault indication: | Any of the below faults is fatal and should be corrected | When fault has been corrected restart system - check that the fault indication has disappeared | |
| C3K | 2 A | Motor guard on motor 2 cut out: 1) No phase 2) Pump - motor blocked 3) Short-circuit in motor | * ) Call customer engineer (C3K pump no. 2 can be withdrawn on the steering - see section 3.5 - upon which the operation can be resumed) |
| C3K | 3 A | Thermal cut-out sensor in motor 3 cut out | * ) Allow the motor to cool |
| 1) Air intake obstructed 2) Oil deficiency | Check the air intake and clean, if necessary Refill with oil. | ||
| Water tank | Water level in water tank too low | Check that the shut-off's on the water inlets are open and clean the inlet filters, if necessary. Check that the water supply meets the requirements stated in sect. 1.5 | |
| Water tank | Temperature in water tank too high (>80°C) | Allow the water to cool, empty the wa-tertank, if necessary. Check that the cold water connection is open and, if not, that the temp. on the hot connection does not exceed 75°C. | |
| Temperature in water tank too low (<2°C) | Empty the water tank, and make sure that the temperature of the water inlets are above 2°C. | ||
| Pipeline / internal hoses | Leakage: external or internal | In case of external leakage: disengage any open spray handles, if relevant - repair leakage. | |
| In case of internal leakage: repair leakage | |||
| Sensors | Combination of sensor values illegal. I.e. if the high pressure switch is ON and the low pressure switch is OFF. | Call customer engineer | |
| One or more pumps will not stop after end of operation | High-pressure cock at outlet point does not close | Check that all high-pressure cocks at outlet points have been closed | |
| Flow sensor return defective | Call customer engineer | ||
| Pump restarts at short intervals | The system cannot keep up pressure | Check that all high-pressure cocks at outlet points have been closed | |
| Working pressure too low | The high-pressure cock at outlet point not completely closed | Check that all high-pressure cocks at outlet points have been closed. | |
| Double spray lance used at outlet point without injector | Shift to single spray lance at this outlet point. | ||
| Excessive water consumption | Check whether the water consumption of the spray lances used exceeds the capacity of the system - shift to other spray lances, if necessary | ||
| No working pressure | High-pressure cock at one outlet point is left open | Shut off the high-pressure cock at outlet points not in use | |
| Irregular working pressure (machine vibrates) | Air in pump | Vent the system, cf. sect. 2.5.3 | |
| Inlet water too hot | Allow water to cool and check that inlet temperature does not exceed 80°C | ||
| Water volume at outlet point too small | Blockage of filter for inlet water | Clean the filter, cf. sect. 3.9.2 | |
| Nozzle blocked | Clean the nozzle |
- In both cases the plant will stop and the related control lamp will flash. When restarting the plant, the pump will AUTOMATICALLY cut out, and the operation can be resumed - the control lamp will now be constantly alight.
If other faults occur than those enlisted, please contact your nearest Nilfisk-ALTO service centre.
Nilfisk ALTO
Why Compromise
http://www.nilfisk-alto.com
HEAD QUARTER
DENMARK
Nilfisk-Advance Group
Sognevej 25
DK-2605 Brondby
Tel.: +45 4323 8100
Fax: +45 4343 7700
E-mail: mail @nilfisk-advance.dk
SALES COMPANIES
AUSTRALIA
Nilfisk-ALTO
48 Egerton St.
P.O. Box 6046
Silverwater, N.S.W. 2128
Tel.: +61 2 8748 5966
Fax: +61 2 8748 5960
AUSTRIA
Part of the Nilfisk-Advance Group
4080 B Sladeview Crescent, Unit 1
Mississauga, Ontario L5L 5Y5
Tel.: +1 905 569 0266
Fax: +1 905 569 8586
CHINA
Nilfisk-Advance (Shenzhen) Ltd
Blok 3, Unit 130 1001 Honghua Road
Int. Commercial & Trade Center
Fuitian Free Trade Zone
518038 Shenzhen
Tel.: +86 755 8359 7937
Fax: +86 755 8359 1063
CZECH REPUBLIC
ALTO Ceska Republika s.r.o.
Zateckych 9
14000 Praha 4
Tel.: +420 24 14 08 419
Fax: +420 24 14 08 439
E-mail: info@alto-cz.com
DENMARK
Nilfisk-ALTO
Division of Nilfisk-Advance A/S
Industrivej 1
9560 Hadsund
Tel.: +45 7218 2100
Fax: +45 7218 2105
Nilfisk-ALTO Food division
Division of Nilfisk-Advance A/S
Blytaekkervej 2
9000 Aalborg
Tel.: +45 7218 2100
Fax: +45 7218 2099
E-mail: scanio.scnology@nilfisk-alto.dk
FINLAND
Division of Nilfisk-Advance BV
Camastraat 9
3322 BB Almere
Tel.: +31 36 546 07 60
Fax: +31 36 546 07 61
E-mail: info@nilfisk-alto.nl
www.nilfisk-alto.nl
HONG KONG
Nilfisk-Advance Ltd.
2001 HK Worsted Mills Ind'l Bldg.
31-39 Wo Tong Tsui St.
Kwai Chung
Tel.: +852 2427 5951
Fax: +852 2487 5828
HUNGARY
Nilfisk-Advance Kereskedelmi Kft.
Sintra Business Park
Zona Industrial Da Abrunheira
Edificio 1, 1^ A
P2710-089 Sintra
Vyatskaya str. 27, bld. 7
127015 Moscow
Tel.: +7 495 783 96 02
Fax: +7 495 783 96 03
E-mail: info@nilfisk-advance.ru
SINGAPORE
Nilfisk-Advance Pte. Ltd.
Nilfisk-ALTO Division
40 Loyang Drive
Singapore 508961
Tel.: +65 6 759 9100
Fax: +65 6 759 9133
E-mail: sales@nilfisk-advance.com.sg
SPAIN
Nilfisk-ALTO
Division of Nilfisk-Advance S.A.
Torre D'Ara
Member of Nilfisk-Advance Group
Aminogatan 18, Box 4029
431 04 MÖndal
Tel.: +46 31 706 73 00
Fax: +46 31 706 @nilfisk-alto.se
www.nilfisk-alto.se
TAIWAN
Nilfisk-Advance Taiwan Branch
No. 5, Wan Fang Road
Taipei
Tel.: +886 227 002 268
Fax: +886 227 840 843
THAILAND
Nilfisk-Advance Co. Ltd.
89 Soi Chokechai-Ruammitr
Viphavadee-Rangsit Road
Layao, Jatuchak, Bangkok 10900
Tel.: +66 2 275 5630
Fax: +66 2 691 4079
TURKEY
Nilfisk-Advance Professional Temizlik
14600 21st Avenue North
Plymouth, MN 55447-3408
Tel.: +1 763 745 3500
Nilfisk-Advance Representative Office
No.46 Doc Ngu Str.
Ba Dinh Dist.
Hanoi
Tel.: +84 4 761 5642
Fax: +84 4 761 5643
E-mail: nilfisk@vnn.vn
EasyManual