ST95E - Hair straightener BABYLISS - Free user manual and instructions
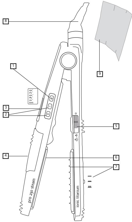
Find the device manual for free ST95E BABYLISS in PDF.
Download the instructions for your Hair straightener in PDF format for free! Find your manual ST95E - BABYLISS and take your electronic device back in hand. On this page are published all the documents necessary for the use of your device. ST95E by BABYLISS.
USER MANUAL ST95E BABYLISS
hairdressers’ straightener

FRANÇAIS
i pro 230 steam straightener
The BaByliss i pro 230 steam straightener is a very high temperature straightener that has been specially studied and designed to straighten all hair types perfectly in just one stroke.
BaByliss selected steam because of the benefits it offers hair
The steam function gently relaxes the hair fibre. Hair is uniformly and perfectly untangled and straightened from the roots to the tips.
The steam in combination with the ionic function (negative ions emitted by a high output ion generator are diffused on the hair during straightening to reduce frizz and static electricity) also makes hair softer and shinier. It ensures it is rehydrated.
Finally, the steam guarantees longer lasting straightening compared to ordinary straightening.
The straightener heating plates have a new Ceramic and Titanium micro-particle coating. Thanks to this technology, the plates are smoother and they guarantee perfect glide to respect your hair even more.
Finally, your straightener integrates a state-of-the-art self-regulating heating element, Advanced
Ceramic Technology™, that allows precise and continuous electronic control of the temperature. The ACT™ means the unit heats up instantly, attains a very high temperature, maintains the temperature to the nearest degree and has very quick reaction and recovery capacity.
GENERAL FEATURES
- On/Off switch - Automatic switch off
2.5-position temperature selectors, 170^ to 230^ - Blue LED - Ionic function
- Water reservoir
- Steam function switch - 3 positions - no steam/normal/high
- Plates (w 38mm x l 85mm) with nano Ceramic Titanium coating
- Retractable untangling comb -3 positions-no comb/medium comb for fine hair and smaller locks of hair/long comb for thick hair and larger locks of hair
- Swivel cord
- Multi-layered heat-resistant insulating mat
USE
BEFORE PLUGGING IN THE STRAIGHTENER!
- fill the water reservoir with water,
-
check that the reservoir is properly positioned and closed,
-
check that your hands and the outside of the reservoir are dried well.
If the reservoir is full, you can use the steam function about 50 times. If you have to fill the reservoir a second time, unplug the unit and replace the reservoir immediately after filling it making sure you don't touch the hot plates.
Let the unit heat up for at least 2-3 minutes before using the steam function.
Avoid any contact between the hot surfaces and your face or neck.
Make sure you don't direct the steam at your face or neck.
Prepare your hair for straightening: wash your hair and untangle using a big tooth comb and then dry using a hairdryer.
- Divide your hair into sections. Pin the upper sections with clips to work with the hair underneath.
- Remove the little reservoir (4) located at the top of the unit and fill it with water, preferably distilled (first lift the little black rubber button). Then put the reservoir back on the straightener.
Plug the BaByliss i pro 230 steam straightener in and press the ON/OFF (1) button. Wait a few minutes until the straightener has heated up.
The first time you use the unit, you might notice a little smoke and a particular odour: this is common and will disappear the next time you use the unit.
You will also notice that the unit sputters slightly, this sound is normal for a high output ion generator.
A green LED will light up, an indicator light for the lowest temperature, the blue LED (3) indicates your straightener's ionic function.
- Select the desired temperature using the temperature selectors (2). A lower temperature is generally recommended for fine, bleached and/or damaged hair, and a high temperature for curly, thick and/or difficult to style hair. Since every hair type is unique, we recommend you use position 1 (green LED) the first time you use it. Progressively increase the temperature, if necessary, during the following uses. Use the table below as a guide:
The LED of the selected temperature blinks until the temperature is reached, then it remains lighted during the whole using time.
| TEMPERATURES | HAIR TYPES | STEAM OUTPUT |
| 170°C green LED 185°C yellow LED | Fragile hair: fine, dry, bleached, damaged and/or frizzy Wavy hair | High High |
| 185°C yellow LED 200°C orange LED | Normal or coloured hair Wavy to loosely curly hair | High Medium |
| 200°C orange LED 215°C red LED 230°C red LED | Thick hair Curly to very curly hair | Medium Medium |
USING WITH STEAM
Switch the steam function on (5). Select the desired output according to your hair type.
Also use the untangling comb (7) which will let you spread your hair evenly between the teeth of the comb and to untangle your hair with ease. Select the desired height beforehand.
On first use, or if the unit has not been used for a while, start up the steam function by closing and opening the unit 7 to 8 times (a pumping action).
Straighten your hair from root to tip. A single stroke is enough! Your hair is straightened impeccably! It is shiny and silky and stays straight for a very long time.
USING WITHOUT STEAM
The straightener can also be used without steam, all you need to do is slide the switch into the 'no steam' position or use it with an empty reservoir.
Furthermore, to perfect and set hair you have straightened and that is more difficult to manage, or that is stray, etc., start with one stroke with steam then a second without steam.
Tips and techniques to straighten your hair
Take up a section of hair about 2 to 3cm wide and place it between the 2 heating plates, near the roots of the hair.
- Press the straightener handles, grip it tightly to hold the hair and slide it slowly from roots to tips. Repeat if necessary, then release the pressure on the straightener.
Take up another section of hair and continue until all your hair has been straightened.
Note! During straightening, it is possible that the unit will smoke a little. This could be because of evaporation of the sebum or the remainder of hair products (leave-in care, hairspray, etc.) or the dampness of the hair.
Styling your hair for the final touch. Set the straightening using a light mist of hairspray or a little mousse, but certainly don't brush your hair.
Technique to shape your hair
The BaByliss i pro 230 steam straightener can also be used to accent certain sections of hair (fringe, hair turned in or out, etc.).
- To shape hair with the tips turned under, use as described above but turn the unit inward (like you would a brush during blow drying). Hold in place for a few seconds then release.
- For hair that turns out at the tips, use the same movement but in the other direction.
After use, press the ON/OFF button and unplug the unit. - Allow the hot unit to cool on the heat-resistant mat provided.
MAINTENANCE
- Unplug the unit and allow to cool completely.
-
Make sure you empty the reservoir after every use.
Clean the plates using a soft, damp cloth, without detergent, to preserve the optimal quality of the plates. Do not scratch the plates. -
Store the straightener with the plates pressed together to protect them.
- It is preferable to use distilled water to fill the reservoir. Otherwise, take care to descale the unit from time to time.
ManualGo.com