ALFA310 - Mini oven SMEG - Free user manual and instructions
Find the device manual for free ALFA310 SMEG in PDF.
Questions des utilisateurs sur ALFA310 SMEG
0 question sur cet appareil. Repondez a celles que vous connaissez ou posez la votre.
Poser une nouvelle question sur cet appareil
Download the instructions for your Mini oven in PDF format for free! Find your manual ALFA310 - SMEG and take your electronic device back in hand. On this page are published all the documents necessary for the use of your device. ALFA310 by SMEG.
USER MANUAL ALFA310 SMEG
1.1 General safety instructions 26
1.2 Identification plate 29
1.3 Manufacturer liability 29
1.4 Appliance purpose 29
1.5 Disposal 29
1.6 This user manual 30
1.7 How to read the user manual 30
2 Description 31
2.1 General Description 31
2.2 Control panel 31
2.3 Other parts 32
3 Use 33
3.1 First use 33
3.2 Using the oven 33
3.3 Cooking advice 34
4 Cleaning and maintenance 35
4.1 Cleaning the appliance 35
4.2 Cleaning the door 35
4.3 Cleaning the oven cavity 38
4.4 Extraordinary maintenance 39
4.5 If the appliance is not working properly 41
5 Installation 42
5.1 Electrical connection 42
5.2 Positioning 44
TRANSLATION OF THE ORIGINAL INSTRUCTIONS
We advise you to read this manual carefully, which contains all the instructions for maintaining the appliance's aesthetic and functional qualities.
For further information on the product: www.smegfoodservice.com
1 Instructions
1.1 General safety instructions
Risk of personal injury
- During use the appliance and its accessible parts become very hot.
- Never touch the heating elements during use.
- Keep children under the age of eight at a safe distance unless they are constantly supervised.
- Children must not play with the appliance.
- This appliance may be used by children aged at least 8 and by people of reduced physical, sensory or mental capacity, or lacking in experience in the use of electrical appliances, provided that they are supervised or instructed by adults who are responsible for their safety.
- Never try to put out a fire or flames with water: Turn off the appliance and smother the flames with a fire blanket or other appropriate cover.
-
Keep the oven door closed during cooking.
-
Protect your hands by wearing oven gloves when moving food inside the oven.
- Do not touch the heating elements inside the oven.
- Do not pour water directly onto very hot trays.
- Do not allow children to approach the appliance when it is in operation.
If you need to move food or at the end of cooking, open the door 5 cm for a few seconds, let the steam come out, then open it fully. - Cleaning and maintenance must not be carried out by unsupervised children.
- Do not spray any spray products near the appliance.
- Do not use or leave flammable materials near the appliance.
- Do not use plastic cookware or containers when cooking food.
-
Do not put sealed tins or containers in the oven.
-
Do not leave the appliance unattended during cooking operations where fats or oils could be released.
- Remove all trays and racks which are not required during cooking.
- Do not insert pointed metal objects (cutlery or utensils) into the slots in the appliance.
- Switch off the appliance immediately after use.
- Do not modify this appliance.
- Have qualified personnel carry out installation and assistance interventions according to the standards in force.
- Do not try to repair the appliance yourself or without the intervention of a qualified technician.
- If the power supply cable is damaged, it must be replaced by the manufacturer, by Technical Support or other qualified personnel in order to ensure a hazard is not created.
-
Do not place containers with liquids or food products which can melt during cooking on the upper shelves which are not visible.
-
The floor next to the appliance could be very slippery. Be very careful.
- The terminal indicated by the symbol connects components that are normally earthed. Connect the appliances appropriately using this terminal in order to make sure that they are equipotential.
- Have the electrical connection performed by authorised technical personnel.
- The appliance must be connected to earth in compliance with electrical system safety standards.
- Disconnect the mains power supply.
- Do not pull the cable to remove the plug.
- Use HO7RN-F cables withstanding a temperature of at least 75^ C .
- The tightening torque of the screws of the terminal supply wires must be 1.5 - 2 Nm .
Risk of damaging the appliance
- Racks and trays have to be inserted into the side guides until they come to a complete stop. The mechanical safety locks that prevent the rack from being taken out accidentally must face downwards and towards the back of the appliance.
- Use wooden or plastic utensils.
- Do not seat on the appliance.
- Do not use abrasive or corrosive detergents (e.g. scouring powders, stain removers and metallic sponges) on glass parts.
- Do not use steam jets to clean the appliance.
- Do not obstruct ventilation openings and heat dispersal slots.
- Never leave the appliance unattended during cooking operations where fats or oils could be released.
- Never leave objects on the cooking surface.
- Do not use the appliance to heat rooms for any reason.
-
Remove any food residues or large spills from previous cooking operations from the inside of the oven.
-
Do not cover the bottom of the oven cavity with aluminium or tin foil sheets.
- If you wish to use greaseproof paper, place it so that it will not interfere with the hot air circulation inside the oven.
- Do not place pans or trays directly on the bottom of the oven cavity.
- Do not pour water directly onto very hot trays.
- Do not use steam jets to clean the appliance.
- Do not use cleaning products containing chlorine, ammonia or bleach on parts made of steel or that have metallic surface finishes (e.g. anodizing, nickel- or chromium-plating).
- Do not use abrasive or corrosive detergents (e.g. scouring powders, stain removers and metallic sponges) on glass parts.
- Do not use rough or abrasive materials or sharp metal scrapers.
- Shut off the power supply during cleaning and maintenance procedures.
For this appliance
- Do not rest any weight or sit on the open door of the appliance.
- Take care that no objects are stuck in the doors.
- Have the condition of the components checked regularly by Technical Support.
1.2 Identification plate
- The identification plate bears the technical data, serial number and brand name of the appliance. Do not remove the identification plate for any reason.
1.3 Manufacturer liability
The manufacturer declines all liability for damage to persons or property caused by:
- Use of the appliance other than that specified;
- Failure to comply with the instructions in the user manual
- Tampering with any part of the appliance
- The use of non-original spare parts.
1.4 Appliance purpose
This appliance is intended for cooking food in the professional catering environment. Every other use is considered improper.
This appliance must not be used by people (including children) of reduced physical or mental capacity, or lacking in experience in the use of electrical appliances, unless they are supervised or instructed by adults who are responsible for their safety.
1.5 Disposal

This appliance must be disposed of separately from other waste (Directives 2002/95/EC, 2002/
96/EC, 2003/108/EC). The appliance does not contain substances in quantities sufficient to be considered hazardous to health and the environment, in accordance with current European directives.
To dispose of the appliance:
- Cut the power supply cable and remove it along with the plug.

Power voltage Danger of electrocution
- Disconnect the mains power supply.
- Unplug the appliance.

Instructions
- Deliver the appliance to the appropriate recycling centre for electrical and electronic equipment waste, or return it to the retailer when purchasing an equivalent product, on a one for one basis.
Our appliances are packaged in nonpolluting and recyclable materials.
- Deliver the packing materials to the appropriate recycling centre.

Plastic packaging Danger of suffocation
- Do not leave the packaging or any part of it unattended.
- Do not let children play with the plastic bags.
1.6 This user manual
This user manual is an integral part of the appliance and must therefore be kept in its entirety and within the user's reach for the whole working life of the appliance.
Read this user manual carefully before using the appliance.
1.7 How to read the user manual
This user manual uses the following reading conventions:
Instructions

General information on this user manual, on safety and final disposal.
Description

Description of the appliance and its accessories.
Use

Information on the use of the appliance and its accessories, cooking advice.
Cleaning and maintenance

Information for proper cleaning and maintenance of the appliance.
Installation

Information for the qualified technician: Installation, operation and inspection.

Safety instructions

Information

Advice
-
Sequence of instructions for use.
-
Standalone instruction.
2 Description
2.1 General Description

1 Control panel
2 Oven light
3 Seal
4 Door
5 Fan
6 Tray support frames

Frame shelf
2.2 Control panel

1 Temperature knob
This knob allows you to select the cooking temperature.
Turn the knob clockwise to the required value, between the minimum and maximum setting.
2 Thermostat indicator light
When the indicator light is fixed, it indicates that the oven is heating up to reach the set temperature. Once the temperature has been reached, the indicator light comes on and goes off to indicate that the temperature is being kept constant.
3 Timer indicator light
When off, it indicates the beginning of timed cooking. When on, it indicates that timed cooking has finished.
4 Timer knob
This knob allows you to select manual or timed cooking. Turn the knob to the symbol for manual cooking or to the numbers to select the minutes of cooking. Once the countdown has finished, the knob will automatically return to the "0" position, the oven switches off and a beep sounds to indicate the end of cooking.
2.3 Other parts
Shelves
The appliance features shelves to position trays and racks at different heights. The insertion heights are indicated from the bottom upwards (see 2.1 General Description).
Internal ventilation
When the door is opened, oven ventilation is automatically switched off (together with the heating elements); it then resumes as soon as the door is closed.
Interior lighting
The oven light comes on when the appliance is running or when the door is opened.
Safety thermostat
The appliance is equipped with a safety device that triggers in case of serious malfunction.
Only for the installer/technical support:
- Unscrew the protective cover for the thermostat with the dedicated tool.
- To reset the safety thermostat, press the button on the back.


Contact Technical Support immediately after the safety device has triggered to check if there are any faults.
Optional accessories
Original optional accessories can be requested from Authorised Assistance Centres. Use only original accessories supplied by the manufacturer.
3 Use
3.1 First use
- Remove any protective film from the outside or inside of the appliance, including accessories.
- Remove any labels (apart from the technical data plate) from the accessories and from the oven cavity.
- Remove and wash all the appliance accessories (if fitted) (see 4 Cleaning and maintenance).
- Heat the empty oven at the maximum temperature to burn off any residues left by the manufacturing process.
3.2 Using the oven

The oven is designed for a maximum load of 9kg .
Switching on the oven
To switch the oven on:
- Select the temperature using the temperature knob.
- Select the cooking time (up to 60' ), or set
manual cooking using the timer knob.
Cooking modes

Defrost
The movement of air at room temperature causes frozen food to defrost quickly. This type of rapid defrosting is ideal as the taste and appearance of the de-frozen food, whether previously deep-frozen or frozen in the freezer, remain unaltered.

Normal cooking
Using the fan and the circulaire heating element (incorporated in the rear of the oven) allows you to cook different foods on several levels.
Hot air circulation ensures instant and even distribution of heat.
3.3 Cooking advice
General advice
- Use a fan assisted function to achieve consistent cooking at several levels.
- It is not possible to shorten cooking times by increasing the temperature (the food could be overcooked on the outside and undercooked on the inside).
Advice for cooking meat
- Cooking times vary according to the size and quality of the food and to consumer taste.
- Use a meat thermometer when roasting meat, or simply press on the roast with a spoon. If it is hard, it is ready; If not, it needs another few minutes cooking.
Advice for cooking desserts/pastries and biscuits
- Use dark metal moulds: They help to absorb the heat better.
- The temperature and the cooking time depend on the quality and consistency of the dough.
-
To check whether the dessert is cooked right through: At the end of the cooking time, put a toothpick into the highest point of the dessert. If the dough does not stick to the toothpick, the dessert is cooked.
-
If the dessert collapses when it comes out of the oven, on the next occasion reduce the set temperature by about 10^ , selecting a longer cooking time if necessary.
Advice for defrosting
- Place frozen foods without their packaging in a lidless container on the first shelf of the oven.
- Avoid overlapping the food.
- To defrost meat, use the rack placed on the second level and a tray on the first level. This way, the liquid from the defrosting food drains away from the food.
To save energy
- Stop cooking a few minutes before the time normally used. Cooking will continue for the remaining minutes with the heat which has accumulated inside the oven.
- Reduce any opening of the door to a minimum to avoid heat dispersal.
- Keep the inside of the appliance clean at all times.
4 Cleaning and maintenance
4.1 Cleaning the appliance

We recommend the use of cleaning products distributed by the manufacturer.
Recommendations for cleaning the appliance
To keep the surfaces in good condition, they should be cleaned regularly after use. Let them cool first.
Ordinary daily cleaning
Always use only specific products that do not contain abrasives or chlorine-based acids.
Pour the product onto a damp cloth and wipe the surface, rinse thoroughly and dry with a soft cloth or a microfibre cloth.
Food stains or residues
Do not use steel sponges and sharp scrapers as they will damage the surface.
Use normal, non-abrasive products and a wooden or plastic tool, if necessary. Rinse thoroughly and dry with a soft cloth or a microfibre cloth.
4.2 Cleaning the door
The glass in the door should always be kept thoroughly clean. Use absorbent kitchen roll. In case of stubborn dirt, wash with a damp sponge and an ordinary detergent.

We recommend the use of cleaning products distributed by the manufacturer.
Removing the door
For easier cleaning it is recommended to remove the door and place it on a tea towel.
To remove the door proceed as follows:
- Open the door.
- Pull the upper caps to remove them.

- Extract the retaining clips on the door frame, underneath the caps which you have just removed.

- Position the retaining clips in the holes in the hinges in order to prevent the door being closed accidentally.

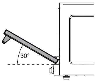
- Grasp the door on both sides with both hands, lift it, forming an angle of around 30^ , and remove it.

To reinstall the door proceed as follows:
- Insert the hinges in the corresponding slots in the oven, making sure that grooved sections A are resting completely in the slots.

- Lower the door.
- Remove the retaining clips from the hinges and position them in their seats on the door frame.
- Replace the caps at the top of the door.

- Close the door.
Cleaning and maintenance
Removing the internal glass pane

Improper use Crushing hazard
- Ensure you have locked the door hinges before removing the glass panes.

For easier cleaning, we suggest removing the door.
The internal glass panes of the door can be removed as follows:
- Open the door.
- Pull the upper caps to remove them.

- Extract the retaining clips on the door frame, underneath the caps which you have just removed.

- Position the retaining clips in the holes in the hinges in order to prevent the door being closed accidentally.

- Remove the inner glass by pulling it carefully upwards.

- Clean the external glass pane and the panes removed previously. Use absorbent kitchen roll. In case of stubborn dirt, wash with a damp sponge and neutral detergent.

- Once you have finished cleaning, reposition the inner glass.

- Remove the retaining clips from the hinges and position them in their seats on the door frame.
- Replace the caps at the top of the door.

- Close the door.
4.3 Cleaning the oven cavity
Cleaning the oven cavity
In order to keep your oven in the best possible condition, clean it regularly after letting it cool down.
Avoid letting food residue dry inside the oven cavity, as this could damage the surfaces.
Take out all removable parts before cleaning.
For easier cleaning, we recommend removing:
The door
- Tray support frames
The gasket.

In the event you are using specific cleaning products, we recommend running the oven at maximum temperature for 15-20 minutes in order to eliminate any residue.

For easier cleaning, remove the door.
Removing the tray support frames
Removing the tray support frames enables the sides to be cleaned more easily.
- Unscrew the fastening ring nuts completely.

- Remove the tray support frames from their seats on the deflector and remove them from the oven.
- When you have finished cleaning, reposition the tray support frames inside the oven and fasten them with the fastening ring nuts.
4.4 Extraordinary maintenance
Removing the door gasket
To remove the gasket:
Pull the gasket outwards to remove it.

To refit the gasket:
- Position the gasket in the groove at the front, then press carefully down on it until it adheres to the face of the appliance.
Gasket maintenance tips
The gasket should be soft and elastic.
- To keep the gasket clean, use a non-abrasive sponge and wash with lukewarm water.
Replacing the internal light bulb

Live parts
Danger of electrocution
- Unplug the appliance.

The oven is fitted with a 40W light bulb.
- Completely remove all accessories from inside the oven.
- Remove the rack/tray support frames.
- Remove the bulb cover using a tool (e.g. a screwdriver).

Take care not to scratch the surface of the oven cavity.

- Slide out and remove the light bulb.


Do not touch the halogen light bulb directly with your fingers, but wrap it in insulating material.
- Fit the new light bulb.
- Refit the cover. Ensure the moulded part of the glass (A) is facing the door.

- Press the cover completely down so that it attaches perfectly to the bulb support.
4.5 If the appliance is not working properly
| Problem | Possible solution |
| The appliance is not working properly | • The timer knob is positioned on 0. • The plug is not correctly inserted in the socket. • The electrical system is damaged or not working properly. • The fuses have blown or the circuit breakers are off/have tripped. |
| The appliance cooks food either too slowly or too quickly | • The temperature setting is incorrect. |
| Moisture forms inside the oven and on foods | • Food is being left in the oven for too long after cooking. Do not leave it in the oven for more than 15-20 minutes after the end of the cooking time. |
This product meets current safety regulations for electrical appliances. To prevent safety hazards for users, all technical inspections or repairs must be carried out by qualified personnel.

If the appliance is not working properly, before calling Technical Support, ensure that the procedures listed above have been performed.
Regular Maintenance
- The appliance must be checked over thoroughly by a qualified technician on a regular basis (at least once a year).
- Any maintenance work must only be performed by a qualified technician.
- Before performing any kind of maintenance, unplug the appliance from the mains and wait for it to cool down if it has recently been used.
5 Installation
5.1 Electrical connection

The terminal indicated by symbol links up parts that are normally earthed. Connect the appliances appropriately using this terminal in order to make sure that they are equipotential.

If the phase voltage drops below 190V^ , the performance of the oven may suffer, not due to the product itself.
General information
Check the grid characteristics against the data indicated on the plate. The identification plate bearing the technical data, serial number and brand name is visibly positioned on the appliance. Do not remove this plate for any reason. Perform the ground connection using a wire that is 20mm longer than the other wires.
The appliance is provided with a five-core H07RN-F cable (5 x 1.5 mm² referring to the cross section of the internal conductor).
Connection modes:
220-240 V 1N~

3 × 4 ~mm^2 three-core cable.
380-415V2N~

4 × 2.5 ~mm^2 four-core cable.
380-415V3N~

5 × 1.5 ~mm^2 five-core cable.

The values indicated above refer to the cross-section of the internal conductor.
Fixed connection
Fit the power line with an omnipolar circuit breaker in compliance with installation regulations.
The circuit breaker should be located near the appliance and in an easily reachable position.
Connection with plug and socket
Check that the plug (not supplied) and power socket are compatible and of adequate capacity for the maximum current draw of the appliance.
Avoid using adapters and shunts as these could cause overheating and a risk of burns.
Cable replacement

Power voltage Danger of electrocution
-
Disconnect the mains power supply.
-
Use a flat-head screwdriver to unhook and lift the cover to access the terminal board.

- Replace the cable.
- Make sure that the cables follow the best route in order to avoid any contact with the appliance.
5.2 Positioning

Heavy appliance.
Crushing hazard
- Position the appliance with the aid of a second person.

Pressure on the open door Risk of damage to the appliance
- Never use the open door to lever the appliance into place when fitting.
- Avoid exerting too much pressure on the oven door when open.

Heat production during appliance operation Risk of fire
- Veneers, adhesives or plastic coatings on adjacent furniture should be temperature-resistant (no less than 90^ ).

Improper installation Risk of injury
- The appliance support base should not exceed a height of 1.60m from the floor.
Levelling
Level the appliance on the ground using the adjustable feet. The foot has a range of 10mm .
Steam outlet pipe
Depending on the model, there are exhaust flues on the back of the appliance to release the steam produced during cooking.


These must be left free of any obstruction. Avoid crushing and contact with any walls.
Multiple installations

Weight: 47kg
Place the appliance at a distance of at least 50~mm from any back wall and at 30~mm from any side wall. Keep a minimum distance of 50~mm between appliances if multiple appliances are installed alongside each other.

Do not install the appliance on the floor.



The appliance must be installed on a worktop.


High food temperature Danger of burns
- For safety reasons, DO NOT position the uppermost tray at a height above 160~cm .
- If necessary, it is MANDATORY to apply the supplied adhesive label at the height indicated in the figure below.

EasyManual