TSF01BLUS - Toaster SMEG - Free user manual and instructions
Find the device manual for free TSF01BLUS SMEG in PDF.
User questions about TSF01BLUS SMEG
0 question about this device. Answer the ones you know or ask your own.
Ask a new question about this device
Download the instructions for your Toaster in PDF format for free! Find your manual TSF01BLUS - SMEG and take your electronic device back in hand. On this page are published all the documents necessary for the use of your device. TSF01BLUS by SMEG.
USER MANUAL TSF01BLUS SMEG
Thank you very much for purchasing a Smeg 50's Style toaster.
By choosing Smeg, you have selected an appliance which combines iconic style with innovative technical design and attention to detail.
This appliance co-ordinates perfectly with other Smeg products, or equally a standalone statement piece in your kitchen.
We hope you enjoy using your new appliance!
For any further information please visit www.smeg50style.com or www.smeg.com.

TSF01 Model
2 Slice Toaster

TSF02 Model
4 Slice Toaster
Contents
1 Instructions 7
1.1 Introduction 7
1.2 This user manual 7
1.3 Intended use 7
1.4 Manufacturer liability 8
1.5 Identification plate 8
1.6 Disposal 8
2 Description 9
2.1 Product description 9
2.2 Control panel 10
3 Use 11
3.1 Before first use 11
3.2 Operation 12
3.3 Special functions 13
3.4 Using optional accessories 14
4 Cleaning and care 17
4.1 Instructions 17
4.2 Maintenance 17
4.3 Cleaning the surfaces 17
4.4 Ordinary daily cleaning 17
4.5 Food stains or residues 17
4.6 Cleaning the crumb tray 18
4.7 Cleaning the optional sandwich rack and bun warmer 18
4.8 Troubleshooting 18
Important Safety Instructions
WARNING: If the instructions contained in this manual are not followed precisely, fire or explosion may result causing property damage, personal injury or death.

READ AND SAVE THESE INSTRUCTIONS - Your safety and the safety of others are very important.
We have provided many important safety messages throughout this manual and on the appliance.
Read all the instructions before using the appliance and always obey all safety messages.

RECOGNIZE SAFETY INFORMATION
This is a safety alert symbol. This symbol alerts you to potential hazards that can result in severe personal injury or death.
UNDERSTAND SIGNAL WORDS
A signal word - DANGER, WARNING or CAUTION - is used with the safety alert symbol. DANGER denotes the most serious hazards. It means you could be killed or seriously injured if you do not immediately follow the instructions. WARNING means you could be killed or seriously injured if the instructions are not followed. CAUTION indicates a potentially hazardous situation which, if not avoided, could result in minor to moderate injury.
WARNING

- This appliance is intended for use in the home only.
- Use this appliance only for its intended purpose. The manufacturer cannot be held liable for damage caused by improper use of this appliance.
- This appliance complies with current safety regulations. Improper use of this appliance can result in personal injury and material damage.
- Read all the instructions before installing or using the appliance for the first time.
- Keep these operating instructions in a safe place and pass them on to any future user.
The safety messages will inform you of potential hazards, how to avoid the risk of injury and what may occur if the instructions are not followed.
IMPORTANT: Observe all codes and ordinances in force.
WARNING: For your safety, the instructions contained in this manual must be followed to minimize the risk of fire or explosion and to prevent property damage, personal injury or loss of life.
Do not store or use gasoline or other flammable vapors, liquids or materials near this or any other appliance.

NOTE: This appliance is NOT designed for installation in manufactured (mobile) homes or in recreational vehicles (RVs).
DO NOT install this appliance outdoors.
WARNING

To reduce the risk of fire, electrical shock, personal injury, or damage when using the appliance, follow basic safety precautions, including the following:
Follow all safety instructions to use the appliance safely.
- Read this user manual carefully before using the appliance.
- To protect against electric shock, do not immerse the appliance, the power cord or the plug in water or any other liquid.
- Do not use the appliance when the power cord or the plug is damaged or after the appliance malfunctions, or when the appliance has fallen or is damaged in any manner. Return appliance to the nearest authorized service facility for examination, repair or adjustment.
- Do not place the appliance on or near a burning gas or an electrical stove or in a heated oven.
- The cord is short to prevent accidents. Do not use an extension cord.
- Do not let cord hang over edge of table or counter or touch hot surfaces.
- In case of a fault, repairs should only be carried out by a qualified engineer.
- Unplug from the outlet when not in use and before cleaning. Allow it to cool before putting on or taking off parts, and before cleaning the appliance.
-
Never try to put out a fire or flames with water: turn off the appliance, remove the plug from the socket and smother the flames with a fire blanket or any other appropriate means.
-
Do not modify this appliance.
- Do not try to repair the appliance yourself or without the intervention of a qualified engineer.
- If the power supply cable is damaged, contact technical support immediately.
- The use of accessory attachments not recommended by the appliance manufacturer may cause injuries.
- Extreme caution must be used when moving the appliance if the crumb tray contains hot oil or other hot liquids.
For this appliance
- The toaster can get very hot when it is operating. Do not touch any hot surfaces. Use the control knob and functions, the breadlift and optional accessories.
- Unplug the toaster when not in use, before cleaning and in case of fault. Let it cool down before cleaning.
- Bread may burn. Therefore do not use the appliance near or below combustible materials, such as curtains.
- Make sure the breadlift is elevated before you plug in or unplug the toaster.
- Make sure that the air around the toaster can circulate freely. Do not place anything on top of the toaster. A fire may occur if the toaster is covered with or touching flammable material, including curtains, draperies, walls or similar, when in operation.
-
Do not try to remove food from the toaster when it is plugged in.
-
Never insert in the toaster oversized food, metal foil packages, metallic objects such as knives, forks, spoons as they may involve a risk of fire or electric shock.
- Never use metallic objects such as knives, forks or spoons to clean the toaster.
- The appliance must never be cleaned by unsupervised children.
- To disconnect, make sure all controls are turned off, then unplug the cord from the wall outlet.
- Do not attempt to dislodge food when toaster is plugged in.
- Use the appliance only indoors.
- This appliance has been designed exclusively for domestic use. It can only be used for toasting bread. Do not use the appliance for anything other than the intended use.
- Close supervision is necessary when any appliance is used by or near children.
SAVE THESE INSTRUCTIONS
1 Instructions
1.1 Introduction
Key information for the user:
Instructions

General information on this user manual, on safety and final disposal.
Description

Description of the appliance and its accessories.
Use

Information on the use of the appliance and its accessories, cooking advice.
Cleaning and care

Information for correct cleaning and care of the appliance.

Safety instructions

Information

Advice
1.2 This user manual
This user manual is an integral part of the appliance and must therefore be kept in its entirety and within the user's reach for the whole working life of the appliance.
1.3 Intended use
- Use the appliance only indoors.
- This appliance has been designed exclusively for domestic use. It can only be used for toasting bread. Do not use the appliance for anything other than the intended use.
- The appliance is not designed to operate with external timers or with remote-control systems.
- This appliance must not be used by people (including children) of reduced physical and mental capacity, or lacking in experience in the use of electrical appliances, unless they are supervised or instructed by adults who are responsible for their safety.
Children must never play with the appliance. - Close supervision is necessary when any appliance is used by or near children.
1.4 Manufacturer liability
The manufacturer declines all liability for damage to persons or property caused by:
- Use of the appliance other than the one envisaged;
- Not having read the user manual;
- Tampering with any part of the appliance;
- Use of non-original spare parts;
- Not following the safety instructions.
1.5 Identification plate
The identification plate bears the technical data, serial number and brand name of the appliance. Do not remove the identification plate for any reason.
1.6 Disposal

Power voltage Danger of electrocution
- Disconnect the main power supply.
-
Unplug the cord from the wall outlet.
-
Old appliances do not belong in household waste! To comply with current legislation, old appliances, having reached the end of their useful lives, should be taken to a disposal facility where they can be sorted. In this way, any valuable material contained in the old appliances can be recycled and the environment protected. Responsible local authorities or their waste disposal operators can provide further information.
The appliance is packed in non-polluting and recyclable materials.
- Dispose of the packing materials at an appropriate disposal facility.

Plastic packaging Danger of suffocation
- Do not leave the packaging or any part of it unattended.
- Do not let children play with the plastic bags.
2 Description
2.1 Product description

TSF01 Model - 2-Slice Toaster

TSF02 Model - 4-Slice Toaster
1 Extra-wide slots with self-centering racks
2 Breadlift
3 Control panel
4 Crumb tray
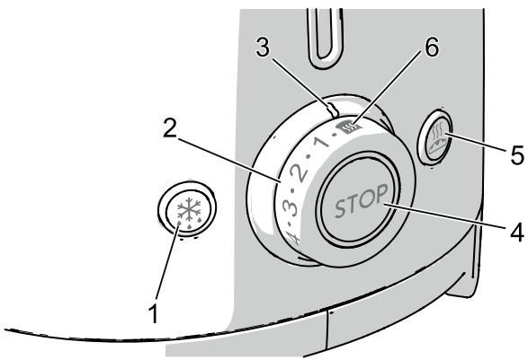
2.2 Control panel

1. Defrost function button

This function is useful when using frozen bread. During toasting the defrost button will light up to indicate that the cycle is activated.
2. Browning control knob
This control is used to select one of the 6 different browning levels or the Reheat function. During toasting the central LED lights up to indicate that the toasting cycle is activated.
3. Browning indicator
The Browning indicator shows the selected browning level or the selected Reheat function.
4. Stop function button

The Stop button can be used to cancel or stop the toasting cycle at any time.
5. Bagel function button

This feature will toast one side of a bagel or any other kind of bread, without toasting the other side. During toasting the Bagel button will light up to indicate that the function has been activated.
6. Reheat function

This function is used to reheat cold toast or to continue a toasting cycle if the result is not satisfactory. During toasting the central LED lights up to indicate that the cycle is activated.
3 Use

Electrical Shock Hazard
- Plug into a grounded 3 prong outlet.
- Do not remove earth prong.
- Do not use an adapter.
- Do not use an extension cord.
- Failure to follow these instructions can result in death, fire or electrical shock.
Volts: 120 Volts AC only.
Hertz: 60 Hz

Your toaster has a 3-prong grounded plug. To reduce the risk of electrical shock, this plug will fit in an outlet only one way. If the plug does not fit in the outlet, contact a qualified electrician. Do not modify the plug in any way.
- Do not use an extension cord. If the power supply cord is too short, have a qualified electrician or serviceman install an outlet near the appliance.
- A short power supply cord (or detachable power supply cord) should be used to reduce the risk resulting from becoming entangled in or tripping over a longer cord.
- Longer detachable power supply cords or extension cords are available and may be used if care is exercised in their use.
If a longer detachable power supply cord or extension cord is used:
- The marked electrical rating of the cord set or extension cord should be at least as great as the electrical rating of the appliance.
- The cord should be arranged so that it will not drape over the countertop or tabletop where it can be pulled on by children or tripped over unintentionally.
- If the appliance is of the grounded type, the extension cord should be a grounding-type 3-wire cord.
3.1 Before first use
- Remove all stickers and any packing or printed material that might have fallen inside during shipping or handling. Do not probe inside the toaster with a metal object.
- Clean the outside of the toaster with a damp cloth.
- Use the toaster for the first time without any bread in it.
- Turn the browning control to the maximum position and press the breadlift down. In this way you will burn off any dust that has fallen into the toaster during production or transport.

During first use there may be some smoke and odors.

User hints & tips
- The first batch of toast you make enables the heating elements to reach the correctasting temperature. Please note that further batches of toast could take less time.
- Remember that the type of bread you use will impact the toasting times. The fresher the bread you use, the longer it will take to toast. Different kinds of bread have different moisture content and will require different browning levels. For example, fruit breads generally toast much quicker, and freshly baked breads will take longer as they have a greater moisture content.
For best results:
- Toast only one type of bread at a time.
- Toast bread slices of the same thickness.
- Use bread slices no thicker than one inch.
If you are using handcut bread, try to cut slices as evenly as possible. Uneven slices will toast unevenly. - Be aware that if you use very thin or broken slices of bread, they will burn.
3.2 Operation
- If necessary, shorten the cord by wrapping it under the base.

- Plug in the toaster.
- Insert the bread in the slot.
Remember that as bread is not normally square, you may need to turn the bread on its side to get a better fit and optimize the toasting surface area.
4. Choose the desired browning level (Browning levels 1 to 6, from light to dark) or the "Reheat function".

- Push the lever down until it clicks to activate the toasting cycle.

- If needed, select the additional functions Defrost or Bagel or the two combined.
The heating element is now activated. The bread will be centered in the breadlift automatically for toasting.
7. The toasted bread will pop up automatically when the toast is ready.
8. If the toast is not brown enough and requires just a little extra time, use the reheat button to extend theasting time.

Warning
- If the appliance is not plugged in, the breadlift will not lock.
3.3 Special functions Canceling/stopping the toasting cycle
At any time, it is possible to cancel or stop the toasting cycle by pushing the STOP button.
Defrost

This function gently defrosts frozen bread and toasts it to the selected browning level. To activate it, insert the bread into the slot, select the desired browning level, press the breadlift down until it clicks, then push the defrost button, which will light up. Toasting time will be automatically increased to allow the bread to defrost and brown correctly. When the toast pops up automatically, the light of the defrost button will switch off.
Bagel

This special function is ideal for toasting one side only, for bagels, flat bread, English muffins, baguettes, etc. To use the function, simply insert the bread into the slot with the side that you want toasted facing the outside. Select the desired browning level, press the breadlift down until it clicks, then push the Bagel function button, which will light up. When the bread is toasted, it will pop up automatically and the Bagel function light will switch off.
Reheat

This function allows you to reheat cold toasts or to continue a toasting cycle if the result is not satisfactory. To activate it, insert the bread into the slot, select the Reheat function on the browning control knob and press the breadlift down until it clicks. The central light of the browning control knob will light up. When the toast is ready, it will pop up automatically and the light of the control knob will switch off.

Defrost or Reheat can be selected at the same time as the Bagel function.
3.4 Using optional accessories

Accessories may differ according to the model.

Hot appliance
- The bun warmer and sandwich rack will be hot during the toasting cycle. When removing it from the toaster, take care not to burn yourself by touching the metal parts.
Sandwich racks

TSSR01 Model suitable for TSF01 Toaster

TSSR02 Model suitable for TSF02 Toaster
The sandwich racks are ideal for toasting filled sandwiches, or for easier handling of smaller items such as bagels.

User hints & tips
- Lightly butter the outside of the bread, this prevents burning and helps with the warming of the filling. Do not butter the inside of the sandwich.
- For best results use thinly sliced ingredients and finely grated cheese.
- For best results use cold meat (ham, turkey, etc.) at room temperature, not straight from the refrigerator.
- Do not overfill the sandwich.
- If using a low browning setting, the filling might not heat through correctly. In this case, at the end of the toasting cycle, leave the toast inside the toasting slot for longer, or extend the time by using the reheat button.

Warning
- If the appliance is not plugged in, the breadlift will not lock.
How to use:
- Open the rack with the handles.
- Place the sandwich inside the rack.
- Close the sandwich rack handles together to grip the sandwich in the middle of the racks.

- Insert the sandwich rack into the slot and select a browning level. If a little more browning is required, you can use the reheat button to extend the toasting time.
- Push the breadlift down until it clicks to activate the toasting cycle.
- When the toasting cycle has ended remove the sandwich rack from the toaster.
Bun Warmer

TSBW01 Model suitable for TSFO1 Toaster TSBW02 Model suitable for TSFO2 Toaster
The bun warmer is used to warm small bread rolls, flat bread or pastries.
How to use:
- Place the bun warmer on top of the toaster, making sure the wire feet on the bottom of the warmer fit into the toaster slots.
- Place small bread rolls, flat bread or pastries on top of the warmer. Select a browning level.
- Lower the breadlift until it clicks to activate the toasting cycle.

4 Cleaning and care
4.1 Instructions

Improper use Electrical shock hazard
- Always unplug the cord before cleaning the toaster, crumb tray and optional accessories.

Hot appliance Burns Hazard
- Always let the appliance and optional accessories cool down before cleaning.

Improper use Risk of damage to surfaces
- Do not use steam jets for cleaning the appliance.
- Do not use cleaning products containing chlorine, ammonia or bleach on steel parts or parts with metallic finishes (e.g. anodizing, nickel- or chromium-plating).
- Do not use abrasive or corrosive detergents (e.g. powder products, stain removers or metallic sponges).
- Do not use rough or abrasive materials or sharp metal scrapers.
4.2 Maintenance
Any other servicing should be performed by an authorized service representative.
4.3 Cleaning the surfaces
To keep the surfaces in good condition, clean regularly after use. Let them cool first.
4.4 Ordinary daily cleaning
Never use products that contain abrasives or chlorine-based acids.
Pour the product onto a damp cloth and wipe the surface, then wipe over thoroughly and dry with a soft cloth or a microfiber cloth.

If grease or oil splatters on the toaster, wipe it off immediately using a clean, damp cotton cloth.
4.5 Food stains or residues
Do not use metallic sponges or sharp scrapers as they will damage the surfaces. Use ordinary non-abrasive products with the aid of wooden or plastic utensils if necessary. Wipe over thoroughly and dry with a soft cloth or a microfiber cloth.
4.6 Cleaning the crumb tray
- Push the Crumb Tray to unlock it, then pull to slide it out and empty it. The Crumb Tray should be emptied after each use.



The Crumb Tray is hand-washable. Always dry the tray thoroughly before putting it back in the toaster.
- Put the Crumb Tray back in the toaster. Press it in firmly until it clicks into position. Do not use the toaster without the Crumb Tray in the proper position.

- Do not use any toaster cover.
4.7 Cleaning the optional sandwich rack and bun warmer
Wash the sandwich rack and bun warmer by hand in warm soapy water. After washing, rinse them and dry them thoroughly with a soft cloth.
4.8 Troubleshooting

Warning
Electrical Shock Hazard
- Plug into a grounded 3 prong outlet.
- Do not remove ground prong.
- Do not use an adapter.
- Do not use an extension cord.
- Failure to follow these instructions can result in death, fire or electrical shock.
If your toaster should fail to operate, check the following:
- Check that the toaster is plugged into a grounded 3-prong electrical outlet. If it is, unplug the toaster.
- Plug in the toaster.
- If the toaster still does not work, check the household fuse or circuit breaker.
If the problem cannot be solved:
See the Smeg Warranty and Service sections.
The manufacturer reserves the right to make any changes deemed useful for improvement of his products without prior notice. The illustrations and descriptions contained in this manual are therefore not binding and are merely indicative.
EasyManual