EGT6142NOM - Hob AEG-ELECTROLUX - Free user manual and instructions
Find the device manual for free EGT6142NOM AEG-ELECTROLUX in PDF.
User questions about EGT6142NOM AEG-ELECTROLUX
0 question about this device. Answer the ones you know or ask your own.
Ask a new question about this device
Download the instructions for your Hob in PDF format for free! Find your manual EGT6142NOM - AEG-ELECTROLUX and take your electronic device back in hand. On this page are published all the documents necessary for the use of your device. EGT6142NOM by AEG-ELECTROLUX.
USER MANUAL EGT6142NOM AEG-ELECTROLUX
WE'RE THINKING OF YOU
Thank you for purchasing an Electrolux appliance. You've chosen a product that brings with it decades of professional experience and innovation. Ingenious and stylish, it has been designed with you in mind. So whenever you use it, you can be safe in the knowledge that you'll get great results every time.
Welcome to Electrolux.
Visit our website for:

Get usage advice, brochures, trouble shooter, service information: www.electrolux.com

Register your product for better service: www.electrolux.com/productregistration

Buy Accessories, Consumables and Original spare parts for your appliance: www.electrolux.com/shop
CUSTOMER CARE AND SERVICE
We recommend the use of original spare parts.
When contacting Service, ensure that you have the following data available. The information can be found on the rating plate. Model, PNC, Serial Numb

Warning / Caution-Safety information

General information and tips

Environmental information
Subject to change without notice.
1. SAFETY INFORMATION
Before the installation and use of the appliance, carefully read the supplied instructions. The manufacturer is not responsible if an incorrect installation and use causes injuries and damages. Always keep the instructions with the appliance for future reference.
1.1 Children and vulnerable people safety

WARNING!
Risk of suffocation, injury or permanent disability.
- This appliance can be used by children aged from 8 years and above and persons with reduced physical, sensory or mental capabilities or lack of experience and knowledge if they are supervised by an adult or a person who is responsible for their safety.
- Do not let children play with the appliance.
- Keep all packaging away from children.
- Keep children and pets away from the appliance when it operates or when it cools down. Accessible parts are hot.
- If the appliance has a child safety device, we recommend that you activate it.
- Cleaning and user maintenance shall not be made by children without supervision.
1.2 General Safety
- The appliance and its accessible parts become hot during use. Do not touch the heating elements.
- Do not operate the appliance by means of an external timer or separate remote-control system.
-
Unattended cooking on a hob with fat or oil can be dangerous and may result in fire.
-
Never try to extinguish a fire with water, but switch off the appliance and then cover flame e.g. with a lid or a fire blanket.
- Do not store items on the cooking surfaces.
- Do not use a steam cleaner to clean the appliance.
- Metallic objects such as knives, forks, spoons and lids should not be placed on the hob surface since they can get hot.
- If the glass ceramic surface is cracked, switch off the appliance to avoid the possibility of electric shock.
2. SAFETY INSTRUCTIONS
This appliance is suitable for the following markets: FR
2.1 Installation

WARNING!
Only a qualified person must install this appliance.
- Remove all the packaging.
- Do not install or use a damaged appliance.
- Obey the installation instruction supplied with the appliance.
- Keep the minimum distance from the other appliances and units.
Always be careful when you move the appliance because it is heavy. Always wear safety gloves. - Seal the cut surfaces with a sealant to prevent moisture to cause swelling.
- Protect the bottom of the appliance from steam and moisture.
- Do not install the appliance adjacent to a door or under a window. This prevents hot cookware to fall from the appliance when the door or the window is opened.
-
If the appliance is installed above drawers make sure that the space, between the bottom of the appliance and the upper drawer, is sufficient for air circulation.
-
The bottom of the appliance can get hot. We recommend to install a noncombustile separation panel under the appliance to prevent access to the bottom.
Electrical connection

WARNING!
Risk of fire and electrical shock.
- All electrical connections must be made by a qualified electrician.
- The appliance must be earthed.
- Before carrying out any operation makesure that the appliance is disconnectedfrom the power supply.
- Use the correct electricity mains cable.
- Do not let the electricity mains cable tangle.
- Make sure the mains cable or plug (if applicable) does not touch the hot appliance or hot cookware, when you connect the appliance to the near sockets
- Make sure the appliance is installed correctly. Loose and incorrect electricity mains cable or plug (if applicable) can make the terminal become too hot.
- Make sure that a shock protection is installed.
-
Use the strain relief clamp on cable.
-
Make sure not to cause damage to the mains plug (if applicable) or to the mains cable. Contact the Service or an electrician to change a damaged mains cable.
- The electrical installation must have an isolation device which lets you disconnect the appliance from the mains at all poles. The isolation device must have a contact opening width of minimum 3 mm.
- Use only correct isolation devices: line protecting cut-outs, fuses (screw type fuses removed from the holder), earth leakage trips and contactors.
Gas connection
- All gas connections should be made by a qualified person.
- Make sure that there is air circulation around the appliance.
- The information about the gas supply is on the rating plate.
- This appliance is not connected to a device, which evacuates the products of combustion. Make sure to connect the appliance according to current installation regulations. Pay attention to requirements regarding adequate ventilation.
2.2 Use

WARNING!
Risk of injury, burns or electric shock.
- Use this appliance in a household environment.
- Do not change the specification of this appliance.
- Do not let the appliance stay unattended during operation.
- Do not operate the appliance with wet hands or when it has contact with water.
- Do not put cutlery or saucepan lids on the cooking zones. They become hot.
- Set the cooking zone to "off" after use.
- Do not use the appliance as a work surface or as a storage surface.
- If the surface of the appliance is cracked, disconnect immediately the
appliance from the power supply. This to prevent an electrical shock.

WARNING!
Risk of fire or explosion.
- Fats and oil when heated can release flammable vapours. Keep flames or heated objects away from fats and oils when you cook with them.
- The vapours that very hot oil releases can cause spontaneous combustion.
- Used oil, that can contain food remnants, can cause fire at a lower temperature than oil used for the first time.
- Do not put flammable products or items that are wet with flammable products in, near or on the appliance.

WARNING!
Risk of damage to the appliance.
- Do not keep hot cookware on the control panel.
- Do not let cookware to boil dry.
- Be careful not to let objects or cookware fall on the appliance. The surface can be damaged.
- Do not activate the cooking zones with empty cookware or without cookware.
- Do not put aluminium foil on the appliance.
- Cookware made of cast iron, aluminium or with a damaged bottom can cause scratches on the glass ceramic. Always lift these objects up when you have to move them on the cooking surface.
- Provide good ventilation in the room where the appliance is installed.
- Make sure that the ventilation openings are not blocked.
- Use only stable cookware with the correct shape and diameter larger than the dimensions of the burners. There is a risk of overheating and rupture of the glass plate (if applicable).
- Make sure the flame does not go out when you quickly turn the knob from the maximum to the minimum position.
- Make sure pots are centrally positioned on the rings and do not stick out over edges of the cooking surface.
-
Use only the accessories supplied with the appliance.
-
Do not install a flame diffuser on the burner.
2.3 Care and Cleaning

WARNING!
Risk of damage to the appliance.
- Clean regularly the appliance to prevent the deterioration of the surface material.
- Do not use water spray and steam to clean the appliance.
- Do not clean the burners in the dishwasher.
- Clean the appliance with a moist soft cloth. Only use neutral detergents. Do
not use abrasive products, abrasive cleaning pads, solvents or metal objects.
2.4 Disposal

WARNING!
Risk of injury or suffocation.
- Contact your municipal authority for information on how to discard the appliance correctly.
- Disconnect the appliance from the mains supply.
- Cut off the mains cable and discard it.
- Flat the external gas pipes.
3. PRODUCT DESCRIPTION
3.1 Cooking surface layout

1 Semi-rapid burner
2 Semi-rapid burner
3 Control knobs
4 Auxiliary burner
5 Rapid burner
3.2 Control knobs
| Symbol | Description |
| ● | no gas supply / off position |
| ▲ | ignition position / maximum gas supply |
| Symbol | Description |
| ∑ | minimum gas supply |
4. DAILY USE

WARNING!
Refer to the Safety chapters.
4.1 Ignition of the burner

WARNING!
Be very careful when you use open fire in kitchen environment. Manufacturer decline any responsibility in case misuse of the flame

Always light the burner before you put cookware.
To light the burner:
- Turn the control knob counterclockwise to the maximum position ( ) and push it down.
- Keep the control knob pushed for approximately 5 seconds; this will let thermocouple to warm up. If not, the gas supply will be interrupted.
- Adjust the flame after it is regular.

If after some tries the burner does not light, check if the crown and its cap are in correct positions.

5. HELPFUL HINTS AND TIPS

WARNING!
Refer to the Safety chapters.
5.1 Energy savings
- If possible, always put the lids on the pans.
Do not keep the control knob pushed for more than 15 seconds. If the burner does not light after 15 seconds, release the control knob, turn it into off position and try to light the burner again after minimum 1 minute.

In the absence of electricity you can ignite the burner without electrical device; in this case approach the burner with a flame, push the relevant knob down and turn it counter-clockwise to maximum gas release position.

If the burner accidentally goes out, turn the control knob to the off position and try to light the burner again after minimum 1 minute.

The spark generator can start automatically when you switch on the mains, after installation or a power cut. It is normal.
4.2 Turning the burner off
To put the flame out, turn the knob to the symbol .

WARNING!
Always turn the flame down or switch it off before you remove the pans from the burner.
- When the liquid starts to boil, turn down the flame to barely simmer the liquid. Use cookware with diameters applicable to the size of burners.
| Burner | Diameters of cookware |
| Rapid | 160 - 240 mm |
| Semi-rapid | 120 - 220 mm |
| Auxiliary | 80 - 160 mm |

WARNING!
Do not use cast iron pans, potstones, grill or toaster plates on gas burners.

WARNING!
Do not put the aluminium foil on the hob top to keep the surface clean during the cooking

WARNING!
Make sure that the bottoms of pots do not stand above the control knobs. If the control knobs are under the bottoms of pots, the flame heats them up.
Do not put the same pan on two burners.


WARNING!
Make sure that pot handles is not above the front edge of the cooktop. Make sure that pots are centrally put on the rings in order to get maximum stability and to get lower gas consumption.
Do not put unstable or damaged pots on the rings to prevent from spill and injury.

WARNING!
Do not use a flame diffuser.

WARNING!
Liquids spilt during cooking can cause the glass to break
6. CARE AND CLEANING

WARNING!
Refer to the Safety chapters.

WARNING!
- Deactivate the appliance and let it cool down before you clean it.
- Disconnect the appliance from the electrical supply before you do cleaning or maintenance work.

Scratches or dark stains on the surface have no effect on how the appliance operates.
- You can remove the pan supports to easily clean the hob.
- To clean the enamelled parts, cap and crown, wash them with warm soapy water and dry them carefully before you put them back.
- Wash stainless steel parts with water, and then dry them with a soft cloth.
-
The pan supports are not dishwasher proof. They must be washed by hand.
-
When you wash the pan supports by hand, take care when you dry them as the enamelling process occasionally leaves rough edges. If necessary, remove stubborn stains using a paste cleaner.
- Make sure you position the pan supports correctly after cleaning.
-
To make the burners work correctly, make sure that the arms of the pan supports are in the centre of the burner.
-
Be very careful when you replace the pan supports to prevent the hob top from damage.
After cleaning, dry the appliance with a soft cloth.
Removing the dirt:
-
- Remove immediately: melting plastic, plastic foil, and food containing sugar.
- Stop the appliance and let it cool down before you clean: lime-scale rings, water rings, fat stains,
shiny metallic discolorations. Use a special cleaner applicable for surface of hob.
- Clean the appliance with a damp cloth and some detergent.
- At the end rub the appliance dry with a clean cloth.

WARNING!
Do not use knives, scrapers or similar instruments to clean the surface of the glass or between the rims of the burners and the frame (if applicable).

WARNING!
Do not slide cookware over the glass because it could scratch the surface. Also, do not let hard or sharp objects fall onto the glass or hit the edge of the hob.
6.1 Cleaning of the spark plug
This feature is obtained through a ceramic ignition candle with a metal electrode. Keep these components well clean to prevent difficult lighting and check that the burner crown holes are not obstructed.
6.2 Periodic maintenance
Periodically speak your local Service Force Centre to check the conditions of the gas supply pipe and the pressure adjuster, if fitted.
7. TROUBLESHOOTING
| Problem | Possible cause | Remedy |
| There is no spark when lighting the gas | ·There is no electrical supply | ·Make sure that the unit is connected and the electrical supply is switched on. ·Control the fuse. If the fuse is released more than one time, refer to a qualified electrician. |
| ·Burner cap and crown are placed uneven | ·Make sure that the burner cap and crown are in correct positions. | |
| The flame is blow out immediately after ignition | ·Thermocouple is not heated sufficient | ·After lightning the flame, keep the knob pushed for approximately 5 seconds. |
| The gas ring burns un-evenly | ·Burner crown is blocked with food residues | ·Make sure that the in-jector is not blocked and the burner crown is clear of food particles. |
If there is a fault, first try to find a solution to the problem yourself. If you cannot find a solution to the problem yourself, speak your dealer or the local Service Force Centre.
If you operated the appliance incorrectly, or the installation was not carried out by a registered engineer, the visit from the customer service technician or dealer may not take place free of charge, even during the warranty period.
These data are necessary to help you quickly and correctly. These data are available on the supplied rating plate.
- Model description
Product number (PNC)
- Serial Number (S.N.) Use the original spare parts only. They are available at Service Force Centre and approved spare parts shops.
7.1 Labels supplied with the accessories bag
Stick the adhesive labels as indicated below:

1 Stick it on Guarantee Card and send this part
2 Stick it on Guarantee Card and keep this part
3 Stick it on instruction booklet
8. INSTALLATION
WARNING! Refer to the Safety chapters.
WARNING! The following instructions about installation, connection and maintenance must be carried out by qualified personnel in compliance with standards and local regulations in force.
8.1 Gas Connection
Choose fixed connections or use a flexible pipe in stainless steel in compliance with the regulation in force. If you use flexible
metallic pipes, be careful they do not come in touch with mobile parts or they are not squeezed. Also be careful when the hob is put together with an oven.

Make sure that the gas supply pressure of the appliance obeys the recommended values. The adjustable connection is fixed to the comprehensive ramp by means of a threaded nut G 1/2". Screw the parts without force, adjust the connection in the necessary direction and tighten everything.

A) End of shaft with nut
B) Washer
C) Elbow
Rigid connection:
Carry out connection by using metal rigid pipes (copper with mechanical end).
"Flexible" connection with mechanical end:
Natural gas: connection carry out with a flexible pipe with mechanical end which is screwed directly on the elbow finishing the slope of the appliance.
- Butane / Propane: use a flexible tube, equipped with it's collars if it is worth visiting over all it's length and if the appliance runs only on butane. If the appliance runs on Propane, use a flexible pipe with suitable metal end.
Flexible nonmetal pipes connection:
If it is possible to easily control the connection in its full area, you can use a flexible pipe. Tightly attach the flexible pipe by clamps.
Liquid gas: use the rubber pipe holder. Always engage the gasket. Then continue with the gas connection. The flexible pipe is prepared for apply when:
- it can not get hot more than room temperature, higher than 30^ ;
- it is no longer than 1500 ~mm ;
- it shows no throttles;
- it is not subject to traction or torsion;
- it does not get in touch with cutting edges or corners;
- it can be easily examined in order to check its condition.
The control of preservation of the flexible pipe consists in checking that:
- it does not show cracks, cuts, marks of burnings on the two ends and on its full length;
- the material is not hardened, but shows its correct elasticity;
- the fastening clamps are not rusted;
-expired term is not due.
If one or more defects are visible, do not repair the pipe, but replace it.

When installation is complete, make sure that the seal of each pipe fitting is correct. Use a soapy solution, not a flame!
8.2 Injectors replacement
- Remove the pan supports.
- Remove the caps and crowns of the burner.
- With a socket spanner 7 remove the injectors and replace them with the ones which are necessary for the type of gas you use (see table in "Technical Information" chapter).
- Assemble the parts, follow the same procedure backwards.
- Replace the rating plate (it is near the gas supply pipe) with the one for the new type of gas supply. You can find this plate in the package supplied with the appliance.
If the supply gas pressure is changeable or different from the necessary pressure, you must fit an applicable pressure adjuster on the gas supply pipe.
8.3 Adjustment of minimum level
To adjust the minimum level of the burners:
- Light the burner.
- Turn the knob on the minimum position.
- Remove the knob.
- With a thin screwdriver, adjust the bypass screw position.

A) The by-pass screw
- If you change from natural gas G20/ G25 20/25 mbar to liquid gas, fully tighten the by-pass screw in.
- If you change from liquid gas to natural gas G20/G25 20/25 mbar, undo the by-pass screw approximately 1/4 of a turn.
- If you change from natural gas G20/ G25 20/25 mbar to town gas G130 8 mbar, unscrew approximately 3/4 of a turn.
- If you change from town gas G130 8 mbar to natural gas G20/G25 20/25 mbar screw approximately 3/4 of a turn.
- If you change from liquid gas to town gas G130 8 mbar unscrew approximately 1 turn.

WARNING!
Make sure the flame does not go out when you quickly turn the knob from the maximum position to the minimum position.
8.4 Electrical connection
- Ground the appliance according to safety precautions.
- Make sure that the rated voltage and type of power on the rating plate agree with the voltage and the power of the local power supply.
- This appliance is supplied with a mains cable. It has to be supplied with a correct plug, able to support the load marked on the rating plate. The plug has to be fitted in a correct socket.
-
Any electrical component must be installed or replaced by the Service Force Centre technician or qualified service personnel.
Always use a correctly installed shockproof socket. -
Make sure that there is an access to the mains plug after installation.
- Do not pull the mains cable to disconnect the appliance. Always pull the mains plug.
- The appliance must not be connected with an extension cable, an adapter or a multiple connection (risk of fire). Check that the ground connection is in conformity with the standard and regulations force.
- The power cable must be placed in such a way that it does not touch any hot part.
- Connect the appliance to the mains with a device that lets to disconnect the appliance from the mains at all poles with a contact opening width of minimum 3 mm, eg. automatic line protecting cut-out, earth leakage trips or fuse.
- None of a parts of the connection cable can not get a temperature 90^ . The blue neutral cable must be connected to the terminal block label with "N". The brown (or black) phase cable (fitted in the terminal block contact marked with "L") must always be connected to the live phase.
8.5 Replacement of the connection cable
To replace the connection cable use only H05V2V2-F T90 or equivalent type. Make sure that the cable section is applicable to the voltage and the working temperature. The yellow/green earth wire must be approximately 2 cm longer than the brown (or black) phase wire.
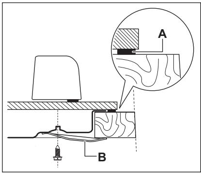
8.6 Building In



A) supplied seal
B) supplied brackets

CAUTION!
Install the appliance only on a worktop with flat surface.
8.7 Possibilities for insertion
Kitchen unit with door
The panel installed below the hob must be easy to remove and let an easy access
in case a technical assistance intervention is necessary.

A) Removable panel
B) Space for connections
Kitchen unit with oven
The hob recess dimensions must obey the indication and the kitchen unit must be equipped with vents to let a continuous supply of air. The electrical connection of the hob and the oven must be installed separately for safety reasons and to let easy remove oven from the unit.

9. TECHNICAL INFORMATION
Hob dimensions
| Width: | 580 mm |
| Length: | 510 mm |
Hob recess dimensions
| Width: | 550 mm |
| Length: | 470 mm |
Heat input
| Rapid burner: | 2.9 kW |
| Semi-rapid burn-er: | 1.9 kW |
| Auxiliary burner: | 1.0 kW |
| TOTAL POWER: | G20/G25 (2E+) |
| 20/25 mbar = 7.5 kW | |
| G30 (3+) 28-30 mbar = 545 g/h | |
| G31 (3+) 37 mbar = 536 g/h | |
| Electric supply: | 230 V ~ 50 Hz |
| Category: | III1c2E+3+ |
| Gas connection: | G 1/2" |
| Gas supply: | G20/G25 (2E+) |
| 20/25 mbar |
| Appliance class: | 3 |
| By-pass diameters | |
| Burner | Ø By-pass in 1/100 mm |
| Auxiliary | 28 |
| Semi-rapid | 32 |
| Rapid | 42 |
Gas burners
| BUR NER | NOR MAL POW ER | RE-DUCED POW ER | NORMAL POWER | |||||||
| NATURAL GAS G20/G25 (2E+) 20/25 mbar | LPG (Butane/Propane) G30/G31 (3+) 28-30/37 mbar | LPG (Town Gas) G130 (1c) 8 mbar | ||||||||
| inj. 1/10 0 mm | G20 20 mbar | G25 25 mbar | inj. 1/10 0 mm | G30 28-30 mbar | G31 37 mbar | inj. 1/10 0 mm | m³/h | |||
| m³/h | m³/h | g/h | g/h | |||||||
| Auxiliary | 1.0 | 0.33 | 70 | 0.09 5 | 0.11 1 | 50 | 73 | 71 | 127 | 0.14 0 |
| Semi-rap-id | 1.9 | 0.45 | 96 | 0.18 1 | 0.21 0 | 71 | 138 | 136 | 195 | 0.26 6 |
| Rapid-id | 2.7 | 0.75 | 130 | 0.25 7 | 0.29 9 | 86 | 196 | 193 | 240 | 0.37 8 |
10. ENVIRONMENT CONCERNS
Recycle the materials with the symbol
. Put the packaging in applicable
containers to recycle it.
Help protect the environment and human health and to recycle waste of electrical
and electronic appliances. Do not dispose appliances marked with the symbol
with the household waste. Return the product to your local recycling facility or contact your municipal office.
SOMMAIRE
- CONSIGNES DE SECURITE 16
- INSTRUCTIONS DE SECURITE 17
3.DESCRIPTION DE L'APPAREIL 20 - UTILISATION QUOTIDIENNE 20
- CONSEILS UTILES 21
- ENTRETIEN ET NETTOYAGE 22
- EN CAS D'ANOMALIE DE FONCTIONNEMENT 23
- INSTALLATION 25
9.CARACTERISTIQUES TECHNIQUES 28
EasyManual