SCHT928 - Audio System PANASONIC - Free user manual and instructions
Find the device manual for free SCHT928 PANASONIC in PDF.
Download the instructions for your Audio System in PDF format for free! Find your manual SCHT928 - PANASONIC and take your electronic device back in hand. On this page are published all the documents necessary for the use of your device. SCHT928 by PANASONIC.
USER MANUAL SCHT928 PANASONIC
Operating Instructions
DVD Home Theater Sound System
Model No. SC-HT928
Before connecting, operating or adjusting this product, please read these instructions completely. Please keep this manual for future reference.

AUDIO/VIDEO

DIGITALVIDEO


COMPATIBLE
PLAYER
Region number
The player plays DVD-Video marked with labels containing the region number or "ALL".
| Region | Number |
| The Middle East, South Africa, Saudi Arabia and Kuwait | 2 |
| Southeast Asia | 3 |
| Australia and N.Z. | 4 |
| Russia | 5 |
Example: Australia and N.Z.




EE GC GS GCS GN
Table of contents
Getting started
Caution for AC Mains Lead. 3
Accessories 3
Simple setup
STEP 1 Front and surround speaker assembly. 4
STEP 2 Locating 6
STEP 3 Connecting speakers with the subwoofer. 7
STEP 4 Video connections. 8
STEP 5 Radio and system connection . . . . . 9
STEP 6 The remote control. 9
STEP7 QUICKSETUP. 10
Control reference guide 10
Discs that can be played/
Main unit and disc caution 11
Disc operations
Basic play 12
Convenient functions 14
Position memory/Zoom/Audio/Subtitle/
Quick replay/Page skip/Repeat play/
All group, random and program play
Using navigation menus 16
Playing data discs/Playing HighMAT™ discs/Playing
the programs/Playing a play list
Using on-screen menus 18
Changing the player settings 20
Other operations
The radio. 22
Automatic presetting/Selecting the preset channels/ Manual tuning/RDS broadcasting/Optional antenna connections
Sound field and sound quality 24-26
Sound Field Control/Super Surround/Center Focus/Dolby Pro Logic II/Multi Rear Surround (MRS), Virtual Rear Surround (VRS)/Speaker level adjustments/Down-mixing/Subwoofer level/Custom Sound Memory
Other functions 27
Sleep timer/Muting/Using headphones
Operating other equipment. 28
Other speaker setup options 30
Reference
Safety precautions. 30
Maintenance. 30
Glossary 31
Specifications 32
Troubleshooting guide 34
Dear customer
Thank you for purchasing this product. For optimum performance and safety, please read these instructions carefully.
- Unless otherwise indicated, illustrations in these operating instructions are of SC-HT928 for Australia and N.Z.
- Operations in these instructions are described mainly with the remote control, but you can perform operations on the main unit if the controls are the same.
| System | SC-HT928 |
| Main unit | SA-HT928 |
| Front speakers | SB-PF921 |
| Center speaker | SB-PC920 |
| Surround speakers | SB-PS921 |
| Active subwoofer | SB-WA928 |
CAUTION!
THIS PRODUCT UTILIZES A LASER. USE OF CONTROLS OR ADJUSTMENTS OR PERFORMANCE OF PROCEDURES OTHER THAN THOSE SPECIFIED HEREIN MAY RESULT IN HAZARDOUS RADIATION EXPOSURE. DO NOT OPEN COVERS AND DO NOT REPAIR YOURSELF. REFER SERVICING TO QUALIFIED PERSONNEL.
WARNING:
TO REDUCE THE RISK OF FIRE, ELECTRIC SHOCK OR PRODUCT DAMAGE, DO NOT EXPOSE THIS APPARATUS TO RAIN, MOISTURE, DRIPPING OR SPLASHING AND THAT NO OBJECTS FILLED WITH LIQUIDS, SUCH AS VASES, SHALL BE PLACED ON THE APPARATUS.
CAUTION!
- DO NOT INSTALL OR PLACE THIS UNIT IN A BOOKCASE, BUILT-IN CABINET OR IN ANOTHER CONFINED SPACE. ENSURE THE UNIT IS WELL VENTILATED. TO PREVENT RISK OF ELECTRIC SHOCK OR FIRE HAZARD DUE TO OVERHEATING, ENSURE THAT CURTAINS AND ANY OTHER MATERIALS DO NOT OBSTRUCT THE VENTILATION VENTS.
- DO NOT OBSTRUCT THE UNIT'S VENTILATION OPENINGS WITH NEWSPAPERS, TABLECLOTHS, CURTAINS, AND SIMILAR ITEMS.
- DO NOT PLACE SOURCES OF NAKED FLAMES, SUCH AS LIGHTED CANDLES, ON THE UNIT.
- DISPOSE OF BATTERIES IN AN ENVIRONMENTALLY FRIENDLY MANNER.
For the Middle East, South Africa, Southeast Asia, Saudi Arabia and Kuwait
THIS UNIT IS INTENDED FOR USE IN TROPICAL CLIMATES. For Australia, N.Z. and Russia
THIS UNIT IS INTENDED FOR USE IN MODERATE CLIMATES.
The socket outlet shall be installed near the equipment and easily accessible or the mains plug or an appliance coupler shall remain readily operable.
This product may receive radio interference caused by mobile telephones during use. If such interference is apparent, please increase separation between the product and the mobile telephone.

(Inside of product)

(For Saudi Arabia and Kuwait)
("GS" area code models only)
For your safety, please read the following text carefully.
This appliance is supplied with a moulded three pin mains plug for your safety and convenience.
A 5-ampere fuse is fitted in this plug.
Should the fuse need to be replaced please ensure that the
replacement fuse has a rating of 5-ampere and that it is approved by ASTA or BSI to BS1362.
Check for the ASTA mark or the BSI mark on the body of the fuse.
If the plug contains a removable fuse cover you must ensure that it is refitted when the fuse is replaced.
If you lose the fuse cover the plug must not be used until a replacement cover is obtained.
A replacement fuse cover can be purchased from your local dealer.
CAUTION!
IF THE FITTED MOULDED PLUG IS UNSUITABLE FOR THE SOCKET OUTLET IN YOUR HOME THEN THE FUSE SHOULDBE REMOVED AND THE PLUG CUT OFF AND DISPOSED OF SAFELY.
THERE IS A DANGER OF SEVERE ELECTRICAL SHOCK IF THE CUT OFF PLUG IS INSERTED INTO ANY 13-AMPERE SOCKET.
If a new plug is to be fitted please observe the wiring code as stated below.
If in any doubt please consult a qualified electrician.
IMPORTANT
The wires in this mains lead are coloured in accordance with the following code:
Blue: Neutral, Brown: Live.
As these colours may not correspond with the coloured markings identifying the terminals in your plug, proceed as follows:
The wire which is coloured Blue must be connected to the terminal which is marked with the letter N or coloured Black or Blue.
The wire which is coloured Brown must be connected to the terminal which is marked with the letter L or coloured Brown or Red.
WARNING: DO NOT CONNECT EITHER WIRE TO THE EARTH TERMINAL WHICH IS MARKED WITH THE
LETTER E, BY THE EARTH SYMBOL 1一 OR COLOURED GREEN OR GREEN/YELLOW.
THIS PLUG IS NOT WATERPROOF-KEEP DRY.
Before use
Remove the connector cover.
How to replace the fuse
The location of the fuse differ according to the type of AC mains plug (figures A and B). Confirm the AC mains plug fitted and follow the instructions below.
Illustrations may differ from actual AC mains plug.
- Open the fuse cover with a screwdriver.

Figure A

Figure B
- Replace the fuse and close or attach the fuse cover.

Figure A

Figure B
Accessories

Please check and identify the supplied accessories.
1 Remote control (EUR7722X60)

1 AM loop antenna

1 FM indoor antenna
2 Remote control batteries


1 System cable
□ 1 Video cable


1 Speaker cable 4-m cable
1 AC mains lead
Saudi Arabia and Kuwait


1 Sheet of speaker-cable stickers
Australia and N.Z.


4 Large washer screws

Russia, Southeast Asia.
the Middle East, South Africa,
Saudi Arabia and Kuwait
8 Small screws


Note
The included AC mains lead is for use with this unit only. Do not use it with other equipment.
Simple setup
STEP1
Make sure you have all the indicated components before starting assembly, setup, and connection.
4 bases
4 pipes
2 front and 2 surround speaker un
4 large washer screws

8 small screws
4 mounting plates





Front and surround speaker assembly
Note
The front and surround speaker pairs as well as the pipe pairs are different.
- Check the label on the rear of the speaker before attaching the pipe ( page 6).
- The pipe with the shorter cable is for the front speaker unit.
Preparation
- To prevent damage or scratches, lay down a soft cloth and perform assembly on it.
- For assembly, use a Phillips-head screwdriver.
1 Attach the pipe to the base.
1 Thread the speaker cable through the base.

Insert the pipe.
Insert the pipe while gently pulling on the speaker cable.

3 Secure the pipe to the base.
Ensure the screw is securely fastened.

The supplied stands are specially designed for attachment to Panasonic SB-PF921 front speakers and SB-PS921 surround speakers. Only use as indicated in this setup.
2 Attach the stands to the front and surround speakers.
- There is no difference between the right and left speakers and stands.
- Using the polyfoam included with this unit may be convenient.
1 Remove the screw and separate the mounting plate into two parts.

Attach plate A to the speaker.
Ensure that plate A is fastened on straight by lightly tightening the top and bottom screws alternately until fully tightened.

You can also attach to the upper rear of the speaker.
The height of the speaker is indicated in the diagram
( page 5) when attaching plate A to the upper rear or lower rear of the speaker.
Place the pipe on plate A and attach plate B.

4 Secure the plate with the same screw removed in procedure 1.


■ Front and surround speaker height (Assembled diagram)
3 Adjust the speaker height.
- Check the screws you tightened on page 4.
e.g. Attaching the stand to the lower rear of the speaker
1 Loosen the attached speaker mounting plate screw until the attached speaker is slightly loose and adjustable.

For your reference
You can enjoy good acoustics by adjusting the height of the speaker to the height of the television so the center positions of both are approximately the same.

4 Connect the speaker cables.

5 Fasten the speaker cable to the base.

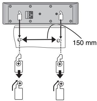
Preventing the speakers from falling over (Front and surround speakers)
Preparation
Attach screw eyes (not included) to secure the speakers to the wall ( right diagram).
- You will need to obtain the appropriate screw eyes to match the walls and pillars to which the screw eyes are going to be fastened.
- Consult with a qualified housing contractor concerning the appropriate procedure when attaching to a concrete wall or a surface that may not have strong enough support. Improper attachment may result in damage to the wall or speakers.
Thread the string (not included) through the slot on the rear of the speaker to prevent it from falling over.
Loop the string through the screw eye and tie tightly.

Do not use a front speaker as a surround speaker or vice versa. Verify the type of speaker with the label on the rear of the speaker.


1 ONT (L, R)

SURROUND (L, R)

3 CENTER

4 SUBWOOFER
- The left and right speaker pairs are the same with respect to the front and surround speakers.

- Place the front, center, and surround speakers at approximately the same distance from the seating position. The angles in the diagrams are approximate.
- Use only supplied speakers
Using other speakers can damage the unit and sound quality will be negatively affected.
- Set the speakers up on an even surface to prevent them from falling. Take proper precautions to prevent the speakers from falling if you cannot set them up on an even surface.
Main unit
Note
Keep your speakers at least 10mm away from the system for proper ventilation.
Center speaker
- Vibration caused by the center speaker can disrupt the picture if it is placed directly on the television. Put the center speaker on a rack or shelf.
- To prevent the speakers from falling, do not place directly on top of the television.
Subwoofer
Place to the right or left of the television, on the floor or a sturdy shelf so that it won't cause vibration. Leave 10 cm at the rear for ventilation.
Caution
Hold the speakers by the sides. Applying pressure to the front net can damage the speaker.

Notes on speaker use
- You can damage your speakers and shorten their useful life if you play sound at high levels over extended periods.
-
Reduce the volume in the following cases to avoid damage.
-
When playing distorted sound.
- When the speakers are receiving howling from a record player, noise from FM broadcasts, or continuous signals from an oscillator, test disc, or electronic instrument.
- When adjusting the sound quality.
- When turning the unit on or off.
If irregular coloring occurs on your television
The supplied speakers are designed to be used close to a television, but the picture may be affected with some televisions and setup combinations.
If this occurs, turn the television off for about 30 minutes.
The television's demagnetizing function should correct the problem. If it persists, move the speakers farther away from the television.
Caution
- The main unit and supplied speakers are to be used only as indicated in this setup. Failure to do so may lead to damage to the amplifier and/or the speakers, and may result in the risk of fire. Consult a qualified service person if damage has occurred or if you experience a sudden change in performance.
- Do not attempt to attach these speakers to walls using methods other than those described in this manual.

Note
- Never short-circuit positive (+) and negative (-) speaker wires.
-
Be sure to connect only positive (copper) wires to positive (+) terminals and negative (silver) wires to negative (-) terminals. Incorrect connection can damage the speakers.
-
Do not connect through the video cassette recorder.
Due to copy guard protection, the picture may not be displayed properly.
- Turn the television off before connecting, and refer to the television's operating instructions.
■ Television with a VIDEO IN terminal

■ Television with an S-VIDEO IN terminal

S-VIDEO OUT terminal
The S-VIDEO OUT terminal achieves a more vivid picture than the VIDEO OUT terminal by separating the chrominance (C) and luminance (Y) signals. (Actual results depend on the television.)
COMPONENTVIDEOOUT terminals
These terminals can be used for either interlace or progressive output and provide a purer picture than the S-VIDEO OUT terminal. Connection using these terminals outputs the color difference signals (P_B / P_R) and luminance signal (Y) separately in order to achieve high fidelity in reproducing colors.
- The description of the component video input terminals depends on the television or monitor (e.g. Y / PB / PR , Y/B-Y/R-Y, Y/CB/CR). Connect to terminals of the same color.
- Russia When making this connection, select "Video/Y PB PR" or "S-Video/Y PB PR" from QUICK SETUP (→ page 10).
SCART (AV) terminal
To improve picture quality, you can change the video signal output from the SCART (AV) terminal from "Video" to either "S-Video" or "RGB" to suit the type of television you are using. Select "S-Video/Y PB PR" or "RGB/No Output" from QUICK SETUP ( page 10).
Video cable

■ Television with COMPONENT VIDEO IN terminals

Russia
Television with SCART terminal

Note
To enjoy progressive video
- Connect to the component video input terminals on a 480P compatible television. (Video will not be displayed correctly if connected to an incompatible television.)
- When playing NTSC discs, change video output mode to "480P" (→ page 19) or press [PROGRESSIVE] on the main unit so "PROG." appears on the display.
All Panasonic televisions that have 480P input connectors are compatible. Consult the manufacturer if you have another brand of television.
Output from this unit is interlace if you have connected to the television through the VIDEO OUT, S-VIDEO OUT or SCART (AV) terminal or when playing PAL discs, even if "PROG." is on the display.
System cable
AM loop antenna
FM indoor antenna
AC mains lead Saudi Arabia and Kuwait
Australia and N.Z.
Russia, Southeast Asia, the Middle East, South Africa, Saudi Arabia and Kuwait






- Connect the AC mains lead after all other connections are complete.
- Optional antenna connections (→ page 23).

Conserving power
The main unit consumes a small amount of power, even when it is turned off (For Russia, Australia and N.Z.: approx. 0.7 W or for Southeast Asia, the Middle East, South Africa, Saudi Arabia and Kuwait: approx. 0.9 W). To save power when the unit is not to be used for a long time, unplug it from the household mains socket.
You will need to reset some memory items after plugging in the unit.
Saudi Arabia and Kuwait BE SURE TO READ THE CAUTION FOR THE AC MAINS LEAD ON PAGE 3 BEFORE CONNECTION.
STEP6 The remote control

Remote control

Batteries

- Do not use rechargeable type batteries.
Do not:
- mix old and new batteries.
- use different types at the same time.
heat or expose to flame. - take apart or short circuit.
- attempt to recharge alkaline or manganese batteries.
- use batteries if the covering has been peeled off.
Mishandling of batteries can cause electrolyte leakage which can damage items the fluid contacts and may cause a fire.
Remove if the remote control is not going to be used for a long period of time. Store in a cool, dark place.
Use
Aim at the sensor ( page 10), avoiding obstacles, at a maximum range of 7m directly in front of the unit.
The QUICK SETUP screen assists you to make necessary settings.
Turn on the television and select the appropriate video input on the television.
1

Turn the unit on.
2

Select "DVD/CD".
3

Shows QUICK SETUP screen.
4

Follow the messages and make the settings.
5

Press to finish QUICK SETUP.
6

Press to exit.
To change these settings later
Select "QUICK SETUP" in "Others" tab (→ page 21).
Control reference guide
See reference pages in brackets.
To use functions labeled in orange:

While pressing [SHIFT], press the corresponding button.
Standby/on indicator
When the unit is connected to the AC mains supply, this indicator lights up in standby mode and goes out when the unit is turned on.

Standby/on switch [O/I]
Press to switch the unit from on to standby mode or vice versa. In standby mode, the unit is still consuming a small amount of power.

| Disc | Logo | Indication used in operating instructions | Remarks | |
| DVD-RAM | DVD RAM RAM 4.7 | RAM | Recorded using Version 1.1 of the Video Recording Format (a unified video recording standard). | Recorded with DVD-Video recorders, DVD-Video cameras, personal computers, etc. Remove TYPE 2 and 4 discs from their cartridges before use. |
| JPEG | Recorded using the DCF (Design rule for Camera File system) standard. | Recorded with Panasonic DVD-Video recorders. To play JPEG files, select “Play as Data Disc” in Other Menu (→ page 19). | ||
| DVD-Audio | DVD AUDIO | DVD-A | — | |
| DVD-V | Some DVD-Audio discs contain DVD-Video content. To play DVD-Video content, select “Play as DVD-Video” in Other Menu (→ page 19) | |||
| DVD-Video | DVDVIDEOVIDEO | DVD-V | — | |
| DVD-R | DVD R R4.7 | Panasonic DVD-R recorded and finalized* on Panasonic DVD-Video recorders or DVD-Video cameras are played as DVD-Video on this unit. | ||
| Video CD | COMPACT DISC DIGITAL VIDEO | VCD | — | |
| SVCD | COMPACT DISC SUPERVIDEO | Conforming to IEC62107 | ||
| CD | COMPACT DISC DIGITAL AUDIO | CD | This unit is compatible with HDCD, but does not support the Peak Extend function. (A function which expands the dynamic range of high level signals) HDCD-encoded CDs sound better because they are encoded with 20 bits, as compared with 16 bits for all other CDs. •During HDCD play, “HDCD” lights on the unit's display. | |
| CD-R CD-RW | — | WMA MP3 JPEG CD VCD | ●This unit can play CD-R/RW (audio recording disc) recorded with the formats on the left. Close the sessions or finalize* the disc after recording. ●HighMAT discs WMA, MP3 or JPEG files only. To play without using the HighMAT function, select “Play as Data Disc” in Other Menu (→ page 19). | |
- A process that allows play on compatible equipment.
It may not be possible to play the above discs in all cases due to the type of disc or condition of the recording.
Discs that cannot be played
DVD-ROM, CD-ROM, CDV, CD-G, DVD+R, +RW, DVD-RW, SACD, Divx Video Discs and Photo CD, DVD-RAM that cannot be removed from their cartridge, 2.6-GB and 5.2-GB DVD-RAM, and "Chaoji VCD" available on the market including CVD, DVCD and SVCD that do not conform to IEC62107.
Audio format of DVDs
This unit automatically recognizes and decodes discs with these symbols.


Main unit and disc caution
To prevent damage
Do not:
- load more than one disc per tray.
-touch the drawer or the carousel while they are in motion.
-rotate the carousel by hand.
close the drawer by hand.
To clean discs
DVD-A DVD-V VCD CD
Wipe with a damp cloth and then wipe dry.
RAM DVD-R
- Clean with an optional DVD-RAM/PD disc cleaner (LF-K200DCA1, where available).
- Never use cloths or cleaners for CDs, etc.


Video systems
- This unit can play PAL and NTSC, but your television must match the system used on the disc.
-PAL discs cannot be correctly viewed on an NTSC television. - This unit can convert NTSC signals to PAL 60 for viewing on a PAL television (→ page 20, "NTSC Disc Output" in "Video" tab).
Disc handling precautions
- Do not attach labels or stickers to discs (This may cause disc warping, rendering it unusable).
- Do not write on the label side with a ball-point pen or other writing instrument.
- Do not use record cleaning sprays, benzine, thinner, static electricity prevention liquids or any other solvent.
- Do not use scratch-proof protectors or covers.
-
Do not use the following discs:
-
Discs with exposed adhesive from removed stickers or labels (rented discs, etc.).
- Discs that are badly warped or cracked.
- Irregularly shaped discs, such as heart shapes.


Turn the unit on.


Select "DVD/CD".
INPUT
SELECTOR
Open the drawer and place the disc(s).
- Load double-sided discs so the label for the side you want to play is facing up.
To load discs on the other trays, press [DISC SKIP] on the main unit. - Play will start from the disc in the front-left position.
4 Close the drawer.
A disc indicator lights to show the tray is in the play position.

Start play.
When the disc finishes playing:
If the next disc doesn't start playing, select the disc
( page 13, Disc selection).

Adjust the volume.

Press to skip.
Press and hold to search.


| Progressive video | Main unit only PROGRESSIVE | PROG. |
| Stop | ■ | The position is memorized while “RESUME” is on the display. • Press [▶] (play) to resume. DVD-V To review the previous chapters (→ page 14, Position memory) • Press [■] to clear the position. |
| Pause | ■ | • Press [▶] (play) to start play. |
| Skip | SKIP ■ ▼ ▲ ▼ □ ▼ | ■ WMA MP3 JPEG [▲▼]:Group skip during play [▲▶]:Content skip during play |
| Search (during play) | SLOW/SEARCH | ● Up to 5 steps. ● Press [▶] (play) to start play. |
| Slow-motion (during pause) | ● VCD Slow motion, forward direction only. | |
| Frame-by-frame (during pause) | ■ ▼ □ ▼ □ ▼ | ● VCD Forward direction only. |
| On-screen item select | Select |
| ENTER | |
| Register |
| Enter number | DISC 1 | DISC 2 | DISC 3 | RAM | DVD-A | DVD-V | VCD | CD |
| ① | ② | ③ | e.g. To select 12: | |||||
| DISC 4 | DISC 5 | [≥10] → [1] → [2] | ||||||
| ④ | ⑤ | ⑥ | ||||||
| ⑦ | ⑧ | ⑨ | VCD with playback control | |||||
| ⑩ | ≥10 | While stopped, press the numbered buttons. | ||||||
| ENTER | WMA | MP3 | JPEG | |||||
| e.g. To select 123: | ||||||||
| [1] → [2] → [3] → [ENTER] | ||||||||
| CANCEL | • Press [CANCEL] to cancel the number(s). | |||||||
| DVD-A WMA MP3 JPEG A folder on WMA/MP3 and JPEG discs is treated as a “Group”. | |
| Starting play from a selected group | PAGE GROUP → Select ENTER Register |


| Disc menu | TOP MENU | DVD-A DVD-V Shows a disc top menu |
| MENU | DVD-V Shows a disc menu | |
| RETURN | VCD Shows a disc menu | |
| Return to previous screen | RETURN | |
| Main unit display | FL DISPLAY | RAM DVD-A DVD-V WMA MP3 Time display←Number display JPEG When Slideshow is on: SLIDE←Number display When Slideshow is off: PLAY←Number display |
| Information screen | SUBTITLE | WMA MP3 JPEG CD (CD text only) Turns the information screen on/off. |
| Disc selection | + | You can also select the disc with 5 DISC SELECTOR buttons on the main unit. |
| DISC1 DISC2 DISC3 ① ② ③ DISC4 DISC5 ④ ⑤ | ||
| Skipping to the next disc tray | Main unit only | While the drawer is closed Each time you press the button, the carousel moves clockwise by one tray. |
| Changing the other discs without interrupting play | Main unit only ▲ OPEN/CLOSE ↓ DISC SKIP | |
| Exchanging the discs in the play position | Main unit only DISC EXCHANGE | |
| CD Mode (CD sequential play) (while stopped) | AV EFFECT CD MODE ↓ → | VCD CD WMA MP3 This feature is very convenient if you want to play several music CDs sequentially. DVD and JPEG files are skipped without being played. ●HighMAT menus and Video CD playback control are disabled. ●You cannot change the mode during play, program or random play. ●If you want to play a DVD, press [CD MODE] again to cancel CD Mode. (CD Mode is also canceled when you switch the unit to standby.) |
Note
Discs continue to rotate while menus are displayed. Press [■] when you finish to preserve the unit's motor and your television screen.
If you are experiencing problems, refer to troubleshooting
( page 34, 35).

| POSITION MEMORY | Position memory Memorizes the position to resume play. |
| + ZOOM AUDIO + | Zoom Expands the letterbox picture to fit the screen. |
| ZOOM AUDIO | Audio Changes the soundtrack. |
| SUBTITLE | Subtitle Changes the subtitle language. |
| QUICK REPLAY | Quick replay Replays a scene. |
| + PAGE GROUP | Page skip Selects still pictures. |
See below for details.

Position memory
(Only when the elapsed play time can be displayed.
JPEG: Works with all JPEG content.)
This position is memorized even after turning off the unit, changing the source or changing the disc out of the play position.
Press [POSITION MEMORY].
Position memorized





Up to 5 discs.
- When the sixth disc is memorized, the earliest position is replaced.
- You cannot recall the position in CD Mode ( page 13).
When the unit is turned on, reselect "DVD/CD", or when the disc comes to the play position, "RESUME" is displayed.
Press [▶] (play) to start play from that position.
To review the previous chapters DVD-V
Press [▶] (play) while the following message is displayed.
Press PLAY to preview chapters
or
Press PLAY to Chapter Review
The beginning portions of each chapter up to the current one are played.
- Do not press [▶] (play) if you want to cancel review.
Zoom
RAM DVD-V VCD
Press [SHIFT]+[ZOOM] several times to select the preset aspect ratio or "Auto". (Just Fit Zoom)

Menu
Just Fit Zoom
×1.00
Fine adjustments (Manual Zoom)
Press [▶].
-from × 1.00 to × 1.60 (in 0.01 units)
-from × 1.60 to × 2.00 (in 0.02 units)
- Press and hold [▲▶] to alter faster.
Audio
DVD-A DVD-V (with multiple soundtracks) RAM VCD
Press [AUDIO] several times to select the soundtrack.
RAM VCD
You can use this button to select "L", "R" or "LR".
DVD-V (Karaoke discs)
Press [▶] to select "On" or "Off" for vocals.
Read the disc's instructions for details.

Menu
Audio
1
Subtitle
DVD-V (with multiple subtitles) VCD (SVCD only)
RAM (On/Off only)
Press [SUBTITLE] several times to select the subtitle language.

Menu
Subtitle Off
To clear/display the subtitles
Press [▲▶] to select "On" or "Off".
Quick replay
(Only when the elapsed play time can be displayed.)
Press [QUICK REPLAY] to skip back a few seconds.
Page skip
DVD-A
During play or while paused
Press [SHIFT] + [PAGE].
The page changes each time you do this.
- Press [RETURN] to go back to page 1.


Repeat play
(Only when the elapsed play time can be displayed
JPEG: Works with all JPEG content.)
During play
Press [SHIFT] + [REPEAT] several times to select an item to be repeated.

RAM: PG REPEAT ALL REPEAT (Entire disc) REPEAT OFF
- During play list play: SCENE REPEAT PL REPEAT REPEAT OFF
DVD-A: TRACK REPEAT GROUP REPEAT* REPEAT OFF
DVD-V: CHAPTER REPEAT TITLE REPEAT* REPEAT OFF
VCD CD (There is no on-screen display.)
TRACK REPEAT ALL REPEAT (Entire disc) REPEAT OFF
WMA MP3 (There is no on-screen display.)
CONTENT REPEAT GROUP REPEAT* REPEAT OFF
JPEG (There is no on-screen display.)
GROUP REPEAT* REPEAT OFF
*During all group (DVD-A), program and random play "ALL REPEAT" is displayed.
All group, random and program play
All group play
DVD-A
Press [▶] (play).

Random play
VCD CD (There is no on-screen display.)
1-DISC: You can play all the items on a disc in the play position in random order.
ALL-DISC: You can play all the items on all the discs in random order.
DVD-A DVD-V WMA MP3 JPEG
You can play selected item(s) on a disc in the play position in random order.
1 DVD-A DVD-V WMA MP3 JPEG Press the numbered buttons to select a title or a group (WMA MP3 JPEG [ENTER]).
e.g. DVD-V

DVD-A
To enter all groups, press [▶] to select "All" and press [ENTER].
- To deselect a group, press the numbered buttons corresponding to the group you want to clear.
2 Press [▶] (play).
- You can play a maximum of 999 audio/picture contents in random order.
■ Program play (up to 24 items)
VCD CD (There is no on-screen display.)
You can program all the items on discs.
DVD-A DVD-V WMA MP3 JPEG
You can program all the items on a disc in the play position.

e.g. DVD-V
1 VCD CD
Press [SHIFT] + ([DISC1]-[DISC5]).
2 Press the numbered buttons to select the items (WMA MP3 JPEG then press [ENTER]).
e.g. CD

To select a 2-digit number
e.g.To select 25: [≥ 10] [2] [5]
WMA MP3 JPEG [2] [5] [ENTER]
- Repeat this step to program other items.
- VCD CD Step 1 is unnecessary when programming tracks on the same disc.
DVD-A DVD-V WMA MP3 JPEG
To select an item using the cursor buttons
Press [ENTER] and [ ] to select an item, then press [ENTER] again to register. All the items in the selected disc, title or group are selected when you select "ALL".
3 Press [▶] (play).
To add or change the program
VCD CD (Add only): Repeat steps 1 and 2.
DVD-A DVD-V WMA MP3 JPEG
Press [ ] to select an item, then repeat step 2.
- Press [SHIFT] + [PAGE] to skip 8 lines at a time.
To clear an item
VCD CD Press [CANCEL].
DVD-A DVD-V WMA MP3 JPEG
1 Press [ ] to select an item.
2 Press [CANCEL] (or press [▲▼▲▶] to select "Clear" and press [ENTER]).
To clear the whole program
VCD CD Press [ ] so "CLEAR" is displayed.
DVD-A DVD-V WMA MP3 JPEG
Press [▲▼▲] to select "Clear all" and press [ENTER].
Note
DVD-V WMA MP3 JPEG Times are not displayed while programming.
- VCD CD Items which the unit cannot find can be programmed but are canceled during play. This is also the case if you program DVD-RAM, DVD-Audio, DVD-Video, WMA, MP3 and JPEG.
- The program is cleared when you switch the unit to standby, select another source, exit program mode by pressing [PLAY MODE] or move the disc out of the play position.
VCD CD The program is retained in memory.



See below and the following page for details.
Playing data discs
WMA MP3 JPEG
You can play JPEG files on DVD-RAM or play HighMAT discs without using the HighMAT function (→ page 19, "Play as Data Disc" in Other Menu).
Using playback menus (except JPEG files on DVD-RAM)
1 Press [TOP MENU].
2 Press [▲▼] to select “All”, “Audio” or “Picture” and press [ENTER].
To exit the screen Press [TOP MENU]
Using navigation menus
1 Press [MENU].
2 Press [▲▼◁▶] to select the group or audio/picture content and press [ENTER].

- To enjoy listening to WMA/MP3 contents while showing a JPEG image on the screen
Select a JPEG file first, and then select tracks.
(The opposite order is not effective.) - To exit the screen
Press [MENU].
To use the contents screen to find a track CD (CD text only)
1 Press [TOP MENU] or [MENU].
2 Press [▲▼] to move through the tracks and press [ENTER].

- Press [SHIFT] + [PAGE] to skip to 10 lines at a time.
Using the submenu WMA MP3 JPEG
1 While the menu is displayed Press [DISPLAY]. Items shown differ depending on the type of software.

2 Press [ ] to select the sub menu and press [ENTER].

2 Press [ ] to select a character and press [ENTER].
Repeat to enter another character.
- Lower case is also searched.
- Press [▲▲▶] to skip between A, E, I, O and U.
- Press [ ] to erase a character.
- Erase the asterisk (*) to search for the titles starting with that character.
3 Press [▶] to select "Find" and press [ENTER]. The search result screen appears.
4 Press [▲▼] to select the content or group and press [ENTER].
Playing HighMAT™ discs
WMA MP3 JPEG
1 While stopped Press [TOP MENU].
2 Press [▲▼◁▶] to select the item following the on-screen instructions.

Play list: play starts
To change the menu background
Press [DISPLAY].
The background changes to the one recorded on the disc.
To exit the screen
Press [■].
Selecting from the list
1 During play Press [MENU].
2 Press [ ] then [▲▼] to switch among Playlist, Group and Content lists.

3 Press [▶] then [▲▼] to select an item and press [ENTER].
-
Press [SHIFT] + [PAGE] to skip 10 lines at a time.
-
To exit the screen
Press [MENU].
Tips for making WMA/MP3 and JPEG discs (For CD-R, CD-RW)
- Discs must conform to ISO9660 level 1 or 2 (except for extended formats).
- This unit is compatible with multi-session but if there are a lot of sessions it takes more time for play to start. Keep the number of sessions to a minimum to avoid this.
Naming folders and files
At the time of recording, prefix folder and file names with 3-digit numbers in the order you want to play them (this may not work at times).
Files must have the extension:
"WMA" or "wma"
"MP3" or "mp3"
“.JPG”,“.jpg”,“.JPEG”or“.jpeg”

e.g. MP3
root
Playing the programs
RAM
1 Press [DIRECT NAVIGATOR].
- Titles appear only if you have entered them.
- You cannot change program and disc titles.

2 Press [▲▼] or the numbered buttons to select the
program.
- Press [SHIFT] + [PAGE] to skip 5 lines at a time.
To select a 2-digit number e.g.23: [≥ 10] [2] [3] - Press [▶] to show the contents of the program and the disc.
3 Press [ENTER].
- To exit the screen
Press [DIRECT NAVIGATOR].
Playing a play list
RAM
(Only when the disc contains a play list)
1 Press [PLAY LIST].
2 Press [▲▼] or the numbered buttons to select the play list.
- Press [SHIFT] + [PAGE] to skip 10 lines at a time.
To select a 2-digit number e.g.23: [≥ 10] [2] [3]

3 Press [ENTER].
- To exit the screen
Press [PLAY LIST].
WMA
- You cannot play WMA files that are copy protected.
MP3
- This unit is not compatible with ID3 tags.
- Compatible sampling rate: 8, 11.02, 12, 16, 22.05, 24, 32, 44.1 and 48kHz
JPEG
-
To view JPEG files on this unit:
-
Take them on a digital camera that meets the DCF Standard (Design rule for Camera File system) Version 1.0. Some digital cameras have functions that are not supported by the DCF Standard Version 1.0 like automatic picture rotation which may render a picture un-viewable.
- Do not alter the files in any way or save them under a different name.
- This unit cannot display moving pictures, MOTION JPEG and other such formats, still pictures other than JPEG (e.g. TIFF) or play associated sound.
(Refer to page 10 for remote control button positions.)
RQT7436
1
DISPLAY

Press once.
(When pressed twice, the elapsed play time indicator appears below.)
Items shown differ depending on the type of software.
2

3


Make the settings.
4

Press twice to exit.
Main Menu
| Program Group Title Chapter Track Playlist Content | To start from a specific item |
| Time | To skip incrementally or decrementally (Time Slip) 1 Press [ENTER] twice to show Time Slip indicator. 2 Press [▲▼] to select the time and press [ENTER]. ●Press and hold [▲▼] to alter faster. To start from a specific time (Time Search) To change remaining/elapsed time display |
| Audio | (→ page 14) |
| WMA MP3 To display the current bitrate or sampling frequency |
| Still Picture | To switch still pictures |
| Thamburger | To show thumbnail images |
| Subtitle | (→ page 14) |
| Marker (VR) | RAM To recall a marker recorded on DVD-Video recorders To recall a marker: [▲▼] → [ENTER] |
| Angle | (with multiple angles) To select the angle |
| Rotate Picture | To rotate picture |
| Slideshow | To turn on/off slideshow To change the slideshow timing (0–30 sec) |
■Elapsed play time indicator
(Except JPEG)
Condition—play, pause, or slow/search
Current position

Current playback item
Press [▲▼] to select the elapsed
play time or the remaining time.
Other Settings
| Play Speed | DVD-A (Motion picture part) RAM DVD-V To change play speed -from ×0.6 to ×1.4 (in 0.1 unit steps) ·After you change the speed -Output is in stereo. -Sampling frequency of 96 kHz is converted to 48 kHz. |
Play Menu
(Only when the elapsed play time can be displayed.
JPEG: Works with all JPEG content.)
Repeat (→ page 15)
| A-B Repeat | Except JPEG RAM (Still picture part) To repeat a specified section Press [ENTER] at the starting and ending points. Press [ENTER] again to cancel. |
| Marker | Except RAM To mark up to 5 positions to play again [ENTER] (The unit is now ready to accept markers.) To mark a position: [ENTER] (at the desired point) To mark another position: [▲▶] → [ENTER] To recall a marker: [▲▶] → [ENTER] To erase a marker: [▲▶] → [CANCEL] ●This feature does not work during program and random play. |
Picture Menu
| Picture Mode | Normal Cinema1: Mellows images and enhances detail in dark scenes. Cinema2: Sharpens images and enhances detail in dark scenes. Animation Dynamic User (Press [ENTER] to select “Picture Adjustment”) (→ below) |
| Picture Adjustment Contrast Brightness Sharpness Colour Gamma (Adjusts the brightness of dark parts.) Depth Enhancer Reduces the rough noise in the background to give a greater feeling of depth. | |
| Video Output Mode | When playing NTSC discs •480I (Interlace) ←→ 480P (Progressive) |
| Transfer Mode | If you have chosen “480P” (→ above), select the method of conversion for progressive output to suit the type of material. Auto1(normal): For viewing film material Auto2: For viewing film material (the same as Auto1, but able to convert 30-frame-per-second progressive video) Video: For video material |
Audio Menu
| Dolby Pro Logic II | (→ page 24) |
| Dialogue Enhancer | To make the dialogue in movies easier to hearDVD-V (Dolby Digital, DTS, MPEG, 3-channel or over, with the dialogue recorded in the center channel)On←→Off |
| Multi Re-master | RAM DVD-V (Discs recorded with 48 kHz only)DVD-A (Discs recorded with 44.1 kHz and 48 kHz only)VCD CD•During 2ch output of these discs, this feature gives you a more natural sound by adding the higher frequency signals not recorded on the disc, for example, playing DVD-Video recorded with 48 kHz at 96 kHz. (Sampling frequency → page 31)•During multi-channel output of these discs, this feature reproduces the frequencies lost during recording to give you a sound closer to the original.WMA MP3 (Disc recording is other than 8 kHz, 16 kHz, 32 kHz)This feature reproduces the higher frequencies lost during recording to give you a sound closer to the original.1→2→3→Off↑DVD-A DVD-V CD (LPCM/PPCM)1 High tempo (e.g., pop and rock)2 Various tempos (e.g., jazz)3 Low tempo (e.g., classical)Other discs1 Light effect2 Medium effect3 Strong effect |
Display Menu
| Information | On → Off (PPEG: Off, Date, Details) |
| Subtitle Position | 0 to -60 (in 2 unit steps) |
| Subtitle Brightness | Auto, 0 to -7 |
| 4:3 Aspect | To select how to show images made for 4:3 aspect screens on a 16:9 aspect television Normal: Horizontally stretches images. Auto: Expands 4:3 letterbox images to fill more of the screen. Other images appear in full in the center of the screen. Shrink: Images appear in the center of the screen. Zoom: Expands all images to fill the screen. If your television has a similar feature, use it instead for a better effect. |
| Just Fit Zoom | To select the appropriate screen size to fit your TV screen |
| Manual Zoom | To zoom in and out manually |
| Bitrate Display | RAM DVD-V VCD DVD-A (Motion picture part) On ←→ Off |
| GUI See-through | On ←→ Off |
| GUI Brightness | -3 to +3 |
Other Menu
| Play as DVD-Video or Play as DVD-Audio | While stopped •Select “Play as DVD-Video” to play DVD-Video contents of DVD-Audio. |
| Play as DVD-VR, Play as HighMAT or Play as Data Disc | While stopped •Select “Play as Data Disc” to play JPEG files on DVD-RAM or to play a HighMAT disc without using the HighMAT function. |
Signal type/data
LPCM/PPCM/Digital/DTS/MPEG: Signal type
kHz(Sampling frequency)/bit/ch(Number of channels)
Example: 3/2 .1ch
.1: Low frequency effect (not displayed if there is no signal)
0: No surround
1: Mono surround
2: Stereo surround (left/right)
1:Center
2: Front left+Front right
3: Front left+Front right+Center
(Refer to page 10 for remote control button positions.)
1

Shows the Setup menu.
2

Select the tab.
3

Select the item.

4

Make the settings.
5

Press to exit.

- The settings remain intact even if you switch the unit to standby.
- Underlined items are the factory preset.
The QUICK SETUP enables successive settings of the items in the shaded area.
"Disc" tab
| Audio Choose the audio language. | • English • (Language options)*1 • Original*2 • Other*****3 |
| Subtitle Choose the subtitle language. | • Automatic*4 • English • (Language options)*1 • Other*****3 |
| Menu Choose the language for disc menus. Changing the menu language from QUICK SETUP also changes this setting. | • English • (Language options)*1 • Other*****3 |
| Ratings Set a ratings level to limit DVD-Video play. • Follow the on-screen instructions. | Setting ratings (When level 8 is selected) • 8 No Limit • 1 to 7 • 0 Lock All: To prevent play of discs without ratings levels. |
| Changing ratings (When level 0–7 is selected) • Unlock Player • Change Password • Change Level • Temporary Unlock |
1 Language options
Southeast Asia: Chinese
Others: French, German, Italian, Spanish, Portuguese, Swedish and Dutch
2 The original language designated on the disc is selected.
3 Input a code number referring to the table on page 31.
4 The unit will automatically display subtitles in the selected language (if available on the disc) when the same "Audio" language is not available.
“Video” tab
| TV Aspect Choose the setting to suit your television and preference. | ●4:3 Pan&Scan: Regular aspect television (4:3) The sides of the widescreen picture are cut off so it fills the screen (unless prohibited by the disc). ●4:3 Letterbox: Regular aspect television (4:3) Widescreen picture is shown in the letterbox style. |
| ●16:9: Widescreen television (16:9) | |
| TV Type Select to suit the type of television. | ●Standard (Direct View TV) ●CRT Projector ●LCD TV/Projector ●Projection TV ●Plasma TV |
| Time Delay When connected with a Plasma display, adjust if you notice the audio is out of sync with the video. | ●0ms ●20ms ●40ms ●60ms ●80ms ●100ms |
| Russia Video Out (AV/Component) Choose the video signal format to be output from the SCART (AV) and Component terminal. | ●Video/Y PB PR ●S-Video/Y PB PR ●RGB/No Output |
| Still Mode Specify the type of picture shown when paused. | ●Automatic ●Field: The picture is not blurred, but picture quality is lower. ●Frame: Overall quality is high, but the picture may appear blurred. |
| NTSC Disc Output Choose PAL 60 or NTSC output when playing NTSC discs (→ page 11) | ●PAL60: When connected to a PAL television. ●NTSC: When connected to an NTSC television. (Southeast Asia: “NTSC” is the factory preset.) |
"Audio" tab
| Dynamic Range Compression | •Off •On: Adjusts for clarity even when the volume is low by compressing the range of the lowest sound level and the highest sound level. Convenient for late night viewing. (Only works with Dolby Digital) |
| Audio during Search | •On •Off |
| Speaker Setting (→below) Set the delay time for your center and surround speakers. | •Center: 0.0/1.0/2.0/3.0/4.0/5.0 ms •Surround (L/R): 0.0/5.0/10.0/15.0 ms |
"Display" tab
| Menu Language | *5 • English • 中文 *6 • English • Français • Deutsch • Italiano • Espanol • Português • Svenska • Nederlands |
| On-Screen Messages | • On • Off |
Southeast Asia
*6 Except Southeast Asia
"Others" tab
| FL Dimmer | •Bright •Dim •Auto: The display is dimmed during play, but brightens when you perform some operations. |
| HighMAT | •Enable •Disable (Unable to use the HighMAT function) |
| QUICK SETUP | •Yes •No |
| Re-initialize Setting This returns all values in the Setup menus to the default settings. | •Yes: The password screen is shown if Ratings (→page 20) are set. Please enter the same password. After “INIT” on the display disappears, turn the unit off and on again. •No |
Changing the delay time (Speaker Setting)
(Effective when playing multi-channel audio)
(Center and surround speakers only)
For optimum listening with 5.1-channel sound, all the speakers, except for the subwoofer, should be the same distance from the seating position. If you have to place the center or surround speakers closer to the seating position, adjust the delay time to make up for the difference.

1 Press [▲▼] to select the delay time box and press [ENTER].
2 Press [ ] to adjust the delay time and press [ENTER].
If either distance a or b is less than c , find the difference in the relevant table and change to the recommended setting.
□:Recommended placement

Center speaker
| Difference | Setting |
| Approx. 34 cm | 1.0 ms |
| Approx. 68 cm | 2.0 ms |
| Approx. 102 cm | 3.0 ms |
| Approx. 136 cm | 4.0 ms |
| Approx. 170 cm | 5.0 ms |
⑥ Surround speakers
| Difference | Setting |
| Approx. 170 cm | 5.0 ms |
| Approx. 340 cm | 10.0 ms |
| Approx. 510 cm | 15.0 ms |
To finish the speaker setting
Press [ ] to select "Exit" and press [ENTER].
When you change the surround speaker setting for Dolby Digital, the setting also changes for Dolby Pro Logic II.
e.g., the settings for MUSIC and PANorama are the same as those for Dolby Digital.
| Dolby Digital | Dolby Pro Logic II | ||
| MUSIC | MOVIE | PANorama | |
| 0 ms | 0 ms | 10 ms | 0 ms |
| 5 ms | 5 ms | 15 ms | 5 ms |
| 10 ms | 10 ms | 20 ms | 10 ms |
| 15 ms | 15 ms | 25 ms | 15 ms |


Automatic presetting
Up to 15 stations can be set in each band, FM and AM.
Main unit only
1 Press [INPUT SELECTOR] to select “FM” or “AM”.
2 Press [TUNE MODE] to select "MANUAL". Each time you press the button: MANUAL PRESET
3 Press [TUNING] or [TUNING ] to tune to the lowest frequency (FM: 87.50, AM: 522).
Southeast Asia, the Middle East, South Africa, Saudi Arabia and Kuwait: (AM: 522 or 520)
4 Press and hold [MEMORY].
Release the button when "FM AUTO" or "AM AUTO" is displayed.
The tuner presets all the stations it can receive into the channels in ascending order.
- "SET OK" is displayed when the stations are set. The last station to be set is then played.
- "ERROR" is displayed when automatic presetting is unsuccessful. Preset the channels manually (→ page 23).
Selecting the preset channels
1 Press [TUNER/BAND] to select “FM” or “AM”.
2 Press the numbered buttons to select the channel.
Alternatively, press [ CH] or [ CH] .
To select a 2-digit number
$$ e. g. 1 2: [ \geqslant 1 0 ] \rightarrow [ 1 ] \rightarrow [ 2 ] $$

When a stereo FM broadcast is being received.

If noise is excessive in FM Main unit only Press [FM MODE] to display "MONO".

Press [FM MODE] again to cancel the mode. The mode is also canceled when you change the frequency.
Manual tuning
Main unit only
1 Press [INPUT SELECTOR] to select “FM” or “AM”.
2 Press [TUNE MODE] to select "MANUAL".
3 Press [TUNING] or [TUNING ] to select the frequency.
Press and hold [TUNING] or [TUNING ] until the frequency starts scrolling to start automatic tuning. Tuning stops when a station is found.
Presetting the channels one by one
1 Tune to the station ( above).
2 Press [ENTER].
3 While "PGM" is flashing on the display Press the numbered buttons to select a channel.
Alternatively, press [ CH] or [ CH], then press [ENTER].

The station occupying a channel is erased if another station is preset to that channel.
AM frequency step
Main unit only.
Southeast Asia, the Middle East, South Africa, Saudi Arabia and Kuwait
The step is factory-set to 9kHz , but you can change it to receive broadcasts allocated in 10-kHz steps.
1 Press [INPUT SELECTOR] on the main unit to select "FM".
2 Press and hold [INPUT SELECTOR].
After a few seconds, the display changes to show the current minimum frequency. Continue to hold the button down. The minimum frequency changes and the step is changed.
To return to the original step, repeat the above steps.
Note
Any FM/AM frequencies preset in channels will be changed by this procedure. Preset them again.
RDS broadcasting
Russia
Main unit only.
The unit can display the text data transmitted by the radio data system (RDS) available in some areas.
If the station you are listening to is transmitting RDS signals, "RDS" will light up on the display.
Press [RDS] to display the text data.
Each time you press the button:
PS PTY Frequency display
| PTY displays | |||
| NEWS | VARIED | FINANCE | COUNTRY |
| AFFAIRS | POP M | CHILDREN | NATIONAL |
| INFO | ROCK M | SOCIAL A | OLDIES |
| SPORT | M.O.R. M* | RELIGION | FOLK M |
| EDUCATE | LIGHT M | PHONE IN | DOCUMENT |
| DRAMA | CLASSICS | TRAVEL | TEST |
| CULTURE | OTHER M | LEISURE | ALARM |
| SCIENCE | WEATHER | JAZZ | |
"M.O.R. M"=Middle of the road music
Note
RDS displays may not be available if reception is poor.
Optional antenna connections
Use outdoor antennas if radio reception is poor.
- Disconnect the antenna when the unit is not in use.
- Do not use the outdoor antenna during an electrical storm.
FM outdoor antenna (Using a television antenna)
- Disconnect the FM indoor antenna.
The antenna should be installed by a competent technician.



Note
- When connected with headphones, the following sound field systems cannot be used. (Excluding Sound Field Control)
- You may experience a reduction in sound quality when these sound field systems are used with some sources. If this occurs, turn the sound field system off.
See below for details.

Sound Field Control
Press [SFC].
Each time you press the button:
FLAT: Cancel (no effect is added) (factory preset).
HEAVY: Adds punch to rock.
CLEAR: Clarifies higher sounds.
SOFT: For background music.
DISCO: Reverberates sound to make you feel like you are in a disco.
LIVE: Makes vocals more alive.
HALL: Expands sound to make you feel like you are in a hall.
To check the current setting
Press [SFC].
![PANASONIC SCHT928 - Press [SFC]. - 1](/content/2019/08/105238/images/5eba523a8a7c9a10ba94f9c03c16791d819abb2d29d7f2502d99ffdc5a79713d.jpg)
Super Surround
Press [SUPER SRND].
Each time you press the button:
MUSIC: Adds surround effects to stereo sources.
MOVIE: Use this mode when playing movie software.
PARTY: Sound is in stereo regardless of the direction you are facing.
OFF: Cancel
![PANASONIC SCHT928 - Press [SUPER SRND]. - 1](/content/2019/08/105238/images/bbf473faa30f770e3a3fbac4b68b5ac21fb2732bd7113c005b0e6a86e3dac1bc.jpg)
- You can adjust the volume of the surround speakers to get the best surround effect (→ page 25, Speaker level adjustments).
- Super Surround does not work when playing a DVD recorded with Dolby Digital or DTS.
- When Super Surround is on, Dolby Pro Logic II ( right) turns off.
Center Focus
(Discs where the dialogue is recorded in the center channel)
You can make the sound of the center speaker seem like it is coming from within the television.
Press [SHIFT] + [C.FOCUS].


CENTER FOCUS ON CENTER FOCUS OFF
This does not work when Super Surround is turned on.
- This will also work when Dolby Pro Logic II is turned on.
Dolby Pro Logic II
Dolby Pro Logic II is an advanced decoder that derives 5-channel surround (Left and Right Front, Center, Left and Right Surround) from any stereo program material, whether or not it has been specifically Dolby Surround encoded.
Press [DQPLII].
Each time you press the button:
MOVIE: Movie software, recorded in Dolby Surround.
MUSIC: Stereo sources
PANorama: Sound is spread out more so you feel like you are surrounded by music.
![PANASONIC SCHT928 - Press [DQPLII]. - 1](/content/2019/08/105238/images/a11b54a520cf7c01f29dc32d078e965841968debcf604bedb07739d578e7a697.jpg)
![PANASONIC SCHT928 - Press [DQPLII]. - 2](/content/2019/08/105238/images/b967c763bc1adb302e1102898bc08eb1778d56ab96687789a9be86da3f94efb3.jpg)
![PANASONIC SCHT928 - Press [DQPLII]. - 3](/content/2019/08/105238/images/4f90bd5c67448084d1ee2133879256d0aedc441be29d77136aa1b680ec51d8eb.jpg)
See below for details.
![PANASONIC SCHT928 - Press [DQPLII]. - 4](/content/2019/08/105238/images/be42582e6c4912b972d127b26c18f287f051d527e3883358f74b31f284f788df.jpg)
Multi Rear Surround (MRS), Virtual Rear Surround (VRS)
Multi Rear Surround (MRS)
This mode makes it seem like sound is coming from multiple rear surround speakers when connected with surround speakers.

Virtual speakers
Virtual Rear Surround (VRS)
This mode is useful if you have to place your surround speakers near the front speakers due to the layout of your room.
This mode makes it seem like the sound from the surround speakers is coming from behind you.

Virtual speakers
1 Press and hold
[SHIFT]+[AV EFFECT] to select MRS mode or VRS mode.
MRS VRS
The indicator on the main unit lights.
2 Press [SHIFT]+[AV EFFECT].
MRS 1 (Normal) MRS 2 (Enhanced) MRS OFF
or
VRS 1 (Normal) VRS 2 (Enhanced) VRS OFF
Speaker level adjustments
This is one of the ways to get appropriate surround effects.
Adjust the speaker level to the same level as the front speakers.
Preparation
Press [DVD/CD].
1 While stopped
Press [SHIFT] + [TEST] to output a test signal.
L: Front left
C: Center
R: Front right
RS: Right surround
LS: Left surround
2 Press [VOLUME, +] or [-] to set the volume level normally used for listening.
3 Press [▲] (increase) or [▼] (decrease) to adjust the speaker level for each speaker.
C, RS, LS: -6 dB to +6 dB (L, R: Only the balance is adjustable.)
To adjust the balance of the front speakers
While outputting the test signal, press [▲▶].
To stop the test signal
Press [SHIFT] + [TEST] again.
Note
There is no output from SW (subwoofer) channel.
To adjust speaker level during play
(Effective when playing multi-channel audio or when Dolby Pro Logic II is on.)
Press [CH SELECT] to select the speaker.
L C R RS LS SW
SW: Subwoofer
- You can adjust SW only if the disc includes a subwoofer channel.
- SW does not appear on the display and is not adjustable when Dolby Pro Logic II is turned on.
- S appears instead of RS and LS on the display when "MUSIC" or "MOVIE" is selected with Super Surround (→page 24). In this case, you can adjust both surround speaker levels at the same time.
S: -6 dB to +6 dB
2 Press [▲] (increase) or [▼] (decrease) to adjust the speaker level for each speaker.
C, RS, LS, SW: -6 dB to +6 dB
(L, R: Only the balance is adjustable.)
To adjust the balance of the front speakers
During play, press [▶].
![PANASONIC SCHT928 - Press [▲] (increase) or [▼] (decrease) to adjust the speaker level for each speaker. - 1](/content/2019/08/105238/images/137c53a90323d2a6a53b8ddb7c00d00fa0815db0e4bda98d8760c551b5131d91.jpg)
![PANASONIC SCHT928 - Press [▲] (increase) or [▼] (decrease) to adjust the speaker level for each speaker. - 2](/content/2019/08/105238/images/5e65cac87c07a72ca7a9f5227e7d4cad09d799d353a34049f6345ff23b0cf369.jpg)
Down-mixing
You can output the down-mixed 2 channel signals when necessary (e.g. when you intend to record 5.1 ch sound on other recording equipment).
Press [SHIFT] + [MIX 2CH].

MIX 2CH ON MIX 2CH OFF
Note
When "D.MIX" flashes on the display, the disc contains multiple-channel signals that cannot be down-mixed. DVD-A
Subwoofer level
Press [SUBWOOFER LEVEL].
SUB W 1 SUB W 2 SUB W 3 SUB W 4 (factory preset)

Custom Sound Memory
DVD-A DVD-V VCD CD
Available sound setting:
Dolby Pro Logic II, Subwoofer level, Center Focus, Sound Field Control, Super Surround
After making the sound field or sound quality settings
Press and hold [C.S.M].

Recall the settings
The unit recalls the settings when you play the disc again.
The settings are replaced if you change them.
- When you store settings for the 31st disc, the settings for the earliest disc are cleared.
- Press [C.S.M] while "CSM" is displayed to cancel the sound setting for the disc.
- Press [C.S.M] while "CSM" is out to recall the sound setting for the disc.



Muting
See below for details.

Sleep timer
Press [SHIFT] + [SLEEP] to select the time (in minutes).

Press [SHIFT] + [SLEEP] to select "OFF".
To confirm the remaining time
Press [SHIFT] + [SLEEP] again.
To change the setting
Repeat the procedure from the beginning.
Muting
Press [MUTING].
"MUTING" flashes on the unit's display.

To cancel
- Press [MUTING] again or reduce the volume to minimum (- - dB) , then raise it to the required level.
- Muting is canceled when you switch the unit to standby.
Using headphones
1 Reduce the volume and connect the headphones (not included).
Headphone plug type: 3.5mm stereo

2 Adjust headphone volume with [VOLUME].
- Audio is automatically switched to stereo (2-channel).
Note
Avoid listening for prolonged periods of time to prevent hearing damage.
Connection example


Operating the television and the video cassette recorder
You can use the remote control to operate a Panasonic television or a video cassette recorder. Connect your equipment referring to "Connection example" ( page 28).
Note
The remote control may not work properly with some models.
Television
Preparation
- Aim the remote control at the unit and press [TV] to light up the button.
- Aim the remote control at the television for the following operations.
Turning the television on/off
Press [AV SYSTEM].
Switching the television's video input mode
Press [TV/AV].
Changing channels
Press [v CH] or [^CH].
Adjusting the volume
Press [TV VOL-] or [TV VOL+].
Video cassette recorder
Preparation
- Change the video input mode on the television ("VIDEO 2" in the example).
- Aim the remote control at the unit and press [VCR] to light up the button.
- Aim the remote control at the video cassette recorder for the following operations.
Turning the video cassette recorder on/off
Press [AV SYSTEM].
Play, pause and stop
Press [▶] (play), [■] or [■].
Fast forward and rewind
Press [or]
Connecting a laser disc or record player
Connect instead of a video cassette recorder ( page 28) and select "VCR" as the source.
We recommend using a record player with a built-in phono equalizer. If your player doesn't have a built-in equalizer, connect it first to a separate equalizer and then to the unit.
Changing the remote control code
This remote control can also operate some other brands of televisions and video cassette recorders. Change the code to operate such equipment ( below).
Aim the remote control at the equipment.
While pressing [TV] or [VCR]
Press a numbered button to enter the first digit, and then the second digit.
The remote control outputs the on/off signal. If the code is correct, the equipment turns on or off. If it doesn't, try entering another code.
Note
Reenter the codes after you change the batteries.
Operating the tape deck or satellite receiver
Listening to the tape deck
Press [AUX] to select "AUX" as the source.
Recording to the tape deck
1 Press [DVD/CD] to select "DVD/CD". or
Press [TUNER/BAND] to select "FM" or "AM".
2 Start recording and play.
Listening to the the surround signals from a satellite receiver
This unit can decode the surround signals received through satellite broadcasts. Refer to your satellite receiver's operating instructions for details.
Press [SHIFT] + [DIGITAL] to select "D-IN" (Digital In) as the source.
- Main unit: Press [DIGITAL IN].
Television code list
PANASONIC: 01, 29, 30, 31
AKAI: 07,11,28,36,37
ALBA: 05.11.12
BAUR: 32
BLAUPUNKT: 28.36
BRANDT: 26.41
GOODMANS: 11, 12, 25, 32
GRUNDIG: 28.36
HITACHI: 01.09.26.41
ICE: 21.39
INNO HIT:
ITT/NOKIA: 05.07.37
JVC: 18
KENDO: 40
LOEWE: 14,33
LOEWE OPTA: 32
LUXOR: 37
MATSUI: 02, 05, 06, 07, 10.
11, 12, 25, 37, 38
MITSUBISHI: 14, 19, 28, 36
NOKIA: 05, 07, 37
NORDMENDE: 26.41
OCEANIC: 27.35
SIEMENS: 11, 12, 17, 28, 36
SINUDYNE: 02, 05, 11, 12, 22.
24.38.40
SONY: 16
THOMSON: 05,26,41
THORN: 06, 08, 11, 12, 14.
16,25
TOSHIBA: 03, 04, 06, 08
UNIVERSUM: 39
WHITE WESTING HOUSE:
11, 12, 22, 40
Video cassette recorder code list
PANASONIC: 01,29,30
AKAI: 06, 08, 16, 17, 19.
37
ALBA: 02.06.23
BAIBD: 08,10,37
BLAUPUNKT: 01.26.29.30.33
BUSH: 02.09.23
DAEWOO: 15
FERGUSON: 31
FISHER: 05, 07, 10, 11, 12
GOLDSTAR/LG: 03,04,36,37
GOODMANS: 02, 03, 18, 23, 27.
33
GRUNDIG: 02, 23, 26, 28, 32.
33
HCM: 02.23
HITACHI: 13,14
ITT: 08.10.11.37
ITT/NOKIA: 18,27,37
JVC: 20,21
KENDO: 08,09,37
LOEWE: 03.32
LUXOR: 08,10,11,17,19.
37
MATSUI: 03, 05, 09
METZ: 01
MITSUBISHI: 17, 19, 21, 32
NEC: 04,21,36,37
NOKIA: 08, 10, 11, 18, 22
27,37
NORDMENDE: 20, 21
OKANO: 06
ORION: 05.09
PHILIPS: 22,32,33,34,35
PHONOIA: 32
PROGENI: 32
BFT: 33
ROADSTAR: 02, 03, 18, 23, 27
SABA:
SALORA: 08,11,17,19,37
SAMSUNG: 15.16.18.27
SANYO: 07,10,11
SCHAUBLORENZ
Attaching to a wall
1 Drive a screw (not included) into a wall.
Fit the speaker securely onto the screw(s) with the hole(s).

- The wall or pillar on which the speakers are to be attached should be capable of supporting
10kg per screw. Consult a qualified building contractor when attaching the speakers to a wall. Improper attachment may result in damage to the wall and speakers.
- When mounting the front and surround speaker to a wall, we recommend using a string (not included) to prevent it from falling ( page 5).
- Use of optional speaker cables is recommended for wall-mounted front and surround speakers. (You can also remove the speaker cables from the pipes supplied with this system.)

Front and surround speakers

Center speaker

In this position, the speaker will likely fall if moved to the left or right.

Move the speaker so that the screw is in this position.
Fitting speaker stands (not included)
(Center speaker only)
Ensure the stands meet these conditions before purchasing them. Note the diameter and length of the screws and the distance between screws as shown in the diagram.
- The stands must be able to support over 10kg .
- The stands must be stable even if the speakers are in a high position.

Attach the stands to these metal screw holes.
Placement
Set the unit up on an even surface away from direct sunlight, high temperatures, high humidity, and excessive vibration. These conditions can damage the cabinet and other components, thereby shortening the unit's service life.
Do not place heavy items on the unit.
Voltage
Do not use high voltage power sources. This can overload the unit and cause a fire.
Do not use a DC power source. Check the source carefully when setting the unit up on a ship or other places where DC is used.
AC mains lead protection
Ensure the AC mains lead is connected correctly and not damaged. Poor connection and lead damage can cause fire or electric shock. Do not pull, bend, or place heavy items on the lead.
Grasp the plug firmly when unplugging the lead. Pulling the AC mains lead can cause electric shock.
Do not handle the plug with wet hands. This can cause electric shock.
Foreign matter
Do not let metal objects fall inside the unit. This can cause electric shock or malfunction.
Do not let liquids get into the unit. This can cause electric shock or malfunction. If this occurs, immediately disconnect the unit from the power supply and contact your dealer.
Do not spray insecticides onto or into the unit. They contain flammable gases which can ignite if sprayed into the unit.
Service
Do not attempt to repair this unit by yourself. If sound is interrupted, indicators fail to light, smoke appears, or any other problem that is not covered in these instructions occurs, disconnect the AC mains lead and contact your dealer or an authorized service center. Electric shock or damage to the unit can occur if the unit is repaired, disassembled or reconstructed by unqualified persons.
Extend operating life by disconnecting the unit from the power source if it is not to be used for a long time.
Maintenance
Clean this unit with a soft, dry cloth.
- Never use alcohol, paint thinner or benzine to clean this unit.
- Before using chemically treated cloth, carefully read the instructions that came with the cloth.
Before moving the unit, ensure the disc trays are empty. Failure to do so will risk severely damaging the discs and the unit.
Decoder
A decoder restores the coded audio signals on DVDs to normal. This is called decoding.
Dolby Digital
This is a method of coding digital signals developed by Dolby Laboratories. Apart from stereo (2-channel) audio, these signals can also be multi-channel audio. A large amount of audio information can be recorded on one disc using this method.
DTS (Digital Theater Systems)
This surround system is used in many movie theaters around the world. There is good separation between the channels, so realistic sound effects are possible.
Dynamic range
Dynamic range is the difference between the lowest level of sound that can be heard above the noise of the equipment and the highest level of sound before distortion occurs.
Frame still and field still
Frames are the still pictures that go together to make a moving picture. There are about 30 frames shown each second. One frame is made up of two fields. A regular television shows these fields one after the other to create frames.
A still is shown when you pause a moving picture. A frame still is made up of two alternating fields, so the picture may appear blurred, but overall quality is high.
A field still is not blurred, but it has only half the information of a frame still so picture quality is lower.
Windows Media, and the Windows logo are trademarks, or registered trademarks of Microsoft Corporation in the United States and/or other countries.
WMA is a compression format developed by Microsoft Corporation. It achieves the same sound quality as MP3 with a file size that is smaller than that of MP3.


HighMAT™ and the HighMAT logo are either trademarks or registered trademarks of Microsoft Corporation in the United States and/or other countries.
MPEG Layer-3 audio decoding technology licensed from Fraunhofer IIS and Thomson multimedia.
Manufactured under license from Dolby Laboratories. "Dolby", "Pro Logic" and the double-D symbol are trademarks of Dolby Laboratories.
I/P/B
MPEG 2, the video compression standard adopted for use with DVD-Video, codes frames using these 3 picture types.
I: Intra coded picture
This picture has the best quality and is the best to use when adjusting the picture.
P: Predictive coded picture
This picture is calculated based on past I or P-pictures.
B: Bidirectionally-predictive coded picture
This picture is calculated by comparing past and future I and P-pictures so it has the lowest volume of information.
Linear PCM (pulse code modulation)
These are uncompressed digital signals, similar to those found on CDs.
Playback control (PBC)
If a Video CD has playback control, you can select scenes and information with menus.
Sampling frequency
Sampling is the process of converting the heights of sound wave (analog signal) samples taken at set periods into digits (digital encoding). Sampling frequency is the number of samples taken per second, so larger numbers mean more faithful reproduction of the original sound.
"DTS" and "DTS Digital Surround" are registered trademarks of Digital Theater Systems, Inc.
This product incorporates copyright protection technology that is protected by method claims of certain U.S. patents and other intellectual property rights owned by Macrovision Corporation and other rights owners. Use of this copyright protection technology must be authorized by Macrovision Corporation, and is intended for home and other limited viewing uses only unless otherwise authorized by Macrovision Corporation. Reverse engineering or disassembly is prohibited.

, HDCD®, High Definition Compatible Digital® and Pacific Microsonics™ are either registered
trademarks or trademarks of Pacific Microsonics, Inc. in the United States and/or other countries.
HDCD system manufactured under license from Pacific Microsonics, Inc. This product is covered by one or more of the following: In the USA: 5,479,168, 5,638,074, 5,640,161, 5,808,574, 5,838,274, 5,854,600, 5,864,311, 5,872,531, and in Australia: 669114, with other patents pending.
Language code list
| Abkhazian: | 6566 | Chinese: | 9072 | Hausa: | 7265 | Lithuanian: | 7684 | Romanian: | 8279 | Telugu: | 8469 |
| Afar: | 6565 | Corsican: | 6779 | Hebrew: | 7387 | Macedonian: | 7775 | Russian: | 8285 | Thai: | 8472 |
| Afrikaans: | 6570 | Croatian: | 7282 | Hindi: | 7273 | Malagasy: | 7771 | Samoan: | 8377 | Tibetan: | 6679 |
| Albanian: | 8381 | Czech: | 6783 | Hungarian: | 7285 | Malay: | 7783 | Sanskrit: | 8365 | Tigrinya: | 8473 |
| Ameharic: | 6577 | Danish: | 6865 | Icelandic: | 7383 | Malayalam: | 7776 | Scotts Gaelic: | 7168 | Tonga: | 8479 |
| Arabic: | 6582 | Dutch: | 7876 | Indonesian: | 7378 | Maltese: | 7784 | Serbian: | 8382 | Turkish: | 8482 |
| Armenian: | 7289 | English: | 6978 | Interlingua: | 7365 | Maori: | 7773 | Serbo-Croatian: | 8372 | Turkmen: | 8475 |
| Assamese: | 6583 | Esperanto: | 6979 | Irish: | 7165 | Marathi: | 7782 | Shona: | 8378 | Twi: | 8487 |
| Aymara: | 6588 | Estonian: | 6984 | Italian: | 7384 | Moldavian: | 7779 | Sindhi: | 8368 | Ukrainian: | 8575 |
| Azerbaijani: | 6590 | Faroese: | 7079 | Japanese: | 7465 | Mongolian: | 7778 | Singhalese: | 8373 | Urdu: | 8582 |
| Bashkir: | 6665 | Fiji: | 7074 | Javanese: | 7487 | Nauru: | 7865 | Slovak: | 8375 | Uzbek: | 8590 |
| Basque: | 6985 | Finnish: | 7073 | Kannada: | 7578 | Nepali: | 7869 | Slovenian: | 8376 | Vietnamese: | 8673 |
| Bengali; Bangla: | 6678 | French: | 7082 | Kashmiri: | 7583 | Norwegian: | 7879 | Somali: | 8379 | Volapük: | 8679 |
| Bhutani: | 6890 | Frisian: | 7089 | Kazakh: | 7575 | Oriya: | 7982 | Spanish: | 6983 | Welsh: | 6789 |
| Bihari: | 6672 | Galician: | 7176 | Kirghiz: | 7589 | Pashto, Pushto: | 8083 | Sundanese: | 8385 | Wolof: | 8779 |
| Breton: | 6682 | Georgian: | 7565 | Korean: | 7579 | Persian: | 7065 | Swahili: | 8387 | Xhosa: | 8872 |
| Bulgarian: | 6671 | German: | 6869 | Kurdish: | 7585 | Polish: | 8076 | Swedish: | 8386 | Yiddish: | 7473 |
| Burmese: | 7789 | Greek: | 6976 | Laotian: | 7679 | Portuguese: | 8084 | Tagalog: | 8476 | Yoruba: | 8979 |
| Byelorussian: | 6669 | Greenlandic: | 7576 | Latin: | 7665 | Punjabi: | 8065 | Tajik: | 8471 | Zulu: | 9085 |
| Cambodian: | 7577 | Guarani: | 7178 | Latvian, Lettish: | 7686 | Quechua: | 8185 | Tamil: | 8465 | ||
| Catalan: | 6765 | Gujarati: | 7185 | Lingala: | 7678 | Rhaeto-Romance: | 8277 | Tatar: | 8484 |
AMPLIFIER SECTION
RMS Output Power: Dolby Digital Mode
Front Ch 65 W per channel (6 Ω), 1 kHz, 10 % THD
Surround Ch 70 W per channel (4 Ω), 1 kHz, 10 % THD
Center Ch 270 W per channel (4 Ω), 1 kHz, 10 % THD
Subwoofer Ch 260 W per channel (4 Ω), 100 Hz, 10 % THD
Total RMS Dolby Digital mode power 800 W
DIN Output Power: Dolby Digital Mode
Front Ch 45 W per channel (6 Ω), 1 kHz, 1 % THD
Surround Ch 50 W per channel (4 Ω), 1 kHz, 1% THD
Center Ch 165 W per channel (4 Ω), 1 kHz, 1 % THD
Subwoofer Ch 160 W per channel (4 Ω), 100 Hz, 1 % THD
Total DIN Dolby Digital mode power 515 W
Southeast Asia, the Middle East, South Africa, Saudi Arabia and Kuwait
PMPO output power 6500 W
FM/AM TUNER, TERMINALS SECTION
Preset station FM 15 stations
AM/MW 15 stations
Frequency Modulation (FM)
Frequency Range 87.50-108.00 MHz (50-kHz step)
Sensitivity
1.5 μV (IHF)
Others 2.5 V (IHF)
S/N 26 dB
1.2 μV
Others 2.2 V
Antenna terminals 75Ω (unbalance)
Amplitude Modulation (AM/MW)
Frequency range
Russia, Australia and N.Z. 522-1629 kHz (9-kHz step)
Others 522-1629 kHz (9-kHz step)
520-1630 kHz (10-kHz step)
AM Sensitivity S/N 20 dB at 999 kHz 560 μV/m
Digital audio input
Optical digital input Optical terminal (1 system)
Sampling frequency 32 kHz, 44.1 kHz, 48 kHz
Phone jack
Terminal Stereo, 3.5 mm jack
DISC SECTION
Discs played [8 cm or 12 cm]
(1) DVD-RAM (DVD-VR compatible, JPEG formatted disc)
(2) DVD-Audio
(3) DVD-Video
(4) DVD-R (DVD-Video compatible)
(5) CD-Audio (CD-DA)
(6) Video CD
(7) SVCD (Conforming to IEC62107)
(8) CD-R/RW (CD-DA, Video-CD, SVCD, MP3, WMA, JPEG
formatted disc)
(9) MP3/WMA*1
- Compatible compression rate:
MP3: between 32 kbps and 320 kbps
WMA: between 48 kbps and 320 kbps
(10) JPEG*1
-
Exif Ver 2.1 JPEG Baseline files
-
Picture resolution: between 320 × 240 and 6144 × 4096 pixels
(sub sampling is 4:2:2 or 4:2:0)
(11) HighMAT Level 2 (Audio and Image)
*1The total combined maximum number of recognizable audio
and picture contents and groups: 4000 audio and picture
ntents and 400 groups.
Pick up
Wavelength (DVD/CD) 662 nm/785 nm
Laser power CLASS 2/CLASS 3A
Audio output (Disc)
Number of channels 5.1ch (FL, FR, C, SL, SR, SW)
Audio performance (measured at LINE OUT terminal)
(1) Frequency response
DVD (linear audio) 4 Hz-22 kHz (48 kHz sampling)
4 Hz-44 kHz (96 kHz sampling)
DVD-Audio 4 Hz-88 kHz (192 kHz sampling)
CD-Audio 4 Hz-20 kHz
(2) S/N ratio
CD-Audio 95 dB
(3) Dynamic range
DVD (linear audio) 95 dB
CD-Audio 93 dB
(4) Total harmonic distortion
-CD-Audio 0.005%
VIDEO SECTION
Video system
Signal system PAL625/50, PAL525/60, NTSC
Composite video output
Output level 1 Vp-p (75 Ω)
Terminal Pin jack (1 system)
Russia Scart jack (1 system)
S-video output
Y output level 1 Vp-p (75 Ω)
C output level PAL; 0.3 Vp-p (75 Ω)
NTSC; 0.286 Vp-p (75 Ω)
Terminal S terminal (1 system)
Russia Scart jack (1 system)
Component video output (480P/480I)
Y output level 1 Vp-p (75 Ω)
P_B output level 0.7 Vp-p (75
P_R output level 0.7 Vp-p (75 Ω)
Terminal Pin jack (Y: green, P_B : blue, P_R red) (1 system)
Russia RGB video output
R output level 0.7 Vp-p (75 Ω)
G output level 0.7 Vp-p (75 Ω)
B output level 0.7 Vp-p (75 Ω)
Terminal Scart jack (1 system)
SUBWOOFER SECTION
| Active subwoofer SB-WA928 | |
| Type | 1 way, 1 speaker system (Bass reflex) |
| Speaker unit(s) | Impedance 4 Ω |
| Woofer | 20 cm Cone type |
| Output sound pressure | 84 dB/W (1.0 m) |
| Frequency range | 34 Hz–220 Hz (−16 dB) |
| 38 Hz–190 Hz (−10 dB) | |
| Dimensions (W×H×D) | 248×417×476.6 mm |
| Mass | 15.5kg |
SPEAKER SECTION
| Front speakers SB-PF921 | |
| Type | 2 way, 3 speaker system (Bass reflex) |
| Speaker unit(s) | Impedance 6 Ω |
| 1. Woofer | 6.5 cm Cone type |
| 2. Woofer | 6.5 cm Cone type |
| 3. Tweeter | 6 cm Ring-shaped dome type |
| Input power (IEC) | 170 W* (Max) |
| Output sound pressure | 83 dB/W (1.0 m) |
| Cross over frequency | 7 kHz |
| Frequency range | 92 Hz-50 kHz (-16 dB) |
| 110 Hz-45 kHz (-10 dB) | |
| Dimensions (W×H×D) | 250×1160 (Max)/704 (Min)×247 mm |
| Speaker height adjustment range | 1160-575 mm |
| [However, the height of the stand is fixed at 704 mm] | |
| Mass | 4.0 kg |
| Surround speakers SB-PS921 | |
| Type | 2 way, 2 speaker system (Bass reflex) |
| Speaker unit(s) | Impedance 4 Ω |
| 1. Woofer | 6.5 cm Cone type |
| 2. Tweeter | 6 cm Cone type |
| Input power (IEC) | 70 W (Max) |
| Output sound pressure | 81 dB/W (1.0 m) |
| Cross over frequency | 5 kHz |
| Frequency range | 89 Hz–41 kHz (−16 dB) |
| 100 Hz–40 kHz (−10 dB) | |
| Dimensions (W×H×D) | 250×1160 (Max)/704 (Min)×247 mm |
| Speaker height adjustment range | 1160–575 mm |
| [However, the height of the stand is fixed at 704 mm] | |
| Mass | 3.6 kg |
| Center speaker SB-PC920 | |
| Type | 2 way, 3 speaker system (Bass reflex) |
| Speaker unit(s) | Impedance 4 Ω |
| 1. Woofer | 6.5 cm Cone type |
| 2. Woofer | 6.5 cm Cone type |
| 3. Tweeter | 6 cm Ring-shaped dome type |
| Input power (IEC) | 270 W* (Max) |
| Output sound pressure | 82 dB/W (1.0 m) |
| Cross over frequency | 5 kHz |
| Frequency range | 110 Hz–50 kHz (−16 dB) |
| 140 Hz–45 kHz (−10 dB) | |
| Dimensions (W×H×D) | 320×97×93 mm |
| Mass | 1.5 kg |
GENERAL
| Power supply | |
| Russia | AC 230 V, 50 Hz |
| Australia and N.Z. | AC 230–240 V, 50 Hz |
| Others | AC 110/127/220–230/240 V, 50/60 Hz |
| Power consumption | Main unit 26 W |
| Subwoofer 340 W | |
| Dimensions (W×H×D) | 430×68×432 mm |
| Mass | Main unit 4.1 kg |
| Operating temperature range | +5 to +35 °C |
| Operating humidity range | 5 to 90 % RH (no condensation) |
| Power consumption in standby mode | |
| Russia, Australia and N.Z. | 0.7 W |
| Others | 0.9 W |
*Rating with low cut filter equipped amplifier
Note
- Specifications are subject to change without notice. Mass and dimensions are approximate.
- Total harmonic distortion is measured by digital spectrum analyzer.
Before requesting service, make the following checks. If you are in doubt about some of the check points, or if the remedies indicated in the chart do not solve the problem, consult your dealer for instructions.
Power
Page
| No power. | •Insert the AC mains lead and system cable securely. | 9 |
| The unit is automatically switched to the standby mode. | •Sleep timer activated. | 27 |
Unresponsive or inoperable function
| No response when any buttons are pressed. | ●This unit cannot play discs other than the ones listed in these operating instructions. ●The unit may not be operating properly due to lightning, static electricity or some other external factor. Turn the unit off and then back to ON. Alternatively, turn the unit off, disconnect the AC mains lead, and then reconnect it. ●Condensation has formed: Wait 1 to 2 hours for it to evaporate. | 11 — |
| No response when remote control buttons are pressed. | ●Check that the batteries are installed correctly. ●The batteries are depleted. Replace them with new ones. ●Aim the remote control at the remote control sensor and operate. | 9 9 10 |
| Cannot play DVDs. | ●CD Mode is on. Press [CD MODE] to turn CD Mode off. | 13 |
| No picture or sound. | ●Check the video or audio connection. ●Check the power or input setting of the connected equipment. ●Check that the DVD-RAM has something recorded on it. | 7-9,28 — — |
| You have forgotten your ratings password. Reset all the settings to Factory Preset. | ●While stopped and “DVD/CD” is the source, press and hold [■] on the main unit and [≥10] on the remote control until “initialized” disappears from the television. Turn the unit off and on again. All settings will return to the default values. | — |
Specific operation undesirable or unexpected
| It takes time before play starts. MP3 | ●Play may take time to begin when an MP3 track has still picture data. Even after the track starts, the correct play time will not be displayed. This is normal. | — |
| Folders deeper than the eighth layer on a data CD are not displayed correctly. WMA MP3 JPEG | ●Folders deeper than the eighth layer are displayed as the eighth layer. | — |
| A menu screen appears during skip or search. VCD | ●This is normal for Video CDs. | — |
| Programmed items are not played. DVD-V | ●Some items cannot be played even if you have programmed them. | — |
| The on-screen menu shows “2” as a soundtrack option when [AUDIO] is pressed, but the audio does not change. DVD-A | ●Even if a second soundtrack isn’t recorded, two numbers will normally be shown. | — |
| Play restarts from the beginning of the track when soundtrack is changed. DVD-A | ●This is normal on DVD-Audio. | — |
Subtitle
| Subtitle position is wrong. | •Adjust the position. ("Subtitle Position" in Display Menu) | 19 |
| No subtitles. | •Display the subtitles. | 14 |
Marker
| Cannot add markers. | ●You cannot add markers with DVD-RAM. ●If the disc's elapsed play time doesn't appear on the unit's display, you cannot add markers. | — — |
A-B repeat
| Point B is automatically set. | ●The end of an item becomes point B when it is reached. | — |
| A-B repeat is automatically canceled. | ●A-B repeat is canceled when you press [QUICK REPLAY]. | — |
Sound abnormal or improper
| Sound distorted. | ●Noise may occur when playing WMA files. | — |
| Effects do not work. | ●Some audio effects do not work or have less effect with some discs. ●Multi Re-master and Dolby Pro Logic II do not work if you have changed the play speed. | — — |
| Humming is heard during play. | ●An AC mains lead or fluorescent light is near the subwoofer. Keep other appliances and cables away from the subwoofer. | — |
| Russia Sound mixed. | ●If you are using the scart terminal (AV) and the audio input terminals (TV AUDIO IN) at the same time, turn off the connected equipment at one or the other terminals. | — |
| The Setup menu cannot be accessed. | ●Select “DVD/CD” as the source. ●Cancel all group, program and random play. | — 15 |
Picture abnormal or un-viewable
Page
| Picture distorted. | ·Ensure that the unit is connected directly to the television, and is not connected through a video cassette recorder. | 8 |
| Picture size doesn’t fit the screen. | ·Change “TV Aspect” in “Video” tab. ·Use the television to change the aspect. If your television does not have that function, change “4:3 Aspect” in Display Menu. ·Change the Zoom setting. | 20 19 14 |
| The television may display incorrectly or colors appear faded. | ·The unit and television are using different video systems. Southeast Asia Use a multi-system or NTSC television. Others Use a multi-system or PAL television. ·The system used on the disc does not match your television. –PAL discs cannot be correctly viewed on an NTSC television. –This unit can convert NTSC signals to PAL 60 for viewing on a PAL television (“NTSC Disc Output” in “Video” tab). | — — 20 |
| Menu is not displayed correctly. | ·Restore the zoom ratio to ×1.00. ·Set “Subtitle Position” in Display Menu to “0”. ·Set “4:3 Aspect” in Display Menu to “Normal”. | 14 19 19 |
| Auto zoom function does not work well. | ·Turn off TV's zoom function. ·Use the other preset aspect ratios or manual adjustment. ·Zoom function may not work well, especially in dark scenes and may not work depending on the type of disc. | — 14 — |
| The picture on the television disappears or stripes appear on the screen. | ·Mobile telephone chargers can cause some disturbance. ·If you are using a TV indoor antenna, change to an outdoor antenna. ·The television antenna wire is too close to the unit. Separate the antenna wire of the television from the unit. | — — — |
Progressive video
| There is ghosting when progressive output is on. | •Change “Video Output Mode” in Picture Menu to “480!”. This problem is caused by the editing method or material used on DVD-Video, but should be corrected if you use interlace output. | 19 |
| Pictures not in progressive output. | •When playing NTSC discs, press [PROGRESSIVE] on the main unit so “PROG.” is displayed. Or select “480P” in “Video Output Mode” in Picture Menu. •If the unit is connected to the television through VIDEO OUT, S-VIDEO and SCART, output will be interlace. | 12, 19 8 |
Listening to the radio
| Noise is heard. “ST” flickers or doesn’t light. Sound is distorted. | ●Adjust the position of the FM or AM antenna. ●Use an outdoor antenna. | — 23 |
| A beat sound is heard. | ●Turn the television off or separate it from the unit. | — |
| A low hum is heard during AM broadcasts. | ●Separate the antenna from other cables. | — |
Television operation
| Cannot operate the TV. | ●Press [TV] first to operate the television. ●Check the remote control code for the TV manufacturer. | — 29 |
Unit displays
| The display is dark. | ●Select “Bright” in “FL Dimmer” in “Others” tab. | 21 |
| “NO PLAY” | ●You inserted a disc the unit cannot play; insert one it can. | 11 |
| ●You inserted a blank disc. | — | |
| “NO DISC” | ●You haven’t inserted a disc; insert one. | — |
| ●You haven’t inserted the disc correctly; insert it correctly. | 12 | |
| “F61” | ●Check and correct the speaker cord connections. If this does not fix the problem, there is a power supply problem. Consult the dealer. | 5,7 |
| “DVD U11” | ●Disc is dirty. Wipe it clean. | 11 |
| “ERROR” | ●Incorrect operation performed. Read the instructions and try again. | — |
| “DVD H☐☐”□☐ stands for a number. | ●Trouble may have occurred. The number following “H” depends on the status of the unit. Turn the unit off and then back to ON. Alternatively, turn the unit off, disconnect the AC mains lead, and then reconnect it. | — |
| ●If the service numbers fail to clear, note the service number and contact a qualified service person. | — |
Television displays
| “⊗” | ●The operation is prohibited by the unit or disc. | — |
| “Cannot display group xx, content xx” | ●You are trying to display incompatible contents. | — |
| “This disc may not be played in your region” | ●You can only play DVD-Video if their region number is the same or includes the same region number as the unit or if the DVD-Video is marked “ALL”. Confirm the region number for the unit on the rear panel. | Cover |
| No on-screen display. | ●Select “On” in “On-Screen Messages” in “Display” tab. | 21 |
EasyManual