HHTL 544W89N - ψυγείο HOOVER - Δωρεάν εγχειρίδιο χρήσης
Βρείτε δωρεάν το εγχειρίδιο της συσκευής HHTL 544W89N HOOVER σε μορφή PDF.
Κατεβάστε τις οδηγίες για το ψυγείο σε μορφή PDF δωρεάν! Βρείτε το εγχειρίδιό σας HHTL 544W89N - HOOVER και πάρτε ξανά την ηλεκτρονική σας συσκευή στα χέρια σας. Σε αυτή τη σελίδα δημοσιεύονται όλα τα έγγραφα που απαιτούνται για τη χρήση της συσκευής σας. HHTL 544W89N της μάρκας HOOVER.
ΕΓΧΕΙΡΊΔΙΟ ΧΡΉΣΗΣ HHTL 544W89N HOOVER
- ΠΑHPOΦΟPIΕΣ ΓΙA 1~11
THN AΣΦΑΛΕΙA
12 - Eπισκόπηση 13~15
- AvTIOrpoqn TOpTaC 16~17
- TOnoθετηση
- Kaθημερινή χρήση 18~23
o o p o o o i o c.
Ipiu xpnouoTe to yuyeio oac, oac npakalouue va diaaote ppoektka auto to eyyepio odnyiwxphonc etoi wote v aeyiotooie tyn anodoon tou. Pulambdae 0a ta eyypaqaia u aeeovtkn xphon n yia aalouc idokntec.Auto to npoiov npoopiciat anokleotikyaia okiakn xphon n npapouic es apapoyes onwcs:
-tnv περιχή της κουζίνας για προσωπικό καταστημάτων, γραφείων και αλλα περιβάλλοντα εργασίας
-σε φαρες, από πελάτες σεξενοδθεία, πανδθεία και ἀλλα περιβάλοντα οικιακού τυπου
- bed breakfasts (B & B)
- yia vnpesiec eioiioou kai npoouc eapoyec noudelta npoopizovta iia liavuknpiwnon.
Avt n ouokevn npenv va xpnouoieitau mov yia oKoTouc anoNkeuvoc tpoqipow, onoiadnoote aanxon theweiitai eikivduyn kai o kataoKeuaotns dev h eiva uEvuvoC ia oEosnoTe npaaleiic. Eionc, ovviotatai va diaabeetepooektuak touc opouc ts cyyuonnc.
IIAHPOΦOPIEΣ ΓIA THN AΣΦAΛEIA
i προσεκτικα τις Μθηγίες λειτουργίας και εγκαταστασης!
Περιχόνν σημαντικες πληροφρίες σχετικα με τον τρόπο εγκαταστασης, χρήσης και συντήρησης τις συσκεύνις. O κατασκευαστής δεν ευθύνεται εάν δεν συμμορωθείτε με τις Μθηγίες και τις προεδοπούσεις. Διατηρήσε τόλα τα εγγραρα για μελλοντική χρήση ἡγια τον επόμενο κάτοχο.
Mnv ouvdsEeTn ouokevn otyn npoxn nEktpikov pEvmuotc ewc otou aqapseOuv ola ta npootatevtikac ovokvaia c kai eTapopac. KpatnoTe Ta naiaa maKpia kai ao tn ouokvaia kai ano ta xapntmaT a Tnc. Kivduvoaovxiac ano TTuOoMaVA xaptokibwTia kai Iaaotikec mepbavsc!"
Aopntvva npaaevicloe opthia thcog yia tovlaixotov 4 ope c npiv tnv evepyoinon yia vaxptpse t e 0aoditououmieotn va
"Kαθίσει" εὰν ἐχει μεταφερθεί σε σριζόντια θέοη
Kata nV npadoon, 5yTe yia va i e oTo npoiov dEv exv uNooTei Znua kai otI ola ta uepn kai ta eapntmuata evai oE apiotn kataoan
Mny npokaiae zmu oTo Kukawau vuktkov aepiov
- i t p ^ kαi χωpiεμπδia τα ανοίγματα εξαερισμουν πουνιαρχουν στουν χώρο της συοκεύης ἡ στην κατασκεύην εντοιχισμουν
Iot mnv xnpoioiev vepo yia va nluve Tn 0eon tov oumieotn, okovniote kala a eva oteyvo navi maTao tv kathetaapioo yia va anopuyte tn okovipia
Xειριστείτε η συοκεύνη πάντοε με δύο ατουα τουλαχιστόν, διότι εἶναι βαρία.
EykataoTne Kau too0eTne Tn ouokevn 0e mia nKataaAaIyia To eYeOc Ka I tn xpon ts.
Bεβαωθειτε οτι οι ηλεκτρολογικες πληροφόρίες Οτην πινακίδα τύπου συμφωνούν με την αντίστοιχη παροχή ρεύματος.Εάν ὄχι, επικοινωνησε με ἐναν ηλεκτρολόγο.
H ouokevn itovpy i e Tpoopodooia 220-240 VAC / 50 Hz. H uŋ φvioλoyikn δiakuavon
TnC TAcOns Mnpoei va npokalEosI Tny anotvixia Ekkivnoons Tns Oovkeunc n ZnmuoTov EALeyxo 0epoukpaioac n Tov ovmieoTn H mnpei va unapxci avwmaoc hOpuBoc kata Tn λietovpyia. Tnv πepiTTwoon autn, npEeivva tonoeTnOe i evac auToaTOc pvthetaTnC.
Móvo για το Hνωμένο Bασίλειο To καλώδιο τροφοδοσίας της συσκεύής εῖαι εξοπλισμένο με βύσμα 3-καλωδίων (γείωση) που ταίριάζει σε μια τυπική πρίζα 3-καλωδίων (πρίζα με γείωση). Ποτέ μην κόβετε ἡ αποσυναρμολογείτε του τρίτο πείρο (γείωση). Μετά την εγκατάσταση της συσκεύής, το βύσμα πρέπεινα εῖαι προσβάσιμo.
Bεβαιωθείτε οτι το καλδιο τροφοδσίας δεν ἐχει μαγκώσει κατω από τη συσκεύνή κατά τη διαρκεία και μετά τη μεταφορά/μετακίνηση της συσκεύνής, για να αποφεύνχθείτο κόψμοή η ζημία του καλωδίου τροφοδσίας. Eαν ἐχει προκληθεί ζημία στο καλδίου τροφοδσίας, πρέπεινα αντικατασταθεί από του κατασκεύναστή, του εξουσιδοτημένο τεχνικό τουή ατομο με παρόμοια τεχνική κατάρτιση ἀτοι ωσενα αποφεύνχθεί σποισδήποτε κίνδυνός
Mny tootheiTe Tnv ouokvun oev ypa,
Iipn a n okovioeva e np, ouTE va tnv
EkTeTcE Oe anvthetaia gnaiakn akivooia
Kai oE vepo
Mnv too0eTeiE Tny ouokevn kovtα 8 Kαλορερη ενφλεκτa vλικα
IIA oovkevEc mE Xwpo katauVnC: Ee πepiTTwoon δiaKoTnc pEvmuToc, mNv avoileTe to KALUma. Ta KATeuymuEv a TpOphiα δev tha πpei va einnpeaoTouv ev n diakotn δiapkoei liyotepo ano tic ωpec nov avypapovtai otnv etikéta βaθmoLoyiac (xpoVoc auXnOnc Θepuokpaoiac) EaV n δiaKoTn exi μeyalvtepn diapkεia, ta TpOphiα npEne i va eLeyxOuv ka i va katavaawOuv aea n va maeyipEuvov kau va kataaovxOuv ek vou.
Eav diaiota oioe tto kaiakntc ovokevn civai doko lo va avoi e i auoos mc oic to klaioe, mnu avouxite. Auto oeiiaotn diaopap nios nov th a eioomega oesov aoeowc kai th a eippeuoi oto kaakv ax aoilekavovik aet a ano liya aepta.
η εκρηκτικες ὑλες στη Συοκεύη. Kíνδυνος εκρηξης!
Mny too0eTeiE aotao h npOpa (Bapia axtkeivva, doxieia ymuata u e vepo) oTo navw mepoc tov uyiou, ia va anopuyertpauatouc nov npokalovvtai ano ptwon n 1ktpko oK nov npokaleitai ano tnv EanpHmE To vepo.
Mnv xnpouoioite nEeKtpiec oovkevEc OTouc Xwpoc aOoNkEvOnC TOW TPOPIwV TnC OvokevnC, EKToc Eav EivaTou OvviotwEvov tvonov anoTov kataoKevaOTn
Mnv ayyiεTe eowtepkα oToixεia ψuξnc, εidikα με βρεγμενα xερια, για vα απoφύγεTe ρωγμεçη τραυματισμούς
εκίνδυο εδω εῖαι τα παία, σι ἀνθρωποι που ἐχουν περιομένες φύοικες, διανότικες ἡ αἰσθητηριακές ἄκανότητες, καθώς και τα ἀτομα που δεν διαθέτουν επαρκείς γνώσεις σχετικά με τήν ασφαλή λειτουργία της συοκεύς. Bεβαιωθείτε ὅτι τα παίδία και τα ευλωτα ἀτομα ἐχουν κατανόσει ὅλους τους κίνδύνους. 'Eva πρόσωπο που εῖαι Φεύθυνο γία τήν ασφάλεια πρέπεινα επιβλέπει ἡν καθοδηγέι τα παίδία και τα ευλωτα ἀτομα που χρησιμοποιόνν τη συοκεύή. Móvo τα παίδία ηλικίας 8 ετών και μεγαλύτερα μπορουν να χρησιμοποιόνν τη συοκεύή.
Ta naiδia δεν θα πρεπει vα πaiζουν με την συσκεύη
Piδiα ηλikiaç απo 3 εωc 8 ετών επιρεπεταινα βαζουν καινα φαipούν αυτή τη συσκεύ
IIA Ovokevc mE Xwpo KATaVxNc: mNv aNoθnKεvTe Eupiaawéva n Kovερβoioημεva vypα (εiδikα αvθpakovα πotα) σto xwpo KATaVxNc. Ta μπoukαλια και oI φiαλεc μnpεi va σπασουν!
- ΓIA συσκενες με χώρο κατάψιξης: Ποτέ μήν τρώτε (μήν βάζετε καν στόμα σας) κατέψυγμένα τρόφιμα απεύθείας από το χώρο της κατάψιξης. Kíνδυνος εγκαύματων λόγω της πολύ χαμηλής θερμοκρασίας!
- i t p i ta t k t a kaI to OTeYavOioNTIKo TnS nOpTac aNaaayuEvo ano laδι kaI ypaso. Aiaqopetikα, Ta t k mepn kaI to OTeYavOioNTIKo TnS npotac thyivovnpωδη.
-Πριν κανετε οποιαδήποτε εργασία, αποουνδεσετοκαλωδιο τροφοδοσίας από την πρίζα
Mynxpnouoie Te mxaivc es oovkvec n ao 0 E0nlo yia va eitaxvte Tnv dixikaoia anoovnc, diaqopetka a no kiva nanov ouviotwtaa aio tov kataokevao
Mv xpoioiE iE avtkeiEv a E axmu npa n KoPepa akpa onwC maXapia n npovua yia va apaipeoetev tov npyo.
Iotε μην χρησιμοποιείτε πιστόλια
στεγνώματος μαλλιών, ηλεκτρικές συσκεύς
θέρμανος ἡ αλλες παρόμοιες ηλεκτρικές
συσκεύς για απόψύξη
- Suviotatai va διατηρείτε καθαρή την πρία, έποιαδήποτε vπολείματα vπερβολικής σκόνης επάνω στην πρία μπορείν απροκαλέσουν φωτιὰ
Mv npoanae v a eiokevaos, va aoovapuooynoe n va tpoonoioue Tn oovu movl oac. 2e πepintw on eiokevnc Eikovownte naTaNv npetnon c
Na eitnpes ta aia 0tav o kaaoiog n n ouvtnpon ts c ovokvnc ivai oE EeIxi.
Mv Kαθαρiετε Ta Kpva Paipα με ζστó vερó. H απότouμn αλλayn θερμokpασiας μποειν α προκαλεσει to σπáσμo tov γναλιον.
IPOEIAOIOIH: OI Tov Kukawatoc 1eTaoepovu uia uikpn TooTnT auiKoU npoc to epiBaaov aaaa EovkTou vukTKoU (R600a) kai movotikou aepiou (KuklonEvTavio).Aev kataoTpEvi Tn oTiaδa Tou oGvtoc kai dsv auXavci To qauVoevo Tou eepokniov. Eavdelta
vuktiko, mnpεi va tpαuαtiotovv ta ματia σaç ἡν αγίνει αναφλεξη.
Eav to kukwma uuktikov npEeI vauootc i Zmuia:
-AeVepyoonoiote n oukeun kai byaale to 1c,
-KpataoTe TIC yuvcg φOyEc n/KaI TIC TnγEs αvαφλεξηc μakpiα aTn oKevn,
-Aεροτε καλα το δωματιο για αρκετα λεπτα,
-Evμερωστε ην εξυπηρέτηση πελατών.
IIPOEIAOIOIHsH: Mny kataoTppeTo qic n/kaI to kaawdo tropopoosia. Avto mnpv a npokaae i naektpoanxi an npvkayiec.
PIPOEIIOIOIH: MmV XpnooioiTe c πiεc noaanawv θεωv (noλnpia) n φoŋτα tropoodotiká. Δev ouviotovε τη χρσηn kaωδiwv επεktaonc kai npoσapouγewv noλαπawv kατεuθvσεwv.
Mv EpiEipnoe Tne V a KaOioe T n va OaTe oTo eavw uepoc TnC ovokevns. Mnpei va TpaUmaTIOeite n va KataoTpse Tn ouokevn.Autn n ouokevn 8ev evai oxdeltaouEvn yia oToiβaSn m eoiaodnone axan (ovokevn).
To npoiov oXeiaoTei kai kataokevaoTei mOvo yia oikiakn Xpno
Mnpovv va xpnouoiothouv muvo yvnoia avtaaaktik' nov npexovtaa n o tv
kataokevaootn.0 kataokevaostnc yyyuatai oto mov aotα tα avtalakntikα πlnpovv tic anatnoic aoqaaiac.
To avoyua TnC npTac yia eyaLc xpvikc
πeipódelta uopé i va npokaléoEi onmavtikn
auξnon Tns 0epuokpaoiac oTouc 0aλaouc
tns oukevnc
Kαθαρίστε τακτικά τις επιφάνειες που μπορουνν αέρθουν σε επαφή με τα τρόφμα και τα προσβάσμα συστήματα αποστράγγιος
KaOapiotε ta δoxεia vερouδav δev exouv χρησιμοποηεi yia 48 ωρες. ξεπλύνετε to σύστημα του vερou που είναι συνδεδεμένο με παροχήνερouδav δev εχει τραβηχτει vερó yia 5 ημερες
Aioohtkεvotε to wó Koεac kαi ta ψáipα σε KaTαλnλα δoxεia oTo ψvyεio, EToI wOTe vα mny ερxovtai oε επαφη n va μmν σταζouv επavω σε αλλa Tpóφμα
Oi xwpoi aioohtkevocn kateyuymuevwv Tpoipowv dvo aotepwv (av vnapxovv ot n oovkuv) evai katalalnoi yia aiothekvon n8n kateyuvyewv Tpoipuow, Tnv aiohkevON n Tny npaaokevn paywtouk Tyn kataoekvN payokubw
Oi xwpoi aiooKevocg evoc-, dvo- kai Tpivw axetepow (eav vnapxovv oovkeun) 8v
\vivai kataaannla yia tnv katauuyn twv vwnov trooipowv
Eav n ovokev n npaaev i avoiktn yia eya lo xpovko diaoTma, oBnoTe Tnv, Eanaywotc Tnv, kOaipote Tnv, OTeyvwotc Tnv Kau aPnoTe Tnv npTa avoiktn yia va anooye Tnv avantvxiuoxlaac eoa stn ovokeun
- yia oovkevEc ovvtnpnnc Kpaow: H npovsa oovkevn pooepizetai anokkioTikaxia tn ouvtnpnnc Kpaow
- yia ^ ovokevn: n npovsa yuktikn ovokevn v npoopiZeTai va xpnoiopooin wc evtoiXioevn oovkevn
- yia oovkevcs xwpi c thaalmo 4 aotepow: n npovaa yuktiok ouokevn dEv ivaikataaanyn ia tnv katauvsntpoiuw
Anoppi ovoKevow


Autn n ouokevn exi onmuon oupwva e tvv Eupwnaikn odnyia 2012/19/EU oxetuk a ta anoBnra eov nktipko kai nktropovikou eoanlou (WEEE).
Ta WEEE περιχούν τόσο μυπογόνς οὐσίες (οι οποίες μπορούνν αέχουν αρνητικές επιπώσεις στο περιβάλλου) και βασικα εξαρτήματα (τα οποία μπορούνν αχρησμοποιθουν και πάλι). Eivai Σημαντιόν ανισόβάλονται τα WEEE Ε ουγκερμενες επεξεργασίες, ετοι ωστεν αφαρούνται και να απορpiπονται σωστό ὄλα τα μυπογόνα στοιχεία, και να ανακτώνται και να ανακυκλώνονται ὄλα τα Φικά.
Oi 1wTeC mOpov v a diaepaatioov onuavtko plo oTnv eaoqalion ot WEE 8ev 0a yivouv ev a nepaalovtooyik ohtnau civ a tonuavtko va akoloutheiTE opioevouc Baoikoc kavovec:
-
Ta WEEE δεν θα πρέπειν αντιμετωπιζονται σαν οικακα απορριματα,
-
Ta WEE 0 πρεπεινα παραδιδονται στα αρμόδια σημεία συλογής που διαχερίζονται από τις δημοτικές αρχές ἡπό εξουσιδοθημένες εταρείες. Σε πολές χώρες, για μεγάλα WEEE, μπορείνανπάρχεισυλογή από το σπίτι.
Σε πολές χόρες, ὄταν αγοράζετε μία καινουργία συσκεύνή, η παλία μπορείνα επιστραφείστον πωλητήο σοποίος o οποίος πρέπεινα την παραλάβει χωρίς χρέωση σε μία αναλογία μία προς μία, εφόσουν εξοπλισμός αυτός εἰναι σοδύναμου τύπου και ἐχει τις ἔδες λειτουργίες μετον παρεχόμενο εξοπλισμό.
Σνμβατότητα
Tootheuwvtae to avaywpiotiko eavw oae auto to poiov, eipbaowoume tvuBataotnta e oles tic oxetikc Eupwnaikec npoutoeoeic aopaliaac, yieiac kai npostarias tov nepiabalovtoc nov eapmuocovtai ia auto to poiov oupwva e tnv ouovoa vmo0eia.
Eyyunon
H : 2 , 3 o p k i , 1 o i to v w e v o a o l e i o , 1 o c y i a n o s i a , 3 i n o u n s i a , 2 i n e p b i a , 5 i n v o p b i y i a , 1 o c i to a p o k o , 6 n v e c i n a l y e p i a , o t n v t u v n o i a d e v a n a i t e i t a i v o u k i n e y y u n o n .
Eoiokovoumn vepyia
Tia Kaotepn Eoiokovopnon Evpyeiaoc oac ovioToue vα:
TooTheTioSeTe Tny oovkeun aakia ano npyec theepuotntac kai mnu tnv ektheTe 0e i a c nlaikn akivooia kai eoa o eva kaia aepizouevo domegaatio.
Anopuyete vabae tceetc tropec meo a oto yuyio etoi wote va anopuyete tnv auontns eowtepuknc thepuokpaiaac kai enouevw c nTv npoknon tnC ouvexouc 1toupyiac tou uunieotn.
Mv Otpuixve Te Uepoikua Tc Tpopec Eto wote va eivai Eaopauouevn 0wotn avukawon tou apoc.
Kavte anouyen tnc ouokueuc oepintwn nou unapxie npayoc etoi wotev adeltaukolvete nctuawopacnssu
- Σε περπτωη διακοπής του ἡλεκτρικόν ρεύματος, καλό εἰναν αδιατηρείτε κλεισή τὴν πόρτα του ψυγείου.
Avoigtε n kpatntote avoictc tnc npctc tnc ouokunc yia ooo to duvatov ukpotepo xpvukó diostnua
Anopuyetye tny puthetaon o neo lyuypes c 0epokpaoiec.
ApaepoTe Tny oKovn nou unapxEi eavw no Kovta stny oukeun
Eπισκόπηση

Autn n eikova eivai mvo evdeiktikn, yia Tc npakaw tn ouakeun oac.
H TIO O WOTn TAKTIKI yia EdoikovOpnon EvpeyEia c attaTei Tnv TToTOeTtnoOn Oupapiwv,
doxieWv yia Ta TpOphiKaai paipw oTo TPOiov, PapaKaIoUe avatpeTe OTIC napaTavw
EIKOVc.
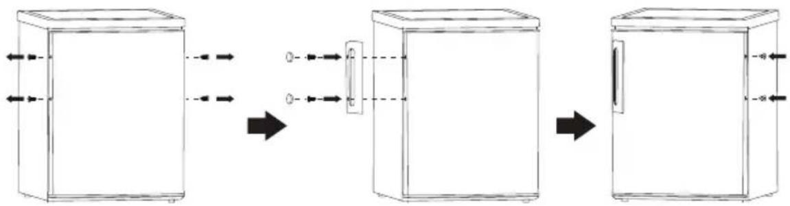
AvTIOtpoqn Tóptac
Anaitoueva epyaia: Katoaβi Philips, iio katoaβiδi, éxywo kεiδi.
- Siyoupeutei 0ti n nuovda exei aTouvdetheta i ano TnTv tropodooia tou emuato kai ivai adeia.
-
Iia va aqaipoeote Tnv npota, TpeTt va yepet Tnv movada Tpoc ta niow.
Oa npentie va akoumuTneTe Tnv movad a eTavw oK kati Otaepo etoi wote va mny yIIOptnoeikata Tnv diapkeia tnc diadiikaoiaac avioTpoqns Tnc npotac
Ola ta eapntnmuata nou apaiopovtai npetie va qualaoovtai yia va yivei n etavatoTOnn Tng Tnpac.
Mny akoumuTATE nV movad a OTO TATWpa yiati auto mtopei va Tpokaalee ietaia oTo ouotma yue
Eivai TpoiioTePo va xeiipioovta 2 atoqa thnu mova kata thv diapkeia tnc ouvaopoloynonc. -
ApaipéoTE duo BiEeG OTy Niaw PEAupa Tou avw kaUmuToC.

- Aφαipεοτε Φ πάνω καλυμμα καί τοῦθετήσε Φ στην ἀκρη.

- Εβδωτε TOV επανω μεντοε και σθη συνέχεια αφαρεότε TNY πόρτα και τοῦθετήσε TNV σε ενα μαλακό μαξιλάρί γία VA ατοφύγετε γρατζουνίες.

- Εβδωτε TOV KATW ΜEVTΕ Σ TNOPTAC TOUT KATAΨUKTN. ΣTNOUVEXIA, ΑφαIPEOTE TNY TIOPTA KAI TOTIOETNTE TNY ΕΕν μΑλΑΚΟ μαξιλρί γι αν ΑΤΟΦΥΕTE ΤΙΟΙΟ.

AvTIOtpoΦn Tóptαç
- MetakivnoTe To otpiuHa TnTnpaC anTo nv apiotepn otnv nAupa.

- MetakivnoTe To kALuMa Tns OTnCs Tou eVTEoE aTIO Tnv apiTeepn Otnv IaIeupa.

- Περιστέψετην πόρτα του καταψύκτην και τοῦθετήσετον μεντεός στην αρίσερπηλεύρα. Kαι στη συνέχεια να καθορίσειτην πόρτα αἰτό κάτοχο.

- Εεβιδωτε TOV κατω μεντεό. Ση συνέχεια, αφαρεότε TA puθμιόμενα πόδια και από τις δύο πλεύρες.

AvTIOtpoqn Tóptaç
- Ebiowte kai aapieote tov tiopo Tou katw eveo, tiepotpeyto ot npiyka kai totoe note to gavá.

- ETTAVATOTTOEITNOTE TO OTnpiyua Tou epapuoczi
OTOV TEIPO TOU KATW MEVTSE.AVTKATAOHTNEKAI TA DUO
puOmu6oEvA Tiobia.

- Čavαβαλε ην πόρτα. Bεβαιωθείτe σι η πόρτα εινα Euθυγραμιομένη σρίσόντια και κατακόρυφα, ἐτοι ωοτε σφρayίδεςν ειναι κλειστές σε ὅλες τιπεύρες πριν σφίξετε τελικάνον ἀνω μεντεός.

- ToTioTeIto Eiavw kALuMPa KAI OTEpeWOTe TO e 2 BIDcOTo TIAW MEPOs.

- Anouvóte Ta πapeμβuσa TnC Tóptac Tou yuyéiou KAI TOU KATAψktn Kai OTN Σuvexia ouvóote Ta μεtá TnV Tπeipotpφn.

ToTOnθετηση
ToTOnnEgWTePiKnsAaBnC nOptac (eav UAPxEi EeWTePiKn AaBn)

ATIaTnOεIc Xwpu
- Diatnpéite apketo xwpo yia to aoiyua tns npotac.


| EF1-16 | EEFEFEFFE 1-F | ||
| A | 50 500 | 550 | |
| B | 80 | 560 | 580 |
| C | 50 | 840 | 850 |
| D | min=50 | min=50 | min=50 |
| E | min=50 | min=50 | min=50 |
| F | min=50 | min=50 | min=50 |
| G | 40 | 855 | 940 |
| H | 1180 | 1110 | 1180 |
Aλφάδιασμα Νης μονάδας
Tia va to kavete auto,putheta ta duo nobia aalpaiaogatoc mptooata noovada. Eav n movada dev ev iai einneneoi npotec kai o Euuypamieic ts maayntiknc tomuoxac dev tha etiKaulttovta owta.


ToTOnoθετηση
Oeon tonoetnong
ToTOnTeTn OuaKeun 0e Onmuio OTou n 0epuokpaia Tou TepiabAovTOc avTIOxEi OTNV Klaatikn Kaon TTou avaypapetai OTnv TIVAKIDA TNS OuaKEUnC. Ia yukTIkeC OuaKEUeC ME Klaipatikn Kaon:
- EKTETaEvn Eukpatn: H T apouoa yuktiK n oukeun TpoopiZeTai yia xpno n oE 0epuokpaoie c TepiBaalovtoc aTio 10°C eWc 32°C),
— Éukpatη: «H Tnapouσα ψuktikό οuokευή Tpopoipζεται για xρήση σε θερμοκραίες Tεριβαλλοντος από 16°C ἀως 32°C», - UTTOTPOITIK: « H TAPOUSA ψUKTIK ΣUOKEUN TPOOPICETAI YIA XPON Ε ΘερμOKPAOIECS TEPIβαλλOVTOC από 16°C εως 38°C»,
- TpoTNIk: «H Tapouoσa ψukTIk σuokεuŋ TpOopiζετai γι αρηση Εθερμοκασες TEPiβαλλovTOC aTó 16°C εως 43°C»,
ToTOnoEeoiα
H oukeun tha pentei va toTOnoetnthetai apketa aTTO Tnyec 0TWC kaLopiep,
muoiAe, aTeuOiaac naiakn aktivoBoia kAT. Sioupeuteite oTI O aepac mTopei va avakukwvetai
EeUthetapa yupw aTo oTioTheta tma tou aamou.
Tia va eaoaipaiotei n bteiotn aiooon, evn oukeun tototheitai katw ano pnoeexouoa movada toixou, n elaxiotn aioataon meaucu tnc kopupnc tou thamou kai nsc movadac tou toixou pentei va ivai toulambdaiotov 50 mm. Ibadvika, wotoo, n ouakeun dev npetie va tototheitai katw ato tic pnoeexouoec movadec toixou.
To oot o aiao a eaoaai etai ano eva n tepioootepa puoiuoeva nodia otnv bao tonou
Autn n yuktiKn oukeun dev Tpoopicietai ia xpan Evtoixoukeun.

PnoeioToinon!
PpTei va uToppie va atoouvdeae Tnu oukeun an to nV npoxn Tou pEuMaos eTouevwC n PpiCa TpeTei va eva Eukola pooBaoim e Ta an to nTv tnotheon
HAEKTPIKH SYNAEsH
Piv aTn Tnv ouvdeon m To pEuua, oivoupeuteite ot n Taon kai n ouxvotnta Tou avypapovtai Etnw stnv TIVAKIDa xapaktnpiotikw Tng oukeunc avtiotoixei e Tnv Tpoopodocia tnc oikiac aac. H oukeun npetri va ouvdethetai e Tnv yeiowon.
H πiça tou kaλωδιου tροφδοσίας διαθέτει μία επαφή γία autó tov σκοπό.
Eav n πiça a napoxnpeuatoC tnc oikiac oac dev eviaoudeepevn e Tnv yeiwn, ouvdoTe Tnv ouokun e ia xwpiTn yiwon oupawa e Tnv iouoovoouoia, ouuboueuóevoi eva TIOToTioInEvnoAektpoAovo.
O kataoekuaotc aTIOIeITai KaeE eUeuvn evd npouvtai oI Tpanavw Tpoqulaleic aopaaiaac.
H oukeun autn oumuopwvetai e Tnv E.E.K. odnyie
Kaθημερινή χρήση
Xpnoynia npwnoopa
Kaapioos Tou eowtepiokou
Piv xpoioioe Tnv oukeun yia Tpwn fopa, TluveTe To eowtepiKai oaa Ta eomegapeika
Eapntmuata me xiaapo vepo kai eva ouetepo aattouvi etoi wote va attaaleiyeTe Tnv tutikn mupwoid
Evoc kaivoupyiou pioovtoc, kai tateoywote oxolaootikca.
Σημαντικό! Mνγ χρησιομτοίησε απορμιαντικά ἡλειαντικές πούβρες, γιατήθα προκαλέσουν ζημία στο φινίρισμα.
Puroon 8epoKpaia
- SuvoTe Tn OuaKeun Oac. H eowTepiKn 0epuokpaia EeVxEaI eva 0epuOoTatn.YIapxouv 8 puOioic.1 evai n 0epuOtepn puoiqn kai 7 evai n uxpotepn otav npuiqn evai O, n OuaKeun Eivai aTVEpyoToiuevN. Otav puOIOTe i OTOpeyioTo, o ouptieotnc dev 0a otapatnoe i va aeitoupyei
H ouakeun mnpei va unv leitoupyei otn oownt hepokpia av evai eEv a idaitepa zeto depoc n av aoivte ouxva tny npta.

Kaθημερινή χρήση
ToTIOeTnOte diaopetiká troφiμa oE diaopetiká diαεpiσμata σuφωνa μE Tov TIVAKA TOU aKoλouθεI
| Xωροι θαλάμου υυγείου | Eiδος προίόντος |
| Πόρτα ἡ ράρία θαλάμου υυγείου | • Tróφίμα μέ φύσικα συντηρητικά, ὄπως μαρμελάδες, χμοί, ποτά, καρικεύματα. • Mn φυλάσετε αλλοιώσιμα τρόφίμα. |
| Συρόται λαχavικών (συρόται σαλάτας) | • Ta φρούτα, ta βότava kai ta λαχavικά πρέτειν αν τοῦθετουνται χωριστά στον χώρο των λαχavικών. • Mny ατοθηκεύετε μπανάνες, κρεμμύδία, πατάτες, σκόρδο στο υυγείο. |
| Páφι υυγείου - μεσαίο | • *ΓαλακτOKομίκα προίόντα, auγά |
| Páφι υυγείου - επάνω | • Tróφίμα που δεν χρείαζονται μαγείρεμα, ὄπως ἀτοίμα προς κατανάλωσην τρόφίμα, αλλαντίκα, περίσεύματα. |
| Συρόται (-a)/δίσκος κataψύκτη | • Tróφίμα γία μακροχρόνία ατοθήκευούη • Kátω συρότάρι γία ωμό Κρέας, πουλερίκα, ψάρία. • Μεσαίο συρότάρι γία κατεψυμένα λαχavικά, πατάτες. • ἀπάνω δίσκος γία παγώτό, παγωμένα φρούτα, κατεψυμένα μαγείρεμένα προίόντα. |
Kaθημερινή χρήση
Σuσtaaŋ puθμiαnç θερμokpαiaç
| Σύσαση ρύθμισης θερμοκρασίας | ||
| Θερμοκρασία περβάλουντος | Θάλαος Κατάψιξης | Θάλαος ψυείου |
| Zέση 29℃ - 38℃ | / | |
| Pύθμιση στο 2-4 | ||
| Kavovikó 21℃ - 28℃ | / | |
| Pύθμιση στο 4-5 | ||
| Kρύo 16℃ - 20℃ | / | |
| Pύθμιση στο 5-6 | ||
Oi npapantaw w npopopoe tspeoxuov stouc xnoTeC ouotaoeig ia n puthetaian ng thepokpaiaic.
Eππτωσεις στην αποθήκευση οροφίμων
- Pnoteivetai n puθmion tnc θερμokpaoiac σtouc 4°C σtov θαλaμo tou ψuyeiou kai, oTou εiva εφiktó, σtouc -18°C σtov θαλaμo tnc katáwus.
TIA TIC TEPIOOOTEPKATNYOPIEc TPOPIUW, O EYAAUTEPOC XPOVOS ATOHKeUoNCS OTOV HALAO TOU yuyeiou ETITUYXAVETAI ME YUXPOTEPCEG EEPOKPaoies. DEDOU VOTI OPIOEVA SUYKEKPIeVA TPOIOvTA (OTWC TA QPEOKA QPOUTa KAI LAXAVIKA) MTOPEI VA KATAOTPAQUV ME YUXPOTEPCEG EEPOKPaoies, OUVIOTATAI VA TA DIATNPTE 0TA OUPTAPIA TOW LAXAVIKW, OTOTE UTTAPXOUV. EAV DEV UTTAPXOUV, DIATNPNTe MiA EON PUBMION TOU EEPMOATn. - Iα kατεψuγμένα τρόφιμα, ανατρέξε Θον χρόν αποθήκευσης του αναγραφεται επάνω στην συακευασία των τροφιμων. Autός o χρόνος αποθήκευσης επιτύχανεται καθε φρόα που η μιση εἶσι σύμφωνη με τις θερμοκρασίες αναφοράς του θαλάμου (Ενα αστέρι -6°C, δύο αστέρία -12°C, τρία αστέρία -18°C).
Kaθημερινή χρήση
Katau ±b npEoKuw TpoipuWv
O thaoos Tou katauuktn eivai katalaaanloq ia tnv katauugn ppeokwv tropimuv kai tnva aTohkeun Tpoipmuw aaInc kai baohic katauusns yia evalo xpvio diotma.
ToTnOeTnOe Ta pEoKa TpOphiMa TOnu TpOkeiTai va KaTaUxOouv OToV KaTaUxKtn.
H TIOOTNTa TPOPIW VIOU MTOPOUV va KAATAUxOouv Oe 24 wpeC avapepetai OTNV TIVAKIDXAPAKTNIPTIKWV.
Hdeltaikosa katauueg diapkei 24 wpe: kat a nv diapkeia autnc tnnc tepiodou mnu npoothe tpoqipua yia va katauythetauv.
AToθnkeuon kATEψuyμévou Φayntou
Kata tvn npwn Ekkivnon n meta aTio ma Tepiodo ktoc xponc, TPIV toTIOeTnoeTe TO poiov
Esigma oTov thao apnoTe Tnv ouokun va aeitoupynoei ia toulambdaioTov 2 wpeC otic meyaautepec
puOmuEiC.
Σημαντικό Σε περίπτωση τυχαιας απόμιξης, για παράδειγμα εχει διακοπείη Πτροφοδοσία για μεγαλύτερο χρονικό διαστημα από Εκείνο που αναφέρεται στο διαγραμα τεχνικών Καρακτηρισικών κατω απότον “χρόν αύξησς”, τα πρόφιμα που εχουν απόμιχθεί πρεπείν αλαταναλωθουύν γρήγορα ἡν αγαείρευτουύν αμέσως και μετάνα καταψύχθουύν και πάλι (αφου μαγείρευτουύν).
Eπayωμa
Ta trophiia a iac n atanlc katauuqns, potou xpnoiopoiothouv, mtopoov va atouuyouv mea oTov thalao tou yueiou n e 0epukpaia domegaiou, avaloya u e Tov diaeoioo xpovo ia autn tv evpyia.
Mikpa koumaia tropuov va mayeipeuotuv akopa kai evw eakoouoov va eivai panayupeva, aTeuEiaac aoTov kaatauktn.
Σε αυτή την περίπτωση, Σαγείρεμα θα διαρκεσει περιοσότερο.
ToTOnθετησηραφιώνπόptaç
Tia va yivei n aTIOthkeuON OUsKEuaoiw TpOpiWv diaPOpWv
eYe0wv, ta pAia Tns Tnptac mTtOPOuv va toTIOeTNOUV oE
diapopa uyn. Tia va kaveTE autc Tc puOioeic TPOxwpnoTe wS
Engs: TpaBnCTe OTabiKa To paPI TPOC TNV KATEUUVON TWV BELWV
mExPI VA aTTAEuOepwOei, KAI OTN OUVEXIA EITAVATOTTOETNE TO
OTIWCSATAITEiTai.

Kaθημερινή xpólση
Xpnoiueusntoideieickaioumualec
Tia va aac Bonnooue va agioiOnoTe oTo eTakpo Tn diaikocia katauuG, aokouoov uepikec onmuavtkec oubetaue
- n éyioTn TIOOTnTa TPOiμv TIOIPOuV va KATAUxOouv o24 wpeC avapepetai OTNV TIVAKIDα Xapaktnpiotikwv, n diabikacia katauusng diapkei 24 wpeC. Δev πpTei va TPOoTEoUv aaaa tpoipma TOU TTpeTie va KATAUxOouv kata tvN diapkeia autng ts nTPEPIOBou
- katauEepeKa kai nau Ka ka a Kaapiaeva, TpOipua uynnns nioiotntac
- TPOETOJAOTA TPOPIA OE MIKPEC EPEIDEC YIA VA TA KATAUUETE YPHYOPA KAI VA TA KATAOHTHOETE OUIBATAE TNV KATAUEN KAI VA TA KATAOHTHOETE IKAVA VA ANTOUXOUV OTNVAATIOUTOUEVN TIOOTNTA
- tuλiEτa tpoφiμασε αλομινóxapto n μεμβpavn poiythene kai εξασφαλiσε οτι oι συσκεuaσες είναι αεροστεγεις
- unv apnve Ta vwna, mnt kateuuymeva trophi ma evxovtae E TAnp n e trophi a Tou eivai h n kateuuymeva, atoepuyovtac etoi nvy auqonn tnc 3epukpaiaac touc
Ta ataxa TpOphi aTTOthkeuovta Kautepa KAI TEPIOOTepo aTo aIITapa To aAtimuivTn diapkeia aTTOhKeuongTwv TpOipuw
Ta TAYAKIA VEPOU, EAV KATAVAALWOTOU AVEOSWCETA TNY ANOPAKPVONTO ATO THAALPO TNC KATAPUENCS, EIVAI DUVATOV VA TPOKALESOUV TNY KATAPUEN TO DEPUGTOS
ouviotatai va avaypapetai n npepounvia angs tsnc katauugns oe kae atoukioukeuaoia, wote va aapeitai anto tnv katauugn. Evexetai va TpokanEiykauma anto katauugntou depaato
ouviotatai va exete eupavn tyn nepounvia katauuugc okeeovwpevnt ouokuaia, wote va mtopite va kpatnoetene oneiowon tou xpovou antohtkeuong.
YtOBeiEIGyia aTOnKeUON KATEeuyuEvw TpOpiWv
Tia va eTTIUXETe Tny KAUTEp n aTOdoon anTo autn Tny oukeun, 8a TTpeTe va:
- 0TI ta kATEpsiuyueva TPOphia Tou EPTOPIOU aTTOHKeUTNkav ETAPKwC aTTOV EPTOPO AIAVIKns TOWANNS
- βεβαιωθείτοι τα κατεψυμένα τρόφιμα μεταφέρονται από το καταστημα τροφιμων στον καταψύκτην συντομότερο δυναόν
- mny avoiyete ouxva tnv npota n tv apnveTe avoixtn peioootepo ato otivai antoautwacatapaitnto.
afou Eeaywouv, ta trophiia aaloiowovtai ypyopa kai dev tha tnpouv va katauxoov xa - unv utepbaivete nTv Tepioo aTIOtheKeuonc TIO avaypapetai aTO tv TApaywO Twv TpoipuWV.
Ynoeieic yia katauugn ppeokwv trophiow
Tia va eTTIUXETe Tn BELTAIOIT aIIOOOn:
Mny aTOnkEeTe ZTo foaynto n uypa Tnou EgatmuOvtae oTo yuyeo
KaIuTneTuAIETeTaTPOpIpa,IdaIepeAevExouvduvatmupwia.
Kpeac (oAoI oTuTIOI): TuaiTe e TOnuThevio kai ToTTOeTnote To EtTavw e yuaiva paia Tavw aTo t Ouptapi TwV ayavikwV.
Iia loyous aqaaesas, anothekeuote e auov tov tpnto movo ia n duo nupec to nolu.
Mayepévea tropiα, kpu a hiata kλt... auta TpétTEI va kaAUTTovTai kai va toTTOεTOUVTA OE OTIOIDHTOTE pαφι.
- Φρούτα και λαχανικά: autá πρέπειν αλαθαρίστουν προεκτικά και να τόποθετηθούν στο εἰδικό συμτάρι(a).
Boutupo kai tupi: auta Tpentei va toTIOtheouvtai oE EIDika aepooteyn doxieia n va eivai tuaiyeva aaloumuoxapto n oakouAe canto TIOuauiuLevio yia va aapeitai 00 to duvatov Tepiootepo o aepac.
Mtoukaiia yalaa:auta a TpETTEvaexouv eva kattaki kai a TpETTEva atnoTkeuovta oTa papia OTnv TnOPTa.
Oi ttavave, oi tatae, ta KpemuDia kai To oKopdo, evv evivai oukeuaoEva, dev TpTeIva quaoovtai oTo yuyio.
Kaθημερινή χρήση
Kaapipoos
Ia loyouc uyieivns, to eowtepiKo Tns ouokueun, ouuTEPIaauavouevwvTwv eoWTEPIWvEapntmuTsw, 0a TpTei va Kathetaicai taktia.

Poox! H oukeun dev 0a TpeTVA eivai ouvdeevn u Tnv npoxn Tou peuatoKata nTv diapkeia Tou kaopou. Kivduoc nekpottanxiac! PIV aTO tv KAthetao, oBnte Tnv oukeun kai apaeote to aTO TTV pIgca npoxnc peuatoC nATVEpyoioTe Tov aOpaaleioiaokottn n Tnv aOpaiaia.Mnv KaapieTE nToT Nv oukeun e atoKaapiotn. H ypaia mtopei va ouoowute i e naektpika Eapntmu, kivduoc nekpottanxiac! Okautoatpouvva Tpokaeeouv bAabn Ota Tlaatikaupepn. H oukeun TpeTVA eivai OTeynn Tpv TEei nai OE Aitoupvia.
Σημαντικό! Ta αιθερία ἐλαια καιογανικοί διαλύτες μπτορουν va πτοσβάλλουν πλαοτικα μέρη, π.x. o χμος λεμονιόν έντοχμος τής φλουδας του πτοροκαλίου, το βουτυρικό σξύ, τα καθαριστικα του πτερίεχουν σξίκό σξύ
1) EAV o ouuukwnti gpioketai oto mio wepoc tsoukeuris.
MnV aHvETe TEOIEc OuaIEc va epXovTal e Eaapn u Ta Eaaptmu ta nG oukeun.
Mny xpnoioutoie Tiaavtka kaapiotik
ApaipoeTe Ta TpOphi aTTOV KATAuuktn.
AIOθηκεύστε τα σε ενα υuxρο μέρος, καλα σκεπτασμένα.
- Σβησετην συακεύη και αραρεόσετο φις από την πρίζα παροχής ρεύματος ἡαπενεργοτοίησε τοῦ ασφαλεδιδιακότιπη ἡν την ασφάλει
Kaθapiote Tny ouokue n kai ta eoewepika eapntmu a eva navi kai xiaipo vepo.
- Metá a tró tov kaθaipio ΕπIauve Με kaθapο vepo kai oEvwot.
Apoou exouv oeywoei oA theoT nai eAeitoupyia tv ouakeun.
Anouuoukatauuktn
O thalaooc nC katauuqns, wtoo, 0a kaluptei otadiaka e TAYETo. Autoc 0a TpETe va apaipetai. Note mV xpnoiopoioite aixnpa metaalikc epyaleia via va atouakpuveTov TAYo ano TnV EbaTOpeta kaowc 0a mtopoouate va tvkataoTppeTE. OTOOO, otav O TAYOC yivetai TIOAU TAXUC OTNV EOWTEPIK N TTVDua, n atouuGn TpETe va Tpayatotoinei wC ENSC:
- aTouvdeTe to uOa aTro Tnv TpiCi
aopaipoe ola ta aTOnkkeuueva trophiia, tuaTe ta e diapopa otpwupa Ta epipda c kai totoehtne ta oepoepo epo
Kpatnate avoiktn Tnv Tnpa kai totoehtne iia ae kn kato tn ouakeun yia tn oulloyn tou vepou nC atropsiEng - 0tav oλokλnpωθει n atroψuξη, Θeγvωte kaλa to εοιωτepiko
TOTIOETnTe KAI TAI TO BuaOa OTNv TpiCa yia va aeIoupynoe i Gava n ouakeun.
AvikataoTnLapTac
To eowtepiok woc ivai tuTou LED. ia va avtikataohtoe tn laut, etikoivwovte Eeiokeuevo texiKO..

AIAGEIMOTHTA ANTAAAKTIKQN MEPQN
Oi eepoootates, oiaontnpec eepokpaiaoc, o TAAkeTc TUTWevuv Kukwpatv Kai O Tnye c wtoctdi tvi aouaxiotov etia xpvia metv kukaoopopia tou teauaiou tumuato tsou povteau
λαβες πορτών, λαβες πορτών, ράρία καλαθία γία ελαχιστη περίδο επτὰ ετών κα οτέγανοντοίησεις πορτών γία ελαχιστη περίδο 10 ετών, διαθέτοντας το τελευταιό μέρος του μοντέλου στήν αγόρά.
Kaθημερινή χρόση
Avtipetwion TpoBAnatov

Ppooxnl Piv aTo TnV avTtewTion TpoBAnuTsw, aToouvdeote Tnv TapoXn peUaTOc. Movo EaC eIOkeuEvoc nAeKtpoAoYoC kavo aToO pTeTVE va KaveI Tnv avTtewTion TpoBAnuTwV Tou Ev TepiaaavovTai o auto To EYxEpiio.
ημαντικόl Yπάρχουν σρίαμεύοι ἡκοι κατά τή διαρκεία Σκανονικός χρήσς (συμτίεστός, KUKλοφορία μυκτικόμέσου).
| Πρόβλημα | Πθανή αία | Λύση |
| H συακεύη δεν λειουργέ | Ο επιλογέας ρύθμιας θερμοκραίας ἐχει σρίατει στον αριθμό "0". | Puθμίατε tov επιλογέα σεάλλο αριθό μίανεργοῦτοίης τη συακεύή. |
| To φις δεν εἶναι συνδεδεμένο στην πρίζα ἡ εἶναι χαλαρό | Βάλε to φις στην πρίζα παροχής ρεύματος. | |
| H ασφάλεία εχει καεί ἡ εἶναι ελαATTωματική | Ελέγεξτην ασφάλεία, αντικataοτήσετην εάν χρείαζεται. | |
| H πρίζα εἶναι ελαATTωματική | Οι δυλειουργίες του δικτύου παροχής ρεύματος πρέπεινα ετιοκεύαζονται από Ενηλεκρολόγο. | |
| To φαγητό εἶναι πολύ ζεσό. | H θερμοκραία δεν εἶναι puθμιαμένη σωστά. | Παρακαώ κοιτάξετην ενότητα της αρχίκός ρύθμιαςτης θερμοκραίας. |
| H πόρτα ἡταν ανοίχή γία μεγάλo χρονίκό δίαστημα. | Aνοίξε ινη πόρτα μόνο γία σόσα χρείαστεί. | |
| Exει τοῦθειθεί στην συακεύη μία μεγάλη ποσότητα ζεοτών τροφίμων A μέσα στίς τέλευταίες 24 ψες. | Γρίσε ιν puθμίαη ης θερμοκραίας Εμία πίο υμχρή ρύθμίαη. | |
| H συακεύη εἶναι κοντά σε μία πηγ θερμότητας. | Παρακαώ koιτάξετην ενότητα της τοῦθειθόπας. | |
| H συακεύη κριώνει έπερβολίκα | H θερμοκραία εἶναι puθμιαμένη πολύ χαμηλά. | Γρίσε Προσωρίνά Τουμπί υμθμίας Ψε θερμοκραίας Εμία πίο ζεοτή ρύθμίαη. |
| Aσυνήσιοι θόρμοβοι | H συακεύη δεν εἶναι επιπέθη. Puθμίσε ξανά | τa πόδια. |
| H συακεύη ακουμπάει στον τοίχού ἡ εάλλα αντικίμενα. | Μετακυήσε έλαφρά την συακεύή. | |
| Eva εξάρτημα, π.x. ἡνας σωλήνας, στο πισω μέρος τής συακεύης αγγίζει ἡνα Δλλο μέρος τής συακεύης ἡνον τοίχο. | Εάν χρείαζεται, λυγίσε ΠροσεKTÍKÁ TO εξάρτημα μακρύ. | |
| Nερό στο πάτωμα | H τρύτα αποστράγγίσης του ερού εἶναι μπλοκαρίαμένη. | Ανατρέξε οτην ενότητα Καθαρίαμός. |
| To πλaiόν πλαισίο εἶναι ζεσό | O συμπικυωτής εἶναι μέσα στο πλαισίο. | Εἶναι φυσιολογίό. |
Eav epaivietai kai tai nduoaeitoupyia, eikovwovnotee to Kevtro texvkiC esuunnpetno.
Ia va eTKIOVWvnoTee ne TnV TeXVIK BOntheia, EtnoKepEite Tov IToTOno aC: https://corperate.haier-europe.com/en/. 2TnV Evotnta "websites", EtnieEte Tn MApka Tou TPOiovTOc Oac KAI Tn Xwpa Oac. Oa avakateuuvtheiote OTov ouykepiévo IToTOno OTou MTopeiteva Bpeite Tov apiOto NLeFwou KAI Tn Fopma yia va eTKIOVWvnoTee ne TnV TeXVIK BOntheia
Tia TepiooTepeC TAnpoopieC OxetikAe To Tpoiov, OouBouLeuteite Tn DieuOuvon https://eprel.ec.europa.eu/ n oapwote to QR OTNV EvepyiaKn Etiketa Tou Tnpexetai Etn OuaKeun.
To Nio u x p o Mepoo Tou Puyeiou
To Tnapakatw ouuBoLo uTobEikVuei Tn eoT nC TIO Kpuac Tepioxnc Tou yuyeiou aC. H Tepioxn autn utoBekvuetai e eva oxetiko ouuivai Kovtao otov aveipotnpa oTO EAVW uepoc n aTto papitou piaoketai oTO idio uoc.

Tia va diaoopaiaoe Tn eepokpaa oe autnv tnv Tepiox, 8eaiwtheiE ot n theaoutou Tou paiou dEv exei aalaei.
TONOθETHΣH TOY ΕΙΚΤΗ ΘΕΡΜΟΚΑΣΙΑΣ
Tia va oac bOnthnoi va puOmuotc to yuyio ac, auto (to yuyio) evai
EoTIAOevo eEvDcIgN 0epuokpaoia c Tou a npakoauei n eoan 0epuokpaoia otnv
TIO Kpua Tepioxn. PPOEIADONOIH2H: Autn n EvdEign Tpoopicietai movo yia xpnon mTO
yuyio oac. Dovrtae va unv To xnpoiotoinse 0e allo yuyio (n TIO Kpua Tepioxn
tou aaou yuyeiou 8iaqepei)
Eav εμφaviεtai to 'OK', n θερμokpασia σε auto to tμnμεivai πολ uψnλ. Puθμiσte Tov θερμoσταπ Σ ε uψnλότepn θεση. Περιένετe touλαίσιον 12 ωες πριν puθμiσετεξανα Tov θερμoσταπ. Aφou totnoθεntnoε Φρεoka tpóφιμa μεσα ση οuokευή μετα απο επανλαβαvóμενo (n παραταμενο) ἀνογμα της πόρτας, ειναι φισιλογικόν a μην εμφaviεtai n ενδειξη 'OK' στην ενδειξη θερμokpασίας.
Notice-Facile