BME 800 - Bohrmaschine Herkules - Kostenlose Bedienungsanleitung

Finden Sie kostenlos die Bedienungsanleitung des Geräts BME 800 Herkules als PDF.

📄 34 Seiten Deutsch DE 💬 KI-Frage
Notice Herkules BME 800 - page 3
Handbuch anzeigen : Français FR Deutsch DE Italiano IT

Questions des utilisateurs sur BME 800 Herkules

0 question sur cet appareil. Repondez a celles que vous connaissez ou posez la votre.

Poser une nouvelle question sur cet appareil

L'email reste privé : il sert seulement à vous prévenir si quelqu'un répond à votre question.

Aucune question pour l'instant. Soyez le premier à en poser une.

Laden Sie die Anleitung für Ihr Bohrmaschine kostenlos im PDF-Format! Finden Sie Ihr Handbuch BME 800 - Herkules und nehmen Sie Ihr elektronisches Gerät wieder in die Hand. Auf dieser Seite sind alle Dokumente veröffentlicht, die für die Verwendung Ihres Geräts notwendig sind. BME 800 von der Marke Herkules.

BEDIENUNGSANLEITUNG BME 800 Herkules

Art.-Nr.: 42.596.01 BME 800

Gebrauchsanweisung Elektronik-Schlagbohrmaschine

Navodilo za uporabo Elektronski udarni vrtalni stroj SLO Anleitung BM-E 800 E 02.11.2001 7:40 Uhr Seite 12

SLO Anleitung BM-E 800 E 02.11.2001 7:40 Uhr Seite 23

Anleitung BM-E 800 E 02.11.2001 7:40 Uhr Seite 34

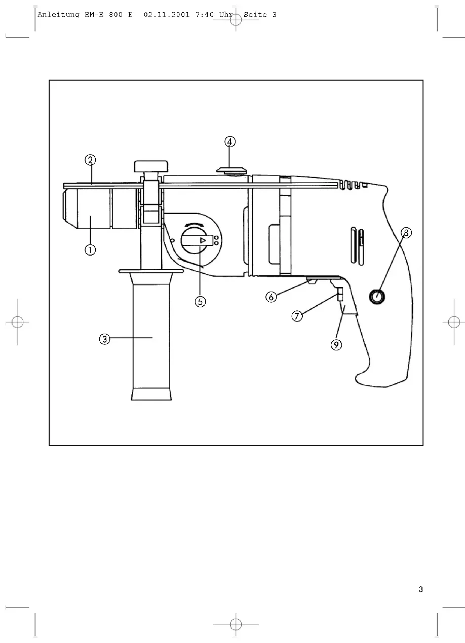
Lieferumfang BME 800 Schnellspannbohrfutter 1,5 - 13 mm, Zusatzhandgriff mit Tiefenanschlag VERWENDUNG Die Bohrmaschine ist zum Bohren von Löchern in Holz, Eisen, Buntmetallen und Gestein unter Ver- wendung des entsprechenden Bohrwerkzeugs ausgelegt. Beschreibung 1 Schnellspannbohrfutter 2 Bohrtiefenanschlag 3 Zusatzgriff 4 Bohren/Schlagbohren-Umschalter 5 Umschalter 1. Gang / 2. Gang 6 Rechts-/Linkslauf-Umschalter 7 Drehzahl-Regler 8 Feststellknopf 9 Betriebsschalter Technische Daten Netzspannung 230 V ~ 50 Hz Aufnahmeleistung 800 W Bohrleistung Beton 16 mm. Stahl 13 mm Holz 25 mm Leerlaufdrehzahl 1. Gang 0 - 920 min

Leerlaufdrehzahl 2. Gang 0 - 2650 min

Schlagzahl 0 - 39.000 min Schalldruckpegel LPA 103 dB(A) Schalleistungspegel LWA 116 dB(A) Virbation a

Schutzisoliert Gewicht 2,4 kg Achtung ● Die BME 800 ist nicht zum Antrieb von Vorsatz- geräten ausgelegt. ● Nicht im Bereich von Dämpfen oder brennbaren Flüssigkeiten verwenden. ● Nur scharfe Bohrer und geeignete Schrauberbits verwenden. ● Ziehen Sie bei allen Umbau- und Reinigungs- arbeiten den Stecker aus der Steckdose. ● Das Gerät nicht am Netzkabel tragen. ● Den Stecker nicht durch ziehen am Netzkabel aus der Steckdose entfernen. ● Achten Sie vor dem Einstecken des Netzsteckers darauf, daß der Betriebsschalter nicht arretiert ist. ● Bei Verwendung von Kabeltrommel, Kabel voll- ständig abrollen. Drahtquerschnitt min. 1,5 mm

● Maschine nicht überlasten. ● Sichern Sie alle zu bearbeitenden Werkstücke ausreichend. ● Kindern unzugänglich machen! ● Achten Sie auf einen sicheren Stand auf Leitern oder Gerüsten bei freihändigem Bohren. ● In Wänden, wo Strom, Wasser oder Gasleitungen unsichtbar verlegt sind, zuerst die Leitungen mit einem Leitungssuchgerät lokalisieren. ● Tragen Sie eine Schutzbrille und verwenden sie eine Staubmaske bei stauberzeugenden Arbeiten. ● Reparaturen dürfen nur vom Elektrofachmann durchgeführt werden. ● Verwenden Sie nur original Ersatzteile ● Die Lärmentwicklung am Arbeitsplatz kann 85 dB(A) überschreiten. In diesem Fall sind Schall- schutzmaßnahmen für den Bedienenden erforder- lich. Das Geräusch dieses Elektrowerkzeuges wurde nach ISO 3744, NFS 31-031 (84/537/EWG) gemessen. ● Der Wert der ausgesendeten Schwingungen wurde nach ISO 8662-8 ermittelt. Wartung ● Halten Sie Ihre Bohrmaschine immer sauber. ● Benutzen Sie zur Reinigung des Kunststoffes keine ätzenden Mittel. ● Bei übermäßiger Funkenbildung überprüfen Sie die Kohlenbürsten. ● Halten Sie die Lüftungsschlitze frei. ● Sollten Sie Beschädigungen feststellen, können Sie anhand der beiliegenden Explosionszeich- nung, sowie der Teil-liste, Ersatzteile genau defi- nieren und bei unserem Kundenservice anfordern. Anleitung BM-E 800 E 02.11.2001 7:40 Uhr Seite 45

Schiebeschalter in Stellung Schlagbohren. Nur im Stillstand umschalten! Hinweis: Beim Bohren in Fliesen und Kacheln Stellung Bohren einstellen! Schiebeschalter in Stellung Bohren. Nur im Stillstand umschalten! Ein/Ausschalter: Einschalten: Schalter A drücken Dauerbetrieb: Schalter A mit Feststellknopf B sichern. Ausschalten: Schalter A kurz eindrücken. Durch mehr oder wenig starkes Drücken des Schalters A wählen Sie die Drehzahl. Durch Drehen der Rändelschraube im Schalter A können Sie die Drehzahl vorwählen.

Getriebeumschaltung Stellung 1. Gang Getriebeumschaltung Stellung 2. Gang Anleitung BM-E 800 E 02.11.2001 7:40 Uhr Seite 56

marcia Anleitung BM-E 800 E 02.11.2001 7:40 Uhr Seite 1516

preklop gonila položaj za 1. hod preklop gonila položaj za 2. hod Anleitung BM-E 800 E 02.11.2001 7:40 Uhr Seite 2526 Ersatzteilzeichnung BME 800 Art.-Nr.: 42.596.01 I.-Nr.: 91019 Anleitung BM-E 800 E 02.11.2001 7:40 Uhr Seite 2627 Ersatzteilliste BME 800 Art.-Nr.: 42.596.01 I.-Nr.: 91019 Pos. Bezeichnung Ersatzteilnr. 01 Antriebswelle 1/2“ 42.592.20.01 02 Befestigungsschraube 42.592.20.03 03 Seegerring 35 42.591.02.21 04 Lagerhülse 42.591.02.20 05 Dichtungsring 42.591.02.09 06 Kugellager 60022RS 42.591.02.19 07 Seegerring 15 42.591.02.10 08 Feder 42.591.02.62 09 Getrieberad 42.592.20.10 12 Kugel 5 42.591.02.64 14 Bolzen 5x10 42.591.02.63 16 Drehknopf 42.591.02.11 17 Bolzen 42.596.00.02 18 Schraube 3,9 x19 42.591.02.46 20 Rotor 42.591.02.41 21 Stator 42.591.02.38 25 Kohlebürste (Paar) 42.592.20.19 26 Bürstenhalter 42.592.20.17 30 Schraube 4,2x80/20 42.591.02.25 31 Lagerhülse 42.591.02.39 32 Kugellager 607 2Z 42.591.02.40 33 Schieber 42.591.02.06 34 Kondensator 42.591.02.42 35 Drehknopf 42.591.02.18 36 Dichtung 42.591.02.17 37 Schraube 4x45/20 42.591.02.26 38 Elektronikschalter 42.596.00.03 40 Zierring 42.596.00.04 44 Zugentlastungsschelle 42.591.02.45 45 Netzleitung 42.591.02.43 46 Knickschutztülle 42.591.02.44 51 Zusatzhandgriff komplett 42.596.00.05 61 Kugellager 6082 42.591.02.31 63 Dichtungsring 42.591.02.08 65 Zwischenradwelle 42.596.00.06 71 Schnellspannbohrfutter 42.596.00.07 72 Schraube 42.596.00.09 76 Motorgehäuse 42.596.00.11 81 Unterlegscheibe 42.591.02.68 84 Getriebegehäuse 42.596.00.10 86 Lagerschild komplett 42.596.00.12 87 U-Scheibe 42.596.00.08 Anleitung BM-E 800 E 02.11.2001 7:40 Uhr Seite 2728

CERTYFIKAT GWARANCJI Okres gwarancji zaczyna się od momentu kupna urządzenia i kończy się po upływie 5 roku. Gwarancja obejmuje wadliwe wykonanie wyrobu oraz wady w materiale lub w funkcjonowaniu urządzenia. Klient nie płaci za potrzebne do usunięcia usterki części zamienne oraz za czas pracy. Producent nie odpowiada za szkody pośrednie. Państwa serwis obsługi klientów Anleitung BM-E 800 E 02.11.2001 7:40 Uhr Seite 30GARANTIEURKUNDE Wir gewähren Ihnen fünf Jahre Garantie gemäß nachstehenden Bedingungen. Die Garantiezeit beginnt jeweils mit dem Tag der Lieferung, der durch Kaufbeleg, wie Rechnung, Lieferschein oder deren Kopie, nachzuweisen ist. Innerhalb der Garantiezeit besei- tigen wir alle Funktionsfehler am Gerät, die nachweisbar auf mangelhafte Ausführung oder Materialfehler zurückzuführen sind. Die dazu benötigten Ersatzteile und die anfallende Arbeits- zeit werden nicht berechnet. Ausschluß: Die Garantiezeit bezieht sich nicht auf natürliche Ab- nutzung oder Transportschäden, ferner nicht auf Schäden, die in- folge Nichtbeachtung der Montageanleitung und nicht norm- gemäßer Installation entstanden. Der Hersteller haftet nicht für indirekte Folge- und Vermögensschäden. Durch die Instandsetzung wird die Garantiezeit nicht erneuert oder verlängert. Bei Garantieanspruch, Störungen oder Ersatz- teilbedarf wenden Sie sich bitte an. ISC GmbH · International Service Center Eschenstraße 6 · D-94405 Landau/Isar (Germany) Ersatzteil- und Reparatur-Abt.: Telefon (0 99 51) 942 357 • Telefax (0 99 51) 26 10 und 52 50 Technische Kundenberatung: Telefon (0 99 51) 942 358 GARANT∑ BELGES∑ Satın alınan günden itibaren garanti süresi baµlamıµ olup garanti beµ yıl geçerlidir. Düzgün bir µekilde olmayan veya materialden veya iµlem hatalarından kaynaklanan durumlar garantiyi kapsarlar. Bunun için gerekli olan yedek parçalar ve onarmak için onarım süresi hesaba katılmaz. Bunu takiben olabilecek bozuklukların sorumlulu©u üstlenilmez. Müµteriye bakan partner servis GARANCIJSKI LIST Garancijski rok začne teči z dnem nakupa in znaša 5 leto. Garancija velja za pomanjkljivo izvedbo ali napake na materialu ali pri delovanju. Uporabljeni rezervni deli in eventualni porabljen čas za delo se ne obračunajo. Garancije za posledično škodo ni. Vaša kontaktna oseba v servisni službi SLO

Handbuch-Assistent
Unterstützt von ChatGPT
Warten auf Ihre Nachricht
Produktinformationen

Marke : Herkules

Modell : BME 800

Kategorie : Bohrmaschine