KüchenChef 14.1512.01 - Thermometer TFA - Kostenlose Bedienungsanleitung
Finden Sie kostenlos die Bedienungsanleitung des Geräts KüchenChef 14.1512.01 TFA als PDF.
Benutzerfragen zu KüchenChef 14.1512.01 TFA
0 Frage zu diesem Gerät. Beantworten Sie die, die Sie kennen, oder stellen Sie Ihre eigene.
Eine neue Frage zu diesem Gerät stellen
Laden Sie die Anleitung für Ihr Thermometer kostenlos im PDF-Format! Finden Sie Ihr Handbuch KüchenChef 14.1512.01 - TFA und nehmen Sie Ihr elektronisches Gerät wieder in die Hand. Auf dieser Seite sind alle Dokumente veröffentlicht, die für die Verwendung Ihres Geräts notwendig sind. KüchenChef 14.1512.01 von der Marke TFA.
BEDIENUNGSANLEITUNG KüchenChef 14.1512.01 TFA
TFA No. 14.1512 Anl 02 21 10.02.2021 16:42 Uhr Seite 1
Zubehor / Accessory / Accessoires / Accessorio / Toebehoren / Avios
30.3525.60
2 Edelstahl-Cilips zur Befestigung des Führers
2 stainless steel clips to fix the probe
2 clips en acier inoxydable pour fixer la sonde
2 clips in acclaro inossidabile per il fissaggio della sonda.
2 clips uit roestvrijstaal om de sonde te bevestigen
2 clips de acaro inoxidable para fazer la sonda
Bedienungsanleitung
Instruction manual
Mode d'emploi
Istruzioni per l'uso elettrico.
Gebruksaanwijing
Instrucciones de Uso




Kat. Nr. 14.1512
TFA No. 14.1512 Anl 02 21 10.02.2021 16:42 Uhr Seite 2

Fig.1


Fig. 2




TFA No. 14.1512 Anl 02 21 10.02.2021 16:42 Uhr Seite 3

Fig. 3

Küchen-Chef-Digitales Grill-Braten/Ofenthermometer
Vielen Dank, dass Sie sich für dieses Gerät aus dem Hause TFA entschieden haben.
1. BevorSlemit dem Gerat arbelten
- Lesen Sie sichitte die Badienungsanleitung genau durch.
So werden Sie mit dem neuen Neuer Gerät vertraut, lernen alle Funktionen und Bestandeteile kennen. erfahren wichtige Details für die Inbetriebnahme und das Ergebnis mit dem Gerät und ergebnis Toper für den Sondereinfluss. - Durch die Beachung der Bediunungsanleitung vermeiden Sie auch Beschadigung des Gerätes und die Gefährung
Ihrer gesetzlichen Mangelrechte durch Fehlgebrauch. Für Schaden, die aus Nichtbeachlung dieser Bedienungsanlei
lung verursacht werden, übernehmen wir keine - Ebenso halten wir nicht für inkorekte Messwerte und Folgen, die sich aus solchen ergeben können.
Beachten sie undersdiers die Sicherheitswerte! - Bewaren Sie die sie beziehungsanleiung gut auf.
2. Lieferumfang
Digitales Grill-Braten-/Ofanthermometer
Eidelstahnfuhler mit ca. 120 cm Kabel (Kat.-Nt. 30.3528)
Bedlenungsanleitung
- Einsatzbereich und alle Vorteile ihrer neuen Gerätes auf einen Blick
Gleichzeitige Überwachung der Ofen- und Kerntemperatur
Zur optimalen Zubereitung von Fleisch und Cellugel


D



TFA No. 14.1512 Anl 02 21 10.02.2021 16:42 Uhr Seite 4
Küchen-Chef - Digitales Grill-Braten-/ Ofenthermometer
- Verwendbar für den Backofen oder Grill, ideally auch zum Garen bei Niedrigtemperatur
Einschunfer aus Eualstand mit ca. 120 en
-
Individuelle Temperaturvorgabe einstellbar
-
Alarmton bei Erreichen der Zieltemperatur
-Officet
Hintergrundbeaufitung
- Mit Berichtigungsmagnet und ausklappbarem Stander
4. Zu ihrer Sicherheit
- Das Produkt ist ausschließlich für den aber beschriebenen Einsatzbereich gaage nat. Verwendten Sie das Produkt nicht anders, als in dieser Anleitung dargeftellt wird.
Das eigenmachtige Reparieren, Umbauen oder Verandern des Gerates ist nicht gestattet.
Diasas Gerat ist nicht fur medizinische Zweckgaeignat.

Verletzungsgefahr:
Tragen Sie hizbestaantige Schutzhandschuhe, wenn Sie den Massluher während oder nach dem Kochvorgang berühren.
Verotrenndngsgelam!
Bellizienie das Gerat nicht in der MioKowelle.
VORSCHNIT ZAHM OMBANG MIT DEM SPITZ EINSCHUNBER

Küchen-Chef-Digitales Grill-Braten-/Ofenthermometer

Bewahren Sie das Gerät und die Batterien zußernhalb der Beichweite von Kindern auf.
Batterin enthalten gesundheitsschädliche Säuren und känner bei Vorschlucken lebensgaffählich sein. Wurde eine Balle- vrie verschluck, kann这点 innerhalb von 2 Stunden zu schwerten Inneren Verzufungen und zum Tode führen. Wenn Si vermuten, eine Batterie konnte verschluck oder anderweitig in den Körper gelangt sein, nehem Sie sofort medizinische Hufe in Anspruch.
Battarian nicht ins Fauer werfen, kurzschlieben, auseinandernehmen oder auilladen. Explosionsgelahr
Um auslaufen der Batterien zu vermeilen, sollen schwache Batterien möglichst Schnail ausgelaucht werden. Verwenden sie nicht gleichzeitige alte und neue Batterien oder Batterien unterlichendes Typs.
Beim Hanlieren mit ausgelaffenen Batterien chemikalienbestandige Schutzhandschuhe und Schutzbrille fragent

Wichtige Hinweise zur Produktschicherheit!
- Setzen Sie das Anzeigergete keiten extremen Temperatoren, Vibrationen und Erschüttungen aus. Nur der Fühler und das Kabel sind hinzebestandig bis 300^ . Halten Sie nominals den Fühler direkt über Feuer.
Tausen Sie das Anzeugegerfall, den Fehligertrift und das Kabel nicht in Wasser; sonst kann Fechtigkeit erdringen und zu Fehlunzahlen führen. Nicht in der Solmase machine reinigen.
Vorsicht bei scharfkantigen Rahmen und Scharnieren Das Kabel nicht knicken oder daran ziehen.
5. Bestandteile
A:Display Fig.1
A 1: Uhrzeit A 2: Temperaturinheit

TFA No. 14.1512 Anl 02 21 10.02.2021 16:42 Uhr Seite 5
Küchen-Chef - Digitales Grill-Braten-/ Ofenthermometer
Display Kertemperatur
A3: Aktueile Kerntemperatur A4: Ziele temperatur
A5: Symbol Temperaturobergrenze A6: Alarmsymbol
Display Ofentemperatur
A7: Aktuelle Ofentemperatur A8: Temperaturobergrenze
A9:Symbol Temperaurobergrenze A10:Alarmsymbol
A 11: Temperaturuntergrenze A 12: Symbol Temperaturuntergrenze
B: Tasten (Fig. 1):
B1:ON/OFF Taste B2:ALARM Taste
B3:LIGHT Taste B4:+Taste
B5:-Taste
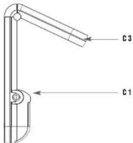
C:Gehäuse (Fig.2):
C1: Anschluss für Temperaturfuhier C2: Batteriefach
C3: Stander (ausklappbar) C4: Befestigungsmagnet
D: Fuhler (Fig. 3):
D1:Einstichtuhler D2:Griff
8
D Kichen-Chef-Digitales Grill-Braten/Ofenthermometer
D
D3: Sensor Ofentemperatur D4: Kabel
D 5: Anschlussstecker
6. Inbetriebnahme
- Stecken Sie den Verbindungsstecker für das Fühlerkabel in den Anschluss.
- Ofnen Sie das Batteriefach und legen Sie zwei neue Batterien 1,5 V AAA ein. Achten Sie auf die richtige Polarität beim
Einlegender Batterien. Es werden alle LCD Segmente kurz angezeigt.
SchlieBen Sie das Batteriefach wieder
Die Stundenanzeige blinkt - Stellen Sie mit der + oder - Taste die Stunden ein.
Bestätigen Sie mit der ON/OFF Taste. - Geben Sie auf gleiche Weise die Minuten ein.
Bestatigen SIE mit der UN/OFF Iaste. - Das obere Display zeigt Ihrn die Uhrzeit, das mittlere und das untere Display die aktuelle Temperatur an.
Das Gerat Ist betriebsbereit.
7. Bedienung
Mit der ON/OFF Taste körnen Sie das Gerät aus-, anschalten.
- Drücken und halten Sie die ALARM Taste, um zwischen "F (Fahrenheit) oder "C (Celsius) als Temperaturanzeige auszuwahlen.

!
?
12/14
TFA No. 14.1512 Anl 02 21 10.02.2021 16:42 Uhr Seite 6
Küchen-Chef - Digitales Grill-Braten-/ Ofenthermometer
- Drücken Sie die LIGHT Taste. Die Hintergrundbeleuchting wird kurzzeitig aktiviert.
- Hallen Sie im Finsellmodus die + oder - Taste gedrückt, galanien Sie in den Schnelllauf.
Halten sie die O/N/OFF Taste im Normalmodus für drei Sakundan gadrect, um in den Einstellmodus für die Uhrzeit zu gelagen.
7.1 Messvorgang
Zum Messen der Kernertemperature: Stecken sie den Führer mindestens 2.5 cm fief in die Mitte des dickten Bratenbeits, bei Gefüllig zwischen Rumpf und Schenkelf; er solle weder Knochen noch Knorpel barühn und nicht aus dem Braten herausgen. Schienen den Braten in den Olen und stellen sie die unsprüchende Olentemperatur ein. Der Messfähler bleibt während des ganzen Bravovangs im Braten.
Die Ofentemperatur wird oleichzeitig gesesser
Fruhr Sie das Kapel bereits nach zu den. Es passst sich der Form der Öffentlichung an, Vorsicht bei scharktanigen Rahmen und Scharmieren!
- Das Thermometer in Ofenstraße (Kabelinge, ca. 120 cm) platzierten. Mit dem Magnet können Sie das Gerät auf einer Metalbohrleitung beziegten oder barbeiten. Sie danuskapplerbaren Standan zur Ausfallstätten oder Aufhängen.
7.2 Temperaturalarm
- Drucken Sie die ALARM Taste, um in den Alarmmodus zu gelangen.
-
-
- erschainf im Display der Kernlamparatur und das Symbol und das Alarmsymbol bilien.
-
Küchen-Chef-Digitales Grill-Braten-/Ofenthermometer

- Drücken Sie die ON/OFF Taste, um den Alarm zu aktivieren. Das Alarmsymbol ist nicht.
-70°C (Voreinstellung) oder der zuleZt singeseltte Wert blinkt im Display
Stellen Si mit der + oder -Taste die gewinschte Karntemperatur ein.
Bestätigen Sie ihre Eingabe mit der ALARM Taste. -
- " erschelt im Display der Ofentemperatur und das Symbol und das Alarmsymbol bilfen.
- Drucken Sie die ON/OFF Taste, um den oberen Garraumalarm zu aktivieren. Das Alarmsymbol XN entscheidt.
- 70^ (Voreinstellung) oder der zuletzt eingestellte Wort blinkkt Im Display.
- Sie kopen mit der + oder - Taste den oberen Temperaturwert einstellt.
- Bestätigkeiten Sie ihre Erlangabe mit der ALARM Taste.
-
- "erscheint im Display der Ofentemperatur und das Symbol und das Alarmsymbol bilken.
- Drucken Sie die ON/OFF Taste, um den unteren Garraumalarm zu aktivieren. Das Alarmsymbol entscheidiert.
G (Voreinstellung) oder der zuletzt einpestallte Wert blind im Display. Sie konnen mit der + dar - Tasta den uptaren
Temperaturwertinstellungen
Besttigen Sie Ihr Eigabe mit der ALARM Taste.
7.3 Alarmfall
-EnAarpton arion
- Wenn die eingestelle Kerntemperatur erreicht ist


TFA No. 14.1512 Anl 02 21 10.02.2021 16:42 Uhr Seite 7
Küchen-Chef-Digitales Grill-Braten-/Ofenthermometer
- Wenn die eingestellte Temperatursbergrenze im Garraum übersritten wird.
- Wenn die eingestellte Temperaturuntergrenze im Barraum unterscriften wird.
Die Hintergrundbeleuchting schaltet sich ein. - Drücken Sie eine beliebige Taste, um den Alarmton auszuschalten.
Das Alarmsymbol kot solange weiter, bis die gamessene Kerntemperatur unter der eingastellen Temperatur liegt
bzw, bis die gemessene Ofentemperatur wieder innerhalb der Alarmgrenzen liegt.
Wird der Alarm nicht unterbrochen. schaltet sich der Alarmton automatisch nach 3 Minuten aus
Schaillen Sie die einzeln Anlarmfunktionen mit der ONOFF Taste im jasziligen Alarmnodus aus. Das Alarmsymbol
ersheint
8. Pflege und Wartung
Reinigen Sles Geerl und den Führer mit einem weichen, leicht fauchten Tuch. Keine Scheuer-oder Lösungsmitgliverwenden! Vor Fauchlichkeit schulden.
- Saillte Wasser oder Dampf in die Buchse erdingen, können das Kontrakt mit dem Führkabel beinfrachtigten. Trocken sie den Stecker vor Gebrauch mit einem Tuch ab, bevor sie im Anzeugegerat anschließen.
Schalten Sie das Gerät nach Gebrauch aus.
- Entfernen Sie die Batterien, wenn Sie das Gerat langere Zeit nicht verwenden.
- Bewahren Sie Ihr Garal an einem trockenen Platz auf.
Kuchen-Chef - Digitales Grill-Braten-/ Ofenthermometer
D
8.1 Balleriewechsel
- Wenn das Batteriesymbol entscheidt, yechsalm Sieitte die Batterien.
- Offnen Sie das Batteriefach und legen Sie zwei neue Batterien 1,5 V AAA potlichtig ein.
Schlieben Sie das Batteriefach wieder.
9. Fehlerbeseitigung
Problem Lösung
Keine Anzeige Gerat mit der ON/OFF Taste einschalten
Batterien polrlichtin einlegan
Batterien wchsein
Unkorrekte Anzeige Batterien weichsein
Kontakt des Steckers mit der Buchse profen. gegabenenfalls abtrecknen
Anzeige. 一 ^ 一 ^ C ^ Kabelfuhler einstacken
Kontakt des Steckers mit der Buchse prufen
Temperatur außerhalb des Messbereichs
Temperaturanzeige zu hoch Sitz des Messfuhlers im Braten prufen
Wenn ihr Gerät troz dieser Maßnahmen immer noch nicht Funktioniert, wenden Sie sich an den Handier, bei dem Sie das Produktiku besteht.




TFA No. 14.1512 Anl 02 21 10.02.2021 16:42 Uhr Seite 8
Küchen-Chef-Digitales Grill-Bratenthermometer
D
10. Entsorgung
Dieges Produkt wird unter Verwendung hochwertiger Materialien und Bestandteile hergestellt, die recycleit und wiederverwerten werden können.

Batterien und Akkus dürfen keinesfalls in den Hausmulll
Abs Verbrauch der und Si gesetzlich verpflichtet, gebrachte Batterie und Akkus zur umwelterechten Entsorgung beim Handel oder entsprechenden Sammlerstalten gemäß国家标准en oder klonaten Bestimmungen abzücks.
Die Bazeichnungen fur anbaltene Schwarmetalle sind
Cd=Cadmium, Hg=Quicksilver, Pb=Bil

Dieses Gorst ist entsprechend der EU-Richtlinie über die Entsorgung von Elektron- und Elektronik-Angleraten (WEEE) gekeganzeitlich.
Diess Produi dar nicht mit dem Hausmull entsorgd werden. Der Nuter ist verpflichtet, das Aliger zur umwettgerechten Entsorgung bei einer ausgewiesenen Annamestelle für die Entsorgung von Elektro- und Elektronikgraten abzugehen.
- Technische Daten
| Messbereich | -20 | °C...300°C | (-4, +572°F) |
| Auflösung | |||
| Karnitpermatür 0,1°C | |||
| Ofentemperatur 1°C |
Küchen-Chef-Digitales Grill-Bratenthermometer
D
Spannungsversorgung 2 x 1,5 V AAA Batterien (nicht inklusive)
Verwenden Sie Alkaline Batterien
Geltäusemaße 60 x 20 (95) x 99 (61) mm
Gewicht 80 g [nur das Gerät]
Dinl Aodng ou Auszge Daruier nui mit Zustimmung f TPA Postmann vortreifertion weren. Die schaene daten entsprchen dem Stand bei Duaadn und einnere ohne vorahe der Aarachnagcigand erderd.
Die neuensten technischen Daten und Informationen zu ihrer Produkt fnden Sie auf unserser Hemege under Angate der Anikel-Nummer in das Suchfeld
www.lfa-dostmann.de
TFA Dostmann Gribl & Co.KG, Zum Ottersberg 12. D-97877 Wertheim, Deutschland 02121
14
13/14
T
TFA No. 14.1512 Anl 02 21 10.02.2021 16:42 Uhr Seite 9
Kichen-Chef-Digital BBQmeat/oven thermometer
Küchen-Chef-Digital BBQ meat / oven thermometer

TFA No. 14.1512 Anl 02 21 10.02.2021 16:42 Uhr Seite 10
Kichen-Chef-Digital BBQmeat/oven thermometer
Küchen-Chef-Digital BBQ meat / oven thermometer
Core temperature display
TFA No. 14.1512 Anl 02 21 10.02.2021 16:42 Uhr Seite 11
Kichen-Chef-Digital BBQmeat/oven thermometer
Küchen-Chef-Digital BBQ meat / oven thermometer

TFA No. 14.1512 An1_02_21 10.02.2021 16:43 Uhr Seite 12
Kichen-Chef-Digital BBQmeat/oven thermometer
Küchen-Chef-Digital BBQ meat/oven thermometer
GB
TFA No. 14.1512 An1_02_21 10.02.2021 16:43 Uhr Seite 13
Küchen-Chef-Digital BBQmeat/oven thermometer
9. Troubleshooting
Problem Solution
Küchen-Chef-Digital BBQmeat/oven thermometer
GB

TFA No. 14.1512 Anl 02 21 10.02.2021 16:43 Uhr Seite 14
Küchen-Chef-Digital BBQmeat/oven thermometer
Housing dimension 60 x 20 (96) x 99 (61) mm
TFA No. 14.1512 An1_02_21 10.02.2021 16:43 Uhr Seite 15
TFA No. 14.1512 Anl 02 21 10.02.2021 16:43 Uhr Seite 16
TFA No. 14.1512 Anl 02 21 10.02.2021 16:43 Uhr Seite 17
TFA No. 14.1512 Anl 02 21 10.02.2021 16:43 Uhr Seite 18
TFA No. 14.1512 An1_02_21 10.02.2021 16:43 Uhr Seite 19
TFA No. 14.1512 Anl 02 21 10.02.2021 16:43 Uhr Seite 20
TFA No. 14.1512 Anl 02 21 10.02.2021 16:43 Uhr Seite 21
TFA No. 14.1512 Anl 02 21 10.02.2021 16:43 Uhr Seite 22
TFA No. 14.1512 Anl 02 21 10.02.2021 16:43 Uhr Seite 23
Küchen-Chef - Termometro digitale per arrostie griglate / per fornno
7.2 Allarme temperalura
TFA No. 14.1512 An1_02_21 10.02.2021 16:43 Uhr Seite 24
Küchen-Chef-Termometro digitale per arrostie grigliate/per fornso
TFA No. 14.1512 Anl 02 21 10.02.2021 16:43 Uhr Seite 25
Küchen-Chef-Termometro digilate per arrostie grigliate/per fornno
Cavo 1,2 m
TFA No. 14.1512 Anl 02 21 10.02.2021 16:43 Uhr Seite 26
Küchen-Chef-Digitale vlees/oventhermometer
TFA No. 14.1512 Anl 02 21 10.02.2021 16:43 Uhr Seite 27
Küchen-Chef-Digitale vlees/oventhermometer
Küchen-Chef-Digitale vlees / ovensthermometer
D3: Sensor oventemperatuar D 4: Kabel
D5:Aansluitingosstekker
6. Inbedriftstelling
TFA No. 14.1512 Anl 02 21 10.02.2021 16:43 Uhr Seite 28
Küchen-Chef-Digitale vlees/oventhermometer
TFA No. 14.1512 Anl 02 21 10.02.2021 16:43 Uhr Seite 29
Küchen-Chef-Digitale vlees/oventhermometer
TFA No. 14.1512 Anl_02_21 10.02.2021 16:43 Uhr Seite 30
Kichen-Chef-Digitaile vlees/oventhermometer


11. Technische gegevens
TFA No. 14.1512 Anl 02 21 10.02.2021 16:43 Uhr Seite 31
TFA No. 14.1512 Anl 02 21 10.02.2021 16:43 Uhr Seite 32
TFA No. 14.1512 Anl 02 21 10.02.2021 16:43 Uhr Seite 33
TFA No. 14.1512 Anl 02 21 10.02.2021 16:43 Uhr Seite 34
TFA No. 14.1512 An1_02_21 10.02.2021 16:43 Uhr Seite 35
TFA No.14,1512 Ani 02 21 10.02.2021 16:43 Uhr Seite 36
Küchen-Chef-Digital BBQmeat/oven thermometer
GB
Küchen-Chef-Digitale vlees / oventhermometer
E
EinfachAnleitung