Smartline BKH 80 ST S P - Dunstabzugshaube BERBEL - Kostenlose Bedienungsanleitung
Finden Sie kostenlos die Bedienungsanleitung des Geräts Smartline BKH 80 ST S P BERBEL als PDF.
Benutzerfragen zu Smartline BKH 80 ST S P BERBEL
0 Frage zu diesem Gerät. Beantworten Sie die, die Sie kennen, oder stellen Sie Ihre eigene.
Eine neue Frage zu diesem Gerät stellen
Laden Sie die Anleitung für Ihr Dunstabzugshaube kostenlos im PDF-Format! Finden Sie Ihr Handbuch Smartline BKH 80 ST S P - BERBEL und nehmen Sie Ihr elektronisches Gerät wieder in die Hand. Auf dieser Seite sind alle Dokumente veröffentlicht, die für die Verwendung Ihres Geräts notwendig sind. Smartline BKH 80 ST S P von der Marke BERBEL.
BEDIENUNGSANLEITUNG Smartline BKH 80 ST S P BERBEL
Dokumentinformationen
Gebrauchs- und Montageanleitung für:
Kopffreihaube BKH 80 ST
Kopffreihaube BKH 80 ST permalyt
Kopffreihaube BKH 90 ST
Kopffreihaube BKH 90 ST permalyt
Beschreibungen sind für alle Modelle identisch.
Auf Unterschiede wird gesondert hingewiesen.
Abbildungen zeigen:
- Kopffreihaube BKH 90 ST
Originalanleitung.
Teil des Produkts.
Urheberrechtlichgeschützt. - Vervielfaltigung, Nachdruck und Weitergabe nur mit Genehmigung.
- Änderungenvorbehalten.
Sicherheitschinweise
△GEFAHRI!
Hinweise mit dem Wort GEFAHR warnen vor einer gefährlichen Situation, die zum Tod oder zu schweren Verletzungen führt.
WARNING!
Hinweise mit dem Wort WARNING warnen vor einer gefährlichen Situation, die zum Tod oder zu schweren Verletzungen führen kann.
VORSICHT!
Hinweise mit dem Wort VORSICHT warnen vor einer Situation, die zu leichten oder mittleren Verletzungen führen kann.
△ACHTUNG!
Hinweise mit dem Wort ACHTUNG warnen vor einer Situation, die zu Sach- oder Umweltschäden führen kann.
Symbolerklarung Text
Handlungsaufforderung
Aufzahlung
Verweis auf andere Stellen in thism Dokument
Verweis auf andere Dokumente, die zu beachten sind
Symbolerklarung Abbildungen

Hervorhebung der Aktionsteile mit Flächen
- Handlungsschritte mit Nummerierung
A Teilebezeichnungen mit Großbuchstaben
X Maße mit Kleinbuchstaben oder Einheiten in mm
Bewegungs- und Richtungspfeile
Inhaltsverzeichnis
1. Sicherheitsinformationen 4
1.1 Bestimmungsgemäß Verwendung 4
1.2 Autorisierte Zielgruppen 4
1.3 Allgemeine Sicherheitshinweise 4
2. Produktinformationen 5
2.1 Funktionsprinzip 5
2.2 Umluftbetrieb 5
2.3 Produktübersicht 5
2.4 Lieferumfang. 6
2.5 Technische Daten. 6
3. Montage 7
3.1 Sicherheitshinweise zur Montage. 7
3.2 Anforderung an den Montageort. 7
3.3 Anforderungen bei Umluftbetrieb 7
3.4 Montageschritte 8
3.4.1 MontageVBorbereiten 8
3.4.2 Gerat auspacken 8
3.4.3 Innenliegende Teile entnehmen 9
3.4.4 Gerat aufhagen 10
3.4.5 Zubehör anschließen 12
3.4.6 Spannungsvorsorgung herstellen 13
3.4.7 Umluftfilter permalyt einbauen.. 13
3.4.8 Innenliegende Teile einsetzen 14
3.4.9 Kontrolle und Inbetriebnahme durchfuhren.15
4. Bedienung 16
4.1 Sicherheitshinweise zur Bedienung 16
4.2 Bedienfeld 16
4.3 Normalbetrieb. 16
4.3.1 Nachlauffunktion 17
4.3.2 Kochfeld-Beleuchtung 17
5. Reinigung 18
5.1 Sicherheitshinweise zur Reinigung 18
5.2 Reinigungsmaßnahmen. 18
6. Instandhaltung 20
6.1 Sicherheitshinweise zur Instandhaltung. 20
6.2 Wartung. 20
6.2.1 Filter-Fullung wechseln 20
6.2.2 Leuchtmittel wechseln 21
6.3 Storungsbehebung 21
7. Demontage 22
8. Entsorgung 22
8.1 Verpackung entsorgen 22
8.2 Gerat entsorgen. 23
9. Anhang 23
9.1 Kontakt 23
1. Sicherheitsinformationen
1.1 Bestimmungsgemäß Verwendung
Das Gerat dient zur Absaugung von Kochdünsten.
Das Gerat ist ausschließlich für den Einsatz in privaten Haushalten bestimmt.
Das Geratarf Nur mit Original-Filtern des Herstellers verwendet werden.
Die Verwendung des Gerats ist nur zulässig in technisch einwandfreiem Zustand und nach korrekter Montage. Jede andere Verwendung gilt als bestimmungs widrig.
Zur bestimmungs gemäß Verwendung gehort auch das Lesen und Beachten dieser Anleitung.
1.2 Autorisierte Zielgruppen
Elektrotechnische Arbeiten nur durch qualifizierte Elektrofachkräfte gemäß DIN VDE 0100. Anforderungen an qualifizierte Elektrofachkräfte:
Kenntnis der Grundlagen der Elektrotechnik.
- Kenntnis der landesspezifischen Bestimmungen und Normen (in Deutschland z. B. DIN VDE 0100, Teil 701).
- Kenntnis der einschlagigen Sicherheitsbestimmungen.
- Kenntnis der einschlagigen, gesetzlichen Bestimmungen für Gasinstallationen (in Deutschland z. B. die technischen Regeln Gasinstallationen TRGI).
Kenntnis dieser Anleitung.
Montage und Reparatur nur durch qualifiziertes Fachpersonal. Anforderungen an qualifiziertes Fachpersonal:
- Kenntnis der Bestimmungen zur Arbeitssicherheit.
- Kenntrisse in der Befestigungstechnik.
- Grundkenntnisse in der Luftungstechnik.
- Erfahrung in der Nutzung von elektrischen und mechanischen Werkzeugen.
- Kenntnis im Lesen von technischen Zeichnungen.
Kenntnis dieser Anleitung.
Bedienung, Reinigung und Instandhaltung durch Benutzer. Anforderungen an die Benutzer:
Kenntnis dieser Anleitung.
Für folgende Benutzer gelten besondere Anforderungen:
Kindern ab 8 Jahren und darüber.
- Personen mit verringerten physischen, sensorischen oder mentalen Fähigkeiten.
- Personen mit Mangel an Erfahrung und Wissen.
These Benutzer dürfen nur tätig werden bei Bedienung, Reinigung und Wartung. Besondere Anforderungen:
Benutzer werden beaufsichtigt.
- Benutzer wurden bezüglich des sicheren Gebrauchs des Geräts unterwiesen.
Benutzer verstehen Gefahren im Umgang mit dem Gerät.
- Kinder)dürfen nicht mit dem Gerät spielten.
1.3 Allgemeine Sicherheitschinweise
△WARNUNG!
Gefahr durch Nichtbeachtung der Gebrauchs- und Montageanleitung!
These Anleitung enthalt wichtige Informationen für den sicheren Umgang mit dem Gerät. Auf möglichche Gefahren wird weitere hingewiesen.
Lesen Sie diese Anleitung sorgfältig durch.
Befolgen Sie die Sicherheitshinweise in dieser Anleitung.
Bewahren Sie die Anleitung zugänglich auf.
Offene Flammen konnen das Gerät beschädigen und Brände verursachen.
- Gasbetrieb nur mit kurzer Gasflamme (nicht über den Rand des Topf Bodens hinaus).
- Kein Flambieren unter dem Gerät.
- Kein unbeaufsichtigtes Frittieren unter dem Gerät.
In folgenden Fällen ist die Benutzung des Geräts untersagt:
- Wenn erforderliche Sicherheitseinrichtungen fehlen (z. B. Unterdruckwächter bei gleichzeitiger Verwendung einer raumluftabhängigen Brennstelle).
- Wenn erforderliche Genehmigungen fehlen (z. B. durch Schornsteinfeger).
In explosionsgefahrdeten Umgebungen. - Bei Beschädigung des Geräts oder einzelner Bauteile.
- Bei eigenmächtigen Umbauten oder Veränderungen des Geräts.
- Wenn Flüssigkeit in das Gerät eindringt.
- Bei starker Verunreinigung.
- Für Kinder unter 8 Jahren und Personen, die Gefahren im Umgang mit dem Gerät nicht einschätzen können.
In folgenden Fällen übernimmt der Hersteller keine Haftung für Schäden:
- Bei Nichtbeachtung dieser Anleitung.
- Bei bestimmungswidriger Verwendung des Geräts.
- Bei unsachgemäßer Montage und Handhabung des Geräts.
- Bei Verwendung des Geräts durch nicht autorisierte Zielgruppen.
- Bei Umgebung der Sicherheitseinrichtungen am Gerät.
- Bei Verwendung von Ersatzteilen, die nicht vom Hersteller hergestellt oder frei gegeben wurden.
Weitere Sicherheitshinweise stehen in den jeweils relevanten Kapiteln in dieser Anleitung.
3.1 Sicherheitshinweise zur Montage" (Seite 7).
4.1 Sicherheitshinweise zur Bedienung" (Seite 16).
5.1 Sicherheitshinweise zur Reinigung" (Seite 18).
6.1 Sicherheitshinweise zur Instandhaltung" (Seite 20).
2. Produktinformationen
2.1 Funktionsprinzip

Zentrifugalkraft
Kochdünste werden durch einen Spalt in die Haube gesogen, beschleunigt und bogenfornig umgelenkt.
Durch die entstehende Zentrifugalkraft werden Schmutz partikel (z. B. Fett- und Ölpartikel) aus der Luft herausgeschleudert.
Die Schmutzpartikel werden an der Ober- und Unterschale sowie am Auffangsieb (Capillar Trap) abgeschieden und gesammelt.
Back-Flow-Technologie
- Eine Kondensat- oder Tropfen bildung auf der Frontblende oder der Unterseite (z. B. wenn Wasserdampf auf die kalte Fläche trifft) wird verhindert durch eine von unter nach oben angeordnete Belüfung.
- Ein Teil der abgeführten Abluftmenge wird an der Rückseite der Dunstabzugshaube darüber geführt, über die Unterseite zur Front eingeblasen und gezielt in den Ansaugspalt gelenkt.
2.2 Umluftbetrieb
Das Gerät wird in der Betriebsart Umluftbetrieb verwendet.
Die Filter-Füllung im Umluftfilter neutralisiert die vorhandenen Geruchsanteile. Die geruchsfrei, gereinigte Raumluft wird dem Raum wieder zugeführrt. Durch Frischluztufhr kann die Luftfeuchtigkeit im Raum reduziert werden.
Beim Umluftbetrieb ist die Benutzung der Nachlauffunktion erforderlich, damit das Gerät die restlichen Geruchsanteile aufnehmen kann. Durch Benutzung der Nachlauffunktion wird die Lebensdauer der Filter-Füllung erhöht. Die Filter-Füllung muss regelmäßiger ernuert werden.
2.3 Produktübersicht

A Frontblende
B Bedienfeld
4.2 Bedienfeld (Seite 16).
C Ansaugspalt
D Haubenkorpus
E Kochfeld-Beleuchtung

A Oberschale
B 2 Capillar Traps (herausnehmbar)
C Unterschale (innenliegend, herausnehmbar)
D Typenschild - auf dem Haubenkorpus hinter dem Capillar Trap

A Stellschrauben fur das Ausrichten
B Anschlussbuchse fur Netzkabel
C Anschlussklemmen fur Mauerkasten, Fensterkontakt-schalter (Multifunktions Kontakt) und Bus-Anbindung
2.4 Lieferumfang

A Umluftfilter (im Haubenkorpus). Das Modell ist abhängig von der Ausführung:
Umluftfilter BUF-BDL
Umluftfilter permalyt BUR BKH ST
B Haubenkorpus mit Frontblende
C Kaltgeratekabel
D 2 Nylondübel 8 mm
E 2 Sechskant-Holzschrauben 6 × 60 ~mm , verzinkt
F Gebrauchs- und Montageanleitung
Das Befestigungsmaterial ist nur für Massivbau geeignet.
2.5 Technische Daten
| BKH 80 ST, BKH 80 ST permalyrt | BKH 90 ST, BKH 90 ST permalyrt | |
| Anschlussspannung230 V/50 Hz | 230 V/50 Hz | |
| Gesamtleistung | 186 W, 311 W1 | 186 W, 311 W1 |
| LeistungsaufnahmeLüfter170 W1 | 70 W | |
| Leuchtmittel | LED 15,6 W | LED 15,6 W |
| Beleuchtungsstärke auf der Kochfeld-Oberfläche | 387 lx | 387 lx |
| Breite | 800 mm | 900 mm |
| Tiefe | 420 mm | 420 mm |
| Höhe | 389 mm | 389 mm |
| Gewicht netto | 28,5 kg, 30,0 kg1 | 29,5 kg, 31,0 kg1 |
1 Ausführung mit Umluftfilter permalyt
Angaben zum Modell (z. B. Seriennummer, Baujahr) stehen auf dem Typenschild.
2.3 Produktübersicht" (Seite 5).
3. Montage
3.1 Sicherheitshinweise zur Montage
△WARNUNG!
Gefahr durch Nichtbeachtung der Montage anweisungen!
Dieses Kapitel enthalt wichtige Informationen für die sichere Montage des Geräts.
Lesen Sie these Kapitel vor der Montage sorgfältig durch.
Befolgen Sie die Sicherheitshinweise.
Fuhren Sie die Montage wie beschrieben durch.
Montage nur durch qualifiziertes Fachpersonal.
1.2 Autorisierte Zielgruppen" (Seite 4).
- Elektrotechnische Arbeiten nur durch qualifizierte Elektrofachkräfte.
1.2 Autorisierte Zielgruppen" (Seite 4).
Die Montagearf nur mit zwei Personen erfolgen.
- Bei Arbeiten in der Höhe ist für einen sicheren Stand zu sorgen (z. B. standfeste Stehleiter).
- Das Kochfeld und andere berührbare Teile müssen vor der Montage abgekühlt sein.
Die Folie und andere Teile der Verpackung sind für Kinder unzugänglich aufzubewahren.
Das Gerat muss fur die Montage unbeschädigt und in einem einwandfrei Zustand sein.
Kabel dürfen nicht geknicht, gequetscht oder beschädigt werden.
Das Lüftergehäusearfniemals geoffnet werden.
Die erforderliche Netzspannung muss mit der Spannungsangabe auf dem Typenschild übereinstimmen.
2.5 Technische Daten (Seite 6).
- Vor der Montage muss sichergestellt werden, dass die Spannungsvorsorgung unterbrochen ist und bleibt. Die Spannungsvorsorgung erfolgt erst nach Aufforderung im entsprechenden Montageschritt.
3.2 Anforderung an den Montageort
△WARNUNG!
Lebensgefahr durch unsachgemäße Montage!
Die Nichtbeachtung der Umgebungsbedingungen kann zugeführlichen Situationen führen, z. B. im Umgang mit Strom oder Gas.
Stellen Sie sicher, dass die Anforderungen an den Montageort unbedingt eingehalten werden.
Keine Montage in explosionsgefahrdeten Umgebungen.
- Bei gleichzeitiger Verwendung einer raumluftabhängigen Brennstelle (z. B. Kamin) im selbst Luftverbund:
- Eine Sicherheitseinrichtung ist unbedingt erforderlich.
Die Sicherheitseinrichtung (z. B. Unterdruckwächter P4, geprüft nach DIN 18841:2005-12 TÜV und nach DVGW-VP121) muss verhindern, dass Gase in den Raum gezogen werden. - Eine Genehmigung zur Inbetriebnahme (z. B. durch Schornsteinfeger) muss vorliegen.
Die Montage ist nur zulässig an tragfähigen Gebäudefeilen (Massivbau).
- Bei Montage über Feuerstände für feste Brennstoffe (z. B. Kohleofen):
Die Feuerstätte muss eine geschlossene, nicht abnehmbare Abdeckung haben. Andernfalls besteht Brandgefahr durch Funkenflug. Entsprechende gesetzliche und landesspezifische Vorschriften sind einzuhalten.
Ausströmende Luft muss ungehindert entweichen können. Keine Behinderung des Luftstroms, z. B. durch Montage von Gegenständen auf oder über dem Gerät.
Die elektrische Anlage des Gebäudes muss über eine ordnungsgemäß Erdung verfügbar.
Die vorliegende Netzspannung muss der Spannungsangabe auf dem Typenschild entsprechen.
- Im Montagebereich des Geräts muss eine Steckdose bauseitig vorhanden sein.
- Der Netzstecker muss nach dem Einbau zugänglich sein.
Landesspezifische, gesetzliche Bestimmungen sind einzuhalten.
3.3 Anforderungen bei Umluftbetrieb
Filter-Fullung fur Wechsel frei zuganglich.
3.4 Montageschritte
Kurzübersicht:
- MontageVBorbereiten
- Gerä auspacken
- Innenliegende Teile entnehmen
- Gerat aufhagen
- Zubehor anschlieben
- Spannungsversorgung herstellen
- Umluftfilter permalyt einbauen
- Innenliegende Teile einsetzen
- Kontrolle und Inbetriebnahme durchführten
3.4.1 MontageVBorbereiten
Machen Sie sich mit ihrer Montagesituation und den zugehörigen Dokumenten vertraut.
Gerat und Anleitung.
Montageort.
Vorgesehene Betriebsart.
Stellen Sie benöttigtes Werkzeug und Material zusammen:
- Standfeste Stehleiter
Gliedermaßstab oder Maßband - Stift
- Wasserwaage
Kreuzschlitz-Schraubendreher GroBe 2
Innensechskant-Schraubendreher GroBe 4
Maul-Ringschlüssel SW10, gekröpft
Steinbohrer 8mm
Schlagbohrmaschine
Schutzmaterial (z. B. dicke Pappe) für Kochfeld und Arbeitsfläche
Halten Sie den Montagebereich frei von Gegenständen, die stären oder beschädigt werden können.
Stellen Sie sicher, dass das Kochfeld und andere berührbare Teile abgekühlt sind.
Schützen Sie das Kochfeld und andere Flächen im Montagebereich (z. B. mit dicker Pappe).
Stellen Sie sichere, dass die Spannungsvorsorgung unterbrochen ist und bleibt. Die Spannungsvorsorgung erfolgt erst nach Aufforderung im entsprechenden Montageschrift.
Gefahr von Glasbruch oder anderen Beschädigungen durch unsachgemäß Handhabung!
Das Gerät und seine Oberfläche können beim Auspacken oder beim Transport beschädigt werden.
Schneiden Sie nicht in die schützende Kartonage.
Halten Sie Gegenstände fern, die das Gerät zerkratzen können (z. B. Werkzeuge, Gurtelschnallen).
Packen Sie das Gerät und alle beigepackten Teile vorsichtig aus.
Legen Sie das Gerät mit der Frontseite nach oben auf eine feste, saubere und schützende Unterlage (z. B. dicke Pappe).
Kontrollieren Sie das Gerät und alle enthaltenen Teile auf Beschädigungen.
Kontrollieren Sie den Lieferumfang auf Vollständigkeit. 2.4 Lieferumfang" (Seite 6).
Wenn Teile fehlen oder beschädigt sind:
Wenden Sie sich an ihren Fachhändler oder an den Kundendienst.
Entfernen Sie das Verpackungsmaterial. "8.1 Verpackung entsorgen" (Seite 22).
3.4.3 Innenliegende Teile entnehmen
△ACHTUNG!
Gefahr von Sachschäden durch herausfallende Teile!
Bei Bewegung des Geräts kann sich die Frontblende öffnen, innenliegende Teile können herausfallen.
Entnehmen Sie innenliegende Teile vor der Montage.

Öffnen Sie die Frontblende.

Heben Sie die Unterschale an der Hinterkante an.
Greifen Sie die Unterschale seitlich, um sie zu entnahmen.
Die Capillar Traps sind eingesteckt und werden durch Magnete im Gerat gehalten.

Fassen Sie die Capillar Traps seitlich mit beiden Händen an.
Ziehen Sie die Capillar Traps heraus.

Entfernen Sie die beiden Schrauben.
Behnhmen Sie den Deckel ab.
Entnehmen Sie den Filter.
Wenn der Umluftfilter permalyt verwendet wird:
Ziehen Sie die Verbindungskabel ab.
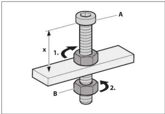
3.4.4 Gerä aufhängen
Das Gerät ist für das Aufhängen an Wänden konzipiert.
Bei Befestigung an einer Massivbauwand:
Stellen Sie die Tragkraft der Wand sicher.
Verwenden Sie das mitgelieferte Befestigungsmaterial.
Bei anderen Montageverhältnissen:
Erfragen Sie vor der Montage alternative Befestigungsmöglichkeiten (z. B. bei ihrer Architekten).
Verwenden Sie für die Wand geeignetes Befestigungsmaterial.

Sicherheitsabstand(x):
- Empfehlung 450 mm.
- Bei Gaskochfeldern mindestens 650~mm
Abstände zum Mittelpunkt der Steckdosenöffnung auf der Geräterückseite:
- Oben 105 mm vom linken Befestigungspunkt.
- Seitlich 245mm von der Haubenmittelachse.
Ermitteln Sie die Aufhängeposition.
Stellen Sie sicher, dass der Sicherheits abstand einge halten wird.
△WARNUNG
Lebensgefahr durch Explosionen oder elektrischen Schlag!
Das Anbohren von Gas-, Wasser- oder elektrischen Leitungen kann zu gefährlichen Situationen führen.
Stellen Sie sichere, dass sich an den Befestigungspunkten keine Leitungen in der Wand befinden.

Ermitteln und markieren Sie die Befestigungspunkte.
Bohren Sie die Locher in die Wand.
Setzen Sie die Dubel in die Bohlröcher ein.

Die Befestigungsschrauben werden erst nach Ausrichtung des Geräts festgezogen.
Drehen Sie die Befestigungsschrauben passend ein.
△WARNUNG!
Verletzungsgefahr durch unsachgemäß Handhabung!
Grosse und Gewicht des Gerats verlangen beim Aufhängen viel Kraft. Wenn das Gerät herunterfällt, sind schwere Verletzungen möglich.
Hängen Sie das Gerät mit zwei Personen auf.
Sorgen Sie für einen sicheren Stand beim Aufhängen.
Stellen Sie sich, dass sich keine weiteren Personen im Arbeitsbereich aufhalten.
△ACHTUNG!
Gefahr von Sachschäden durch unsachgemäße Handhabung!
Grosse und Gewicht des Gerats verlangen beim Aufhängen viel Kraft. Wenn das Gerat herunterfällt, konnen Gerat, Kuchenmöbel und andere Gegenstände beschädigt werden.
Decken Sie das abgekuhlte Kochfeld ab.
Halten Sie den Montagebereich frei.

Hängen Sie das Gerät an den Befestigungspunkten auf.


Prufen Sie die horizontale Ausrichtung des Geräts.
Justieren Sie die Ausrichtung mit den Stellschrauben.
Ziehen Sie die Befestigungsschrauben fest an.
3.4.5 Zubehor anschließen
In Abhängigkeit von der Montagesituation wird vorhandenes Zubehor an die Haube angeschlossen:
Mauerkasten
- Fensterkontaktschalter
- Unterdruckwachter
Die Anleitungen vom Zubehör sind zu beachten.

A Steuerungskasten
- BMK1: Kontakt Mauerkasten, Kollektor Optokoppler, max. 12 mA/12 V DC, sicher galv. getrennt
BMK2: Kontakt Mauerkasten, Emitter Optokoppler, max. 12 mA/12 V DC, sicher galv. getrennt
B Klemme, BMK-F' fur Anschluss Mauerkasten
C Klemme "F-K" (Multifunktions Kontakt) für Anschluss Fensterkontaktschalter oder Unterdruckwachter
D Steuerungsleitung vom Mauerkasten EMauerkasten
F Netzeil Mauerkasten
G Fensterkontaktschalter
H Steuerungsleitung vom Fensterkontaktschalter
Bus-Anbindung
Der Anschluss erfolgt über Kabelklemmen an einem abnehm baren Stecker am Luftergehause.
ACHTUNG!
Gefahr von Beschädigungen durch falschen Anschluss! Eine falsche Polung der Steuerungsleitung kann zu Beschädigungen der Elektronik führen.
Achten Sie beim Anschluss der Steuerungsleitung auf die korrekte Polung: Ader 1 an Klemme 1, Ader 2 an Klemme 2.

Mauerkasten
SchlieBien Sie den Mauerkasten wie folgt an:
Ader 1 an Klemme 1
Ader 2 an Klemme 2
- Der Mauerkasten ist geschlossen, wenn der Ansteuerungskontakt geöffnet ist.
- Der Mauerkasten ist geöffnet, wenn der Ansteuerungskontakt geschlossen ist.
Fensterkontaktschalter
Schlieben Sie den Fensterkontaktschalter wie folgt an:
-
Blaue/weiße Ader an Klemme 3
Braune/grüne Ader an Klemme 4 -
Der Lüfter der Haube ist nur betriebsbereit, wenn das Fenster geöffnet ist.
Unterdruckwachter
- Der Lüfter der Haube ist nur betriebsbereit, wenn kein kritischer Unterdruck im Raum festgestellt wird.
3.4.6 Spanningsversorgung herstellen
Beachten Sie die Spannungsangabe auf dem Typenschild.

Stecken Sie den Netzstecker vom Anschlusskabel in die Steckdose.
Verlegen Sie die Kabel so, dass sie nicht geknicht, gequetscht oder beschädigt werden oder beim Tausch der Filter-Füllung stären.
Stellen Sie sicher, dass nach der Montage die Möglichkeit besteht, das Gerät von der Spannungsvorsorgung zu trennen.
3.4.7 Umluftfilter permalyt einbauen

Schlieben Sie den Umluft filter permalyt wie folgt an:
Ader 1 an Klemme 1
Ader 2 an Klemme 2
Stecken Sie den Kaltgerätestecker in die Anschlussbuchse am Luftgeberhause.
Es erfolgt eine automatische Anschlusskontrolle:
- Wenn das Gerät nicht korrekt angeschlossen ist, ertönen fünf Pieptone.
Korrigieren Sie den Anschluss der Adern an den Klemmen 1 und 2. - Wenn das Gerät korrekt angeschlossen ist, ertönen drei Pieptone.

Setzen Sie den Umluft filter permalyt ein.
Verlegen Sie das Kabel vom Umluft filter permalyt durch den Führungskanal.
3.4.8 Innenliegende Teile einsetzen
Nach der Montage sind innenliegende Teile wieder einzusetzen.

Setzen Sie die Capillar Traps Trap mit beiden Händen in den Aufnahmeschacht.
Schiebern Sie die Capillar Traps bis zum Anschlag ein, Magnete halten die Capillar Traps im Gerät.

Legen Sie die Unterschale bündig in die Klappe der Frontblende.

SchlieBen Sie die Frontblende.
△ACHTUNG!
Gefahr von Sachschäden durch unsachgemäß Handhabung!
Beim Einsetzen des Filters in das Gerät können Kabel beschädigt werden.
Setzen Sie den Filter vorsichtig in das Gerät ein.
Achten Sie darauf, dass der Filter nicht auf einem Kabel abgestellt wird.

Setzen Sie den Filter wieder ein.
Wenn der Umluftfilter permalyt verwendet wird:
Stecken Sie die Verbindungskabel wieder ein.

Setzen Sie den Deckel ein.
Schrauben Sie den Deckel an.
Das Gerät ist betriebsbereit.
3.4.9 Kontrolle und Inbetriebnahme durchführten
△ACHTUNG!
Gefahr von Störungen durch Feuchtigkeit im Gerät!
Wenn das Gerät von einer kalten in eine warme Umgebung gebracht wird, kann sich im Inneren Feuchtigkeit niederschlagen.
Warten Sie 2-3 Stunden, bevor Sie das Gerät in Betriebnehmen.
Prufen Sie, dass der Netzstecker frei zuganglich ist.
Prufen Sie, dass Netz- und Elektro-Anschlusskabel nicht geknickt, gequetscht oder beschädigt sind.
Stellen Sie safer, dass Luftungsausgabe nicht geschlossen oder abgedeckt sind.
Stellen Sie safer, dass die Lufungsschlitze frei sind.
Kontrollieren Sie die Funktionsfähigkeit des Geräts.
- Bedienung" (Seite 16).
4. Bedienung
4.1 Sicherheitshinweise zur Bedienung
△WARNUNG!
Gefahr durch Nichtbeachtung der Bedienungs-anweisungen!
Dieses Kapitel enthalt wichtige Informationen für die sichere Bedienung des Geräts.
Lesen Sie theses Kapitel vor der Bedienung sorgfältig durch.
Befolgen Sie die Sicherheitshinweise.
Bedienung nur durch autorisierte Benutzer. _1.2 Autorisierte Zielgruppen" (Seite 4)
- Keine Bedienung durch Kinder unter 8 Jahren und Personen, die Gefahren im Umgang mit dem Gerät nicht einschätzen können.
- Keine Verwendung bei Brand oder akuter Brandgebung (z. B. Gasperuch).
Gasbetrieb nur mit kurzer Gasflamme (nicht über den Rand des Topfbodens hinaus). Offene Flammen konnen das Gerat beschädigen und Brände verursachen. - Kein Flambieren unter dem Gerät. Brandgefahr.
- Kein unbeaufsichtigtes Frittieren unter dem Gerät.
- Bei der Benutzung konnen das Kochfeld und andere berührbare Teile sehr heißt werden. Es besteht Verbrennungsgefahr.
- Fettreste sind zu entfernen. Fettreste stellen eine Brandgefahr dar.
Keine Feuchtigkeit im Gerät.
Tropf- oder Spritzwasser ist zu vermeiden.
- Behalter mit Flüssigkeiten (z. B. Vasen, Flaschen))dürfen nicht auf dem Gerät abgestellt werden.
Keine Behinderung des Luftstroms.
- Keine Behinderung des Luftkanals an der Unterseite des Geräts.
- Verwendung nur mit eingesetzter Unterschale.
- Keine Abdeckung der Luftungs ausgänge (z. B. Glaser/ Teller auf oder vor die Luftungs schlitze). Ausstromende Luft muss ungehindert durch die Luftungsschlitze entweichen können, andernfalls kann sich ein Rückstau bilden. Wenn die Kochdünste nicht mehr abziehen können, besteht Brandgebung.
4.2 Bedienfeld
Das Gerät wird über das Bedienfeld gesteuert.

Durch Drücken einer Taste wird die entsprechende Funktion ausgeführht.
| Taste Funktion | |
| ® | Nachlaufkunft |
| - | AUS, Leistungsstufe runterschalten |
| + | EIN, Leistungsstufe hochschalten |
| ¥ | Kochfeld-Beleuchtung |
4.3 Normalbetrieb
| Taste Funktion | |
| + | Das Gerät ist ausgeschelt. 1x Taste drücken. Das Gerät schaltet ein in Leistungsstufe 1. Das Gerät ist ausgeschelt. 1x Taste 2 Sekunden drücken. Das Gerät schaltet ein in Leistungsstufe 3. Das Gerät ist eingeschaltet. 1x Taste drücken. Das Gerät schaltet eine Leistungsstufe höher. |
| - | Das Gerät ist eingeschaltet in Leistungsstufe 2 oder 3. 1x Taste drücken. Das Gerät schaltet eine Leistungsstufe runter. Das Gerät ist eingeschaltet in Leistungsstufe 2 oder 3. 1x Taste 2 Sekunden drücken. Das Gerät schaltet aus. Das Gerät ist eingeschaltet in Leistungsstufe 1. 1x Taste drücken. Das Gerät schaltet aus. |
Die aktive Leistungsstufe wird durch Leuchten der LEDs unterhalb der Tasten angezeigt:
1 LED leuchtet = Leistungsstufe 1
2 LEDs leuchten = Leistungsstufe 2
3 LEDs leuchten = Leistungsstufe 3
Um einen optimalen Wirkungsgrad bei der Beseitigung von Kochdünsten zu erreichen:
Schalten Sie das Gerät bereits 1-2 Minuten vor Kochbeginn ein. So kann sich die Strömung aufbauen und der Dunst wird früherzeitig abgeführt.
Um die Kochdünste effizient zu erfassen, verwenden Sie bei intensivem Kochen die hinteren Kochzonen.
Schalten Sie während des Kochvorgangs in eine Leistungsstufe, die für die Intensität der Kochdünste angemessen ist:
Leistungsstufe 1 -kleinste Lufterleistung
Leistungsstufe 2 - mittlere Lüfterleistung
Leistungsstufe 3 - hohe Lüfterleistung
Fenn die Intensität der Kochdünste nicht abnimmt, schalten Sie in eine höhere Leistungsstufe.
Schalten Sie beim Anbraten in Leistungsstufe 3.
Schalten Sie nach Kochende die Nachlauffunktion ein.
4.3.1 Nachlauffunktion" (Seite 17).
Sorgen Sie regelmäßig für Frischluftzufuhr.
Verwenden Sie das Gerät auch, um andere störende Gerüche zu reduzieren. Zum Beispiel von:
Zwiebeln und Knoblauch
Backofen, Mikrowelle und Steamer
Fondue und Raclette
WARNING
Brandgefahr durch Fettreste!
Im Betrieb sammeln sich im und am Gerät Fettreste, die leicht entzündlich sind.
Reinigen Sie das Gerät ordnungsgemäß.
5. Reinigung (Seite 18).
Wenn Sie das Gerät einschalten und ein ungewöhnlich hohes Lüftergeräusch feststellen:
Reinigen Sie das Gerät.
Beachten Sie die Vorgaben für die Reinigung.
5. Reinigung (Seite 18).
Wenn Sie das Gerä einschalten und Geruch feststellen:
Wechseln Sie die Filter-Fullung.
Beachten Sie die Vorgaben für den Wechsel der Filter-Füllung.
6.2.1 Filter-Fullung wechseln" (Seite 20).
Nach 6 Stunden ohne Bedienung schaltet das Gerät (einschl. Beleuchtung) automatisch ab.
4.3.1 Nachlauffunktion
Das Gerät verfügbar über eine Nachlauffunktion. Wenn die Funktion benutzt wird, arbeitet das Gerät noch 10 Minuten in Leistungsstufe 2 weiter.
Beim Umluftbetrieb ist die Benutzung der Nachlauffunktion erforderlich, damit das Gerät die restlichen Geruchsanteile aufnehmen kann. Durch Benutzung der Nachlauffunktion wird die Lebensdauer der Filter-Füllung erhöht. Die Filter-Füllung muss regelmäßiger ernuert werden.
| Taste Funktion | |
| ● | Das Gerät ist ausgeschelt. 1x Taste drücken. Das Gerät schaltet die Nachlauffunktion ein in Leistungsstufe 2. |
| Die Nachlauffunktion ist eingeschaltet. 1x Taste drücken. Die Nachlaufzeit beginnt von neuem (10 Minuten). | |
| Bei Änderung der Leistungsstufe wird die Nachlauffunktion beendet. | |
| Während der Nachlaufzeit (10 Minuten) blinken die LEDs der Leistungsstufen 1 und 2. | |
4.3.2 Kochfeld-Beleuchtung
Die Kochfeld-Beleuchtung ist mit einer energiesparenden LED-Beleuchtung ausgestattet. Die Beleuchtung kann jederzeit und unabhängig vom Lüfter genutzt werden.
| Taste Funktion | |
| 1x Taste drücken, um die Kochfeld-Beleuchtung ein- oder auszuschalten. | |
5. Reinigung
5.1 Sicherheitshinweise zur Reinigung
△WARNUNG!
Gefahr durch Nichtbeachtung der Reinigungsausweisungen!
Dieses Kapitel enthalt wichtige Informationen für die sichere Reinigung des Geräts.
Lesen Sie diese Kapitel vor der Reinigung sorgfältig durch.
Befolgen Sie die Sicherheitshinweise.
Reinigung nur durch autorisierte Benutzer. 1.2 Autorisierte Zielgruppen" (Seite 4)
- Keine Reinigung durch Kinder unter 8 Jahren und Personen, die Gefahren im Umgang mit dem Gerät nicht einschätzen können.
- Nach der Benutzung konnen das Kochfeld und andere berührbare Teile noch frei sein. Es besteht Verbrennungsgefahr.
- Fettreste sind zu entfernen. Fettreste stellen eine Brandgefahr dar.
Das Gerät ist regelmäßig zu reinigen:
- Bedienfeld, Oberfläche, Oberschale und Unterschale nach jedem Kochvorgang.
Die Capillar Traps bei tätigchem Gebrauch nach spätestens drei Wochen.
5.2 Reinigungsmaßnahmen
Das Gerä saugt Schmutzpartikel (z. B. Fett- und Ölpartikel) mit der Raumluft an. In der Oberschale, in der Unterschale und in den Capillar Traps werden die Schmutzpartikel abgeschieden und gesammelt.
Vor jeder Reinigung:
Schalten Sie das Gerät aus.
Stellen Sie sicher, dass das Kochfeld und andere berührbare Teile abgekühlt sind.
△ACHTUNG!
Gefahr von Beschädigungen durch unsachgemäß Reinigung!
Scharfkantige Gegenstände, Scheuermittel oder ungeeignete Reinigungsmittel können das Gerät beschädigen.
Folgende Reinigungsmittel sind ungeeignet und dürfen nicht verwendet werden:
Aceton
Trichloratthylen
- Lösungen auf Nitro-Basis (z. B. Nitroverdūnnung)
Kunstharzverdunnung
Scheuernde Mittel
Silikonhaltigen Polituren
- Ölhaltige Polituren
Wachse
- Wasserdampf
Auf lackierten Oberflächen: Mikrofasertuch
Halten Sie Gegenstände fern, die das Gerät zerkratzen können (z. B. Fingeringe).
Verwenden Sie milde Haushaltsreiniger (z. B. alkalifreie, ph-neutrale Allzweckreiniger).
Benutzen Sie ein weiches, feuchtes Tuch.
Reinigen Sie ohne viel Druck auszüben.
Die Hinweise und Angaben auf den Reinigungsmitteln sind zu beachten.
Bedienfeld
Reinigen Sie das Bedienfeld mit einem flusenfrei,leitung angefeuchteten Tuch.
Reiben Sie das Bedienfeld mit einem flusenfrei, weichen Tuch trocken.
Oberflächen
Reinigen Sie die Oberflächen mit einem weichen, feuchten Tuch und einem milden Haushaltsreiniger.
Reiben Sie die Oberflächen mit einem weichen Tuch trocken.
Ober- und Unterschale
Die Unterschale ist in die untere Frontblende eingelegt.

Klappen Sie die untere Frontblende herunter.

Heben Sie die Unterschale an der Hinterkante an.
Greifen Sie die Unterschale seitlich, um sie zu entnahmen.
Reinigen Sie die Oberschale mit einem weichen, feuchten Tuch.
Reinigen Sie die Unterschale mit einem weichen, feuchten Tuch oder in der Spulmaschine.
Reiben Sie Ober- und Unterschale mit einem weichen Tuch trocken.
Setzen Sie die Unterschale wieder ein.
3.4.8 Innenliegende Teile einsetzen" (Seite 14).
Capillar Trap
Die Capillar Traps sind eingesteckt und werden durch Magnete im Gerät gehalten.

Fassen Sie die Capillar Traps seitlich mit beiden Händen an.
Ziehen Sie die Capillar Traps heraus.
Reinigen Sie die Capillar Traps, z. B. in der Spulmaschine.
Reinigen Sie Flächen und Kanten am Aufnahmeschacht der Capillar Traps mit einem weichen, feuchten Tuch.
Stellen Sie sicher, dass die Capillar Traps vollständig trocken ist.
Setzen Sie die Capillar Traps wieder ein.
3.4.8 Innenliegende Teile einsetzen" (Seite 14).
6. Instandhaltung
6.1 Sicherheitshinweise zur Instandhaltung
△WARNUNG!
Gefahr durch Nichtbeachtung der Instandhaltungs-anweisungen!
Dieses Kapitel enthalt wichtige Informationen für die sichere Instandhaltung des Geräts.
-
Lesen Sie diesen Kapitel vor Instandhaltungsarbeiten sorgfältig durch.
Befolgen Sie die Sicherheitshinweise.
Fuhren Sie die Instandhaltung wie beschrieben durch. -
Reparaturarbeiten nur durch qualifiziertes Fachpersonal. "1.2 Autorisierte Zielgruppen" (Seite 4).
-
Elektrotechnische Arbeiten nur durch qualifizierte Elektrofachkräfte. 1.2 Autorisierte Zielgruppen (Seite 4).
-
Instandhaltung nur durch autorisierte Benutzer. "1.2 Autorisierte Zielgruppen" (Seite 4).
- Keine Instandhaltung durch Kinder unter 8 Jahren und Personen, die Gefahren im Umgang mit dem Gerät nicht einschätzen können.
- Bei Arbeiten in der Höhe ist für einen sicheren Stand zu sorgen (z. B. standfeste Stehleiter).
Das Kochfeld und andere berührbare Teile müssen abgekühlt sein.
Das Lufftergehausearfniemals geoffnet werden.
6.2 Wartung
6.2.1 Filter-Fullung wechseln
Geruchsanteile werden durch die Filter-Füllung im Umluftfilter gebunden. Die geruchsfrei, gereinigte Raumluft wird dem Raum wieder zugeführrt.
Umluftfilter sind bis zu zwei Jahren wartungsfrei. Danach muss die Filter-Füllung regelmäßiger neuert werden.
Wechselintervalle
- Täglicher Gebrauch: bei Gerüchen in der austretenden Luft oder spätestens nach 12 Monaten.
- Gelegentlicher Gebrauch: bei Gerüchen in der austretenden Luft oder spätestens nach 24 Monaten.
△ACHTUNG!
Gefahr von Sachschäden durch herunterfallende Teile!
Bei Arbeiten am Gerät konnen Geräteile oder Werkzeuge herunterfallen und zu Schäden an Kühenelementen führen. Schützen Sie das abgekühte Kochfeld und andere Flächen im Kochbereich (z. B. mit dicker Pappe).

Entfernen Sie die beiden Schrauben.
Nehmen Sie den Deckel ab.

Nehmen Sie den Filter nach oben heraus.
Der Wechsel der Filter-Füllung erfolgt wie in der zugehörigen Anleitung beschrieben.
Wechseln Sie die Filter-Fullung.
Reinigen Sie den Filter von außen (z. B. durch Absaugen mit einem Staubsauger).
Setzen Sie den Filter wieder ein.
3.4.8 Innenliegenden Teile einsetzen" (Seite 14).
6.2.2 Leuchtmittel wechseln
Das Gerät ist mit einer wartungsfreiern LED-Beleuchtung ausgestattet. Wenn eine Störung auftritt:
Wenden Sie sich an ihren Fachhändler oder an den Kundendienst.
6.3 Störungsbehebung
Mögliche Störungen werden nachstehend wie folgt beschreiben: Beschreibung der Störung.
Mogliche Ursache. Abhilfe.
Gebäse und Beleuchting Funktionieren nicht.
Keine Stromzufuhr.
Prufen Sie, ob der allpolige Netzschalter angeschlossen ist. Schalten Sie den Netzschalter ein.
Die Sicherung hat ausgelost oder ist defekt.
Prufen Sie, ob die Sicherung ausgelost wurde.
- Wenn Sie über einen Sicherungsautomaten verfügen, schalten Sie den Sicherungsautomaten ein.
Bei anderen Sicherungstypen, wenden Sie sich an eine Elektro-Fachkraft.
Gebäse Funktioniert nicht.
Das Gerat ist nicht eingeschaltet.
Prufen Sie alle Leistungsstufen.
4.3 Normalbetrieb" (Seite 16).
Das Gerat ist an einen Fensterkontaktschalter angeschlüssen und das Fenster ist geschlossen. Öffnen Sie das Fenster.
- Das Gerät ist an einen Unterdruckwächter angeschlossen. Der Unterdruckwächter erkennt einen kritischen Unterdruck.
忍 Öffnen Sie ein Fenster.
Warten Sie bis der Luftdruck wieder normal ist.
Beleuchting Funktioniert nicht.
Das Leuchtmittel ist defekt.
Wenden Sie sich an ihren Fachhändler oder an den Kundendienst.
Geruchsbildung während des Betriebs.
Die Filter-Fullung ist verbraucht.
Wechseln Sie die Filter-Fullung.
6.2.1 Filter-Fullung wechseln" (Seite 20).
Schlechte Leistung des Geräts.
- Der Umluftfilter hat sich zugesetzt.
Erneuern Sie die Filter-Füllung des Umluftfilters.
6.2.1 Filter-Fullung wechseln" (Seite 20).
Bedienfeld reagiert nicht nach mehrmaligem Berühren.
Das Bedienfeld ist verschmutzt.
Reinigen Sie das Bedienfeld.
5. Reinigung" (Seite 18).
Die Geräte-Software besteht einen Neustart.
Unterbrechen Sie kurzzeitig die Stromversorgung.
Feuchtigkeit im Gerät.
- Tropf- oder Spritzwasser ist in das Geräte eingedrungen.
Flüssigkeit (z. B. aus Vasen, Flaschen auf dem Gerät) ist in das Gerät eingedrungen.
Unterbinden Sie sofort die Stromzufuhr, indem Sie die Sicherung entfern.
Stellen Sie sicher, dass die Stromzufahr des Geräts nicht versehentlich wiederhergestellt wird. Stellen Sie z. B.{jemanden ab, der das Einschalten der Sicherung verhindert.
Stellen Sie sicher, dass keine weiteren Flüssigkeiten in das Gerät eindringen können.
Lassen Sie das Gerät trocknen.
Lassen Sie das Gerät durch qualifiziertes Fachpersonal prüfen und reparieren, bevor Sie das Gerät erneut verwenden.
Wenn sich eine Störung nicht beheben latent:
Wenden Sie sich an ihren Fachhändler oder an den Kundendienst.
7. Demontage
△WARNUNG!
Verletzungsgefahr durch unsachgemäß Handhabung!
Grosse und Gewicht des Gerats verlangen beim Abhängen viel Kraft. Wenn das Gerät herunterfällt, sind schwere Verletzungen möglich.
Hängen Sie das Gerät mit zwei Personen ab.
Sorgen Sie für einen sicheren Stand beim Abhängen.
Stellen Sie sich, dass sich keine weiteren Personen im Arbeitsbereich aufhalten.
△ACHTUNG!
Gefahr von Sachschäden durch unsachgemäß Handhabung!
Grosse und Gewicht des Gerats verlangen beim Abhängen viel Kraft. Wenn das Gerat herunterfällt, konnen Gerat, Kuchenmöbel und andere Gegenstände beschädigt werden.
Decken Sie das abgekühte Kochfeld ab.
Halten Sie den Montagebereich frei.
Unterbrechen Sie allpolig die Spannungsvorsorgung des Gerats.
Ziehen Sie den Netzstecker ab.
Lösen Sie die Befestigungsschrauben um ca. eine Umdrehung.
Heben Sie das Gerät mit zwei Personen an.
Heben Sie das Gerät nach vorne ab.
Stellen Sie das Gerät auf eine feste und schützende Unterlage.
8. Entsorgung
8.1 Verpackung entsorgen
△ACHTUNG!
Gefahr von Umweltschäden durch nicht sachgerechte Entsorgung der Verpackung!
Geben Sie die Verpackung nicht in den normalen Hausmüll.
Fuhren Sie die Verpackung der umwelt- und sachgerechten Wiederverwertung (Recycling) zu.
Die Verpackung dient zum Schutz vor Transportschäden. Nur die Originalverpackung gewährleistet einen ausreichenden Schutz während des Transports.
Bewahren Sie die Verpackung für Kinder unzugänglich auf.
Die Verpackungsmaterialien sind nach umweltverträglichen Gesichtspunkten ausgewählt und aus wiederverwertbaren Materialien hergestellt. Die Verpackungsmaterialien können nach Gebrauch in den Rohstoffkreislauf zurückgeführrt werden. Dadurch konnen wertvolle Rohstoffe eingespart werden.
Die Außenverpackung besteht aus Pappe.
- Das Füllmaterial und die Einlagen bestehen aus Pappe oder Styropor.
Die Schutzfolien und Beutel bestehen aus Polyethylen (PE).
Entsorgen Sie die Verpackung umweltfreundlich getrennt nach Werkstoffen.

8.2 Geräntsorgen
△ACHTUNG!
Gefahr von Umweltschäden durch nicht sachgerechte Entsorgung des Geräts!
Das Gerät unterliegt der europäischen Richtlinie 2012/19/EU und damit nicht im Hausmüll entsorgt werden.
Geben Sie das Gerät am Ende der Nutzungszeit nicht in den normalen Hausmüll.
Erkundigen Sie sich bei ihrer Stadt- oder Gemeindeverwaltung nach Mochglichkeiten einer umwelt- und sachgerechten Wiederverwertung (Recycling) oder Entsorgung des Gerats.
Machen Sie das Gerät nach der Demontage unbrauchbar, z. B. durch Abschneiden des spanningslosen Netzkabels.
Entsorgen Sie das Gerät nach den gesetzlichen Bestimmungen über einen Entsorgungsfachbetrieb oder über ihreCOMMUNALE Entsorgungseinrichtung.

9. Anhang
9.1 Kontakt
Wenn Sie Anregungen oder Fragen haben, wahlen Sie aus folgenden Mochigkeiten:
Post: berbel Ablufttechnik GmbH Sandkampstraße 100 D-48432 Rheine
Telefon: +49 (0) 5971/80 809-0
Mo bis Do 8:00 - 17:30 Uhr
und Fr 8:00 - 16:30 Uhr
Telefax: +49 (0) 5971/80 80 9-10
Internet: www.berbel.de
E-Mail: info@berbel.de
Kundendienst des Herstellers kontaktieren
Sie können unseren Kundendienst auf verschiedene Arten kontaktieren. Wahlen Sie aus folgenden Mochlichkeiten:
Telefon: +49 (0) 5971/80 809-660
Mo bis Do 8:00 - 17:30 Uhr
und Fr 8:00 - 16:30 Uhr
Telefax: +49 (0) 5971/80 80 9-10
E-Mail: service@berbel.de
Courrier: berbel Ablufttechnik GmbH Sandkampstraße 100 D-48432 Rheine
Telephone: +49 (0) 5971/80 80 9-0
Posta: berbel Ablufttechnik GmbH Sandkampstraße 100 D-48432 Rheine
Telefono: +49 (0) 5971/80 809-0 Da Lun. a Gio. ore 8:00 - 17:30 Ven. ore 8:00 - 16:30
Telefax: +49 (0) 5971/80 80 9-10
Internet: www.berbel.de
E-mail: info@berbel.de
2.5 Technische gegevens
Ventilator werkt nicht.
Post: berbel Ablufttechnik GmbH
Sandkampstraße 100
D-48432 Rheine
Telefoon: +49 (0) 5971/80 809-0
Ma t/m do 8:00-17:30 uu
en vr 8:00-16:30 ur
Fax: +49 (0) 5971/80 80 9-10
Internet: www.berbel.de
E-mail: info@berbel.de
Post: berbel Ablufttechnik GmbH
Sandkampstraße 100
D-48432 Rheine
Telephone: +49 (0) 5971/80 809-0
EinfachAnleitung